JP6378619B2 - 管路補修方法 - Google Patents

管路補修方法 Download PDF

Info

Publication number
JP6378619B2
JP6378619B2 JP2014241036A JP2014241036A JP6378619B2 JP 6378619 B2 JP6378619 B2 JP 6378619B2 JP 2014241036 A JP2014241036 A JP 2014241036A JP 2014241036 A JP2014241036 A JP 2014241036A JP 6378619 B2 JP6378619 B2 JP 6378619B2
Authority
JP
Japan
Prior art keywords
repair material
work floor
repair
pipeline
pipe
Prior art date
Legal status (The legal status is an assumption and is not a legal conclusion. Google has not performed a legal analysis and makes no representation as to the accuracy of the status listed.)
Active
Application number
JP2014241036A
Other languages
English (en)
Other versions
JP2016102549A (ja
Inventor
八木 伊三郎
伊三郎 八木
宏真 石関
宏真 石関
京太郎 宮▲崎▼
京太郎 宮▲崎▼
Current Assignee (The listed assignees may be inaccurate. Google has not performed a legal analysis and makes no representation or warranty as to the accuracy of the list.)
Ashimori Industry Co Ltd
Ashimori Engineering Co Ltd
Original Assignee
Ashimori Industry Co Ltd
Ashimori Engineering Co Ltd
Priority date (The priority date is an assumption and is not a legal conclusion. Google has not performed a legal analysis and makes no representation as to the accuracy of the date listed.)
Filing date
Publication date
Application filed by Ashimori Industry Co Ltd, Ashimori Engineering Co Ltd filed Critical Ashimori Industry Co Ltd
Priority to JP2014241036A priority Critical patent/JP6378619B2/ja
Publication of JP2016102549A publication Critical patent/JP2016102549A/ja
Application granted granted Critical
Publication of JP6378619B2 publication Critical patent/JP6378619B2/ja
Active legal-status Critical Current
Anticipated expiration legal-status Critical

Links

Images

Landscapes

  • Sewage (AREA)
  • Pipe Accessories (AREA)

Description

本発明は、既設管路の補修方法に関し、特に、人が中に入って作業することが可能な大口径管路の補修方法に関する。
従来から、下水道管等の既設管路の老朽化対策として、管路内に補修材を設置して、この管路を内面側から補修することが行われている。また、口径が数mもあるような大口径の管路においては、この管路内に作業者が入って補修材の設置作業を行っている。しかし、下水道管などでは、普段は、その内部に水が流れており、管路内に水が存在する環境での補修作業は困難を伴う。即ち、管路内に水がある状態では、資材の移動や工具の使用などあらゆる作業がやりにくくなるし、また、作業員の疲労も増大する。
そこで、従来から、補修を行う区間において水が存在しない環境を作り出した上で、その中で管路の補修を行う方法が提案されている。例えば、特許文献1,2には、管路内の2箇所で水を堰き止め、2箇所の堰き止め位置の間に存在する水を仮設水路によって排水してドライ状態にしてから、その区間において補修作業を行う方法が開示されている。
また、特許文献3では、管路内に設置する対象が補修材ではなく、レールである点で異なるが、水が流れる管路内において、作業員が水中に入ることなくレールを敷設可能な方法が開示されている。まず、立坑内の水面よりも上の位置に台枠を設置し、この台枠上で台車を組み立てる。この台車にレールの資材を積載した後、この台車を、水が流れている管路内に送り出す。台車は、水が流れる管路内を走行し、作業者は、台車上の、水面よりも上側の位置にて、レールの組み立てや接続等の作業を行う。
特開2001−279803号公報 特開2002−228083号公報 特開2000−265540号公報
特許文献1,2のように、管路内の水を堰き止める方法では、管の口径が大きい場合には、水を堰き止める装置が大掛かりなものとなるため、その設置、及び、撤去に時間を要する。また、堰き止める装置の設置や撤去のために、作業員が水中に入って作業する必要があるため、それらの作業に多大な労力を要する。特に、口径が数mもある大口径の管路では、これらの堰き止めに要する作業がかなり大がかりなものとなることは、容易に理解される。
特許文献3では、管路内で台車を組み立て、この台車で資材を運びつつ台車上で作業を行うために、作業員が水中で作業を行わずに済む。しかし、レール設置前に立孔内で台車を組み立てる作業、及び、レール設置後に台車を分解して撤去する作業等が必要になり、それらの作業に多くの時間がかかってしまう。
本発明の1つの目的は、作業員が水中に浸からずに作業できる環境を、簡単な工程で短時間のうちに管路内に実現することが可能な、管路補修方法を提供することである。
課題を解決するための手段及び発明の効果
第1の発明の管路補修方法は、内部に水が存在する管路の内面に沿って補修材を設置することにより、前記管路を補修する方法であって、
前記管路内に、内部の水に浮く水上作業床を設置する、作業床設置工程と、前記水上作業床の上で、前記管路の底部を補修するための第1補修材を組み立てる、第1補修材組立工程と、組み立てた前記第1補修材を水中に沈める、沈降工程と、前記水上作業床の上で、前記管路の前記底部よりも上側の部分を補修するための第2補修材を組み立てて前記第1補修材に連結する、第2補修材組立工程と、を含むことを特徴とするものである。
本発明では、まず、管路内に、その内部の水に浮く水上作業床を設置する。そして、この水上作業床の上で、管路の底部を補修するための第1補修材を組み立てる。組み立てた第1補修材は、水上作業床から水中に沈める。その後、同じく水上作業床の上で、管路底部よりも上側の部分を補修するための第2補修材を組み立て、第1補修材に連結する。本発明によれば、作業者は、管路内に設置する補修材(第1補修材と第2補修材)を、水に浮いた水上作業床の上で組み立てることになるため、水に浸かりながら作業を行う必要がない。また、補修材の組立を行う水上作業床は、管路内に引き入れて水に浮かべるだけで設置できることから、その設置作業、及び、撤去作業は非常に簡単であり、短い時間で完了できる。
第2の発明の管路補修方法は、前記第1の発明において、前記沈降工程では、前記第1補修材を前記管路の底部まで沈め、その前の前記第1補修材組立工程では、前記第1補修材を、前記沈降工程で前記管路の底部まで沈めたときにその一部が水面上に出るような大きさに組み立てることを特徴とするものである。
本発明では、水上作業床の上で組み立てた補修材を、沈降工程で管路の底部に当たるまで沈めたときに、沈めた第1補修材の一部が水面上に出る。従って、その後に、水上作業床の上で組み立てた第2補修材を、第1補修材に連結する作業が容易になる。
第3の発明の管路補修方法は、前記第1の発明において、前記沈降工程において、前記第1補修材の一部が水面上に出るように前記第1補修材を沈めることを特徴とするものである。
本発明では、水上作業床の上で組み立てた第1補修材を水中に沈める際に、この第1補修材を全部水中に沈めてしまうのではなく、一部が水面上に出るようにする。従って、その後に、水上作業床の上で組み立てた第2補修材を、第1補修材に連結する作業が容易になる。尚、先に説明した第2の発明とは異なり、本発明には、第1補修材が管路の底部に当たる前に、沈めるのを途中で止めて、第1補修材の一部を水面上に突き出させる、という形態も含まれる。この場合は、途中まで沈めた第1補修材に第2補修材を連結した後に、第1補修材を管路の底部に当たるまで沈めることになる。
第4の発明の管路補修方法は、前記第1〜第3の何れかの発明において、前記第1補修材組立工程では、前記管路の一部区間についてのみ前記第1補修材を組み立て、
前記第1補修材組立工程後に、前記一部区間の前記第1補修材を前記管路に一時的に連結して前記第1補修材を保持する、補修材保持工程と、前記補修材保持工程後に、前記水上作業床を前記管路の長さ方向に移動させる作業床移動工程と、をさらに含み、
前記第1補修材組立工程、前記補修材保持工程、及び、前記作業床移動工程を繰り返し行うことにより、前記水上作業床を移動させつつ、前記管路の複数の区間について前記第1補修材を順に組み立てることを特徴とするものである。
本発明では、管路の一部区間についての第1補修材を、水上作業床の上で組み立てた後、この第1補修材を管路に一時的に連結して保持した上で、水上作業床を次の区間に移動させる。この一連の工程を繰り返し行うことにより、複数の区間のそれぞれについて、第1補修材を順に組み立てる。つまり、管路の補修区間が長い場合でも、この補修区間を複数の区間に分割し、これらの区間毎に第1補修材を組み立てて互いに連結することで、補修区間全域の補修材を組み立てることができる。
第5の発明の管路補修方法は、前記第4の発明において、前記補修材保持工程では、前記管路の天井部に吊り下げ具を設置し、前記吊り下げ具で前記第1補修材を吊り下げることによって、前記第1補修材を保持することを特徴とするものである。
本発明では、水上作業床の上で組み立てた第1補修材を、管路の天井部に設置した吊り下げ具によって吊り下げるため、次の区間の第1補修材を組み立てるために水上作業床を移動させても、第1補修材が落下しないように確実に保持できる。
第6の発明の管路補修方法は、前記第4又は第5の発明において、前記管路内の水は、前記管路の長さ方向に沿って一方向に流れており、前記作業床移動工程において、前記水上作業床に牽引索を接続し、前記牽引索により前記水の流れ方向上流側から前記水上作業床を引っ張ることで、前記水上作業床を前記流れ方向上流側に移動させることを特徴とするものである。
作業床移動工程において、水上作業床を、管路内の水の流れ方向下流側に移動させるようにした場合、水上作業床が水の流れに流されて位置が変化するなど、水上作業床の位置のコントロールが難しくなる。そこで、本発明では、水上作業床を水の流れ方向の上流側から牽引索で引っ張り、水上作業床を下流側から上流側へ移動させる。このように、上流側から牽引索で水上作業床を引っ張っていることから、水上作業床が、水流によって下流側に移動するということが起こりにくくなり、水上作業床の位置が安定する。
第7の発明の管路補修方法は、前記第1〜第6の何れかの発明において、前記第1補修材組立工程では、管路の長さ方向に並ぶ複数の第1補強部材を互いに連結して第1補強構造体を組み立て、この第1補強構造体の内側に第1被覆部材を取り付けることによって、前記第1補修材を形成し、前記第2補修材組立工程では、管路の長さ方向に並ぶ複数の第2補強部材を互いに連結して第2補強構造体を組み立て、この第2補強構造体の内側に第2被覆部材を取り付けることによって、前記第2補修材を形成し、
前記第1補修材と前記第2補修材を連結して前記管路の内面に設置した後に、前記第1補修材及び前記第2補修材と前記管路の内面の間の隙間に、硬化性充填材を充填する充填工程をさらに含むことを特徴とするものである。
本発明では、管路内に設置する補修材(第1補修材、第2補修材)が、複数の補強部材からなる補強構造体と、補強構造体の内側に取り付けられた被覆部材とを有する。まず、複数の補強部材からなる補強構造体によって補修材の強度(剛性)が確保される。また、補強構造体に取り付けられた被覆部材によって老朽化した管路の内面を覆う。さらに、管路内に、第1補修材と第2補修材を設置したときには、これらの補修材と管路の内面との間には隙間が存在するが、上記隙間に硬化性充填材を充填することで、管路と補修材とを一体化する。
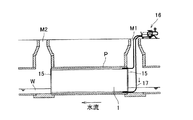
補修後の管路Pの断面図である。 図1に示される補修材の一部拡大図である。 図2のIII-III線断面図である。 作業床設置工程を示す図である。 下部補修材組立工程を示す図である。 水上作業床の上で組み立てられた下部補修材の斜視図である。 作業床移動工程を示す図である。 沈降工程を示す図である。 上部補修材組立工程を示す図である。 充填工程を示す図である。 変更形態における、沈降工程、及び、上部補修材組立工程を示す図である。 別の変更形態における、下部補修材組立工程を示す図である。
次に、本発明の実施の形態について説明する。本実施形態は、下水道管等の、水が流れる大口径の既設管路を補修する場合に、本発明を適用した一例である。ここでいう大口径の管路とは、人が楽々入ることができるような口径の管路であり、例えば、口径が1m〜5mにも及ぶ非常に大きな管路である。下水道の場合、多数の下水管が下水処理場に近づくにつれて合流しており、下水処理場付近では、下水道管の内部を流れる下水の流量が非常に多くなっている。それ故、下水処理場近くの下水道管において、上記のような大口径管が採用されていることが多い。
下水道の既設管路では、普段、その内部を下水が流れている。また、口径が大きくなるほど、管路内を流れる水の量は多くなる。このように、多くの水が流れている環境で、作業員が下水の中に浸かりながら管路の補修作業を行うことはかなり困難である。また、下水量が多いために、補修を行う間だけ下水を堰き止めるのは、堰き止めるための装置が大掛かりになるし、堰き止め作業に時間がかかる。そこで、以下では、管路内の水の流れを止めず、且つ、水に浸かることなく、作業員が補修作業を行うことが可能な方法について説明する。
図1は、補修後の管路Pの断面図である。図1に示すように、管路Pの補修は、ある補修区間において、管路Pの内面に沿って筒状の補修材1を設置することにより行う。尚、本実施形態では、上記の補修区間として、2つのマンホールM1,M2間の区間を想定している。以下、補修材1の具体的な構成について説明し、その後、その補修材1を用いた管路Pの補修方法について述べる。
(補修材の構造)
図2は、図1に示される補修材1の一部拡大図である。図3は、図2のIII-III線断面図である。図2,図3に示すように、筒状の補修材1は、複数の補強リング2と、複数の嵌合部材3と、複数の被覆部材4とを含む。
図3に示すように、1つの補強リング2は、3つの円弧状の補強部材5(5a,5b,5c)からなり、これら3つの補強部材5が周方向に連結されることにより、補強リング2は、全体として環状に構成される。補強リング2の3つの補強部材5は、炭素鋼、ステンレス鋼、硬質合成樹脂等の剛性の高い材料で形成されている。図2に示すように、複数の補強リング2は、管路Pの長さ方向に間隔を空けて配置される。尚、図2では示されていないが、管路Pの長さ方向に隣接する2つの補強リング2は、パイプ状の連結部材によって連結されている。そして、管路Pの長さ方向に並ぶ複数の補強リング2が連結されることによって、円筒状の補強構造体7が構築される。
図3に示すように、補強リング2(補強部材5a,5b,5c)の内周部には、複数の凹部6が周方向に間隔を空けて形成されている。これら複数の凹部6には複数の嵌合部材3がそれぞれ嵌め込まれている。嵌合部材3は、管路Pの長さ方向(即ち、複数の補強リング2が並ぶ方向)に長尺な部材であり、複数の補強リング2に跨って取り付けられる。図3に示すように、嵌合部材3は、その長手方向と直交する断面において、補強リング2の凹部6の形状とほぼ同様の、やや角張ったC字状の断面形状を有する。嵌合部材3の材質は特に限定されるわけではないが、本実施形態では、嵌合部材3は、耐腐食性に優れ、軽量で施工性にも良好で、さらに、コストも安価なポリエチレン樹脂等の熱可塑性樹脂で形成されている。
各嵌合部材3には、管路Pの長さ方向に長尺な被覆部材4が取り付けられる。円筒状の補強構造体7の内側に、嵌合部材3を介して、複数の被覆部材4が周方向に並べて取り付けられることで、筒状の補修材1が構成されている。尚、被覆部材4についても材質は特に限定されるものではないが、本実施形態では、嵌合部材3と同じく、ポリエチレン樹脂等の熱可塑性樹脂で形成されている。
以上の補修材1によれば、まず、複数の補強リング2からなる円筒状の補強構造体7によって、この補修材1の強度(剛性)が確保される。また、補強構造体7に、嵌合部材3を介してそれぞれ取り付けられた複数の被覆部材4により、老朽化した管路Pの内面が覆われる。
尚、補修材1と管路Pの内面との間には隙間が存在する。そこで、図2、図3に示すように、補修材1と管路Pの内面との間に、硬化性充填材8が注入される。これにより、管路Pと補修材1とが一体化される。硬化性充填材8としては、例えばセメントミルク、モルタル、コンクリート等のセメント系材料、あるいは不飽和ポリエステル樹脂、エポキシ樹脂等の熱硬化性樹脂などを用いることができる。
(補修方法)
次に、水が流れる大口径の管路P内に、上記の補修材1を設置する方法について、図4〜図11を参照して説明する。尚、本実施形態において、管路P内の水Wは、図4の右側から左側に向けて一方向に流れているとする。また、管路P内の水深は、その口径にもよるが、例えば、50cm以上であり、普通に作業員が管路内に入れば、作業員の膝よりも上まで水に浸かってしまうぐらいの深さである。そこで、本実施形態では、管路P内で作業員が水に浸からず作業できるように、管路P内の水Wに浮かぶ水上作業床10を設置し、この水上作業床10の上で補修材1の組立などの作業を行う。
(作業床設置工程)
まず、管路P内に、水に浮く水上作業床10を設置する。図4は、作業床設置工程を示す図である。図4に示すように、左側のマンホールM2から管路P内に水上作業床10を引き込み、管路Pの補修区間のうちの左端の区間において、水に浮かべて設置する。また、この水上作業床10にワイヤ11(牽引索)を接続するとともに、ワイヤ11を巻き取るウインチ12を、右側のマンホールM1付近に設置する。さらに、左側のマンホールM1から補修材1を設置するための資材等を搬入し、水上作業床10に載せる。このとき、補修作業を行う作業員も、資材と一緒に水上作業床10に乗る。
尚、水上作業床10は、作業員、及び、補修材を設置するための資材など、一定の重量物(例えば、500kg)が載せられても沈まないものであれば、その構成、材質など特に限定されない。例えば、数人乗ることのできる、避難用などに使用されるゴムボートのようなものであってもよい。水上作業床10として、ゴムボートのような軽量のものを使用することで、水上作業床10の、管路P内への設置や管路Pからの撤去が容易になる。尚、水上作業床10の大きさがあまりにも大きいと、マンホールM2からの搬入・搬出が大変になり、一方で、小さすぎると、その上での作業が困難となる。このような点を考慮して、水上作業床10は、4m程度の長さのものが好適である。
(下部補修材組立工程)
次に、水上作業床10の上で補修材1を組み立てるのであるが、まずは、管路Pに設置される筒状の補修材1のうち、管路Pの底部に設置される部分(以下、下部補修材1Aという)を組み立てる。尚、下部補修材1Aが、本発明における「第1補修材」に相当する。図5は、下部補修材組立工程を示す図である。図6は、水上作業床10の上で組み立てられた下部補修材1Aの斜視図である。尚、水上作業床10の長さはせいぜい4mであり、この水上作業床10の上で、管路Pの補修区間に設置する下部補修材1Aを全て組み立てることは難しい。そこで、本実施形態では、まず、水上作業床10の上で、管路Pの一部区間(補修区間の左端の区間)について下部補修材1Aを組み立て、その後、水上作業床10を右側に移動させながら、他の区間の下部補修材1Aも順に組み立てていく。
下部補修材1Aの組立は、具体的には、以下のようにして行う。図6に示すように、補強リング2の3つの補強部材5a,5b,5cのうちの、1つの補強部材5c(本発明の第1補強部材)を管路Pの長さ方向に複数並べて連結し、下部補強構造体7A(本発明の第1補強構造体)を組み立てる。次に、この下部補強構造体7Aの内側に複数の嵌合部材3を取り付ける。さらに、複数の嵌合部材3に、複数の被覆部材4(本発明の第1被覆部材)をそれぞれ取り付ける。尚、この下部補修材1Aの組立の際には、後の沈降工程で、下部補修材1Aを管路Pの底部に沈めたときに、下部補修材1Aの一部が水面上に出る大きさにすることが好ましい。例えば、水深がかなり深くて、補強リング2の3つの補強部材5のうち1つの補強部材5cだけ組み立てたのでは、下部補修材1Aを管路Pの底部まで沈めたときに、下部補修材1Aの全体が水没してしまう場合が考えられる。この場合は、補強リング2の3つの補強部材5のうち、2つの補強部材5をこの工程で組み立てることにより、下部補修材1Aのサイズを大きくする。
(補修材保持工程)
補修区間の一部区間について下部補修材1Aを水上作業床10の上で組み立てたら、次に、隣の区間の下部補修材1Aを組み立てるために、水上作業床10を移動させる必要がある。そこで、組み立てが終わった下部補修材1Aを管路Pに一時的に連結して保持する。具体的には、図6に示すように、管路Pの天井部に複数のアンカー13を打ち込み、各アンカー13にチェーンブロック14(本発明の吊り下げ具)を取り付ける。そして、複数のチェーンブロック14によって、管路Pの天井部から下部補修材1Aを吊り下げて保持する。これにより、水上作業床10を移動させても、組み立てた下部補修材1Aが落下しないように確実に保持できる。
(作業床移動工程)
図7は、作業床移動工程を示す図である。組み立てた下部補修材1Aを管路Pに連結したら、図7(a)に示すように、ウインチ12でワイヤ11を巻き取ることにより、水上作業床10を右側に移動させる。尚、ここでは、管路P内の水の流れの上流側(図中右側)から水上作業床10をワイヤ11で引っ張って、流れに逆らうように、水上作業床10を上流側に移動させる。このように、上流側から水上作業床10をワイヤ11で引っ張ることで、水上作業床10が水に流されにくくなり、水上作業床10の位置が安定する。
右側の区間に水上作業床10を移動させたら、水上作業床10の上で、この区間の下部補修材1Aを組み立てる。下部補修材1Aを組み立てたら、チェーンブロック14で下部補修材1Aを吊り下げる。尚、このとき、隣接する2つの区間の下部補修材1Aを互いに連結しておく。以上説明した、水上作業床10の上での下部補修材1Aの組立(下部補修材組立工程)、下部補修材1Aの保持(補修材保持工程)、及び、水上作業床10の移動(作業床移動工程)を繰り返し行うことで、図7(b)に示すように、管路P内で水上作業床10を右側に移動させつつ、管路Pの複数の区間について下部補修材1Aを順に組み立てていく。
(沈降工程)
補修区間の全域について下部補修材1Aの組立及び連結が終わったら、これらの下部補修材1A(複数区間の下部補修材1Aの連結体)を水中に沈める。図8は、沈降工程を示す図である。図8に示すように、まず、作業の邪魔にならないよう、水上作業床10を、右側のマンホールM1に一時的に退避させる。次に、下部補修材1Aを吊り下げている複数のチェーンブロック14を操作して、下部補修材1Aを下降させ、補修区間全域の下部補修材1Aを一度に水中に沈める。また、本実施形態では、この沈降工程において、下部補修材1Aを管路Pの底部に当たるまで沈める。ここで、先の下部補修材組立工程で、下部補修材1Aを、一定以上の大きさに組み立てているため、下部補修材1Aは完全に水没するのではなく、その一部が水面上に出た状態となる。
(上部補修材組立工程)
下部補修材1Aを水中に沈めたら、次に、管路Pの底部よりも上側の部分に設置される部分(以下、上部補修材1Bという)の組立を行う。尚、上部補修材1Bが、本発明における「第2補修材」に相当する。
図9は、上部補修材組立工程を示す図である。まず、上部補修材1Bを設置するための資材等をマンホールM1から搬入し、この資材等を、水に浮かべた水上作業床10に載せる。そして、この水上作業床10を、補修区間の左端の区間まで移動させる。
次に、水上作業床10の上で上部補修材1Bを組み立てる。具体的には、補強リング2の3つの補強部材5のうちの、下部補修材の組み立てに使用されなかった残りの補強部材5(本発明の第2補強部材)を、管路Pの長さ方向に複数並べて連結する。これにより、上部補強構造体7B(本発明の第2補強構造体)を組み立てる。図9は、上部補強構造体7Bが組み立てられた状態を示している。次に、上部補強構造体7Bの内側に複数の嵌合部材3を取り付ける。さらに、複数の嵌合部材3に複数の被覆部材4(本発明の第2被覆部材)をそれぞれ取り付ける。
次に、このようにして組み立てた上部補修材1Bを、水中に沈んでいる下部補修材1Aに連結する。その際、上述したように、下部補修材1Aは完全に水没しているのではなく、その一部が水面上に出ていることから、水上作業床10の上から、下部補修材1Aと上部補修材1Bとを連結する作業が容易である。尚、水上作業床10の上で上部補修材1Bを全て組み立ててから、この上部補修材1Bを下部補修材1Aに連結してもよいが、上部補修材1Bの組立途中の段階で連結してもよい。例えば、複数の補強部材5を連結して上部補強構造体7Bを組み立てた段階で、この上部補強構造体7Bを、下部補修材1Aの下部補強構造体7Aに連結し、その後に、嵌合部材3や被覆部材4を取り付けてもよい。あるいは、上部補修材1Bを構成する複数の補強部材5を、まず、個別に下部補強材1Aに連結してから、その後に、これら複数の補強部材5を互いに連結してもよい。
この区間における上部補修材1Bの組立が完了したら、水上作業床10を右側の区間に移動させて、次の区間について同様に上部補修材1Bの組立を行う。また、この上部補修材1Bを、隣接する区間の上部補修材1Bと連結するとともに、水没している下部補修材1Aとも連結する。以上の作業を繰り返して、管路Pの補修区間の全域において、下部補修材1Aと上部補修材1Bからなる、補修材1の設置を完了する。
(充填工程)
次に、補修材1と管路Pの内面との間の隙間に、モルタル等の硬化性充填材8(図2、図3参照)を充填する。図10は、充填工程を示す図である。図10に示すように、まず、補修材1の両端部に、環状の妻型枠15をそれぞれ設置する。また、マンホールM1付近に充填ポンプ16を設置し、この充填ポンプ16をホース17で妻型枠15に接続する。そして、両端の妻型枠15によって塞がれた、補修材1と管路Pの内面との間の隙間に、モルタル等の硬化性充填材8を充填ポンプ16によって充填する。充填後、この状態のまましばらく放置して硬化性充填材8を硬化させることで、補修材1と管路Pとを一体化する。尚、管路Pと補修材1の間には水が入り込んでいるが、モルタル等の充填材8の充填時に、上記の水を充填材8で置換することにより水を排出できる。あるいは、管路Pと補修材1との間の水を、充填材8の注入前に、予め排出してもよい。
以上説明した管路Pの補修方法では、次のような効果が得られる。
管路P内に、その内部の水に浮く水上作業床10を設置してから、この水上作業床10の上で下部補修材1Aを組み立てる。組み立てた下部補修材1Aは、水上作業床10から水中に沈める。その後、同じく水上作業床10の上で、上部補修材1Bを組み立てて下部補修材1Aに連結する。そのため、作業者は、管路Pの内面に設置する補修材1(下部補修材1Aと上部補修材1B)を、水に浮いた水上作業床10の上で組み立てることになるため、水に浸かりながら作業を行う必要がない。また、補修材1A,1Bの組立を行うための水上作業床10は、管路P内に引き入れて水に浮かべるだけで設置できることから、その設置作業、及び、撤去作業は非常に簡単であり、短い時間で完了できる。
本実施形態では、沈降工程において、下部補修材1Aを管路Pの底部に当たるまで沈める。このとき、その前の下部補修材組立工程で、下部補修材1Aは一定以上の大きさに組み立てられており、下部補修材1Aを管路Pの底部まで沈めたときに、この下部補修材1Aの一部が水面上に出る。そのため、後の上部補修材組立工程で組み立てられる上部補修材1Bを、水上作業床10の上から下部補修材1Aに連結する作業が容易になる。
また、本実施形態では、管路Pの一部区間についての下部補修材1Aを、水上作業床10の上で組み立てた後、この下部補修材1Aを管路Pに一時的に連結して保持した上で、水上作業床10を移動させる。これら一連の工程を繰り返し行うことにより、複数の区間のそれぞれについて、下部補修材1Aを順に組み立てる。つまり、管路Pの補修区間が長い場合でも、この補修区間を複数の区間に分けて、これらの区間毎に下部補修材1Aを組み立てて互いに連結することで、補修区間全域の補修材1を組み立てることができる。
尚、このときの水上作業床10の移動においては、管路P内の水の流れ方向の上流側からワイヤ11を引っ張ることにより、水上作業床10を、水の流れ方向の下流側から上流側へ移動させる。このように、上流側から水上作業床10をワイヤ11で引っ張っていることから、水上作業床10が、水流によって下流側に移動するということが起こりにくくなり、水上作業床10の位置が安定する。
次に、前記実施形態に種々の変更を加えた変更形態について説明する。但し、前記実施形態と同様の構成を有するものについては、同じ符号を付して適宜その説明を省略する。
1]前記実施形態では、図8に示すように、水上作業床10の上で組み立てた下部補修材1Aを、1回の沈降工程で管路Pの底部に当たるまで沈めていた。これに対して、管路P内の水量が多い場合などには、複数回に分けて下部補修材1Aを沈めてもよい。
図11(a)に示すように、管路P内の水位が高い場合には、水上作業床10の上で組み立てた下部補修材1Aを水中に沈める際に、下部補修材1Aが管路Pの底部に当たる前で沈降を止める。次に、図11(b)に示すように、途中まで沈めた下部補修材1Aの上に水上作業床10を移動させ、この水上作業床10の上で、上部補修材1Bの一部分1Bxを組み立てる。その際、上部補修材1Bの一部分を下部補修材1Aに連結することが容易になるように、図11(a)の沈降工程では、下部補修材1Aの一部が水面上に少し出ている状態で、下部補修材1Aの沈降を止めることが好ましい。上部補修材1Bの一部分1Bxの組み立て、及び、下部補修材1Aへの連結が終わったら、図11(c)に示すように、2つの補修材1A,1Bxの連結体20を、下部補修材1Aが管路Pの底部に当たるまで沈める。その後、図示は省略するが、再び水上作業床10を連結体20の上方に移動させ、この水上作業床10の上で上部補修材1Bの残りの部分を組み立てて、連結体20に連結する。
2]前記実施形態では、図8に示すように、補修区間の全域において下部補修材1Aを組み立てた後に、それらの下部補修材1Aを一斉に水中に沈めていたが、一部の区間の下部補修材を組み立てた段階で、その下部補修材1Aを順次水中に沈めるようにしてもよい。
図12(a)の例では、まず、水上作業床10の上で、管路Pの補修区間のうちの、左端の区間についての下部補修材1Aを組み立ててから、この下部補修材1Aをチェーンブロック14で吊り下げて一時的に保持する。次に、水上作業床10を右側の区間に移動させる。水上作業床10を移動させたら、図12(b)に示すように、先に組み立てた下部補修材1Aのうちの左側部分を水に沈め、右側部分は水面上に出た状態にする。この状態で、次の区間の下部補修材1Aを水上作業床10の上で組み立てるとともに、先に組み立てた下部補修材1Aの右側部分に連結する。このように、下部補修材1Aの組み立てと水中への沈降を交互に繰り返すことにより、補修区間全域についての下部補修材1Aを、管路Pの底部に設置する。
3]管路Pの口径が大きい、あるいは、補修区間が長い場合など、補修作業に要する時間が長くなる場合は、1日で補修材1の設置を終えることができない場合も考えられる。その場合は、補修材1の設置作業を途中で中断し、翌日以降に作業を再開することになる。
作業を中断する際に、水上作業床10を管路P内に放置したままにしておくと、水上作業床10が管路P内の水の流れによって下流側に流されてしまう虞があるため、水上作業床10は、一旦、管路Pから撤去しておくことが望ましい。また、組み立てが終わった後の、管路Pの天井部から吊り下げた状態で保持している下部補修材1Aは、一旦、管路Pの底部まで降ろして沈めておく。
4]水上作業床10の上で組み立てた下部補修材1Aを、管路Pに一時的に連結して保持する方法としては、前記のチェーンブロック14で管路Pの天井部から吊り下げる方法には限られない。例えば、管路Pに、その両側の側壁部から張り出す支持部を設け、これらの支持部によって下部補修材1Aを一時的に保持することも可能である。
5]前記実施形態では、補修区間を複数の区間に分けて、これらの区間毎に下部補修材1Aを組み立てて互いに連結している。これに対して、管路Pの一部分のみを補修する場合など、補修区間が短い場合には、水上作業床10の上で、補修区間の全域について下部補修材1Aを組み立てることも可能である。
6]管路内に設置する補修材は、前記実施形態で例示した構成のものには限られない。
1 補修材
1A 下部補修材
1B 上部補修材
2 補強リング
4 被覆部材
5 補強部材
7 補強構造体
7A 下部補強構造体
7B 上部補強構造体
8 硬化性充填材
10 水上作業床
14 チェーンブロック
P 管路

Claims (7)

  1. 内部に水が存在する管路の内面に沿って補修材を設置することにより、前記管路を補修する方法であって、
    前記管路内に、内部の水に浮く水上作業床を設置する、作業床設置工程と、
    前記水上作業床の上で、前記管路の底部を補修するための第1補修材を組み立てる、第1補修材組立工程と、
    組み立てた前記第1補修材を水中に沈める、沈降工程と、
    前記水上作業床の上で、前記管路の前記底部よりも上側の部分を補修するための第2補修材を組み立てて前記第1補修材に連結する、第2補修材組立工程と、
    を含むことを特徴とする管路補修方法。
  2. 前記沈降工程では、前記第1補修材を前記管路の底部まで沈め、
    その前の前記第1補修材組立工程では、前記第1補修材を、前記沈降工程で前記管路の底部まで沈めたときにその一部が水面上に出るような大きさに組み立てることを特徴とする請求項1に記載の管路補修方法。
  3. 前記沈降工程において、前記第1補修材の一部が水面上に出るように前記第1補修材を沈めることを特徴とする請求項1に記載の管路補修方法。
  4. 前記第1補修材組立工程では、前記管路の一部区間についてのみ前記第1補修材を組み立て、
    前記第1補修材組立工程後に、前記一部区間の前記第1補修材を前記管路に一時的に連結して前記第1補修材を保持する、補修材保持工程と、
    前記補修材保持工程後に、前記水上作業床を前記管路の長さ方向に移動させる作業床移動工程と、をさらに含み、
    前記第1補修材組立工程、前記補修材保持工程、及び、前記作業床移動工程を繰り返し行うことにより、前記水上作業床を移動させつつ、前記管路の複数の区間について前記第1補修材を順に組み立てることを特徴とする請求項1〜3の何れかに記載の管路補修方法。
  5. 前記補修材保持工程では、前記管路の天井部に吊り下げ具を設置し、前記吊り下げ具で前記第1補修材を吊り下げることによって、前記第1補修材を保持することを特徴とする請求項4に記載の管路補修方法。
  6. 前記管路内の水は、前記管路の長さ方向に沿って一方向に流れており、
    前記作業床移動工程において、前記水上作業床に牽引索を接続し、前記牽引索により前記水の流れ方向上流側から前記水上作業床を引っ張ることで、前記水上作業床を前記流れ方向上流側に移動させることを特徴とする請求項4又は5に記載の管路補修方法。
  7. 前記第1補修材組立工程では、管路の長さ方向に並ぶ複数の第1補強部材を互いに連結して第1補強構造体を組み立て、この第1補強構造体の内側に第1被覆部材を取り付けることによって、前記第1補修材を形成し、
    前記第2補修材組立工程では、管路の長さ方向に並ぶ複数の第2補強部材を互いに連結して第2補強構造体を組み立て、この第2補強構造体の内側に第2被覆部材を取り付けることによって、前記第2補修材を形成し、
    前記第1補修材と前記第2補修材を連結して前記管路の内面に設置した後に、前記第1補修材及び前記第2補修材と前記管路の内面の間の隙間に、硬化性充填材を充填する充填工程をさらに含むことを特徴とする請求項1〜6の何れかに記載の管路補修方法。
JP2014241036A 2014-11-28 2014-11-28 管路補修方法 Active JP6378619B2 (ja)

Priority Applications (1)

Application Number Priority Date Filing Date Title
JP2014241036A JP6378619B2 (ja) 2014-11-28 2014-11-28 管路補修方法

Applications Claiming Priority (1)

Application Number Priority Date Filing Date Title
JP2014241036A JP6378619B2 (ja) 2014-11-28 2014-11-28 管路補修方法

Publications (2)

Publication Number Publication Date
JP2016102549A JP2016102549A (ja) 2016-06-02
JP6378619B2 true JP6378619B2 (ja) 2018-08-22

Family

ID=56089263

Family Applications (1)

Application Number Title Priority Date Filing Date
JP2014241036A Active JP6378619B2 (ja) 2014-11-28 2014-11-28 管路補修方法

Country Status (1)

Country Link
JP (1) JP6378619B2 (ja)

Family Cites Families (5)

* Cited by examiner, † Cited by third party
Publication number Priority date Publication date Assignee Title
US4995761A (en) * 1989-08-23 1991-02-26 Barton Kenneth S Method and apparatus for repairing ruptures in underground conduits
JP3764531B2 (ja) * 1996-08-09 2006-04-12 株式会社間組 管路補修工法
JP2002221293A (ja) * 2001-01-25 2002-08-09 Kajima Corp 既設管きょの内面補修に使用するセグメントのリング組立兼搬送設備およびセグメントリング組立搬送方法
JP3987369B2 (ja) * 2002-04-11 2007-10-10 鹿島建設株式会社 既設管きょの更生管の敷設工法および敷設装置
JP5770562B2 (ja) * 2011-03-31 2015-08-26 積水化学工業株式会社 既設管の更生方法、浮体固定治具、管体運搬用キット、及び管体構造

Also Published As

Publication number Publication date
JP2016102549A (ja) 2016-06-02

Similar Documents

Publication Publication Date Title
CN108060928B (zh) 盾构隧道复合管片环结构、拼装方法及复合管片的制造方法
JP6067834B2 (ja) 下水道マンホールを修復するためのシステム
CN103899841B (zh) 一种海底管道外爬行式铺袋装置
CN101575858A (zh) 水下桥墩加固用钢围堰的施工方法
JP6653839B1 (ja) 仮締切構造体の施工方法及びそれに使用するフロートプラットフォーム
US20230279630A1 (en) Grout applicator
JP6314547B2 (ja) 杭式構造物の改修構造および改修工法
JP6378619B2 (ja) 管路補修方法
JP6152768B2 (ja) 海底パイプラインの敷設工法
Harinath et al. Design, construction and erection of seawater intake system to establish a biofouling test facility
AU2014259119B2 (en) A method of installing pin piles into a seabed
JP5288356B2 (ja) マンホール部の既設配管と新規配管の接続方法
KR101066023B1 (ko) 수중 교각 시공장치 및 이를 이용한 교각 시공방법
JP5087154B2 (ja) 水域構造物の足場構築工法及び足場構造
JP6353332B2 (ja) 螺旋案内路付き縦管の施工方法
JP3889301B2 (ja) 管の敷設装置、敷設システムおよび敷設工法
RU152410U1 (ru) Облицованный канализационный колодец
JP6018963B2 (ja) 勾配補正管路の構築方法およびこれに用いられる支持具
KR101154623B1 (ko) 수중 교각 시공장치 및 이를 이용한 교각 시공방법
RU2620479C1 (ru) Способ бестраншейного восстановления внутренней поверхности водопропускной системы
KR100751969B1 (ko) 현장제관 관로 설치공법
CN206873438U (zh) 一种用于深层搅拌船的防污染装置
CN109372542A (zh) 一种新型风琴式隧道及其铺设方法
JP2016088443A (ja) 海中構造物の海上施工システム及び海上構築方法
RU2630629C2 (ru) Способ ремонта тоннельных коллекторов и подземных трубопроводов

Legal Events

Date Code Title Description
A621 Written request for application examination

Free format text: JAPANESE INTERMEDIATE CODE: A621

Effective date: 20170921

TRDD Decision of grant or rejection written
A01 Written decision to grant a patent or to grant a registration (utility model)

Free format text: JAPANESE INTERMEDIATE CODE: A01

Effective date: 20180703

A977 Report on retrieval

Free format text: JAPANESE INTERMEDIATE CODE: A971007

Effective date: 20180629

A61 First payment of annual fees (during grant procedure)

Free format text: JAPANESE INTERMEDIATE CODE: A61

Effective date: 20180727

R150 Certificate of patent or registration of utility model

Ref document number: 6378619

Country of ref document: JP

Free format text: JAPANESE INTERMEDIATE CODE: R150