JP6322331B2 - ショックアブソーバ - Google Patents

ショックアブソーバ Download PDF

Info

Publication number
JP6322331B2
JP6322331B2 JP2017503955A JP2017503955A JP6322331B2 JP 6322331 B2 JP6322331 B2 JP 6322331B2 JP 2017503955 A JP2017503955 A JP 2017503955A JP 2017503955 A JP2017503955 A JP 2017503955A JP 6322331 B2 JP6322331 B2 JP 6322331B2
Authority
JP
Japan
Prior art keywords
base
chamber
cage
piston
fluid
Prior art date
Legal status (The legal status is an assumption and is not a legal conclusion. Google has not performed a legal analysis and makes no representation as to the accuracy of the status listed.)
Active
Application number
JP2017503955A
Other languages
English (en)
Other versions
JP2017522514A (ja
Inventor
ロマーノ,マイケル
アサディ,ジャーハン
アヴィレディ,プラシャーント
シーラ,ニヒル
Current Assignee (The listed assignees may be inaccurate. Google has not performed a legal analysis and makes no representation or warranty as to the accuracy of the list.)
Hitachi Astemo Americas Inc
Original Assignee
Hitachi Automotive Systems Americas Inc
Priority date (The priority date is an assumption and is not a legal conclusion. Google has not performed a legal analysis and makes no representation as to the accuracy of the date listed.)
Filing date
Publication date
Application filed by Hitachi Automotive Systems Americas Inc filed Critical Hitachi Automotive Systems Americas Inc
Publication of JP2017522514A publication Critical patent/JP2017522514A/ja
Application granted granted Critical
Publication of JP6322331B2 publication Critical patent/JP6322331B2/ja
Active legal-status Critical Current
Anticipated expiration legal-status Critical

Links

Images

Classifications

    • FMECHANICAL ENGINEERING; LIGHTING; HEATING; WEAPONS; BLASTING
    • F16ENGINEERING ELEMENTS AND UNITS; GENERAL MEASURES FOR PRODUCING AND MAINTAINING EFFECTIVE FUNCTIONING OF MACHINES OR INSTALLATIONS; THERMAL INSULATION IN GENERAL
    • F16FSPRINGS; SHOCK-ABSORBERS; MEANS FOR DAMPING VIBRATION
    • F16F9/00Springs, vibration-dampers, shock-absorbers, or similarly-constructed movement-dampers using a fluid or the equivalent as damping medium
    • F16F9/10Springs, vibration-dampers, shock-absorbers, or similarly-constructed movement-dampers using a fluid or the equivalent as damping medium using liquid only; using a fluid of which the nature is immaterial
    • F16F9/14Devices with one or more members, e.g. pistons, vanes, moving to and fro in chambers and using throttling effect
    • F16F9/16Devices with one or more members, e.g. pistons, vanes, moving to and fro in chambers and using throttling effect involving only straight-line movement of the effective parts
    • F16F9/18Devices with one or more members, e.g. pistons, vanes, moving to and fro in chambers and using throttling effect involving only straight-line movement of the effective parts with a closed cylinder and a piston separating two or more working spaces therein
    • F16F9/185Bitubular units
    • FMECHANICAL ENGINEERING; LIGHTING; HEATING; WEAPONS; BLASTING
    • F16ENGINEERING ELEMENTS AND UNITS; GENERAL MEASURES FOR PRODUCING AND MAINTAINING EFFECTIVE FUNCTIONING OF MACHINES OR INSTALLATIONS; THERMAL INSULATION IN GENERAL
    • F16FSPRINGS; SHOCK-ABSORBERS; MEANS FOR DAMPING VIBRATION
    • F16F9/00Springs, vibration-dampers, shock-absorbers, or similarly-constructed movement-dampers using a fluid or the equivalent as damping medium
    • F16F9/32Details
    • F16F9/34Special valve constructions; Shape or construction of throttling passages
    • F16F9/348Throttling passages in the form of annular discs or other plate-like elements which may or may not have a spring action, operating in opposite directions or singly, e.g. annular discs positioned on top of the valve or piston body
    • F16F9/3484Throttling passages in the form of annular discs or other plate-like elements which may or may not have a spring action, operating in opposite directions or singly, e.g. annular discs positioned on top of the valve or piston body characterised by features of the annular discs per se, singularly or in combination
    • FMECHANICAL ENGINEERING; LIGHTING; HEATING; WEAPONS; BLASTING
    • F16ENGINEERING ELEMENTS AND UNITS; GENERAL MEASURES FOR PRODUCING AND MAINTAINING EFFECTIVE FUNCTIONING OF MACHINES OR INSTALLATIONS; THERMAL INSULATION IN GENERAL
    • F16FSPRINGS; SHOCK-ABSORBERS; MEANS FOR DAMPING VIBRATION
    • F16F9/00Springs, vibration-dampers, shock-absorbers, or similarly-constructed movement-dampers using a fluid or the equivalent as damping medium
    • F16F9/32Details
    • F16F9/3207Constructional features
    • F16F9/3235Constructional features of cylinders
    • F16F9/3242Constructional features of cylinders of cylinder ends, e.g. caps
    • FMECHANICAL ENGINEERING; LIGHTING; HEATING; WEAPONS; BLASTING
    • F16ENGINEERING ELEMENTS AND UNITS; GENERAL MEASURES FOR PRODUCING AND MAINTAINING EFFECTIVE FUNCTIONING OF MACHINES OR INSTALLATIONS; THERMAL INSULATION IN GENERAL
    • F16FSPRINGS; SHOCK-ABSORBERS; MEANS FOR DAMPING VIBRATION
    • F16F9/00Springs, vibration-dampers, shock-absorbers, or similarly-constructed movement-dampers using a fluid or the equivalent as damping medium
    • F16F9/32Details
    • F16F9/34Special valve constructions; Shape or construction of throttling passages
    • FMECHANICAL ENGINEERING; LIGHTING; HEATING; WEAPONS; BLASTING
    • F16ENGINEERING ELEMENTS AND UNITS; GENERAL MEASURES FOR PRODUCING AND MAINTAINING EFFECTIVE FUNCTIONING OF MACHINES OR INSTALLATIONS; THERMAL INSULATION IN GENERAL
    • F16FSPRINGS; SHOCK-ABSORBERS; MEANS FOR DAMPING VIBRATION
    • F16F9/00Springs, vibration-dampers, shock-absorbers, or similarly-constructed movement-dampers using a fluid or the equivalent as damping medium
    • F16F9/32Details
    • F16F9/34Special valve constructions; Shape or construction of throttling passages
    • F16F9/348Throttling passages in the form of annular discs or other plate-like elements which may or may not have a spring action, operating in opposite directions or singly, e.g. annular discs positioned on top of the valve or piston body
    • F16F9/3482Throttling passages in the form of annular discs or other plate-like elements which may or may not have a spring action, operating in opposite directions or singly, e.g. annular discs positioned on top of the valve or piston body the annular discs being incorporated within the valve or piston body
    • FMECHANICAL ENGINEERING; LIGHTING; HEATING; WEAPONS; BLASTING
    • F16ENGINEERING ELEMENTS AND UNITS; GENERAL MEASURES FOR PRODUCING AND MAINTAINING EFFECTIVE FUNCTIONING OF MACHINES OR INSTALLATIONS; THERMAL INSULATION IN GENERAL
    • F16FSPRINGS; SHOCK-ABSORBERS; MEANS FOR DAMPING VIBRATION
    • F16F2230/00Purpose; Design features
    • F16F2230/06Fluid filling or discharging

Landscapes

  • Engineering & Computer Science (AREA)
  • General Engineering & Computer Science (AREA)
  • Mechanical Engineering (AREA)
  • Fluid-Damping Devices (AREA)

Description

(関連出願の相互参照)
本出願は、2014年7月25日に出願された米国特許仮出願第62/029,020号の優先権を主張し、同出願の内容は、参照により本明細書に組み込まれる。
(発明の分野)
本発明は、ショックアブソーバに関する。
自動車などの殆どの軽量車輌が、乗員の乗り心地を向上させるためにショックアブソーバを使用する。ショックアブソーバは、理想的には、路面の高さの変動に関わらず車輌のシャーシを同じ高さまたはほぼ同じ高さ位置に維持する。
ショックアブソーバは、路面の凹凸に起因して車輌のシャーシに伝達されるエネルギーを吸収するのに不可欠である。多くの道路がでこぼこしているので、ショックアブソーバの性能は、乗員の乗り心地を向上させるためだけではなく、道路から車輌および車輌のシャーシへのエネルギーの伝達を低減さるために重要である。
大部分のショックアブソーバは、外筒と、外筒内に同軸に装着された内筒と、内筒の内室内に往復運動するように装着されたピストンとを備える。ベースバルブアセンブリは、外筒および内筒の端部に取り付けられ、内筒と外筒との間に形成された外側環状補充チャンバと内筒の内室内の主作動チャンバとの間の流体流れを調節する。内筒内に往復運動するように装着されているピストンは、作動液の中に浸されている。さらに、ショックアブソーバの内筒は、しばしば圧力チューブとして知られ、一方、外筒はリザーブチューブとして知られている。リザーブチューブは、ショックアブソーバ内の余分な作動液を環状外側または補充チャンバ内に蓄える。
従来、ショックアブソーバのピストンは、自動車のシャーシに取り付けられる。同様に、内筒が、サスペンションシステムの車輪構造に取り付けられ、それによって、内筒は、車輪の垂直運動に同調して動く。その結果、車輪が路面の出っ張りや窪みのどちらに遭遇しても、ピストン、したがってシャーシを平らな垂直位置に維持しようと、ピストンが内面内で往復運動をする。
路面からの揺れや衝突の衝撃を減衰するために、ベースバルブアセンブリは、作動チャンバと補充チャンバとの間の流体流れを調節する。さらに、ピストンを貫通するオリフィスは、でこぼこした路面の影響を減衰するために、ピストンを通して流体を流れさせる。
ショックアブソーバは、2つの別個のサイクル、すなわち圧縮サイクルと伸張サイクルとで作動する。バウンドサイクルとしても知られている圧縮サイクルは、ピストンがショックアブソーバの中へ下向きに移動し、それによってピストンより下のショックアブソーバの作動チャンバ内の作動液を圧縮するときに起こる。逆に、リバウンドサイクルとしても知られている伸張サイクルは、ピストンが圧力チューブの上端の方へ外に向かって移動し、それによってショックアブソーバの全長を伸張するときに起こる。これは、今度は、ピストンより上の作動チャンバ内の流体を圧縮する。
自動車産業で使用されるタイプの既知のショックアブソーバの1つの欠点は、これら既知のショックアブソーバがヒステリシスを示すことであり、そのヒステリシスは、リバウンド行程中に、ショックアブソーバの作動チャンバの補充に存在する遅れである。リバウンド行程中の遅れ、または不完全な補充は、外側または補充リザーバから、また、内側または作動チャンバへ、流れる油の量を減少させる。油によるショックアブソーバの作動チャンバの不完全な補充は、バウンド行程中のショックアブソーバの減衰特性に不利な影響を及ぼす。
その結果、大部分の現在のショックアブソーバは、でこぼこな路面に完璧または理想的な応答を示さず、むしろ、ヒステリシスの結果としてリバウンドサイクル中の減衰曲線に変化を示す。さらに、ショックアブソーバのヒステリシスは、補充チャンバと作動チャンバとの間の流体流れを調節するショックアブソーバのベースバルブアセンブリの幾何学的設計に大きく依存する。
本発明は、特に伸張行程中の補充チャンバと作動チャンバとの間の流動特性を改善し、それによってショックアブソーバのヒステリシスを低減するショックアブソーバ用のベースバルブアセンブリを提供する。
要約すると、本発明に係るベースバルブアセンブリは、ショックアブソーバの補充チャンバおよび作動チャンバを形成する内筒および外筒に取り付けられている全体的に円筒状のベースプレートを備える。前述のように、ピストンは、内筒の作動チャンバ内に往復運動するように装着されている。
そして、ベースケージがベースプレート上に配置される。ベースケージは、ピストンの圧縮行程中、内側作動チャンバを外側補充チャンバに流体接続する流体通路の第1セットを備える。この流体通路の第1セットは、断面形状がほぼ円形である。
また、流体通路の第2セットは、外側補充チャンバを内側作動チャンバに流体接続するが、ピストンの伸張行程でそれを行う。この流体通路の第2セットは、第1セットのスロットの周りにベースケージを貫通して形成された弧状の細長いスロットによって、それらスロットの端部同士が互いに近接して配置されるように、形成される。そうすることによって、伸張サイクル中、流体通路の第2セットを通して最大の流れを生じさせることができる。
第1フラップバルブは、流体通路の第1セットに組み合わされて、流体通路の第1セットを通る流体流れを圧縮サイクル中のみに限定する。逆に、第2フラップバルブは、流体通路の第2のセットと組み合わされて、補充チャンバから作動チャンバ内への流体流れを伸張行程中に限定する。
ベースバルブアセンブリを通る油の流れをさらに改善するために、通路の第2セットの半径方向内側の壁、すなわち細長いスロットがベースケージの外側端部から外方へ延出する。さらに、それらスロットの半径方向外側面は、スロットから半径方向外方へ延出するか、またはショックアブソーバの軸長に対して内方へ僅かに傾斜しているかのどちらかである。その結果、伸張行程中の補充チャンバから作動チャンバへの油の流体流れが、ベースケージの下においてスロットの内側の壁に対して自由に流れる。次いで、スロットの内側の壁は、流体流れを、スロットを通して上方へ導き、作動チャンバへ導き入れる。
補充チャンバからスロットを通って作動チャンバに入る作動油の流動抵抗をさらに低減するために、円錐台状偏向板面は、流体流路の第2のセットを形成するスロットと位置合わせされて、ベースプレート上に形成される。その結果、伸張サイクル中、補充チャンバからの流体流れが、偏向板面によってスロットを通り上方へ偏向されて、それによって流動抵抗を最小限に抑える。
ベースバルブアセンブリを通る油の流動抵抗を最小限に抑えることによって、特に伸張サイクル中、ショックアブソーバのヒステリシスが大幅に低減され、それによって、ショックアブソーバの全体性能が向上する。
添付図面と併せてそれを読めば、以下の詳細な説明を参照して、本発明のより良い理解が得られるであろう。添付図面では、複数の図を通して同様な参照符号は同様な構成要素を示す。
図1は、本発明のベースバルブアセンブリを使用するショックアブソーバを示す長手方向断面図である。 図2は、ベースバルブアセンブリの好ましい実施形態を示す側面図である。 図3は、バルブバルブアセンブリの長手方向断面図である。 図4は、ベースケージアセンブリを示す上面図である。 図5は、圧縮サイクル中の油の流れを示す概略長手方向断面図である。 図6は、図5と同様な図であるが、ショックアブソーバの伸張サイクル中の油の流れを示す図である。
図1を参照すると、乗用車や軽トラックなどの自動軽量車輌に使用されるタイプのショックアブソーバ20が示されている。ショックアブソーバ20は、外筒22と、外筒22内に同軸に配設された内筒21とを備える。内筒21と外筒22とは、それらの上側端部24および下側端部26の両方で一体に固定されている。それによって、内筒21が、外筒22を2つの別個の流体チャンバ、すなわち、内筒21の内室によって形成される円筒状作動チャンバ28と、内筒21と外筒22との間に形成される環状補充チャンバ30とに分割する。すぐにより詳細に説明されるベースバルブアセンブリ32は、補充チャンバ30と作動チャンバ28との間の流体流れを制御する。
内筒21の内周に対してその外周が封止されたピストン34は、内筒21の作動チャンバ28内に摺動して往復運動できるように配設されている。ピストンロッド36はピストン34に取り付けられ、このピストンロッド36は、ショックアブソーバ20の上側端部24の開口を通って外へ延出する。
使用中、ピストンロッド36の上側端部38は、車輌のシャーシに取り付けられる。逆に、ショックアブソーバ20の下側端部26は、車輌のサスペンションシステムに取り付けられ、それによって、ショックアブソーバ20の下側端部26は、サスペンションシステムと、したがって自動車の車輪と同調して垂直に動く。ブラケット40などの任意の従来の機構を、ショックアブソーバ20の下側端部26をサスペンションシステムに取り付けるために使用することができる。
ピストン34は、また、作動チャンバ28の上側部分と下側部分との間で流体を流動させる貫通オリフィス35を備える。これらオリフィスは、バルブ式にすることができ、構造上は従来通りである。
次いで図2を参照すると、そこではベースバルブアセンブリ32がより詳細に示されている。ベースバルブアセンブリ32は、外側端部52および内側端部54を有する全体的に円筒状の形状であるベースプレート50を備える。ベースプレート50は、外筒22の下側端部に取り付けられ、それによって外筒22の下側端部を流体封止する。
円筒状ベースケージ56は、ベースプレート50によって支持された外側または下側端部58を有する。ベースケージ56の上側端部60は、作動チャンバ28に開放されている。
次いで図4を参照すると、ベースケージ56は、ベースケージ56の軸方向両端部58と60との間に延在する、円周上に離隔配置された複数の流体通路62を有する。同様に、また、弧状の複数のスロット64が、ベースケージ56の両端部58と60との間に軸方向に形成されている。これらスロット54は、ベースケージ56を貫通して軸方向に延在する流体通路の第2セットを形成し、通路62の第1セットより半径方向外側に配置される。
さらに図4を参照すると、隣接するスロット64の端部同士が互いに近接して配置され、その結果、ベースケージ56の極めて狭いウェブ66だけでスロット64を互いに分離している。したがって、これらスロット64は、ベースケージ56を貫通する自由連通を確立する。
図3を参照すると、第1ベースバルブ70が、ベースケージ56の外側端部58上で通路62の第1セットに覆い重なるように、ベースケージ56に取り付けられている。ベースバルブ70は、ボルト72によって所定位置に固定される。ただし、ショックアブソーバの圧縮サイクルの場合、すなわちプランジャ34の下方への移動によって作動チャンバ28内の圧力が増加すると、作動チャンバ28内の増加した圧力が、図5に示されるように、ベースバルブ70を開かせ、矢印74によって示されるように、作動チャンバ28からベースケージ56の側方開口71(図2)を通して補充チャンバ30へ流体を流れさせる。
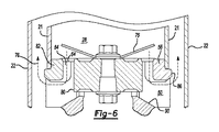
次いで、図3および6を参照すると、第2ベースバルブ75が、スロット64を覆って延在する一方で通路62と位置の合った開口を有するように、ナット77によってベースケージ56に固定されている。伸張時には、作動チャンバ28内の圧力が減少する。これが、第2ベースバルブ75を開かせ、流体を補充チャンバ30から主チャンバ38へ矢印76で示されるように流れさせる。
伸張サイクル中の補充チャンバ30から作動チャンバ28への流動抵抗を低減するために、流体通路の第2セットの各スロット64の内側の壁80は、スロットを形成する開口を過ぎて下方へ延出する。さらに、スロット74の外側の壁84から半径方向外方へ延出するベースケージ56の下面82が、スロット74から半径方向外方へ延出し、または上方に傾斜している。その結果、補充チャンバ30から作動チャンバ28への作動液の流体流れが全体的に妨げられず、正に、スロット74の内側の壁80が流れをスロット74を通して上方へ導く。
さらに図6を参照すると、また、ベースケージ56の外周縁部86は、伸張サイクル中の補充チャンバ30から作動チャンバ28への流体流れを容易にするために、丸みを帯びている。
さらに図6を参照すると、伸張サイクル中、流体流れを補充チャンバ30からスロット74を通して上方へさらに導くために、スロット64と位置合わせされた円錐台面90が、ベース50上に形成されている。この円錐台面90もまた、その内側端部から外側端部へ軸方向下方かつ半径方向外方に傾斜しており、それによって、伸張サイクル中、面90が、作動油をベースケージ56のスロット64に向けて跳ね返して導く。
上記より、本発明は、ショックアブソーバの伸張サイクル中の流動の制限を低減する、ショックアブソーバのベースバルブアセンブリの設計を提供することが分かる。流動の制限をこのように低減することによって、ショックアブソーバのヒステリシスが改善され、それによって、ショックアブソーバの全体性能が向上する。
本発明を説明してきたが、添付特許請求の範囲によって定義される本発明の主旨から逸脱することなく本発明が適合する多くの本発明への変更が、当業者にとって明らかになるであろう。

Claims (3)

  1. 外筒と、内筒と、前記内筒の内室内に往復運動式に装着されたピストンとを有するタイプのショックアブソーバと組み合わせて使用するための、前記外筒と前記内筒との間の環状外側補充チャンバと、前記内筒の前記内室によって形成される内側作動チャンバとの間の流体流れを調節するベースバルブアセンブリであって、
    ベースプレートと、
    前記ベースプレート上に配置されたベースケージであって、前記ピストンの圧縮行程において前記内側作動チャンバを前記外側補充チャンバに流体接続する流体通路の第1セットと前記ピストンの伸張行程において前記外側補充チャンバを前記内側作動チャンバに流体接続する流体通路の第2セットとを有するベースケージと、
    前記ベースケージに装着され、前記ピストンの前記圧縮行程中、流体通路の前記第1セットを開口する第1ベースバルブと、
    前記ベースケージに装着され、前記ピストンの前記伸張行程中、流体通路の前記第2セットを開口する、第2ベースバルブと
    を備え、
    流体通路の前記第2セットは、前記ベースケージを貫通して形成された複数の弧状の細長いスロットを備え、それによって前記スロットの端部同士が互いに近接しており、 前記ベースケージは、内側端部および外側端部を有し、前記ベースケージの前記外側端部と前記ベースプレートとの間に形成されて通路の前記第2セットを前記外側補充チャンバに流体接続する補充流体通路を備え、通路の前記第2セットの内側の壁は、前記ベースケージの前記外側端部上で、前記補充通路の半径方向外側端部に対して外方に延出する、ベースバルブアセンブリ。
  2. 前記ベースケージの前記外側端部の、通路の前記第2セットから半径方向外方に位置する部分は、通路の前記第2セットの外側端部から前記ベースケージの外周まで平坦である、または軸方向内方へ傾いている、請求項に記載のベースバルブアセンブリ。
  3. 前記ベースケージの前記外側端部の半径方向最も外側の縁部は丸みを帯びている、請求項に記載のベースバルブアセンブリ。
JP2017503955A 2014-07-25 2015-07-27 ショックアブソーバ Active JP6322331B2 (ja)

Applications Claiming Priority (3)

Application Number Priority Date Filing Date Title
US201462029020P 2014-07-25 2014-07-25
US62/029,020 2014-07-25
PCT/US2015/042237 WO2016015047A1 (en) 2014-07-25 2015-07-27 Shock absorber

Publications (2)

Publication Number Publication Date
JP2017522514A JP2017522514A (ja) 2017-08-10
JP6322331B2 true JP6322331B2 (ja) 2018-05-09

Family

ID=55163894

Family Applications (1)

Application Number Title Priority Date Filing Date
JP2017503955A Active JP6322331B2 (ja) 2014-07-25 2015-07-27 ショックアブソーバ

Country Status (5)

Country Link
US (1) US10480604B2 (ja)
EP (1) EP3172458B1 (ja)
JP (1) JP6322331B2 (ja)
CN (1) CN106536965B (ja)
WO (1) WO2016015047A1 (ja)

Families Citing this family (4)

* Cited by examiner, † Cited by third party
Publication number Priority date Publication date Assignee Title
DE102016225341B4 (de) * 2016-12-16 2020-03-26 Zf Friedrichshafen Ag Hydraulischer Doppelrohr-Stoßdämpfer
TWI645811B (zh) * 2017-11-06 2019-01-01 川湖科技股份有限公司 可活動傢俱件及其緩衝裝置
US11866977B2 (en) 2018-07-06 2024-01-09 Moshun, LLC Systems and devices for adjustable door closure control
US20230304344A1 (en) * 2022-03-23 2023-09-28 Moshun, LLC Systems and devices for motion control

Family Cites Families (23)

* Cited by examiner, † Cited by third party
Publication number Priority date Publication date Assignee Title
BE412460A (ja) * 1934-11-29
US2653683A (en) * 1947-09-27 1953-09-29 Houdaille Hershey Corp Telescopic shock absorber
DE1112348B (de) * 1960-06-18 1961-08-03 Fichtel & Sachs Ag Kolben bzw. Absperrplatte fuer Schwingungsdaempfer
US3180453A (en) * 1963-08-16 1965-04-27 Kayaba Industry Co Ltd Valve device of an oil damper for suspension of a wheel of a vehicle
DE2355254A1 (de) * 1972-11-09 1974-05-22 Allinquant F M Hydraulischer teleskopstossdaempfer und federungsanordnung mit einem solchen stossdaempfer
DE7308125U (de) * 1973-03-02 1978-03-23 Taylor, Douglas P., Grand Island, N.Y. (V.St.A.) Flüssigkeitsfederstoßdämpfer
JPS6110026Y2 (ja) * 1981-02-25 1986-04-01
NL8500145A (nl) * 1985-01-21 1986-08-18 Koni Bv Hydraulische tweepijpsschokdemper.
JPS6440731A (en) * 1987-08-04 1989-02-13 Atsugi Motor Parts Co Ltd Valve construction of liquid pressure buffer
JP2918257B2 (ja) * 1989-11-16 1999-07-12 株式会社ユニシアジェックス 減衰力可変型緩衝器
GB2266133B (en) 1989-11-16 1994-03-09 Atsugi Unisia Corp Improvements in and relating to check valve assemblies
US5150775A (en) * 1991-12-19 1992-09-29 General Motors Corporation Steer-sensitive variable damper and method utilizing a ring valve
DE4406349C2 (de) * 1994-02-26 1997-04-03 Fichtel & Sachs Ag Werk Eitorf Teleskop-Schwingungsdämpfer
US6230858B1 (en) * 1999-08-31 2001-05-15 Delphi Technologies, Inc. Internally slotted orifice disc for low speed control in automotive dampers
US6382372B1 (en) * 2000-01-03 2002-05-07 Tenneco Automotive Inc. Ported disc variable bleed orifice
US6672436B1 (en) * 2000-04-19 2004-01-06 Tenneco Automotive Operating Company Inc. Variable bleed orifice valving
JP2002139090A (ja) * 2000-10-31 2002-05-17 Kayaba Ind Co Ltd 油圧緩衝器のバルブ構造
US6883652B2 (en) * 2003-09-22 2005-04-26 Tenneco Automotive Operating Company, Inc. Heavy duty base valve
DE102005028850B3 (de) * 2005-06-22 2006-12-14 Zf Friedrichshafen Ag Schwingungsdämpfer
US8543971B2 (en) * 2011-07-13 2013-09-24 International Business Machines Corporation Specifying on the fly sequential assembly in SOA environments
US9169890B2 (en) * 2011-07-21 2015-10-27 Tenneco Automotive Operating Company Inc. Low noise valve assembly
JP5835986B2 (ja) * 2011-07-27 2015-12-24 日立オートモティブシステムズ株式会社 シリンダ装置
JP5923323B2 (ja) * 2012-01-31 2016-05-24 日立オートモティブシステムズ株式会社 シリンダ装置

Also Published As

Publication number Publication date
EP3172458A1 (en) 2017-05-31
EP3172458B1 (en) 2020-12-30
US20170191542A1 (en) 2017-07-06
EP3172458A4 (en) 2018-04-04
JP2017522514A (ja) 2017-08-10
WO2016015047A1 (en) 2016-01-28
US10480604B2 (en) 2019-11-19
CN106536965A (zh) 2017-03-22
CN106536965B (zh) 2020-01-17

Similar Documents

Publication Publication Date Title
CN114616407B (zh) 阻尼器
US6776269B1 (en) Twin piston shock absorber
US8083039B2 (en) Disc spring intake
US7032727B2 (en) Shock absorber having a hydraulic stop
US9080634B2 (en) Shock absorber with frequency dependent passive valve
US20140311841A1 (en) Velocity progressive valving
US20150047934A1 (en) Low pressure high compression damping monotube shock absorber having a baffle
JP6322331B2 (ja) ショックアブソーバ
US20240084874A1 (en) Shock Absorber
CN105370785B (zh) 用于减震器的主体阀总成
US9581217B2 (en) Shock absorber
JP4902497B2 (ja) 油圧緩衝器
WO2011065040A1 (ja) 油圧緩衝器
US20040154888A1 (en) Monotube strut with rebound cut-off feature
JP5755616B2 (ja) 油圧緩衝器及びバルブ
JP2004028167A (ja) 油圧緩衝器
JP6438339B2 (ja) 油圧緩衝器
CN101193766B (zh) 用于机动车辆的减震器
JP5872347B2 (ja) 油圧緩衝器
KR102610749B1 (ko) 차량용 쇽업소버
KR101771684B1 (ko) 주파수 감응형 쇽업소버
KR20170065743A (ko) 차량용 댐퍼 장치
KR20130057133A (ko) 위치감응형 쇽업소버

Legal Events

Date Code Title Description
A621 Written request for application examination

Free format text: JAPANESE INTERMEDIATE CODE: A621

Effective date: 20170202

A977 Report on retrieval

Free format text: JAPANESE INTERMEDIATE CODE: A971007

Effective date: 20171129

A131 Notification of reasons for refusal

Free format text: JAPANESE INTERMEDIATE CODE: A131

Effective date: 20171205

A521 Request for written amendment filed

Free format text: JAPANESE INTERMEDIATE CODE: A523

Effective date: 20180220

TRDD Decision of grant or rejection written
A01 Written decision to grant a patent or to grant a registration (utility model)

Free format text: JAPANESE INTERMEDIATE CODE: A01

Effective date: 20180313

A61 First payment of annual fees (during grant procedure)

Free format text: JAPANESE INTERMEDIATE CODE: A61

Effective date: 20180406

R150 Certificate of patent or registration of utility model

Ref document number: 6322331

Country of ref document: JP

Free format text: JAPANESE INTERMEDIATE CODE: R150

R250 Receipt of annual fees

Free format text: JAPANESE INTERMEDIATE CODE: R250

R250 Receipt of annual fees

Free format text: JAPANESE INTERMEDIATE CODE: R250

R250 Receipt of annual fees

Free format text: JAPANESE INTERMEDIATE CODE: R250

R250 Receipt of annual fees

Free format text: JAPANESE INTERMEDIATE CODE: R250

R250 Receipt of annual fees

Free format text: JAPANESE INTERMEDIATE CODE: R250