JP6320359B2 - 残置杭破砕工法 - Google Patents

残置杭破砕工法 Download PDF

Info

Publication number
JP6320359B2
JP6320359B2 JP2015199064A JP2015199064A JP6320359B2 JP 6320359 B2 JP6320359 B2 JP 6320359B2 JP 2015199064 A JP2015199064 A JP 2015199064A JP 2015199064 A JP2015199064 A JP 2015199064A JP 6320359 B2 JP6320359 B2 JP 6320359B2
Authority
JP
Japan
Prior art keywords
pile
excavation
ground
crushing
remaining pile
Prior art date
Legal status (The legal status is an assumption and is not a legal conclusion. Google has not performed a legal analysis and makes no representation as to the accuracy of the status listed.)
Active
Application number
JP2015199064A
Other languages
English (en)
Other versions
JP2017071952A (ja
Inventor
功樹 高倉
功樹 高倉
Original Assignee
エポコラム機工株式会社
Priority date (The priority date is an assumption and is not a legal conclusion. Google has not performed a legal analysis and makes no representation as to the accuracy of the date listed.)
Filing date
Publication date
Application filed by エポコラム機工株式会社 filed Critical エポコラム機工株式会社
Priority to JP2015199064A priority Critical patent/JP6320359B2/ja
Publication of JP2017071952A publication Critical patent/JP2017071952A/ja
Application granted granted Critical
Publication of JP6320359B2 publication Critical patent/JP6320359B2/ja
Active legal-status Critical Current
Anticipated expiration legal-status Critical

Links

Images

Landscapes

  • Consolidation Of Soil By Introduction Of Solidifying Substances Into Soil (AREA)
  • Placing Or Removing Of Piles Or Sheet Piles, Or Accessories Thereof (AREA)

Description

本発明は、地盤に残置されたコンクリート杭(以下、「残置杭」という。)を破砕する残置杭破砕工法に関するものである。
従来より、軟弱な地盤上に建造物を建造する際には、建造物の自重を支持し堅固な地盤に確実に伝達する目的で地盤中に杭を埋設する。この地盤中に埋設する杭としては、予め引張した複数本のPC鋼線等の鋼材にコンクリートを円筒状に一体化させて、高強度・高耐力となるように製造したコンクリート杭(RC杭・PC杭・PHC杭等)が使用されている。
このような建造物を解体し、新たな建造物への建替え等を行う場合、まず、地上にある建造物の解体を行い、その後、地盤中に残置されるコンクリート杭(残置杭)の破砕・除去を行わなければならない。その後、更地となった敷地に新たな建造物建設のための工事を行う。
ここで、従来の残置杭除去方法としては、地盤を掘削しながら地中の残置杭を破砕する掘削・破砕装置を用いて行っている。具体的には、円筒状の残置杭の中央空洞部に円錐状の掘削・破砕装置を差し込んで、楔状に残置杭を中央空洞部から外周部に押し広げるように破砕する方法や、残置杭の側方から水平翼状の掘削・破砕装置を回転させ衝撃を加えて破砕する方法がある(たとえば、特許文献1参照。)。
特開2006−219842号公報
ところが、上記従来の残置杭破砕工法では、掘削・破砕装置による衝撃等の外力を残置杭のコンクリートに直接加えて残置杭を破砕しているために、破砕されたコンクリートは大粒の破砕ガラとなって地中に残存していた。
その大粒破砕ガラが残存すると、地中障害物となってその後に行う新たな建造物建設のための基礎工事の支障となっていた。
また、施工後に掘削・破砕装置を引き上げるとその下端に、杭の破砕片の一部も同時に巻付いて引き上げる。この破砕片は除去後、現場内に集積し排出等の処理を行う。引き上げられた破砕片の組成は、掘削・破砕装置による衝撃等の外力を残置杭のコンクリートに直接加えて残置杭を破砕しているために、コンクリート片と鋼材が一体となっており、排出等の処理をするには、この破砕片のコンクリート部と鋼材部とを分別・仕訳する作業を別途行わなければならず、多大な労力や時間を要していた。
そこで、請求項1に係る本発明では、地盤に残置されていたコンクリート杭(以下、「残置杭」という。)を回転する掘削・破砕体で地盤を掘削しながら破砕する残置杭破砕工法において、掘削・破砕体を残置杭の中心からずらして掘削し、回転する掘削・破砕体に残置杭を構成する鋼材を強制的に巻付けることによって鋼材に引張力を加え、残置杭を構成するコンクリートを破砕することで、残置杭を破砕することにした。
また、請求項2に係る本発明では、前記請求項1に係る本発明において、前記掘削・破砕体は、回転する掘削軸の下端に螺旋状の螺旋翼部を形成するとともに、螺旋翼部の外側に水平に張り出した水平翼部を形成することにした。
また、請求項3に係る本発明では、前記請求項2に係る本発明において、掘削・破砕装置から固化材又は地盤改良剤を吐出するとともに破砕された残置杭の破砕片と固化材又は地盤改良剤と土壌とを撹拌混合することで、破砕された残置杭の破砕片を再利用した地盤改良杭を地盤に形成することにした。
そして、本発明では、以下に記載する効果を奏する。
すなわち、本発明では、地盤に残置されたコンクリート杭(残置杭)を破砕する残置杭破砕工法において、残置杭の鋼材に引張力を加えることで、鋼材に付着するコンクリートを内部から破壊させ残置杭を破砕することにしているために、杭体を構成するコンクリート体を細粒化させて破砕することができるとともに、鋼材から付着するコンクリートを良好に剥離させることができる。結果、残置杭の破砕片は細粒化されていることで、その後に行う基礎工事を円滑かつ良好に行うことができる。
特に、地盤を掘削する掘削・破砕装置の下端に鋼材を強制的に巻付けることで、残置杭の鋼材に引張力を加えて残置杭を破砕しながら地盤を掘削し、その後、鋼材を巻付けたまま掘削・破砕装置を引上げることで、鋼材を分離して回収することにした場合には、排出等の処理を行う際に鋼材とコンクリートとの分別・仕訳作業に要する労力や時間を削減することができる。
また、掘削・破砕装置から固化材又は地盤改良剤を吐出するとともに破砕された残置杭の破砕片と固化材又は地盤改良剤と土壌とを撹拌混合することで、破砕された残置杭の破砕片を再利用した地盤改良杭を地盤に形成することにした場合には、細粒化したコンクリートは地盤改良杭の骨材として有効に利用して残置杭の破砕と地盤改良とを同時に行うことができる。
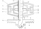
残置杭破砕工法で用いる掘削・破砕装置を示す全体説明図。 同一部切欠拡大側面図。 同平面断面図。 残置杭破砕工法を示す説明図。
以下に、本発明に係る残置杭破砕工法の具体的な構成について図面を参照しながら説明する。なお、以下の説明では、地盤に残置されたコンクリート杭(残置杭)を破砕するとともに同時に地盤の改良(強化)をも行えるように攪拌混合機能を有する掘削・破砕装置を用いた工法について説明するが、本発明は地盤改良を行わずに残置杭の破砕だけを行う工法であってもよい。
図1に示すように、地盤改良装置1は、重機2の前端部に支柱3を立設し、この支柱3に掘削機構4を昇降自在に取付け、この掘削機構4に固化材貯留タンク5と固化材混入機6とからなる固化材供給機構7を、スイベル装置8を介して連結している。
掘削機構4は、支柱3の前側部に駆動モータ10を装設し、この駆動モータ10には反転変速機11が搭載され、この反転変速機11の下部と掘削軸12の上端部を連結するとともに、掘削軸12の下端部に掘削・破砕装置13を取付けている。また、支柱3には、掘削機構4とは別途に昇降支持体9を昇降自在に取付け、独立して昇降移動可能としている。
掘削軸12は、図2及び図3に示すように、同心円上に配置した中空円筒状の内側掘削軸14と外側掘削軸15とで二重軸状に形成しており、反転変速機11に内側掘削軸14と外側掘削軸15とをそれぞれ連結し、反転変速機11の作用によって内側掘削軸14と外側掘削軸15とが相対的に反対方向へ向けて回転するようにしている。
掘削・破砕装置13は、内側掘削軸14の下端部に左右一対の掘削・破砕体16を取付けるとともに、内側掘削軸14の下端中途部外周に左右一対の略コ字状の内側撹拌翼17を取付けている。
また、掘削・破砕装置13は、外側掘削軸15の下端部に左右一対の最内側撹拌翼18を取付けるとともに、外側掘削軸15の下端中途部外周に円周方向に向けて120度間隔に配置した略コ字状の外側撹拌翼19を取付けている。なお、内側掘削軸14と外側掘削軸15とが反転変速機11によって相対的に反対方向へ向けて回転することから、内側掘削軸14に取付けた掘削・破砕体16及び内側撹拌翼17は、外側掘削軸15に取付けた最内側撹拌翼18及び外側撹拌翼19とは相対的に反対方向へ向けて回転するようになっている。
掘削・破砕体16は、内側掘削軸14の下端外周に螺旋状に板状の螺旋翼部20を形成するとともに、螺旋翼部20の外側に水平に張り出した板状の水平翼部21を形成し、螺旋翼部20及び水平翼部21に複数の掘削ビット22を間隔をあけて取付けている。掘削・破砕装置13は、掘削・破砕体16の下端に固化材吐出口23を形成し、固化材供給機構7から供給される固化材を固化材吐出口23から吐出できるようにしている。
本実施の形態では地盤29に固化材を混練させるようにしているが、同固化材に代えて地盤改良剤を使用することも、また、必要に応じて固化材と地盤改良剤を併用することもできる。ここで、地盤改良剤とは、有害物質に汚染された地盤や地下水を、浄化や中和化等して無公害化するものをいう。
内側撹拌翼17は、下端部を内側掘削軸14の外周に取付けるとともに、上端部に環状体24を取付け、この環状体24を外側掘削軸15の外周に回動自在に遊嵌している。また、内側撹拌翼17は、外側に板状の翼体25を傾斜状に取付けている。
最内側撹拌翼18は、内側撹拌翼17の内方において外側掘削軸15の下端外周に板状の翼体26を傾斜状に取付けている。
外側撹拌翼19は、内側撹拌翼17の外方において上端部を外側掘削軸15の中途部外周に取付けるとともに、下端部に環状体27を取付け、この環状体27を内側掘削軸14の外周に回動自在に遊嵌している。また、外側撹拌翼19は、内側に内側撹拌翼17に取付けた翼体25を挟んで上下一対の板状の翼体28を取付けている。
地盤改良装置1は、以上に説明したように構成しており、図1及び図4に示すように、掘削・破砕装置13で地盤29を掘削しながら、地盤29に残置されたコンクリート杭(残置杭30)を破砕するとともに同時に地盤の改良(強化)を行う。
本発明に係る残置杭破砕工法では、図4(a)に示すように、掘削・破砕装置13で残置杭30の近傍の地盤29を掘削していく。
その際には、掘削・破砕装置13の下端中央部を残置杭30の中心からずらして掘削・破砕体16の螺旋翼部20や水平翼部21の掘削ビット22で掘削してもよく、掘削・破砕装置13の下端中央部と残置杭30の中心とを概ね一致させて掘削するようにしてもよい。
掘削・破砕装置13を回転させながら地盤29を掘削すると、図4(b)に示すように、掘削・破砕装置13の掘削・破砕体16が残置杭30に接触して残置杭30が破砕される。
その際に、残置杭30の鋼材31を回転作動する掘削・破砕体16(主に螺旋翼部20)に強制的に巻付ける。なお、残置杭30の近傍を掘削・破砕体16の螺旋翼部20や水平翼部21で掘削することで、鋼材31は掘削・破砕体16の回転作動に伴い、螺旋翼部20や水平翼部21の刃体22等へ引っ掛かる等して、徐々に掘削・破砕体16下方部に巻付いていく。
このように、掘削・破砕装置13の下端に鋼材31を巻付けた状態で地盤29を掘削することで、掘削・破砕装置13の回転作動に伴い鋼材31に強制的に引張力を加えることができる。そして、残置杭30の鋼材31に引張力が加わると、残置杭30の内部において鋼材31が延伸し、コンクリート32と鋼材31とが剥離する。その際、残置杭30のコンクリート32に多数の細かいひび割れが発生し、コンクリート32は保有する強度を失い、掘削・破砕装置13の鋼材31の巻取り作動に併せて、細粒状に破壊されることとなる。この破砕作動を繰り返すことで、残置杭の破砕が可能となる。結果として、残置杭30のコンクリート32を細粒状に破砕することができるとともに、鋼材31からコンクリート32を良好に剥離させて鋼材31とコンクリート32とを分離させることができる。
地盤改良装置1は、図4(c)に示すように、掘削・破砕装置13で地盤29を掘削するとともに、固化材吐出口23から固化材・地盤改良剤を地中に供給し、掘削・破砕体16で掘削した土砂と固化材・地盤改良剤を相対的に反対向きに回転する内側撹拌翼17と最内側撹拌翼18及び外側撹拌翼19とで撹拌混合する。
その際に、残置杭30のコンクリート32が細粒状に破砕されてコンクリート細粒片33となっていることから、このコンクリート細粒片33も土砂や固化材・地盤改良剤とともに撹拌混合される。その結果、地中では、土砂や固化材・地盤改良剤やコンクリート細粒片33が均一に分布した状態となる。
所定の深さまで掘削・破砕・攪拌した後に掘削・破砕装置13を引上げると、図4(d)に示すように、鋼材31が掘削・破砕装置13の掘削・破砕体16に巻付いた状態で地中から排出される。これにより、残置杭30から鋼材31を分離し回収することができる。なお、固化材が硬化することで均一に分布した土砂や固化材やコンクリート細粒片33が一体的に固化し、地中に新規の地盤改良杭34が形成される。コンクリート細粒片33は、新規の地盤改良杭34の骨材として有効に利用される。
以上に説明したように、上記残置杭破砕工法では、残置杭30の鋼材31に引張力を加えることで、鋼材31に付着するコンクリート32を内部から破壊させて残置杭30を破砕している。
そのため、上記残置杭破砕工法では、残置杭30のコンクリート32の内部破壊によってコンクリート32を細粒化させて破砕することができるとともに、鋼材31から付着するコンクリート32を良好に剥離することができる。これにより、残置杭30の破砕作業やその後の基礎工事を円滑かつ良好に行うことができる。
また、上記残置杭破砕工法では、地盤29を掘削する掘削・破砕装置13の下端に鋼材31を強制的に巻付けることで、残置杭30の鋼材31に引張力を加えて残置杭30を破砕しながら地盤29を掘削し、その後、鋼材31を巻付けたまま掘削・破砕装置13を引上げることで、鋼材31を分離し回収することができる。これにより、排出等の処理を行う際に鋼材31とコンクリート32との分別・仕訳作業に要する労力や時間を削減することができる。
さらに、上記残置杭破砕工法では、掘削・破砕装置13から固化材・地盤改良剤を吐出するとともに破砕された残置杭30の破砕片と固化材・地盤改良剤と土壌とを撹拌混合することで、破砕された残置杭30の破砕片を再利用した新規の地盤改良杭34を地盤29に形成することができる。これにより、細粒化したコンクリート32(コンクリート細粒片33)を地盤改良杭34の骨材として有効に利用して残置杭30の破砕と地盤改良とを同時に行うことができる。
1 地盤改良装置 2 重機
3 支柱 4 掘削機構
5 固化材貯留タンク 6 固化材混入機
7 固化材供給機構 8 スイベル装置
9 昇降支持体 10 駆動モータ
11 反転変速機 12 掘削軸
13 掘削・破砕装置 14 内側掘削軸
15 外側掘削軸 16 掘削・破砕体
17 内側撹拌翼 18 最内側撹拌翼
19 外側撹拌翼 20 螺旋翼部
21 水平翼部 22 掘削ビット
23 固化材吐出口 24 環状体
25 翼体 26 翼体
27 環状体 28 翼体
29 地盤 30 残置杭
31 鋼材 32 コンクリート
33 コンクリート細粒片 34 地盤改良杭

Claims (3)

  1. 地盤に残置されていたコンクリート杭(以下、「残置杭」という。)を回転する掘削・破砕体で地盤を掘削しながら破砕する残置杭破砕工法において、
    掘削・破砕体を残置杭の中心からずらして掘削し、回転する掘削・破砕体に残置杭を構成する鋼材を強制的に巻付けることによって鋼材に引張力を加え、残置杭を構成するコンクリートを破砕することで、残置杭を破砕することを特徴とする残置杭破砕工法。
  2. 前記掘削・破砕体は、回転する掘削軸の下端に螺旋状の螺旋翼部を形成するとともに、螺旋翼部の外側に水平に張り出した水平翼部を形成したことを特徴とする請求項1に記載の残置杭破砕工法。
  3. 掘削・破砕装置から固化材又は地盤改良剤を吐出するとともに破砕された残置杭の破砕片と固化材又は地盤改良剤と土壌とを撹拌混合することで、破砕された残置杭の破砕片を再利用した地盤改良杭を地盤に形成することを特徴とする請求項2に記載の残置杭破砕工法。
JP2015199064A 2015-10-07 2015-10-07 残置杭破砕工法 Active JP6320359B2 (ja)

Priority Applications (1)

Application Number Priority Date Filing Date Title
JP2015199064A JP6320359B2 (ja) 2015-10-07 2015-10-07 残置杭破砕工法

Applications Claiming Priority (1)

Application Number Priority Date Filing Date Title
JP2015199064A JP6320359B2 (ja) 2015-10-07 2015-10-07 残置杭破砕工法

Publications (2)

Publication Number Publication Date
JP2017071952A JP2017071952A (ja) 2017-04-13
JP6320359B2 true JP6320359B2 (ja) 2018-05-09

Family

ID=58539722

Family Applications (1)

Application Number Title Priority Date Filing Date
JP2015199064A Active JP6320359B2 (ja) 2015-10-07 2015-10-07 残置杭破砕工法

Country Status (1)

Country Link
JP (1) JP6320359B2 (ja)

Families Citing this family (1)

* Cited by examiner, † Cited by third party
Publication number Priority date Publication date Assignee Title
JP6216479B1 (ja) * 2017-08-25 2017-10-18 青山機工株式会社 地盤改良装置および地盤改良方法

Family Cites Families (6)

* Cited by examiner, † Cited by third party
Publication number Priority date Publication date Assignee Title
JPS63161222A (ja) * 1986-12-22 1988-07-04 Toshio Enoki 杭の破砕装置
JP2006057258A (ja) * 2004-08-17 2006-03-02 Tone Geo Tech Co Ltd 基礎杭の撤去工法
JP4566770B2 (ja) * 2005-02-08 2010-10-20 エポコラム機工株式会社 地盤改良装置及び地盤改良工法
JP2007162275A (ja) * 2005-12-12 2007-06-28 Takao Hashimoto 既設コンクリート杭の除去方法
JP2009114715A (ja) * 2007-11-06 2009-05-28 Marui Kiso:Kk 既設杭の破砕除去工法
JP5046038B2 (ja) * 2008-04-14 2012-10-10 三谷セキサン株式会社 中空コンクリート杭の破砕ヘッド

Also Published As

Publication number Publication date
JP2017071952A (ja) 2017-04-13

Similar Documents

Publication Publication Date Title
CN103025999B (zh) 隧道挖掘装置和隧道挖掘方法
KR101187582B1 (ko) 굴착롯드와 캐이싱롯드를 회전방향은 같고 회전속도는 다르게 회전작동시키도록 구성한 오거굴착장치
JP2014218817A (ja) アースオーガー及び地中障害物撤去工法
JP5700611B1 (ja) 地中埋設杭撤去方法、及び地中埋設杭撤去装置
JP6110903B2 (ja) 地中埋設杭撤去方法
KR100980895B1 (ko) 무진동 터널 굴착공법 및 그 장치
JP4536094B2 (ja) オーガーヘッド及びそれを備えた破砕装置
JP6320359B2 (ja) 残置杭破砕工法
JP5975266B2 (ja) 砕石杭形成用アタッチメント
JP2012021310A (ja) ソイルセメントコラムの構築、撤去方法
EP2703596B1 (de) Bohrvorrichtung und Verfahren zum Erstellen einer Bohrung
JP3004903B2 (ja) 掘削装置
JP2010144347A (ja) 地盤改良装置及び地盤改良工法
JP2015155634A (ja) トンネル掘削システム
JP6260931B2 (ja) 鋼管杭及びその埋込み方法
JP7176715B2 (ja) コンクリート杭の除去方法
JP5183510B2 (ja) 破砕装置
JP2006057258A (ja) 基礎杭の撤去工法
JP2009150157A (ja) ソイルセメント柱の構築装置と構築方法
JP7231271B1 (ja) 地盤改良工法及び地盤改良装置
JP5300801B2 (ja) 既製端板つきコンクリート中空杭の破壊装置及び破壊排出装置
JP2007162275A (ja) 既設コンクリート杭の除去方法
JP5132701B2 (ja) 柱状地盤改良体の構築方法
JP2908761B2 (ja) 地盤強化工法及びそれに用いる中抜矩形撹拌装置
JP7228239B2 (ja) 地盤の復元方法

Legal Events

Date Code Title Description
A977 Report on retrieval

Free format text: JAPANESE INTERMEDIATE CODE: A971007

Effective date: 20170705

A131 Notification of reasons for refusal

Free format text: JAPANESE INTERMEDIATE CODE: A131

Effective date: 20170822

A521 Request for written amendment filed

Free format text: JAPANESE INTERMEDIATE CODE: A523

Effective date: 20171018

TRDD Decision of grant or rejection written
A01 Written decision to grant a patent or to grant a registration (utility model)

Free format text: JAPANESE INTERMEDIATE CODE: A01

Effective date: 20180306

A61 First payment of annual fees (during grant procedure)

Free format text: JAPANESE INTERMEDIATE CODE: A61

Effective date: 20180403

R150 Certificate of patent or registration of utility model

Ref document number: 6320359

Country of ref document: JP

Free format text: JAPANESE INTERMEDIATE CODE: R150

R250 Receipt of annual fees

Free format text: JAPANESE INTERMEDIATE CODE: R250

R250 Receipt of annual fees

Free format text: JAPANESE INTERMEDIATE CODE: R250

R250 Receipt of annual fees

Free format text: JAPANESE INTERMEDIATE CODE: R250

R250 Receipt of annual fees

Free format text: JAPANESE INTERMEDIATE CODE: R250

R250 Receipt of annual fees

Free format text: JAPANESE INTERMEDIATE CODE: R250