JP6284792B2 - 電気かみそり - Google Patents

電気かみそり Download PDF

Info

Publication number
JP6284792B2
JP6284792B2 JP2014050124A JP2014050124A JP6284792B2 JP 6284792 B2 JP6284792 B2 JP 6284792B2 JP 2014050124 A JP2014050124 A JP 2014050124A JP 2014050124 A JP2014050124 A JP 2014050124A JP 6284792 B2 JP6284792 B2 JP 6284792B2
Authority
JP
Japan
Prior art keywords
skin surface
skin
stretching
blade
extension
Prior art date
Legal status (The legal status is an assumption and is not a legal conclusion. Google has not performed a legal analysis and makes no representation as to the accuracy of the status listed.)
Active
Application number
JP2014050124A
Other languages
English (en)
Other versions
JP2015173703A (ja
Inventor
敬介 宮崎
敬介 宮崎
Current Assignee (The listed assignees may be inaccurate. Google has not performed a legal analysis and makes no representation or warranty as to the accuracy of the list.)
Maxell Ltd
Original Assignee
Maxell Holdings Ltd
Priority date (The priority date is an assumption and is not a legal conclusion. Google has not performed a legal analysis and makes no representation as to the accuracy of the date listed.)
Filing date
Publication date
Application filed by Maxell Holdings Ltd filed Critical Maxell Holdings Ltd
Priority to JP2014050124A priority Critical patent/JP6284792B2/ja
Publication of JP2015173703A publication Critical patent/JP2015173703A/ja
Application granted granted Critical
Publication of JP6284792B2 publication Critical patent/JP6284792B2/ja
Active legal-status Critical Current
Anticipated expiration legal-status Critical

Links

Images

Landscapes

  • Dry Shavers And Clippers (AREA)

Description

本発明は、肌面を伸張操作する肌面伸張構造を備えている電気かみそりに関する。肌面伸張構造は、片手で肌面を伸ばして起毛するのと同等の肌面伸張効果を発揮して切断刃によるひげ切断を促進する。
肌面伸張構造を備えている電気かみそりに関して、本出願人の提案に係る特許文献1の電気かみそりが公知である。そこでは、かみそりヘッドに内刃および外刃を備えたロータリー式の切断刃と、肌面を伸ばすローラー(肌面伸張体)とが設けてあり、ローラーを回転駆動することにより肌面を伸ばして、肌面に倒れこんだひげを起毛できる。また、ローラーの周速度を内刃の周速度より小さく設定することにより、肌面がローラーで不必要に擦られるのを防止し、ローラーの擦過作用に伴う肌面の負担を軽減して、ひげ切断後の肌面のヒリ付きを軽減できる。ローラーは、ゴムまたはエラストマーで丸軸状に形成してあり、切断刃の内刃を駆動するギヤトレインから分岐したギヤトレインと、その終段ギヤとローラー軸との間に設けた巻掛伝動構造を介して回転駆動される。
特開2010−273882号公報(段落番号0036〜0043、図1)
特許文献1の電気かみそりによれば、ローラーの周速度を内刃の周速度より小さく設定することにより、ローラーによる肌面への負担を軽減しながらひげを起毛して、ひげ切断後の肌面のヒリ付きを抑止できる。しかし、ひげ切断を開始してからひげ切断が終了するまでの間、ローラーは切断刃と共に回転駆動されて肌面を伸ばし、連続して肌面を擦り続ける。そのため、ローラーによる肌面に対する負担が大きく、ひげ切断後の肌面にヒリ付きが生じるのを避けられない。
本発明者は、特許文献1の肌面伸張構造に関して、肌面を伸張操作してひげを起毛する際の肌面のヒリ付きを軽減することを検討した。また、検討過程では肌面伸張構造の構造および動作の最適化と、肌面伸張構造と切断刃の好適な配置形態、およびモータの駆動負荷の軽減などを再検討し、その結果、本発明の電気かみそりを提案するに至ったものである。
本発明の目的は、肌面伸張体による肌面に対する負担を著しく軽減しながら、肌面に倒れこんだひげを確実に起毛して、ひげ切断を効果的に行える肌面伸張構造を備えた電気かみそりを提供することにある。
本発明に係る電気かみそりは、かみそりヘッド2に、内刃14と外刃13を備えた切断刃3・4と、切断刃3・4に隣接配置される肌面伸張構造6・7とを設ける。肌面伸張構造6・7は、肌伸ばしを行う肌面伸張体33と、駆動動力を肌面伸張体33に伝動する肌面伸張構造とを備えている。肌面伸張構造を介して駆動動力を受けた肌面伸張体33は、肌面を切断刃3・4から離れる向きへ断続的に伸張操作することを特徴とする。
図1に示すように、肌面伸張構造6・7に隣接する切断刃3・4の内刃14の前後幅をAとし、内刃14の肌面伸張体33との隣接端から肌面伸張体33の前後中心までの前後距離をBとするとき、前者の前後幅Aと後者の前後距離Bが不等式(A<B)を満足するように設定する。
図6に示すように、肌面伸張体33の左右幅をCとし、肌面伸張構造6・7に隣接する切断刃3・4の外刃13の左右幅をDとし、内刃14の左右幅をEとするとき、先の左右幅C、D、Eのそれぞれが不等式(E/2<C<D)を満足するように設定する。
肌面伸張体33の左右幅をCとし、肌面伸張構造6・7に隣接する切断刃3・4の外刃13の左右幅をDとし、内刃14の左右幅をEとするとき、先の左右幅C、D、Eのそれぞれが不等式(E≦C≦D)を満足するように設定する。
図1に示すように、肌面伸張構造6・7に隣接する切断刃3・4の前後中心を通る切断刃中心軸Pと、肌面伸張構造6・7の前後中心を通る肌面伸張中心軸Qを想定するとき、肌面伸張中心軸Qを切断刃中心軸Pに対して傾斜させて、肌面伸張体33を切断刃3・4から離れる向きに傾斜させる。
肌面伸張体駆動構造は、肌面伸張体33を肌面伸張中心軸Qに沿って往復駆動するように構成する。往復駆動される肌面伸張体33で肌面を断続的に伸張操作する。
図4に示すように、肌面伸張体駆動構造は、往復動する駆動カム44と、駆動カム44の往復動作を受けて肌面伸張体33を肌面伸張中心軸Qに沿って往復駆動する従動カム45とを備えている。駆動カム44はかみそりヘッド2に配置した往復駆動体23・24に設け、従動カム45は肌面伸張体33を支持する肌面伸張軸36に設ける。
図7に示すように、肌面伸張体駆動構造は、肌面伸張体33を肌面伸張中心軸Qに沿って少なくとも一方向へ駆動操作するソレノイド54を備えている。肌面伸張体33を支持する肌面伸張軸36を、ソレノイド54のプランジャー56に同行移動可能に連結する。
図8に示すように、肌面伸張体駆動構造は、肌面伸張用モーター73と、肌面伸張用モーター73の出力軸に固定したクランク体74と、クランク体74に相対回転自在に連結した駆動ロッド75を備えている。かみそりヘッド2のヘッドフレーム2aで往復スライド可能に案内支持した肌面伸張体33と駆動ロッド75とを同行移動可能に連結する。
上突湾曲状の外刃13の周面と切断刃中心軸Pとの交差部を通り、切断刃中心軸Pと直交する頂部接線Rを想定するとき、図5に示すように、肌面伸張体33の往復軌跡Sの中途部が前記頂部接線Rと交差するように肌面伸張体33を配置する。
かみそりヘッド2に複数の切断刃3・4を配置し、かみそりヘッド2の前後端に位置する切断刃3・4の前側および後側のそれぞれに肌面伸張構造6・7を隣接配置する。
前後の肌面伸張体駆動構造は、前後の肌面伸張体33が前記頂部接線Rを上下逆向きに通過するように構成する。
前後の肌面伸張体駆動構造は、前後の肌面伸張体33が前記頂部接線Rを上下同方向へ同時に通過するように構成する。
図3に示すように、肌面と接触する肌面伸張体33の肌接触面39を曲面状に形成する。
肌面伸張体33の肌接触面39に、肌面を伸張操作する肌押圧片40を設ける。
切断刃3・4の内刃14とモーター8との間に、モーター動力を往復動力に変換して内刃14に伝動する内刃駆動構造を設ける。肌面伸張体33による単位時間当たりの肌伸張操作数を、前後の切断刃3・4の内刃14の単位時間当たりの往復動数より小さく設定する。
図8に示すように、肌面伸張体33は、固定刃62と、固定刃62に対して往復駆動される可動刃63とを備えている。肌面伸張体33は切断刃3・4と協同してひげ切断を行う。
図11に示すように、肌面伸張構造6・7の肌面伸張体を回転駆動されるローラー33で構成する。ローラー33の周面に、肌面を断続的に伸張操作する肌押圧片91を設ける。
肌面伸張体駆動構造は、モーター8の回転動力を減速する減速機構81を備えている。減速機構81で減速された回転動力をローラー33に伝動して、ローラー33の駆動回転数をモーター8の駆動回転数より小さく設定する。
肌面伸張体駆動構造は、モーター8の回転動力を減速する減速機構81と、減速機構81の減速動力をローラー33へ伝動する伝動構造82とを備えている。減速機構81の出力軸86を中心にして、ローラー33および伝動構造82を前後傾動操作して、切断刃3・4とローラー33の前後の隣接間隔を調整できるようにする。
本発明に係る電気かみそりにおいては、かみそりヘッド2に、内刃14と外刃13を備えた切断刃3・4と、切断刃3・4に隣接配置される肌面伸張構造6・7とを設けるようにした。また、肌面伸張構造6・7は肌伸ばしを行う肌面伸張体33と、駆動動力を肌面伸張体33に伝動する肌面伸張体駆動構造を備えるようにした。使用時には、肌面伸張体駆動構造を介して駆動動力を受けた肌面伸張体33が、肌面を切断刃3・4から離れる向きへ断続的に伸張操作できるようにした。
上記のように本発明においては、肌面を肌面伸張体33で断続的に伸張操作して、肌面に倒れこんだひげを起立させるので、肌面伸張体33と肌面の接触機会を大幅に減少して、肌面伸張体33の肌面に対する負担を著しく軽減でき、ひげ切断後の肌面にヒリ付きが生じるのを解消できる。また、肌面を肌面伸張体33で切断刃3・4から離れる向きへ断続的に伸張操作するので、ローラーの回転力を作用させて肌面を伸ばしていた従来の肌面伸張構造に比べて、肌面を効果的に伸張させて倒れこんだひげを起立し、切断刃3・4と肌面伸張体33とが協同して行なうひげ切断をより効果的に行うことができる。
切断刃3・4の内刃14の前後幅Aと、内刃14から肌面伸張体33の前後中心までの前後距離Bとの関係が、不等式(A<B)を満足するように配置してあると、前後の肌面伸張体33を前後距離Bの分だけ前後の切断刃3・4から離れた位置に位置させることができる。また、肌面伸張体33を前後距離Bの分だけ離れた位置に位置させることにより、肌面伸張体33による肌面の伸張作用が切断刃3・4の近傍の肌面におよぶのを制限しながら、肌面に倒れこんだひげを起立させて前後の切断刃3・4で切断することができる。従って、肌面伸張体33が肌面に断続的に作用することと相俟って、肌面の伸張および擦過の負担を軽減しながら肌面に倒れこんだひげを起立できる。
肌面伸張体33の左右幅Cと、切断刃3・4の外刃13の左右幅Dと、内刃14の左右幅Eの関係が、不等式(E/2<C<D)を満足するように設定してあると、肌面伸張体33の左右幅Cを、外刃13の左右幅Dや内刃14の左右幅Eより小さくすることができる。これに伴い、平面から見る状態における肌面伸張体33を、かみそりヘッド2の外郭線の内側に位置させて、かみそりヘッド2において肌面伸張体33がかさ張るのを解消しながら、切断刃3・4と接触する肌面に倒れこんだひげを起立することができる。
肌面伸張体33の左右幅Cと、切断刃3・4の外刃13の左右幅Dと、内刃14の左右幅Eの関係は、不等式(E≦C≦D)を満足するように設定することができる。その場合には、肌面伸張体33の左右幅Cが、外刃13の左右幅Dと同じか、それより小さくなる。また、肌面伸張体33の左右幅Cが、内刃14の左右幅Eと同じか、それより大きくなる。あるいは、外刃13の左右幅Dと、内刃14の左右幅Eと、肌面伸張体33の左右幅Cが同じ大きさになる。いずれの場合にも、平面視における肌面伸張体33が、外刃13の左右幅Dを越えてかみそりヘッド2の外郭線の外へ突出するのを解消できるので、かみそりヘッド2において肌面伸張体33がかさ張るのを解消しながら、肌面に倒れこんだひげを起立することができる。
肌面伸張中心軸Qを切断刃中心軸Pに対して傾斜させて、肌面伸張体33を切断刃3・4から離れる向きに傾斜させると、ひげそり時に切断刃3・4に密着した肌面を、肌面伸張体33で切断刃3・4から離れる向きに押圧できる。従って、肌面をより大きく伸張させて、肌面に倒れこんだひげをさらに効果的に起立させ切断刃3・4で切断することができる。
肌面伸張体33を肌面伸張中心軸Qに沿って往復駆動する形態の肌面伸張体駆動構造によれば、肌面伸張体33が肌面伸張中心軸Qに沿って一往復する進退動作のうち、肌面伸張体33と肌面とが接触する機会を最大でも進出動作時のみに限って、肌面を断続的に伸張操作することができる。従って、肌面が肌面伸張体33で不必要に伸張操作され、あるいは連続して擦られるのを解消して、肌面伸張体33による肌面の負担をさらに軽減することができる。
往復動する駆動カム44と、肌面伸張中心軸Qに沿って肌面伸張体33を往復駆動する従動カム45を備えた肌面伸張体駆動構造によれば、肌面伸張体駆動構造がいたずらに複雑になるのを避けながら、肌面伸張体33を確実に往復駆動して肌面を伸張操作できる。また、かみそりヘッド2に配置した往復駆動体23・24に駆動カム44を設け、肌面伸張体33を支持する肌面伸張軸36に従動カム45を設けると、肌面伸張体駆動構造を設けることに伴う部品点数の増加を防止して、肌面伸張体駆動構造をより低コストで製造することができる。とくに、往復駆動体23・24として振動子本体23・24を利用し、従動カム45を肌面伸張軸36に設ける場合には、振動子本体23・24を成形する際に駆動カム44を一体に形成でき、あるいは肌面伸張軸36を成形する際に従動カム45を一体に形成できるので、肌面伸張体駆動構造をさらに低コスト化できる。
ソレノイド54を駆動源とし、そのプランジャー56に肌面伸張体33の肌面伸張軸36を同行移動可能に連結する肌面伸張体駆動構造によれば、切断刃3・4の駆動タイミングとは無関係に肌面伸張体33を往復駆動できる。例えば、肌面伸張体33の単位時間当たりの進出数や、肌面伸張体33の進出タイミングなどを適宜設定することができ、あるいは、単位時間当たりの進出数や、肌面伸張体33の進出タイミングなどをランダムに設定することができる。従って、ひげの硬軟や、ひげ密度の違いなどのひげ特性の違いに応じて、肌面伸張体33の動作状態を自由に設定し好適化できる。さらに、本体ケース1に調整構造を設けておくことにより、ユーザー自身が肌面伸張体33の動作状態を調整して好みの状態に設定することができる。
肌面伸張用モーター73と、クランク体74と、駆動ロッド75などで構成した肌面伸張体駆動構造によれば、切断刃3・4の駆動タイミングとは無関係に肌面伸張体33を往復駆動できる。従って、上記の肌面伸張体駆動構造と同様に、肌面伸張体33の単位時間当たりの進出数や、肌面伸張体33の進出タイミングなどを適宜設定し、あるいはランダムに設定して、ひげの硬軟や、ひげ密度の違いなどのひげ特性の違いに応じて、肌面伸張体33の動作状態を好適化できる。さらに、必要に応じて、ユーザー自身が肌面伸張体33の動作状態を調整して好みの状態に設定することができる。肌面伸張用モーター73の回転動力を、クランク体74と駆動ロッド75で往復動力に変換して肌面伸張体33に伝動するので、肌面伸張体33の進出速度と退入速度の変化をサインカーブ状に変化させることができる。従って、肌面伸張体33の進出端の近傍における速度をゼロに近づけて、肌面に対する刺激を和らげることができる。
肌面伸張体33の往復軌跡Sの中途部が、頂部接線Rと交差するように肌面伸張体33を配置すると、肌面伸張体33の上面が頂部接線Rを越えたのちの進出領域でのみ、肌面が肌面伸張体33で伸張操作されることになる。つまり、肌面伸張体33による肌面の伸張操作は断続的であるうえに、肌面伸張体33が往復軌跡Sを一往復する時間の半分以下の時間だけ、肌面を肌面伸張体33で伸張操作することになる。従って、肌面伸張体33による肌面の伸張作用を適度に抑止して、肌面の伸張や擦過などの刺激負担を著しく軽減しながら、肌面に倒れこんだひげを起立させて切断することができる。
前後の切断刃3・4の前側および後側のそれぞれに肌面伸張構造6・7を隣接配置すると、かみそりヘッド2を肌面に沿って前後いずれかへスライド操作してひげ切断を行う場合に、かみそりヘッド2のスライド方向下手側の肌面を前後いずれかの肌面伸張体33で伸張操作できるので、肌面に倒れこんだひげを肌面伸張体33で起立させながらひげ切断を効果的に行うことができる。また、切断刃3・4の前後に肌面伸張構造6・7を配置するので、肌面伸張中心軸Qを切断刃中心軸Pに対して切断刃3・4から遠ざかる向きに傾斜させる場合に、かみそりヘッド2をコンパクトに構成できる。なお、肌面伸張中心軸Qが傾斜する肌面伸張構造6・7を前後の切断刃3・4の間に配置した場合には、前後の肌面伸張構造6・7の間に三角形状のデッドスペースが生じるので、かみそりヘッド2をコンパクト化できない。
前後の肌面伸張体構造を、前後の肌面伸張体33が頂部接線Rを上下逆向きに通過するように構成すると、一方の肌面伸張体33が前記接線Rを越えて上向きに移動するとき、他方の肌面伸張体33を前記接線Rを越えて下向きに移動させて、肌面の伸張を前後で交互に、かつ断続的に行うことができる。従って、肌面伸張体33による肌面の伸張作用を適度に抑止して、肌面に対する負担を著しく軽減しながら、肌面に倒れこんだひげを起立させて切断することができる。
前後の肌面伸張体構造を、前後の肌面伸張体33が前記頂部接線Rを上下同方向へ同時に通過するように構成すると、切断刃3・4に接触している肌面を、前後の肌面伸張体33で同時に強く伸張操作できるので、肌面に倒れこんだひげはもちろんのこと、切断刃3・4で一度切断された短いひげをも同時に起立させて深ぞりすることができる。
肌接触面39を曲面状に形成した肌面伸張体33によれば、曲面状の肌接触面39が肌面に接触している限り、伸張力が1個所に集中するのを避けて分散させることができるので、肌面伸張体33の肌面に対する肌当りを柔らかでやさしいものとすることができる。
肌接触面39に肌面を伸張操作する肌押圧片40を設けると、肌当りの柔らかさを損なうことなく、肌面伸張体33が肌面に対して滑り動くのを肌押圧片40で防止して、肌面をしっかりと捕捉し押圧することができる。
肌面伸張体33による単位時間当たりの肌伸張操作数を、前後の切断刃3・4の内刃14の単位時間当たりの往復動数より小さく設定すると、肌面伸張体33と肌面の接触機会を大幅に減少できるので、肌面伸張体33による肌面に対する伸張や擦過などの刺激負担を軽減し、ひげ切断後の肌面のヒリ付きを抑止ないしは解消できる。
固定刃62と可動刃63とを備える肌面伸張体33によれば、肌面伸張体33によって肌面を伸張操作しながら、肌面伸張体33に接触するひげを固定刃62と可動刃63とで切断できる。また、肌面伸張体33で肌面を伸張させた状態においては、切断刃3・4で一度切断された短いひげを、固定刃62に接触する肌面の近傍において起立させて、固定刃62と可動刃63で再切断し深ぞりできる。切断刃3・4のひげ切断作用に加えて、肌面伸張体33によってもひげ切断を行えるので、その分だけひげ切断を効果的に行うことができる。
肌面伸張体を回転駆動されるローラー33で構成し、その周面に肌押圧片91を設けると、肌押圧片91を肌面に断続的に接触させながら、肌面を伸張操作することができるので、ローラーの周面を肌面に連続して直接作用させていた従来の肌面伸張構造に比べて、肌面への負担を軽減できる。また、肌押圧片91が肌面に押付けられるとき、肌押圧片91は押付け反力を受けて弾性変形するので、肌当りの柔らかさを損なうことなく、ローラー33が肌面に対して滑り動くのを防止して、肌面をしっかりと捕捉し押圧することができる。
減速機構81で減速された回転動力をローラー33に伝動して、ローラー33の駆動回転数をモーター8の駆動回転数より小さく設定すると、肌押圧片91と肌面の接触機会を、減速された回転動力の分だけ減少できる。従って、肌面が肌押圧片91で断続的に伸張操作されることと相俟って肌面の負担を軽減し、ひげ切断後の肌面のヒリ付きを軽減できる。
減速機構81と伝動構造82を備える肌面伸張体駆動構造によれば、ローラー33および伝動構造82を、減速機構81の出力軸86を中心にして前後傾動操作することで、切断刃3・4とローラー33の前後の隣接間隔を調整できる。また、ローラー33の切断刃3・4に対する前後位置を調整することにより、肌面に作用する伸張力を大小に調整できるので、ユーザーの好みに応じた伸長力を肌面に作用させることができる。さらに、ひげの硬軟や、ひげ密度の違いなどのひげ特性の違いに応じて、ローラー33の前後位置を調整して肌面伸張体の動作状態を好適化できる。
実施例1に係る電気かみそりの要部の縦断側面図である。 実施例1に係る電気かみそりの正面図である。 実施例1に係る電気かみそりのヘッド構造の概略を示す縦断側面図である。 実施例1に係る肌面伸張体駆動構造を示す縦断正面図である。 実施例1に係る肌面伸張体の動作を示す要部の側面図である。 実施例1に係る肌面伸張体と切断刃の関係寸法を示す平面図である。 実施例2に係る肌面伸張体駆動構造を示す縦断側面図である。 実施例3に係る肌面伸張体駆動構造を示す縦断側面図である。 実施例3に係る肌面伸張体駆動構造の詳細構造を示す縦断側面図である。 実施例3に係る肌面伸張体駆動構造の正面図である。 実施例4に係る肌面伸張体駆動構造を示す縦断側面図である。 実施例4に係る肌面伸張体駆動構造の正面図である。
(実施例1) 図1ないし図6は、本発明に係る電気かみそりの実施例1を示している。本発明における前後、左右、上下とは、図2および図3に示す交差矢印と、各矢印の近傍に表記した前後、左右、上下の表示に従う。
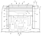
図2および図3において、電気かみそりはグリップを兼ねる本体ケース1と、本体ケース1の上部に設けたかみそりヘッド2とを有し、かみそりヘッド2の前後に第1切断刃(切断刃)3と第2切断刃(切断刃)4を配置し、両切断刃3・4の間にトリマー刃5を配置して構成してある。また、前後の切断刃3・4の前面および後面に隣接して第1肌面伸張構造(肌面伸張構造)6と第2肌面伸張構造(肌面伸張構造)7が配置してある。本体ケース1の内部にはモーター8や2次電池9と制御基板などが設けてあり、本体ケース1の前面には、モーター8への通電状態を切換えるスイッチ10が設けてある。
第1切断刃3および第2切断刃4は、それぞれ上突湾曲状に保形される網刃からなる外刃13と、外刃13に沿って往復駆動されるスリット刃からなる内刃14とでレシプロ式の切断刃として構成してある。各内刃14とモーター8との間には、モーター8の回転動力を往復動力に変換して内刃14に伝動する内刃駆動構造が設けてある。第1切断刃3および第2切断刃4は、主に短毛を切断するための切断刃として機能する。
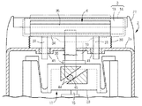
内刃駆動構造は、モーター8の出力軸に固定した第1偏心カム(偏心カム)15および第2偏心カム(偏心カム)16と、各偏心カム15・16で互いに逆向きに往復駆動される第1振動子17および第2振動子18と、各振動子17・18の往復動作を各内刃14に伝動する第1駆動軸(駆動軸)19および第2駆動軸(駆動軸)20などで構成する。図4に示すように、各振動子17・18は左右一対の振動吸収腕で支持される振動子本体23・24を備えており、その内部に先の偏心カム15・16と係合する受動溝を備えた受動片25・26が段違い状に対向配置してある(図3参照)。符号27は外刃13およびトリマー刃5を支持する外刃ホルダーであり、かみそりヘッド2のヘッドフレーム2aに対して着脱可能に装着してある。トリマー刃5は、それぞれスリット刃で構成した外刃28と内刃29を備えており、内刃29は、第1駆動軸19に固定したトリマー駆動軸30で往復駆動される。トリマー刃5は、主に長めのひげやくせ毛を切断するための切断刃として機能する。
第1肌面伸張構造6および第2肌面伸張構造7は、それぞれ肌伸ばしを行う肌面伸張体33と、モーター動力を上下方向の往復動力に変換して、肌面伸張体33に伝動する肌面伸張体駆動構造を備えている。肌面伸張体33は左右横長のベース枠34と、ベース枠34の上面に固定した肌押圧体35と、ベース枠34の下面の左右中央に固定される肌面伸張軸36と、ベース枠34の下面の左右に固定される一対のスライド軸37と、ベース枠34とヘッドフレーム2aの間の隙間を覆うスカート38などで構成する。
肌押圧体35は、適度の摩擦力を発揮するゴムあるいはエラストマーを素材とする成形品からなり、その上面に設けた部分円弧面からなる肌接触面39に沿って、左右に長いリブ状の5個の肌押圧片40を平行に突設して構成してある。このように、肌接触面39を曲面状に形成するのは、肌面伸張体33の肌面に対する肌当りを柔らかでやさしいものとするためである。肌押圧体35が肌面に押付けられるとき、肌押圧片40は押付け反力を受けて弾性変形し、肌当りの柔らかさを損なうことなく、肌面伸張体33が肌面に対して滑り動くのを防止して、肌面をしっかりと捕捉し押圧する。図4に示すように左右のスライド軸37は、ヘッドフレーム2aに固定したガイド41で案内支持されており、これにより肌面伸張体33の全体が上下に往復スライドできる。スカート38は伸縮自在な蛇腹構造の膜体からなり、肌面伸張体33の上下スライドに追随して伸縮変形することにより、ベース枠34とヘッドフレーム2aの間の隙間に指先が挟まれるのを防止し、あるいは先の隙間に毛屑や塵埃が入り込むのを防止する。
第1肌面伸張構造6と第2肌面伸張構造7は同じ構造であるが、第1肌面伸張構造6の肌面伸張体33が前傾させてあるのに対して、第2肌面伸張構造7の肌面伸張体33は後傾させてある点が異なる。詳しくは、図1および図3に示すように、各切断刃3・4の前後中心を通る垂直の切断刃中心軸をPとし、前後の肌面伸張構造6・7の前後中心を通る肌面伸張中心軸をQとするとき、前側の肌面伸張中心軸Qを前側の切断刃中心軸Pに対して前傾させて、肌面伸張体33を第1切断刃3から離れる向きに傾斜させている。同様に、後側の肌面伸張中心軸Qを後側の切断刃中心軸Pに対して後傾させて、肌面伸張体33を第2切断刃4から離れる向きに傾斜させている。この実施例では、肌面伸張中心軸Qの切断刃中心軸Pに対する前傾角度θ1および後傾角度θ2を、それぞれ13度とした。
上記のように、各肌面伸張構造6・7の肌面伸張中心軸Qが、切断刃中心軸Pから遠ざかる向きへ前傾ないし後傾させてあると、肌面伸張体33が肌面伸張中心軸Qに沿って往復駆動されるとき、肌押圧片40で肌面を前後の切断刃3・4から離れる向きへ断続的に伸張操作して、肌面に倒れこんだひげを効果的に起立させることができる。なお、肌面伸張中心軸Qが切断刃中心軸Pと平行である場合や、肌面伸張中心軸Qが上記とは逆に切断刃中心軸Pへ近づく向きに傾斜させてある場合には、肌面が肌面伸張体33で凹み操作されるものの、肌面を切断刃3・4から離れる向きへ伸張させることができないので、肌面に倒れこんだひげを起立させるのが難しくなる。
図3および図4において、肌面伸張体駆動構造は、左右方向へ往復駆動される駆動カム44と、駆動カム44の往復動作を受けて肌面伸張体33を肌面伸張中心軸Qに沿って往復駆動する従動カム45とからなる。駆動カム44は、前後の振動子本体(往復駆動体)23・24に設けた直線状の傾斜溝として形成してある。従動カム45は肌面伸張軸36の下端に形成したカム軸からなり、駆動カム44と常に係合している。こうした肌面伸張体駆動構造によれば、振動子本体23・24が各偏心カム15・16で左右へ往復駆動されるとき、振動子本体23・24の左右動作を肌面伸張体駆動構造で上下動作に変換して、前後の肌面伸張体33を肌面伸張中心軸Qに沿って上下に往復駆動できる。前後の肌面伸張体33を肌面に対して交互に作用させるために、前側の振動子本体23に設けた駆動カム44の傾斜方向と、後側の振動子本体24に設けた駆動カム44の傾斜方向とは、互いに逆向きに傾斜させてある。
上下方向へ往復駆動される肌面伸張体33は、図5に実線で示す退入位置と、図5に想像線で示す進出位置との間を往復動するが、その往復軌跡Sの高さ位置は、第1、第2の両切断刃3・4の外刃13の頂部接線Rの高さ位置との関係で設定してある。詳しくは、図1に示すように、外刃13の周面と切断刃中心軸Pとの交差部を通り、切断刃中心軸Pと直交する頂部接線Rを想定するとき、肌面伸張体33の往復軌跡Sの上下中央部(中途部)が先の頂部接線Rと交差するように肌面伸張体33を配置している。なお、肌面伸張体33による肌面の伸張ストロークを大きくしたい場合には、肌面伸張体33の往復軌跡Sの上下中央部より下側の部分が頂部接線Rと交差するように肌面伸張体33を配置すればよい。また、肌面伸張体33による肌面の伸張ストロークを小さくしたい場合には、肌面伸張体33の往復軌跡Sの上下中央部より上側の部分が頂部接線Rと交差するように肌面伸張体33を配置すればよい。
前後の切断刃3・4の外刃13が肌面に押付けられるとき、肌面はかみそりヘッド2の押圧力に応じて、前後の外刃13の湾曲形状に沿って凹み変形する。この状態で、肌面伸張体33が頂部接線Rを越えて進出すると、肌面押圧片40が肌面に密着し、さらに肌面を外刃13から遠ざかる向きへ斜めに押上げ操作する。これにより、前後の外刃13と肌面伸張体33との間の肌面が肌面伸張体33で伸張操作され、その結果、肌面に倒れこんだひげを起立させて、前後の両切断刃3・4で切断することができる。
先に説明したように、肌面伸張体33は、その往復軌跡Sの上下中央部が頂部接線Rと交差するように配置してある。そのため、肌面が伸縮変形することを考慮すると、肌面伸張体33による肌面の実質的な伸張作用は、肌面押圧片40が頂部接線Rを越えたのちの進出範囲で行われることになる。つまり、肌面伸張体33の往復軌跡Sの半分以下の進出範囲で行われることになる。そのため、内刃14が一往復するときの往復時間を基準にすると、肌面伸張体33は先の往復時間の4分の1以下の時間だけ肌面を押圧して、伸張作用を断続的に行うことになる。このように、肌面伸張体33が肌面を伸張操作するときの、単位時間当たりの肌伸張操作数が、前後の切断刃3・4の内刃14の単位時間当たりの往復動数(往動作と復動作の合計値)より小さく設定してあると、肌面伸張体33による肌面の伸張作用を抑止して、肌面に対する負担を著しく軽減しながら、肌面に倒れこんだひげを起立させて切断することができる。
また、前側の駆動カム44の傾斜方向と、後側の駆動カム44の傾斜方向とは、互いに逆向きに傾斜させてあるので、例えば、前側の肌面伸張体33が上向きに進出駆動される場合には、後側の肌面伸張体33を下向きに退入駆動できる。このように、前後の肌面伸張体33が頂部接線Rを上下逆向きに通過する肌面伸張体駆動構造によれば、肌面伸張体33が肌面を断続的に伸張操作することに加えて、前後の肌面伸張体33で肌面を交互に伸張操作できるので、肌面の負担を軽減することができる。さらに、前後の肌面伸張体33が肌面を同時に伸張作用する場合には、モーター8に大きな駆動負荷が作用するが、肌面伸張体33を肌面に交互に作用させることによりモーター8の駆動負荷を軽減して、モーター8のコストを削減できる。なお、前側の肌面伸張体33が頂部接線Rを通過するタイミングと、後側の肌面伸張体33が頂部接線Rを通過するタイミングとは、モーター8の駆動負荷を軽減するうえで同時であることが好ましいが、両者の通過タイミングに少々のずれがあっても問題はない。
肌面伸張体33による肌面の伸張作用を好適化するために、肌面伸張体33と前後の切断刃3・4の関係寸法を以下のように設定している。図1に示すように、各肌面伸張構造6・7に隣接する前後の切断刃3・4の内刃14の前後幅をAとし、内刃14の肌面伸張体33との隣接端から肌面伸張体33の前後中心までの前後距離をBとするとき、先の前後幅Aと先の前後距離Bが不等式(A<B)を満足するように、前後の肌面伸張体33と前後の切断刃3・4を配置している。
上記のように、先の前後幅Aと先の前後距離Bに関して不等式(A<B)を満足するように配置してあると、前後の肌面伸張体33を前後距離Bの分だけ前後の切断刃3・4から離れた位置に位置させることができる。また、肌面伸張体33を前後距離Bの分だけ離れた位置に位置させることにより、肌面伸張体33による肌面の伸張作用が切断刃3・4の近傍の肌面におよぶのを抑止しながら、肌面に倒れこんだひげを起立させて前後の切断刃3・4で切断することができる。
さらに、肌面伸張体33がかみそりヘッド2においてかさ張るのを防ぐために、図6に示すように、肌面伸張体33の左右幅をCとし、前後の肌面伸張構造6・7に隣接する前後の切断刃3・4の外刃13の左右幅をDとし、肌面伸張構造に隣接する切断刃3・4の内刃14の左右幅をEとするとき、左右幅C、D、Eのそれぞれが不等式(E/2<C<D)を満足するように設定している。このように、左右幅C、D、Eが不等式(E/2<C<D)を満足するように設定してあると、肌面伸張体33の左右幅Cを、外刃13の左右幅Dや内刃14の左右幅Eより小さくして、かみそりヘッド2において肌面伸張体33がかさ張るのを解消しながら、切断刃3・4の両側端を除く周面と接触する肌面に倒れこんだひげを起立することができる。なお、ひげ切断刃時には外刃13および内刃14の左右中央付近でひげを捕捉して切断することが多いので、肌面伸張体33の左右幅Cが小さい場合でも、肌面に倒れこんだひげを支障なく起立させながら前後の切断刃3・4で的確に切断することができる。
実施例1に係る電気かみそりにおいては、かみそりヘッド2の前後2個所に第1切断刃3と第2切断刃4を配置し、前後の切断刃3・4の前側および後側のそれぞれに第1肌面伸張構造6と第2肌面伸張構造7を隣接配置した。このように、各切断刃3・4の前後に第1肌面伸張構造6と第2肌面伸張構造7を配置すると、かみそりヘッド2を肌面に沿って前後いずれかへスライド操作してひげ切断を行う場合に、かみそりヘッド2のスライド方向下手側の肌面を前後いずれかの肌面伸張体33で伸張操作して、肌面に倒れこんだひげを起立させながらひげ切断を効果的に行うことができる。
(実施例2) 図7は実施例2に係る電気かみそりを示している。そこでは、かみそりヘッド2の前後中央に1個の切断刃3を設け、切断刃3の前後それぞれに第1肌面伸張構造6と第2肌面伸張構造7を配置した。切断刃3は、実施例1と同様の外刃13と、水平軸回りに回転駆動される内刃14とで、ロータリー式の切断刃として構成する点が実施例1の切断刃と異なっている。内刃14は回転自在に軸支される内刃軸47と、内刃軸47の周面に固定した螺旋状の小刃48とで構成してあり、モーター8の回転動力を巻掛け伝動構造を介して内刃軸47に伝動することにより、内刃14を矢印で示すように反時計回転方向へ回転駆動できるようにしてある。巻掛け伝動構造は、モーター8の出力軸に固定される駆動プーリー49と、内刃軸47に固定される従動プーリー50と、これら両プーリー49・50に巻掛けられる伝動ベルト51とで構成する。
実施例2においてはソレノイド54を駆動源にして肌面伸張体駆動構造を構成し、肌押圧体35の構造を一部変更した。詳しくはソレノイド54は、ソレノイド本体55とプランジャー56を備えたプッシュ・プル型のソレノイドからなり、そのプランジャー56に、肌面伸張体33を支持する肌面伸張軸36が同行移動可能に連結してある。プランジャー本体55のコイルに順方向電流を供給して、プランジャー56がソレノイド本体55から進出駆動されるとき、肌面伸張体33は頂部接線Rを超えて上方移動し肌面を伸張操作できる。また、ソレノイド本体55のコイルに逆方向電流を供給すると、プランジャー56がソレノイド本体55の内部へ退入駆動される。
肌押圧体35は、その上周面の肌接触面39を放物線状に形成し、その周面の7個所にリブ状の肌押圧片40を設けるようにした。この実施例における肌押圧片40の肌押圧体35の周面からの突出寸法は、実施例1における肌押圧片40の突出寸法に比べて、充分に小さく設定してあるので、肌面に接触した肌押圧片40がたわみ変形するのを抑止できる。これにより、肌押圧体35の肌当りの柔らかさを損なうことなく、肌面伸張体33が肌面に対して滑り動くのを肌押圧片40で防止して、肌面をしっかりと捕捉し押圧できる。なお、前後の肌面伸張構造6・7の前後中心を通る肌面伸張中心軸Qは、実施例1の電気かみそりと同様に、前後の切断刃中心軸Pに対して前または後へ傾斜させてある。他は、実施例1の電気かみそりと同じであるので、同じ部材に同じ符号を付して、その説明を省略する。以下の実施例においても同じとする。
上記のように、ソレノイド54を駆動源にして肌面伸張体駆動構造を構成すると、切断刃3の駆動タイミングとは無関係に肌面伸張体33を往復駆動できる。例えば、肌面伸張体33の単位時間当たりの進出数や、肌面伸張体33の進出タイミングなどを適宜設定することができる。また、単位時間当たりの進出数や、肌面伸張体33の進出タイミングなどをランダムに設定することができる。さらに、調整ダイヤル57を操作することにより、ソレノイド本体55のコイルに対する順方向電流や逆方向電流の供給タイミングを自由に変更できるので、ユーザーの好みに合わせて、肌面伸張体33の単位時間当たりの進出数や進出タイミングを選定することができる。例えば、肌面伸張体33が肌面を伸張操作するときの、単位時間当たりの肌伸張操作数が、前後の切断刃3・4の内刃14の単位時間当たりの往復動数(往動作と復動作の合計値)より小さく設定してある場合には、肌面伸張体33による肌面の伸張作用を抑止して、肌面に対する負担を著しく軽減しながら、肌面に倒れこんだひげを起立させて切断することができる。なお、ソレノイド54は、プッシュ型、あるいはプル型のソレノイドであってもよい。その場合には、補助ばねを併用して肌面伸張体33を退入付勢し、あるいは肌面伸張体33を進出付勢して、プランジャー56を補助ばねの付勢力に抗してソレノイド54で進出駆動し、あるいは退入駆動するとよい。
(実施例3) 図8ないし図10は実施例3に係る電気かみそりを示している。そこでは、ヘッドフレーム2aを本体ケース1で上下動可能に支持し、ヘッドフレーム2aの底壁と本体ケース1との間に配置したフロートばね60で、かみそりヘッド2を上下フロート自在に支持した。モーター8はヘッドフレーム2aの内部に配置してあって、かみそりヘッド2に同行して上下フロートする。このように、かみそりヘッド2を上下フロート自在に支持すると、ひげ切断時のかみそりヘッド2が肌面に沿って上下動するので、肌当りをソフトなものとして肌面に対するストレスをやわらげることができる。また、肌面伸張構造が往復動するときの振動が、本体ケース1を握っている手に伝わるのを良く防止できる。
実施例3においては、外刃枠61に固定される網刃からなる固定刃62と、固定刃62に対して往復駆動される可動刃63とで肌面伸張体33を構成し、肌面伸張体33が前後の切断刃3・4と協同してひげ切断を行えるようにした。図9に示すように、スリット刃からなる可動刃63は内刃枠64に固定されており、内刃枠64の底壁と外刃枠61との間に配置した可動刃ばね65で、可動刃63が固定刃62の内面に密着するように付勢してある。前側の可動刃63は、第1駆動軸19に固定した前駆動軸67で左右に往復駆動され、後側の可動刃63は、第2駆動軸20に固定した後駆動軸68で左右に往復駆動される。前駆動軸67はトリマー駆動軸30と一体に形成してある。固定刃62と可動刃63とを備えた肌面伸張体33を上下に往復駆動するために、外刃枠61の前後の左右にスライド軸37を設け、これらのスライド軸37をヘッドフレーム2aに固定したガイド枠69のガイド溝70で上下スライド自在に案内支持している。この実施例における第1肌面伸張構造6と第2肌面伸張構造7は、主に短毛を切断するための切断刃として機能する。
肌面伸張体駆動構造は、モーター8に比べて小形の肌面伸張用モーター73と、肌面伸張用モーター73の出力軸に固定した円板状のクランク体74と、クランク体74の出力ピン75に相対回転自在に連結した駆動ロッド76などで構成する。肌面伸張用モーター73は、減速機構を内蔵するギヤードモーターからなり、低速度の回転動力(200rpm)でクランク体74を回転駆動する。このように、肌面伸張用モーター73を駆動源にして肌面伸張体駆動構造を構成すると、切断刃3の駆動タイミングとは無関係に肌面伸張体33を往復駆動できる。例えば、肌面伸張体33の単位時間当たりの進出数や、肌面伸張体33の進出タイミングなどを適宜設定することができる。また、単位時間当たりの進出数や、肌面伸張体33の進出タイミングなどをランダムに設定することができる。
さらに、肌面伸張体33を低速度で往復駆動すると、単位時間当たりの肌伸張操作数を、前後の切断刃3・4の内刃14の単位時間当たりの往復動数(往動作と復動作の合計値)より小さく設定できるので、肌面伸張体33による肌面の伸張作用を抑止して、肌面に対する負担を著しく軽減しながら、肌面に倒れこんだひげを起立させて切断することができる。図9および図10に示すように、駆動ロッド76の上端は、外刃枠61と一体に設けた連結片77に対してピン78で連結される。この肌面伸張体駆動構造によれば、肌面伸張用モーター73の回転動力を、クランク体74と駆動ロッド76で上下方向の往復動力に変換して外刃枠61に伝動できるので、肌面伸張体33を上下に駆動して肌面を断続的に伸張操作しながら、肌面伸張体33の固定刃62と可動刃63とでひげ切断を行うことができる。
(実施例4) 図11および図12は実施例4に係る電気かみそりを示している。そこでは、実施例2の電気かみそりと同様に、かみそりヘッド2の前後中央に1個の切断刃3を設け、切断刃3の前側に肌面伸張構造6を設けた。肌面伸張構造6は、回転駆動されるローラー33で構成した肌面伸張体と、肌面伸張体駆動構造とで構成した。肌面伸張体駆動構造は、モーター8の回転動力を減速する減速機構81と、減速機構81の減速動力をローラー33へ伝動する巻掛伝動構造(伝動構造)82とで構成する。減速機構81は、モーター8の出力軸に固定される駆動ギヤ83と、駆動ギヤ83と噛合う大径の従動ギヤ84と、従動ギヤ84に噛合うフェースギヤ85と、減速ユニット87(図12参照)などで構成する。駆動ギヤ83と従動ギヤ84との間でモーター8の回転動力を減速し、さらに減速ユニット87で減速することにより、ローラー33の駆動回転数をモーター8の駆動回転数より大幅に小さく設定することができる。例えば、モーター8の駆動回転数が8000rpmであるとき、ローラー33の駆動回転数を100rpmにまで減速できる。図12に示すように、フェースギヤ85の出力軸86は従動ギヤ84の回転中心軸に対して直交させてあり、これにより、モーター8の垂直軸回りの回転動力を水平軸回りの回転動力に変換して巻掛伝動構造82へ伝動している。なお、伝動構造82は巻掛伝動構造である必要はなく、ギヤトレインで構成してあってもよい。
ローラー33は、適度の摩擦力を発揮するゴムあるいはエラストマーを素材とする丸軸状の成形品からなり、その中心にローラー軸90が固定され、ローラー周面の4個所に、肌面を断続的に伸張操作するリブ状の肌押圧片91が突設してある。ローラー軸90の両端は左右一対のローラー支持腕92で軸支してある。左右のローラー支持腕92の対向面の下部にはボス93が設けてあり、これらのボス93をヘッドフレーム2aで支持することにより、ローラー33と、ローラー支持腕92と、巻掛伝動構造82の3者を、出力軸86を中心にして前後傾動可能に支持している。ボス93の中心軸線と出力軸86の中心軸線とは一致している。巻掛伝動構造82は、図12に向かって左側のローラー支持腕92の内部に配置してあり、フェースギヤ85の出力軸86に固定される駆動プーリー95と、ローラー軸90に固定される従動プーリー96と、これら両プーリー95・96に巻掛けられる伝動ベルト97とで構成してある。ローラー33は、図11に示す矢印の向きに沿って反時計回転方向へ回転駆動される。なお、肌押圧片91は、ローラー軸90の周面の1個所以上に設けてあればよい。
上記の肌面伸張構造6によれば、切断刃3の内刃14がモーター動力で左右に往復駆動されるとき、ローラー33を同時に回転駆動してリブ状の肌押圧片91で肌面を断続的に伸張操作することができる。これにより、ローラーの周面を肌面に直接作用させていた従来の肌面伸張構造に比べて、肌面の負担を軽減できる。また、モーター8の回転動力を減速機構81で大幅に減速したのち、減速された回転動力でローラー33を駆動するので、肌押圧片91と肌面の接触機会を減少できる。従って、肌面が肌押圧片91で断続的に伸張操作されることと相俟って肌面の負担を軽減し、ひげ切断後の肌面のヒリ付きを軽減できる。
ローラー軸90の両端を左右一対のローラー支持腕92で軸支するので、必要に応じてローラー支持腕92を前後に傾動操作することにより、切断刃3とローラー33の前後の隣接間隔を大小に調整できる。ユーザーは、ローラー支持腕92を傾動操作したのち、図示していないストッパーを操作してローラー支持腕92の前後傾動をロックすることにより、ローラー33を好みの前後位置に固定することができる。なお、図11に実線で示すように、ローラー支持腕92が垂直に近い状態で起立している状態では、ローラー33が切断刃3の近傍に位置して、肌押圧片91の殆どの部分が頂部接線Rより上方へ突出するので、より強い力で肌面を伸張操作してひげを起立することができる。また、想像線で示すように、ローラー支持腕92を前傾させると、肌押圧片91の頂部接線Rからの突出量が小さくなるので、肌面に作用する伸張力を小さくしてローラー33の肌当りを柔らかなものとすることができる。さらに、ローラー33と切断刃3の隣接間隔が大きくなるので、これら両者3・33の間に顎を挟んだ状態でひげ切断を行うことができる。
実施例1の電気かみそりにおいて、図6に示すように、肌面伸張体33の左右幅をCとし、肌面伸張構造6・7に隣接する切断刃3・4の外刃13の左右幅をDとし、内刃14の左右幅をEとするとき、左右幅C、D、Eのそれぞれが不等式(E≦C≦D)を満足するように設定できる。その場合には、肌面伸張体33の左右幅Cが、外刃13の左右幅Dと同じか、それより小さくなる。また、肌面伸張体33の左右幅Cが、内刃14の左右幅Eと同じか、それより大きくなる。あるいは、外刃13の左右幅Dと、内刃14の左右幅Eと、肌面伸張体33の左右幅Cが同じ大きさになる。いずれの場合にも、肌面伸張体33が外刃13の左右幅Dを越えてかみそりヘッド2の外郭線の外へ突出するのを解消できるので、かみそりヘッド2において肌面伸張体33がかさ張るのを解消しながら、肌面に倒れこんだひげを起立することができる。
実施例1においては、前後の肌面伸張体33が肌面を交互に伸張操作するようにしたが、その必要はない。肌面伸張体駆動構造は、前後の肌面伸張構造6・7の肌面伸張体33のそれぞれが、頂部接線Rを上下同方向へ同時に通過するように構成して、肌面を前後の肌面伸張体33で同時に伸張操作することができる。その場合には、切断刃3・4に接触している肌面を、前後の肌面伸張体33で強く伸張操作できるので、肌面に倒れこんだひげはもちろんのこと、切断刃3・4で一度切断された短いひげをも同時に起立させて深ぞりすることができる。なお、前後の肌面伸張体33で肌面を同時に伸張作用する場合には、モーター8に大きな駆動負荷が作用するので、モーター出力が大きなモーター8を選定する必要がある。
また、実施例1においては、駆動カム44を傾斜溝で構成し、従動カム45をカム軸で構成したが、その必要はなく、駆動カム44をカム軸で構成し、従動カム45を傾斜溝で構成することができる。さらに、駆動カム44と従動カム45は、傾斜溝とカム軸以外のカム要素の組合わせで構成することができ、要は振動子本体23・24の左右動作を上下動作に変換できるカム構造であればよい。駆動カム44は、振動子本体23・24以外の往復駆動体に設けてあってもよい。肌押圧体35の上面は、正面から見て上突湾曲状に形成してあってもよく、あるいは波型に形成してあってもよい。
実施例3においては、肌面伸張用モーター73と、クランク体74と、駆動ロッド76で肌面伸張体駆動構造を構成したが、その必要はない。例えば、肌面伸張用モーター73の出力軸に固定した偏心カムと、偏心カムに連結した駆動ロッド76で肌面伸張体駆動構造を構成することができ、要は肌面伸張用モーター73の回転動力を上下方向の往復動力に変換できる動作変換構造であればよい。実施例4における肌面伸張体33はローラー状に形成する必要はなく、楕円状、頂部が丸められた多角形状、あるいは3以上の頂部を備えた内サイクロイド形状などに形成してあってもよい。
1 本体ケース
2 かみそりヘッド
3 第1切断刃(切断刃)
4 第2切断刃(切断刃)
6 第1肌面伸張構造(肌面伸張構造)
7 第2肌面伸張構造(肌面伸張構造)
33 肌面伸張体
35 肌押圧体
36 肌面伸張軸
44 駆動カム
45 従動カム
P 切断刃中心軸
Q 肌面伸張中心軸

Claims (1)

  1. かみそりヘッド(2)に、内刃(14)と外刃(13)を備えた切断刃(3・4)と、切断刃(3・4)に隣接配置される肌面伸張構造(6・7)とが設けられており、
    肌面伸張構造(6・7)は、肌伸ばしを行う肌面伸張体(33)と、駆動動力を肌面伸張体(33)に伝動する肌面伸張体駆動構造とを備えており、
    肌面伸張体駆動構造を介して駆動動力を受けた肌面伸張体(33)が、肌面を切断刃(3・4)から離れる向きへ断続的に伸張操作するように構成されており、
    肌面伸張構造(6・7)に隣接する切断刃(3・4)の前後中心を通る切断刃中心軸(P)と、肌面伸張構造(6・7)の前後中心を通る肌面伸張中心軸(Q)を想定するとき、
    肌面伸張中心軸(Q)を切断刃中心軸(P)に対して傾斜させて、肌面伸張体(33)が切断刃(3・4)から離れる向きに傾斜させてあり、
    肌面伸張体駆動構造が、肌面伸張体(33)を肌面伸張中心軸(Q)に沿って往復駆動するように構成されており、
    往復駆動される肌面伸張体(33)で肌面を断続的に伸張操作し、
    上突湾曲状の外刃(13)の周面と切断刃中心軸(P)との交差部を通り、切断刃中心軸(P)と直交する頂部接線(R)を想定するとき、
    肌面伸張体(33)の往復軌跡(S)の中途部が前記頂部接線(R)と交差するように肌面伸張体(33)が配置してあり、
    かみそりヘッド(2)の切断刃(3・4)の前側および後側のそれぞれに肌面伸張構造(6・7)が隣接配置してあり、
    前後の肌面伸張体駆動構造が、前後の肌面伸張体(33)が前記頂部接線(R)を上下逆向きに通過するように構成してあることを特徴とする電気かみそり。
JP2014050124A 2014-03-13 2014-03-13 電気かみそり Active JP6284792B2 (ja)

Priority Applications (1)

Application Number Priority Date Filing Date Title
JP2014050124A JP6284792B2 (ja) 2014-03-13 2014-03-13 電気かみそり

Applications Claiming Priority (1)

Application Number Priority Date Filing Date Title
JP2014050124A JP6284792B2 (ja) 2014-03-13 2014-03-13 電気かみそり

Publications (2)

Publication Number Publication Date
JP2015173703A JP2015173703A (ja) 2015-10-05
JP6284792B2 true JP6284792B2 (ja) 2018-02-28

Family

ID=54253491

Family Applications (1)

Application Number Title Priority Date Filing Date
JP2014050124A Active JP6284792B2 (ja) 2014-03-13 2014-03-13 電気かみそり

Country Status (1)

Country Link
JP (1) JP6284792B2 (ja)

Families Citing this family (2)

* Cited by examiner, † Cited by third party
Publication number Priority date Publication date Assignee Title
CN112549090B (zh) * 2019-09-26 2024-03-19 麦克赛尔泉株式会社 往复式电动剃刀
JP7471934B2 (ja) * 2019-09-26 2024-04-22 マクセルイズミ株式会社 往復式電気かみそり

Family Cites Families (14)

* Cited by examiner, † Cited by third party
Publication number Priority date Publication date Assignee Title
JPS57173084A (en) * 1981-04-15 1982-10-25 Matsushita Electric Works Ltd Electric razor
JPS602271A (ja) * 1983-06-17 1985-01-08 松下電工株式会社 電気かみそり
JP2644015B2 (ja) * 1988-11-25 1997-08-25 松下電工株式会社 電気かみそり
JPH03970U (ja) * 1989-05-30 1991-01-08
JP3427134B2 (ja) * 1994-05-26 2003-07-14 松下電工株式会社 脱毛装置
JP3814872B2 (ja) * 1996-06-25 2006-08-30 松下電工株式会社 電気かみそり
GB9614160D0 (en) * 1996-07-05 1996-09-04 Gillette Co Dry shaving apparatus
JP2001009178A (ja) * 1999-06-25 2001-01-16 Nakai:Kk ヒゲ剃り機に付ける、皮膚変形機
EP1685931B1 (en) * 2003-11-11 2009-08-26 Panasonic Electric Works Co., Ltd. Electric razor
JP2007029123A (ja) * 2005-07-22 2007-02-08 Matsushita Electric Works Ltd 往復式電気カミソリ
JP5102741B2 (ja) * 2008-03-25 2012-12-19 パナソニック株式会社 かみそり器
DE102008048725A1 (de) * 2008-09-24 2010-03-25 Braun Gmbh Haarentfernungsgerät mit Vorrichtung zur Vorbereitung der Haut
JP5522715B2 (ja) * 2009-05-28 2014-06-18 日立マクセル株式会社 ロータリー式の電気かみそり
EP2425938B1 (en) * 2010-09-03 2014-02-26 Braun GmbH Shaving head with multiple shaving units

Also Published As

Publication number Publication date
JP2015173703A (ja) 2015-10-05

Similar Documents

Publication Publication Date Title
RU2370360C2 (ru) Бритвенная сетка бритвы для сухого бритья
RU2374066C2 (ru) Бритва для сухого бритья
JP4148186B2 (ja) 往復直線運動を行う被駆動部材を備えたヘッド部が本体部に対して揺動可能な電動器具
JP3699736B2 (ja) 電気かみそり
JP4337634B2 (ja) 往復直線運動を行う被駆動部材を備えたヘッド部が本体部に対して揺動可能な電動器具
US9789619B2 (en) Facial hair shaver with built-in facial hair pattern guides
WO2021213531A1 (zh) 一种往复式剃刀刀头及其制造方法
JP5522715B2 (ja) ロータリー式の電気かみそり
US9770835B2 (en) Oscillatory shaver
WO2007037251A1 (ja) 電気かみそり
CN1727132A (zh) 干式剃须刀
JP6284792B2 (ja) 電気かみそり
CN102528830A (zh) 理发器
JP2019209150A (ja) カミソリ
US2590452A (en) Mechanical razor
JP6590441B2 (ja) 電気かみそり
CN118952320A (zh) 一种摆动机构及剃毛工具
JP5568367B2 (ja) 電気かみそり
JP2005334371A (ja) 往復直線運動を行う被駆動部材を備えたヘッド部が本体部に対して揺動可能な電動器具
JP4748587B2 (ja) ロータリー式の電気かみそり
CN112238258A (zh) 一种自动制作锯子的装置
JP5780665B2 (ja) 電気かみそり
KR20100007248U (ko) 헤드무빙 면도기
CN214110514U (zh) 双叉臂往复式裁切机构
JP2011067422A (ja) 電気かみそり

Legal Events

Date Code Title Description
A621 Written request for application examination

Free format text: JAPANESE INTERMEDIATE CODE: A621

Effective date: 20161216

A977 Report on retrieval

Free format text: JAPANESE INTERMEDIATE CODE: A971007

Effective date: 20170929

A131 Notification of reasons for refusal

Free format text: JAPANESE INTERMEDIATE CODE: A131

Effective date: 20171101

A521 Request for written amendment filed

Free format text: JAPANESE INTERMEDIATE CODE: A523

Effective date: 20171221

TRDD Decision of grant or rejection written
A01 Written decision to grant a patent or to grant a registration (utility model)

Free format text: JAPANESE INTERMEDIATE CODE: A01

Effective date: 20180124

A61 First payment of annual fees (during grant procedure)

Free format text: JAPANESE INTERMEDIATE CODE: A61

Effective date: 20180131

R150 Certificate of patent or registration of utility model

Ref document number: 6284792

Country of ref document: JP

Free format text: JAPANESE INTERMEDIATE CODE: R150

R250 Receipt of annual fees

Free format text: JAPANESE INTERMEDIATE CODE: R250

S533 Written request for registration of change of name

Free format text: JAPANESE INTERMEDIATE CODE: R313533

R350 Written notification of registration of transfer

Free format text: JAPANESE INTERMEDIATE CODE: R350

R250 Receipt of annual fees

Free format text: JAPANESE INTERMEDIATE CODE: R250

R250 Receipt of annual fees

Free format text: JAPANESE INTERMEDIATE CODE: R250

R250 Receipt of annual fees

Free format text: JAPANESE INTERMEDIATE CODE: R250

R250 Receipt of annual fees

Free format text: JAPANESE INTERMEDIATE CODE: R250

R250 Receipt of annual fees

Free format text: JAPANESE INTERMEDIATE CODE: R250