JP6233382B2 - 遊技機 - Google Patents

遊技機 Download PDF

Info

Publication number
JP6233382B2
JP6233382B2 JP2015212191A JP2015212191A JP6233382B2 JP 6233382 B2 JP6233382 B2 JP 6233382B2 JP 2015212191 A JP2015212191 A JP 2015212191A JP 2015212191 A JP2015212191 A JP 2015212191A JP 6233382 B2 JP6233382 B2 JP 6233382B2
Authority
JP
Japan
Prior art keywords
light
connection
box
game
main body
Prior art date
Legal status (The legal status is an assumption and is not a legal conclusion. Google has not performed a legal analysis and makes no representation as to the accuracy of the status listed.)
Expired - Fee Related
Application number
JP2015212191A
Other languages
English (en)
Other versions
JP2016039927A (ja
JP2016039927A5 (ja
Inventor
大輔 三木
大輔 三木
Current Assignee (The listed assignees may be inaccurate. Google has not performed a legal analysis and makes no representation or warranty as to the accuracy of the list.)
Sanyo Bussan Co Ltd
Original Assignee
Sanyo Bussan Co Ltd
Priority date (The priority date is an assumption and is not a legal conclusion. Google has not performed a legal analysis and makes no representation as to the accuracy of the date listed.)
Filing date
Publication date
Application filed by Sanyo Bussan Co Ltd filed Critical Sanyo Bussan Co Ltd
Priority to JP2015212191A priority Critical patent/JP6233382B2/ja
Publication of JP2016039927A publication Critical patent/JP2016039927A/ja
Publication of JP2016039927A5 publication Critical patent/JP2016039927A5/ja
Application granted granted Critical
Publication of JP6233382B2 publication Critical patent/JP6233382B2/ja
Expired - Fee Related legal-status Critical Current
Anticipated expiration legal-status Critical

Links

Images

Landscapes

  • Pinball Game Machines (AREA)

Description

本発明は、パチンコ機等の遊技機に関する。
従来の典型的なパチンコ遊技機やスロットマシン等の遊技機において、遊技機の動作を制御する制御基板を開封不能に連結された基板ボックスの内部に収容する構成や制御基板の収容された制御装置を遊技機本体に離脱不能に連結する構成が採用されている。これらの連結構造において、制御装置の動作不良等により制御基板を遊技機本体から取り外す必要が生じる場合を考慮して、制御基板に大きな衝撃を与えたり制御基板を破損させたりすることなく安全にかつ簡便に取り外せるように、簡単な工具で切断することによって開封不能な連結や離脱不能な連結を解除できる特定の部分(以下において「連結解除用特定部」とも称す)が設けられている。
特開平10−337367号公報
しかしながら、連結解除用特定部を切断して基板ボックスを一旦開封し、制御基板を不正に改変した後に基板ボックスを元のように閉鎖する不正行為が知られており、このような不正行為が行われると基板ボックスの開封痕跡を目視によって確認することが困難となる虞があった。なお、上記においては制御基板に関連する連結構造ついて例示したが、その他の連結構造についても同様である。
上記例示した事情等に鑑みて、本発明は、連結状態を好適に確認できる遊技機を提供することを目的とする。
上記課題を解決すべく、本発明に係る遊技機は、
第1構造体、前記第1構造体と係合する第2構造体及び前記第1構造体と前記第2構造体とを相対移動不能に連結する連結手段を含む連結構造体を備える遊技機であって、
前記第1構造体は、本体部と、前記本体部の外側に位置する被連結部と、前記本体部から外方向に延出して前記本体部と前記被連結部とを接続し、前記第1構造体の被連結部と前記第2構造体の被連結部とが前記連結手段で連結されている相対移動阻止状態を解除する場合に切断される接続部とを含み、
前記第2構造体は、本体部と、前記連結手段により前記第1構造体の被連結部と連結される被連結部とを含み、
前記第1構造体の本体部、被連結部及び接続部は、光透過性物質で一体成形されており、
前記連結構造体に対して移動可能であり、移動可能な範囲のうちの一部の特定の範囲に位置している場合に前記接続部に光を照射可能である発光手段を備え、
前記発光手段と、前記連結構造体とが、遊技機本体に対して着脱可能に取り付けられた遊技部材に設けられていることを特徴としている。
本発明によれば、連結状態を好適に確認できる遊技機を提供できる。
パチンコ機の正面図 パチンコ機の斜視図 パチンコ機の主要な構成の展開状態を示す斜視図 パチンコ機の主要な構成の他の展開状態を示す斜視図 中間ユニットの正面図 遊技盤の正面図 中間ユニットの背面図 裏パックユニットの背面図 パチンコ機の背面図 主制御装置ユニットの正面図 主制御装置ユニットの分解斜視図 主制御装置の正面図 主制御装置の分解斜視図 基板ボックスの開放動作を示す斜視図 主制御装置ユニットの正面図 主制御装置ユニットの左側部分の正面拡大図 取り外し封印部の図16におけるXA−XA矢視断面図 取り外し封印部を検査する光源の配置を説明する模式的な断面図 取り外し封印部における封印解除痕跡の確認方法を説明する断面図 第1種開放封印部の図16におけるXB1−XB1矢視断面図 第1種開放封印部の図16におけるXB2−XB2断面図 第2種開放封印部の図16におけるXC1−XC1矢視断面図 第2種開放封印部の図16におけるXC2−XC2矢視断面図 第2種開放封印部の封印解除痕跡の確認方法を説明する模式的な正面図 第2種開放封印部の封印解除痕跡の確認方法を説明する模式的な断面図 主制御装置ユニットの右側部分の拡大斜視図 主制御装置ユニットの右側部分の正面拡大図 主制御装置ユニットの右側部分の背面拡大図 第3種開放封印部の図26におけるXD−XD矢視断面図 第3種開放封印部の封印解除痕跡の確認方法を説明する模式的な斜視図 第4種開放封印部の図26におけるXE−XE矢視断面図
以下、本発明の実施形態として、遊技機の一種であるパチンコ遊技機(以下、「パチンコ機」という)の実施例を説明し、その後に変形例を説明する。図1はパチンコ機10の正面図、図2はパチンコ機10を前方から見た斜視図、図3及び図4はパチンコ機10の主要な構成を展開して示す斜視図、図5は中間ユニット13の正面図である。なお、図3及び図5では便宜上パチンコ機10の遊技領域23a内の構成を省略している。
パチンコ機10は、図3に示すように、当該パチンコ機10の外殻を形成する外枠11と、この外枠11に対して前方に回動可能に取り付けられた遊技機本体12と、を有する。外枠11は、木製の板材を上辺及び下辺とし、アルミ製の板材を左右の辺とした四辺を固定した枠状に形成される。パチンコ機10は、外枠11を島設備に取り付け固定することにより遊技場に設置される。なお、パチンコ機10において外枠11は必須の構成ではなく、外枠11又は外枠11と同一の内形を有し、外枠11の遊技機本体12支持構造及び施錠構造を有する部材が遊技場に備え付けられた構成としてもよい。
遊技機本体12は、図3に示すように、中間ユニット13と、その中間ユニット13の前方に配置される前扉枠14と、中間ユニット13の後方に配置される裏パックユニット15とを備えている。遊技機本体12のうち中間ユニット13が外枠11に対して回動可能に支持されている。
中間ユニット13には、図3に示すように、前扉枠14が回動可能に支持されており、正面視で左側を回動基端側(開閉基端側)とし、右側を回動先端側(開閉先端側)として前方へ回動可能とされている。また、中間ユニット13には、図4に示すように、裏パックユニット15が回動可能に支持されており、正面視で左側を回動基端側(開閉基端側)とし、右側を回動先端側(開閉先端側)として後方へ回動可能とされている。
中間ユニット13には、図3に示すように、その回動先端部に施錠機構16が設けられており、遊技機本体12を外枠11に対して開放不能に施錠状態とする機能と、前扉枠14を中間ユニット13に対して開放不能に施錠状態とする機能を有している。これらの各施錠状態は、図1に示すようにパチンコ機10前面にて露出させて設けられた施錠機構16のキーシリンダに対して、解錠キーを用いて解錠操作を行うことにより、それぞれ解除される。
中間ユニット13は、図3に示すように、外形が外枠11とほぼ同一形状をなす枠状の枠ユニット21を主体に構成されている。枠ユニット21には、前面側より遊技盤23が着脱可能に取り付けられる内枠としての機能を有し、この遊技盤23に形成される遊技領域23aが中間ユニット13の前面側に露出可能に取り付けられる。遊技領域23a内の様子は、図3に示すように、前扉枠14の背面側に設けられた窓パネルユニット30を通じてパチンコ機10前方から視認可能となっている。
前扉枠14は、中間ユニット13の前面側に回動可能に取り付けられている。前扉枠14の回動基端側には、図2に示すように、前扉取付金具57,58が設けられ、この前扉取付金具57,58が中間ユニット13に係合することにより、中間ユニット13に対して前扉枠14が回動可能に支持される。
前扉枠14は、図3に示すように、中間ユニット13と外形がほぼ同一の長方形状に形成されている。前扉枠14には、窓パネルユニット30の外周縁が正面視で露出しないように窓パネルユニット30より小さく開口形成された窓部14aが設けられる(図1参照)。この窓部14aが窓パネルユニット30によって背面側から覆われることで、窓パネルユニット30を取り付けた前扉枠14によって中間ユニット13の前面側のほぼ全域が覆われる。
窓パネルユニット30は、図3に示すように、窓部14aより大きな外形で透明性を有する前後一対の透明ガラス31,32と、これら透明ガラス31,32を一体化する固定枠33とを備えている。固定枠33は、合成樹脂により透明ガラス31,32より一回り大きな環状に形成され、透明ガラス31,32の外周縁が固定枠33に接着されることで窓パネルユニット30は一体化された複層ガラスとされている。
なお、窓パネルユニット30は、透明ガラス31,32によって無色透明に形成されているが、これに限定されることはなく合成樹脂によって無色透明に形成されていてもよく、パチンコ機10前方から窓パネルユニット30を通じて遊技領域23aを視認可能であれば無色透明でなく有色透明に形成されていてもよい。
前扉枠14において窓部14aの周囲には、図1に示すように、LED等の発光器を内蔵した電飾部24が複数設けられている。これら電飾部24では、大当たり時や所定のリーチ時等における遊技状態の変化に応じて点灯や点滅が行われる。また、窓部14aの上側の電飾部24には、払出球が不足する等の所定のエラー時に点灯する発光器と、賞球払出中に点灯する発光器とが内蔵されている。また、窓部14aの右上側及び左上側には、遊技状態に応じた効果音などが出力されるスピーカ装置を覆うスピーカカバー27が設けられている。
前扉枠14における窓部14aの下方には、図2に示すように、手前側へ膨出した上側膨出部28と下側膨出部29とが上下に並設されている。上側膨出部28には上方に開口した上皿28aが設けられており、下側膨出部29には同じく上方に開口した下皿29aが設けられている。上皿28aは、払出装置224より払い出された遊技球を一旦貯留し、一列に整列させながら遊技球発射機構110側へ導く機能を有している。また、下皿29aは、上皿28a内にて余剰となった遊技球を貯留する機能を有している。なお、上皿28aと下皿29aとに分けて複数箇所に遊技球を貯留する部位を設ける必要はなく、下皿29aを廃止して上皿28aのみとした1つの貯留部のみを有する構成としても良い。
上側膨出部28における上皿28a(遊技球の貯留領域)の手前側には、遊技者らにより手動操作される操作スイッチ40が設けられている。操作スイッチ40は、図柄表示装置94の表示画面94a等にて遊技者の操作に対応した演出が行われる場合に使用される操作装置である。この操作スイッチ40は、上皿28a以外に下皿29a周辺等の別の部位に設けられても良いし、複数箇所に設けられても良く、また、操作方法として押しボタン式のスイッチであっても良く、タッチセンサ、非接触式のセンサ等の別の操作方法によって情報入力可能な構成としても良い。
前扉枠14における下側膨出部29の右側には、図2に示すように、手前側へ突出するようにして発射操作装置45が設けられている。発射操作装置45は、遊技領域23aに遊技球を発射すべく操作される装置であり、図2に示すように、操作ベース46に対して、環状の操作ハンドル47が回転可能に軸支されてなり、遊技球の発射操作に際して操作ハンドル47が遊技者により回転操作されるものである。この場合、操作ハンドル47の回転操作量は、操作ベース46に内蔵された操作量検出手段としての可変抵抗器により検出される。また、発射操作装置45には、操作ハンドル47を遊技者が触れていることを検知するためのタッチセンサが操作ベース46に内蔵されるとともに、操作ハンドル47を回転操作した状態において遊技球の発射を停止させるために操作される停止操作レバー48が設けられている。
前扉枠14の背面側には、図3に示すように、通路形成ユニット50が取り付けられている。通路形成ユニット50は、合成樹脂により成形されており、上皿28aに通じる前扉側上皿通路部51と、下皿29aに通じる前扉側下皿通路部52と、ファール球通路部55を有している。通路形成ユニット50の上側隅部には後方に突出し上方に開放された払出球受口部53が形成されており、当該受口部53が仕切壁54によって左右に仕切られることで前扉側上皿通路部51の通路入口と前扉側下皿通路部52の通路入口とがそれぞれ形成されている。
ファール球通路部55は、遊技球発射機構110から発射された遊技球のうち遊技領域23aまで至らなかった遊技球をファール球として下皿29aに排出する通路を形成する部位である。ファール球通路部55には、図3に示すように、上方に開放されたファール球受口部56が設けられる。このファール球受口部56よりファール球が受け入れられ、前扉側下皿通路部52にファール球が案内されることにより、ファール球通路部55に入った遊技球は下皿29aに排出される。なお、ファール球通路部55は、下皿29aでなく、上皿28aに接続され、ファール球が上皿28aに排出される構成としても良い。
遊技球発射機構110は、図3に示すように、前扉枠14を開放した場合に前面側に露出される部品であり、中間ユニット13の前面側右下部分に設けられている。この遊技球発射機構110は、図5に示すように、発射装置として設けられた電磁式の発射用ソレノイド111と、発射レール112と、球送り装置113とを備えている。球送り装置113は、上皿28aに貯留された遊技球を発射レール112上に1個ずつ供給する。この場合、この供給される遊技球は発射用ソレノイド111において打出し部として設けられたプランジャ114の突出経路上に配置される。そして、発射用ソレノイド111への電気的な信号の入力により、プランジャ114が発射レール112上の遊技球に向けて移動し、当該遊技球は遊技領域23aに向けて打出される。なお、遊技球発射機構110の電動アクチュエータは、発射用ソレノイド111に限定されることはなく、発射モータなどを用いてもよい。
中間ユニット13の左側であって発射レール112の左方には、図3に示すように、通路形成部材121が配設されている。枠ユニット21には、通路形成部材121が設けられる部位を前後方向に貫通する貫通孔が設けられ、この貫通孔を前面側から覆うようにして通路形成部材121は、枠ユニット21にネジ止めされている。
通路形成部材121は、図5に示すように、本体側上皿通路部122と本体側下皿通路部123とを有している。前扉枠14が閉鎖状態とされた場合には、通路形成部材121の下側部分に前扉枠14に設けられる通路形成ユニット50の払出球受口部53(図3参照)が入り込む。そして、本体側上皿通路部122の下方には前扉側上皿通路部51が配置され、本体側下皿通路部123の下方には前扉側下皿通路部52が配置される。
通路形成部材121の下側部分には、図5に示すように、本体側上皿通路部122及び本体側下皿通路部123からの遊技球の流出を規制するシャッタ124が設けられている。シャッタ124は、両通路の出口部分を狭め遊技球の流出を阻止する阻止位置と、遊技球の流出を許容する許容位置との両位置に切り替え可能に設けられる。また、枠ユニット21には、シャッタ124を阻止位置に向けて付勢する付勢部材が取り付けられ、前扉枠14を中間ユニット13に対して開いた状態では付勢部材の付勢力によってシャッタ124が阻止位置に留まる構成となっている。これにより、本体側上皿通路部122又は本体側下皿通路部123に遊技球が貯留されている状態で前扉枠14を開放した場合に、その貯留球がこぼれ落ちてしまうといった不都合が回避されている。これに対し、前扉枠14を閉じた状態では、前扉枠14の通路形成ユニット50に設けられた払出球受口部53の外周部分により上記付勢力に抗してシャッタ124が許容位置に押し戻される。この状態では、本体側上皿通路部122及び前扉側上皿通路部51が連通し、本体側下皿通路部123及び前扉側下皿通路部52が連通して、遊技球の流下が許容される。
次に、遊技領域23aを形成する遊技盤23の構成を、図6に基づいて説明する。図6は遊技盤23の正面図である。
遊技盤23は、木製の合板で形成した板材と同板材の前側の板面を覆うシート材とを有する遊技板23bを備えており、その全面が枠ユニット21の前面側に露出している。この露出している部位、すなわち遊技盤23の前面には、遊技球が流下する遊技領域23aが形成されている。上記したように遊技領域23aは透明ガラス31,32によって前面側が覆われているため、後側の透明ガラス32によって遊技領域23aの前面側が区画される。また、遊技領域23aの背面側は遊技板23bの前面によって区画される。なお、遊技板23bを構成する板材は、合板に限らず一枚板で形成しても良いし、木製に限らず例えば透明な合成樹脂製の板材または成形品で形成しても良い。
遊技領域23aは、正面視において遊技盤23の全域に渡る上下及び左右方向の寸法に設定され、右下部分のみが右下側に突出した略円形状に形成されている。遊技領域23aは、その外周が誘導レール100及び区画部材107により区画されている。誘導レール100は、遊技盤23の左側全域に及ぶ大きさの円弧状の内レール101と外レール102とからなり、これら内レール101と外レール102とにより遊技領域23aの左側に円弧状の誘導通路103を形成する。
誘導通路103の下側端部には、誘導通路103の入口部104が形成され、この入口部104と発射レール112とは離間して設けられる(図5参照)。誘導通路103の上側端部には、誘導通路103の出口部105が形成され、その出口部105の右上側には遊技領域23aに到達した遊技球の誘導通路103内への戻りを防止する戻り防止部材106が取り付けられている。
発射操作装置45(図1参照)の操作ハンドル47が遊技者により手動操作された場合、中間ユニット13の右下部分に設けられた遊技球発射機構110(図5参照)から発射された遊技球は、誘導通路103を経由し、誘導通路103の出口部105において戻り防止部材106により閉鎖された遊技領域23aの入口を押し広げて遊技領域23a内に進入する。遊技球の発射力が弱すぎる場合には、遊技球が遊技領域23aまで至らず誘導通路103内で落下し始め、誘導通路103の入口部104と発射レール112との間に落下する。前扉枠14の閉鎖状態においては、この入口部104と発射レール112との間にファール球受口部56が配置され、遊技領域23aまで至らなかった遊技球はファール球通路部55を経由して下皿29aへ排出される。
区画部材107は、遊技領域23aの右側を区画するものであり、合成樹脂を成形して縦長に形成され、遊技板23bの前面にネジ止めされている。この区画部材107は、外レール102の上側における右側端部を起点とし、内レール101の下側における右側端部より下側まで延在している。
なお、区画部材107の上端部には、機種名が印字された証紙107aが貼り付けられ、区画部材107の下端部には、メーカー名や製造番号などが印字された証紙107bを貼り付けた台座部品が固定されている。これら証紙107a,107bは、透明ガラス31,32を介してパチンコ機10前方から視認可能な位置に配置される。
遊技板23bには、ルータ加工が施されることによって前後方向に貫通する大小複数の開口部が形成されている。各開口部には一般入賞口81、可変入賞装置82、上作動口83a、下作動口83b、スルーゲート84、可変表示ユニット85、主表示装置96等が設けられている。
一般入賞口81、可変入賞装置82、上作動口83a及び下作動口83bへの入球が発生すると、それが遊技盤23の背面側に配設された検知センサ(図示略)により検知され、その検知結果に基づいて所定数の賞球の払い出しが実行される。この場合、上作動口83aへの入球が発生した場合及び下作動口83bへの入球が発生した場合には3個の賞球の払い出しが実行され、一般入賞口81への入球が発生した場合には10個の賞球の払い出しが実行され、可変入賞装置82への入球が発生した場合には15個の賞球の払い出しが実行される。但し、これら賞球の個数は任意であり、例えば上作動口83aに係る賞球個数よりも下作動口83bに係る賞球個数が多いといったように、両作動口83a,83bの賞球個数が相違していてもよい。また、可変入賞装置82に係る賞球個数が他の賞球個数に比べて多い構成に限定されることはなく、例えば一般入賞口81に係る賞球個数と同一の構成としても良く、少ない構成としても良い。
遊技領域23aの中央部には、可変表示ユニット85が設けられ、可変表示ユニット85の構成部品として、絵柄の一種である図柄を変動表示(又は、可変表示若しくは切換表示)する図柄表示装置94が遊技板23bの背面側に設けられ、正面視で図柄表示装置94の表示画面94aを囲むように設けられるセンターフレーム95が遊技板23bの前面側より取り付けられている。図柄表示装置94の前面側であってセンターフレーム95の後側には、ポリカーボネート等の透明な合成樹脂材料により形成された透明保護板が設けられ、図柄表示装置94の表示画面94aは、その透明保護板を介して前面側から視認可能とされている。
遊技領域23aは、その中央部にセンターフレーム95が設けられることで、センターフレーム95の左右両側に位置する左側領域PE1と右側領域PE2とに区画され、遊技領域23aに発射された遊技球は、左側領域PE1または右側領域PE2のいずれか一方を流下することとなる。左側領域PE1及び右側領域PE2の下側には、両領域から流下した遊技球が合流して流下する下側領域PE3が遊技領域23aの一部として設けられている。
遊技領域23aへ遊技球が到達する回動量に操作ハンドル47が操作されると、左側領域PE1または右側領域PE2のいずれか一方を遊技球が流下する。操作ハンドル47の操作量が少なく、センターフレーム95の一番上側の部位を超えない発射力となる回動操作量で遊技球が発射されると、遊技球は遊技領域23aの入口に近い左側領域PE1を流下する。その操作量より操作ハンドル47の操作量が多く、センターフレーム95の一番上側の部位を確実に超える発射力となる回動操作量で遊技球が発射されると、遊技球は右側領域PE2を流下する。それらの間部分に相当する回動操作量の場合には、遊技球は、左側領域PE1と右側領域PE2との両方に分散して流下する。遊技者は、操作ハンドル47の回動操作量を調整することで、左側領域PE1と右側領域PE2とのいずれの領域を遊技球が流下するかを選択して遊技を行うことができる。
遊技盤23の最下部には、アウト口86が設けられ、左側領域PE1または右側領域PE2を流下して最終的に各種入賞口等に入らなかった遊技球はアウト口86を通って遊技領域23aから排出される。遊技領域23aには、遊技球の落下方向を適宜分散、調整等するために多数の釘87が植設され、風車等の各種部材(役物)が配設されている。
ここで、入球とは、所定の開口部を遊技球が通過することを意味し、開口部を通過した後に遊技領域23aから排出される態様だけでなく、開口部を通過した後に遊技領域23aから排出されない態様も含まれる。但し、以下の説明では、アウト口86への遊技球の入球と明確に区別するために、一般入賞口81、可変入賞装置82、上作動口83a、下作動口83b又はスルーゲート84への遊技球の入球を、入賞とも表現する。
上作動口83a及び下作動口83bは共に上向きに開放されている。また、上作動口83aが上方となるようにして両作動口83a,83bは鉛直方向に並んでいる。下作動口83bには、左右一対の可動片よりなるガイド片(サポート片)としての電動役物83cが設けられている。
上作動口83a及び下作動口83bは、遊技領域23aの下側領域PE3に設けられている。上作動口83aは、センターフレーム95の下部に設けられて遊技球が上面を転動するステージの直下に配置され、センターフレーム95で形成された誘導通路(図示略)を介してステージ上に誘導され、誘導通路を経由しない遊技球より上作動口83aへ入賞しやすい構成とされている。この誘導通路の入口は、センターフレーム95において左側領域PE1に面する左側部分に設けられ、また、ステージの下側から飛び込む遊技球として、左側領域PE1からの方がステージに飛び込み易い釘87の配置とされている。すなわち、左側領域PE1を遊技球が流下した場合の方が、右側領域PE2を遊技球が流下する場合に比べて上作動口83aへの入賞が発生しやすい設定とされている。
電動役物83cは遊技板23bの背面側に搭載された電動役物駆動部に連結されており、当該電動役物駆動部により駆動されて閉鎖状態(非サポート状態又は非ガイド状態)及び開放状態(サポート状態又はガイド状態)のいずれかに配置される。電動役物83cの閉鎖状態では遊技球が下作動口83bに入賞できず、電動役物83cが開放状態となることで下作動口83bへの入賞が可能となる。電動役物83cは、下側領域PE3で左右両側に開放可能とされ、左側領域PE1を流下した遊技球及び右側領域PE2を流下した遊技球のいずれも入賞可能とされている。
スルーゲート84は、右側領域PE2に設けられ、遊技領域23aの入口から遠い側へ届く一定以上の強い発射力で発射された遊技球が入球可能に構成されている。スルーゲート84の下側には、可変入賞装置82が設けられ、可変入賞装置82も右側領域PE2に設けられている。
可変入賞装置82は、通常は遊技球が入賞できない又は入賞し難い閉状態になっており、大当たり当選といった開閉実行モード(特別遊技状態)への移行当選となった際に、遊技球が入賞しやすい所定の開放状態に切り換えられるようになっている。可変入賞装置82の開放態様として具体的には、所定時間(例えば30秒間)の経過又は所定個数(例えば10個)の入賞を1ラウンドとして、複数ラウンド(例えば15ラウンド)を上限として可変入賞装置82が繰り返し開放される。
スルーゲート84及び可変入賞装置82は、遊技領域23aの右側領域PE2に設けられ、右側領域PE2を遊技球が流下するように一定以上に強い発射力で遊技球が発射された場合にスルーゲート84及び可変入賞装置82に遊技球が入賞する。スルーゲート84に遊技球を入球させた場合に電動役物83cが遊技者にとって有利な開放状態とされ易い遊技状態(いわゆる時短遊技状態)や、可変入賞装置82が開閉実行モードとされる特別遊技状態等、遊技領域23aの右側領域PE2に遊技球を流下させた場合に遊技者にとって有利となる遊技状態においては、遊技者は、右側領域PE2を数多く遊技球が流下するように操作ハンドル47を操作する。これに対し、上作動口83aに遊技球を多く入賞させて内部抽選の当選を期待する通常の遊技状態においては、遊技者は、左側領域PE1を数多く遊技球が流下するように操作ハンドル47を操作して遊技を実行することとなる。
遊技者にとって有利となる回動操作量は図柄表示装置94やスピーカの音声によって遊技者に報知され、遊技状態が切り替わるときに、例えば、「右打ちをしてください。」または、「左打ちをしてください。」と遊技者に表示または音声によって報知し、或いは、遊技者によって不利となる側に遊技球が発射されていることが、スルーゲート84の通過や一般入賞口81の入賞によって遊技機が認識した場合に、上記した報知が実行されて遊技者に有利となる操作ハンドル47の回動操作量が遊技者に示唆される。
図柄表示装置94は、液晶ディスプレイを備えた液晶表示装置として構成されており、表示制御装置142により表示内容が制御される。なお、図柄表示装置94は、液晶表示装置に限定されることはなく、プラズマディスプレイ装置、有機EL表示装置又はCRTといった表示画面を有する他の表示装置であってもよく、ドットマトリクス表示器であってもよい。
図柄表示装置94では、上作動口83a又は下作動口83bへの入賞に基づいて図柄の変動表示が開始される。図柄表示装置94における変動表示は、正面視で視認可能な視認可能領域において行われ、例えば上、中及び下に並べて図柄が表示され、これらの図柄が左右方向にスクロールされるようにして変動表示されるようになっている。そして、予め設定されている有効ライン上に所定の組み合わせの図柄が停止表示された場合には、開閉実行モードが発生することとなる。この図柄表示装置94における変動表示は、主表示装置96のメイン表示部において行われる変動表示に合わせて行われる。
可変表示ユニット85に対して右上側には、遊技の状態を表示する主表示装置96が設けられる。主表示装置96は、複数の発光部が並んで配列されてなる表示器によって構成され、区画部材107の上端部に設けられ、その前面側には、例えば、左上側からメイン表示部、役物用表示部、状態表示部、保留表示部、補助表示部等が順に設けられる。
メイン表示部では、上作動口83a又は下作動口83bへの入賞をトリガとして絵柄の変動表示が行われ、その変動表示の停止結果として、上作動口83a又は下作動口83bへの入賞に基づいて行われた内部抽選の結果が表示によって明示される。つまり、本パチンコ機10では、上作動口83aへの入賞と下作動口83bへの入賞とが内部抽選において区別されておらず、上作動口83a又は下作動口83bへの入賞に基づいて行われた内部抽選の結果が共通の表示領域であるメイン表示部にて明示される。そして、上作動口83a又は下作動口83bへの入賞に基づく内部抽選の結果が開閉実行モードへの移行に対応した当選結果であった場合には、主表示装置96のメイン表示部にて所定の停止結果が表示されて変動表示が停止された後に、開閉実行モードへ移行する。
ここで、いずれかの作動口83a,83bへの入賞に基づいて、メイン表示部及び図柄表示装置94にて変動表示が開始され、所定の停止結果を表示し上記変動表示が停止されるまでが遊技回の1回に相当する。
役物用表示部では、スルーゲート84への入賞をトリガとして絵柄の変動表示が行われ、その変動表示の停止結果として、スルーゲート84への入賞に基づいて行われた内部抽選の結果が表示によって明示される。スルーゲート84への入賞に基づく内部抽選の結果が電役開放状態への移行に対応した当選結果であった場合には、役物用表示部にて所定の停止結果が表示されて変動表示が停止された後に、電役開放状態へ移行する。電役開放状態では、下作動口83bに設けられた電動役物83cが所定の態様で開放状態となる。
補助表示部は、メイン表示部と同一の態様とされた発光部が設けられ、本実施例におけるパチンコ機10においては、消灯されたままとされている。この補助表示部は、本実施例におけるパチンコ機10とは別の他機種において上作動口83aへの入賞に対する内部抽選と下作動口83bへの入賞に対する内部抽選とが区別される場合に点灯するものであり、メイン表示部を複数必要とする機種において使用される。
状態表示部は、メイン表示部にて所定の停止結果が表示されることで遊技状態が開閉実行モードへ移行し、その所定の停止結果の表示後における遊技回が所定回数に到達する等して遊技状態が開閉実行モード前の通常状態に移行する場合に、その遊技状態の変化が表示によって明示される。また、状態表示部では、開閉実行モードの移行当選となった場合に可変入賞装置82の開放態様として複数種類のラウンド数が設定されている機種において移行当選となったラウンド数が表示によって明示される。
保留表示部は、遊技球が上作動口83a又は下作動口83bに入賞した個数及び遊技球がスルーゲート84を通過した回数のうち未だ遊技が実行されていない保留状態の遊技回数を表示によってそれぞれ明示する。遊技球が上作動口83a又は下作動口83bに入賞した個数及び遊技球がスルーゲート84を通過した回数はそれぞれ最大4個まで保留され、保留表示部によって各保留数がそれぞれ表示される。保留表示部の保留数に対応した情報は、図柄表示装置94の表示画面にも表示され、保留数が数字又はキャラクタの個数などにより表示される。
なお、メイン表示部、役物用表示部、補助表示部、状態表示部及び保留表示部は、複数の発光部が所定の態様で配列されてなる表示器により構成されているが、これに限定されることはなく、いずれか一方または両方の表示部を液晶表示装置、有機EL表示装置、CRT、セグメント表示器又はドットマトリックス表示器等その他のタイプの表示装置によって構成してもよい。また、メイン表示部及び役物用表示部にて変動表示される態様として、絵柄としての複数種の文字が変動表示される構成、複数種の記号が変動表示される構成、複数種のキャラクタが変動表示される構成又は複数種の色が切り換え表示される構成としても良い。
次に、遊技機本体12の背面側の構成について、図4に加え、図7から図9を参照しながら説明する。図7は中間ユニット13の背面図、図8は裏パックユニット15の背面図、図9はパチンコ機10の背面図である。
中間ユニット13には、図7に示すように、枠ユニット21によって開口形成される前後に貫通した遊技盤収容部21aが設けられ、この遊技盤収容部21aを通じて中間ユニット13の背面側には遊技盤23の背面側に搭載される各種部品が露出されている。
中間ユニット13の背面側には、図4に示すように、合成樹脂により形成された箱状の盤裏カバー141が設けられている。盤裏カバー141は、遊技盤23の背面のほぼ全域にわたって設けられ、遊技盤23の背面側に設けられる各種部品を遊技球や搬送時において保護すると共に、遊技球の入賞を検知する検知センサ等を狙った不正を防止する機能を有している。
中間ユニット13の背面側中央部には、図4に示すように、表示制御装置142と音声発光制御装置143とが前後に並んで設けられ、その下側には、遊技の主たる制御を司る主制御装置160が設けられている。表示制御装置142は、図柄表示装置94の表示制御を司るものであり、音声発光制御装置143は、主制御装置160からの指示に従って音声やLED、ランプ等の表示制御及び表示制御装置142の制御を司るものである。
枠ユニット21の背面における回動基端側(図7の右側)には、上下に離間して支持金具132が設けられ、各支持金具132の上端部に形成される軸受け部133によって中間ユニット13に対して裏パックユニット15が回動可能に取り付けられる。また、枠ユニット21の背面には、裏パックユニット15を中間ユニット13に固定するための固定レバー134が回動先端側(図7の左側)に複数設けられている。
次に、裏パックユニット15について説明する。裏パックユニット15は、図8に示すように、透明性を有する合成樹脂により形成された裏パック201と、払出ユニット202と、外部端子板203とを備えている。
裏パック201は、図8に示すように、裏パック201の周縁部を構成する裏ベース部211と、裏ベース部211から後方へ張り出すようにして形成された保護カバー部212とを有している。保護カバー部212は、左右側面と上面の全部が閉鎖され、背面下部から下面につながる一部分が開放された形状をなし、保護カバー部212の下側部分に前後方向に貫通した開口部212aが形成されている。
外部端子板203は、図8に示すように、後方から見た裏パックユニット15の右上側端部に設けられている。外部端子板203は、パチンコ機10の状態を遊技ホールの管理コンピュータに認識させるために、所定の信号出力を行うための基板である。外部端子板203には、出力端子として、開閉実行モード中に信号出力するための出力端子、下作動口83bの電動役物83cが高頻度で開放状態となる電役開放状態中に信号出力するための出力端子、払出ユニット202において遊技球が不足した場合に信号出力するための出力端子、所定個数の賞球を払い出す毎に信号出力するための出力端子、所定個数の遊技球を貸し出す毎に信号出力するための出力端子、外枠11に対する中間ユニット13の開放時に信号出力するための出力端子、中間ユニット13に対する前扉枠14の開放時に信号出力するための出力端子などが設けられている。
裏パックユニット15における背面視右側端部には、図8に示すように、上下一対の掛止ピン204が取り付けられている。この掛止ピン204を中間ユニット13側の軸受け部133に挿通させることで、裏パックユニット15が掛止ピン204を中心にして中間ユニット13に対して回動可能に支持される。裏ベース部211における掛止ピン204が配置されていない反対側の端部には、中間ユニット13に設けられた固定レバー134が挿通される挿通部211aが上下に形成されている。固定レバー134が挿通部211aに挿通されて90度回転させた状態にすることで、固定レバー134の一部が裏ベース部211に後方から当接し、中間ユニット13に裏パックユニット15が固定される。
裏パックユニット15は、上記したとおり、中間ユニット13の背面に対して回動可能に軸支されている。裏パックユニット15を中間ユニット13に対して背面側から重ね合わせた状態では、図9に示すように、主制御装置160の大半は開口部212aを介して背面側に露出し、主制御装置160の一部は保護カバー部212により覆われている。主制御装置160の一部には他の制御装置と電気的に接続するためのコネクタ及び配線が設けられ、この配線に関する部位を含む主制御装置160の一部が保護カバー部212に覆われることで、主制御装置160の視認性を高めつつ、不正行為の抑制及び遊技球の衝突による破損防止等を実現している。主制御装置160の上側に配置される音声発光制御装置143等は、保護カバー部212により全体が覆われている。
裏パックユニット15は、図8に示すように、保護カバー部212を迂回するようにして裏ベース部211に取り付けられている払出ユニット202を備えている。払出ユニット202は、裏パック201の最上部に設けられて遊技球を貯留可能に上方に開口したタンク221と、タンク221内の遊技球を下流側に向けて案内可能に緩やかに傾斜するタンクレール222と、タンクレール222の下流側にて上下方向に遊技球を案内するケースレール223と、ケースレール223の最下流部に設けられる払出装置224とを有し、これらが連結することでタンク221に補給された遊技球を必要数分だけ払出装置224の下流側に払い出し可能とされている。払出装置224によって払い出された遊技球は、払出装置224の下流側に設けられた裏側通路部225に供給される(図4参照)。
裏側通路部225には、払出装置224より払い出された遊技球を上皿28a、下皿29a又は排出通路の何れかに振り分けるための3つの通路が形成されている。これら通路のうち、裏パック201の中央側に位置する通路が上記した本体側上皿通路部122及び前扉側上皿通路部51を介して上皿28aに通じ、その外側の通路が本体側下皿通路部123及び前扉側下皿通路部52を介して下皿29aに通じ、更に外側の通路が排出通路とされている。払出装置224によって払い出された遊技球は、上皿28aの通路に優先して案内され、その通路が遊技球で満たされると、その通路から分岐した下皿29aに通じる通路に遊技球が案内される。排出通路は、ケースレール223に対して排出操作を行うことにより、タンク221からケースレール223の途中までの間に貯留された遊技球が払出装置224を経由せずに裏パックユニット15の下端に設けられる排出口から排出される。
裏ベース部211の背面側下端部には、図8に示すように、各種制御装置等で要する所定の電力を生成して出力する電源装置241と、払出制御装置242とが前後に重ねて取り付けられている。電源装置241は、裏ベース部211の横幅全域にわたって設けられている。裏ベース部211の背面視右下側端部には、電源スイッチ247が設けられている。パチンコ機10へは電圧変換器を介して例えば交流24ボルトの主電源が供給され、電源スイッチ247の切換操作によりパチンコ機10の電源がON又はOFFとされる。
払出制御装置242は、払出ユニット202を通じた遊技球の払い出しを制御するための装置である。払出制御装置242は、基板を収容するために設けられた透明性を有する基板ボックス243に払出制御基板を収容して構成されており、その開放に際しては痕跡を残す痕跡手段として開放封印部244が設けられている。開放封印部244は解除操作を一度行うと再結合を不可とするものであり、結果的に払出制御装置242の基板ボックス243は一度開放操作を行うと、再度封印状態とすることが不可となっている。
裏ベース部211の前面側すなわち中間ユニット13側の下部には、図4に示すように、上方に開口した横長の球入口213と、側方に開口した球入口214とを上流側端部とする発射球排出通路が設けられている。遊技領域23aを流下しいずれかの開口を介して遊技盤23の背面へと導かれた遊技球は、2つの球入口213,214のいずれかを経由して発射球排出通路内へ進入する。発射球排出通路の出口部分は裏パックユニット15の下端面に遊技球1個分の幅で開口して形成され、遊技領域23a内に発射された遊技球は全て発射球排出通路を経由して遊技ホールの島設備に排出される。発射球排出通路の途中には、遊技球を検知する検知センサが設けられ、遊技領域23a内に発射された遊技球数に対応した信号が外部端子板203を介して出力される。
次に、主制御装置160及びその周辺部品の構成について、図10から図13を参照しながら説明する。図10は、主制御装置ユニット300の正面図であり、図11は、主制御装置ユニット300の分解斜視図である。また、図12は、主制御装置160の正面図であり、図13は、主制御装置160の分解斜視図である。ここで、主制御装置ユニット300及び主制御装置160は、パチンコ機10の背面側に向いた側を正面側として、以下、主制御装置ユニット300及び主制御装置160の構成について説明する。なお、図10には、盤裏カバー141の一部を併せて図示している。
主制御装置ユニット300は、図11に示すように、主制御装置160と、主制御装置160の左側部分を遊技盤23の裏面側に設けられる盤裏カバー141に連結するボックス連結部材301と、主制御装置160の右側の一部分を覆いつつ主制御装置160の右側部分を遊技盤23の裏面側に連結する外側カバー部材302を備えている。
主制御装置160は、図13に示すように、透明な合成樹脂製のボックスカバー352及びボックスベース351により外形が形成される基板ボックス311を主体に構成され、前後方向に厚みを有する横長略矩形の箱状に形成された基板ボックス311内に主制御基板312(図13参照)が収容されて構成されている。主制御基板312は、主たる制御を司るCPU、遊技プログラムを記憶したROM、遊技の進行に応じた必要なデータを記憶するRAM等を備えている。主制御基板312においてCPUチップなどの各種素子やコネクタ(図示省略)は、全て正面側に相当する同一の板面上に搭載され、その逆側に相当する裏面側の板面にて半田付けされている。
ボックス連結部材301は、図10及び図11に示すように、主制御装置160(基板ボックス311)の正面視左側(パチンコ機10の背面視左側)に設けられ、縦長で透明な合成樹脂製の2つの部品を前後方向において破断ネジ303により固定して構成されている。ボックス連結部材301には、本体部を基準とした基板ボックス311が位置する側とは逆側となる反対側に、本体部の上部より側方に突出し、更に下方に延びる回動軸331が形成されている。ボックス連結部材301の回動軸331は、盤裏カバー141に設けられる軸受部332に挿入され、盤裏カバー141に対してボックス連結部材301が盤裏カバー141から離間する背面側に回動可能に支持される。盤裏カバー141は、遊技盤23の外形を形成する遊技板23bの裏面に固定される部材であり、遊技板23bに対して、ボックス連結部材301に連結固定される主制御装置160が遊技板23bの裏面側に回動可能に支持される。なお、ボックス連結部材301の回動軸331は、盤裏カバー141の軸受部332に対して、差し込み固定操作により軸受部332内の溝部に係合可能な爪部が設けられている。この爪部が軸受部332の外側から触れることができない軸受部332の内面側の溝部に係合し、盤裏カバー141とボックス連結部材301とは取り外し困難に連結される。
ボックス連結部材301には、図11に示すように、基板ボックス311が設けられる一方側に対して、中央部分が開口した円筒状の破断ネジ挿入部333aが上下に離間した4カ所において基板ボックス311側に突出して設けられている。基板ボックス311側には、破断ネジ挿入部333aに対応した後側位置に破断ネジ303の先端部をネジ込み可能なネジ受け部333bが設けられる。破断ネジ挿入部333aのうちの1カ所には破断ネジ303が挿入され、外周部分が覆われた状態の破断ネジ303が先端部分にて基板ボックス311に締結固定されることにより、ボックス連結部材301と基板ボックス311とが取り外し困難な状態で締結固定される。
ここで、破断ネジ303は、ドライバなどの工具の先端を差込可能な頭部と、ネジ溝が形成された軸部とを備え、頭部と軸部の連結部分の強度が低く設定されたものである。ネジ溝が挿入されてそれ以上締めることができない位置において頭部に対して工具により更に力が加えられると、頭部と軸部との連結部分が切断され、頭部が軸部から分離される。このため、破断ネジ303による締結後においては、上記工具を用いて緩める方向へ破断ネジを回転させることが不可となる。締結操作後の破断ネジ303の周囲は、破断ネジ挿入部333a等の外周壁により囲われる設定とされ、これにより、頭部の分離後において軸部側に残存した部位の外周をペンチ等の工具により強固に挟んで、緩める方向へ軸部を回動させる締結解除行為が防止されている。
破断ネジ挿入部333aと本体部との間には、破断ネジ挿入部333aより細幅にくびれて形成された切断部335が設けられる。この切断部を工具により切断することで破断ネジ挿入部333aがボックス連結部材301から分離し、パチンコ機10から基板ボックス311が取り外し可能な状態となる。残り3カ所の破断ネジ挿入部333aは、基板ボックス311を取り外した後に、同一の、又は別の基板ボックス311をボックス連結部材301に取り付ける場合に使用される部位であり、この破断ネジ挿入部333aと本体部との切断状況を確認することで、基板ボックス311の取り外し回数を管理可能とされている。
外側カバー部材302は、図11に示すように、主制御装置160(基板ボックス311)の右側の一部分を挿入可能に基板ボックス311の右側部分に対して上下及び前後方向に僅かに大きく形成された開口を有する透明な合成樹脂製の本体を主体に構成されている。外側カバー部材302は、主制御装置160の右側部分に対して前後に重なる位置に配置され、その右側部分を外側から視認可能としつつ、それら部位に対しての接触行為を制限する。
外側カバー部材302の開口部分における上下の両端部には、主制御装置160(基板ボックス311)の一部に対して係止可能に形成された上下一対の係止部341が設けられている。主制御装置160の右側を外側カバー部材302の開口内に挿入する操作をすると係止部341が弾性変形により主制御装置160の外側に移動した後に元位置に復帰する。この復帰動作により主制御装置160の一部に係止部341が係止され、主制御装置160から外側カバー部材302を取り外す方向側への移動が制限され、外側カバー部材302が主制御装置160に固定された状態で取り付けられる。
外側カバー部材302を主制御装置160から取り外す場合には、手や工具等を使って上下の係止部341を上下に離間する方向側へ移動する。この移動操作により係止部341による主制御装置160と外側カバー部材302との係止状態が解除され、外側カバー部材302を主制御装置160から取り外すことができる。なお、外側カバー部材302の主制御装置160への取り付け構造は、上記構造に限らず、ネジ等の締結部品を用いて固定する等、他の固定構造としても良い。
外側カバー部材302の右側部分には、図10に示すように、本体とは別に構成されたカバー固定用部材342が上下に離間して2カ所に設けられている。カバー固定用部材342は、ボックス連結部材301により左側部分を軸として回動可能とされた主制御装置160の回動先端側を遊技板23bの裏面側に固定する合成樹脂製の固定具である。カバー固定用部材342は、外側カバー部材302の本体に対して前後方向に移動操作をすることで相手部品への固定と固定解除とを切り替え可能に形成され、後側に押し込まれた状態においては外側カバー部材302の背面側に突出する突出先端部の外形が前後の軸方向に交差する径方向側において縮小し、前側に引き出し操作をすることで突出先端部の径方向において拡大した状態とされる。外側カバー部材302が取り付けられた状態の主制御装置ユニット300は、カバー固定用部材342において外形が拡大した突出先端部が遊技板23bの裏面にて前後方向に貫通する穴部の周縁に係合し、主制御装置ユニット300の回動先端側部分が遊技板23bの裏面に固定される。なお、外側カバー部材302による主制御装置160の固定構造は、上記した固定具に限らず、回転操作による固定具等、他の構造の固定具としても良い。
次に、基板ボックス311の構成詳細について、図10から図13に加えて、図14も参照して説明する。図14は、基板ボックス311の開放動作を示した斜視図であり、図14(a)は、基板ボックス311の閉鎖状態に対応し、図14(b)は、基板ボックス311が開放方向へスライド移動された状態に対応する。なお、図10から図14において、主制御基板312に設けられる各種素子及びコネクタは図示を省略している。基板ボックス311は、図13に示すように、その外形の大部分を形成し、前後に厚みを有する板状の構成体を重ね合わせて形成され、それら構成体としてボックスベース351とボックスカバー352とを備えている。これらボックスベース351及びボックスカバー352は、基板ボックス311内に収容された主制御基板312の各種素子等が搭載された素子搭載面及び半田付けがされた半田面を基板ボックス311外から視認可能なように透明性を有する材料により形成されている。例えば、無色透明のポリカーボネート樹脂やアクリル樹脂等により形成される。
ボックスベース351は、図13に示すように、基板ボックス311の前面側における外形の全体を形成する部材であり、前後方向に厚みを有し、主制御基板312の外周形状より僅かに大きなサイズで裏面側が開口した横長略矩形の有底箱状に形成されている。ボックスベース351には、その背面側から主制御基板312がネジ固定される。ボックスベース351への主制御基板312のネジ固定は、主制御基板312の半田面側から行われており、主制御基板312の素子搭載面に搭載された各種素子は、主制御基板312とボックスベース351との間に形成される空間内に収容される。
ボックスカバー352は、図13に示すように、前後方向に厚みを有する横長略矩形の板状に形成され、ボックスベース351の外周形状とほぼ一致する大きさに形成されてボックスベース351において裏面側に開口した開口部分を閉鎖可能とされている。このボックスカバー352は、主制御基板312が一体化されたボックスベース351に対して、主制御基板312を挟むようにして基板ボックス311の裏面側から固定される。
ボックスベース351には、図13に示すように、ボックスカバー352と係合してボックスカバー352との相対移動を一方側のみに制限するフック部361が一体成形により複数箇所に設けられている。これらフック部361は、ボックスベース351の上下の端縁に沿って左右方向に直線的に延びる長辺部において、それぞれ複数個ずつ設けられる(下側の長辺部におけるフック部361は図示省略)。各フック部361は、ボックスベース351において主制御基板312が取り付けられる裏面側に突出し、その突出先端部分において上下の長辺部に沿った一方側に突出した係止部362を有する鉤状に形成されている。係止部362の突出方向は、ボックスベース351に設けられるすべてのフック部361において同一方向に設定されている。
ボックスカバー352の上下の端縁に沿って左右方向に直線的に延びる上下の長辺部には、各フック部361に1対1で対応させて横長溝状に形成されたスリット363が設けられている(上側の長辺部におけるスリット363は図26参照)。スリット363は、基板ボックス311の厚み方向、すなわちボックスカバー352とボックスベース351との並設方向に貫通し、各フック部361を内部に挿入可能とされている。すなわち、各スリット363は、各フック部361が設けられる間隔に対応し、且つ、各フック部361より僅かに大きな幅及び長さに設定されている。
ボックスカバー352において、各スリット363に対して係止部362が突出する方向側には、フック部361を係止するための受け部364(図26参照)が形成されている。この受け部364に対応して、ボックスベース351には、係止部362の突出方向側とは逆側(図13の右下側)に延びて形成される溝部が係止部362の突出により本体部分との間に形成される。この係止部362により形成される溝部に入り込み可能なように、ボックスカバー352の受け部364における前後方向の厚みが設定されている。
ボックスベース351とボックスカバー352とを一体化させる際には、各スリット363に対して対応するフック部361が挿入されるようにボックスベース351とボックスカバー352とを重ねて組み合わせた状態とする(図14(b)におけるボックスベース351とボックスカバー325との相対位置)。この段階では、ボックスベース351とボックスカバー352とは、基板ボックス311の長手方向に相当する左右方向において相互にずれ、且つ、ボックスベース351とボックスカバー352とを厚み方向に離間可能な状態とされている。
その後、フック部361を構成する各係止部362が、それぞれに対応する各受け部364に対して基板ボックス311の裏面側に重なる位置に移動して係止されるように、ボックスベース351とボックスカバー352を相対的にスライド移動させる。ボックスベース351とボックスカバー352とは、係止部362の突出長さ分、スライド操作が可能であり、スライド操作がなされると、各フック部361が対応する受け部364に係止される。
スライド操作が不能な状態まで上記スライド移動を行うと、ボックスベース351の溝部の底部分にボックスカバー352の受け部364が当接し、その方向側へのスライド移動が不能となってボックスベース351とボックスカバー352の位置合わせが完了する(図14(a)におけるボックスベース351とボックスカバー325との相対位置)。この位置合わせが完了した状態においては、後述する開放封印部366〜369に対応したカシメ部材314,315等を挿入可能に位置合わせされ、ボックスベース351とボックスカバー352とにより主制御基板312が収容された基板ボックス311の閉鎖状態となる。
ボックスベース351とボックスカバー352の閉鎖状態においては、ボックスベース351とボックスカバー352とを基板ボックス311の厚み方向(取り付け状態における前後方向)及び幅方向(取り付け状態における上下方向)、並びに、左右方向のうちボックスベース351とボックスカバー352との相互のずれを無くした一方向(閉鎖方向)への相対移動が制限される。即ち、ボックスベース351とボックスカバー352とは、それらの位置合わせ前であって相互に離間可能な開放可能位置側に相当する開放方向のみスライド移動可能な状態とされる。
なお、移動方向を制限する手段の構成は上記のものに限定されることはなく、ボックスベース351及びボックスカバー352のうちの一方にガイド用突条部を上下又は左右の辺に沿って形成するとともに、他方にガイド用突条部が嵌り込み可能であり嵌り込んだガイド用突条部を所定の方向のみにスライド移動可能とするガイド用溝部を形成する構成とする等の他の構成を採用してもよい。
基板ボックス311の左側部分には、図12に示すように、複数のネジ受け部333bの並び方向に沿って、基板ボックス311を開放困難に封印するための開放封印部366,367が上下方向に4つ並んで設けられている。開放封印部366,367の各々には、金属製のカシメ部材314,315が挿入され、カシメ部材314,315の先端部が基板ボックス311において外部から操作不能となるように壁部に覆われた位置に係止されて、カシメ部材314,315が抜き出し不能な状態とすることが可能とされている。4つの開放封印部366,367及びカシメ部材314,315の組合せのうち、上下両端の2カ所の組合せと、中央側の2カ所の組合せとは、同一の外形形状に形成されている。
カシメ部材314,315は、基板ボックス311の開放封印部366,367内に差し込み可能とされている。各開放封印部366,367は、ボックスベース351において前後に貫通する貫通穴を形成するカシメ部材挿通部と、ボックスカバー352においてカシメ部材314,315に対して外周を覆いつつ先端側部分を抜き出し不能に固定する有底穴形状のカシメ部材受け部により構成される。カシメ部材314,315は、ボックスベース351側のカシメ部材挿通部内に一部が位置し、先端側部分がボックスカバー352側のカシメ部材受け部に差し込み固定可能とされている。ボックスベース351とボックスカバー352とが並設される前後方向に沿って両部材により形成される開放封印部366,367に跨がるようにしてカシメ部材314,315のいずれかが差し込まれると、上記した開放方向側へのボックスベース351とボックスカバー352の相対移動が制限され、基板ボックス311が開放困難な封印状態とされる。
ここで、ボックスカバー352における開放封印部366,367が設けられる側には、カシメ部材314,315の先端側部分が進入可能な有底穴の周辺部を形成する縦長で合成樹脂製のカシメ受けカバー353が設けられている。カシメ受けカバー353は、ボックスカバー352の左辺部の長さに略一致する大きさでボックスカバー352とは別部材で成形される。カシメ受けカバー353は、ボックスカバー352の左側端部に前側よりスライド移動して取り付けられ、ボックスベース351とボックスカバー352との間に介在した状態でボックスカバー352に一体化される。このボックスカバー352とカシメ受けカバー353との間には、カシメ部材314,315の先端部において左右方向に貫通形成される係止穴に進入してカシメ部材314,315を抜き出し不能とする係止爪を有する金属板製のカシメ受け部材354が設けられている。
上下4カ所の開放封印部366,367は、例えば、以下のように使用される。基板ボックス311の左側の開放封印部366,367のうち、上下の両端側に位置する2カ所の開放封印部366には、パチンコ機10の遊技場への出荷前にカシメ部材314が差し込まれた封印状態とされ、この封印状態で基板ボックス311が開放困難な状態で遊技場等へ納品される。上下両端側の開放封印部366による封印状態は、その開放封印部366と基板ボックス311の中央側部分とを連結している一部分を切断することにより解除可能とされ、この解除操作により開放封印部366による基板ボックス164の封印状態が解除される。
上下の両端部分を除いた中央側2カ所の開放封印部367には、カシメ部材315がボックスベース351側のみに挿通された非封印状態でボックスベース351側にカシメ部材315を支持する仮支持用の係止爪が設けられている。係止爪により非封印状態とされたカシメ部材315に対して工具等により更に奥側にカシメ部材315が差し込まれると、カシメ部材315によりボックスベース351とボックスカバー352との相対移動が制限された封印状態となる。このため、遊技場等にパチンコ機10が納品された後に開放封印部367を用いて封印状態を形成することができ、基板ボックス311を検査等のために開放した場合、その後に遊技機メーカー等へ搬送する際に再度基板ボックス311を封印状態とすることが可能とされている。
基板ボックス311における右側の端部にも、図13に示すように、封印状態を形成するための開放封印部368,369が上下方向に離間して2カ所に設けられている。開放封印部368,369は、基板ボックス311の上下の両端側において右方に突出し、前側に開口した筒状に形成されている。右上側の開放封印部368には、破断ネジ303が挿入され、ボックスカバー352側において前後に貫通する貫通穴を通じて先端側部分がボックスカバー352側のネジ受け部368aに締結固定される。破断ネジ303が固定されると、基板ボックス311の右側部分においてボックスベース351とボックスカバー352との開放方向側へのスライド移動が制限される。
右下側の開放封印部369には、右上側の開放封印部368に対して破断ネジ303に代えてネジユニット317が挿入され、このネジユニット317の先端部がボックスカバー352側のネジ受け部369aに締結固定されてボックスベース351とボックスカバー352とのスライド移動が制限される。ネジユニット317は、上記した破断ネジ303の頭部を、外形が六角形状の筒状部材317aで覆って破断ネジ303と分離不能に一体化されて形成される。ネジユニット317においては、破断ネジ303が筒状部材317aの内部で回転可能とされ、破断ネジ303の頭部が軸部から分離した場合に分離した頭部と軸部の一部分を共に筒状部材317aの内部に収容して保持する。そして、破断ネジ303の頭部の外径より小さく、且つ、工具を挿入可能な挿通穴が筒状部材317aの内外を連通しており、筒状部材317aの内部には、挿通穴より大きな内径に形成されて破断ネジ303の頭部が収容された構成とされている。破断ネジ303を締結していくと破断ネジ303の軸部から頭部が分離し、この分離後においては、工具による軸部側へのアクセスが分離した頭部で制限されることとなって破断ネジ303の単体による締結より不正な軸部の取り外し操作が困難とされる。筒状部材317aの外周部分に対して、開放封印部368は、僅かに大きく形成された同一の内径形状にて周囲を囲う形状とされ、筒状部材317aが開放封印部368内にて回転しない設定とされている。これにより、筒状部材317aを回転させることで破断ネジ303に回転力を加えてネジユニット317を取り外そうとする不正行為が防止される。
右側に設けられる開放封印部368,369による基板ボックス311の開放制限を解除する際には、ボックスカバー352の右側端部に設けられてネジ受け部368a,369aと中央側部分とを接続する細幅の連結部を切断する。すると、ボックスカバー352は、ボックスベース351の後側にて左方に相対移動が可能となり、開放封印部368,369による基板ボックス311の開放制限が解除される。
基板ボックス311には、上記したように、左右両側に離間して複数の開放封印部366〜369が設けられるので、横長の基板ボックス311であっても、ボックスベース351とボックスカバー352との合わせ面をこじ開けて不正部品を挿入することを困難とすることができる。また、開放封印部366〜369の構造として、複数種類の構造を用いて封印状態が形成されているので、痕跡を残さずに不正に封印状態を解除する行為を困難にして不正抑止効果の高い基板ボックス311とすることができる。また、分離した破断ネジ303の頭部を保持可能な筒状部材を有するネジユニット317を一部の開放封印部369の封印に用いることで、破断ネジ303として筒状部材を有しないもののみでの封印に比べて解除困難な封印構造とすることができる。
〔特徴構成〕
ここで、本発明の遊技機に特徴的な構成及びそれに関連する構成について纏めて詳細に説明する。図15は、主制御装置ユニット300を示す正面図である。なお、図14以前の図面に基づく説明は一般的な構成を説明するためのものであり、図15以降に示される構成と微妙に異なる場合があるが、図15以降に示される構成が一般的な構成の特徴と共に本発明の特徴を正確に表している。また、図15以降においては本願の特徴的な構成に関与する部分については新たに参照符号を付して説明するが、必要に応じて図14以前の図面に表された構成との対応を記載する。
上述のように、主制御装置ユニット300(図4及び図10)は、主制御基板321及び主制御基板321を収容する基板ボックス311で構成された主制御装置160と、一端が遊技盤23の裏側に配置された盤裏カバー141に取り外し不能に枢着されて他端が主制御装置160の基板ボックス311に連結されたボックス連結体301(ボックス連結部材301:図11)とを備えており、主制御装置160は、遊技盤23(遊技盤23に固定された盤裏カバー141)に対して閉鎖位置(回転角度=0°)から最大開放位置(回転角度=135°)までの範囲で回動可能となっている(図30も参照)。
主制御装置160とボックス連結部材301(図10及び図11参照)とは、図15に示されたように、痕跡の残らないボックス連結体301からの主制御装置160の離脱が困難となるように、4つの取り外し封印部500A〜500D(図10〜図15における破断ネジ挿入部333a,ネジ受け部333b)のいずれかにおいて連結部材590(破断ネジ303)によって連結固定されている。
また、基板ボックス311は、図15に示されたように、スライド移動によって係合したボックスベース351及びボックスカバー352と、ボックスカバー352に装着されるカシメ受けカバー353及びカシメ受け部材354とを備えており、痕跡の残らない基板ボックス311の開放(ボックスベース351とボックスカバー352との係合を解除するようなそれらのスライド移動)が困難となるように、2つの第1種開放封印部600A,600B(図10及び図11等の開放封印部366)のいずれかにおいて、また、2つの第2種開放封印部700A,700B(図10及び図11等の開放封印部367に相当)のいずれかにおいて、また、2つの第3種開放封印部800A,800B(図12及び図13等の開放封印部368に相当)のいずれかにおいて、また、2つの第4種開放封印部900A,900B(図12及び図13等の開放封印部369に相当)のいずれかにおいて、連結部材690(カシメ部材314に相当),790(カシメ部材315に相当),890(破断ネジ303に相当),990(ネジユニット317に相当)によって連結固定されている。なお、図15において取り外し封印部500A並びに第1種開放封印部600A、第2種開放封印部700A、第3種開放封印部800A及び第4種開放封印部900Aが封印態様であり、その他の開放封印部が未封印態様である場合が示されている。
保守点検や動作不良の発生等によって主制御基板312を取り出す必要が生じた場合には、まず、取り外し封印部500A〜500Dのうちの連結部材590で連結された取り外し封印部の所定の部位を切断してボックス連結体301から主制御装置160を取り外し、次に、開放封印部600A,600B,700A,700B,800A,800B,900A,900Bのうちの各種の連結部材650,750,850,950で連結された開放封印部の各々の所定の部位(後述する各種の接続部)を切断してボックスベース351とボックスカバー352とを開放方向(対向方向と垂直な所定の方向)に沿って所定の距離だけ相対的にスライド移動させてから対向方向に沿ってそれらを離間させることとなる。
なお、主制御装置ユニット300(主制御装置160)に固定された座標系に基づいて説明する場合には、ボックスベース351及びボックスカバー352との対向方向に沿ってボックスベース351の配置側及びボックスカバー352の配置側をそれぞれ正面側及び背面側と呼称し、遊技盤23(遊技板23b)に固定された座標系に基づいて説明する場合には、遊技盤23に垂直な方向に沿って遊技領域の形成側及びその反対側をそれぞれ表側及び裏側と呼称する。例えば、図4に示されたように主制御装置160が閉鎖位置に配置されている場合には、正面側は裏側に対応すると共に背面側は表側に対応する。しかし、主制御装置160が開放位置に移動している場合には、正面側と裏側との対応関係及び背面側と表側との対応関係はなくなる。
(取り外し封印部)
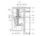
まず、取り外し封印部500A〜500Dの構成及びそれらの封印解除痕跡の確認方法について、図16〜図19を参照して説明する。図16は主制御装置ユニット300の左端側の一部を拡大して示す正面図であり、図17は図16におけるXA−XA矢視断面図である。また、図18及び図19は封印解除痕跡の確認方法を説明するための説明図であり、図18が取り外し封印部500Aと封印解除痕跡の確認に利用される光を射出する発光器451との配置態様を示し、図19(A)及び図19(B)がそれぞれ主制御装置160の閉鎖位置及び所定角度での開放位置に配置されている場合を示している。
取り外し封印部500A〜500Dの各々は、図16及び図17に示されたように、ボックス連結体301における本体部(回動軸331を構成する蝶番部分:図10参照)の右側壁401(具体的には一蝶番片を構成する部品301Bの右側壁)の傾斜部401Aから右側(基板ボックス311側)に延出している接続部501(図10及び図11の切断部335)と、接続部501の延出方向の先端に位置する被連結部502(図10及び図11の破断ネジ挿入部333a)と、基板ボックス311における本体部(主制御基板312の収容部分)の左側壁413より左側に位置する被連結部512(具体的にはボックスカバー352に固定されたカシメ受けカバー353のボックスベース351より左側に突出して配置される部分)(図10及び図11のネジ受け部333b)とで構成されている。4つの取り外し封印部500A〜500Dの各々の接続部501は、継ぎ目のない態様となるように右側壁401と一体形成されており、上下方向(回動軸331の軸方向)に整列している。
取り外し封印部500Aは、連結部材590によって封印されている。具体的には、連結部材590が被連結部502を被連結部512側に押圧するように被連結部512と係合することによって、ボックスベース351及びボックスカバー352のスライド移動が阻止されている。
取り外し封印部500Aが封印されている状態において取り外し封印部500Aの接続部501が切断されると、取り外し封印部500Aの被連結部502が離脱して当該封印状態が解除される。
遊技盤23は、音声発光制御装置143により制御される常時又は定期的に所定の発光表示を実行する発光器451〜454(図6参照)を備えており、発光器451〜454の各々は、遊技盤23の表側に光を放出すると共に遊技盤23の裏側にも光を放出できるように構成されている。発光器451は、図18に示すように、主制御装置160が閉鎖位置である場合において、取り外し封印部500Aの接続部501の上下方向(回動軸331の軸心方向)の高さは同一であるが、取り外し封印部500Aの接続部501よりも主制御装置160の回動軸331側にずれた位置に配置されている。発光器452と取り外し封印部500B、発光器453と取り外し封印部500C及び発光器454と取り外し封印部500Dについても発光器451と取り外し封印部500Aの場合と同一の配置態様であるために、発光器451と取り外し封印部500Aについての記載を適宜に読み替えることとして重複する記載は省略する。また、以下においても同様とする。
発光器451から放出された光は、図18、図19(A)及び図19(B)に示されたように、その一部が遊技盤23の裏側に進行し、盤裏カバー141に形成された開孔141Aによって立体角が更に制限されて盤裏カバー141の裏側に進行する。なお、説明の便宜のために、開孔141Aを通過して進行することとなる光の外縁が破線で示され、その中心が一点鎖線で示されている。開孔141Aを通過した光は、ボックス連結体301の底壁402に形成された切り欠き402A又はボックス連結体301とボックスカバー352の第2外側壁426との間隙を通して取り外し封印部500Aに向かうこととなる。
主制御装置160が閉鎖位置に配置されている場合には、図18及び図19(A)に示されたように、発光器451と取り外し封印部500Aの接続部501とが水平方向(図19中の左右方向)にずれており、また、開孔141Aによって適切に照射範囲が制限されているために、発光器451から放出された光は、実質的に接続部501に照射されない。一方、主制御装置160が開放方向に回転すると、発光器451から放出された光は、接続部501に照射されるようになり、図19(B)に示されたように、所定の角度だけ回転した所定の開放位置である場合には、接続部501の全体に照射される。なお、更に主制御装置160が開放方向に回転すると、発光器451から放出された光は、再度に、接続部501に照射されなくなる。これによって、主制御装置160が所定の角度範囲内で回転した開放位置に配置されている場合の発光器451による照射によって、取り外し封印部500Aの封印解除痕跡の確認が行える。これは、接続部501が切断されていなければ、右側壁401、接続部501及び被連結部502が透明な樹脂で一体成形されているために、照射された光は特定の方向以外には進行せず、主制御装置160の正面側の特定の方向に沿う方向からしか観測できず、一方、接続部511が切断されていれば、照射された光は切断面における乱反射により特定の方向以外にも進行し、主制御装置160の正面側の特定の方向以外からの目視によって切断面の全体が発光器451からの光と同一色で発色しているように見えるためである。なお、接続部511が切断されている場合には、観察する方向と特定の方向とのなす角(90度未満)が大きくなるにつれて特定の方向に進行する成分からの影響が低減し乱反射の成分を良好に観測できるために特定の方向からずれた方向から観察することが好ましい。他の取り外し封印部500B〜500Dについても取り外し封印部500Aと同様であるためにそれらの重複する記載は省略する。
(第1種開放封印部)
次に、第1種開放封印部600A,600Bの構成及びそれらの封印解除痕跡の確認方法について、図20及び図21を参照して説明する。図20は図16におけるXB1−XB1矢視断面図であり、図21は図16におけるXB2−XB2矢視断面図である。
第1種開放封印部600A,600Bは、略横長矩形状のボックスベース351において主制御基板312を収容する本体部の左側壁413から左側(主制御基板312と反対側)に延出する2つの接続部611と、各接続部611の延出方向の先端に位置する被連結部612と、略横長矩形状のボックスカバー352において主制御基板312を収容する本体部の外縁を形成する左内壁423よりも外側に設けられた第1外側壁425及び第2外側壁426の間に形成される被連結部622とで構成されている。左側壁413と各接続部611とは継ぎ目のない態様となるように一体形成されている。
第1種開放封印部600Aは、図20及び図21に示されたように、被連結部622に挿通されたカシメ受け部材354とカシメ受けカバー353と連結部材690とによって封印されている。具体的には、第1外側壁425と第2外側壁426との間にコの字形状に屈曲するカシメ受け部材354が挿着されており、コの字形状に屈曲する連結部材690の一端がカシメ受け部材354の対向片の両方の外側にカシメ受けカバー353の2つのスリット431Bを通してボックスベース351及びボックスカバー352のスライド移動の方向に対して垂直に挿入されて、連結部材690に形成された切り欠き690Aがカシメ受け部材354に形成された外方向に突出する爪444と被連結部622内で係合し、連結部材690の他端が被連結部622の内部に留まることによって、ボックスベース351及びボックスカバー352のスライド移動が阻止されている。
第1種開放封印部600Aが封印されている状態において接続部611が切断されると、被連結部612が左側壁413(ボックスベース351)から離脱して、当該封印状態が解除される。
主制御基板312には、主制御基板312により制御され、RAM消去スイッチ166(図15参照)への操作に伴う主制御基板312によるパチンコ機10の制御を初期化する期間において所定の発光表示により当該操作に伴う処理の実行を報知する発光器461及び発光器462(図15参照)を備えており、発光器461及び発光器462は、それぞれ、第1種開放封印部600Aの2つの接続部611の一方及び第1種開放封印部600Bの2つの接続部611の一方に対向するように配置され、発光器461及び発光器462の各々は、主制御基板312の表側に光を放出すると共に第1種開放封印部600A,600Bの形成側にも光を放出できるように構成されている。
発光器461から放出された光の一部は第1種開放封印部600Aの2つの接続部611の一方に照射され、また、発光器462から放出された光の一部は同様に第1種開放封印部600Bの2つの接続部611の一方に照射される。この照射によって、接続部611が切断されていなければ、左側壁413、接続部611及び被連結部612が透明な樹脂で一体成形されているために照射された光は特定の方向(接続部611の延出方向)に進行(直進)することになり、接続部611が切断されていれば、切断面における乱反射により特定の方向以外にも進行し、主制御装置160の正面側からの目視によって切断面の全体が発光器461及び発光器462からの光と同一色で発色しているように見えるために、第1種開放封印部600A,600Bの封印解除痕跡の確認が行える。
(第2種開放封印部)
次に、第2種開放封印部700A,700Bの構成及びそれらの封印解除痕跡の確認方法について説明する。図22及び図23はそれぞれ図16におけるXC1−XC1矢視断面図及びXC2−XC2矢視断面図であり、図24は第2種開放封印部700A,700Bの封印解除痕跡の確認方法を説明する模式的な正面図であり、図25は封印解除痕跡の確認方法を説明するための説明図であり概ね図24におけるY−Y矢視断面図に相当する。
第2種開放封印部700A,700Bは、図22〜図24に示されたように、略横長矩形状のボックスベース351において主制御基板312を収容する本体部の左側壁413から左側(主制御基板312と反対側)に延出する2つの接続部711と、各接続部711の延出方向の先端に位置する被連結部712と、略横長矩形状のボックスカバー352において主制御基板312を収容する本体部の外縁を形成する左内壁423よりも外側に設けられた第1外側壁425及び第2外側壁426の間に形成される被連結部722とで構成されている。左側壁413と各接続部711とは継ぎ目のない態様となるように一体形成されている。
第2種開放封印部700Aは、被連結部722に挿通されたカシメ受け部材354とカシメ受けカバー353と連結部材790とによって封印されている。具体的には、第1外側壁425と第2外側壁426との間にコの字形状に屈曲するカシメ受け部材354が挿着されており、連結部材790の一端がカシメ受け部材354の対向片の間にカシメ受けカバー353のスリット431Dを通してボックスベース351及びボックスカバー352のスライド移動の方向に対して垂直に挿入されて、連結部材790に形成された開孔790Aがカシメ受け部材354に形成された内方向に突出する爪445と被連結部722内で係合し、連結部材790の他端が被連結部712の内部に留まることによって、ボックスベース351及びボックスカバー352のスライド移動が阻止されている。
第2種開放封印部700Aが封印されている状態において接続部711が切断されると、被連結部712が左側壁413(ボックスベース351)から離脱して、当該封印状態が解除される。
遊技盤23には、可変入賞装置82が作動する大当たり遊技状態において、上下に移動しながら効果演出を行う可動部材479(図6参照)が設けられており、可動部材479には、可動部材479の上下移動に伴い上下に移動し、その移動による効果演出に連携するように発光演出を実行する発光器471及び発光器472が設けられている。可動部材479は、大当たり遊技状態以外において図24及び図25における実線で示すように可動範囲のうちの中央位置(P0)に配置され、大当たり遊技状態において破線で示すような可動範囲の上限位置(P1)と一点鎖線で示すような可動範囲の下限位置(P2)との間を移動しながら効果演出を実行する。なお、パチンコ機10への電源投入時には、可変入賞装置82を含む所定の可変入賞装置や可動部材479を含む所定の可動部材は動作確認のために駆動される。電源投入時において、可動部材479は、所定の上限位置(P1)及び下限位置(P2)で所定の時間だけ停止しながら可動範囲の全体に亘って移動し、発光器471及び発光器472は、可動部材479の動作確認期間において光を放出する。
発光器471及び発光器472の各々は、遊技盤23の表側に光を放出すると共に遊技盤23の裏側にも光を放出できるように構成されており、図24に示されたように、可動部材479が上限位置(P1)に移動している場合において、発光器471から放出された光の一部は盤裏カバー141に形成された開孔141A、ボックスカバー352の左内壁423と第1外側壁425との間に形成された開孔352A及びカシメ受けカバー353の右端の切り欠き431Eを通して、第2種開放封印部700Aの2つの接続部711の一方に照射され、また、発光器472から放出された光の一部は同様に第2種開放封印部700Bの2つの接続部711の一方に照射される。この照射によって接続部711が切断されていなければ、左側壁413、接続部711及び被連結部712が透明な樹脂で一体成形されているために、照射された光は特定の方向に進行(直進)することになる。しかし、接続部711が切断されていれば、切断面における乱反射により特定の方向以外にも進行し、主制御装置160の正面側の特定の方向以外からの観察によって切断面の全体が発光器471及び発光器472からの光と同一色で発色しているように見えるために、第2種開放封印部700A,700Bの封印解除痕跡の確認が行なえる。同様に、可動部材479が下限位置(P2)に移動している場合には、第2種開放封印部700Aの他の接続部711及び第2種開放封印部700Bの他の接続部711の封印解除痕跡の確認が行なえる。なお、可動部材479が中央位置(P0)に滞在している場合には、発光器471及び発光器472からの光は、盤裏カバー141、ボックスカバー352及びカシメ受けカバー353によって第2種開放封印部700A,700Bの接続部711へは実質的に到達しない。
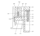
(第3種開放封印部)
次に、第3種開放封印部800A,800Bの構成及びそれらの封印解除痕跡の確認方法について説明する。図26は主制御装置160の右端側の一部を拡大して示す分解斜視図であり、図27は主制御装置160の右端側の一部を拡大して示す正面図であり、図28は主制御装置160の右端側の一部を拡大して示す背面図であり、図29は図27におけるXD−XD矢視断面図であり、図30は封印解除痕跡の確認方法を説明するための説明図である。
第3種開放封印部800A,800Bは、図26〜図29に示されたように、略横長矩形状のボックスカバー352の本体部の右側壁424から右側(主制御基板312と反対側)に延出する主接続部821及び2つの副接続部823と、主接続部821及び副接続部823の延出方向の先端に位置する被連結部822と、略横長矩形状のボックスベース351の本体部の右側壁414から右側(主制御基板312と反対側)に延出する2つの接続部811と、接続部811の延出方向の先端に位置する被連結部812とで構成されている。右側壁424、主接続部821及び2つの副接続部823とは継ぎ目のない態様となるように一体形成されている。
開放封印部800Aは、連結部材890によって封印されており、連結部材890は、被連結部822を被連結部812側に押圧するように被連結部812と係合している。
第3種開放封印部800Aが封印されている状態において主接続部821及び2つの副接続部823が切断されると、被連結部822が右側壁424(ボックスカバー352)から離脱して、当該封印状態が解除される。
遊技盤23は、図30に示されたように、音声発光制御装置143により制御される発光演出を実行する発光装置480を備えており、発光装置480は、発光器481と発光器481を音声発光制御装置143に電気的に接続するための配線482と配線482を自動で巻き取る巻き取り機構483とで構成されている。発光器481は、主制御装置160が閉鎖位置である場合に主制御装置160によって覆われるように、遊技盤23に裏面側から着脱可能に取着されている。発光器481は、挿着状態においては遊技進行に応じて適宜に所定の発光演出(例えば、上作動口83aの発光演出)を実行するが、抜脱状態においては常時に光を放出する。
発光器481を遊技盤23から抜脱して適宜に移動させることによって発光器481から放出された光で第3種開放封印部800Aの主接続部821及び2つの副接続部823を順次に照射できる。この照射によって、主接続部821及び2つの副接続部823が切断されていなければ、右側壁424、主接続部821、2つの副接続部823及び被連結部822が透明な樹脂で一体成形されているために照射された光は特定の方向に進行することになり、主接続部821及び2つの副接続部823が切断されていれば、切断面における乱反射により特定の方向以外にも進行し、主制御装置160の背面側の特定の方向以外の方向からの観察によって切断面の全体が発光器481からの光と同一色で発色しているように見えるために、第3種開放封印部800A,800Bの封印解除痕跡の確認が行える。
(第4種開放封印部)
最後に、第4種開放封印部900A,900Bの構成及びそれらの封印解除痕跡の確認方法について説明する。図31は図27におけるXE−XE矢視断面図である。
第4種開放封印部900A,900Bは、図26〜図28及び図31に示されたように、略横長矩形状のボックスカバー352の本体部の右側壁424から右側(主制御基板312と反対側)に延出する主接続部921及び2つの副接続部923と、主接続部921及び副接続部923の延出方向の先端に位置する被連結部922と、略横長矩形状のボックスベース351の本体部の右側壁414から右側(主制御基板312と反対側)に延出する2つの接続部911と、接続部911の延出方向の先端に位置する被連結部912とで構成されている。右側壁424、主接続部921及び2つの副接続部923とは継ぎ目のない態様となるように一体形成されている。
開放封印部900Aは、連結部材990によって封印されており、連結部材990は、被連結部材922を被連結部912側に押圧するように被連結部912と係合している。
ボックスカバー352の右側壁424には、図26、図28及び図31に示されたように、主接続部921及び2つの副接続部923の近傍において主接続部921の延出方向(右方向)に突出する起伏を形成するように膨出部424Aが形成されている。
右側壁424の外側面は、第4種開放封印部900Aの主接続部921と下側(図28の上側)の副接続部923との間から下方側(図28の上方側)及び第4種開放封印部900Bの主接続部921と上側の副接続部923との間から上方側における基準平面領域R0と、第4種開放封印部900Aの主接続部921と上側の副接続部923の間から第4種開放封印部900Bの主接続部921と下側の副接続部923との間までにおいて基準平面領域R0よりも各主接続部921の延出方向に突出し基準平面領域R0に平行な突出平面領域R3と、基準平面領域R0と突出平面領域R3との段差部分を形成するように第4種開放封印部900Aの下側と上側の副接続部923の間に形成された第1湾曲面領域R1及び第4種開放封印部900Bの下側と上側の副接続部923の間に形成された第2湾曲面領域R2とを有している。第4種開放封印部900Aの主接続部921は湾曲面領域R1から外方向に突出し、第4種開放封印部900Bの主接続部921は湾曲面領域R2から外方向に突出しており、右側壁424と第4種開放封印部900A,900Bの各々の主接続部921との付け根部分における輪郭を含む仮想平面は、主接続部921の延出方向に直交する平面とは異なることとなる。
また、右側壁424の内側面は、第4種開放封印部900Aの主接続部921と上側(図28の下側)の副接続部923との間から下方側(図28の上方側)及び第4種開放封印部900Bの主接続部921と下側の副接続部923との間から上方側における基準平面領域R0’と、第4種開放封印部900Aの主接続部921と上側(図28の下側)の副接続部923との間から第4種開放封印部900Bの主接続部921と下側の副接続部923との間までにおいて基準平面領域R0’よりも各主接続部921の延出方向に突出し基準平面領域R0’に平行な突出平面領域R3’と、基準平面領域R0’と突出平面領域R3’との段差部分を形成するように4種開放封印部900Aの主接続部921と上側の副接続部923との間に形成された第1湾曲面領域R1’及び4種開放封印部900Bの主接続部921と下側の副接続部923との間に形成された第2湾曲面領域R2’とを有している。右側壁424の内側面において、第4種開放封印部900A及び第4種開放封印部900Bの各々の主接続部921の付け根部分に対応する部位は基準平面領域R0’に位置している。
なお、図26、図27及び図31に示されたように、ボックスベース351の右側壁414にも膨出部424Aと同一形状の膨出部414Aが膨出部424Aと対向するように形成されている。
ボックスカバー352の右縁には、主制御基板312に電気的に接続された発光装置490が第4種開放封印部900A及び第4種開放封印部900Bに対向するように装着されており、発光装置490は基板493上に設けられた発光器491及び発光器492を備えている。発光器491及び発光器492はそれぞれ第4種開放封印部900A及び第4種開放封印部900Bの主接続部921と左右方向に対向しており、発光器491から放出される光の一部は、右側壁424の内側面の基準平面領域R0’に略垂直に入射して第4種開放封印部900Aの主接続部921の延出方向に沿って進行し、また、同様に、発光器492から放出される光の一部は、右側壁424の内側面の基準平面領域R0’に略垂直に入射して第4種開放封印部900Bの主接続部921の延出方向に沿って進行する。これによって、第4種開放封印部900A,900Bの封印解除痕跡の確認が行える。
上記の取り外し封印部500A〜500Dの構成であれば、発光器451〜454からの光に基づいて、取り外し封印部500A〜500Dの接続部501が切断されているか否かを特定の方向以外で発光しているか否かによって検知できるために、取り外し封印部500A〜500Dの近傍における切断箇所を発光器451〜454からの光を用いずに観察する場合よりも簡便かつ正確に検知できる。更に、主制御装置160が閉鎖位置から所定の角度範囲で開放されている場合のみにおいて、発光器451〜454からの光が接続部501に照射されるために、接続部501の切断に基づく取り外し封印部500A〜500Dの封印解除痕跡を光の照射によって確認できるように対策が施されていることを不正行為者によって気付かれる可能性を低減できる。また、封印解除痕跡の確認に利用される光が遊技盤23における発光演出用の光と兼用されているために、当該光が取り外し封印部500A〜500Dの封印解除痕跡の確認に使用されていることを不正行為者によって気付かれる可能性を更に低減できる。
上記の第1種開放封印部600A,600Bの構成であれば、発光器461,462からの光に基づいて、接続部611が切断されているか否かを特定の方向以外で発光しているか否かによって検知できるために、第1種開放封印部600A,600Bの近傍における切断箇所を発光器461,462からの光を用いずに観察する場合よりも簡便かつ正確に検知できる。更に、接続部611への光の照射がRAM消去スイッチ166の操作に基づく特殊な期間に限定されているために、接続部611の切断に基づく第1種開放封印部600A,600Bの封印解除痕跡を光の照射によって確認できるように対策が施されていることを不正行為者によって気付かれる可能性を低減できる。また、封印解除痕跡の確認に利用される光が主制御装置312の動作状態を表す発光と兼用されているために、当該光が取り外し封印部500A〜500Dの封印解除痕跡の確認に使用されていることを不正行為者によって気付かれる可能性を更に低減できる。
上記の第2種開放封印部700A,700Bの構成であれば、発光器471,472からの光に基づいて、接続部711が切断されているか否かを特定の方向以外で発光しているか否かによって検知できるために、第2種開放封印部700A,700Bの近傍における切断箇所を発光器471,472からの光を用いずに観察する場合よりも簡便かつ正確に検知できる。更に、接続部711への光の照射が特別遊技状態や電源投入時等の特殊な期間に限定されているために、接続部711の切断に基づく第2種開放封印部700A,700Bの封印解除痕跡を光の照射によって確認できるように対策が施されていることを不正行為者によって気付かれる可能性を低減できる。また、封印解除痕跡の確認に利用される光が遊技盤23における所定の発光演出用の光と兼用されているために、当該光が第2種開放封印部700A,700Bの封印解除痕跡の確認に使用されていることを不正行為者によって気付かれる可能性を更に低減できる。
上記の第2種開放封印部700A,700Bの構成であれば、開放封印部700A,700Bの接続部711が切断されているか否かを特定の方向以外で発光しているか否かによって検知できるために、第2種開放封印部700A,700Bの近傍における切断を観察する場合よりも簡便かつ正確に検知できるようになる。更に、上記の第2種開放封印部700A,700Bの構成であれば、第2種開放封印部700A,700Bの接続部711への光の照射が特別遊技状態や電源投入時等の特殊な期間に限定されているために、不正行為者によって主制御基板312の改変と共に第2種開放封印部700A,700Bの開封痕跡の光による検知が困難となるような改変が行なわれることを良好に防止できる。更に、可動部材479を含め演出に寄与する装置の動作は一般的に主制御基板312ではなく音声発光制御装置143によって実行されるために、主制御基板312の改変と共に開封痕跡の検知が困難となるように改変するためには主制御基板312ともに音声発光制御装置143をも改変せざるを得ず、このような包括的な改変は行われ難くなる。また、演出に寄与する発光を第2種開放封印部700A,700Bの確認に利用しているために、上記のような対策が施されていることを不正行為者によって気付かれる可能性を低減できる。
上記の第2種開放封印部700A,700Bにおいては、一般的な遊技機が備える可動部材の移動を利用して当該可動部材が所定の位置に移動している場合のみにおいて開放封印部700A,700Bの接続部711の切断痕跡を確認できる構成について説明したが、人為的な照射手段の移動によって開放封印部700A,700Bの接続部711の切断痕跡を確認できる構成とすることもできる。例えば、発光演出を行う一部の発光器が遊技盤23の裏面側から着脱可能である構成とし、必要に応じて当該発光器を遊技盤23から離脱させて開放封印部700,700Bの接続部711の近傍に移動させる構成が挙げられる。
また、上記の第2種開放封印部700A,700Bにおいては、接続部711の切断痕跡を検知するために発光器471及び発光器472を移動させて接続部711と発光器471と発光器472との相対位置を変化させる構成について説明したが、切断痕跡の検知に用いる発光器471と発光器472を遊技盤23に固定しておいて、接続部711を移動させることによってそれらの相対位置を変化させる構成とすることもできる。例えば、上記の第2種開放封印部700A,700Bの場合であれば、第2種開放封印部700A,700Bの形成される主制御装置160は遊技盤23に対して回動可能であるために、主制御装置160を回転させることによって、遊技盤23に固定された発光器と接続部711との相対位置を変化させる構成が挙げられる。
また、上記の第2種開放封印部700A,700Bにおいては、本体部の左側壁413から垂設された接続部711の延出方向に対して直交する方向から発光器471及び発光器472からの光が照射される構成について説明したが、延出方向に沿って発光器から照射される構成とすることもできる。更に、この構成を採用する場合には、左側壁413を平坦面とはせずに接続部711との距離が変化する部位から接続部711を突出させる構成として、不正行為者によって切断される場合に光の照射方向に対して傾斜する広い切断面が形成されるように誘導できる構成とすることができる。
また、上記の第2種開放封印部700A,700Bにおいては、接続部711を照射する光を放出する発光器を遊技盤23に設ける構成について説明したが、発光器を主制御装置160(本体部)の内部又は外部に設ける構成とすることもできる。例えば、当該発光器を主制御基板312上又は基板ボックス311内に内封された所定の基板に設ける構成が挙げられる。この構成を採用する場合にあっては、所定の条件を満たす場合にのみ発光器を発光させる構成、例えば、遊技盤23の制御処理を初期化するためのRAM消去スイッチの操作や確率設定を変化させるための設定変更スイッチを操作した場合にそれらの動作期間又はそれらの操作から所定の期間に亘って発光器を発光させる構成であることが好ましい。
また、上記の第2種開放封印部700A,700Bにおいては、主制御装置160に形成された開放封印部700A,700Bに対して適用する場合について説明したが、主制御装置160に形成される他の開放封印部600A,600B,800A,800B,900A,900Bに対して第2種開放封印部700A,700Bと同様の構成又は第2種開放封印部700A,700Bの構成に付随して説明した各種の変形態様の構成いずれかを単独又は複合させて適用する構成とすることもできる。
また、上記の第2種開放封印部700A,700Bにおいては、主制御基板312を収容する基板ボックス311に形成される封印部について説明したが、主制御基板312以外の基板や電子機器等を収容する構造体に適用することもでき、更に、特定の構造体を連結する場合に適用することもできる。例えば、ボックス連結体301と主制御装置160との連結が挙げられる。
上記の第3種開放封印部800A,800Bの構成であれば、発光器481からの光に基づいて、接続部821が切断されているか否かを特定の方向以外で発光しているか否かによって検知できるために、第3種開放封印部800A,800Bの近傍における切断を発光器481からの光を用いずに観察する場合よりも簡便かつ正確に検知できるようになる。更に、接続部821へ光を照射するために接続部821から離れた位置に配置される巻き取り機構483から発光器481を取り外して接続部821の近傍に移動させる必要があるために、接続部811の切断に基づく第3種開放封印部800A,800Bの封印解除痕跡を光の照射によって確認できるように対策が施されていることを不正行為者によって気付かれる可能性を低減できる。また、封印解除痕跡の確認に利用される光が遊技盤23における所定の発光演出用の光と兼用されているために、当該光が第3種開放封印部800A,800Bの封印解除痕跡の確認に使用されていることを不正行為者によって気付かれる可能性を更に低減できる。
上記の第4種開放封印部900A,900Bの構成であれば、発光器491,492からの光に基づいて、接続部921が切断されているか否かを特定の方向以外で発光しているか否かによって検知できるために、第4種開放封印部900A,900Bの近傍における切断を発光器491,492からの光を用いずに観察する場合よりも簡便かつ正確に検知できるようになる。また、不正行為者が主制御基板312を不正に改変しようとする場合には、切断面を目立たせないように接続部921を近隣の部材の輪郭線や稜線に沿って又はそれに平行や相似な切断線が形成されると共に切断面が小さくなるように直線的に切断しようするために、湾曲面領域R1,R2に概ね沿うように直線的に切断するように誘導することができる。このように切断された場合には切断面が目立ち易くなると共に切断面が特定の方向に対して傾斜するために切断面の面積が特定の方向に垂直に切断される場合よりも大きくなって切断面での乱反射光を確認し易くなる。また、切断面が発光器491,492からの特定の方向に対して傾斜するために、特定の方向以外の所定の方向から切断面を最も大きく視認することもでき、切断面での乱反射光を更に確認し易くなる。
上記の取り外し封印部500A〜500Dの構成において、発光器451〜454の光放出角度の指向性が低く接続部501に照射される光の立体角を発光器451〜454と接続部501との間に形成された開孔141Aで絞って主制御装置160が特定の角度で開放されている場合に接続部501の全体に光が照射される構成について説明したが、指向性の高い光源を採用して当該光源からの光で立体角を絞ることなく又は盤裏カバーの所定の部位に光を拡散させて主制御装置160が所定の角度範囲である場合に接続部501の全体を照射する構成とすることもできる。また、上記の取り外し封印部500A〜500Dの構成において、主制御装置160が特定の角度で開放されている場合に発光器451〜454からの光で接続部501の全体を一括して照射する構成について説明したが、主制御装置160が所定の角度範囲の各角度で開放されている場合には発光器451〜454からの光で接続部501の一部しか照射できないが所定の角度範囲内で主制御装置160を回転させることによって当該回転に伴い発光器451〜454からの光で接続部501の全体に亘って照射する構成とすることもできる。また、主制御装置160が特定の角度に位置していることを識別可能な構造、例えば、主制御装置160が特定の角度に位置している場合に他の場合より移動に要する外力を大きくする構造を更に含み、特定の角度範囲に主制御装置160が配置されていることを簡便かつ確実に認知できる構成とすることもできる。
上記の第1種開放封印部600A,600Bにおいては、発光器461,462から光の放出される期間をRAM消去スイッチ166の操作に基づく特殊な期間に限定する構成について説明したが、主制御基板312に装着される設定変更スイッチや音量変更スイッチ等の他の装置の操作に基づく所定の期間に限定する構成とすることもでき、また、主制御基板312とは異なる部材に設けられている装置であって当該装置への操作が主制御基板312によって検知される装置に対する操作に基づく所定の期間に限定する構成とすることもでき、また、パチンコ機10を構成する所定の部材を駆動又は移動させる操作を検出する装置であって当該装置の検出状況の変化に基づく所定の期間に限定する構成とすることもできる。なお、発光器461,462から光を放出する契機となる各種スイッチや各種の装置への操作は、第1種開放封印部600A,600Bに対するRAM消去スイッチ166への操作のように主制御基板312を取り出すために必要でない操作であることが好ましく、この場合には、接続部611の切断痕跡を光の照射によって確認できるように対策が施されていることを不正行為者が気付く可能性を更に低減できる。
上記の第2種開放封印部700A,700Bにおいては、第1種開放封印部700Aの2つの接続部711及び第1種開放封印部700Bの2つの接続部711の各々の切断痕跡を、それぞれ、上下に移動可能な可動部材470に設けられた発光器471及び発光器472からのそれらの上下動に伴う光の照射によって確認する構成について説明したが、それらの切断痕跡を、水平方向を回動軸として回動可能な可動部材に設けられた発光器471及び発光器472からのそれらの上下方向の回動に伴う光の照射によって確認する構成とすることもできる。
上記の第3種開放封印部800A,800Bにおいては、主制御装置160が閉鎖位置である場合に発光器481、配線482及び巻き取り機構483が裏面側から視認できないように主制御装置160で覆われる構成について説明したが、主制御装置160が閉鎖位置である場合に発光器481、配線482及び巻き取り機構483の少なくとも1つが主制御装置160で覆われない構成とすることもできる。また、上記の第3種開放封印部800A,800Bにおいては、発光器481を適宜に移動させることによって主接続部821と副接続部823とが照射できるように配線482の長さを設定する構成について説明したが、取り外し封印部500A〜500Dの接続部501、第1種開放封印部600A,600Bの接続部611、第2種開放封印部700A,700Bの接続部711及び第4種開放封印部900A,900Bの主接続部921及び副接続部923をも照射できるように配線482の長さを設定する構成とすることもでき、この場合には、発光器461〜464による接続部611の切断痕跡の確認,発光器471,472による接続部711の切断痕跡の確認,発光器491,492による主接続部921の確認に加えて、接続部611、接続部711、主接続部921及び副接続部923の切断痕跡を更に詳細に再確認することができる。
上記の第4種開放封印部900A,900Bにおいては、主接続部921が略S字形状に湾曲する湾曲面領域R1,R2内の一部の領域から延出する構成について説明したが、主接続部921が円弧状に湾曲する領域内の一部の領域から延出する構成とすることもでき、また、主接続部921が基準平面領域R0や突出平面領域R3に対して傾斜する平面領域内の一部の領域から延出する構成とすることもできる。また、上記の第4種開放封印部900A,900Bにおいては、主接続部921が湾曲面領域R1,R2内の一部の領域から延出する構成について説明したが、主接続部921が湾曲面領域R1,R2から基準平面領域R0に跨がる領域や湾曲面領域R1,R2から突出平面領域R3に跨がる領域や湾曲面領域R1,R2を挟んで基準平面領域R0から突出平面領域R3に跨る領域から延出する構成とすることもできる。また、上記の第4種開放封印部900A,900Bにおいては、膨出部424Aが湾曲面領域R1、湾曲面領域R2及び突出平面領域R3とで形成される構成について説明したが、膨出部424Aが突出平面領域R3を含まない構成とすることもできる。また、上記の第4種開放封印部900A,900Bにおいては、右側壁424がその外面と内面との双方の起伏によって形成される膨出部424Aを有する構成について説明したが、右側壁424がその外側の起伏のみによって形成される膨出部を有する構成とすることもできる。また、上記の第4種開放封印部900A,900Bにおいては、右側壁424の外面が外方向に突出する膨出部424Aを有する構成について説明したが、右側壁424の外面が内方向に陥入する陥入部を有する構成とすることもできる。また、更に、上記の第4種開放封印部900A,900Bにおいては、ボックスベース351がボックスカバー352の膨出部424Aと実質的に同一形状の膨出部414Aを有する構成について説明したが、ボックスベース351が膨出部424Aと異なる形状の膨出部を有する構成や膨出部が形成されない構成とすることもできる。
上記の取り外し封印部500A〜500D、第1種開放封印部600A,600B、第2種開放封印部700A,700B、第3種開放封印部800A,800B及び第4種開放封印部900A,900Bの各々の連結においては、それぞれ、独立した部材である連結部材590,690,790,890,990を用いる構成について説明したが、連結すべき2つの構造体の各々に一体成形された2つの係合片が当該2つの構造体の組み付けによって自動的に係合することによって当該2つの構造体の組み付けの痕跡の残らない解除が困難となるように連結される構成、例えば、ボックスベース351に一体成形された係合片とボックスカバー352に一体成形された係合片とがボックスベース351とボックスカバー352とのスライド移動による組み付けによってボックスベース351及びボックスベース351で封鎖される空間において当該組み付けを解除する方向へのスライド移動を阻止するように係合する構成とすることもできる。
上記においては、ボックス連結体301と主制御装置160との痕跡の残らない取り外しを抑制する構造として取り外し封印部500A〜500Dの連結部材590による連結を採用し、基板ボックス311の痕跡の残らない開封を抑制する構造として開封封印部600A,600Bの連結部材690による連結、開封封印部700A,700Bの連結部材790による連結、開封封印部800A,800Bの連結部材890による連結、開封封印部900A,900Bの連結部材990による連結を採用する構成について説明したが、各種の封印部の連結及びその痕跡の確認において上記の各種の連結態様や各種の連結態様に付随して説明した変形態様のいずれかを単独又は複合して採用することもできる。
上記においては、ボックス連結体301と主制御装置160との連結において単一種類の取り外し封印部を備える構成について説明したが、それらの連結において複数の種類の封印部を設ける構成とすることもできる。また、上記においては主制御装置160において複数の種類の開放封印部を設ける構成について説明したが、一部の開放封印部を省略する構成とすることもできる。
また、上記においては、特定の遊技形態の遊技機を一例として挙げて説明したが、本発明を上記実施形態とは異なるタイプのパチンコ機等に実施することもできる。例えば、一度大当たりすると、それを含めて複数回(例えば2回、3回)大当たり状態が発生するまで、大当たり期待値が高められるようなパチンコ機(通称、2回権利物、3回権利物と称される。)として実施しても良い。また、大当たり図柄が表示された後に、所定の領域に球を入賞されることを必要条件として特別遊技状態となるパチンコ機として実施することもできる。また、大当たり等の抽選機能のないいわゆる普通機に対して採用することもできる。球が所定の入賞口に入ることで特別遊技状態となるパチンコ機に対して採用することもできる。また、球が循環する封入式のパチンコ機に実施することもできる。さらに、パチンコ機以外にも、アレンジボール型パチンコ、雀球、いわゆるパチンコ機とスロットマシンとが融合した遊技機等の各種遊技機として実施でき、スロットマシンとして実施しても良い。
なお、パチンコ機とスロットマシンとが融合した遊技機の具体例としては、複数の図柄からなる図柄列を変動表示した後に図柄を確定表示する可変表示手段を備えており、球打出用のハンドルを備えていないものが挙げられる。この場合、所定の操作(ボタン操作)に基づく所定量の遊技球の投入後、例えば操作レバーの操作に起因して図柄の変動が開始され、例えばストップボタンの操作に起因して、あるいは、所定時間経過することにより、図柄の変動が停止され、その停止時の確定図柄がいわゆる大当たり図柄であることを必要条件として遊技者に有利な大当たり状態が発生させられ、遊技者には、下部の受け皿に多量の球が払い出されるものである。
以下、上記した実施形態から抽出される発明群の特徴について、必要に応じて効果等を示しつつ説明する。なお以下においては、理解の容易のため、上記各実施形態において対応する構成を括弧書き等で適宜示すが、この括弧書き等で示した具体的構成に限定されるものではない。また、各特徴に記載した用語の意味や例示等は、同一の文言にて記載した他の特徴に記載した用語の意味や例示として適用しても良い。
従来の典型的なパチンコ遊技機やスロットマシン等の遊技機において、遊技機の動作を制御する制御基板を開封不能に連結された基板ボックスの内部に収容する構成や制御基板の収容された制御装置を遊技機本体に離脱不能に連結する構成が採用されている。これらの連結構造において、制御装置の動作不良等により制御基板を遊技機本体から取り外す必要が生じる場合を考慮して、制御基板に大きな衝撃を与えたり制御基板を破損させたりすることなく安全にかつ簡便に取り外せるように、簡単な工具で切断することによって開封不能な連結や離脱不能な連結の連結状態を解除できる特定の部分(以下において「連結解除用特定部」とも称す)が設けられている。
しかしながら、連結解除用特定部を切断して基板ボックスを一旦開封し、制御基板を不正に改変した後に基板ボックスを元のように閉鎖する不正行為が知られており、このような不正行為が行われると基板ボックスの開封痕跡を目視によって確認することが困難となる虞があった。なお、上記においては制御基板に関連する連結構造ついて例示したが、その他の連結構造についても同様である。上記例示した事情等に鑑みて、本発明は、連結状態を好適に確認できる遊技機を提供することを目的とする。
すなわち、制御基板の動作を不正に改変する等の目的で連結解除用特定部を切断するような不正行為が知られており、このように不正に連結解除用特定部が切断された場合にその切断部分の確認の容易性を向上させることについて改良の余地がある。なお、上記においては制御基板に関連する連結構造ついて例示したが、必要に応じて連結を安全かつ簡便に解除できるように配慮されているが、安易に痕跡の残らないような連結の解除が行なわれないように構成されている連結構造一般についても同様である。このような事情等に鑑みて、本発明に係る遊技機において、不正に切断された場合における切断部分の確認の容易性を向上させることを目的としている。
〈特徴A1〉
第1構造体(例えば、第2種開放封印部700Aに対してのボックスベース351、第3種開放封印部800Aに対してのボックスカバー352に相当)、前記第1構造体と係合する第2構造体(例えば、第2種開放封印部700Aに対してのボックスカバー352、第3種開放封印部800Aに対してのボックスベース351に相当)及び前記第1構造体と前記第2構造体とを相対移動不能に連結する連結手段(例えば、連結部材790、連結部材890に相当)を含む連結構造体を備える遊技機であって、
前記第1構造体は、前記連結手段により連結される被連結部(例えば、被連結部712、被連結部822に相当)と、前記被連結部と離隔する本体部(例えば、第2種開放封印部700Aに対してのボックスベース351の本体部、第3種開放封印部800Aに対してのボックスカバー352の本体部に相当)と、前記本体部から外方向に延出して前記本体部と前記被連結部とを接続する接続部(例えば、接続部711、主接続部821に相当)とを含み、
前記第2構造体は、本体部(例えば、第2種開放封印部700Aに対してのボックスカバー352の本体部、第3種開放封印部800Aに対してのボックスベース351の本体部に相当)と、前記連結手段により前記第1構造体の被連結部と連結される被連結部(例えば、被連結部722、被連結部812に相当)とを含み、
前記第1構造体の被連結部と前記第2構造体の被連結部とが前記連結手段で連結されている相対移動阻止状態を解除する場合に前記接続部が切断され、
前記第1構造体の本体部、被連結部及び接続部は、光透過性物質で一体成形されており、
前記連結構造体に対して移動可能であり、移動可能な範囲のうちの一部の特定の範囲に位置している場合に前記接続部に光を照射可能である光照射手段(例えば、発光器471、発光器481に相当)を備える、
ことを特徴とする遊技機。
この構成であれば、接続部が切断されている場合には光照射手段からの光に基づいてその切断面を簡便に視認できるために、接続部の切断痕跡を簡便に認知できる。また、光照射手段を基準位置から特定の位置へ移動させなければ光照射手段からの光によっては接続部が照射されないために、このような接続部の切断痕跡の確認を容易化する対策が施されていることが不正な行為を行おうとする不正行為者に気付かれることを抑制できる。
〈特徴A2〉
前面側から視認可能な領域に設けられる移動可能な可動構造物を備え、
前記光照射手段は、前記可動構造物の移動に伴い移動し、遊技進行に応じて前記構造物の発光演出を行う、
特徴A1に記載の遊技機。
この構成であれば、光照射手段からの光が発光演出用の光と兼用されているために、不正行為者は当該光が接続部の切断痕跡の確認に使用されていることを更に気付き難くなる。
〈特徴A3〉
前記可動構造物は、遊技機の立上時の動作確認において、前記光照射手段が前記所定の時間に亘り前記特定の範囲内に滞在するように移動し、
前記光照射手段は、前記立上時の動作確認において前記特定の範囲内に滞在している場合に前記接続部に光を照射する、
特徴A2に記載の遊技機。
この構成であれば、光照射手段からの光により接続部が照射される期間が立上時の動作確認時という特定の操作に基づく特殊な期間に限定されるために、不正行為者は当該光が接続部の切断痕跡の確認に使用されていることを更に気付き難くなる。
〈特徴A4〉
前面側から視認可能な領域に設けられる構造物を備え、
前記光照射手段は、前記構造物の裏面側から着脱可能に取り付けられ、装着状態において前記構造物の発光演出を行い、離脱状態における前記特定の範囲への移動により前記接続部に光を照射する、
特徴A1〜A3のいずれかに記載の遊技機。
この構成であれば、光照射手段からの光が発光演出用の光と兼用されているために、また、光照射手段が接続部と離れた場所に配置されることとなるために、不正行為者は当該光が接続部の切断痕跡の確認に使用されていることを更に気付き難くなる。
〈特徴A5〉
前記光照射手段は、遊技機の立上時の動作確認のために所定の時間に亘り光を放出し、当該所定の時間内における前記光照射手段の移動により前記接続部に光を照射する、
特徴A4に記載の遊技機。
この構成であれば、光照射手段から光の放出される期間が立上時の動作確認時という特定の操作に基づく特殊な期間に限定されるために、不正行為者は当該光が接続部の切断痕跡の確認に使用されていることを更に気付き難くなる。
〈特徴A6〉
前記光照射手段は、前記構造物への装着状態において遊技進行に応じた前記構造物の発光演出を行い、前記離脱状態における少なくとも一部の時間に亘って光を放出する、
特徴A4又はA5に記載の遊技機。
この構成であれば、光照射手段から光の放出される期間が光照射手段の離脱状態時という特定の操作に基づく特殊な期間に限定されるために、不正行為者は当該光が接続部の切断痕跡の確認に使用されていることを更に気付き難くなる。
〈特徴A7〉
前記光照射手段は、前記装着状態から前記離脱状態への移行に基づいて所定の時間だけ光を放出する、
特徴A4〜A6のいずれかに記載の遊技機。
この構成であれば、光照射手段から光の放出される期間が光照射手段の離脱状態時という特定の操作に基づく特殊な期間に限定されるために、不正行為者は当該光が接続部の切断痕跡の確認に使用されていることを更に気付き難くなる。
〈特徴A8〉
前記第1構造体は、前記第1構造体の被連結部と異なる他の被連結部と、前記本体部から外方向に延出して前記本体部と前記他の被連結部とを接続する他の接続部とを含み、
前記第2構造体は、前記第1構造体の他の被連結部と連結可能な他の被連結部を含み、
前記第1構造体の他の被連結部と前記第2構造体の他の被連結部とが連結部材で連結されている相対移動阻止状態を解除する場合に前記他の接続部が切断され、
前記第1構造体の他の被連結部及び他の接続部は、前記第1構造体の本体部と一体成形されており、
前記光照射手段は、前記移動可能な範囲のうちの前記特定の範囲と異なる他の特定の範囲に位置している場合に前記他の接続部に光を照射可能である、
特徴A1〜A7のいずれかに記載の遊技機。
この構成であれば、複数の接続部の切断痕跡の確認を簡便に行える。
〈特徴A9〉
前記第1構造体は、前記第1構造体の被連結部と異なる他の被連結部と、前記本体部から外方向に延出して前記本体部と前記他の被連結部とを接続する他の接続部とを含み、
前記第2構造体は、前記第1構造体の他の被連結部と連結可能な他の被連結部を含み、
前記第1構造体の他の被連結部と前記第2構造体の他の被連結部とが連結部材で連結されている相対移動阻止状態を解除する場合に前記他の接続部が切断され、
前記第1構造体の他の被連結部及び他の接続部は、前記第1構造体の本体部と一体成形されており、
前記光照射手段は、前記特定の範囲に位置している場合に前記接続部及び前記他の接続部の双方に光を照射可能である、
特徴A1〜A8のいずれかに記載の遊技機。
この構成であれば、複数の接続部の切断痕跡の確認を簡便に行える。
〈特徴A10〉
前記連結構造体は、前記第1構造体の本体部と前記第2構造体の本体部とで形成される空間に収容される制御基板を含む制御装置であり、
前記制御装置と連携して遊技機の動作を制御する他の制御装置を備え、
前記光照射手段又は前記可動装置を含む場合にあっては前記光照射手段及び可動装置は、前記他の制御装置により制御される、
特徴A1〜A9に記載の遊技機。
この構成であれば、不正行為者が制御装置を改変すると共に光照射手段の制御を改変したとすると、簡便に光照射手段の制御の改変を認知できる。
〈特徴A11〉
前記連結構造体は、遊技機本体と制御装置とを連結する連結機構であり、
前記制御装置と連携して遊技機の動作を制御する他の制御装置を備え、
前記光照射手段又は前記可動構造物を含む場合にあっては前記光照射手段及び可動構造物は、前記他の制御装置により制御される、
特徴A1〜A10に記載の遊技機。
この構成であれば、不正行為者が制御装置を改変すると共に光照射手段の制御を改変しようとする場合に、当該制御装置と共に光照射手段の駆動を制御する他の制御装置も改変する必要が生じるために、不正行為を抑制できる。
〈特徴B1〉
第1構造体(例えば、ボックス連結体301に相当)、前記第1構造体と係合する第2構造体(例えば、ボックスベース351に相当)及び前記第1構造体と前記第2構造体とを相対移動不能に連結する連結手段(例えば、連結部材590に相当)を含み、遊技機本体に対して移動可能に取着された連結構造体(例えば、主制御装置ユニット300に相当)を備える遊技機であって、
前記第1構造体は、本体部(例えば、ボックス連結体301の本体部に相当)と、前記連結手段と係合する被連結部(例えば、被連結部502に相当)と、前記本体部から外方向に延出して前記本体部と前記被連結部とを接続する接続部(例えば、接続部501に相当)とを含み、
前記第2構造体は、本体部(例えば、ボックスベース351の本体部に相当)と、前記連結手段により前記第1構造体の被連結部と連結される被連結部(例えば、被連結部512に相当)とを含み、
前記第1構造体の他の被連結部と前記第2構造体の他の被連結部とが前記連結手段で連結されている相対移動阻止状態を解除する場合に前記他の接続部が切断され、
前記第1構造体の本体部、被連結部及び接続部は、光透過性物質で一体成形されており、
前記連結構造体が前記遊技機本体に対して移動可能な範囲のうちの特定の範囲に位置している場合に前記接続部に光を照射可能である光照射手段(例えば、発光器451に相当)を備える、
ことを特徴とする遊技機。
この構成であれば、接続部が切断されている場合には光照射手段からの光に基づいてその切断面を簡便に視認できるために、接続部の切断痕跡を簡便に認知できる。また、連結構造体を基準位置から特定の位置へ移動させなければ光照射手段からの光によっては接続部が照射されないために、このような接続部の切断痕跡の確認を容易化する対策が施されていることが不正な行為を行おうとする不正行為者に気付かれることを抑制できる。
〈特徴B2〉
前記特定の範囲は、前記連結構造体の前記移動可能な範囲のうちの一部の中間範囲である、
特徴B1に記載の遊技機。
この構成であれば、特徴B1の効果を確実に奏することができる。
〈特徴B3〉
前記光照射手段からの光は、前記連結構造体の前記特定の範囲への移動に伴い、前記接続部の内部を前記接続部の延出方向に沿うように伝播する、
特徴B1又はB2に記載の遊技機。
この構成であれば、指向性の低い光源や指向性の高い光源を光照射手段として用いることができ、光源を選択する自由度が増加する。
〈特徴B4〉
前記光照射手段は、前記遊技機本体側に設けられており、前記連結構造体の移動に伴って移動せず、
前記連結構造体の前記特定の範囲への移動に伴い前記光照射手段からの光を前記接続部の延出方向に沿うように伝播して前記接続部の全体が照射されるように、前記光照射手段からの光の伝播を規制する伝播規制手段を含む、
特徴B3に記載の遊技機。
この構成であれば、指向性の低い光照射手段を用いて特徴B1の効果を確実に奏することができる。
〈特徴B5〉
前記光照射手段からの光は、前記連結構造体の前記特定の範囲内における移動に伴い照射位置が前記接続部の延出方向に沿うように変化して、前記接続部の全体を照射する、
特徴B1又はB2に記載の遊技機。
この構成であれば、指向性の低い光源や指向性の高い光源を光照射手段として用いることができ、光源を選択する自由度が増加する。
〈特徴B6〉
前記光照射手段は、前記遊技機本体側に設けられており、前記連結構造体の移動に伴い移動せず、
前記連結構造体の前記特定の範囲内における移動に伴い前記光照射手段からの光の照射位置が前記接続部の延出方向に沿うように変化して前記接続部の全体が照射されるように前記光照射手段からの光の伝播を制限する伝播規制手段を含む、
特徴B5に記載の遊技機。
この構成であれば、指向性の低い光源や指向性の高い光源を光照射手段として用いることができ、光源を選択する自由度が増加する。
〈特徴B7〉
前記第1構造体が前記特定の範囲に位置していることを識別可能な識別手段を含む、
特徴B2〜B6に記載の遊技機。
この構成であれば、特定範囲に連結構造体が配置されていることを簡便かつ確実に認知できる。
〈特徴B8〉
前記識別手段は、前記連結構造体が前記特定の範囲に位置している場合に他の場合より移動に要する外力を大きくする構造を有する、特徴B7に記載の遊技機。
この構成であれば、特定範囲に連結構造体が配置されていることを簡便かつ確実に認知できる。
〈特徴C1〉
第1構造体(例えば、ボックスカバー352に相当)、前記第1構造体と係合する第2構造体(例えば、ボックスベース351に相当)及び前記第1構造体と前記第2構造体とを相対移動不能に連結する連結手段(例えば、連結部材990に相当)を含む連結構造体を備える遊技機であって、
前記第1構造体は、本体部(例えば、ボックスカバー352の本体部に相当)と、前記連結手段と係合する被連結部(例えば、被連結部922に相当)と、前記本体部の周縁の一側壁の外面から外方向に延出して前記本体部と前記被連結部とを接続する接続部(例えば、主接続部921に相当)とを含み、
前記第2構造体は、本体部(例えば、ボックスベース351の本体部に相当)と、前記連結手段により前記第1構造体の被連結部と連結される被連結部(例えば、被連結部912に相当)とを含み、
前記第1構造体の被連結部と前記第2構造体の被連結部とが前記連結手段で連結されている相対移動阻止状態を解除する場合に前記接続部が切断され、
前記第1構造体の本体部、被連結部及び接続部は、光透過性物質で一体成形されており、
前記接続部の延出方向に沿って前記接続部の内部を伝播するように光を照射可能である光照射手段(例えば、発光器491に相当)と、
前記一側壁の外面は、前記接続部の延出方向に対して起伏する形状(例えば、膨出部424Aに相当)であり、
前記接続部は、前記起伏の変化部分(例えば、湾曲面面領域R1,R2に相当)の少なくとも一部から延出している、
ことを特徴とする遊技機。
この構成であれば、接続部が切断されている場合には光照射手段からの光に基づいてその切断面を簡便に視認できるために、接続部の切断痕跡を簡便に認知できる。また、不正行為者が主制御装置の動作を不正に改変しようとする場合には、切断面を目立たせないように接続部を近隣の部材の輪郭線や稜線に沿って又はそれに平行や相似な切断線が形成されると共に切断面が小さくなるように直線的に切断しようするために、光の照射方向に対して傾斜する広い切断面が形成されるように誘導できるために、接続部の切断痕跡を精度良く認知できる。
〈特徴C2〉
前記一側壁と前記接続部との境界線を輪郭とする仮想面は、前記接続部の延出方向と直交する平面と異なる、
特徴C1に記載の遊技機。
この構成であれば、特徴C1の効果を確実に奏することができる。
〈特徴C3〉
前記一側壁の外面は、前記接続部の延出方向に離間する平行な2つの仮想平面の一方に含まれる第1平面領域(例えば、基準平面領域R0に相当)と、前記2つの仮想平面の他方に含まれる第2平面領域(例えば、突出平面領域R3に相当)とを含み、
前記接続部は、前記第1平面領域と前記第2平面領域とに跨がる領域から延出している、
特徴C1又はC2に記載の遊技機。
この構成であれば、特徴C1の効果を確実に奏することができる。
〈特徴C4〉
前記一側壁の外面は、前記接続部の延出方向に離間する平行な2つの仮想平面の一方に含まれる第1平面領域と、前記2つの仮想平面の他方に含まれる第2平面領域と、前記第1平面領域と前記第2平面領域との間の段差形成領域とを有し、
前記接続部は、前記段差形成領域から延出している、
特徴C1又はC2に記載の遊技機。
この構成であれば、特徴C1の効果を確実に奏することができる。
〈特徴C5〉
前記一側壁の外面は、前記接続部の延出方向に離間する平行な2つの仮想平面の一方に含まれる第1平面領域と、前記2つの仮想平面の他方に含まれる第2平面領域と、前記第1平面領域と前記第2平面領域との間の段差形成領域とを有し、
前記接続部は、前記段差形成領域と前記第1平面領域とに跨がる領域から延出している、
特徴C1又はC2に記載の遊技機。
この構成であれば、特徴C1の効果を確実に奏することができる。
〈特徴C6〉
前記一側壁の外面は、前記接続部の延出方向に離間する平行な2つの仮想平面の一方に含まれる第1平面領域と、前記2つの仮想平面の他方に含まれる第2平面領域と、前記第1平面領域と前記第2平面領域との間の段差形成領域とを有し、
前記接続部は、前記段差形成領域と前記第2平面領域とに跨がる領域から延出している、
特徴C1又はC2に記載の遊技機。
この構成であれば、特徴C1の効果を確実に奏することができる。
〈特徴C7〉
前記光照射手段は、前記接続部の延出方向に沿って前記接続部に対向するように配置され、
前記一側壁の内面は、前記接続部と光照射手段との間において前記仮想平面と平行な平面に含まれる平面領域を有し、
前記光照射手段からの光は、前記一側壁の内面の平面領域から入射して前記第1構造体の被接続部まで直線的に伝播する、
特徴C3〜C6に記載の遊技機。
この構成であれば、特徴C1の効果を確実に奏することができる。また、接続部の全体の切断痕跡を一括して確認できる。
以上のように、本発明は、パチンコ機やスロットマシン等の遊技機に適している。
10…パチンコ機,
160…主制御装置,
311…基板ボックス,
312…主制御基板,
351…ボックスベース,
352…ボックスカバー,
353…カシメ受けカバー,
354…カシメ受け部材,
700A〜B…開放封印部,
711…接続部,
712…被連結部,
722…被連結部

Claims (2)

  1. 第1構造体、前記第1構造体と係合する第2構造体及び前記第1構造体と前記第2構造体とを相対移動不能に連結する連結手段を含む連結構造体を備える遊技機であって、
    前記第1構造体は、本体部と、前記本体部の外側に位置する被連結部と、前記本体部から外方向に延出して前記本体部と前記被連結部とを接続し、前記第1構造体の被連結部と前記第2構造体の被連結部とが前記連結手段で連結されている相対移動阻止状態を解除する場合に切断される接続部とを含み、
    前記第2構造体は、本体部と、前記連結手段により前記第1構造体の被連結部と連結される被連結部とを含み、
    前記第1構造体の本体部、被連結部及び接続部は、光透過性物質で一体成形されており、
    前記連結構造体に対して移動可能であり、移動可能な範囲のうちの一部の特定の範囲に位置している場合に前記接続部に光を照射可能である発光手段を備え、
    前記発光手段と、前記連結構造体とが、遊技機本体に対して着脱可能に取り付けられた遊技部材に設けられていることを特徴とする遊技機。
  2. 前記遊技機は、パチンコ機またはスロットマシンであることを特徴とする請求項1に記載の遊技機。
JP2015212191A 2013-10-11 2015-10-28 遊技機 Expired - Fee Related JP6233382B2 (ja)

Priority Applications (1)

Application Number Priority Date Filing Date Title
JP2015212191A JP6233382B2 (ja) 2013-10-11 2015-10-28 遊技機

Applications Claiming Priority (3)

Application Number Priority Date Filing Date Title
JP2013214252 2013-10-11
JP2013214252 2013-10-11
JP2015212191A JP6233382B2 (ja) 2013-10-11 2015-10-28 遊技機

Related Parent Applications (1)

Application Number Title Priority Date Filing Date
JP2013227775A Division JP5831529B2 (ja) 2013-10-11 2013-10-31 遊技機

Publications (3)

Publication Number Publication Date
JP2016039927A JP2016039927A (ja) 2016-03-24
JP2016039927A5 JP2016039927A5 (ja) 2016-12-15
JP6233382B2 true JP6233382B2 (ja) 2017-11-22

Family

ID=53373711

Family Applications (4)

Application Number Title Priority Date Filing Date
JP2013227777A Expired - Fee Related JP6232938B2 (ja) 2013-10-11 2013-10-31 遊技機
JP2013227776A Expired - Fee Related JP6232937B2 (ja) 2013-10-11 2013-10-31 遊技機
JP2013227775A Expired - Fee Related JP5831529B2 (ja) 2013-10-11 2013-10-31 遊技機
JP2015212191A Expired - Fee Related JP6233382B2 (ja) 2013-10-11 2015-10-28 遊技機

Family Applications Before (3)

Application Number Title Priority Date Filing Date
JP2013227777A Expired - Fee Related JP6232938B2 (ja) 2013-10-11 2013-10-31 遊技機
JP2013227776A Expired - Fee Related JP6232937B2 (ja) 2013-10-11 2013-10-31 遊技機
JP2013227775A Expired - Fee Related JP5831529B2 (ja) 2013-10-11 2013-10-31 遊技機

Country Status (1)

Country Link
JP (4) JP6232938B2 (ja)

Families Citing this family (14)

* Cited by examiner, † Cited by third party
Publication number Priority date Publication date Assignee Title
JP6844531B2 (ja) * 2017-12-29 2021-03-17 株式会社三洋物産 遊技機
JP7264297B2 (ja) * 2018-03-23 2023-04-25 株式会社三洋物産 遊技機
JP6919617B2 (ja) * 2018-03-30 2021-08-18 株式会社三洋物産 遊技機
JP6919615B2 (ja) * 2018-03-30 2021-08-18 株式会社三洋物産 遊技機
JP6919616B2 (ja) * 2018-03-30 2021-08-18 株式会社三洋物産 遊技機
JP6766099B2 (ja) * 2018-06-29 2020-10-07 株式会社大一商会 遊技機
JP6671818B2 (ja) * 2018-06-29 2020-03-25 株式会社大一商会 遊技機
JP6886189B2 (ja) * 2018-09-27 2021-06-16 京楽産業.株式会社 遊技機
JP7301338B2 (ja) * 2019-03-06 2023-07-03 京楽産業.株式会社 遊技機
JP2020141847A (ja) * 2019-03-06 2020-09-10 京楽産業.株式会社 遊技機
JP7301339B2 (ja) * 2019-03-06 2023-07-03 京楽産業.株式会社 遊技機
JP7226749B2 (ja) * 2019-04-15 2023-02-21 株式会社大一商会 遊技機
JP7226750B2 (ja) * 2019-05-24 2023-02-21 株式会社大一商会 遊技機
JP2022033179A (ja) * 2020-12-14 2022-02-28 株式会社三洋物産 遊技機

Family Cites Families (12)

* Cited by examiner, † Cited by third party
Publication number Priority date Publication date Assignee Title
JP4168236B2 (ja) * 2002-06-27 2008-10-22 株式会社三洋物産 遊技機
JP4240196B2 (ja) * 2002-07-16 2009-03-18 株式会社三洋物産 遊技機
JP4141348B2 (ja) * 2002-08-30 2008-08-27 株式会社オリンピア 遊技機
JP4497352B2 (ja) * 2004-03-19 2010-07-07 株式会社ソフイア 遊技機
JP4098291B2 (ja) * 2004-09-07 2008-06-11 マルホン工業株式会社 遊技機
JP4983173B2 (ja) * 2006-06-26 2012-07-25 株式会社三洋物産 遊技機
JP4859055B2 (ja) * 2007-03-09 2012-01-18 サミー株式会社 遊技機の基板ケース
JP5105350B2 (ja) * 2007-03-29 2012-12-26 サミー株式会社 基板ケース
JP5233206B2 (ja) * 2007-08-24 2013-07-10 株式会社三洋物産 遊技機
JP5146842B2 (ja) * 2009-08-24 2013-02-20 株式会社大都技研 遊技台用制御基板の封印構造
JP2011239896A (ja) * 2010-05-17 2011-12-01 Daito Giken:Kk 遊技台
JP2012011094A (ja) * 2010-07-02 2012-01-19 Sammy Corp 基板ケースの不正開放防止機構

Also Published As

Publication number Publication date
JP6232938B2 (ja) 2017-11-22
JP2016039927A (ja) 2016-03-24
JP5831529B2 (ja) 2015-12-09
JP2015096088A (ja) 2015-05-21
JP6232937B2 (ja) 2017-11-22
JP2015096087A (ja) 2015-05-21
JP2015096086A (ja) 2015-05-21

Similar Documents

Publication Publication Date Title
JP6233382B2 (ja) 遊技機
JP5831503B2 (ja) 遊技機
JP2017080465A (ja) 遊技機
JP6413481B2 (ja) 遊技機
JP6337989B2 (ja) 遊技機
JP6065636B2 (ja) 遊技機
JP6413480B2 (ja) 遊技機
JP6152719B2 (ja) 遊技機
JP6137078B2 (ja) 遊技機
JP2019147063A (ja) 遊技機
JP6273676B2 (ja) 遊技機
JP6439830B2 (ja) 遊技機
JP6156467B2 (ja) 遊技機
JP5338088B2 (ja) 遊技機
JP6160304B2 (ja) 遊技機
JP5137126B2 (ja) 遊技機用基板ケース
JP5655240B2 (ja) 遊技台
JP6471422B2 (ja) 遊技機
JP5765378B2 (ja) 遊技機
JP5477828B2 (ja) 遊技機用基板ケース
JP2018199090A (ja) 遊技機
JP2018199089A (ja) 遊技機
JP2018183706A (ja) 遊技機
JP2017127753A (ja) 遊技機
JP2018075437A (ja) 遊技機

Legal Events

Date Code Title Description
A521 Request for written amendment filed

Free format text: JAPANESE INTERMEDIATE CODE: A523

Effective date: 20161031

A621 Written request for application examination

Free format text: JAPANESE INTERMEDIATE CODE: A621

Effective date: 20161031

TRDD Decision of grant or rejection written
A01 Written decision to grant a patent or to grant a registration (utility model)

Free format text: JAPANESE INTERMEDIATE CODE: A01

Effective date: 20170926

A61 First payment of annual fees (during grant procedure)

Free format text: JAPANESE INTERMEDIATE CODE: A61

Effective date: 20171009

R150 Certificate of patent or registration of utility model

Ref document number: 6233382

Country of ref document: JP

Free format text: JAPANESE INTERMEDIATE CODE: R150

R250 Receipt of annual fees

Free format text: JAPANESE INTERMEDIATE CODE: R250

R250 Receipt of annual fees

Free format text: JAPANESE INTERMEDIATE CODE: R250

R250 Receipt of annual fees

Free format text: JAPANESE INTERMEDIATE CODE: R250

R250 Receipt of annual fees

Free format text: JAPANESE INTERMEDIATE CODE: R250

LAPS Cancellation because of no payment of annual fees