JP6217841B2 - モジュールおよびこのモジュールの製造方法 - Google Patents

モジュールおよびこのモジュールの製造方法 Download PDF

Info

Publication number
JP6217841B2
JP6217841B2 JP2016508639A JP2016508639A JP6217841B2 JP 6217841 B2 JP6217841 B2 JP 6217841B2 JP 2016508639 A JP2016508639 A JP 2016508639A JP 2016508639 A JP2016508639 A JP 2016508639A JP 6217841 B2 JP6217841 B2 JP 6217841B2
Authority
JP
Japan
Prior art keywords
metal pins
metal
insulating layer
coil
pins
Prior art date
Legal status (The legal status is an assumption and is not a legal conclusion. Google has not performed a legal analysis and makes no representation as to the accuracy of the status listed.)
Expired - Fee Related
Application number
JP2016508639A
Other languages
English (en)
Other versions
JPWO2015141434A1 (ja
Inventor
西出 充良
充良 西出
喜人 大坪
喜人 大坪
Current Assignee (The listed assignees may be inaccurate. Google has not performed a legal analysis and makes no representation or warranty as to the accuracy of the list.)
Murata Manufacturing Co Ltd
Original Assignee
Murata Manufacturing Co Ltd
Priority date (The priority date is an assumption and is not a legal conclusion. Google has not performed a legal analysis and makes no representation as to the accuracy of the date listed.)
Filing date
Publication date
Application filed by Murata Manufacturing Co Ltd filed Critical Murata Manufacturing Co Ltd
Publication of JPWO2015141434A1 publication Critical patent/JPWO2015141434A1/ja
Application granted granted Critical
Publication of JP6217841B2 publication Critical patent/JP6217841B2/ja
Expired - Fee Related legal-status Critical Current
Anticipated expiration legal-status Critical

Links

Images

Classifications

    • HELECTRICITY
    • H01ELECTRIC ELEMENTS
    • H01FMAGNETS; INDUCTANCES; TRANSFORMERS; SELECTION OF MATERIALS FOR THEIR MAGNETIC PROPERTIES
    • H01F27/00Details of transformers or inductances, in general
    • H01F27/24Magnetic cores
    • HELECTRICITY
    • H01ELECTRIC ELEMENTS
    • H01FMAGNETS; INDUCTANCES; TRANSFORMERS; SELECTION OF MATERIALS FOR THEIR MAGNETIC PROPERTIES
    • H01F17/00Fixed inductances of the signal type
    • H01F17/0006Printed inductances
    • H01F17/0013Printed inductances with stacked layers
    • HELECTRICITY
    • H01ELECTRIC ELEMENTS
    • H01FMAGNETS; INDUCTANCES; TRANSFORMERS; SELECTION OF MATERIALS FOR THEIR MAGNETIC PROPERTIES
    • H01F17/00Fixed inductances of the signal type
    • H01F17/04Fixed inductances of the signal type with magnetic core
    • H01F17/06Fixed inductances of the signal type with magnetic core with core substantially closed in itself, e.g. toroid
    • HELECTRICITY
    • H01ELECTRIC ELEMENTS
    • H01FMAGNETS; INDUCTANCES; TRANSFORMERS; SELECTION OF MATERIALS FOR THEIR MAGNETIC PROPERTIES
    • H01F27/00Details of transformers or inductances, in general
    • H01F27/08Cooling; Ventilating
    • H01F27/22Cooling by heat conduction through solid or powdered fillings
    • HELECTRICITY
    • H01ELECTRIC ELEMENTS
    • H01FMAGNETS; INDUCTANCES; TRANSFORMERS; SELECTION OF MATERIALS FOR THEIR MAGNETIC PROPERTIES
    • H01F27/00Details of transformers or inductances, in general
    • H01F27/28Coils; Windings; Conductive connections
    • H01F27/2804Printed windings
    • HELECTRICITY
    • H01ELECTRIC ELEMENTS
    • H01FMAGNETS; INDUCTANCES; TRANSFORMERS; SELECTION OF MATERIALS FOR THEIR MAGNETIC PROPERTIES
    • H01F27/00Details of transformers or inductances, in general
    • H01F27/28Coils; Windings; Conductive connections
    • H01F27/2876Cooling
    • HELECTRICITY
    • H01ELECTRIC ELEMENTS
    • H01FMAGNETS; INDUCTANCES; TRANSFORMERS; SELECTION OF MATERIALS FOR THEIR MAGNETIC PROPERTIES
    • H01F41/00Apparatus or processes specially adapted for manufacturing or assembling magnets, inductances or transformers; Apparatus or processes specially adapted for manufacturing materials characterised by their magnetic properties
    • H01F41/02Apparatus or processes specially adapted for manufacturing or assembling magnets, inductances or transformers; Apparatus or processes specially adapted for manufacturing materials characterised by their magnetic properties for manufacturing cores, coils, or magnets
    • HELECTRICITY
    • H01ELECTRIC ELEMENTS
    • H01FMAGNETS; INDUCTANCES; TRANSFORMERS; SELECTION OF MATERIALS FOR THEIR MAGNETIC PROPERTIES
    • H01F41/00Apparatus or processes specially adapted for manufacturing or assembling magnets, inductances or transformers; Apparatus or processes specially adapted for manufacturing materials characterised by their magnetic properties
    • H01F41/02Apparatus or processes specially adapted for manufacturing or assembling magnets, inductances or transformers; Apparatus or processes specially adapted for manufacturing materials characterised by their magnetic properties for manufacturing cores, coils, or magnets
    • H01F41/04Apparatus or processes specially adapted for manufacturing or assembling magnets, inductances or transformers; Apparatus or processes specially adapted for manufacturing materials characterised by their magnetic properties for manufacturing cores, coils, or magnets for manufacturing coils
    • H01F41/041Printed circuit coils
    • H01F41/046Printed circuit coils structurally combined with ferromagnetic material

Landscapes

  • Engineering & Computer Science (AREA)
  • Power Engineering (AREA)
  • Microelectronics & Electronic Packaging (AREA)
  • Manufacturing & Machinery (AREA)
  • Coils Or Transformers For Communication (AREA)
  • Manufacturing Cores, Coils, And Magnets (AREA)

Description

本発明は、絶縁層にコイルコアを内蔵したモジュールおよびこのモジュールの製造方法に関する。
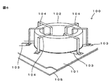
高周波信号が用いられるモジュールには、ノイズを防止するための部品として、トロイダルコイルが配線基板に実装される場合がある。例えば、図6に示すように、特許文献1に記載のモジュール100は、絶縁樹脂で形成された配線基板101と、該配線基板101の上面に実装された円環状の磁性体コア102とを備える。また、配線基板101上に形成された複数の配線電極パターン103と、磁性体コア102を跨ぐように配置されコの字型に折り曲げた平角線から成る複数のジャンパ104とにより、磁性体コア102の周囲を螺旋状に巻回するコイル電極が形成されている。また、このモジュール100では、コイルから発生した熱をモジュール100の外部に逃がすために、配線基板101の下面に、放熱用基板105が接触固定されている。
特開2006−278841号公報(段落0010〜0014、図1等参照)
しかしながら、磁性体コア102とコイル電極で構成されるコイルは、配線基板101の上面に実装される他の電子部品より比較的大型であるため、配線基板101の上面に広い実装領域を確保する必要がある。そのため、配線基板101の主面の面積を小さくしてモジュール100の小型化を図るのに限界がある。ここで、配線基板101にコイルを内蔵してモジュール100の小型化を図ることが考えられるが、配線基板101を樹脂等で形成した場合には、コイルから発生する熱が樹脂内部で蓄積されてコイルの特性が劣化するおそれがある。
本発明は、上記した課題に鑑みてなされたものであり、コイルを内蔵してモジュールの小型化を図りつつ、コイルから発生する熱の放熱特性の向上を図ることを目的とする。
上記した目的を達成するために、本発明のモジュールは、絶縁層と、前記絶縁層に内蔵された環状のコイルコアと、前記コイルコアを巻回するように前記絶縁層に設けられたコイル電極と、前記コイルコアの外側の前記絶縁層内に配置された放熱用部材とを備え、前記コイル電極は、前記コイルコアの周方向に交差するように配置され、前記コイルコアの外周面に沿って配列された複数の外側金属ピンと、前記コイルコアの周方向に交差するように配置され、前記各外側金属ピンそれぞれと複数の対を成すように前記コイルコアの内周面に沿って配列された複数の内側金属ピンと、各対を成す前記外側金属ピンおよび前記内側金属ピンの一方の端面同士を接続する複数の第1接続部材と、前記外側金属ピンの他方の端面と、対を成す前記内側金属ピンの所定側に隣接する前記内側金属ピンの他方の端面とをそれぞれ接続する複数の第2接続部材とを有し、前記放熱用部材と前記複数の外側金属ピンと前記複数の内側金属ピンとは、前記コイルコアの周方向に直交する方向の高さが等しいことを特徴としている。
このように、絶縁層にコイルコアを内蔵することにより、コイルコアおよびコイル電極で構成されるコイルを実装するための広い実装領域を、絶縁層の主面に確保する必要がなくなるため、絶縁層の主面の面積を小さくしてモジュールの小型化を図ることができる。また、各外側金属ピンおよび各内側金属ピンは、絶縁層に貫通孔を設けて形成されるビア導体やスルーホール導体と比較して比抵抗が小さい。そのため、所定の第1接続部材と第2接続部材とを接続する導体を、外側金属ピンまたは内側金属ピンで構成することで、コイル電極全体の抵抗値を小さくすることができるため、モジュールが備えるコイルの特性を向上することができる。また、絶縁層に貫通孔を設けるビア導体やスルーホール導体では、隣接する導体間のピッチを狭くするのに限界があるが、前記貫通孔を設けずに形成される各外側金属ピンおよび各内側金属ピンでは、隣接する金属ピン間のピッチを狭くするのが容易である。したがって、隣接する金属ピン間のピッチを狭くしてコイル電極の巻数を増やすのが容易となるため、限られた絶縁層内のスペースの中で、インダクタンス値の高いコイルを内蔵するモジュールを提供することができる。
また、例えば、放熱用部材を金属で形成した場合、当該金属は、絶縁層を形成する材料として一般的に用いられるセラミックや樹脂よりも熱伝導率が高いため、コイルコアの外側の絶縁層内に金属で形成された放熱用部材を配置することで、コイルから発生する熱の放熱特性が向上する。
また、放熱用部材を金属で形成した場合、放熱用部材とコイル電極とが接触するとコイル特性が劣化するおそれがある。また、放熱用部材とコイル電極とが接触しない場合であっても、両者が近接していると、そこに渦電流が発生してコイル特性が劣化する場合もある。そこで、例えば、絶縁層よりも熱伝導率が高い絶縁体で放熱用部材を形成すると、放熱用部材とコイル電極とが接触したり、近接配置された場合であっても、コイル特性が劣化するのを防止することができる。
また、コイルコアの外側に金属で形成された放熱用部材を配置すると、例えば、モジュールを落下させた場合等、モジュールの外部からコイルコアに応力が加わった場合に、放熱用部材がこの応力を緩和する部材としても機能するため、外部応力によるコイルコアの破損を防止することができる。
また、前記コイルコアの内側の前記絶縁層内に、前記放熱用部材がさらに配置されていてもよい。このようにすると、コイルから発生する熱を、コイルコアの外側と内側の両方に配置された放熱用部材により放熱することができるため、モジュールの放熱特性がさらに向上する。
また、前記各外側金属ピン、前記各内側金属ピンおよび前記放熱用部材が、同一の金属で形成されていてもよい。このようにすると、各外側金属ピン、各内側金属ピンおよび放熱用部材の同時形成が可能になる。
また、前記各外側金属ピンおよび前記各内側金属ピンと、前記放熱用部材とが異なる金属で形成されていてもよい。このようにすると、例えば、放熱用部材を放熱特性の優れた金属で構成しつつ、各外側金属ピンおよび各内側金属ピンそれぞれを剛性が高く折れにくい金属で構成することができる。
本発明のモジュールの製造方法は、平板状の支持体の一方主面に貼り付けられた金属板を準備する工程と、前記金属板をエッチングすることにより、前記支持体の一方主面に立設されて環状に配列される複数の外側金属ピンと、前記各外側金属ピンの内側でコイルコアの配置スペースを挟み、前記支持体の一方主面に立設されて環状に配列され前記各外側金属ピンそれぞれと複数の対を成す複数の内側金属ピンと、前記各外側金属ピンの外側および前記各内側金属ピンの内側のうち、少なくとも前記各外側金属ピンの外側に配置される放熱用部材としての金属体とを同時形成する工程と、前記配置スペースに前記コイルコアを配置する工程と、前記支持体の一方主面、前記コイルコア、前記各外側金属ピン、前記各内側金属ピンおよび前記金属体を封止する絶縁層を形成する工程と、研磨または研削により、前記支持体を除去するとともに、前記各外側金属ピンおよび前記各内側金属ピンそれぞれの両端面を前記絶縁層から露出させる工程と、各対を成す前記外側金属ピンおよび前記内側金属ピンの一方の端面同士を接続する複数の第1接続部材と、前記外側金属ピンの他方の端面と、対を成す前記内側金属ピンの所定側に隣接する前記内側金属ピンの他方の端面とをそれぞれ接続する複数の第2接続部材とを形成する工程とを備えることを特徴としている。
この場合、エッチングという一般的な技術を用いて、絶縁層内に配置される、各外側金属ピンおよび各内側金属ピン、並びに、各外側金属ピンの外側および各内側金属ピンの内側のうち、少なくとも各外側金属ピンの外側に放熱用部材としての金属体を形成することができる。したがって、コイルコアを内蔵して小型化を図りつつ、コイルから発生する熱の放熱特性の向上を図ることができるモジュールを容易に製造することができる。
また、各外側金属ピン、各内側金属ピンおよび放熱用部材としての金属体を、エッチングにより同時形成することができるため、小型かつ放熱特性の優れたモジュールを安価に製造することができる。
本発明によれば、絶縁層にコイルコアを内蔵することにより、コイルコアおよびコイル電極で構成されるコイルを実装するための広い実装領域を、絶縁層の主面に確保する必要がなくなるため、絶縁層の主面の面積を小さくしてモジュールの小型化を図ることができる。また、例えば、放熱用部材を金属で形成した場合、当該金属は、絶縁層を形成する材料として一般的に用いられるセラミックや樹脂よりも熱伝導率が高いため、コイルコアの外側の絶縁層内に金属で形成された放熱用部材を配置することで、コイルから発生する熱の放熱特性が向上する。
本発明の一実施形態にかかるモジュールの断面図である。 図1のモジュールのA−A矢視断面図である。 図1のモジュールの平面図である。 図1のモジュールの製造方法を説明するための図である。 図1のモジュールの製造方法を説明するための図である。 従来のモジュールの部分斜視図である。
本発明の一実施形態にかかるモジュール1について、図1〜図3を参照して説明する。なお、図1はモジュール1の断面図、図2は図1のA−A矢視断面図、図3はモジュール1の平面図であり、モジュール1に形成されるコイル電極4を説明するための図である。また、図3ではコイル電極4を説明するための構成のみを図示し、他の構成については図示省略している。
この実施形態にかかるモジュール1は、図1に示すように、絶縁層2と、該絶縁層2に内蔵された環状の磁性体コア3(本発明の「コイルコア」に相当)と、磁性体コア3を螺旋状に巻回するように絶縁層2に設けられたコイル電極4と、磁性体コア3の外側および内側の樹脂層2内に配置された放熱用の金属体5a,5b(本発明の「放熱用部材」に相当)とを備える。
絶縁層2は、例えば、エポキシ樹脂等の熱硬化性樹脂で形成されており、磁性体コア3、金属体5a,5bおよび後述する各外側金属ピン6および各内側金属ピン7を被覆するように形成される。
磁性体コア3は、環状に形成された所謂トロイダルコアであり、例えばフェライトなど、コイルコアとして一般的に用いられる磁性材料で形成されている。
コイル電極4は、環状の磁性体コア3の周囲を螺旋状に巻回するものであり、磁性体コア3の外周側に配置された複数の外側金属ピン6と、磁性体コア3の内周側に配置された複数の内側金属ピン7と、絶縁層2の一方主面(上面)側に配置された複数の上側配線電極8(本発明の「第1接続部材」に相当)と、絶縁層2の他方主面(下面)側に配置された複数の下側配線電極9(本発明の「第2接続部材」に相当)とを備える。
また、図1および図2に示すように、各外側金属ピン6は、磁性体コア3の周方向に交差するようにそれぞれ配置されるとともに、磁性体コア3の外周面に沿って配列されている。各内側金属ピン7は、磁性体コア3の周方向に交差するようにそれぞれ配置されるとともに、磁性体コア3の内周面に沿って配列されている。ここで、各側、側金属ピン6,7は、いずれも上端面が絶縁層2の上面に露出し、下端面が絶縁層2の下面に露出して設けられる。なお、各外側、内側金属ピン6,7は、Cu、Au、Ag、AlやCu系の合金など、配線電極として一般的に採用される金属材料で形成されている。なお、各金属ピン6,7を形成する材料に、Cu系の合金として、Cuよりも剛性が高いCu−FeやCu−Niを採用すると、各金属ピン6,7を細く形成しても折れたり曲がったりするリスクが低減し、ひいては、モジュール1の製造過程などで各金属ピン6,7が倒れて接触するのを防止することができる。また、各金属ピン6,7の表面に防錆処理や絶縁被覆処理を施してもかまわない。各金属ピン6,7に防錆処理を施すと、各金属ピン6,7が酸化して強度や電気特性が低下するのを防止することができる。また、絶縁被覆処理を施すと、隣接する各金属ピン6,7を接触配置した場合のコイル特性の劣化を防止することができるため、コイル電極4の巻数の増加が容易になる。なお、各金属ピン6,7は、上述の金属材料で形成された線材をせん断加工するなどして形成することができる。
また、各内側金属ピン7は、各外側金属ピン6それぞれと複数の対を成すように設けられている。そして、図3に示すように、互いに対を成す外側金属ピン6と内側金属ピン7の一方の端面(上端面)同士が上側配線電極8により接続されている。また、外側金属ピン6の他方の端面(下端面)と、当該外側金属ピンと互いに対を成す内側金属ピンの所定側(図3において反時計方向)に隣接する内側金属ピンの他方の端面とが、1つの下側配線電極9によりそれぞれ接続されている。ここで、各上側配線電極8それぞれは、図3に示すように、平面視において、一端が磁性体コア3の内側に配置されるとともに他端が磁性体コア3の外側に配置された状態で、絶縁層2の上面でコイル電極4の巻回軸方向(コイル電極4の通電時に発生する磁束線の方向)に配列されている。各下側配線電極9それぞれは、一端が磁性体コア3の内側に配置されるとともに他端が磁性体コア3の外側に配置された状態で、絶縁層2の下面でコイル電極4の巻回軸方向に配列されている。各配線電極8,9は、例えば、AgやCu等の金属を含有する導電性ペーストにより形成することができる。このように、各外側、内側金属ピンが各配線電極8,9に接続されることにより、環状の磁性体コア3の周囲を螺旋状に巻回するコイル電極4が絶縁層2に設けられる。なお、各配線電極8,9それぞれは、AgやCu等の導電性ペーストにより形成された下地電極上にCu等によるめっき電極を形成する構成であってもかまわない。このようにすると、各配線電極8,9の配線抵抗を下げることができるため、コイル特性の向上を図ることができる。
また、絶縁層2の両主面には、各上側配線電極8および各下側配線電極9を被覆するように、例えば、絶縁層2を形成する樹脂と同様の熱硬化性樹脂などの樹脂により形成された被覆樹脂層10がそれぞれ積層されている。なお、被覆樹脂層10の代わりにグランド電極が形成された配線基板を使用し、グランド電極と放熱用の金属体5a,5bとを接続するようにしてもよい。この場合、金属体5a,5bによる放熱特性がさらに向上する。
放熱用の金属体5a,5bは、Cu、Al等の金属でそれぞれ形成されており、絶縁層2の内部に配置される。具体的には、図2に示すように、一方の金属体5aは、絶縁層2内の磁性体コア3の外側、詳しくは、各外側金属ピン6の外側の絶縁層2内において、当該各外側金属ピン6を囲むような形状で配置されている。また、他方の金属体5bは、磁性体コア3の内側、詳しくは、各内側金属ピン7の内側の絶縁層2内に配置されている。なお、各外側金属ピン6の外側に配置された金属体5aは、必ずしも、各外側金属ピン6を囲むような形状に形成されていなくてもよく、各外側金属ピン6の外側の絶縁層2内であれば、その形状、配置領域、配置個数については、適宜、変更可能である。また、各内側金属ピン7の内側の絶縁層2内に配置された金属体5bは、なくてもかまわない。
また、金属体5a,5bに代えて、例えば、絶縁層2よりも熱伝導率が高い、窒化アルミや窒化ケイ素等の絶縁体により放熱性部材を形成してもかまわない。
(モジュール1の製造方法)
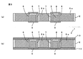
次に、モジュール1の製造方法について、図4および図5を参照して、各金属ピン6,7および放熱用の金属体5a,5bを、それぞれ同じ金属であるCuで形成する場合を例として説明する。なお、図4および図5それぞれは、モジュール1の製造方法を説明するための図であり、図4(a)〜(e)はその各工程、図5(a)および(b)は、図4(e)に続く各工程を示す。
まず、図4(a)に示すように、樹脂等により形成された平板状の支持体11の一方主面に貼り付けられた所定の厚みを有するCuの金属板12を準備する。
次に、図4(b)に示すように、金属板12をエッチングすることにより、各外側金属ピン6、各内側金属ピン7および放熱用の金属体5a,5bを同時形成する。具体的には、支持体11の一方主面に立設されて例えば円環状に配列される複数の外側金属ピン6と、各外側金属ピンの内側で磁性体コア3の配置スペース13を挟み、支持体11の一方主面に立設されて例えば円環状に配列された各外側金属ピン6それぞれと複数の対を成す複数の内側金属ピン7と、各外側金属ピン6の外側および各内側金属ピン7の内側の両方に配置された放熱用の金属体5a,5bとを同時に形成する。ここで、磁性体コア3の配置スペース13は、金属板12の各外側金属ピン6と各内側金属ピン7との間の金属をエッチングで除去することにより形成される。なお、各内側金属ピン7の内側に金属体5bを配置しない構成では、金属板12の各内側金属ピン7に囲まれた領域に位置する金属をエッチングにより除去するとよい。また、各外側金属ピン6および各内側金属ピン7それぞれは、四角形や三角形など、どのような形の環状に配列されていてもよい。
次に、図4(c)に示すように、金属板12のエッチングにより形成された磁性体コア3の配置スペース13に、環状の磁性体コア3を配置する。
次に、図4(d)に示すように、支持体11の一方主面、磁性体コア3、各金属ピン6,7および金属体5a,5bを封止する絶縁層2を形成する。この絶縁層2は、例えば、エポキシ樹脂等の熱硬化性樹脂などから成り、塗布方式、印刷方式、コンプレッションモールド方式、トランスファモールド方式等を用いて形成することができる。
次に、図4(e)に示すように、絶縁層2の両主面を研磨または研削することにより、支持体11を除去するとともに、各金属ピン6,7それぞれの両端面を絶縁層2から露出させる。このとき、磁性体コア3の下面が絶縁層2の下面から露出していてもよい。
次に、図5(a)に示すように、各対を成す外側金属ピン6と内側金属ピン7の上端面同士を接続する各上側配線電極8を絶縁層2の上面に形成するとともに、外側金属ピン6の下端面と、対を成す内側金属ピン7の所定側(図3において反時計方向)に隣接する内側金属ピン7の下端面とをそれぞれ接続する複数の下側配線電極9を絶縁層2の下面に形成する。これらの各配線電極8,9は、例えば、AgやCu等の金属を含有する導電性ペーストをスクリーン印刷するなどして形成することができる。
最後に、図5(b)に示すように、絶縁層2の上面および下面の両主面それぞれに、各配線電極8,9を被覆するように、被覆樹脂層10を積層してモジュール1が完成する。被覆樹脂層10は、エポキシ樹脂等の熱硬化性樹脂を用いたスクリーン印刷などにより形成することができる。なお、被覆樹脂層10は、必ずしも設けなくてもよく、また、絶縁層2の上下の両主面のうちの一方のみに設ける構成であってもかまわない。被覆樹脂層10を配置することで、配線電極8,9の水分などによる腐食等を防ぐことができるが、配線電極8,9が耐腐食性に優れたAuなどの金属で形成されている場合は被覆樹脂層10を必ずしも設ける必要ないからである。
したがって、上記した実施形態によれば、絶縁層2に磁性体コア3を内蔵することにより、磁性体コア3およびコイル電極4で構成されるコイルを実装するための広い実装領域を、絶縁層2の主面に確保する必要がなくなるため、絶縁層2の主面の面積を小さくしてモジュール1の小型化を図ることができる。
また、放熱用の金属体5a,5bを形成する金属は、絶縁層2を形成する樹脂よりも熱伝導率が高いため、磁性体コア3の外側の絶縁層2内に放熱用の金属体5aを配置することで、コイルから発生する熱の放熱特性が向上する。また、磁性体コア3の内側の絶縁層2内にも放熱用の金属体5bが配置されるため、コイルから発生する熱の放熱特性がさらに向上する。
また、磁性体コア3の外側に金属体5aを配置することで、例えば、モジュール1を落下させた場合等、モジュール1の外部から磁性体コア3に応力が加わった場合に、金属体5aがこの応力を緩和する部材として機能するため、外部応力による磁性体コア3の破損を防止することができる。
ところで、放熱用部材を金属(金属体5a,5b)で形成した場合、金属体5a,5bとコイル電極4とが接触するとコイル特性が劣化するおそれがある。また、金属体5a,5bとコイル電極4とが接触しない場合であっても、両者が近接していると、そこに渦電流が発生してコイル特性が劣化する場合もある。そこで、金属体5a,5bに代えて、放熱用部材を窒化アルミや窒化ケイ素等の絶縁体で形成すると、放熱用部材とコイル電極4とが接触したり、近接配置された場合であっても、コイル特性が劣化するのを防止することができる。
また、各外側金属ピン6および各内側金属ピン7は、絶縁層2に貫通孔を設けて形成されるビア導体やスルーホール導体と比較して比抵抗が小さい。そのため、所定の上側配線電極8と下側配線電極9とを接続する導体を、外側金属ピン6または内側金属ピン7で構成することで、コイル電極4全体の抵抗値を小さくすることができるため、モジュール1が備えるコイルの特性を向上することができる。
また、絶縁層2に貫通孔を設けるビア導体やスルーホール導体では、隣接する導体間のピッチを狭くするのに限界があるが、前記貫通孔を設けずに形成される各外側金属ピン6および各内側金属ピン7では、隣接する金属ピン6,7間のピッチを狭くするのが容易である。したがって、隣接する金属ピン6,7間のピッチを狭くしてコイル電極4の巻数を増やすのが容易となるため、限られた絶縁層2内のスペースの中で、インダクタンス値の高いコイルを内蔵するモジュール1を提供することができる。
また、各金属ピン6,7と放熱用の金属体5a,5bとを同じ金属で形成することにより、各金属ピン6,7および金属体5a,5bの同時形成が可能になる。
また、この実施形態のモジュール1の製造方法によれば、エッチングという一般的な技術を用いて、絶縁層2内に配置される各金属ピン6,7、各外側金属ピン6の外側に配置された放熱用の金属体5aおよび各内側金属ピン7の内側に配置された放熱用の金属体5bそれぞれを形成することができる。したがって、磁性体コア3を内蔵して小型化を図りつつ、コイルから発生する熱の放熱特性の向上を図ることができるモジュール1を容易に製造することができる。
また、各外側金属ピン6、各内側金属ピン7および放熱用の金属体5a,5bを、エッチングにより同時形成することができるため、小型かつ放熱特性の優れたモジュール1を安価に製造することができる。
なお、本発明は上記した各実施形態に限定されるものではなく、その趣旨を逸脱しない限りにおいて、上記したもの以外に種々の変更を行なうことが可能である。例えば、上記した実施形態では、各金属ピン6,7と放熱用の金属体5a,5bとが同じ金属で形成される場合のモジュール1の製造方法について説明したが、各金属ピン6,7と金属体5a,5bとが異なる金属で形成される場合には、図4(b)を参照して説明した金属板12のエッチング時に、金属12の金属体5a,5bの配置する部分の金属のみを残すようにして、後から個別に準備された各金属ピン6,7を支持体11の一方主面に実装すればよい。また、所望の形状になるように金属ブロックなどを切削加工することにより、事前に金属体5a,5bを作製しておき、それらを支持体11上に各金属ピン6,7と同様に配置してもかまわない。
また、モジュール1に内蔵するコイルは、トロイダルコイルに限られない。
また、本発明は、絶縁層にコイルコアを内蔵した種々のモジュールに適用することができる。
1 モジュール
2 絶縁層
3 磁性体コア(コイルコア)
4 コイル電極
5a,5b 金属体(放熱用部材)
6 外側金属ピン
7 内側金属ピン
8 上側配線電極(第1接続部材)
9 下側配線電極(第2接続部材)

Claims (5)

  1. 絶縁層と、
    前記絶縁層に内蔵された環状のコイルコアと、
    前記コイルコアを巻回するように前記絶縁層に設けられたコイル電極と、
    前記コイルコアの外側の前記絶縁層内に配置された放熱用部材とを備え
    前記コイル電極は、
    前記コイルコアの周方向に交差するように配置され、前記コイルコアの外周面に沿って配列された複数の外側金属ピンと、前記コイルコアの周方向に交差するように配置され、前記各外側金属ピンそれぞれと複数の対を成すように前記コイルコアの内周面に沿って配列された複数の内側金属ピンと、各対を成す前記外側金属ピンおよび前記内側金属ピンの一方の端面同士を接続する複数の第1接続部材と、前記外側金属ピンの他方の端面と、対を成す前記内側金属ピンの所定側に隣接する前記内側金属ピンの他方の端面とをそれぞれ接続する複数の第2接続部材とを有し、
    前記放熱用部材と前記複数の外側金属ピンと前記複数の内側金属ピンとは、前記コイルコアの周方向に直交する方向の高さが等しいことを特徴とするモジュール。
  2. 前記コイルコアの内側の前記絶縁層内に、前記放熱用部材がさらに配置されていることを特徴とする請求項1に記載のモジュール。
  3. 前記各外側金属ピン、前記各内側金属ピンおよび前記放熱用部材が、同一の金属で形成されていることを特徴とする請求項1または2に記載のモジュール。
  4. 前記各外側金属ピンおよび前記各内側金属ピンと、前記放熱用部材とが異なる金属で形成されていることを特徴とする請求項1または2に記載のモジュール。
  5. 平板状の支持体の一方主面に貼り付けられた金属板を準備する工程と、
    前記金属板をエッチングすることにより、前記支持体の一方主面に立設されて環状に配列される複数の外側金属ピンと、前記各外側金属ピンの内側でコイルコアの配置スペースを挟み、前記支持体の一方主面に立設されて環状に配列され前記各外側金属ピンそれぞれと複数の対を成す複数の内側金属ピンと、前記各外側金属ピンの外側および前記各内側金属ピンの内側のうち、少なくとも前記各外側金属ピンの外側に配置される放熱用部材としての金属体とを同時形成する工程と、
    前記配置スペースに前記コイルコアを配置する工程と、
    前記支持体の一方主面、前記コイルコア、前記各外側金属ピン、前記各内側金属ピンおよび前記金属体を封止する絶縁層を形成する工程と、
    研磨または研削により、前記支持体を除去するとともに、前記各外側金属ピンおよび前記各内側金属ピンそれぞれの両端面を前記絶縁層から露出させる工程と、
    各対を成す前記外側金属ピンおよび前記内側金属ピンの一方の端面同士を接続する複数の第1接続部材と、前記外側金属ピンの他方の端面と、対を成す前記内側金属ピンの所定側に隣接する前記内側金属ピンの他方の端面とをそれぞれ接続する複数の第2接続部材とを形成する工程とを備えることを特徴とするモジュールの製造方法。
JP2016508639A 2014-03-18 2015-02-26 モジュールおよびこのモジュールの製造方法 Expired - Fee Related JP6217841B2 (ja)

Applications Claiming Priority (3)

Application Number Priority Date Filing Date Title
JP2014054855 2014-03-18
JP2014054855 2014-03-18
PCT/JP2015/055642 WO2015141434A1 (ja) 2014-03-18 2015-02-26 モジュールおよびこのモジュールの製造方法

Publications (2)

Publication Number Publication Date
JPWO2015141434A1 JPWO2015141434A1 (ja) 2017-04-06
JP6217841B2 true JP6217841B2 (ja) 2017-10-25

Family

ID=54144410

Family Applications (1)

Application Number Title Priority Date Filing Date
JP2016508639A Expired - Fee Related JP6217841B2 (ja) 2014-03-18 2015-02-26 モジュールおよびこのモジュールの製造方法

Country Status (3)

Country Link
US (1) US10424430B2 (ja)
JP (1) JP6217841B2 (ja)
WO (1) WO2015141434A1 (ja)

Families Citing this family (8)

* Cited by examiner, † Cited by third party
Publication number Priority date Publication date Assignee Title
WO2016043306A1 (ja) * 2014-09-19 2016-03-24 株式会社村田製作所 インダクタ部品およびインダクタ部品の製造方法
US9824811B2 (en) * 2014-12-19 2017-11-21 Texas Instruments Incorporated Embedded coil assembly and method of making
WO2017119423A1 (ja) * 2016-01-06 2017-07-13 株式会社村田製作所 インダクタ部品およびインダクタ部品の製造方法
JP7176544B2 (ja) * 2020-02-19 2022-11-22 株式会社村田製作所 インダクタ部品およびその製造方法
JP7173066B2 (ja) * 2020-02-19 2022-11-16 株式会社村田製作所 インダクタ部品およびその製造方法
JP7247941B2 (ja) * 2020-04-08 2023-03-29 株式会社村田製作所 インダクタ部品およびその製造方法
GB202117336D0 (en) * 2021-12-01 2022-01-12 Rolls Royce Plc Inductor
CN114898965A (zh) * 2022-04-15 2022-08-12 广州致远电子有限公司 磁性线圈组件和磁性线圈组件制作方法

Family Cites Families (7)

* Cited by examiner, † Cited by third party
Publication number Priority date Publication date Assignee Title
JP4485740B2 (ja) * 2002-12-06 2010-06-23 東光株式会社 積層型電子部品
US7158005B2 (en) * 2005-02-10 2007-01-02 Harris Corporation Embedded toroidal inductor
JP2006278841A (ja) 2005-03-30 2006-10-12 Matsushita Electric Ind Co Ltd コイル部品
JP5046720B2 (ja) * 2006-12-22 2012-10-10 京セラ株式会社 コイル内蔵基板
JP5270576B2 (ja) * 2007-01-11 2013-08-21 プラナーマグ インコーポレイテッド 平面型広帯域トランス
JP2011243870A (ja) * 2010-05-20 2011-12-01 Denso Corp コイル実装基板
JP5556692B2 (ja) * 2011-02-15 2014-07-23 トヨタ自動車株式会社 リアクトル

Also Published As

Publication number Publication date
US10424430B2 (en) 2019-09-24
WO2015141434A1 (ja) 2015-09-24
US20170004914A1 (en) 2017-01-05
JPWO2015141434A1 (ja) 2017-04-06

Similar Documents

Publication Publication Date Title
JP6217841B2 (ja) モジュールおよびこのモジュールの製造方法
JP6837432B2 (ja) 高周波モジュール
JP6323553B2 (ja) コイル部品
US10553347B2 (en) Module
JP6365692B2 (ja) コイル部品
JP6292300B2 (ja) コイル部品およびこのコイル部品を備えるモジュール
JP6716866B2 (ja) コイル部品
JP2009218531A (ja) インダクタとその製造方法とこれを用いた回路モジュール
US10418168B2 (en) Inductor and method for manufacturing the same
CN107112111B (zh) 线圈部件
JP6716867B2 (ja) コイル部品およびその製造方法
JP2010027996A (ja) 高周波モジュール及びその製造方法
JP5045508B2 (ja) インダクタとその製造方法とこれを用いた回路モジュール
JP2023103038A (ja) コイル装置
JPWO2016056426A1 (ja) インダクタ部品
JP6315108B2 (ja) パワー半導体のパッケージ素子
JP6520480B2 (ja) コイル部品
JP6607312B2 (ja) インダクタ部品
JP6432674B2 (ja) インダクタ部品
JP2023088119A (ja) インダクタ部品およびインダクタ部品の製造方法
JP2016131190A (ja) コイル部品
WO2017188076A1 (ja) インダクタ部品

Legal Events

Date Code Title Description
A131 Notification of reasons for refusal

Free format text: JAPANESE INTERMEDIATE CODE: A131

Effective date: 20170620

A521 Request for written amendment filed

Free format text: JAPANESE INTERMEDIATE CODE: A523

Effective date: 20170818

TRDD Decision of grant or rejection written
A01 Written decision to grant a patent or to grant a registration (utility model)

Free format text: JAPANESE INTERMEDIATE CODE: A01

Effective date: 20170829

A61 First payment of annual fees (during grant procedure)

Free format text: JAPANESE INTERMEDIATE CODE: A61

Effective date: 20170911

R150 Certificate of patent or registration of utility model

Ref document number: 6217841

Country of ref document: JP

Free format text: JAPANESE INTERMEDIATE CODE: R150

LAPS Cancellation because of no payment of annual fees