JP6207635B2 - ギヤボックスハウジングおよびギヤボックスハウジングの製造方法 - Google Patents

ギヤボックスハウジングおよびギヤボックスハウジングの製造方法 Download PDF

Info

Publication number
JP6207635B2
JP6207635B2 JP2015558383A JP2015558383A JP6207635B2 JP 6207635 B2 JP6207635 B2 JP 6207635B2 JP 2015558383 A JP2015558383 A JP 2015558383A JP 2015558383 A JP2015558383 A JP 2015558383A JP 6207635 B2 JP6207635 B2 JP 6207635B2
Authority
JP
Japan
Prior art keywords
gear housing
housing part
friction stir
flange
stir welding
Prior art date
Legal status (The legal status is an assumption and is not a legal conclusion. Google has not performed a legal analysis and makes no representation as to the accuracy of the status listed.)
Active
Application number
JP2015558383A
Other languages
English (en)
Other versions
JP2016509178A (ja
Inventor
アレクサンダー ディートリヒ,
アレクサンダー ディートリヒ,
ハインツ カール クランプフル,
ハインツ カール クランプフル,
マルクス ライテラー,
マルクス ライテラー,
Original Assignee
マグナ パワートレイン ゲーエムベーハー ウント コ カーゲー
マグナ パワートレイン ゲーエムベーハー ウント コ カーゲー
Priority date (The priority date is an assumption and is not a legal conclusion. Google has not performed a legal analysis and makes no representation as to the accuracy of the date listed.)
Filing date
Publication date
Application filed by マグナ パワートレイン ゲーエムベーハー ウント コ カーゲー, マグナ パワートレイン ゲーエムベーハー ウント コ カーゲー filed Critical マグナ パワートレイン ゲーエムベーハー ウント コ カーゲー
Publication of JP2016509178A publication Critical patent/JP2016509178A/ja
Application granted granted Critical
Publication of JP6207635B2 publication Critical patent/JP6207635B2/ja
Active legal-status Critical Current
Anticipated expiration legal-status Critical

Links

Images

Classifications

    • FMECHANICAL ENGINEERING; LIGHTING; HEATING; WEAPONS; BLASTING
    • F16ENGINEERING ELEMENTS AND UNITS; GENERAL MEASURES FOR PRODUCING AND MAINTAINING EFFECTIVE FUNCTIONING OF MACHINES OR INSTALLATIONS; THERMAL INSULATION IN GENERAL
    • F16HGEARING
    • F16H57/00General details of gearing
    • F16H57/02Gearboxes; Mounting gearing therein
    • F16H57/029Gearboxes; Mounting gearing therein characterised by means for sealing the gearboxes, e.g. to improve airtightness
    • FMECHANICAL ENGINEERING; LIGHTING; HEATING; WEAPONS; BLASTING
    • F16ENGINEERING ELEMENTS AND UNITS; GENERAL MEASURES FOR PRODUCING AND MAINTAINING EFFECTIVE FUNCTIONING OF MACHINES OR INSTALLATIONS; THERMAL INSULATION IN GENERAL
    • F16HGEARING
    • F16H57/00General details of gearing
    • F16H57/02Gearboxes; Mounting gearing therein
    • BPERFORMING OPERATIONS; TRANSPORTING
    • B23MACHINE TOOLS; METAL-WORKING NOT OTHERWISE PROVIDED FOR
    • B23KSOLDERING OR UNSOLDERING; WELDING; CLADDING OR PLATING BY SOLDERING OR WELDING; CUTTING BY APPLYING HEAT LOCALLY, e.g. FLAME CUTTING; WORKING BY LASER BEAM
    • B23K20/00Non-electric welding by applying impact or other pressure, with or without the application of heat, e.g. cladding or plating
    • B23K20/12Non-electric welding by applying impact or other pressure, with or without the application of heat, e.g. cladding or plating the heat being generated by friction; Friction welding
    • B23K20/122Non-electric welding by applying impact or other pressure, with or without the application of heat, e.g. cladding or plating the heat being generated by friction; Friction welding using a non-consumable tool, e.g. friction stir welding
    • B23K20/127Non-electric welding by applying impact or other pressure, with or without the application of heat, e.g. cladding or plating the heat being generated by friction; Friction welding using a non-consumable tool, e.g. friction stir welding friction stir welding involving a mechanical connection
    • BPERFORMING OPERATIONS; TRANSPORTING
    • B23MACHINE TOOLS; METAL-WORKING NOT OTHERWISE PROVIDED FOR
    • B23KSOLDERING OR UNSOLDERING; WELDING; CLADDING OR PLATING BY SOLDERING OR WELDING; CUTTING BY APPLYING HEAT LOCALLY, e.g. FLAME CUTTING; WORKING BY LASER BEAM
    • B23K20/00Non-electric welding by applying impact or other pressure, with or without the application of heat, e.g. cladding or plating
    • B23K20/12Non-electric welding by applying impact or other pressure, with or without the application of heat, e.g. cladding or plating the heat being generated by friction; Friction welding
    • B23K20/122Non-electric welding by applying impact or other pressure, with or without the application of heat, e.g. cladding or plating the heat being generated by friction; Friction welding using a non-consumable tool, e.g. friction stir welding
    • BPERFORMING OPERATIONS; TRANSPORTING
    • B23MACHINE TOOLS; METAL-WORKING NOT OTHERWISE PROVIDED FOR
    • B23KSOLDERING OR UNSOLDERING; WELDING; CLADDING OR PLATING BY SOLDERING OR WELDING; CUTTING BY APPLYING HEAT LOCALLY, e.g. FLAME CUTTING; WORKING BY LASER BEAM
    • B23K20/00Non-electric welding by applying impact or other pressure, with or without the application of heat, e.g. cladding or plating
    • B23K20/22Non-electric welding by applying impact or other pressure, with or without the application of heat, e.g. cladding or plating taking account of the properties of the materials to be welded
    • B23K20/227Non-electric welding by applying impact or other pressure, with or without the application of heat, e.g. cladding or plating taking account of the properties of the materials to be welded with ferrous layer
    • B23K20/2275Non-electric welding by applying impact or other pressure, with or without the application of heat, e.g. cladding or plating taking account of the properties of the materials to be welded with ferrous layer the other layer being aluminium
    • FMECHANICAL ENGINEERING; LIGHTING; HEATING; WEAPONS; BLASTING
    • F16ENGINEERING ELEMENTS AND UNITS; GENERAL MEASURES FOR PRODUCING AND MAINTAINING EFFECTIVE FUNCTIONING OF MACHINES OR INSTALLATIONS; THERMAL INSULATION IN GENERAL
    • F16HGEARING
    • F16H57/00General details of gearing
    • F16H57/02Gearboxes; Mounting gearing therein
    • F16H2057/02039Gearboxes for particular applications
    • F16H2057/02043Gearboxes for particular applications for vehicle transmissions

Landscapes

  • Engineering & Computer Science (AREA)
  • General Engineering & Computer Science (AREA)
  • Mechanical Engineering (AREA)
  • General Details Of Gearings (AREA)
  • Pressure Welding/Diffusion-Bonding (AREA)

Description

本発明は、第1のギヤハウジング部と第2のギヤハウジング部とを備えるギヤハウジング、およびその製造方法に関する。
このようなギヤハウジングは、特に車両技術において使用され、例えば、ギヤボックス、車軸ギヤまたは分配ギヤを収容する役割を果たす。ギヤハウジングは、基本的に2つのギヤハウジング部で構成される。その場合、通常は、一旦ギア部をギヤハウジング部の少なくとも1つ内に設置したうえで、2つのギヤハウジング部を運転上安全に連結する。連結のために、ねじおよびダウエルピンまたはスプリングピンが一般に使用される。ねじの保持のために、ねじ連結領域に、ねじドームなどの拡張材が必要である。これらの拡張材を保護するために、補強を兼ねる保護リブが、ねじ連結領域に適切に設けられる。例えば、ギヤハウジングからの油漏れを防止するために、連結領域を液体または固体の封止材料によって封止しなければならない。
上記の構造型のギヤハウジングは、大きな構造空間を必要とし質量も重い。
特許文献1は、取り外し不能に連結される第1のギヤハウジング部と第2のギヤハウジング部を有するギヤハウジングを開示している。特に、ギヤハウジング部同士を溶接してもよい。しかしながら、従来の溶接方法によってギヤハウジング部を連結したギヤハウジングの場合、ギヤハウジング部の連結に関する動作上の安全性と油密性については、ギヤハウジング部の材料に依存しつつも、不十分な程度でしか適えられていない。
摩擦攪拌接合は、ハウジング部品の連結のためにも使用される既知の溶接方法である。したがって、特許文献2は、ハウジング部を連結するための方法を開示しており、この方法では、補強構造を使用して部品が互いに溶接される。
独国特許出願公開第102007053516号明細書 米国特許出願公開第20080067216号明細書
本発明の目的は、ギヤハウジングを改良することである。特に、大きな構造空間が不要で、軽量であって、強度、音響特性、液密性に優れたギヤハウジングを提供することである。また、本発明の目的は、このようにして改良されるギヤハウジングの製造方法を提供することである。
この目的は、以下のギヤハウジングによって達成される。このギヤハウジングは、第1のギヤハウジング部と第2のギヤハウジング部とを備え、第1のギヤハウジング部と第2のギヤハウジング部とは、摩擦攪拌接合(FSW)連結によって永久的に連結される。ここにおいて、第1のギヤハウジング部と第2のギヤハウジング部とは、フランジによって突き合わせ連結される。ここで、フランジの少なくとも外側肩部(12、13)は、未加工の鋳造材を含む。
この目的はまた、以下のギヤハウジング製造方法によって達成される。この製造方法は、第1のギヤハウジング部と第2のギヤハウジング部とを備えるギヤハウジングの製造方法であって、第1のギヤハウジング部と第2のギヤハウジング部とが準備され、次に、第1のギヤハウジング部と第2のギヤハウジング部とが摩擦攪拌接合によって永久的に連結される。
本発明によれば、2つのギヤハウジング部は、フランジを用いた摩擦攪拌接合によって連結される。それによって、ねじ連結のための拡張材が不要になる。2つのフランジの突き合わせ場所にある、摩擦攪拌接合連結領域は、規則的に、すなわち、溶接継ぎ目(weld seam)に沿って連続的かつ平滑に連結領域が延びるように形成することができる。また、拡張材を保護するために補強リブを設ける必要もない。フランジの構成によって、力はねじドームまたはダウエルピン座から離反する方向に向くのではなく、フランジの全体に分散されるようになる。摩擦攪拌接合連結の溶接継ぎ目は密に形成されるので、溶接継ぎ目の領域に対して追加の封止は不要となる。
ギヤハウジング部を連結するために攪拌摩擦接合を使用していることから、他の溶接方法と比較して、熱入力が非常に小さいため、ギヤハウジング部には最小限の歪みしか生じない。更に、本発明によるギヤハウジングは、摩擦攪拌接合領域における構造に好ましい変化が生じる結果として、軽量で高い強度が得られる。
フランジの内側支持面の材料は、未加工の鋳造材を含んでもよい。第1のギヤハウジング部と第2のギヤハウジング部とを回転対称に構成する必要はない。
ギヤハウジングは、有利には、フランジの領域に位置する厚肉部を有する。厚肉部は、摩擦攪拌接合用工具の排出孔を支持する役割を果たす。有利には、360°よりも大きな角度にわたって溶接され、開始点は過剰溶接される。
第1のギヤハウジング部は、例えば、強度および重量に関して、異なる材料の有利な特性を組み合わせるために、第2のギヤハウジング部の材料と異なる材料を含んでもよい。摩擦攪拌接合の際に、第2のギヤハウジング部の材料と比較して第1のギヤハウジング部の材料が異なる融点を有してもよいので、他の所望の特性に基づいて材料を選択することができる。
特に、第1のギヤハウジング部は鋼を含んでもよく、第2のギヤハウジング部はアルミニウムを含んでもよい。
別の実施形態では、第1のギヤハウジング部は鋼を含んでもよく、第2のギヤハウジング部はマグネシウムを含んでもよい。
別の実施形態では、第1のギヤハウジング部はマグネシウムを含んでもよく、第2のギヤハウジング部はアルミニウムを含んでもよい。
特に好ましい態様では、第1のギヤハウジング部および第2のギヤハウジング部分は、同じ材料を含み、それにより、特に費用効率の高い製造が可能となる。第1のギヤハウジング部および第2のギヤハウジング部はまた、同じタイプの材料が使用される場合には、鋼、アルミニウムまたはマグネシウムを含んでもよい。
特に好ましい態様では、第1のギヤハウジング部および/または第2のギヤハウジング部は、ダイカスト部品である。それによって、費用、重量および剛性に関して最適な特性が達成される。
ギヤハウジング部のうちの1つは、特にアルミダイカストまたはマグネシウムダイカスト製の、カバーであってもよい。
摩擦攪拌接合連結部の領域には、保護リブは必要ではなく、リブの他の位置がギヤハウジングの特性を最適化するのにより適切であり得るので、摩擦攪拌接合連結部の領域にはリブが配設されないことが好ましい。ギヤハウジング部に対して設けるリブおよび壁補強材の箇所は、ギヤハウジングの剛性とギヤハウジングのNVH(騒音・振動・ハーシュネス)挙動(すなわち、ギヤハウジングの音響特性)に対してリブおよび壁補強材が最適に寄与する箇所のみに限定してよい。
この目的のために、第1のギヤハウジング部および/または第2のギヤハウジング部に少なくとも1つのリブ、特に複数のリブが設けられることが好ましい。
第1のギヤハウジング部と第2のギヤハウジング部とを備えるギヤハウジングを製造するために、第1のギヤハウジング部および第2のギヤハウジング部が準備され、次に、第1のギヤハウジング部と第2ギヤハウジング部とが、摩擦攪拌接合によって永久的に連結される。ここで、両ハウジング部は、フランジによって突き合わせ連結され、その際に、摩擦攪拌接合用工具は、フランジの未加工の外側肩部に配置される。
好ましくは、溶接継ぎ目は、摩擦攪拌接合作業中に平滑化および/またはバリ取りされる。特に、この平滑化およびバリ取りは、摩擦攪拌接合装置の工具肩部などの、工具構造部によって溶接作業中に実施することができる。溶接継ぎ目を摩擦攪拌接合後に研磨するようにしてもよい。
有利には、溶接が360°よりも大きい角度にわたって実行され、溶接工具がフランジの厚肉部上で径方向外方に案内される。
溶接作業の準備をするために、ギヤハウジング部同士をダウエルピンによって互いに固定してもよい。
この場合では、摩擦攪拌接合用工具がフランジ間の数ミリメートルまでの間隙を塞ぐことができ、それでもなお、ハウジング部を密に連結できることが有利である。
本発明の発展形態は、従属請求項、明細書および添付図面に明記されている。
図面を参照しながら、例示により、本発明を以下に説明する。
従来技術によるギヤハウジングの3次元概略図である。 本発明によるギヤハウジングの3次元概略図である。 ギヤハウジングの平面図である。 溶接継ぎ目の断面図である。
図1は、従来技術で既に知られているギヤハウジングであって、第1のギヤハウジング部1と第2のギヤハウジング部2とで構成されるギヤハウジングを図示している。ギヤハウジング部1および2を連結するために、ねじ付きのねじドーム6が使用される。特に衝突したときのリスクに備えて、ねじ付きのねじドーム6をしっかりと固定するために、この拡張材の領域には、保護リブとしてリブ5が形成される。また、これらの保護リブは更に、ねじまたはダウエルピンを介して直接かつ集中的に伝達されるように力を導く役割を果たし得る。しかしながら、衝突に対する保護機能を果たすために、保護リブの位置を、保護リブの力伝達機能に合わせて自由にまたは最適に選択することはできない。第1のギヤハウジング部1と第2のギヤハウジング部2との間の分離面は、シール20によって封止される。
図2は、本発明によるギヤハウジングを図示している。ギヤハウジングは、異なる材料を含み得る第1のギヤハウジング部1と第2のギヤハウジング部2とを備える。第1のギヤハウジング部1は、摩擦攪拌接合連結3によって第2のギヤハウジング部2に永久的に連結される。摩擦攪拌接合連結3は、第1のギヤハウジング部1および第2のギヤハウジング部2と共に、均一な表面を形成する。この連結領域にはシールは不要である。第1のギヤハウジング部1および第2のギヤハウジング部2には、リブ4が、剛性の増加と良好なNVH(騒音・振動・ハーシュネス)特性に最適に寄与するようにして配設される。摩擦攪拌接合連結3の領域には、保護リブは設けられない。
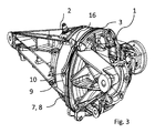
図3は、2つのハウジング部品1および2を有するギヤハウジングの図である。これらハウジング部品は、それぞれのフランジ7、8によって互いに突き合わせ接合される。フランジ連結の箇所において、フランジのうちの一方の領域に径方向の広がり有する厚肉部9が径方向に形成される。この場合では、厚肉部がハウジング部品1のフランジ側に構築されるかハウジング部品2のフランジ側に構築されるかは関係ない。厚肉部内に、排出孔10を確認することができる。2つの部品は、フランジに沿って連続して延びる溶接継ぎ目によって互いに接合される。開始点16で開始して、迅速に回転するピンを備えた摩擦攪拌接合用工具が、フランジ7、8に沿って環状に、次いで、厚肉部の領域に径方向外方に案内される。
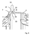
図4は、ギヤハウジング部1、2の接合箇所がどのように構築されるかを断面図で示している。
ギヤハウジング部は、いずれの場合も、より大きな材料厚さによって構築されるフランジで終端する。それによって、接合箇所に力を均一および均質に導入することができる。フランジの領域において材料厚さを増加させる結果として、互いに対して配置されたときに、接合されるべき間隙15を形成する面が形成される。肩部12、13は、フランジ7、8の外側に形成される。摩擦攪拌接合用工具11の下側当接部材14は、これらの肩部12、13に当接する。摩擦攪拌接合による接合作業のために肩部を予め加工する必要はない。これら肩部は、鋳造部品の未加工表面を備えてもよい。摩擦攪拌接合は、この場合、数ミリメートルまでの粗さ、より良好な品質では1.5mmまでの粗さを許容することができる。それによって、加工ステップを省略することができ、かつ接合工程を鋳造部品に直接使用することができる。技術的な製造理由により常に製造される鋳造部品の外皮もまた、工具の可塑化および混合作用による摩擦攪拌接合作業中に金属マトリックスに均質に組み込まれるので問題ではない。間隙15を画定する表面もまた、粗くかつ未加工であってもよい。この場合では、摩擦攪拌接合はまた、数ミリメートルの間隙を許容するが、確実には1ミリメートルまでの間隙を許容する。
接合工程では、ダウエルピンを用いて、ギヤハウジング部1および2を互いに対して位置決めすることができる。
次に、摩擦攪拌接合用工具が位置決めされ、かつ肩部が位置決めされるときに加工物の表面に挿入される工具のピンが、フランジラインに沿って案内される。この場合では、開始点が過剰接合され、工具が既存の溶接継ぎ目に沿って360°を超えて更に数度の角度だけ案内される。この場合では、工具は厚肉部9に向かう方向に外方にゆっくりと案内される。接合作業は、マンドレルが持ち上げられかつ排出孔が残されるその箇所で終了する。
環状の溶接部の外側の画定された箇所に排出孔が作製されることの結果として、溶接部が不浸透性のままである。
1 第1のギヤハウジング部
2 第2のギヤハウジング部
3 摩擦攪拌接合連結
4 リブ
5 リブ
6 ねじ付きのねじドーム
7 フランジハウジング部1
8 フランジハウジング部2
9 厚肉部
10 排出孔
11 摩擦攪拌接合用工具
12 肩フランジ8
13 肩フランジ7
14 下側当接部材(工具肩部)
15 間隙
16 開始点
20 シール

Claims (14)

  1. 第1のギヤハウジング部(1)と第2のギヤハウジング部(2)とを備え、前記第1のギヤハウジング部(1)と前記第2のギヤハウジング部(2)とが永久的に連結される、車両のギヤハウジングであって、
    前記第1のギヤハウジング部(1)と前記第2のギヤハウジング部(2)との間の永久的連結が、摩擦攪拌接合連結(3)によって提供され、
    前記1のギヤハウジング部(1)にある第1のフランジ(7)と前記2のギヤハウジング部(2)にある第2のフランジ(8)とを有するフランジ(7、8)によって、前記第1のギヤハウジング部(1)と前記第2のギヤハウジング部(2)とが突き合わせ連結され、
    前記第1と第2のハウジング部(1、2)の一方には、そのフランジ(7、8)の領域に径方向厚肉部(9)が設けられ、
    前記摩擦攪拌接合連結(3)はその領域が、360°よりも大きな角度にわたって環状に形成され、
    前記径方向厚肉部(9)は、前記摩擦攪拌接合連結(3)の領域のうち前記360°を超えた延長部分を画定するように構成される、
    ギヤハウジング。
  2. 前記フランジ(7、8)が、前記ギヤハウジングにかかる力を広範囲にわたって吸収するように構成される、請求項1に記載のギヤハウジング。
  3. 前記第1のギヤハウジング部(1)が、前記第2のギヤハウジング部(2)の材料と異なる材料を含む、請求項1に記載のギヤハウジング。
  4. 前記フランジの内側支持面(15)の少なくとも1つが、未加工の鋳造材を含む、請求項1に記載のギヤハウジング。
  5. 前記フランジの少なくとも外側肩部(12、13)が未加工の鋳造材を含む、請求項1に記載のギヤハウジング。
  6. 前記径方向厚肉部(9)が、摩擦攪拌接合用工具(11)の排出孔(10)を含む、請求項1に記載のギヤハウジング。
  7. 前記摩擦攪拌接合連結(3)領域には、リブ(4、5)が配設されない、請求項1に記載のギヤハウジング。
  8. 第1のギヤハウジング部(1)と第2のギヤハウジング部(2)とを備える、車両のギヤハウジングの製造方法であって、
    前記第1のギヤハウジング部(1)および前記第2のギヤハウジング部(2)を準備し、次に、
    前記第1のギヤハウジング部(1)と前記第2のギヤハウジング部(2)とを永久的に連結する工程を有し、
    摩擦攪拌接合を実施することによって、前記第1のギヤハウジング部(1)と前記第2のギヤハウジング部(2)との間の永久的な連結を構成する摩擦攪拌接合連結(3)がなされ、
    前記1のギヤハウジング部(1)にある第1のフランジ(7)と前記2のギヤハウジング部(2)にある第2のフランジ(8)とを有するフランジ(7、8)によって、前記第1のギヤハウジング部(1)と前記第2のギヤハウジング部(2)とが突き合わされて位置決めされ、摩擦攪拌接合用工具(11)の肩部が前記フランジの未加工の外側肩部(12、13)上に位置する状態で摩擦攪拌接合用工具(11)が位置決めされ、
    前記第1と第2のギヤハウジング部(1、2)の一方には、そのフランジ(7、8)の領域に径方向厚肉部(9)が設けられ、
    前記摩擦攪拌接合連結(3)はその領域が、360°よりも大きな角度にわたって環状に形成され、
    前記径方向厚肉部(9)は、前記摩擦攪拌接合連結(3)の領域のうち前記360°を超えた延長部分を画定する、
    ギヤハウジングの製造方法。
  9. 前記摩擦攪拌接合連結(3)に係る溶接継ぎ目が、摩擦攪拌接合によって平滑化および/またはバリ取りされる、請求項8に記載の方法。
  10. 前記第1のギヤハウジング部(1)が、前記第2のギヤハウジング部(2)の材料と異なる材料を含む、請求項8に記載の方法。
  11. 前記フランジの内側支持面(15)の少なくとも1つが、未加工の鋳造材を含む、請求項8に記載の方法。
  12. 前記径方向厚肉部(9)が、摩擦攪拌接合用工具(11)の排出孔(10)を含む、請求項8に記載の方法。
  13. 前記第1と第2のギヤハウジング部(1、2)が、溶接作業の前にダウエルピンによって固定される、請求項8に記載の方法。
  14. 前記摩擦攪拌接合用工具が、前記フランジ間の1mmまでの間隙を塞ぎかつ前記第1と第2のギヤハウジング部(1、2)を密に連結する、請求項8に記載の方法。
JP2015558383A 2013-02-22 2014-01-22 ギヤボックスハウジングおよびギヤボックスハウジングの製造方法 Active JP6207635B2 (ja)

Applications Claiming Priority (3)

Application Number Priority Date Filing Date Title
DE102013202952.7 2013-02-22
DE102013202952 2013-02-22
PCT/EP2014/051214 WO2014127950A1 (de) 2013-02-22 2014-01-22 Getriebegehäuse und verfahren zur herstellung eines getriebegehäuses

Publications (2)

Publication Number Publication Date
JP2016509178A JP2016509178A (ja) 2016-03-24
JP6207635B2 true JP6207635B2 (ja) 2017-10-04

Family

ID=50000976

Family Applications (1)

Application Number Title Priority Date Filing Date
JP2015558383A Active JP6207635B2 (ja) 2013-02-22 2014-01-22 ギヤボックスハウジングおよびギヤボックスハウジングの製造方法

Country Status (7)

Country Link
US (1) US20150377338A1 (ja)
JP (1) JP6207635B2 (ja)
KR (1) KR20150110655A (ja)
CN (1) CN105026795B (ja)
DE (1) DE112014000942A5 (ja)
MX (1) MX2015010929A (ja)
WO (1) WO2014127950A1 (ja)

Families Citing this family (8)

* Cited by examiner, † Cited by third party
Publication number Priority date Publication date Assignee Title
DE102016209549A1 (de) * 2016-06-01 2017-12-07 Voith Patent Gmbh Stirnradgetriebe
DE102017209979A1 (de) * 2017-06-13 2018-12-13 Zf Friedrichshafen Ag Verfahren zur Herstellung eines Getriebegehäuseteils mit einem Ölbunker, Getriebegehäuseteil mit Ölbunker und Getriebevorrichtung
CN111250860A (zh) * 2018-11-30 2020-06-09 华孚精密科技(马鞍山)有限公司 一种大尺寸压铸产品的制造方法
DE102019210828A1 (de) * 2019-07-22 2021-01-28 Audi Ag Rührreibschweißen eines Werkstücks
DE102019219128A1 (de) * 2019-12-09 2021-06-10 Zf Friedrichshafen Ag Antriebseinheit für ein Flurförderzeug, Baukastensystem für das Zusammenstellen einer Antriebseinheit für ein Flurförderzeug, Flurförderzeug und Verfahren zur Montage einer Antriebseinheit für ein Flurförderzeug
DE102019220326A1 (de) * 2019-12-20 2021-06-24 Robert Bosch Gmbh Verfahren zur Herstellung eines Hydraulikgehäuses, Hydraulikgehäuse
JP7472623B2 (ja) * 2020-04-21 2024-04-23 株式会社アイシン アルミケース及びアルミケースの製造方法
EP4303049A1 (en) * 2022-07-05 2024-01-10 Volvo Car Corporation Motor and transmission assembly for a vehicle

Family Cites Families (19)

* Cited by examiner, † Cited by third party
Publication number Priority date Publication date Assignee Title
AT11066B (de) * 1899-09-28 1903-03-10 Emil Dr Bronnert Verfahren zur Herstellung von hochprozentigen Lösungen von Cellulose in Chlorzinklösungen.
US5203221A (en) * 1991-10-15 1993-04-20 The Falk Corporation Shaft mountable gear drive
US5484332A (en) * 1992-08-28 1996-01-16 Rhone-Poulenc Inc. Poultry washing apparatus and method
DE4317073A1 (de) * 1993-05-21 1994-11-24 Porsche Ag Differentialgehäuse für den Achsantrieb eines Kraftfahrzeuges
US5431325A (en) * 1993-12-27 1995-07-11 Ford Motor Company Method and apparatus for producing hermetic torque converter seam
DE19615007A1 (de) * 1996-04-16 1997-10-23 Mekra Lang Gmbh & Co Kg Getriebe-Einheit
JP3897391B2 (ja) * 1997-03-25 2007-03-22 昭和電工株式会社 金属製接合部材の摩擦撹拌接合法
DE19905625A1 (de) * 1998-02-17 1999-08-19 Luk Getriebe Systeme Gmbh Kraftübertragungseinrichtung
JP2000176581A (ja) * 1998-12-09 2000-06-27 Tokai Rubber Ind Ltd アーム用部材の製造方法
JP4558173B2 (ja) * 2000-10-23 2010-10-06 住友軽金属工業株式会社 アルミニウム材の接合方法及びアルミニウム材接合製品
DE102006008239A1 (de) * 2006-02-22 2007-08-23 Volkswagen Ag Schweißverbindungsanordnung für ein Gehäuse, insbesondere Getriebegehäuse eines Fahrzeugs
JP4828255B2 (ja) * 2006-02-24 2011-11-30 日立オートモティブシステムズ株式会社 ディスクブレーキ
US20080053700A1 (en) * 2006-09-06 2008-03-06 O'connor Kurt F Sealed electronic component
JP5003287B2 (ja) 2006-09-14 2012-08-15 日産自動車株式会社 容器の接合構造、トルクコンバータケースの接合構造、および容器の接合方法
DE102007053516A1 (de) * 2007-11-09 2009-05-14 Bayerische Motoren Werke Aktiengesellschaft Getriebegehäuse, insbesondere für Fahrzeuggetriebe
JP2009274117A (ja) * 2008-05-15 2009-11-26 Nippon Light Metal Co Ltd 中空部を有する部材の摩擦攪拌接合方法
AT11066U1 (de) * 2008-11-28 2010-04-15 Alutech Gmbh Drucktank
JP5221411B2 (ja) * 2009-02-19 2013-06-26 本田技研工業株式会社 摩擦撹拌接合の接合制御方法
JP5136516B2 (ja) * 2009-06-02 2013-02-06 日本軽金属株式会社 密閉容器の製造方法

Also Published As

Publication number Publication date
JP2016509178A (ja) 2016-03-24
WO2014127950A1 (de) 2014-08-28
CN105026795A (zh) 2015-11-04
KR20150110655A (ko) 2015-10-02
DE112014000942A5 (de) 2015-12-10
MX2015010929A (es) 2017-05-01
US20150377338A1 (en) 2015-12-31
CN105026795B (zh) 2017-06-23

Similar Documents

Publication Publication Date Title
JP6207635B2 (ja) ギヤボックスハウジングおよびギヤボックスハウジングの製造方法
JP5614054B2 (ja) ビーム溶接部材およびこれを備えた差動装置
JP5204788B2 (ja) 異材継手構造、該異材継手構造を備えるタンク用スカート、該タンク用スカートを備える輸送船、及び異種金属部材の接合方法
KR101810802B1 (ko) 유체 커플링의 제조 방법 및 유체 커플링
JP2011167746A (ja) ビーム溶接部材およびこれを備えた差動装置
JP6148385B2 (ja) アルミニウム構造部材
US11806801B2 (en) Joining method
US20140083191A1 (en) Joint structure by welding and welding quality inspection method thereof
JP6071132B2 (ja) 接合体
JP5915802B2 (ja) 摩擦攪拌接合方法
JP2006239734A (ja) 溶接継手およびその形成方法
JP2010253534A (ja) 冷却路内蔵部材および冷却路内蔵部材の製造方法
KR20140087406A (ko) 마찰교반용접용 툴
JP6721451B2 (ja) 部材の加工方法および部材の接合方法
KR20130068260A (ko) 마찰교반접합에 의한 모터케이스의 용접 방법 및 그에 의해 형성된 모터케이스
JP2020059041A (ja) 異材接合方法、異材接合継手、異材接合用補助部材付き管状部材及びその製造方法
JP6756105B2 (ja) 接合方法
JP6560880B2 (ja) 肥大加工用の金型及び肥大加工方法
JP2009279595A (ja) 接合方法
KR101973745B1 (ko) 요크 제조방법
JP6095435B2 (ja) 割出しテーブル
EP2326456B1 (en) Method of manufacturing by laser welding a vehicle axle
JP7205102B2 (ja) 回転電機用ロータ
JP6164337B2 (ja) 摩擦攪拌接合方法
JP2007283348A (ja) 溶接方法およびこれにより溶接されたリングギア部材

Legal Events

Date Code Title Description
A621 Written request for application examination

Free format text: JAPANESE INTERMEDIATE CODE: A621

Effective date: 20151008

A977 Report on retrieval

Free format text: JAPANESE INTERMEDIATE CODE: A971007

Effective date: 20160902

A131 Notification of reasons for refusal

Free format text: JAPANESE INTERMEDIATE CODE: A131

Effective date: 20160920

A521 Request for written amendment filed

Free format text: JAPANESE INTERMEDIATE CODE: A523

Effective date: 20161109

A521 Request for written amendment filed

Free format text: JAPANESE INTERMEDIATE CODE: A523

Effective date: 20161110

A131 Notification of reasons for refusal

Free format text: JAPANESE INTERMEDIATE CODE: A131

Effective date: 20170411

A521 Request for written amendment filed

Free format text: JAPANESE INTERMEDIATE CODE: A523

Effective date: 20170414

TRDD Decision of grant or rejection written
A01 Written decision to grant a patent or to grant a registration (utility model)

Free format text: JAPANESE INTERMEDIATE CODE: A01

Effective date: 20170808

A61 First payment of annual fees (during grant procedure)

Free format text: JAPANESE INTERMEDIATE CODE: A61

Effective date: 20170905

R150 Certificate of patent or registration of utility model

Ref document number: 6207635

Country of ref document: JP

Free format text: JAPANESE INTERMEDIATE CODE: R150

R250 Receipt of annual fees

Free format text: JAPANESE INTERMEDIATE CODE: R250

R250 Receipt of annual fees

Free format text: JAPANESE INTERMEDIATE CODE: R250

R250 Receipt of annual fees

Free format text: JAPANESE INTERMEDIATE CODE: R250

R250 Receipt of annual fees

Free format text: JAPANESE INTERMEDIATE CODE: R250

R250 Receipt of annual fees

Free format text: JAPANESE INTERMEDIATE CODE: R250

R250 Receipt of annual fees

Free format text: JAPANESE INTERMEDIATE CODE: R250