JP6187807B2 - ボールねじ装置 - Google Patents

ボールねじ装置 Download PDF

Info

Publication number
JP6187807B2
JP6187807B2 JP2013107273A JP2013107273A JP6187807B2 JP 6187807 B2 JP6187807 B2 JP 6187807B2 JP 2013107273 A JP2013107273 A JP 2013107273A JP 2013107273 A JP2013107273 A JP 2013107273A JP 6187807 B2 JP6187807 B2 JP 6187807B2
Authority
JP
Japan
Prior art keywords
ball
ball nut
cylinder
peripheral surface
path
Prior art date
Legal status (The legal status is an assumption and is not a legal conclusion. Google has not performed a legal analysis and makes no representation as to the accuracy of the status listed.)
Expired - Fee Related
Application number
JP2013107273A
Other languages
English (en)
Other versions
JP2014199132A (ja
Inventor
田代 明義
明義 田代
奈保子 尾崎
奈保子 尾崎
Current Assignee (The listed assignees may be inaccurate. Google has not performed a legal analysis and makes no representation or warranty as to the accuracy of the list.)
JTEKT Corp
Original Assignee
JTEKT Corp
Priority date (The priority date is an assumption and is not a legal conclusion. Google has not performed a legal analysis and makes no representation as to the accuracy of the date listed.)
Filing date
Publication date
Application filed by JTEKT Corp filed Critical JTEKT Corp
Priority to JP2013107273A priority Critical patent/JP6187807B2/ja
Priority to EP14158024.1A priority patent/EP2778476B1/en
Priority to CN201410081842.4A priority patent/CN104048010B/zh
Priority to US14/206,594 priority patent/US9416856B2/en
Publication of JP2014199132A publication Critical patent/JP2014199132A/ja
Application granted granted Critical
Publication of JP6187807B2 publication Critical patent/JP6187807B2/ja
Expired - Fee Related legal-status Critical Current
Anticipated expiration legal-status Critical

Links

Images

Classifications

    • FMECHANICAL ENGINEERING; LIGHTING; HEATING; WEAPONS; BLASTING
    • F16ENGINEERING ELEMENTS AND UNITS; GENERAL MEASURES FOR PRODUCING AND MAINTAINING EFFECTIVE FUNCTIONING OF MACHINES OR INSTALLATIONS; THERMAL INSULATION IN GENERAL
    • F16HGEARING
    • F16H25/00Gearings comprising primarily only cams, cam-followers and screw-and-nut mechanisms
    • F16H25/18Gearings comprising primarily only cams, cam-followers and screw-and-nut mechanisms for conveying or interconverting oscillating or reciprocating motions
    • F16H25/20Screw mechanisms
    • F16H25/22Screw mechanisms with balls, rollers, or similar members between the co-operating parts; Elements essential to the use of such members
    • F16H25/2204Screw mechanisms with balls, rollers, or similar members between the co-operating parts; Elements essential to the use of such members with balls
    • FMECHANICAL ENGINEERING; LIGHTING; HEATING; WEAPONS; BLASTING
    • F16ENGINEERING ELEMENTS AND UNITS; GENERAL MEASURES FOR PRODUCING AND MAINTAINING EFFECTIVE FUNCTIONING OF MACHINES OR INSTALLATIONS; THERMAL INSULATION IN GENERAL
    • F16HGEARING
    • F16H25/00Gearings comprising primarily only cams, cam-followers and screw-and-nut mechanisms
    • F16H25/18Gearings comprising primarily only cams, cam-followers and screw-and-nut mechanisms for conveying or interconverting oscillating or reciprocating motions
    • F16H25/20Screw mechanisms
    • F16H25/22Screw mechanisms with balls, rollers, or similar members between the co-operating parts; Elements essential to the use of such members
    • F16H25/2204Screw mechanisms with balls, rollers, or similar members between the co-operating parts; Elements essential to the use of such members with balls
    • F16H25/2214Screw mechanisms with balls, rollers, or similar members between the co-operating parts; Elements essential to the use of such members with balls with elements for guiding the circulating balls
    • FMECHANICAL ENGINEERING; LIGHTING; HEATING; WEAPONS; BLASTING
    • F16ENGINEERING ELEMENTS AND UNITS; GENERAL MEASURES FOR PRODUCING AND MAINTAINING EFFECTIVE FUNCTIONING OF MACHINES OR INSTALLATIONS; THERMAL INSULATION IN GENERAL
    • F16HGEARING
    • F16H25/00Gearings comprising primarily only cams, cam-followers and screw-and-nut mechanisms
    • F16H25/18Gearings comprising primarily only cams, cam-followers and screw-and-nut mechanisms for conveying or interconverting oscillating or reciprocating motions
    • F16H25/20Screw mechanisms
    • F16H25/22Screw mechanisms with balls, rollers, or similar members between the co-operating parts; Elements essential to the use of such members
    • F16H25/2247Screw mechanisms with balls, rollers, or similar members between the co-operating parts; Elements essential to the use of such members with rollers
    • F16H2025/2271Screw mechanisms with balls, rollers, or similar members between the co-operating parts; Elements essential to the use of such members with rollers with means for guiding circulating rollers
    • YGENERAL TAGGING OF NEW TECHNOLOGICAL DEVELOPMENTS; GENERAL TAGGING OF CROSS-SECTIONAL TECHNOLOGIES SPANNING OVER SEVERAL SECTIONS OF THE IPC; TECHNICAL SUBJECTS COVERED BY FORMER USPC CROSS-REFERENCE ART COLLECTIONS [XRACs] AND DIGESTS
    • Y10TECHNICAL SUBJECTS COVERED BY FORMER USPC
    • Y10TTECHNICAL SUBJECTS COVERED BY FORMER US CLASSIFICATION
    • Y10T74/00Machine element or mechanism
    • Y10T74/19Gearing
    • Y10T74/19642Directly cooperating gears
    • Y10T74/19698Spiral
    • Y10T74/19702Screw and nut
    • Y10T74/19744Rolling element engaging thread

Landscapes

  • Engineering & Computer Science (AREA)
  • General Engineering & Computer Science (AREA)
  • Mechanical Engineering (AREA)
  • Transmission Devices (AREA)

Description

この発明はボールねじ装置に関する。
下記特許文献1のボールねじ装置には、ボール転動路の一端部と他端部とを連通してボールを軌道循環させるための循環路が設けられている。この循環路は、ボールねじナットの周壁を軸方向に貫通して形成される貫通孔と、貫通孔の一端とボール転動路の一端部とを連通する注入側の連通路と、貫通孔の他端とボール転動路の他端部とを連通する反注入側の連通路とを含む。注入側の連通路は、ボールナットの周壁に装着される注入側こま部材に形成され、反注入側の連通路は、ボールナットの周壁に装着される反注入側こま部材に形成される。
特開2010−71411号公報
特許文献1の貫通孔はたとえばドリル加工を用いて形成されている。ドリル加工による加工の容易さのために、貫通孔は、ボールナット(ボールねじナット)の軸方向に沿って延びている必要がある。
しかしながら、貫通孔が軸方向に沿って延びるものに限定されるとすると、一対のコマ(注入側こま部材または反注入側こま部材)の周方向の配置位置が制約されることになる。そのため、このような構成を採用するボールねじ装置では、採用可能な巻数が自ずと限られ、1.7巻や2.7巻のように小数点以下が共通の所定の値(たとえば7)となる巻数に限られていた。具体的には、たとえば、理論上必要なボールねじ装置の有効巻数がたとえば理論上2.3であっても、2.7の有効巻数を有するボールねじ装置を採用する必要があった。したがって、ボールねじ装置が軸方向に大型化するおそれがあった。
コマの配置位置に周方向の制約がなくなると、ボールねじ装置の理論上の有効巻数をそのまま採用でき、その結果、ボールねじ装置を軸方向に小型化することが可能になる。
そこで、この発明は、ボール転動路内においてスムーズなボールの循環を実現させつつ、コマの配置位置のレイアウトの自由度を高めることができるボールねじ装置を提供することを目的とする。
前記の目的を達成するための請求項1に記載の発明は、外周面(22A)にねじ溝(41)が形成されたねじ軸(22)と、前記ねじ軸に対して外嵌され、内周面(10A)にねじ溝(43)が形成されたボールナット(10)と、前記ボールナットおよび前記ねじ軸の互いのねじ溝によって形成される螺旋状のボール転動路(47)内に転動可能にセットされた複数のボール(24)と、前記ボールナットの外周を包囲するように設けられた円筒(12;312)と含み、前記ボール転動路内において、前記ねじ軸の軸方向(X)に関して間隔を空けた少なくとも2つの収容凹所形成位置(47A,47B)には、前記ボールナットの周壁(10C)を厚み方向に貫通する収容凹所(45)が形成されており、前記ボールナットの外周面(10B)には、当該ボールナットの外周に沿って螺旋状に旋回する外周旋回溝(49)が形成され、この外周旋回溝と前記円筒の内周面(12A;312A)とによって、前記ボールが転動可能な旋回転動路(60)が形成されており、各収容凹所に収容され、各収容凹所形成位置と前記旋回転動路とを接続する接続路(54,154,254)を有するコマ(40;340)と、前記円筒の内周面に形成された係合凹所(48;348;348A,348B)を有し、前記収容凹所に収容されている前記コマが前記係合凹所に係合することにより前記円筒の前記ボールナットに対する相対回転を阻止する相対回転阻止構造(48;348;348A,348B)とをさらに含み、前記旋回転動路および2つの前記接続路によって、一方の前記収容凹所形成位置の前記ボールを、他方の前記収容凹所形成位置に戻すための循環路(61)が形成される、ボールねじ装置(11;311)である。
なお、この項において、括弧内の英数字は、後述の実施形態における対応構成要素の参照符合を表すものであるが、これらの参照符号により特許請求の範囲を実施形態に限定する趣旨ではない。
この構成によれば、ボールは、ボール転動路内を、他方の収容凹所形成位置から一方の収容凹所形成位置まで転動する。そして、ボールは、一方の収容凹所形成位置から一方のコマの接続路を通って、ボールナットの外周面の外周旋回溝に掬い上げられる。外周旋回溝に掬い上げられたボールは、当該外周旋回溝によって形成される旋回転動路を通ってボールナットの外周を旋回した後、他方のコマの接続路を通って、ボール転動路内の他方の収容凹所形成位置に戻される。すなわち、ボール転動路内における一方の収容凹所形成位置のボールが、旋回転動路を含む循環路によって、ボール転動路内における他方の収容凹所形成位置に戻される。これにより、ボールを、ボール転動路内でスムーズに循環させることができる。
また、ボールナットの外周面の外周旋回溝と円筒の内周面とによって、循環路に含まれる旋回転動路が形成される。そのため、2つの収容凹所形成位置が軸方向および周方向に如何なる相対関係を有していても、一方の収容凹所形成位置と他方の収容凹所形成位置とを循環路でつなぐことが可能である。そのため、コマの相対的な配置位置に、軸方向に沿って延びる貫通孔をボールナットの周壁に形成する場合のような周方向の制約がない。これにより、コマの配置位置のレイアウトの自由度を高めることができる。そして、コマの配置位置に周方向の制約がなくなる結果、ボールねじ装置の理論上の有効巻数をそのまま採用でき、ゆえに、ボールねじ装置を軸方向に小型化することが可能になる。
また、コマが係合凹所に係合することにより、円筒のボールナットに対する相対回転が阻止される。これにより、他の部材を用いることなく、相対回転阻止構造を設けることができ、これにより、円筒のボールナットに対する相対回転を阻止しつつ、部品点数が増加するのを防止できる。
この発明の一実施形態に係るボールねじ装置は、請求項2に記載のように、前記係合凹所は、前記円筒の内周面の前記軸方向の途中部で当該円筒を厚み方向に貫通する係合穴(48)を含んでいてもよい。
この場合、請求項に記載のように、前記円筒の前記内周面が、円筒面のみによって形成されていてもよい。
また、この発明の他の実施形態に係るボールねじ装置は、請求項に記載のように、前記係合凹所は、前記円筒の内周面に形成され、前記軸方向に沿って延びる係合溝(348)を含んでいてもよい
また、請求項に記載のように、前記外周旋回溝に前記ボールが収容された状態で前記ボールナットの外周面よりも外側に当該ボールがはみ出ないように、(外周旋回溝の全域における)前記外周旋回溝の深さ(D)が設定されていてもよい。
また、請求項に記載のように、前記ボールナットおよび前記円筒は、前記ボールナットの外周面と前記円筒の内周面との間に所定の空間(SP)が形成されるように設けられており、前記外周旋回溝に前記ボールが収容された状態で前記ボールナットの外周面よりも外側に当該ボールがはみ出るように、(外周旋回溝の全域における)前記外周旋回溝の深さ(D1)が設定されていてもよい。
本発明の第1実施形態に係るボールねじ装置が適用された電動アクチュエータの模式的な断面図である。 本発明の第1実施形態に係るボールねじ装置の模式的な側面図である。 本発明の第1実施形態に係るボールねじ装置の分解斜視図である。 本発明の第1実施形態に係るボールねじ装置の模式的な縦断面図である。 本発明の第1実施形態に係るコマの斜視図である(その1)。 本発明の第1実施形態に係るコマの斜視図である(その2)。 コマの装着状態においてボールナットを径方向外方から見た図である。 図6の切断面線A−Aから見た断面図である。 図7の切断面線B−Bから見た断面図である。 図6の切断面線C−Cから見た断面図である。 本発明の第1実施形態の第1変形例に係る外周旋回溝とねじ溝との接続を説明するための図である。 本発明の第1実施形態の第2変形例に係る収容穴およびコマの配置を説明するための図である。 本発明の第1実施形態の第3変形例に係るコマの構成を示す要部断面図である。 本発明の第2実施形態に係るボールねじ装置の分解斜視図である。 本発明の第2実施形態に係るボールねじ装置の模式的な縦断面図である。 本発明の第2実施形態に係る円筒の模式的な断面図である。 本発明の第2実施形態に係る円筒の模式的な側面図である。 本発明の第2実施形態に係るボールねじ装置の模式的な横断面図である(その1)。 本発明の第2実施形態に係るボールねじ装置の模式的な横断面図である(その2)。 本発明の第2実施形態の第1変形例に係る円筒の模式的な横断面図である。 本発明の第2実施形態の第1変形例に係る円筒の模式的な側面図である。 本発明の第2実施形態の第2変形例に係る円筒の模式的な側面図である。 他の形態に係るボールねじ装置の分解斜視図である。 他の形態に係るボールねじ装置の模式的な縦断面図である(その1)。 他の形態に係るボールねじ装置の模式的な縦断面図である(その2)。 他の形態に係るボールねじ装置の模式的な横断面図である(その1)。 他の形態に係るボールねじ装置の模式的な横断面図である(その2)。
以下では、本発明の実施形態を、添付図面を参照して詳細に説明する。
<第1実施形態>
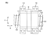
図1は、本発明の第1実施形態に係るボールねじ装置11が適用された電動アクチュエータ1の模式的な断面図である。電動アクチュエータ1は、駆動軸2を軸方向Xに出退させることにより駆動対象を駆動する。
電動アクチュエータ1は、電動モータ3と、駆動軸2と、電動モータ3の回転トルクを伝達する減速機構4と、減速機構4を介して伝達された電動モータ3の回転トルクを、駆動軸2の軸方向Xの直線運動に変換するボールねじ装置11と、駆動軸2、減速機構4およびボールねじ装置11を収容するハウジング6とを備えている。
ハウジング6は、第1ハウジング6Aと、その端面に突き合わされた第2ハウジング6Bとを有し、固定ボルト(図示しない)によって互いに結合されている。
電動モータ3は、第1ハウジング6Aに取り付けられている。電動モータ3の出力軸3Aは第1ハウジング6Aを挿通し、第2ハウジング6Bに装着された転がり軸受7によって回転可能に支持されている。
駆動軸2は、ボールねじ装置11のねじ軸22と一体に形成されている。駆動軸2は、第2ハウジング6B内において、すべり軸受14を介して回転可能に支持されている。
減速機構4は、第1歯車8と、第2歯車9とを備えている。第1歯車8は、第1および第2ハウジング6A,6Bの間に収容配置されており、電動モータ3の出力軸3Aの端部に相対回転不能に取り付けられている。第2歯車9は、ボールナット10の外周に外嵌され、かつ第1歯車8に噛み合っている。ボールナット10は、第1ハウジング6Aの内周に外嵌装着された転がり軸受13、および第2ハウジング6Bの内周に装着された転がり軸受16によって回転可能に支持されている。第2歯車9、転がり軸受13および転がり軸受16は、ボールナット10の外周に外嵌固定されている。
図2は、ボールねじ装置11の模式的な側面図である。図3は、ボールねじ装置11の分解斜視図である。図3では、ボールねじ装置11のうちねじ軸22を省略した構成を示している。図4は、ボールねじ装置11の模式的な縦断面図である。
図2〜図4に示すように、ボールねじ装置11は、軸方向Xに沿って延びるねじ軸22と、ねじ軸22に対して外嵌されたボールナット10と、ねじ軸22とボールナット10との間に介在された複数のボール24と、ボールナット10の外周を包囲する円筒12と、一対のコマ40とを含む。また、換言すると、軸方向Xは、ねじ軸22の軸方向である。ボールねじ装置11は、理論上必要な有効巻数が2.7であり、その理論上の有効巻数をそのまま採用している。
図2および図4に示すように、ねじ軸22の外周面22Aにはねじ溝41が形成されている。ねじ溝41は、ねじ軸22の円中心を中心として旋回しながら軸方向Xの他方(図2および図4の右方)へ徐々にずれる螺旋状の溝である。ねじ溝41の断面は、略U字状の湾曲面である。外周面22Aには、軸方向Xに隣り合うねじ溝41の境界をなす螺旋状のねじ山42が形成されている。
図3および図4に示すように、ボールナット10は、鋼などの金属を用いて形成され、軸方向Xに延びる筒状体である。その内周面10Aおよび外周面10Bは、軸方向Xに延びる中心軸を有する円筒面となっている。
ボールナット10の内周面10Aには、ねじ溝43が形成されている。ねじ溝43は、内周面10Aの円中心を中心として旋回しながら軸方向Xの他方(図4の右方)へ徐々にずれる螺旋状の溝である。ねじ溝43の断面は、略U字状の湾曲面である。内周面10Aには、軸方向Xに隣り合うねじ溝43の境界をなす螺旋状のねじ山44が形成されている。
ボールナット10の内周面10Aには、2つの収容穴(収容凹所)45が形成されている。2つの収容穴45は、内周面10Aにおいて、軸方向Xに間隔を空けられた転動開始位置(他方の収用凹所形成位置)47Aおよび転動終了位置(一方の収容凹所形成位置)47Bに配置されている。より具体的には、転動開始位置47Aおよび転動終了位置47Bは、内周面10Aのねじ溝43の内壁に開口している。2つの収容穴45は、平行になった状態で、軸方向Xに間隔を隔てて(この実施形態では、ねじ溝43の3つ分に相当)に間隔を隔てて配置されている。各収容穴45は、内周面10Aの径方向外側へ延びて、ボールナット10の周壁10Cを径方向に貫通している。
軸方向Xにおいてボールナット10の内周面10Aが存在する領域において、ボールナット10のねじ溝43と、ねじ軸22の外周面22Aにおいて内周面10Aに対向している部分におけるねじ溝41とによって、ボール転動路47(図4参照)が形成されている。つまり、ボールナット10およびねじ軸22の互いのねじ溝41,43によって螺旋状のボール転動路47が形成されている。ボール転動路47は、略円形状の断面を有しており(図4参照)、ボールナット10やねじ軸22の円中心を中心として旋回しながら軸方向Xの他方(図4の右方)へ徐々にずれる螺旋状をなしている。軸方向Xにおいて隣り合うボール転動路47の間には、ねじ軸22のねじ山42とボールナット10のねじ山44とが径方向に対向した状態で配置されており、これらのねじ山42,44は、軸方向Xにおいて隣り合う2列のボール転動路47の境界をなしている。
図4に示すように、各収容穴45は、ボールナット10の外周面10B側の外領域45Aと、外領域45Aよりも内周面10A側の内領域45Bとを含んでいる。ボールナット10の外側(径方向外側)から見て、各収容穴45(外領域45Aおよび内領域45Bの両方)は、ねじ溝43の傾斜角に相当する角度だけ周方向Yに対して傾斜する方向に沿って長い。
ボールナット10において各収容穴45を区画する部分には、外領域45Aと内領域45Bとの境界をなす段差部分46が形成されている。
図3および図4に示すように、ボールナット10の外周面10Bには、外周旋回溝49が形成されている。外周旋回溝49は、外周面10Bの円中心(すなわち、内周面10Aの円中心)を中心として旋回し、軸方向Xの一方(図4の左方)へずれる螺旋状の溝である。換言すると、外周旋回溝49は、外周面10Bに沿って螺旋状に旋回している。
この実施形態では、外周旋回溝49として一巻きの外周旋回溝を例示している。外周旋回溝49の断面は略U字状(略半円状)またはコ字状をなしており(図4ではU字状)、外周旋回溝49は、ボール24(図4では黒丸で示す)の全部分を収容できる溝深さD(図4参照)を有し、エンドミル等を用いて切削形成される。外周旋回溝49の一端49A(図3参照)は、転動開始位置47A側(図3の左手前側)の収容穴45を区画している周壁10Cに接続されており、外周旋回溝49の他端49Bは、転動終了位置47B側(図3の右奥側)の収容穴45を区画している周壁10Cに接続されている。
外周旋回溝49と円筒12の内周面12Aとによって、旋回転動路60が形成される。旋回転動路60は、ボールナット10やねじ軸22の円中心を中心として旋回しながら、軸方向Xの一方(図4の左方)へ徐々にずれる螺旋状をなしている。なお、旋回転動路60によって導かれる軸方向は、ボール転動路47によって導かれる軸方向とは逆向きの軸方向である。
図4に示すように、ボール24は、金属等で形成された小さな球体であって、ボール転動路47内に配置されており、ボール転動路47内で自由に転動できる。なお、説明の便宜上、図4では、ボール転動路47内に配置される全てのボール24のうちの一部のみ(黒丸部分参照)を図示している(後述する図6、図7、図9、図14、図17、図18、図22〜図25でも同様)。
図3および図4に示すように、円筒12は鋼などの金属を用いて形成されており、その内周面12Aおよび外周面12Bは、それぞれ、ボールナット10の内外周面10A,10Bと同軸を有する円筒面となっている。円筒12の内周面12Aおよび外周面12Bには溝が形成されておらず、換言すると、内周面12Aおよび外周面12Bは、次に述べる係合穴48が形成される位置を除いて、それぞれ円筒面のみから形成されている。円筒12は、ボールナット10の外周面10B全域をすっぽり包囲した状態で、ボールナット10に同伴回転可能かつ軸方向Xに同伴移動可能に取り付けられている。円筒12の内径はボールナット10の外径よりも若干大きく設定されており、そのため、ボールナット10に対する円筒12の取付状態では、円筒12の内周面12Aが、ボールナット10の外周面10Bとの間に微小間隔Sを隔てて設けられている。
図3および図4に示すように、円筒12の内周面12Aには、円筒12を厚み方向に貫通する2つの係合穴(係合凹所)48が形成されている。係合穴48は、収容穴45と同数(この実施形態では2つ)設けられている。2つの係合穴48は、平行になった状態で、軸方向Xに間隔を隔てて(この実施形態では、ねじ溝43の3つ分に相当)配置されている。円筒12がボールナット10に同伴回転可能に設けられる状態において、2つの係合穴48の径方向外方から見た形状が、それぞれ収容穴45の外領域45A(図4参照)に整合している。
コマ40は、小片状をなし、収容穴45と同数(この実施形態では2つ)設けられており、各収容穴45に1つずつ装着される。各コマ40は、収容穴45および係合穴48の双方を挿通している。コマ40の材質としては、樹脂や金属などを採用できる。
図5Aは、コマ40の斜視図である。図5Bは、図5Aを右奥側から見た斜視図である。図5Aおよび図5Bに示すように、コマ40は、外部分51と内部分52とを一体的に含んでいる。
外部分51は、ブロック状をなしている。外部分51は、円筒12をボールナット10に取り付けた状態における、収容穴45の外領域45A(図4参照)および係合穴48を足し合わせた領域にちょうど嵌る形状を有しており、たとえば、四隅の端縁が面取りされた直方体状である。なお、外部分51において図5Aおよび図5Bで大きく表れている表面を外面51Aと呼ぶことにすると、図5Aおよび図5Bでは外面51Aを平坦面状に描いているが、外面51Aが、円筒12の外周面12Bに面一になるように湾曲している。
内部分52は、外部分51の長手方向に沿って長手のブロック状である。内部分52は、収容穴45の内領域45B(図4参照)にちょうど嵌る形状を有しており、内部分52では、長手方向における両端部が丸められている。外部分51において、外面51Aとは反対側の面を内面51Bと呼ぶことにすると、内部分52は、内面51Bに固定されている。外部分51の厚み方向から見て、内部分52は、外部分51の輪郭の内側に位置している。
各コマ40は、接続路54を有している。接続路54は、コマ40の内部をトンネル状に延び、コマ40の長手方向の一端面(図5Aの左手前側端面)に開口する円形の外側開口55と、コマ40の長手方向の他端面(図5Aの右奥側端面)に開口する円形の内側開口56とを連通し、断面円形をなしている。
外側開口55と内側開口56とは、径方向位置(円中心からの距離)が互いに異ならされており、外側開口55が内側開口56よりも径方向外側に配置されている。そのため、接続路54は、内側開口56から外側開口55に向かうに従って径方向外側に向かう傾斜状をなしている。
図4に示すように、各コマ40は、ボールナット10の収容穴45および円筒12の係合穴48に対して、ボールナット10側から、より詳しくはボールナット10の径方向外側から装着(挿入)される。収容穴45および係合穴48の双方にコマ40が装着された状態では、外部分51が収容穴45の外領域45Aおよび係合穴48に収容され、内部分52が、収容穴45の内領域45Bに収容される。このとき、外部分51の内面51Bの周縁部が、収容穴45における段差部分46に対してボールナット10の径方向外側から当接しており、これによって、コマ40が収容穴45内で位置決めされる。また、長方体状の外部分51における四隅が外面51A側からかしめられることによって、各コマ40は、ボールナット10および円筒12の双方に固定される。各収容穴45に装着されているコマ40が係合穴48の周囲の周壁に係合すること(係合穴48への嵌合)により、円筒12のボールナット10に対する相対回転および相対軸方向X移動が阻止される。換言すると、第1実施形態では、特許請求の範囲の「相対回転阻止構造」は、係合穴48とコマ40とを有し、収容穴45に収容されているコマ40の一部が係合穴48に嵌合(係合)する構造である。
図6は、コマ40の装着状態においてボールナット10を径方向外方から見た図である。
転動開始位置47A側(図3の左手前側)の収容穴45に装着されるコマ40と、転動終了位置47B側(図3の右奥側)の収容穴45に装着されるコマ40とは、周方向Yに関し互いに逆向きになるように装着される。転動開始位置47A側(図3の左手前側)の収容穴45には、コマ40の外側開口55が外周旋回溝49の一端49Aに対向するようにコマ40が装着され、転動終了位置47B側(図3の右奥側)の収容穴45には、コマ40の外側開口55が外周旋回溝49の他端49Bに対向するようにコマ40が装着される。
ボールナット10および円筒12へのコマ40の装着状態において、コマ40の接続路54の外側開口55は、軸方向Xで同じ位置にある外周旋回溝49(旋回転動路60)に連通(合流)している。また、この状態において、コマ40の接続路54の内側開口56は、軸方向Xで同じ位置にあるボール転動路47に連通している。
これにより、2つのコマ40の接続路54と、外周旋回溝49と円筒12の内周面12Aとによって形成される旋回転動路60とが、軸方向Xにおけるボール転動路47のバイパスとなっている。換言すると、旋回転動路60および2つの接続路54によって、ボール転動路47内の転動終了位置47Bのボール24をボール転動路47内の転動開始位置47Aに戻すための循環路61が形成される。
図7は、図6の切断面線A−Aから見た断面図である。図8は、図7の切断面線B−Bから見た断面図である。なお、図7では、便宜上、周方向Yが直線方向になるように描いている。したがって、ねじ軸22の外周面22A、およびボールナット10の内外周面10A,10Bは図7においてそれぞれ直線状に示されているが、実際は円弧状をなしている(後述する図9、図17、図18、図24、図25において同様)。
図6〜図8に示すように、転動終了位置47B側(図3の右奥側)の収容穴45に装着されるコマ40は、ボールナット10の内周側のボール転動路47から、外周側の旋回転動路60へとボール24を導くために用いられる。このとき、接続路54の内側開口56が入口54Aとして機能し、かつ接続路54の外側開口55が出口54Bとして機能する。
図7に示すように、接続路54の外側開口55および内側開口56を除く部分では、接続路54に沿いかつ周方向Yに直交する方向の断面形状が直線状をなしている。接続路54において外側開口55付近および内側開口56付近の部分は、接続路54に沿いかつ周方向Yに直交する方向の断面形状が、接続路54の他の部分よりも勾配を緩やかにした湾曲状である。
図8に示すように、接続路54は、周方向Yに沿う方向に関し、「く」の字状に屈曲している。具体的には、ねじ溝43とやや傾斜しつつ略直線状に延びる第1部分541と、外周旋回溝49に沿って略直線状に延びる第2部分542とを備えている。このような接続路54により、互いに向きの異なるねじ溝43と外周旋回溝49とを連通させることができる。
図9は、図6の切断面線C−Cから見た断面図である。
図6および図9に示すように、転動開始位置47A側(図3の左手前側)の収容穴45に装着されるコマ40は、ボールナット10の外周側の旋回転動路60から、内周側のボール転動路47へとボール24を導くために用いられる。このとき、接続路54の外側開口55が入口54Aとして機能し、かつ接続路54の内側開口56が出口54Bとして機能する。なお、転動開始位置47A側(図3の左手前側)の収容穴45に装着されるコマ40は、転動終了位置47B側(図3の右奥側)の収容穴45に装着されるコマ40と同じ諸元を有している。
図6〜図9に示すように、ボール転動路47内のボール24は、ボールナット10の回転に伴ってボール転動路47内で転動しながらボール転動路47に沿って、転動開始位置47Aから転動終了位置47Bまで移動する。ボール24は、転動終了位置47Bに到達すると、転動終了位置47B側(図3の右奥側)の収容穴45に装着されるコマ40における接続路54の内側開口56から接続路54内に進入し、この接続路54を通って、ボールナット10の外周面10Bの外周旋回溝49に掬い上げられる(図6に示す矢印参照)。
その後、ボール24は、外周旋回溝49を含む旋回転動路60を移動してボールナット10の外周を旋回することで、軸方向Xにおいて今までとは逆向き(図6の左側)へ進む。そして、旋回転動路60を通ったボール24は、転動開始位置47A側(図3の左手前側)の収容穴45に装着されるコマ40の接続路54の外側開口55(入口54A)から接続路54内に進入し、この接続路54を通って、ボール転動路47内の転動開始位置47Aに戻される(図6に示す破線矢印参照)。つまり、ボール転動路47内を移動するボール24が、旋回転動路60および接続路54を含む循環路61によって循環され、これにより、ボール転動路47内におけるボール24の安定供給が可能になる。
以上によりこの実施形態によれば、ボール24はボール転動路47内を、転動開始位置47Aから転動終了位置47Bまで移動し、転動終了位置47Bから一方のコマ40の接続路54を通って、ボールナット10の外周面10Bの外周旋回溝49に掬い上げられる。外周旋回溝49に掬い上げられたボール24は、外周旋回溝49によって形成される旋回転動路60を通ってボールナット10の外周を旋回した後、他方のコマ40の接続路54を通って、ボール転動路47内の転動開始位置47Aに戻される。すなわち、ボール転動路47内における転動終了位置47Bのボール24が、旋回転動路60を含む循環路61によって、ボール転動路47内における転動開始位置47Aに戻される。これにより、ボール24を、ボール転動路47内でスムーズに循環させることができる。
また、ボールナット10の外周面10Bの外周旋回溝49と円筒12の内周面12Aとによって、循環路61に含まれる旋回転動路60が形成される。そのため、転動開始位置47Aおよび転動終了位置47Bが軸方向Xおよび周方向Yに如何なる相対関係を有していても、転動開始位置47Aと転動終了位置47Bとを循環路61でつなぐことが可能である。そのため、コマ40の相対的な配置位置に、軸方向Xに沿って延びる貫通孔をボールナット10の周壁10Cを形成する場合のような周方向Yの制約がない。これにより、コマ40の配置位置のレイアウトの自由度を高めることができる。そして、コマ40の配置位置に周方向Yの制約がなくなる結果、ボールねじ装置11の理論上の有効巻数をそのまま採用でき、ゆえに、ボールねじ装置11を軸方向Xに小型化することが可能になる。
また、収容穴45に装着されているコマ40が係合穴48の周囲の周壁に係合することにより、円筒12のボールナット10に対する相対回転および相対軸方向X移動が阻止される。すなわち、ボールナット10および円筒12が互いに、軸方向Xおよび周方向Yの双方に関して位置決めされる。これにより、他の部材を用いることなく、相対回転阻止構造を設けることができ、これにより、円筒12のボールナット10に対する相対回転および相対軸方向X移動を阻止しつつ、部品点数が増加するのを防止できる。
以上、この発明の第1実施形態について説明したが、前述の態様に限られない。たとえば、コマ40の有する接続路54の態様を変更することもできる。
図10は、第1実施形態の第1変形例に係る外周旋回溝49とねじ溝43との接続を説明するための図である。
図10に示すように、接続路154は、周方向Yに関し、ねじ溝43に沿って直線状に延びている。接続路154は、接続路154に沿いかつ周方向Yに直交する方向の断面形状が、接続路54(図8等参照)の場合と同様である。
この場合、螺旋状の外周旋回溝49と接続路154とをつなぐ接続溝101が、ボールナット10の外周面10Bに形成される。接続溝101は、接続路154に沿って略直線状に延び、外周旋回溝49の他端49Bにつながっている。
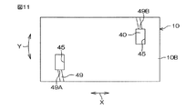
また、前述の第1実施形態では、コマ40が周方向Yに関し揃って配置されるとしたが、図11に示すように、コマ40を周方向Yにずらして配置することが可能である。
図11は、第1実施形態の第2変形例に係る収容穴45およびコマ40の配置を説明するための図である。この場合、一対の収容穴45は周方向Yにずれている。この場合、理論上必要な有効巻数がたとえば2.3であり、その理論上の有効巻数(2.3)をボールねじ装置11にそのまま採用している。これにより、コマ40の配置位置のレイアウトの自由度を高めることができ、ゆえに、ボールねじ装置11を、より一層、軸方向Xに小型化することができる。
また、図12は、第1実施形態の第3変形例に係るコマ40の構成を示す要部断面図である。第3変形例においては、図12に示すように、接続路54,154に代えて用いられる接続路254が溝状をなしていてもよい。接続路254は、コマ40の長手方向に沿う、コマ40の側壁を突き破るように形成されている。
<第2実施形態>
図13は、本発明の第2実施形態に係るボールねじ装置311の分解斜視図である。図14は、ボールねじ装置311の模式的な縦断面図である。図13では、ボールねじ装置311からねじ軸22を省略した構成を示している。ボールねじ装置311は、たとえば、図1を用いて説明した電動アクチュエータ1と同等の電動アクチュエータに適用される。
第2実施形態において、第1実施形態に示された各部に対応する部分には、図1〜図9の場合と同一の参照符号を付して示し、説明を省略する。
図13および図14に示すように、ボールねじ装置311は、ねじ軸22と、ねじ軸22に対して外嵌されたボールナット10と、ねじ軸22とボールナット10との間に介在された複数のボール24と、ボールナット10の外周を包囲する円筒312と、一対のコマ340とを含む。ボールねじ装置311は、円筒として円筒312を採用しかつコマとしてコマ340を採用する点において、本発明の第1実施形態に係るボールねじ装置11と相違している。ボールねじ装置311は、理論上必要な有効巻数が2.7であり、その理論上の有効巻数をそのまま採用している。
ボールナット10は、第1実施形態に係るボールナット10とほぼ同等の構成である。すなわち、ボールナット10は鋼などの金属を用いて形成され、軸方向Xに延びる筒状体であり、その内周面10Aおよび外周面10Bは、軸方向Xに延びる中心軸を有する円筒面となっている。ボールナット10の内周面10Aには、転動開始位置47Aおよび転動終了位置47Bに、ボールナット10の周壁10Cを厚み方向に貫通する2つの収容穴45が形成されている。
図15は、円筒312の模式的な断面図である。図16は、円筒312の模式的な側面図である。
図13〜図16に示すように、円筒312は鋼などの金属を用いて形成されている。円筒312の内周面312Aおよび外周面312Bは、それぞれ、ボールナット10の内外周面10A,10Bと同軸を有する円筒面をなしている。換言すると、外周面312Bは円筒面のみから形成されている。円筒312は、ボールナット10の外周面10B全域をすっぽり包囲した状態で、ボールナット10に同伴回転可能に取り付けられている。円筒312の内径はボールナット10の外径よりも若干大きく設定されており、そのため、ボールナット10に対する円筒312の取付状態では、円筒312の内周面312Aが、ボールナット10の外周面10Bとの間に微小間隔Sを隔てて設けられている。円筒312は、係合凹所として一対の係合穴48に代えて軸方向溝348を設ける点で、本発明の第1実施形態に係る円筒12と異なっている。
円筒312の内周面312Aには、係合凹所としての軸方向溝348が形成されている。軸方向溝348は、コマ340の外部分351を嵌合可能に設けられている。軸方向溝348は軸方向Xに沿って直線状に、円筒312の軸方向Xの一端(図14に示す左端)から、円筒312の軸方向Xの他端(図14に示す右端)に亘って延びている。軸方向溝348は、図13〜図16に示すように、一定の周方向Yの幅および一定深さに設定されている。円筒312がボールナット10に同伴回転可能に設けられる状態において、径方向外方から見た形状が、2つの収容穴45の外領域45Aに重複している。軸方向溝348の溝幅は、次に述べる各コマ340が嵌った状態においてボールナット10と円筒348とが相対回転しないように、各コマ340の周方向Yに沿う方向の長さと同じ長さに設定されている。
コマ340は小片状をなし、収容穴45と同数(この実施形態では2つ)設けられており、各収容穴45に1つずつ装着される。各コマ340は、収容穴45に収容されており、その状態でボールナット10の外周面10Bから外方に突出する外部分351が、軸方向溝348に嵌合している。コマ340の材質としては、第1実施形態に係るコマ40と同様、樹脂や金属などを採用することができる。
図13に示すように、コマ340は、外部分351と内部分52とを一体的に含んでいる。コマ340には、その内部をトンネル状に延びる接続路54が形成されている。コマ340は、本発明の第1実施形態に係るコマ40の外部分51よりも径方向の厚みが小さくされた厚肉の外部分351を設ける点で、本発明の第1実施形態に係るコマ40と異なっている。
外部分351はブロック状をなしている。外部分351は、円筒312をボールナット10に取り付けた状態において、径方向外方から見て収容穴45の外領域45Aに整合する形状を有しており、たとえば、四隅の端縁が面取りされた直方体状である。なお、外部分351において外側の表面を外面351Aと呼ぶことにすると、この外面351Aが、軸方向溝348の底面に沿う形状とされている。すなわち、軸方向溝348の底面が断面円弧状をなしている場合(周方向Yに曲率を有する)には、軸方向溝348の底面に沿って外面351Aが湾曲しており、軸方向溝348の底面が平面をなしている場合(周方向Yに曲率を有さない)には、外面351Aも平面である。
次に、ボールねじ装置311の組付けについて説明する。作業者は、まず、各コマ340を、ボールナット10の収容穴45に、その径方向外側から挿入(装着)する。コマ340の装着状態では、コマ340の内部分52が、収容穴45の内領域45Bに収容される。また、コマ340の装着状態において、コマ340の外部分351の一部は収容穴45の外領域45Aに収容されるが、コマ340の外部分351の大部分は、ボールナット10の外周面10Bから外方に突出する。
このとき、外部分351の内面351B(外部分351における外面351Aとは反対側の面)の周縁部が、収容穴45における段差部分46に対してボールナット10の径方向外側から当接しており、これによって、コマ340が収容穴45内で位置決めされる。また、長方体形状の外部分351における四隅が外面351A側からかしめられることによって、各コマ340は、ボールナット10の外周面10Bに固定される。なお、外部分351に対するかしめは、四隅の全てでなく、四隅のうちの少なくとも2箇所以上であれば足りる。
また、コマ340をかしめるのでなく、ボールナット10側をかしめることにより、コマ340を収容穴45内に位置決めすることもできる。
さらに、コマ340は、ボールナット10の外周面10Bに固定されていなくてもよい。コマ340は、円筒312の軸方向溝348の底面によって、収容穴45からの離脱が防止されており、コマ340を外周面10Bに固定しておかなくても、コマ340の収容穴45への収容状態が保持される。
次いで、軸方向溝348とコマ340の外部分351とが周方向Yに関して合致するように、円筒312とボールナット10とを位置合わせする。その後、コマ340の外部分351を軸方向溝348に嵌合させつつ、ボールナット10を円筒312に対して軸方向X移動させることにより、コマ340が装着された状態のボールナット10を、円筒312の軸方向Xの一方側または他方側から、軸方向Xに沿って円筒312内に内挿させることができる。軸方向溝348に対するコマ340の嵌合状態で、コマ340は周方向Yに関し軸方向溝348に丁度嵌っている。ボールナット10を円筒312に内挿した状態では、各収容穴45に装着されているコマ340の軸方向溝348への嵌合により、円筒312のボールナット10に対する相対回転が阻止される。換言すると、第2実施形態では、特許請求の範囲の「相対回転阻止構造」は、軸方向溝348とコマ340とを有し、収容穴45に収容されているコマ340の一部が軸方向溝348に嵌合(係合)する構造である。
転動開始位置47A側(図13の左手前側)の収容穴45に装着されるコマ340と、転動終了位置47B側(図13の右奥側)の収容穴45に装着されるコマ340とは、周方向Yに関し互いに逆向きになるように装着される。転動開始位置47A側(図13の左手前側)の収容穴45には、コマ340の外側開口55が外周旋回溝49の一端49Aに対向するようにコマ340が装着され、転動終了位置47B側(図13の右奥側)の収容穴45には、コマ340の外側開口55が外周旋回溝49の他端49Bに対向するようにコマ340が装着される。
2つのコマ340の接続路54と、外周旋回溝49と円筒12の内周面12Aとによって形成される旋回転動路60とが、軸方向Xにおけるボール転動路47のバイパスとなっている。換言すると、旋回転動路60および2つの接続路54によって、ボール転動路47内の転動終了位置47Bのボール24をボール転動路47内の転動開始位置47Aに戻すための循環路61が形成される。
図17および図18は、ボールねじ装置311の模式的な横断面図である。図17は、転動終了位置47B側(図13の右奥側)の収容穴45に装着されるコマ340の接続路54の延びる方向に沿う断面で切断している。図18は、転動開始位置47A側(図13の左手前側)の収容穴45に装着されるコマ340の接続路54の延びる方向に沿う断面で切断している。
図13および図17に示すように、転動終了位置47B側(図13の右奥側)の収容穴45に装着されるコマ340は、ボールナット10の内周側のボール転動路47から、外周側の旋回転動路60へとボール24を導くために用いられる。このとき、接続路54の内側開口56が入口54Aとして機能し、かつ接続路54の外側開口55が出口54Bとして機能する。
図13および図18に示すように、転動開始位置47A側(図13の左手前側)の収容穴45に装着されるコマ340は、ボールナット10の外周側の旋回転動路60から、内周側のボール転動路47へとボール24を導くために用いられる。このとき、接続路54の外側開口55が入口54Aとして機能し、かつ接続路54の内側開口56が出口54Bとして機能する。なお、転動開始位置47A側(図13の左手前側)の収容穴45に装着されるコマ340は、転動終了位置47B側(図13の右奥側)の収容穴45に装着されるコマ340と同じ諸元を有している。
各コマ340において、第1実施形態に係るコマ40と同様、互いに向きの異なるねじ溝43と外周旋回溝49とを接続路54によって連通させるために、接続路54は、周方向Yに沿う方向に関して「く」の字状に屈曲している。
図13、図17および図18を参照して、第2実施形態に係るボールねじ装置311のボール24の動きについて説明する。ボールねじ装置311では、第1実施形態(図3および図6参照)と同様、ボール転動路47内のボール24は、ボールナット10の回転に伴ってボール転動路47内で転動しながらボール転動路47に沿って、転動開始位置47Aから転動終了位置47Bまで移動する。ボール24は、転動終了位置47Bに到達すると、転動終了位置47B側(図13の右奥側)の収容穴45に装着されるコマ340における接続路54の内側開口56から接続路54内に進入し、この接続路54を通って、ボールナット10の外周面10Bの外周旋回溝49に掬い上げられる。
その後、ボール24は、外周旋回溝49を含む旋回転動路60を移動してボールナット10の外周を旋回することで、軸方向Xにおいて今までとは逆向き(図13の左手前側)へ進む。そして、旋回転動路60を通ったボール24は、転動開始位置47A側(図13の左手前側)の収容穴45に装着されるコマ340の接続路54の外側開口55(入口54A)から接続路54内に進入し、この接続路54を通って、ボール転動路47内の転動開始位置47Aに戻される。つまり、ボール転動路47内を移動するボール24が、旋回転動路60および接続路54を含む循環路61によって循環され、これにより、ボール転動路47内におけるボール24の安定供給が可能になる。
以上により第2実施形態によれば、第1実施形態と同様の作用効果を奏する。すなわち、ボール転動路47内における転動終了位置47Bのボール24が、旋回転動路60を含む循環路61によって、ボール転動路47内における転動開始位置47Aに戻されることにより、ボール24を、ボール転動路47内でスムーズに循環させることができる。また、転動開始位置47Aおよび転動終了位置47Bが軸方向Xおよび周方向Yに如何なる相対関係を有していても、転動開始位置47Aと転動終了位置47Bとを循環路61でつなぐことが可能であるので、コマ340の相対的な配置位置に、軸方向Xに沿って延びる貫通孔をボールナット10の周壁10Cに形成する場合のような周方向Yの制約がない。その結果、ボールねじ装置311の理論上の有効巻数をそのまま採用でき、ゆえに、ボールねじ装置311を軸方向Xに小型化することが可能になる。
また、第2実施形態によれば、収容穴45に装着されているコマ340が軸方向溝348に嵌合することにより、円筒312のボールナット10に対する相対回転が阻止される。これにより、他の部材を用いることなく、相対回転阻止構造を設けることができ、これにより、円筒312のボールナット10に対する相対回転を阻止しつつ、部品点数が増加するのを防止できる。
なお、円筒312の内周面312Aに形成される軸方向溝348として、円筒312の軸方向Xの一端(図16の左端)から他端(図16の右端)まで延びる態様(軸方向貫通溝)を例に挙げたが、円筒312の軸方向Xの一端または他端から、軸方向Xの途中部(円筒312における一端と他端との中間位置)までしか延びていない溝を軸方向溝として採用することもできる。この場合、この軸方向溝は、ボールナット10の収容穴45に装着されている2つのコマ340の双方に係合可能な長さを有している必要がある。
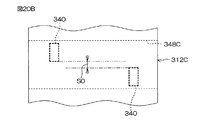
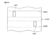
ところで、前述の図13〜図18に示す第2実施形態では、コマ340が周方向Yに関し揃って配置されるとしたが、コマ340を周方向Yにずらして配置することが可能である。この場合、一対の収容穴45も、周方向Yにずれている。このような第1変形例について図19および図20Aを参照して説明する。
図19および図20Aは、本発明の第2実施形態の第1変形例に係る円筒312Cの構成を示す図である。図19に模式的な横断面図を示し、図20Aに模式的な側面図を示す。
円筒312Cが円筒312と相違する点は、係合凹所として、互いに周方向Yにずれた2つの軸方向溝348A,348Bを設けた点である。その他の構成において、円筒312Cと円筒312との間に相違はない。
軸方向溝348Aは、転動開始位置47A側の収容穴45に装着されるコマ340の外部分351を嵌合可能に設けられている。軸方向溝348Aは、それぞれ、軸方向Xに沿って直線状に、円筒312Cの軸方向Xの一端(図20Aの左端)から、円筒312Cの軸方向Xの他端(図20Aの右端)に亘って延びている。軸方向溝348Aは、一定の周方向Yの幅および一定深さに設定されている。円筒312Cがボールナット10に同伴回転可能に設けられる状態において、軸方向溝348Aの径方向外方から見た形状が、転動開始位置47A側の収容穴45の外領域45Aに重複している。軸方向溝348Aの溝幅は、転動開始位置47A側の収容穴45に装着されるコマ340の周方向Yに沿う方向の長さと同じ長さに設定されている。
転動開始位置47A側の収容穴45に装着されるコマ340は、その収容状態においてボールナット10の外周面10Bから外方に突出する外部分351が、軸方向溝348Aに嵌合している。
軸方向溝348Bは、転動終了位置47B側の収容穴45に装着されるコマ340の外部分351を嵌合可能に設けられている。軸方向溝348Bは、それぞれ、軸方向Xに沿って直線状に、円筒312Cの軸方向Xの一端(図20Aの左端)から、円筒312Cの軸方向Xの他端(図20Aの右端)に亘って延びている。軸方向溝348Bは、一定の周方向Yの幅および一定深さに設定されている。円筒312Cがボールナット10に同伴回転可能に設けられる状態において、径方向外方から見た形状が、転動終了位置47B側の収容穴45の外領域45Aに重複している。軸方向溝348Bの溝幅は、転動終了位置47B側の収容穴45に装着されるコマ340の周方向Yに沿う方向の長さと同じ長さに設定されている。
転動終了位置47B側の収容穴45に装着されるコマ340は、その収容状態においてボールナット10の外周面10Bから外方に突出する外部分351が、軸方向溝348Bに嵌合している。
各収容穴45に装着されているコマ340の軸方向溝348A,348Bへの嵌合により、円筒312Cのボールナット10に対する相対回転が阻止される。換言すると、図19および図20Aに示す第2実施形態の第1変形例では、特許請求の範囲の「相対回転阻止構造」は、軸方向溝348A,348Bとコマ340とを有し、収容穴45に収容されているコマ340の一部が軸方向溝348A,348Bに嵌合(係合)する構造である。
この場合、理論上の有効巻数をボールねじ装置311にそのまま採用できる。これにより、コマ340の配置位置のレイアウトの自由度を高めることができ、ゆえに、ボールねじ装置311を、より一層、軸方向Xに小型化することができる。
なお、円筒312Cの内周面312Aに形成される軸方向溝348A,348Bとして、円筒312の軸方向Xの一端または他端から、軸方向Xの途中部(円筒312における一端と他端との中間位置)までしか延びていない溝を軸方向溝として採用することもできる。この場合、軸方向溝348Aおよび軸方向溝348Bが、軸方向Xの共通する側の端部(一端または他端)において、その端部に亘って延びている必要がある。また、軸方向溝348Aは、転動開始位置47A側(図13の左手前側)の収容穴45に装着されるコマ340に係合可能な長さを有している必要があり、軸方向溝348Bは、転動終了位置47B側(図13の右奥側)の収容穴45に装着されているコマ340に係合可能な長さを有している必要がある。
また、一対のコマ340の配置位置が周方向Yに関し隔てられているものの、図20Bに示すように、当該一対の配置位置の周方向Yの間隔S0が微小間隔である場合には、円筒312Cの内周面312Aに1つの軸方向溝348Cを設け、軸方向溝348C内に一対のコマ340を収容させるようにしてもよい。これが、第2実施形態の第2変形例である。1つの軸方向溝348Cの溝幅は、周方向Yに関しずれた2つのコマ340を収容可能な大きさに設定されている。この場合、軸方向溝348Cは、第1変形例の軸方向溝348A,348Bを周方向Yにつなげた(一体化させた)ものと換言することができる。
なお、一対のコマ340の配置位置が周方向Yに関し一部重複する場合にも、円筒312Cの内周面312Aに1つの軸方向溝(軸方向溝348Cと同等の構成)を設け、当該軸方向溝によって、周方向Yに関しずれた2つのコマ340を収容させるようにしてもよい。
また、第2実施形態において、コマ340内に設けられる接続路として、周方向Yに関しねじ溝43に沿って直線状に延びる接続路54に代えて、接続路154(図10参照)を採用することもできる。この場合、本発明の第1実施形態の第1変形例に係る場合と同様、螺旋状の外周旋回溝49と接続路154とをつなぐ接続溝101が、ボールナット10の外周面10Bに形成され、接続溝101は、接続路154に沿って略直線状に延び、かつ外周旋回溝49の他端49Bにつながっている。
また、第2実施形態において、コマ340内に設けられる接続路として、接続路54,154に代えて、溝状をなす用いられる接続路254(図12参照)が形成されていてもよい。この場合、本発明の第1実施形態の第3変形例に係る場合と同様、接続路254は、コマ340の長手方向に沿い、コマ340の側壁を突き破るように形成されている。
<第3実施形態>
図21は、本発明の第3実施形態に係るボールねじ装置411の分解斜視図である。図22および図23は、ボールねじ装置411の模式的な縦断面図である。図21では、ボールねじ装置411からねじ軸22を省略した構成を示している。ボールねじ装置411は、たとえば、図1を用いて説明した電動アクチュエータ1と同等の電動アクチュエータに適用される。
第3実施形態において、第1実施形態に示された各部に対応する部分には、図1〜図9の場合と同一の参照符号を付して示し、説明を省略する。
図21〜23に示すように、ボールねじ装置411は、ねじ軸22と、ねじ軸22に対して外嵌されたボールナット410と、ねじ軸22とボールナット410との間に介在された複数のボール24と、ボールナット410の外周を包囲する円筒412と、一対のコマ440と、円筒412をボールナット410に連結させるためのキー嵌合構造K1とを含む。キー嵌合構造K1は、ボールナット410の外周面410Bに形成されたボールナット側キー溝(ボールナット側キー凹所)401、円筒412に形成された円筒側キー穴402、ならびにボールナット側キー溝401および円筒側キー穴402に跨って嵌るキー403を有している。
また、この実施形態では、円筒412の内周面412Aが、周方向Yの全域に関し、ボールナット410の外周面410Bとの間に所定の間隔S1(図22および図23参照)を隔てて設けられており、かつ外周旋回溝449が浅溝によって形成されている。この点においても、ボールねじ装置411はボールねじ装置11と相違している。なお、ボールねじ装置411は、理論上必要な有効巻数が2.7であり、その理論上の有効巻数をそのまま採用している。
ボールナット410は鋼などの金属を用いて形成され、軸方向Xに延びる筒状体であり、その内周面410Aおよび外周面410Bは、軸方向Xに延びる中心軸を有する円筒面となっている。
ボールナット410の外周面410Bには、外周旋回溝449が形成されている。外周旋回溝449は、外周面410Bの中心軸線を中心として旋回し、軸方向Xの他方(図22の左方)へずれる螺旋状の溝である。外周旋回溝449の一端449A(図21参照)は、転動開始位置47A側(図21の左手前側)の収容穴45を区画している周壁10Cに接続されており、外周旋回溝449の他端449Bは、転動終了位置47B側(図21の右奥側)の収容穴45を区画している周壁10Cに接続されている。外周旋回溝449の断面は略U字状(略半円状)またはコ字状をなしている(図22および図23では略半円状)。外周旋回溝449は、ボール24(図22および図23では黒丸で示す)の内側半分を収容できる溝深さD1(図22および図23参照)を有し、エンドミル等を用いて切削形成される。この溝深さD1において、外周旋回溝449は本発明の第1実施形態に係る外周旋回溝49と相違しており、それ以外の構成は外周旋回溝49と共通している。外周旋回溝449がこのような浅溝であるので、外周旋回溝449に嵌ったボール24の外側半分は、ボールナット410の外周面410Bよりも外側にはみ出す。
ボールナット410の外周面410Bには、外周旋回溝449の形成位置を除く、軸方向Xおよび周方向Yの途中部に、ボールナット側キー溝401が形成されている。ボールナット側キー溝401は、径方向外方から見た形状が矩形をなしている。
ボールナット側キー溝401および外周旋回溝449を除いて、ボールナット410は、第1実施形態に係るボールナット10とほぼ同等の構成である。すなわち、ボールナット10の内周面10Aには、ねじ溝43が形成されており、また、ボールナット10の内周面10Aの転動開始位置47Aおよび転動終了位置47Bには、ボールナット10の周壁10Cを厚み方向に貫通する2つの収容穴45が形成されている。
図21〜図23に示すように、円筒412は鋼などの金属を用いて形成されている。円筒412の内周面412Aおよび外周面412Bは、それぞれ、ボールナット410の内外周面410A,410Bと同軸を有する円筒面をなしている。換言すると、内周面412Aおよび外周面412Bは、次に述べる円筒側キー穴402が形成される位置を除いて、それぞれ円筒面のみから形成されている。円筒412は、ボールナット410の外周面410B全域をすっぽり包囲した状態で、ボールナット410に同伴回転可能かつ軸方向Xに同伴移動可能に取り付けられている。
円筒412の内径はボールナット410の外径よりも所定量だけ大きく設定されており、そのため、ボールナット410に対する円筒412の取付状態では、円筒412の内周面412Aが、ボールナット410の外周面410Bとの間に間隔S1(図22および図23参照)を隔てて設けられている。たとえば、間隔S1は、ボール24の直径の半分程度に相当する大きさである。そのため、ボールナット410に円筒412が取り付けられた状態において、円筒412の内周面412Aとボールねじ410の外周面410Bとの間に、円環状の空間SP(図23参照)が形成される。
第3実施形態では、外周旋回溝449と、円筒412の内周面412Aと、外周旋回溝449および内周面412Aの間の空間SPとによって、旋回転動路60が形成される。
円筒412の軸方向Xおよび周方向Yの途中部には、円筒412を厚み方向に貫通する円筒側キー穴402が形成されている。円筒側キー穴402は、円筒412をボールナット410に取り付けた状態において、ボールナット側キー溝401に対向するように配置されている。円筒側キー穴402は、径方向外方から見てボールナット側キー溝401に整合する形状を有している。
キー403はたとえば四角柱状をなしている。ボールナット410のボールナット側キー溝401は、ボールナット410の外周面に沿う平坦な底面404を有している。キー403の長手方向に直交する断面形状および断面寸法は、円筒側キー穴402およびボールナット側キー溝401の形状および断面寸法にそれぞれ整合しており、キー403は、軸方向Xまたは周方向Yにほとんど遊びのない状態で、円筒側キー穴402およびボールナット側キー溝401に嵌合している。
図23では、キー403とボールナット側キー溝401との嵌合状態で、キー403の外端面403Aが円筒412の外周面412Bよりも径方向外方に突出している。そして、キー403が外端側からかしめられることによって、キー403が円筒412の外周面412Bに固定される。なお、キー403がボールナット410側に落ちない形状であれば、キー403のかしめは必ずしも必要ではない。
また、キー403の径方向長さは、ボールナット側キー溝401の溝深さW1と間隔S1とを足し合わせた長さよりも長くなるように設定されていればよい。この場合、ボールナット側キー溝401からキー403が抜けず、キー403とボールナット410との係合が達成され、その結果、ボールナット410に対する円筒412の相対回転および相対軸方向X移動が阻止される。
コマ440は小片状をなし、収容穴45と同数(この実施形態では2つ)設けられており、各収容穴45に1つずつ装着される。各コマ440は、収容穴45に収容されており、その状態でボールナット410の外周面410Bから外方に突出する外部分451が、円環状の空間SPに収容される。コマ440の材質としては、第1実施形態に係るコマ40と同様、樹脂や金属などを採用することができる。
図21に示すように、コマ440は、外部分451と内部分452とを一体的に含んでいる。コマ440には、その内部をトンネル状に延びる接続路54が形成されている。コマ440は、本発明の第1実施形態に係るコマ40の外部分51よりも径方向の厚みの小さい外部分451を設ける点、およびコマ40の内部分52よりも径方向の厚みの小さい内部分452を設ける点において、本発明の第1実施形態に係るコマ40と異なっている。
外部分451はブロック状をなしている。外部分451は、円筒412をボールナット410に取り付けた状態において、径方向外方から見て収容穴45の外領域45Aに整合する形状を有しており、たとえば、四隅の端縁が面取りされた直方体状である。なお、外部分451において外側の表面を外面451Aと呼ぶことにすると、この外面451Aが、円筒412の内周面412Aに面一になるように湾曲している。すなわち、円筒412がボールナット410に取り付けられた状態で、コマ440の外部分451の外面451Aが内周面412Aに当接している。コマ440が収容穴45に収容された状態でボールナット410の外周面410Bから突出する外部分451の大きさが、ボールナット410の外周面410Bと円筒412の内周面412Aとの間隔S1とほぼ一致するように、外部分451の径方向厚みが設定されている。
内部分452は、外部分451の長手方向に沿って長手のブロック状である。内部分452は、収容穴45の内領域45B(図22参照)にちょうど嵌る形状を有しており、内部分452では、長手方向における両端部が丸められている。外部分451において、外面451Aとは反対側の面を内面451Bと呼ぶことにすると、内部分452は、内面451Bに固定されている。外部分451の厚み方向から見て、内部分452は、外部分451の輪郭の内側に位置している。
次に、ボールねじ装置411の組付けについて説明する。作業者は、まず、各コマ440を、ボールナット410の収容穴45に、その径方向外側から装着する。コマ440の装着状態では、コマ440の内部分452が、収容穴45の内領域45Bに収容される。また、コマ440の装着状態において、コマ440の外部分451の一部は収容穴45の外領域45Aに収容されるが、コマ440の外部分451の大部分は、ボールナット410の外周面410Bから外方に突出する。
このとき、外部分451の内面451B(外部分451における外面451Aとは反対側の面)の周縁部が、収容穴45における段差部分46に対してボールナット410の径方向外側から当接しており、これによって、コマ440が収容穴45内で位置決めされる。また、長方体形状の外部分451における四隅が外面451A側からかしめられることによって、各コマ440は、ボールナット410の外周面410Bに固定される。なお、外部分451に対するかしめは、四隅の全てでなく、四隅のうちの少なくとも2箇所以上であれば足りる。
また、コマ440をかしめるのでなく、ボールナット410側をかしめることにより、コマ440を収容穴45内に位置決めすることもできる。
さらに、コマ440は、ボールナット410の外周面410Bに固定されていなくてもよい。コマ440は、円筒412の内周面412Aによって、収容穴45からの離脱が防止されており、コマ440を外周面410Bに固定しておかなくても、コマ440の収容穴45への収容状態が保持される。
次いで、コマ440が装着された状態のボールナット410を、円筒412の軸方向Xの一方側または他方側から、軸方向Xに沿って円筒412内に内挿させる。前述のように、コマ440が収容穴45に収容された状態でボールナット410の外周面410Bから突出する外部分451の大きさが、ボールナット410の外周面410Bと円筒412の内周面412Aとの間隔S1とほぼ一致するように、コマ440の径方向厚みが設定されているので、ボールナット410を円筒412に対して軸方向X移動させることができ、これにより、ボールナット410を円筒412内に内挿させることができる。
そして、ボールナット410および円筒412を相対軸方向X移動および相対回転させて、ボールナット側キー溝401と円筒側キー穴402とを対向させた後、キー403を、円筒側キー穴402およびボールナット側キー溝401に挿入する。挿入されたキー403が、円筒側キー穴402およびボールナット側キー溝401に嵌合することにより、円筒412のボールナット410に対する相対回転が阻止される。換言すると、第3実施形態では、特許請求の範囲の「相対回転阻止構造」は、キー嵌合構造K1である。
転動開始位置47A側(図21の左手前側)の収容穴45に装着されるコマ440と、転動終了位置47B側(図21の右奥側)の収容穴45に装着されるコマ440とは、周方向Yに関し互いに逆向きになるように装着される。転動開始位置47A側(図21の左手前側)の収容穴45には、コマ440の外側開口55が外周旋回溝449の一端449Aに対向するようにコマ440が装着され、転動終了位置47B側(図21の右奥側)の収容穴45には、コマ440の外側開口55が外周旋回溝449の他端449Bに対向するようにコマ440が装着される。
2つのコマ440の接続路54と、外周旋回溝449と円筒12の内周面12Aとによって形成される旋回転動路60とが、軸方向Xにおけるボール転動路47のバイパスとなっている。換言すると、旋回転動路60および2つの接続路54によって、ボール転動路47内の転動終了位置47Bのボール24をボール転動路47内の転動開始位置47Aに戻すための循環路61が形成される。
図24および図25は、ボールねじ装置411の模式的な横断面図である。図24は、転動終了位置47B側(図21の右奥側)の収容穴45に装着されるコマ440の接続路54の延びる方向に沿う断面で切断している。図25は、転動開始位置47A側(図21の左手前側)の収容穴45に装着されるコマ440の接続路54の延びる方向に沿う断面で切断している。
図21および図24に示すように、転動終了位置47B側(図21の右奥側)の収容穴45に装着されるコマ440は、ボールナット410の内周側のボール転動路47から、外周側の旋回転動路60へとボール24を導くために用いられる。このとき、接続路54の内側開口56が入口54Aとして機能し、かつ接続路54の外側開口55が出口54Bとして機能する。
図21および図25に示すように、転動開始位置47A側(図21の左手前側)の収容穴45に装着されるコマ440は、ボールナット410の外周側の旋回転動路60から、内周側のボール転動路47へとボール24を導くために用いられる。このとき、接続路54の外側開口55が入口54Aとして機能し、かつ接続路54の内側開口56が出口54Bとして機能する。なお、転動開始位置47A側(図21の左手前側)の収容穴45に装着されるコマ440は、転動終了位置47B側(図21の右奥側)の収容穴45に装着されるコマ440と同じ諸元を有している。
各コマ440において、第1実施形態に係るコマ40と同様、互いに向きの異なるねじ溝43と外周旋回溝449とを接続路54によって連通させるために、接続路54は、周方向Yに沿う方向に関して「く」の字状に屈曲している。
図21、図24および図25を参照して、第3実施形態に係るボールねじ装置411のボール24の動きについて説明する。ボールねじ装置411では、第1実施形態(図3および図6参照)と同様、ボール転動路47内のボール24は、ボールナット410の回転に伴ってボール転動路47内で転動しながらボール転動路47に沿って、転動開始位置47Aから転動終了位置47Bまで移動する。ボール24は、転動終了位置47Bに到達すると、転動終了位置47B側(図21の右奥側)の収容穴45に装着されるコマ440における接続路54の内側開口56から接続路54内に進入し、この接続路54を通って、ボールナット410の外周面10Bの外周旋回溝449に掬い上げられる。
その後、ボール24は、外周旋回溝449を含む旋回転動路60を移動してボールナット410の外周を旋回することで、軸方向Xにおいて今までとは逆向き(図21の左手前側)へ進む。そして、旋回転動路60を通ったボール24は、転動開始位置47A側(図21の左手前側)の収容穴45に装着されるコマ440の接続路54の外側開口55(入口54A)から接続路54内に進入し、この接続路54を通って、ボール転動路47内の転動開始位置47Aに戻される。つまり、ボール転動路47内を移動するボール24が、旋回転動路60および接続路54を含む循環路61によって循環され、これにより、ボール転動路47内におけるボール24の安定供給が可能になる。
以上により第3実施形態によれば、ボール転動路47内における転動終了位置47Bのボール24が、旋回転動路60を含む循環路61によって、ボール転動路47内における転動開始位置47Aに戻されることにより、ボール24を、ボール転動路47内でスムーズに循環させることができる。また、転動開始位置47Aおよび転動終了位置47Bが軸方向Xおよび周方向Yに如何なる相対関係を有していても、転動開始位置47Aと転動終了位置47Bとを循環路61でつなぐことが可能であるので、コマ440の相対的な配置位置に、軸方向Xに沿って延びる貫通孔をボールナット410の周壁10Cに形成する場合のような周方向Yの制約がない。その結果、ボールねじ装置411の理論上の有効巻数をそのまま採用でき、ゆえに、ボールねじ装置411を軸方向Xに小型化することが可能になる。
また、第3実施形態において、コマ440内に設けられる接続路として、周方向Yに関しねじ溝43に沿って直線状に延びる接続路54に代えて、接続路154(図10参照)を採用することもできる。この場合、本発明の第1実施形態の場合と同様、螺旋状の外周旋回溝449と接続路154とをつなぐ接続溝101が、ボールナット410の外周面410Bに形成され、接続溝101は、接続路154に沿って略直線状に延び、かつ外周旋回溝449の他端449Bにつながっている。
また、前述の第3実施形態では、コマ440が周方向Yに関し揃って配置されるとしたが、コマ440を周方向Yにずらして配置することができ、この場合、理論上必要な有効巻数をボールねじ装置411にそのまま採用することも可能である。これにより、コマ40の配置位置のレイアウトの自由度を高めることができ、ゆえに、ボールねじ装置411を、より一層、軸方向Xに小型化することができる。
また、第3実施形態において、コマ440内に設けられる接続路として、接続路54,154に代えて、溝状をなす接続路254(図12参照)が形成されていてもよい。接続路254は、コマ440の長手方向に沿い、コマ440の側壁を突き破るように形成されている。
以上、この発明の3つの形態について説明したが、本発明は他の形態を採用することもできる。
たとえば第1および第2実施形態において、ボールナット10の外周面10Bと円筒12,312の内周面12A,312Aとの間が微小間隔Sである例を例に挙げて説明したが、外周面10Bと内周面12A,312Aとの間が所定の間隔(たとえばボール24の直径の半分程度の大きさであり、図22および図23に示す間隔S1)が設けられていてもよい。この場合、ボールナット10の外周面10Bに形成される外周旋回溝49の溝深さは、ボール24の一部分のみ収容可能な浅溝(たとえば図22および図23の外周旋回溝449の溝深さD1)に設定される。
また、第3実施形態において、ボールナット410の外周面410Bと円筒412の内周面412Aとの間が所定大きさの間隔S1である例を例に挙げて説明したが、外周面410Bと内周面412Aとが、微小間隔(たとえば図22および図23に示す間隔S1)を隔てて設けられていてもよい。この場合、ボールナット410の外周面410Bに形成される外周旋回溝449の溝深さは、ボール24の全部分を収容可能な深溝(たとえば図4および図14の外周旋回溝49の溝深さD)に設定される。
また、第3実施形態において相対回転阻止構造の一例としてキー嵌合構造K1を例示したが、相対回転阻止構造はキー嵌合構造K1だけに限られない。たとえば、ボールナット410の軸方向Xの端部に、二面幅形状や六角形状からなる係合部を設け、当該係合部に嵌合可能な嵌合部を円筒412の軸方向Xの端部に設け、このような係合部および嵌合部の嵌合により相対回転阻止構造が構成されていてもよい。
また、第1〜第3実施形態において、ボールナット10,410において各収容穴45を区画する部分に、ボールナット10,410へのコマ40,340,440の脱落を防止するために段差部分46を形成する構成を採用したが、段差部分46を設けず、各収容穴45を内領域45Bのみで構成するようにしてもよい。
また、第1〜第3実施形態において、外周旋回溝49,449を、ボールナット10,410の外周を一回旋回させる構成を例に挙げて説明したが、1回より多く旋回させる構成であってもよい。また、外周旋回溝49,449を、周方向への旋回数を1周未満(たとえば0.3巻や0.5巻)に設けるようにしてもよい。
また、円筒12,312,412が、転がり軸受13,16の内輪として機能していてもよい。すなわち、円筒12,312,412の外周面12B,312B,412Bに内輪軌道が形成されており、この内輪軌道を軸受け用のボールが転動する構成であってもよい。
その他、特許請求の範囲に記載された事項の範囲で種々の設計変更を施すことが可能である。
10…ボールナット、10A…内周面、10B…外周面、10C…周壁、11…ボールねじ装置、12…円筒、12A…内周面、22…ねじ溝、22A…外周面、24…ボール、40…コマ、41…ねじ溝、43…ねじ溝、45…収容穴(収容凹所)、47…ボール転動路、47A…転動開始位置(収容凹所形成位置)、47B…転動終了位置(収容凹所形成位置)、48…係合穴(係合凹所、相対回転阻止構造)、49…外周旋回溝、54…接続路、60…旋回転動路、61…循環路、154…接続路、311…ボールねじ装置、312…円筒、312A…内周面、340…コマ、348…軸方向溝(係合溝、係合凹所、相対回転阻止構造)、348A…軸方向溝(係合溝、係合凹所、相対回転阻止構造)、348B…軸方向溝(係合溝、係合凹所、相対回転阻止構造)、410…ボールナット、410A…内周面、410B…外周面、411…ボールねじ装置、412…円筒、412A…内周面、440…コマ、449…外周旋回溝、D…外周旋回溝の深さ、D1…外周旋回溝の深さ、K1…キー嵌合構造(相対回転阻止構造)、SP…空間、X…軸方向

Claims (6)

  1. 外周面にねじ溝が形成されたねじ軸と、
    前記ねじ軸に対して外嵌され、内周面にねじ溝が形成されたボールナットと、
    前記ボールナットおよび前記ねじ軸の互いのねじ溝によって形成される螺旋状のボール転動路内に転動可能にセットされた複数のボールと、
    前記ボールナットの外周を包囲するように設けられた円筒と含み、
    前記ボール転動路内において、前記ねじ軸の軸方向に関して間隔を空けた少なくとも2つの収容凹所形成位置には、前記ボールナットの周壁を厚み方向に貫通する収容凹所が形成されており、
    前記ボールナットの外周面には、当該ボールナットの外周に沿って螺旋状に旋回する外周旋回溝が形成され、この外周旋回溝と前記円筒の内周面とによって、前記ボールが転動可能な旋回転動路が形成されており、
    各収容凹所に収容され、各収容凹所形成位置と前記旋回転動路とを接続する接続路を有するコマと、
    前記円筒の内周面に形成された係合凹所を有し、前記収容凹所に収容されている前記コマが前記係合凹所に係合することにより前記円筒の前記ボールナットに対する相対回転を阻止する相対回転阻止構造とをさらに含み、
    前記旋回転動路および2つの前記接続路によって、一方の前記収容凹所形成位置の前記ボールを、他方の前記収容凹所形成位置に戻すための循環路が形成される、ボールねじ装置。
  2. 前記係合凹所は、前記円筒の内周面の前記軸方向の途中部で当該円筒を厚み方向に貫通する係合穴を含む、請求項に記載のボールねじ装置。
  3. 前記円筒の前記内周面が、円筒面のみによって形成されている、請求項1または2に記載のボールねじ装置。
  4. 前記係合凹所は、前記円筒の内周面に形成され、前記軸方向に沿って延びる係合溝を含む、請求項に記載のボールねじ装置。
  5. 前記外周旋回溝に前記ボールが収容された状態で前記ボールナットの外周面よりも外側に当該ボールがはみ出ないように、前記外周旋回溝の深さが設定されている、請求項1〜のいずれか一項に記載のボールねじ装置。
  6. 前記ボールナットおよび前記円筒は、前記ボールナットの外周面と前記円筒の内周面との間に所定の空間が形成されるように設けられており、
    前記外周旋回溝に前記ボールが収容された状態で前記ボールナットの外周面よりも外側に当該ボールがはみ出るように、前記外周旋回溝の深さが設定されている、請求項1〜のいずれか一項に記載のボールねじ装置。
JP2013107273A 2013-03-12 2013-05-21 ボールねじ装置 Expired - Fee Related JP6187807B2 (ja)

Priority Applications (4)

Application Number Priority Date Filing Date Title
JP2013107273A JP6187807B2 (ja) 2013-03-12 2013-05-21 ボールねじ装置
EP14158024.1A EP2778476B1 (en) 2013-03-12 2014-03-06 Ball screw device
CN201410081842.4A CN104048010B (zh) 2013-03-12 2014-03-07 滚珠丝杠装置
US14/206,594 US9416856B2 (en) 2013-03-12 2014-03-12 Ball screw device

Applications Claiming Priority (3)

Application Number Priority Date Filing Date Title
JP2013049193 2013-03-12
JP2013049193 2013-03-12
JP2013107273A JP6187807B2 (ja) 2013-03-12 2013-05-21 ボールねじ装置

Publications (2)

Publication Number Publication Date
JP2014199132A JP2014199132A (ja) 2014-10-23
JP6187807B2 true JP6187807B2 (ja) 2017-08-30

Family

ID=50230999

Family Applications (1)

Application Number Title Priority Date Filing Date
JP2013107273A Expired - Fee Related JP6187807B2 (ja) 2013-03-12 2013-05-21 ボールねじ装置

Country Status (4)

Country Link
US (1) US9416856B2 (ja)
EP (1) EP2778476B1 (ja)
JP (1) JP6187807B2 (ja)
CN (1) CN104048010B (ja)

Families Citing this family (30)

* Cited by examiner, † Cited by third party
Publication number Priority date Publication date Assignee Title
WO2007137243A2 (en) 2006-05-19 2007-11-29 Applied Medical Resources Corporation Surgical stapler
ES2699982T3 (es) 2013-03-14 2019-02-13 Applied Med Resources Grapadora quirúrgica con cavidades parciales
KR102526549B1 (ko) 2013-03-15 2023-04-27 어플라이드 메디컬 리소시스 코포레이션 회전가능 샤프트를 구비한 구동 메커니즘을 갖는 수술용 스테이플러
EP4129207B1 (en) 2013-03-15 2024-05-29 Applied Medical Resources Corporation Surgical stapler with expandable jaw
JP2015025544A (ja) * 2013-07-29 2015-02-05 株式会社ジェイテクト ボールねじ装置
ES2861258T3 (es) 2014-06-11 2021-10-06 Applied Med Resources Grapadora quirúrgica con disparo circunferencial
CA2962184C (en) 2014-09-15 2023-10-17 Applied Medical Resources Corporation Surgical stapler with self-adjusting staple height
FR3028714B1 (fr) * 2014-11-25 2017-03-31 Pellenc Sa Mecanisme de vis et ecrou a billes.
WO2017024300A2 (en) 2015-08-06 2017-02-09 Applied Medical Resources Corporation Surgical stapler having locking articulation joint
JP2017172605A (ja) * 2016-03-18 2017-09-28 Ntn株式会社 ボールねじ
KR102535333B1 (ko) 2016-04-12 2023-05-30 어플라이드 메디컬 리소시스 코포레이션 수술용 스테이플러에 대한 재장전 샤프트 어셈블리
US10517597B2 (en) 2016-04-12 2019-12-31 Applied Medical Resources Corporation Surgical stapler having articulation mechanism
JP6965268B2 (ja) 2016-04-12 2021-11-10 アプライド メディカル リソーシーズ コーポレイション 電動ハンドル付き外科用ステープラ
JP6772556B2 (ja) * 2016-05-30 2020-10-21 株式会社ジェイテクト ボールねじ装置およびステアリング装置
JP2018062980A (ja) * 2016-10-12 2018-04-19 株式会社ジェイテクト ボールネジ装置、ボールネジ装置の製造方法及びステアリング装置
JP6805752B2 (ja) 2016-11-25 2020-12-23 株式会社ジェイテクト ボールねじ装置、及びボールねじ装置を備えたステアリング装置
KR102680497B1 (ko) 2018-02-27 2024-07-04 어플라이드 메디컬 리소시스 코포레이션 전동 핸들을 갖는 수술용 스테이플러
WO2020174597A1 (ja) * 2019-02-26 2020-09-03 電元社トーア株式会社 加圧装置及び溶接装置
EP3930588B1 (en) 2019-02-27 2025-09-03 Applied Medical Resources Corporation Surgical stapling instrument having a two-position lockout mechanism
CA3135443A1 (en) 2019-03-29 2020-10-08 Applied Medical Resources Corporation Reload cover for surgical stapling system
JP7427873B2 (ja) * 2019-06-05 2024-02-06 株式会社ジェイテクト 転舵ユニット
EP4084713A1 (en) 2019-12-31 2022-11-09 Applied Medical Resources Corporation Electrosurgical system with tissue and maximum current identification
WO2021202698A1 (en) 2020-03-31 2021-10-07 Graco Minnesota Inc. Electrically operated pump for a plural component spray system
CN115362316A (zh) * 2020-03-31 2022-11-18 固瑞克明尼苏达有限公司 电动操作的往复式泵
JP2022012451A (ja) * 2020-07-01 2022-01-17 株式会社ジェイテクト ボールねじ装置
KR20230096076A (ko) 2020-10-29 2023-06-29 어플라이드 메디컬 리소시스 코포레이션 수술용 기구에 대한 재료 조합들 및 프로세싱 방법들
ES3034237T3 (en) 2020-10-29 2025-08-14 Applied Med Resources Surgical stapler having a powered handle
US11771428B2 (en) 2020-10-29 2023-10-03 Applied Medical Resources Corporation Actuation shaft retention mechanism for surgical stapler
JP7788459B2 (ja) 2021-01-14 2025-12-18 アプライド メディカル リソーシーズ コーポレイション シャフト認識機構を有する手術ステープラー
CN114439893A (zh) * 2022-01-19 2022-05-06 慈兴集团有限公司 一种一体式回球丝杆结构

Family Cites Families (26)

* Cited by examiner, † Cited by third party
Publication number Priority date Publication date Assignee Title
GB1050926A (ja) * 1900-01-01
GB559407A (en) * 1942-11-28 1944-02-17 Archibald Alexander Baillie Improved nut and screwed spindle for machine and like tools
US5094119A (en) * 1991-03-29 1992-03-10 Robec, Inc. Flexible ribbed, no-backlash ball nut
US5142929A (en) * 1991-03-29 1992-09-01 Robec, Inc. Ball nut with tangential no load-guided return path
JP3390631B2 (ja) * 1997-07-18 2003-03-24 Thk株式会社 ボール連結体及びこれを用いたボールねじ装置
DE10012810A1 (de) * 2000-03-16 2001-09-27 Rexroth Star Gmbh Wälzkörpergewindetrieb mit radial eingesetztem Umlenkelement
US6681651B2 (en) * 2000-07-18 2004-01-27 Thk Co., Ltd. Ball screw
JP2003156117A (ja) 2001-11-16 2003-05-30 Nsk Ltd ボールねじ装置
WO2006082936A1 (ja) * 2005-02-07 2006-08-10 Thk Co., Ltd. 運動案内装置
US8015889B2 (en) * 2005-11-15 2011-09-13 Honeywell International Inc. Ballscrew with an integral high-efficiency thrust bearing
US7523682B2 (en) * 2006-03-28 2009-04-28 Hiwin Technologies Corp. Ball screw device having a ball guide member
CN2924180Y (zh) * 2006-06-06 2007-07-18 全球滚珠科技股份有限公司 外循环滚珠螺帽
DE102006033852B4 (de) * 2006-07-21 2021-03-25 Robert Bosch Gmbh Schmiereinheit
CN101191544A (zh) * 2006-11-29 2008-06-04 上银科技股份有限公司 滚珠螺杆的回流结构及其回流元件
US7523681B2 (en) * 2006-12-07 2009-04-28 Hiwin Technologies Corp. Ball screw device having deflecting member background of the invention
US20090090207A1 (en) * 2007-10-07 2009-04-09 Chang Horng Ruey External Circulation Type Ball Screw
JP5388857B2 (ja) * 2007-10-31 2014-01-15 Thk株式会社 転動体ねじ装置
US20090308192A1 (en) * 2008-06-17 2009-12-17 Hiwin Technologies Corp. Ball screw device having bearing members of different load
JP2010071411A (ja) * 2008-09-19 2010-04-02 Jtekt Corp ボールねじ装置および電気式動力舵取装置
TWI368697B (en) * 2008-10-31 2012-07-21 Hiwin Tech Corp Circulation element for ball screw
JP5255503B2 (ja) * 2009-03-31 2013-08-07 Thk株式会社 転動体ねじ装置
US8096201B2 (en) * 2009-05-14 2012-01-17 Hiwin Technologies Corp. Dustproof device for ball screw apparatus
KR101562716B1 (ko) * 2010-11-15 2015-10-22 닛본 세이고 가부시끼가이샤 볼 나사
EP3096041B1 (en) * 2011-04-19 2018-12-12 Aktiebolaget SKF Ball screw assembly with one-piece deflecting elements
US8863601B2 (en) * 2012-02-23 2014-10-21 Hiwin Technologies Corp. Deflecting device for ball screw device
JP5411313B2 (ja) * 2012-04-27 2014-02-12 黒田精工株式会社 ボールねじ

Also Published As

Publication number Publication date
JP2014199132A (ja) 2014-10-23
EP2778476A1 (en) 2014-09-17
CN104048010B (zh) 2017-12-29
CN104048010A (zh) 2014-09-17
US20140260746A1 (en) 2014-09-18
US9416856B2 (en) 2016-08-16
EP2778476B1 (en) 2015-12-23

Similar Documents

Publication Publication Date Title
JP6187807B2 (ja) ボールねじ装置
US8151959B2 (en) One-way clutch unit
CN104071211B (zh) 动力转向装置及动力转向用减速装置
JP2015025544A (ja) ボールねじ装置
US9347534B2 (en) Ball screw device and electric power steering system including the same
JP2014228045A (ja) ボールねじ装置
EP2667051B1 (en) Gear device
CN111406167B (zh) 滚珠丝杠花键
JP2014156902A (ja) ボールねじ装置
JP2005201381A (ja) 減速機付モータ
WO2018105428A1 (ja) 偏心揺動型の歯車装置
JP6642061B2 (ja) 減速機構付きモータ及びパワーシート装置
KR20160105879A (ko) 기어 전동 장치
JP7494789B2 (ja) 減速機付モータ
JP2016211697A (ja) ボールねじナットとボールねじ機構とアクチュエータ
US20090084632A1 (en) Lubrication mechanism for bearing
JP2015132370A (ja) ボールねじ装置
JP4426389B2 (ja) ボールねじナット
JP2015143561A (ja) ボールねじ装置
JP2015010708A (ja) ボールねじ装置
JP2009162264A (ja) ボールねじ装置
JP4578111B2 (ja) 軸継手
JP2015113901A (ja) ボールねじ装置
JP4877136B2 (ja) 軸受ユニットおよび転がり軸受の固定方法
JP5110361B2 (ja) 伝達比可変機構およびこれを備える車両用操舵装置

Legal Events

Date Code Title Description
A621 Written request for application examination

Free format text: JAPANESE INTERMEDIATE CODE: A621

Effective date: 20160418

A977 Report on retrieval

Free format text: JAPANESE INTERMEDIATE CODE: A971007

Effective date: 20170223

A131 Notification of reasons for refusal

Free format text: JAPANESE INTERMEDIATE CODE: A131

Effective date: 20170302

A521 Request for written amendment filed

Free format text: JAPANESE INTERMEDIATE CODE: A523

Effective date: 20170329

TRDD Decision of grant or rejection written
A01 Written decision to grant a patent or to grant a registration (utility model)

Free format text: JAPANESE INTERMEDIATE CODE: A01

Effective date: 20170706

A61 First payment of annual fees (during grant procedure)

Free format text: JAPANESE INTERMEDIATE CODE: A61

Effective date: 20170719

R150 Certificate of patent or registration of utility model

Ref document number: 6187807

Country of ref document: JP

Free format text: JAPANESE INTERMEDIATE CODE: R150

LAPS Cancellation because of no payment of annual fees