JP6184792B2 - 給水装置 - Google Patents

給水装置 Download PDF

Info

Publication number
JP6184792B2
JP6184792B2 JP2013156182A JP2013156182A JP6184792B2 JP 6184792 B2 JP6184792 B2 JP 6184792B2 JP 2013156182 A JP2013156182 A JP 2013156182A JP 2013156182 A JP2013156182 A JP 2013156182A JP 6184792 B2 JP6184792 B2 JP 6184792B2
Authority
JP
Japan
Prior art keywords
pump
pressure
time
water
stop
Prior art date
Legal status (The legal status is an assumption and is not a legal conclusion. Google has not performed a legal analysis and makes no representation as to the accuracy of the status listed.)
Active
Application number
JP2013156182A
Other languages
English (en)
Other versions
JP2015025427A (ja
Inventor
手嶋 友治
友治 手嶋
展宏 檜垣
展宏 檜垣
陽介 原田
陽介 原田
祥子 宮内
祥子 宮内
康貴 小西
康貴 小西
一宏 金田
一宏 金田
亮太郎 唐木
亮太郎 唐木
Current Assignee (The listed assignees may be inaccurate. Google has not performed a legal analysis and makes no representation or warranty as to the accuracy of the list.)
Ebara Corp
Original Assignee
Ebara Corp
Priority date (The priority date is an assumption and is not a legal conclusion. Google has not performed a legal analysis and makes no representation as to the accuracy of the date listed.)
Filing date
Publication date
Application filed by Ebara Corp filed Critical Ebara Corp
Priority to JP2013156182A priority Critical patent/JP6184792B2/ja
Publication of JP2015025427A publication Critical patent/JP2015025427A/ja
Priority to JP2017144419A priority patent/JP6581626B2/ja
Application granted granted Critical
Publication of JP6184792B2 publication Critical patent/JP6184792B2/ja
Active legal-status Critical Current
Anticipated expiration legal-status Critical

Links

Images

Landscapes

  • Control Of Positive-Displacement Pumps (AREA)
  • Control Of Non-Positive-Displacement Pumps (AREA)
  • Structures Of Non-Positive Displacement Pumps (AREA)

Description

本発明は、ポンプを使用して、集合住宅やオフィスビルなどの建物に水を供給する給水装置に関する。
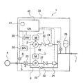
集合住宅やオフィスビルなどの建物に設置され、各給水端へ水を供給する装置として給水装置がある。図8は、このような給水装置の典型例を示すもので、給水装置は、水を加圧して送水する2台のポンプ102と、各ポンプ102を駆動するためのモータ103と、モータ103に電力を供給するインバータ(周波数変換器)120とを備えている。給水装置は、ポンプ102の吐出側に、圧力タンク128と吐出側圧力センサ126とを備え、それぞれのポンプ102毎にフロースイッチ(流量検出手段)124と逆止弁122とを備えている。これら圧力タンク128、吐出側圧力センサ126、フロースイッチ124、および逆止弁122は、ポンプ102の吐出口に接続された吐出管132に設けられている。
ポンプ102の吸込口に接続された吸込管105は、水道管4に接続されている。この吸込管105には、吸込側圧力センサ121と逆流防止装置125とが設けられている。更に、水道管4の圧力のみで給水を行うためのバイパス管108が吸込管105と吐出管132との間に設けられている。そして、バイパス管108の途中には逆止弁123が設けられている。ポンプ102の制御を行う制御部140は、これらのセンサからの信号に基づき、状況に応じたポンプ102の回転速度制御及び台数制御を行う。
このような給水装置において、給水端での水の使用量が少ない時には、ポンプ102の締切運転による加熱を防止し、かつ無駄な運転時間の削減(省エネルギー)を図るため、以下に説明する少水量停止動作が行われる。まず、フロースイッチ124が少水量を検出すると、このフロースイッチ124は、流量低下信号を発生する。そして、所定の時間、少水量状態が継続していることが確認される。この少水量状態が継続されていることを確認する時間および運転は、それぞれ、様子見時間および様子見運転と称されている。様子見運転が完了すると、ポンプ102は、圧力タンク128に蓄圧し、その後、停止するように制御される。フロースイッチ124が少水量を検出してからポンプ102が停止するまでが、少水量停止動作である。
ポンプ102が停止している状態で水が給水端で使用されると、まずは、圧力タンク128から各給水端に水が供給される。そして、圧力タンク128の圧力が所定の始動圧力値にまで低下したときに、再びポンプ102が始動させられるようになっている。ポンプ102は、給水端における水圧を所定の圧力に維持するように可変速運転を行い、その後、給水端での水の使用量が低下すると、再び少水量停止動作を行うようになっている。
少水量停止動作の目的は、ポンプ102の締切運転によるモータ103の過熱防止、および無駄な運転時間の削減である。この少水量停止動作時の蓄圧圧力が高すぎる場合、ポンプ102の停止前の蓄圧による急激な圧力上昇が頻繁に繰り返されることとなり、給水装置の機械的寿命に問題を及ぼす。さらには、各給水端では、頻繁な圧力変動が起こり、給水装置としての使い勝手が悪くなるという問題が生じる。少水量停止時の蓄圧による圧力上昇値を低く抑えれば、各給水端での急激な圧力上昇がなくなるため、給水装置としての使い勝手は良くなる。しかしながら、蓄圧による圧力上昇値が低い為、ポンプ102が停止されてからポンプ102が再始動されるまでの時間が短くなり、ポンプ102の始動停止の頻度が増えることになる。
このような問題を解決するために、特許文献1や特許文献2では、ファジイ推論機能を少水量停止動作に適用する構成が開示されている。この構成によれば、ポンプの締切運転による加熱防止および無駄な運転時間の削減という本来の少水量停止機能の目的を達成しながら、ポンプの始動停止頻度の低減および少水量停止前の蓄圧による急激な圧力上昇の低減という、相反する目的をそれぞれある程度バランス良く達成することができる。
しかしながら、各給水端における給水パターンは、人々のライフスタイルと同様に、千差万別、多種多様であり、一概にファジイ推論機能に基づく少水量停止動作は万能ではない。特に、戸数が多い住居等においては、夜間に断続的に少水量の給水がなされることがある。このような場合には、一度少水量の給水がなされてポンプが始動され、その後少水量停止動作を行ってポンプを停止した後に、次にいつポンプが始動されるかは給水装置は知るすべがない。例えば、数分毎に1分間に満たない少水量の給水が断続的に行われる時間帯が存在する場合もあれば、1時間以上全く給水がなされない場合もある。
近年、省エネルギーが社会的なニーズとなっている。ところが、従来のファジイ推論機能に基づく少水量停止動作は、直前の運転時間が短い場合には、様子見運転時間を長めにするというものである。夜間などの給水量が比較的少ない時間帯では、直前運転時間が短くなる場合が多く、従来のファジイ推論機能に基づく少水量停止動作を夜間に行った場合、ポンプが無駄に運転されることがあり、省エネルギーの観点からは矛盾が生じる場合がある。このように、始動頻度の抑制を考慮しすぎるあまり、給水の需要が少なくなった後も所定の時間様子見運転を行うと、無駄にエネルギーを消費することになる。
特開平7−71060号公報 特開平9−96278号公報
本発明は、上述した従来の問題点に鑑みてなされたもので、ポンプ始動頻度の過多を抑制しながらも、省エネルギーを達成することが可能な給水装置を提供することを目的とする。
上述した目的を達成するために、本発明の一態様は、水を移送するポンプと、前記ポンプを駆動するモータと、前記モータに電力を供給して前記ポンプを可変速運転する周波数変換器と、前記ポンプの吐出側圧力を保持する圧力タンクと、目標圧力制御カーブに従って前記ポンプの運転を制御する制御部とを備え、前記制御部は、水の使用量が少ない状態が継続していることを確認する様子見運転、前記ポンプを増速させて前記圧力タンクに蓄圧する蓄圧運転、および前記ポンプの停止を含む少水量停止動作を通常モードまたは省エネモードのいずれかで実行するように構成され、前記制御部は、前記少水量停止動作の直前の前記ポンプの運転時間が第1のしきい値を超えている場合には、前記少水量停止動作を通常モードで実行し、前記運転時間が前記第1のしきい値以下であって、かつ前記ポンプの前回の停止時間が第2のしきい値を超えている場合には、前記少水量停止動作を省エネモードで実行し、省エネモードでの前記様子見運転の時間は、0以上であって、かつ通常モードでの前記様子見運転の時間よりも短いことを特徴とする給水装置である。
本発明の好ましい態様は、前記制御部は、前記少水量停止動作の直前の前記ポンプの運転時間が第1のしきい値以下であって、かつ前記ポンプの前回の停止時間が第2のしきい値以下である場合には、前記少水量停止動作は現在選択されているモードを維持することを特徴とする。
本発明の好ましい態様は、前記少水量停止動作は、前記圧力タンクに蓄圧した後に前記吐出側圧力を保持する圧力保持運転をさらに含み、省エネモードでの前記圧力保持運転の時間は、0以上であって、かつ通常モードでの前記圧力保持運転の時間よりも短いことを特徴とする。
本発明の好ましい態様は、前記少水量停止動作を省エネモードで実行する場合に、前記運転時間と前記停止時間との合計が、所定の基準時間よりも短い場合は、前記制御部は、前記運転時間と前記停止時間との合計が前記所定の基準時間に達するまで前記ポンプの運転を継続することを特徴とする。
本発明の好ましい態様は、前記制御部は、前記目標圧力制御カーブとして、第1の目標圧力制御カーブ、および前記第1の目標圧力制御カーブよりも目標圧力が低い第2の目標圧力制御カーブのうちのいずれか1つを選択するように構成されており、前記少水量停止動作の直前の前記ポンプの運転時間が第1のしきい値を超えている場合には、前記少水量停止動作を通常モードで実行するとともに、前記第1の目標圧力制御カーブを選択し、前記運転時間が第1のしきい値以下であって、かつ前記ポンプの前回の停止時間が第2のしきい値を超えている場合には、前記少水量停止動作を省エネモードで実行するとともに、前記第2の目標圧力制御カーブを選択することを特徴とする。
本発明の好ましい態様は、前記ポンプの運転時間が第1のしきい値を超えている場合であって、前記ポンプが始動される直前の前記ポンプの停止時間が第2のしきい値を超えている場合には、前記目標圧力制御カーブは第2の目標圧力制御カーブを選択することを特徴とする。
本発明の好ましい態様は、前記蓄圧運転では、吐出側圧力を現在の値から所定の停止圧力値まで段階的に徐々に上昇させることを特徴とする。
本発明の他の態様は、水を移送するポンプと、前記ポンプを駆動するモータと、前記モータに電力を供給して前記ポンプを可変速運転する周波数変換器と、前記ポンプの吐出側圧力を保持する圧力タンクと、目標圧力制御カーブに従って前記ポンプの運転を制御する制御部とを備え、前記制御部は、水の使用量が少ない状態が継続していることを確認する様子見運転、前記ポンプを増速させて前記圧力タンクに蓄圧する蓄圧運転、および前記ポンプの停止を含む少水量停止動作を実行するように構成され、前記制御部は、前記目標圧力制御カーブとして、第1の目標圧力制御カーブ、および前記第1の目標圧力制御カーブよりも目標圧力が低い第2の目標圧力制御カーブのうちのいずれか1つを選択するように構成されており、前記制御部は、前記少水量停止動作の直前の前記ポンプの運転時間が第1のしきい値以下であって、かつ前記ポンプの前回の停止時間が第2のしきい値を超えている場合には、前記様子見運転を行わない省エネモードで前記少水量停止動作を実行し、かつ前記第2の目標圧力制御カーブを選択することを特徴とする給水装置である。
本発明の好ましい態様は、前記制御部は、前記少水量停止動作の直前の前記ポンプの運転時間が第1のしきい値以下であって、かつ前記ポンプの前回の停止時間が第2のしきい値以下である場合には、前記目標圧力制御カーブは現在選択されている目標圧力制御カーブを維持するとともに前記少水量停止動作は前回と同一の少水量停止動作を維持することを特徴とする。
本発明の好ましい態様は、前記少水量停止動作は、前記圧力タンクに蓄圧した後に前記吐出側圧力を保持する圧力保持運転をさらに含み、前記少水量停止動作を省エネモードで実行するときは、前記様子見運転および前記圧力保持運転を行わないことを特徴とする。
本発明の好ましい態様は、前記少水量停止動作を省エネモードで実行する場合に、前記ポンプの運転時間と前記停止時間との合計が、所定の基準時間よりも短い場合は、前記制御部は、前記運転時間と前記停止時間との合計が前記所定の基準時間に達するまで前記ポンプの運転を継続することを特徴とする。
本発明の好ましい態様は、前記蓄圧運転では、吐出側圧力を現在の値から所定の停止圧力値まで段階的に徐々に上昇させることを特徴とする。
本発明のさらに他の態様は、水を移送するポンプと、前記ポンプを駆動するモータと、前記モータに電力を供給して前記ポンプを可変速運転する周波数変換器と、前記ポンプの吐出側圧力を保持する圧力タンクと、目標圧力制御カーブに従って前記ポンプの運転を制御する制御部とを備え、前記制御部はエコ運転ボタンを備え、前記制御部は、水の使用量が少ない状態が継続していることを確認する様子見運転、前記ポンプを増速させて前記圧力タンクに蓄圧する蓄圧運転、および前記ポンプの停止を含む少水量停止動作を実行するように構成され、前記制御部は、前記目標圧力制御カーブとして、第1の目標圧力制御カーブ、および前記第1の目標圧力制御カーブよりも目標圧力が低い第2の目標圧力制御カーブのうちのいずれか1つを選択するように構成されており、前記エコ運転ボタンを押すと、前記制御部は、前記少水量停止動作の直前の前記ポンプの運転時間によらず、前記様子見運転を行わない省エネモードで前記少水量停止動作を実行し、前記制御部は、前記少水量停止動作の直前の前記ポンプの運転時間が第1のしきい値以下であって、かつ前記ポンプの前回の停止時間が第2のしきい値を超えている場合には、前記第2の目標圧力制御カーブを選択することを特徴とする給水装置である。
本発明の好ましい態様は、前記制御部は、前記少水量停止動作の直前の前記ポンプの運転時間が第1のしきい値以下であって、かつ前記ポンプの前回の停止時間が第2のしきい値以下である場合には、前記目標圧力制御カーブは現在選択されている目標圧力制御カーブを維持することを特徴とする。
本発明の好ましい態様は、前記少水量停止動作は、前記圧力タンクに蓄圧した後に前記吐出側圧力を保持する圧力保持運転をさらに含み、前記少水量停止動作を省エネモードで実行するときは、前記様子見運転および前記圧力保持運転を行わないことを特徴とする。
本発明の好ましい態様は、前記少水量停止動作を省エネモードで実行する場合に、前記ポンプの運転時間と前記停止時間との合計が、所定の基準時間よりも短い場合は、前記制御部は、前記運転時間と前記停止時間との合計が前記所定の基準時間に達するまで前記ポンプの運転を継続することを特徴とする。
本発明の好ましい態様は、前記蓄圧運転では、吐出側圧力を現在の値から所定の停止圧力値まで段階的に徐々に上昇させることを特徴とする。
本発明によれば、ポンプの最新の運転履歴(運転状況)に基づいて、少水量停止動作が通常モードまたは省エネモードのいずれかで実行される。つまり、水の使用が多いときには通常モードで少水量停止動作が行われ、水の使用が少ないときには省エネモードで少水量停止動作が行われる。したがって、ユーザーに不便さを感じさせることなく、ポンプ始動頻度の過多を抑制しながら、省エネルギーを実現することができる。
図1は、給水装置の一実施形態を示す模式図である。 図2は、推定末端圧力一定制御の一例を説明するためのポンプの運転特性図である。 図3は、ポンプの運転状態を示すグラフである。 図4は、省エネモードの少水量停止動作を示すグラフである。 図5は、様子見運転および圧力保持運転の時間が0である場合の省エネモードの少水量停止動作を示すグラフである。 図6は、第1の目標圧力制御カーブと第2の目標圧力制御カーブとを備えた給水装置の運転特性図である。 図7は、蓄圧運転を示すグラフである。 図8は、従来の給水装置を示す模式図である。
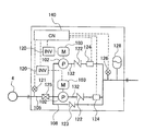
以下、本発明の実施形態について図面を参照して説明する。図1は、給水装置の一実施形態を示す模式図である。図1に示すように、給水装置1の吸込口は水道管4または図示しない受水槽に接続されている。給水装置1の吐出口には給水管7が接続されており、この給水管7は、建物の各階の給水端(例えば蛇口)に連通している。給水装置1は、水道管4または受水槽からの水を増圧して建物の各給水端に水を供給する。
ポンプが水道管4に直結される直結式の給水装置1は、ポンプ2と、このポンプ2を駆動する駆動装置としてのモータ3と、モータ3を可変速駆動する周波数変換器としてのインバータ20と、ポンプ2の吸込側に配置された逆流防止装置25と、逆流防止装置25の吸込側に配置された圧力センサ21と、ポンプ2の吐出側に配置された逆止弁22と、逆止弁22の吐出側に配置された圧力センサ26、フロースイッチ24、および圧力タンク28とを備えている。これら構成要素は、給水装置1のキャビネット30内に収容されている。なお、キャビネット30を備えていないタイプの給水装置もある。
ポンプ2の吸込口には吸込管5が接続され、ポンプ2の吐出口には吐出管32が接続されている。水道管4の圧力のみで給水を行うためのバイパス管8は、吸込管5と吐出管32との間に設けられており、バイパス管8には逆止弁23が設けられている。本実施形態では、ポンプ2、モータ3、逆止弁22、およびフロースイッチ24が2組設けられ、これらは並列に設けられている。なお、1組、または3組以上のポンプ、モータ、逆止弁、およびフロースイッチを設けてもよい。直結式給水装置では、図1に示すようにポンプ2が吸込管5を介して水道管4に接続されているが、受水槽式の給水装置では、ポンプ2は吸込管5を介して受水槽に接続される。この受水槽式の給水装置の場合、図1に示す逆流防止装置25、吸込側の圧力センサ21、及びバイパス管8は設けられない。
逆止弁22は吐出管32に設けられており、ポンプ2が停止したときの水の逆流を防止する。フロースイッチ24は吐出管32を流れる水の流量が所定の値にまで低下したことを検出する流量検出器である。圧力センサ26は、吐出側圧力(すなわち、給水装置1に加わる背圧)を測定するための水圧測定器である。圧力タンク28は、ポンプ2が停止している間の吐出側圧力を保持するための圧力保持器である。
給水装置1は、ポンプ2の動作を制御する制御部40を備えている。インバータ20、フロースイッチ24、圧力センサ21、圧力センサ26は、制御部40に信号線を介して接続されている。給水装置1は、水が使用されている給水動作中である場合、吐出側圧力の目標圧力を維持するように運転が行われる。水の流量が所定の値にまで低下したことがフロースイッチ24により検出されると、制御部40はポンプ2の回転速度を一時的に上げるようインバータ20に指令を出し、圧力タンク28に蓄圧してからポンプ2の運転を停止させる。吐出側圧力(吐出管32内の水圧)が所定の始動圧力値まで低下すると、制御部40はポンプ2の運転を開始するようインバータ20に指令を出す。制御部40には、ポンプ2を始動させるトリガーとなる始動圧力値が予め記憶されている。
ポンプ2が停止している状態で水が建物内で使用されると、ポンプ2の吐出側圧力が低下する。この吐出側圧力、すなわち圧力センサ26の出力値が上記所定の始動圧力値にまで低下すると、制御部40はポンプ2を始動させる。ポンプ2の運転中は、圧力センサ26の出力値に基づいて推定末端圧力一定制御や吐出側圧力一定制御などの圧力制御が行われる。
建物での水の使用が停止されると、ポンプ2から吐き出される水の流量が低下する。フロースイッチ24は、ポンプ2からの水の流量が所定の値まで低下したことを検出すると、流量低下信号を制御部40に送る。制御部40はこの流量低下信号を受け、インバータ20に指令を出して吐出側圧力が所定の停止圧力に達するまでポンプ2の回転速度を増加させ、その後ポンプ2を停止させる。このようなポンプ停止動作は、少水量停止動作と呼ばれている。
推定末端圧力一定制御では、建物内の給水管での抵抗損失に応じて目標圧力を適切に変化させることにより、給水端(蛇口など)での水圧が一定に制御される。図2は、推定末端圧力一定制御の一例を説明するためのポンプの運転特性図である。図2において、横軸は水の流量であり、縦軸は吐出側圧力すなわち揚程(ヘッド)である。
図2に示すPAは、最大流量時のポンプ2の吐出側圧力であり、PBは、ポンプ2の締切運転時(すなわち流量0時)のポンプ2の吐出側圧力である。記号NMAXで示される曲線は、圧力PAを達成する回転速度NMAXでポンプ2を運転したときのポンプ2の性能曲線であり、記号NMINで示される曲線は、圧力PBを達成する回転速度(締切回転速度)NMINでポンプ2を運転したときのポンプ2の性能曲線である。
目標圧力制御カーブRは、建物の最大の揚程、給水端(蛇口など)を使用するために必要な圧力、及び流量に依存する配管損失の合計に基づいて定められた曲線である。この目標圧力制御カーブRは、推定末端圧力一定制御を行うために使用される曲線であり、一般的には2次曲線としている。目標圧力制御カーブRは、ポンプ2の吐出し流量とポンプ2の目標圧力との関係を表している。ポンプ2は、性能曲線Nと目標圧力制御カーブRとの交点である運転点で運転される。
推定末端圧力一定制御においては、水の流量に応じた(目標圧力制御カーブRで示される)管路抵抗を考慮して、ポンプ2の回転速度が制御される。すなわち、ポンプ2の吐出側圧力が目標圧力制御カーブRに沿って変化するように圧力センサ26の出力値に基づいてポンプ2の回転速度が制御される。流量が少ないときは、管路抵抗が少ないので、その分ポンプ2の必要動力が低くなり、省エネルギー運転が実現される。
ポンプ2の運転中は、ポンプ2の吐出側圧力がPAとPBとの間で制御される。したがって、定常運転時では、ポンプ2はNMIN以上の回転速度で駆動される。なお、図2において、圧力PBが圧力PAに等しくなるように圧力PBを設定すると、制御部40は吐出圧力一定制御を実行する。この場合は、制御部40は、ポンプ2の吐出側圧力がPA(=PB)を保つように、ポンプ2の回転速度を制御する。
図3は、ポンプ2の運転状態を示すグラフである。図3において、縦軸はポンプ2の回転速度を表し、横軸は時間を表している。ポンプ2の吐出側圧力が低下して所定の始動圧力値に達すると、制御部40はポンプ2を始動させる(時間T1)。制御部40は、ポンプ2の吐出側圧力が目標圧力制御カーブRに沿って変化するように圧力センサ26の出力値に基づいてポンプ2の回転速度を制御する。給水端での水の使用が低下して水の流量が所定の値に達すると、フロースイッチ24は流量低下信号を制御部40に送信する(T2)。時間T1から時間T2までは給水装置1(ポンプ2)を運転して給水動作を行う。制御部40は、流量低下信号を受けても直ちには蓄圧運転を行わず、ある所定の時間の間だけ様子見運転を行う(T2からT3まで)。この様子見運転は、水の使用量が少ない状態が継続していることを確認するための運転であり、ポンプ2の頻繁な停止および起動を避けるため、およびフロースイッチ24の流量低下検出の精度を高めるために行われる。
この様子見運転中に、吐出側圧力が概ね一定に保たれている場合は、制御部40は、ポンプ2の目標圧力を一時的に上昇させて圧力タンク28に蓄圧し(T3からT4まで)、そして所定の時間だけポンプ2の目標圧力を一定に保つ圧力保持運転を行い(T4からT5まで)、その後ポンプ2を停止させる(T5)。このように、少水量停止動作は、吐出側圧力を監視する様子見運転、ポンプ2を増速させて圧力タンク28に蓄圧する蓄圧運転、圧力タンク28に蓄圧した後にポンプ2の目標圧力を一定に保って吐出側圧力を保持する圧力保持運転、およびポンプ2の停止から構成される。
しかしながら、このような少水量停止動作を行うにはある程度の時間が掛かり、省エネルギーの観点からは好ましくない。特に、夜間などの給水の需要が少ないときに、長い時間をかけて少水量停止動作を行うことは好ましくない。
そこで、制御部40は、ポンプ2の最新の運転履歴(運転状況)に基づいて、少水量停止動作を通常モードと省エネモードとの間で自動的に切り替えるように構成されている。図1に示すように、制御部40には、エコ運転ボタン41が設けられている。このエコ運転ボタン41は、給水装置1の運転を、通常運転と省エネ運転との間で切り替えるためのスイッチである。通常運転では、少水量停止動作は常に通常モードで実行される。省エネ運転では、上述したように、ポンプ2の最新の運転履歴(運転状況)に基づいて、少水量停止動作は通常モードまたは省エネモードのいずれかで実行される。エコ運転ボタン41を押すと、給水装置1の運転は、通常運転から省エネ運転に切り替えられ、エコ運転ボタン41をもう一度押すと、給水装置1の運転は、省エネ運転から通常運転に切り替えられる。
図3を参照して説明した少水量停止動作は、通常モードでの少水量停止動作である。図4は、省エネモードの少水量停止動作を示すグラフである。ポンプ2の吐出側圧力が低下して所定の始動圧力値に達すると、制御部40はポンプ2を始動させる(時間T1)。制御部40は、ポンプ2の吐出側圧力が目標圧力制御カーブRに沿って変化するように圧力センサ26の出力値に基づいてポンプ2の回転速度を制御する。給水端での水の使用が低下して水の流量が所定の値に達すると、フロースイッチ24は流量低下信号を制御部40に送信する(T2)。制御部40は、図3に示す通常モード時の様子見運転よりも短い時間で様子見運転を行う(T2からT3’まで)。制御部40は、ポンプ2の回転速度を一時的に上昇させて圧力タンク28に蓄圧し(T3’からT4’まで)、そして通常モード時の圧力保持運転よりも短い時間だけ圧力保持運転を行い(T4’からT5’まで)、その後ポンプ2の運転を停止させる(T5’)。
図3のグラフと図4のグラフとの対比から分かるように、省エネモードの少水量停止動作の時間は、通常モードの少水量停止動作の時間よりも短い。したがって、省エネモードの少水量停止動作を実行することにより、省エネルギーを実現することができる。
少水量停止動作の通常モードと省エネモードは、次のようにして切り替えられる。少水量停止動作の直前のポンプ2の運転時間t1(図3および図4参照)が所定の第1のしきい値を超えている場合には、制御部40は少水量停止動作を通常モードで実行する。上記運転時間t1が上記第1のしきい値以下であって、かつポンプ2の前回の停止時間t2(図3および図4参照)が所定の第2のしきい値を超えている場合には、制御部40は少水量停止動作を省エネモードで実行する。上記運転時間t1が上記第1のしきい値以下であって、かつポンプ2の前回の停止時間t2が上記所定の第2のしきい値以下である場合には、現在選択されているモード(通常モードまたは省エネモード)がそのまま維持される。すなわち前回と同一の少水量停止動作が行われる。このように、ポンプ2の最新の運転履歴(運転状況)に基づいて、少水量停止動作が通常モードと省エネモードとの間で切り替えられるので、ユーザーに不便さを感じさせることなく、ポンプ2の始動頻度の過多を抑制しながら、省エネルギーを実現することができる。
省エネモードでの様子見運転の時間は、0以上であって、かつ通常モードでの様子見運転の時間よりも短く設定される。さらに、省エネモードでの圧力保持運転の時間を、通常モードでの圧力保持運転の時間よりも短くしてもよい。この場合、省エネモードでの圧力保持運転の時間は0であってもよい。図5は、様子見運転および圧力保持運転の時間が0である場合の省エネモードの少水量停止動作を示すグラフである。図5から分かるように、様子見運転および圧力保持運転の時間が0であるということは、様子見運転および圧力保持運転が行われないことを意味する。この場合は、図4に示す省エネモードの少水量停止動作よりもさらなる省エネルギーを実現することができる。
さらに省エネルギーを向上させるために、少水量停止動作の通常モードと省エネモードとの切り替えと同時に、目標圧力制御カーブを、第1の目標圧力制御カーブR1と、この第1の目標圧力制御カーブR1よりも目標圧力が低い第2の目標圧力制御カーブR2との間で切り替えることが好ましい。図6は、上述した目標圧力制御カーブRとして、第1の目標圧力制御カーブR1と第2の目標圧力制御カーブR2とを備えた給水装置1の運転特性図である。第1の目標圧力制御カーブR1は、上述した目標圧力制御カーブRと同じである。これら第1の目標圧力制御カーブR1と第2の目標圧力制御カーブR2は、制御部40に記憶されている。
制御部40は、ポンプ2の最新の運転履歴(運転状況)に基づいて、少水量停止動作を通常モードと省エネモードとの間で切り替えると同時に、第1の目標圧力制御カーブR1と第2の目標圧力制御カーブR2のいずれかを選択するように構成されている。具体的には、少水量停止動作の直前のポンプ2の運転時間t1が第1のしきい値を超えている場合には、制御部40は、少水量停止動作を通常モードで実行するとともに、第1の目標圧力制御カーブR1を選択する。この場合、ポンプ2が始動した後は、制御部40は、この第1の目標圧力制御カーブR1に基づいてポンプ2の回転速度を制御する。運転時間t1が第1のしきい値以下であって、かつポンプ2の前回の停止時間t2が第2のしきい値を超えている場合には、制御部40は、少水量停止動作を省エネモードで実行するとともに、第2の目標圧力制御カーブR2を選択する。また、第2の目標圧力制御カーブR2を選択して、ポンプ2が始動した後、ポンプ2の運転時間t1が第1のしきい値を超えた場合には、制御部40は、ポンプ2の運転中に、第1の目標圧力制御カーブR1に切り替えて(を選択して)ポンプ2の運転を継続する。また、ポンプ2の前回の運転時間t1が第1のしきい値を超えている場合であっても、ポンプ2の始動直前の停止時間t2が第2のしきい値を超えている場合には、制御部40は、第2の目標圧力制御カーブR2を選択する。この場合、ポンプ2が始動した後は、制御部40は、この第2の目標圧力制御カーブR2に基づいてポンプ2の回転速度を制御する。
他の態様として、制御部40は、エコ運転ボタン41を押すと、少水量停止動作を省エネモードで実行して省エネを実現することができる。すなわち、制御部40は、エコ運転ボタン41を押すと、少水量停止動作を省エネモードで実行すると同時に、ポンプ2の最新の運転履歴(運転状況)に基づいて、第1の目標圧力制御カーブR1と第2の目標圧力制御カーブR2のいずれかを選択するように構成することができる。具体的には、エコ運転ボタン41を押すと、制御部40は、少水量停止動作の直前のポンプ2の運転時間t1によらず、少水量停止動作を省エネモードで実行する。その後、制御部40は、少水量停止動作の直前のポンプ2の運転時間t1が第1のしきい値を超えている場合には、第1の目標圧力制御カーブR1を選択し、ポンプ2が始動した後は、この第1の目標圧力制御カーブR1に基づいてポンプ2の回転速度を制御する。ポンプ2の前回の停止時間t2が第2のしきい値を超えている場合には、制御部40は、少水量停止動作を省エネモードで実行するとともに、第2の目標圧力制御カーブR2を選択する。この場合、ポンプ2が始動した後は、制御部40は、この第2の目標圧力制御カーブR2に基づいてポンプ2の回転速度を制御する。また、第2の目標圧力制御カーブR2を選択して、ポンプ2が始動した後、ポンプ2の運転時間t1が第1のしきい値を超えた場合には、制御部40は、ポンプ2の運転中に、第1の目標圧力制御カーブR1に切り替えて(を選択して)ポンプ2の運転を継続する。また、上記運転時間t1が上記第1のしきい値以下であって、かつポンプ2の前回の停止時間t2が上記所定の第2のしきい値以下である場合には、現在選択されている目標圧力制御カーブ(すなわち第1の目標圧力制御カーブR1または第2の目標圧力制御カーブR2)がそのまま維持される。
第2の目標圧力制御カーブR2の目標圧力は、第1の目標圧力制御カーブR1の目標圧力よりも低く設定されている。したがって、給水動作において第2の目標圧力制御カーブR2を使用することによって、省エネルギーを実現することができる。このように、少水量停止動作の省エネモードと、第2の目標圧力制御カーブR2とを組み合わせることによって、従来の給水装置では達成できなかった省エネルギー運転を実現することがきる。
省エネモードの少水量停止動作では、図4および図5に示すように、様子見運転が短い時間で行われるか、様子見運転が行われない。この場合、省エネルギーは実現されるが、その一方で、ポンプ2の起動および停止の頻度が増加することがある。そこで、ポンプ2の起動および停止の頻度を下げるために、運転時間t1と停止時間t2との合計が、所定の基準時間STよりも短い場合は(t1+t2<ST)、制御部40は、運転時間t1と停止時間t2との合計が所定の基準時間STに達するまでポンプ2の運転を継続してもよい。この場合におけるポンプ2の運転を継続させる時間(すなわち、ST−(t1+t2))は、付加的な運転時間であり、この付加的な運転時間の経過後に少水量停止動作が省エネモードで実行される。一方、運転時間t1と停止時間t2との合計が、所定の基準時間ST以上である場合は(t1+t2≧ST)、制御部40は直ちに少水量停止動作を省エネモードで実行する。所定の基準時間STは、例えば60秒である。このような運転を実行することにより、省エネルギーとポンプ2の起動停止の頻度低減とをバランスさせることができる。
図3乃至図5に示す蓄圧運転において、吐出側圧力が急激に上昇すると、圧力タンク28や配管系統にダメージを与える可能性がある。このため、蓄圧運転では、吐出側圧力を現在の値から所定の停止圧力値まで段階的に徐々に上昇させることが好ましい。例えば、図7に示すように、制御部40は、所定の蓄圧時間t3に亘ってポンプ2の目標圧力を段階的に上昇させ、吐出側圧力を現在の値P1から所定の停止圧力値P2まで段階的に徐々に上昇させる。より具体的には、制御部40は、停止圧力値P2から現在の値P1を引いた値ΔPを所定の蓄圧時間t3で割ることにより、単位時間dtあたりに上昇させる圧力増分dPを算出し、単位時間dtごとに圧力増分dPだけ吐出側圧力を増加させる。
他の例では、単位時間dtあたりに上昇させる圧力増分dPを予め設定しておき、吐出側圧力が停止圧力値P2に達するまで、単位時間dtごとに圧力増分dPだけ吐出側圧力を増加させてもよい。さらに他の例では、単位時間dtごとに次の目標圧力増分dPを決定し、吐出側圧力が停止圧力値P2に達するまで、次の目標圧力増分dPの決定と、この決定された目標圧力増分dPだけ吐出側圧力を増加させることを繰り返してもよい。このように徐々に吐出側圧力を増加させることにより、圧力タンク28や配管系統にダメージを与えることを防止することができる。
これまで本発明の一実施形態について説明したが、本発明は上述の実施形態に限定されず、その技術的思想の範囲内において種々異なる形態にて実施されてよいことはいうまでもない。
1 給水装置
2 ポンプ
3 モータ
4 水道管
5 吸込管
7 給水管
8 バイパス管
20 インバータ
21 圧力センサ
22 逆止弁
24 フロースイッチ
25 逆流防止装置
26 圧力センサ
28 圧力タンク
30 キャビネット
32 吐出管
40 制御部
41 エコ運転ボタン

Claims (17)

  1. 水を移送するポンプと、
    前記ポンプを駆動するモータと、
    前記モータに電力を供給して前記ポンプを可変速運転する周波数変換器と、
    前記ポンプの吐出側圧力を保持する圧力タンクと、
    目標圧力制御カーブに従って前記ポンプの運転を制御する制御部とを備え、
    前記制御部は、水の使用量が少ない状態が継続していることを確認する様子見運転、前記ポンプを増速させて前記圧力タンクに蓄圧する蓄圧運転、および前記ポンプの停止を含む少水量停止動作を通常モードまたは省エネモードのいずれかで実行するように構成され、
    前記制御部は、
    前記少水量停止動作の直前の前記ポンプの運転時間が第1のしきい値を超えている場合には、前記少水量停止動作を通常モードで実行し、
    前記運転時間が前記第1のしきい値以下であって、かつ前記ポンプの前回の停止時間が第2のしきい値を超えている場合には、前記少水量停止動作を省エネモードで実行し、
    省エネモードでの前記様子見運転の時間は、0以上であって、かつ通常モードでの前記様子見運転の時間よりも短いことを特徴とする給水装置。
  2. 前記制御部は、前記少水量停止動作の直前の前記ポンプの運転時間が第1のしきい値以下であって、かつ前記ポンプの前回の停止時間が第2のしきい値以下である場合には、前記少水量停止動作は現在選択されているモードを維持することを特徴とする請求項1に記載の給水装置。
  3. 前記少水量停止動作は、前記圧力タンクに蓄圧した後に前記吐出側圧力を保持する圧力保持運転をさらに含み、
    省エネモードでの前記圧力保持運転の時間は、0以上であって、かつ通常モードでの前記圧力保持運転の時間よりも短いことを特徴とする請求項1または2に記載の給水装置。
  4. 前記少水量停止動作を省エネモードで実行する場合に、前記運転時間と前記停止時間との合計が、所定の基準時間よりも短い場合は、前記制御部は、前記運転時間と前記停止時間との合計が前記所定の基準時間に達するまで前記ポンプの運転を継続することを特徴とする請求項1乃至3のいずれか一項に記載の給水装置。
  5. 前記制御部は、前記目標圧力制御カーブとして、第1の目標圧力制御カーブ、および前記第1の目標圧力制御カーブよりも目標圧力が低い第2の目標圧力制御カーブのうちのいずれか1つを選択するように構成されており、
    前記少水量停止動作の直前の前記ポンプの運転時間が第1のしきい値を超えている場合には、前記少水量停止動作を通常モードで実行するとともに、前記第1の目標圧力制御カーブを選択し、
    前記運転時間が第1のしきい値以下であって、かつ前記ポンプの前回の停止時間が第2のしきい値を超えている場合には、前記少水量停止動作を省エネモードで実行するとともに、前記第2の目標圧力制御カーブを選択することを特徴とする請求項1乃至4のいずれか一項に記載の給水装置。
  6. 前記ポンプの運転時間が第1のしきい値を超えている場合であって、前記ポンプが始動される直前の前記ポンプの停止時間が第2のしきい値を超えている場合には、前記目標圧力制御カーブは第2の目標圧力制御カーブを選択することを特徴とする請求項5に記載の給水装置。
  7. 前記蓄圧運転では、吐出側圧力を現在の値から所定の停止圧力値まで段階的に徐々に上昇させることを特徴とする請求項1乃至6のいずれか一項に記載の給水装置。
  8. 水を移送するポンプと、
    前記ポンプを駆動するモータと、
    前記モータに電力を供給して前記ポンプを可変速運転する周波数変換器と、
    前記ポンプの吐出側圧力を保持する圧力タンクと、
    目標圧力制御カーブに従って前記ポンプの運転を制御する制御部とを備え、
    前記制御部は、水の使用量が少ない状態が継続していることを確認する様子見運転、前記ポンプを増速させて前記圧力タンクに蓄圧する蓄圧運転、および前記ポンプの停止を含む少水量停止動作を実行するように構成され、
    前記制御部は、前記目標圧力制御カーブとして、第1の目標圧力制御カーブ、および前記第1の目標圧力制御カーブよりも目標圧力が低い第2の目標圧力制御カーブのうちのいずれか1つを選択するように構成されており、
    前記制御部は、前記少水量停止動作の直前の前記ポンプの運転時間が第1のしきい値以下であって、かつ前記ポンプの前回の停止時間が第2のしきい値を超えている場合には、前記様子見運転を行わない省エネモードで前記少水量停止動作を実行し、かつ前記第2の目標圧力制御カーブを選択することを特徴とする給水装置。
  9. 前記制御部は、前記少水量停止動作の直前の前記ポンプの運転時間が第1のしきい値以下であって、かつ前記ポンプの前回の停止時間が第2のしきい値以下である場合には、前記目標圧力制御カーブは現在選択されている目標圧力制御カーブを維持するとともに前記少水量停止動作は前回と同一の少水量停止動作を維持することを特徴とする請求項8に記載の給水装置。
  10. 前記少水量停止動作は、前記圧力タンクに蓄圧した後に前記吐出側圧力を保持する圧力保持運転をさらに含み、
    前記少水量停止動作を省エネモードで実行するときは、前記様子見運転および前記圧力保持運転を行わないことを特徴とする請求項8または9に記載の給水装置。
  11. 前記少水量停止動作を省エネモードで実行する場合に、前記ポンプの運転時間と前記停止時間との合計が、所定の基準時間よりも短い場合は、前記制御部は、前記運転時間と前記停止時間との合計が前記所定の基準時間に達するまで前記ポンプの運転を継続することを特徴とする請求項8乃至10のいずれか一項に記載の給水装置。
  12. 前記蓄圧運転では、吐出側圧力を現在の値から所定の停止圧力値まで段階的に徐々に上昇させることを特徴とする請求項8乃至11のいずれか一項に記載の給水装置。
  13. 水を移送するポンプと、
    前記ポンプを駆動するモータと、
    前記モータに電力を供給して前記ポンプを可変速運転する周波数変換器と、
    前記ポンプの吐出側圧力を保持する圧力タンクと、
    目標圧力制御カーブに従って前記ポンプの運転を制御する制御部とを備え、
    前記制御部はエコ運転ボタンを備え、
    前記制御部は、水の使用量が少ない状態が継続していることを確認する様子見運転、前記ポンプを増速させて前記圧力タンクに蓄圧する蓄圧運転、および前記ポンプの停止を含む少水量停止動作を実行するように構成され、
    前記制御部は、前記目標圧力制御カーブとして、第1の目標圧力制御カーブ、および前記第1の目標圧力制御カーブよりも目標圧力が低い第2の目標圧力制御カーブのうちのいずれか1つを選択するように構成されており、
    前記エコ運転ボタンを押すと、前記制御部は、前記少水量停止動作の直前の前記ポンプの運転時間によらず、前記様子見運転を行わない省エネモードで前記少水量停止動作を実行し、
    前記制御部は、前記少水量停止動作の直前の前記ポンプの運転時間が第1のしきい値以下であって、かつ前記ポンプの前回の停止時間が第2のしきい値を超えている場合には、前記第2の目標圧力制御カーブを選択することを特徴とする給水装置。
  14. 前記制御部は、前記少水量停止動作の直前の前記ポンプの運転時間が第1のしきい値以下であって、かつ前記ポンプの前回の停止時間が第2のしきい値以下である場合には、前記目標圧力制御カーブは現在選択されている目標圧力制御カーブを維持することを特徴とする請求項13に記載の給水装置。
  15. 前記少水量停止動作は、前記圧力タンクに蓄圧した後に前記吐出側圧力を保持する圧力保持運転をさらに含み、
    前記少水量停止動作を省エネモードで実行するときは、前記様子見運転および前記圧力保持運転を行わないことを特徴とする請求項13または14に記載の給水装置。
  16. 前記少水量停止動作を省エネモードで実行する場合に、前記ポンプの運転時間と前記停止時間との合計が、所定の基準時間よりも短い場合は、前記制御部は、前記運転時間と前記停止時間との合計が前記所定の基準時間に達するまで前記ポンプの運転を継続することを特徴とする請求項13乃至15のいずれか一項に記載の給水装置。
  17. 前記蓄圧運転では、吐出側圧力を現在の値から所定の停止圧力値まで段階的に徐々に上昇させることを特徴とする請求項13乃至16のいずれか一項に記載の給水装置。
JP2013156182A 2013-07-26 2013-07-26 給水装置 Active JP6184792B2 (ja)

Priority Applications (2)

Application Number Priority Date Filing Date Title
JP2013156182A JP6184792B2 (ja) 2013-07-26 2013-07-26 給水装置
JP2017144419A JP6581626B2 (ja) 2013-07-26 2017-07-26 給水装置

Applications Claiming Priority (1)

Application Number Priority Date Filing Date Title
JP2013156182A JP6184792B2 (ja) 2013-07-26 2013-07-26 給水装置

Related Child Applications (1)

Application Number Title Priority Date Filing Date
JP2017144419A Division JP6581626B2 (ja) 2013-07-26 2017-07-26 給水装置

Publications (2)

Publication Number Publication Date
JP2015025427A JP2015025427A (ja) 2015-02-05
JP6184792B2 true JP6184792B2 (ja) 2017-08-23

Family

ID=52490267

Family Applications (2)

Application Number Title Priority Date Filing Date
JP2013156182A Active JP6184792B2 (ja) 2013-07-26 2013-07-26 給水装置
JP2017144419A Active JP6581626B2 (ja) 2013-07-26 2017-07-26 給水装置

Family Applications After (1)

Application Number Title Priority Date Filing Date
JP2017144419A Active JP6581626B2 (ja) 2013-07-26 2017-07-26 給水装置

Country Status (1)

Country Link
JP (2) JP6184792B2 (ja)

Cited By (1)

* Cited by examiner, † Cited by third party
Publication number Priority date Publication date Assignee Title
CN109577415A (zh) * 2018-11-26 2019-04-05 南京工业大学 一种箱式无负压供水系统及其控制优化方法

Families Citing this family (15)

* Cited by examiner, † Cited by third party
Publication number Priority date Publication date Assignee Title
WO2015166905A1 (ja) * 2014-04-28 2015-11-05 日立工機株式会社 電動洗浄機
JP6534535B2 (ja) * 2015-02-18 2019-06-26 株式会社荏原製作所 給水システム
CN104929196A (zh) * 2015-04-29 2015-09-23 杭州美安物联科技有限公司 基于物联网的二次供水系统
JP6469520B2 (ja) * 2015-05-15 2019-02-13 株式会社荏原製作所 ポンプ装置、遠隔制御装置、及び、ポンプ装置の制御方法
CN105369859A (zh) * 2015-12-09 2016-03-02 临汾市尧都区新嘉星科技有限公司 一种多功能叠压堰式供水装置
JP6643118B2 (ja) * 2016-02-03 2020-02-12 株式会社荏原製作所 給水装置、および給水装置の運転方法
JP6643117B2 (ja) * 2016-02-03 2020-02-12 株式会社荏原製作所 給水装置、および給水装置の運転方法
JP6793484B2 (ja) * 2016-07-07 2020-12-02 株式会社荏原製作所 ポンプ装置
EP3369934B1 (de) * 2017-03-03 2024-12-11 Grundfos Holding A/S Umwälzpumpenaggregat
CN107178117A (zh) * 2017-06-05 2017-09-19 合肥佳洋电子科技有限公司 一种高层供水系统
JP6695466B1 (ja) * 2019-03-05 2020-05-20 株式会社川本製作所 給水装置
CN109778958A (zh) * 2019-03-20 2019-05-21 山东科源供排水设备工程有限公司 全流量全变频供水设备及该设备的使用方法
JP7336971B2 (ja) * 2019-11-28 2023-09-01 株式会社荏原製作所 給水装置
CN111733924B (zh) * 2020-06-08 2021-07-20 沈阳金安科技有限公司 一种分布式末端储能的轻载停机变频供水系统
JP2024059365A (ja) * 2022-10-18 2024-05-01 株式会社川本製作所 給水装置

Family Cites Families (4)

* Cited by examiner, † Cited by third party
Publication number Priority date Publication date Assignee Title
JP3256353B2 (ja) * 1993-09-01 2002-02-12 株式会社荏原製作所 可変速給水装置
JP3411137B2 (ja) * 1995-10-02 2003-05-26 株式会社荏原製作所 可変速給水装置
JP2003278659A (ja) * 2003-03-24 2003-10-02 Ebara Corp 給水装置
US9733650B2 (en) * 2011-12-27 2017-08-15 Ebara Corporation Water supply apparatus and water supply method

Cited By (1)

* Cited by examiner, † Cited by third party
Publication number Priority date Publication date Assignee Title
CN109577415A (zh) * 2018-11-26 2019-04-05 南京工业大学 一种箱式无负压供水系统及其控制优化方法

Also Published As

Publication number Publication date
JP2015025427A (ja) 2015-02-05
JP2017198222A (ja) 2017-11-02
JP6581626B2 (ja) 2019-09-25

Similar Documents

Publication Publication Date Title
JP6581626B2 (ja) 給水装置
JP6383806B2 (ja) 空気圧縮装置及び制御方法
US20100253266A1 (en) Brushless dc motor with soft-starting of pwm signals
JP6817079B2 (ja) 給水装置及び給水装置の制御方法
JP5159187B2 (ja) 可変速給水装置
JP6121267B2 (ja) 増圧給水システム
JP4684478B2 (ja) 給水装置の制御方法
JP6133672B2 (ja) ポンプ装置
JP4800515B2 (ja) コンプレッサの台数制御システム
JP2005083367A (ja) ポンプの台数制御システム
JP5094156B2 (ja) 給水装置
JP3414881B2 (ja) 給水装置
JP5232412B2 (ja) 直結式給水装置
JP6133676B2 (ja) ポンプ装置
EP2990652A1 (en) Pump device
JP6186366B2 (ja) 給水装置
JP2016050524A (ja) 給水装置
JP6220578B2 (ja) 増圧給水システム
US20160252086A1 (en) Method for operating a pump unit, pump unit and use thereof
JP7659894B2 (ja) 給水装置
KR101605111B1 (ko) 전력 절감을 위한 부스터 펌프 구동 장치 및 방법
JP5985330B2 (ja) 給水装置および給水装置の運転方法
JP7475658B2 (ja) 給水装置
JP2012017910A (ja) 貯湯式給湯機
JP4399655B2 (ja) 圧縮空気製造設備

Legal Events

Date Code Title Description
A621 Written request for application examination

Free format text: JAPANESE INTERMEDIATE CODE: A621

Effective date: 20160701

TRDD Decision of grant or rejection written
A977 Report on retrieval

Free format text: JAPANESE INTERMEDIATE CODE: A971007

Effective date: 20170622

A01 Written decision to grant a patent or to grant a registration (utility model)

Free format text: JAPANESE INTERMEDIATE CODE: A01

Effective date: 20170627

A61 First payment of annual fees (during grant procedure)

Free format text: JAPANESE INTERMEDIATE CODE: A61

Effective date: 20170726

R150 Certificate of patent or registration of utility model

Ref document number: 6184792

Country of ref document: JP

Free format text: JAPANESE INTERMEDIATE CODE: R150

R250 Receipt of annual fees

Free format text: JAPANESE INTERMEDIATE CODE: R250

R250 Receipt of annual fees

Free format text: JAPANESE INTERMEDIATE CODE: R250

R250 Receipt of annual fees

Free format text: JAPANESE INTERMEDIATE CODE: R250

R250 Receipt of annual fees

Free format text: JAPANESE INTERMEDIATE CODE: R250

R250 Receipt of annual fees

Free format text: JAPANESE INTERMEDIATE CODE: R250

R250 Receipt of annual fees

Free format text: JAPANESE INTERMEDIATE CODE: R250