JP6166101B2 - 光半導体素子収納用パッケージおよびこれを備えた実装構造体 - Google Patents

光半導体素子収納用パッケージおよびこれを備えた実装構造体 Download PDF

Info

Publication number
JP6166101B2
JP6166101B2 JP2013112981A JP2013112981A JP6166101B2 JP 6166101 B2 JP6166101 B2 JP 6166101B2 JP 2013112981 A JP2013112981 A JP 2013112981A JP 2013112981 A JP2013112981 A JP 2013112981A JP 6166101 B2 JP6166101 B2 JP 6166101B2
Authority
JP
Japan
Prior art keywords
semiconductor element
optical semiconductor
notch
wiring board
substrate
Prior art date
Legal status (The legal status is an assumption and is not a legal conclusion. Google has not performed a legal analysis and makes no representation as to the accuracy of the status listed.)
Active
Application number
JP2013112981A
Other languages
English (en)
Other versions
JP2014232796A (ja
Inventor
茂典 高谷
茂典 高谷
Current Assignee (The listed assignees may be inaccurate. Google has not performed a legal analysis and makes no representation or warranty as to the accuracy of the list.)
Kyocera Corp
Original Assignee
Kyocera Corp
Priority date (The priority date is an assumption and is not a legal conclusion. Google has not performed a legal analysis and makes no representation as to the accuracy of the date listed.)
Filing date
Publication date
Application filed by Kyocera Corp filed Critical Kyocera Corp
Priority to JP2013112981A priority Critical patent/JP6166101B2/ja
Publication of JP2014232796A publication Critical patent/JP2014232796A/ja
Application granted granted Critical
Publication of JP6166101B2 publication Critical patent/JP6166101B2/ja
Active legal-status Critical Current
Anticipated expiration legal-status Critical

Links

Images

Landscapes

  • Semiconductor Lasers (AREA)
  • Light Receiving Elements (AREA)

Description

本発明は、光半導体素子を収納するための光半導体素子収納用パッケージおよびこれを備えた実装構造体に関する。
光半導体素子を収納するための光半導体素子収納用パッケージは、主面を有する基板と、基板の主面上に配置され、貫通孔が形成された側部を有する枠体と、枠体の貫通孔を通って枠体の内側および外側に配置されたコネクタと、枠体の内側における基板の主面上に配置された台座部材と、コネクタに接続された配線基板とを備えている(例えば、特許文献1参照)。
また、このような光半導体素子収納用パッケージでは、配線基板は台座部材上に配置されており、配線基板は接合部材を介して台座部材に接合されている。
特開2003−174108号公報
ここで、このような光半導体素子収納用パッケージでは、光半導体素子の駆動の際に光半導体素子から熱が発生し、この熱が台座部材および配線基板に伝わる。そのため、光半導体素子の駆動による温度変化によって、台座部材および配線基板が熱膨張および熱収縮する可能性がある。
このとき、台座部材の熱膨張係数および配線基板の熱膨張係数の違いによって、台座部材および配線基板を接合する接合部材に応力が加わり、接合部材の接合強度が低下する可能性があった。接合部材の接合強度が低下すると、配線基板および台座部材の位置がずれることで、配線基板およびコネクタの位置もずれ、配線基板およびコネクタの接続信頼性が低下する可能性があるという問題点あった。
本発明は、上記の問題点に鑑みてなされたものであり、その目的は、配線基板およびコネクタの位置がずれることを低減し、配線基板およびコネクタの接続信頼性の低下を抑制できる光半導体素子収納用パッケージを提供することにある。
本発明に係る光半導体素子収納用パッケージは、主面に光半導体素子を搭載する素子搭載領域を有する基板と、前記素子搭載領域を取り囲むように前記基板の前記主面上に配置
され、貫通孔が形成された側部を有する枠体と、前記枠体の前記貫通孔を通って前記枠体の内側および外側に配置されたコネクタと、前記枠体の内側における前記基板の前記主面上に配置された台座部材と、前記台座部材上に配置された配線基板とを備え、前記台座部材は、上面に第1切欠き部を有しており、前記配線基板が、前記第1切欠き部内に配置され、接合部材を介して前記第1切欠き部の内面に接合されているとともに、前記コネクタに接続されており、前記台座部材の前記上面には、前記第1切欠き部に隣接して第2切欠き部が形成されているとともに、前記配線基板が幅狭部および幅広部を有し、前記幅狭部は前記第2切欠き部によって挟まれている
本発明に係る光半導体素子収納用パッケージによれば、配線基板およびコネクタの接続
信頼性の低下を抑制できる。
本発明に係る実装構造体によれば、上記光半導体素子収納用パッケージを備えていることで、配線基板およびコネクタの接続信頼性の低下を抑制できる。
本発明の実施形態に係る光半導体素子収納用パッケージおよびこれを備えた実装構造体であって、蓋体を外した状態での分解斜視図である。 図1のX方向から見た光半導体素子収納用パッケージの斜視図である。 図1の光半導体素子収納用パッケージであって、蓋体を外した状態での平面図である。 図3のI−I線に沿った断面図である。 台座部材、第1切欠き部、第2切欠き部および配線基板を示す斜視図である。 第1切欠き部、第2切欠き部および配線基板を示す平面図である。 図6のII−II線に沿った断面図である。 コート部材を除いた配線基板の信号配線および導電膜を示す平面図である。
[光半導体素子収納用パッケージおよび実装構造体]
本発明の実施形態に係る光半導体素子収納用パッケージおよびこれを備えた実装構造体について、図1〜図8を参照しながら説明する。
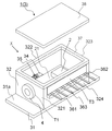
実装構造体1は、光半導体素子2と、光半導体素子収納用パッケージ3とを備えている。
光半導体素子2は、光信号を電気信号に変換または電気信号を光信号に変換するなど光信号の処理を行なう機能を有する。図1に示すように、光半導体素子2は基板31の主面31a上に配置されている。より具体的には、図1に示すように、基板31の主面31a上には素子用台座部材21が配置されており、光半導体素子2は素子用台座部材21を介して基板31の主面31a上に配置されている。また、図1に示すように、光半導体素子2は光半導体素子収納用パッケージ3に収納されている。
光半導体素子2としては、例えばレーザダイオードまたはフォトダイオードなどが挙げられる。光半導体素子2は、例えばヒ化ガリウム、ガリウム砒素リンまたは窒化ガリウムなどの半導体材料によって形成できる。
光半導体素子収納用パッケージ3は光半導体素子2を保護する機能を有する。図1に示すように、光半導体素子収納用パッケージ3は光半導体素子2を収納している。また、光半導体素子収納用パッケージ3は、基板31と、枠体32と、コネクタ33と、台座部材34と、配線基板35と、入出力端子36と、シールリング37と、蓋体38とを備える。
基板31は光半導体素子2を支持する機能を有する。基板31は主面31aを有している。また、基板31の主面31aは、光半導体素子2を搭載されるための素子搭載領域31bを有している。基板31は、1枚の金属板または複数の金属板を積層させた積層体からなる。基板の材料としては、例えば銅、鉄、タングステン、モリブデン、ニッケルまたはコバルトなどの金属、これらの金属を含んだ合金、セラミックス、ガラスあるいは樹脂等が挙げられる。なお、基板31の材料に金属材料を採用すれば、基板31を介して光半導体素子2から発生した熱を放熱できるので、半導体素子収納用パッケージ3の放熱性が向上する。
枠体32は、図1、図2および図3に示すように、光半導体素子2(素子搭載領域31b)を取り囲むように基板31の主面31a上に配置されている。枠体32は、第1側部321、第2
側部322、第3側部323および第4側部324を有している。
第1側部321は、光ファイバやフェルールなどの光信号を入出力させる部品が挿通され
るための第1貫通孔T1を有する部位である。第2側部322は、コネクタ33が挿通された
第2貫通孔T2を有する部位である。なお、本実施形態の第2側部322は第1側部321に隣接しているが、これには限られない。第3側部323は第1側部321と対向している部位である。第4側部324は、入出力端子36が挿通された第3貫通孔T3を有し、第1側部321に隣接している部位である。なお、第4側部324は第2側部322に対向している。
また、図4に示すように、本実施形態では、枠体32および台座部材34が一体形成されている。なお、枠体32および台座部材34を一体形成せずに、それぞれ別体として形成してもよい。
枠体32の材料としては、例えば銅、鉄、タングステン、モリブデン、ニッケルまたはコバルトなどの金属、これらの金属を含んだ合金、セラミックス、ガラスあるいは樹脂等が挙げられる。なお、本実施形態の枠体32では、金属または合金が採用されている。これによって、光半導体素子2の駆動の熱を枠体32で放熱しやすくなる。
枠体32の外側における第1側部321上には、光ファイバやフェルールなどの部品を保持
するための保持部材4がろう材などを介して接合されている。保持部材4によって保持された光ファイバやフェルールなどは、第1側部321の第1貫通孔T1に挿通され、枠体32
の内側に位置する光半導体素子2に光接続される。
コネクタ33は、配線基板35および外部のケーブル(不図示)を接続する機能を有する。図4に示すように、コネクタ33は、第2貫通孔T2を通って枠体32の外側および内側に位置している。また、コネクタ33は、中心導体331および外周導体332を有している。
図4に示すように、中心導体331は枠体32の内側および外側に延在している。中心導体331は外周導体332によって取り囲まれている。中心導体331は、外周導体332の中心軸33a
を通過して枠体32の内側および外側に延在している。なお、中心導体331および外周導体332の間には、ガラスなどの誘電性材料は配置されている。
外周導体332は、中心導体331の外周を取り囲むように配置されている。外周導体332は
中心導体331を保持している。図3および図4に示すように、外周導体332は、枠体32の外側における第2側部322上に配置されている。外周導体332は、枠体32の外側における第2側部322の表面に銀ろうなどのろう材を介して接合されている。より具体的には、外周導
体332は、第2側部322における第2貫通孔T2の周囲の表面に接合されている。
外周導体332は中心軸33aを有している。外周導体332の中心軸33aは第2貫通孔T2に重なっている。中心導体331は、中心軸33aに沿って配置され、誘電性材料を介して外周
導体332によって保持される。なお、図2に示すように、本実施形態の外周導体332は円筒状であるが、これに限定されない。
図4に示すように、コネクタ33では、中心導体331の一部は枠体32の外側に位置し、中
心導体331の他の一部は枠体32の内側に位置している。枠体32の外側に位置するコネクタ33の中心導体331には外部のケーブルが接続され、枠体32の内側に位置するコネクタ33の中心導体331には配線基板35が接続される。
本実施形態のコネクタ33は、同軸コネクタ構造を採用している。コネクタ33が同軸コネクタ構造である場合には、例えば、鉄−ニッケル−コバルト合金等の金属からなる外周導体332の中心軸33aに同じく鉄−ニッケル−コバルト合金等の金属からなる中心導体331がガラス材を介して固定されている。
中心導体331および外周導体332の材料は、例えば銅、鉄、タングステン、モリブデン、ニッケルまたはコバルトなどの金属、これらの金属を含んだ合金が挙げられる。
台座部材34は配線基板35を支持する機能を有する。台座部材34は、枠体32の内側における基板31の主面31a上に配置されている。また、台座部材34は枠体32の第2貫通孔T2に隣り合っている。
また、図4に示すように、本実施形態の台座部材34は枠体32と一体形成されている。これによって、枠体32とは別の部材として台座部材34を備える必要がなくなるので、光半導体素子収納用パッケージ3の部品点数が少なくなる。なお、本実施形態の台座部材34は枠体32と一体形成されているが、これには限られない。すなわち、台座部材34を他の部材と一体形成してもよく、例えば台座部材34を外周導体332と一体形成してもよい。
台座部材34は、上面に第1切欠き部341および第2切欠き部342を有している。第1切欠き部341は、基板31側に凹む凹部である。第1切欠き部341内には、配線基板35が配置されている。また、図7に示すように、第1切欠き部341の内面には接合部材Bが配置されて
おり、接合部材Bを介して第1切欠き部341の内面および配線基板35が接合されている。
接合部材Bとしては、半田または銀ろうなどのろう材などが挙げられる。
また、第2切欠き部342は基板31側に凹む凹部であり、第1切欠き部341に隣接して形成されている。また、本実施形態の第2切欠き部342は平面視して円弧状である。また、図
5および図6に示すように、本実施形態の第2切欠き部342は、第1切欠き部341における枠体32(第2側部322)側の端部に隣接している。また、本実施形態における第2切欠き
部342は、配線基板35を挟んで配線基板35の両側に位置している。
配線基板35は、光半導体素子2およびコネクタ33の中心導体331を接続する機能を有す
る。配線基板35は台座部材34の上面に配置されている。また、配線基板35は、台座部材34の第1切欠き部341内に配置されている。また、配線基板35は、第1切欠き部341の内面に接合部材Bを介して接合されている。すなわち、配線基板35および第1切欠き部341の間
には接合部材Bが介在している。なお、図7に示すように、本実施形態では、配線基板35の下面および配線基板35の側面の一部が、接合部材Bを介して第1切欠き部341の内面に
接合されている。
配線基板35は、絶縁基板351、信号配線352および導電膜353を有している。絶縁基板351は信号配線352および導電膜353を支持する機能を有している。本実施形態の絶縁基板351
は幅狭部351aおよび幅狭部351aよりも幅の大きい幅広部351bを有している。
絶縁基板351の材料は、例えば酸化アルミニウム質焼結体、ムライト質焼結体、炭化珪
素質焼結体、窒化アルミニウム質焼結体または窒化珪素質焼結体などのセラミックスが挙げられる。
信号配線352は、光半導体素子2およびコネクタ33の間で電気信号の伝送する機能を有
する。信号配線352は絶縁基板351の上面に配置されている。また、信号配線352は、半田
または銀ろうなどのろう材を介して枠体32の内側に位置するコネクタ33の中心導体331の
端部に接続されている。信号配線352は絶縁基板351の長手方向に延在している。
導電膜353は絶縁基板351の上面に配置されている。また、図7に示すように、本実施形態の導電膜353は、絶縁基板351の下面にも形成されている。また、絶縁基板351の上面に
位置する導電膜353は、信号配線352の両側に位置しており、信号配線352に接触していな
い。また、絶縁基板351の上面および下面に位置する導電膜353は、絶縁基板351の長手方
向に延在している。なお、導電膜353は、例えばグランド電位など一定の電位に設定され
ている。
また、信号配線352および導電膜353の一部にはアルミナ、クロムなどのコート材Cが形成されている。なお、図6では、コート材Cの形成領域が斜線で示されている。
配線基板35では、絶縁基板351の上面に信号配線352から離して導電膜353を形成するこ
とで、コプレーナ線路が構成され、信号配線352を伝達する高周波信号を所定のインピー
ダンス値に整合させやすくなり、高周波信号に発生する伝送損失を抑制させ、高周波信号を効率良く入出力させることができる。
入出力端子36は、光半導体素子2および外部回路基板(不図示)の間で電気信号の伝送する機能を有する。図1および図2に示すように、入出力端子36は枠体32の第3側部323
の第3貫通孔T3に挿通されている。また、入出力端子36は、基体361と、配線層362と、リード端子363とを有している。
基体361は、配線層362およびリード端子363を支持する機能を有する。基体361の材料としては、例えば、酸化アルミニウム質焼結体、ムライト質焼結体、炭化珪素質焼結体、窒化アルミニウム質焼結体または窒化珪素質焼結体などのセラミックスが挙げられる。
配線層362は、光半導体素子2が光信号から変換処理した電気信号をリード端子363まで伝送する機能を有する。図1に示すように、複数の配線層362が基体361上に配置されている。また、複数の配線層362は枠体32の外側から内側にかけて延在して配置されている。
枠体32の内側に位置する配線層362の部分は、ボンディングワイヤなどによって光半導体
素子2と電気的に接続される。一方、枠体32の外側に位置する配線層362の部分は、半田
またはろう材などによってリード端子363と電気的に接続される。配線層362の材料としては、例えば銅、銀、金、アルミニウム、ニッケル、モリブデン、タングステン、マンガンまたはクロムなどの金属材料、あるいはこれらの金属材料を含んだ合金が挙げられる。
リード端子363は、光半導体素子2から配線層362を介して伝送される電気信号を外部に伝送する機能を有する。リード端子363は配線層362に接続されている。また、リード端子363は、例えば銅、鉄、タングステン、モリブデン、ニッケルまたはコバルトなどの金属
材料、あるいはこれらの金属材料を含んだ合金からなる。
シールリング37は、枠体32および蓋体38を接合する機能を有する。図1に示すように、シールリング37は枠体32の第1側部321〜第4側部324の端面上に配置されており、平面視して光半導体素子2を取り囲んでいる。シールリング37の材料としては、例えば鉄、銅、銀、ニッケル、クロム、コバルト、モリブデンまたはタングステンなどの金属材料、あるいはこれらの金属材料を複数組み合わせた合金などが挙げられる。
蓋体38は、光半導体素子2を保護する機能を有する。また、図1に示すように、蓋体38は光半導体素子収納用パッケージ3の開口を封止している。蓋体38は、例えばシールリング37と同様の金属材料で形成することができる。
光半導体素子収納用パッケージ3では、配線基板35が台座部材34の第1切欠き部341内
に配置されるとともに、第1切欠き部341の内面に接合されている。第1切欠き部341の内面を利用することによって、接合部材Bを介した配線基板35および台座部材34の接合面積を増加させることができるので、配線基板35および台座部材34を強固に接合できる。したがって、例えば光半導体素子2の駆動の熱による温度変化によって、台座部材34および配線基板35が熱膨張および熱収縮して、接合部材Bに応力が加わっても、配線基板35および台座部材34の位置がずれることを低減し、配線基板35およびコネクタ33の接続信頼性の低下を抑制できる。
また、光半導体素子収納用パッケージ3では、台座部材34が、第1切欠き部341に隣接
した第2切欠き部342を有している。ここで、台座部材34は導電性材料で形成されている
ため、配線基板35および台座部材34の間で寄生容量が発生する。そのため、配線基板35の信号配線352に電気信号が伝達する際に、配線基板35および台座部材34の間の寄生容量に
よって、信号配線352の特性インピーダンスが変動してしまう可能性がある。また、例え
ば光半導体素子2の駆動の熱による温度変化によって、台座部材34および配線基板35が熱膨張および熱収縮すると、配線基板35の熱膨張係数および台座部材34の熱膨張係数の違いによって、配線基板35に応力が加わり、配線基板35にクラックが発生し、信号配線352が
断線する可能性がある。
これに対して、光半導体素子収納用パッケージ3では、台座部材34が第1切欠き部341
に隣接した第2切欠き部342を有している。第2切欠き部342によって台座部材34が切欠かれた分、台座部材34および配線基板35の間で発生する寄生容量を小さくできるので、信号配線352の特性インピーダンスが変動することを低減できる。加えて、第2切欠き部342によって配線基板35および台座部材34の間で発生する応力を分散できるので、配線基板35にクラックが発生することを低減でき、信号配線352が断線することを低減できる。
また、光半導体素子収納用パッケージ3では、第2切欠き部342が、第1切欠き部341における第2貫通孔T2側の端部に隣接している。すなわち、第2切欠き部342がコネクタ33の中心導体331近傍に位置している。これによって、配線基板35および台座部材34の間で発生する寄生容量を小さくできることに加え、コネクタ33(中心導体331)および台座部
材34の間で発生する寄生容量を小さくできる。したがって、信号配線352およびコネクタ33の特性インピーダンスの変動を抑制できる。加えて、第2切欠き部342がコネクタ33の中心導体331近傍に位置することで、コネクタ33(中心導体331)側の配線基板36の端部に生じる応力が低減されるので、コネクタ33(中心導体331)および信号配線352との接合部に加わる応力を低減でき、コネクタ33が信号配線352から剥がれることを抑制することがで
きる。
さらに、光半導体素子収納用パッケージ3では、第2切欠き部342が、配線基板35を挟
んで配線基板35の両側に位置している。両側に位置する第2切欠き部342によって、台座
部材34が切欠かれた分、台座部材34および配線基板35の間の寄生容量ならびに台座部材34および中心導体331の間の寄生容量をさらに小さくでき、信号配線352およびコネクタ33の特性インピーダンスの変動を低減できる。加えて、コネクタ33(中心導体331)側の配線
基板36の端部に生じる応力が低減されるので、コネクタ33および信号配線352との接合部
に加わる応力を低減でき、コネクタ33が信号配線352から剥がれることを抑制することが
できる。
また、第2切欠き部342は平面視して円弧状である。これによって、例えば光半導体素
子2の駆動の熱による温度変化によって、配線基板35および台座部材34が熱膨張し、第1切欠き部341に応力が加わった場合でも、配線基板35およびコネクタ33の両側に位置して
第1切欠き部341に隣接する第2切欠き部342の円弧状部分で応力を分散させることができるので、第2切欠き部342に応力を逃がすことができる。
また、光半導体素子収納用パッケージ3では、配線基板35が幅狭部351aおよび幅広部351bを有し、幅狭部351aは第2切欠き部342によって挟まれている。強度の小さくなりやすい配線基板35の幅狭部351aを円弧状の第2切欠き部342で挟むことで、配線基板35の幅狭部351aに加わる応力を低減できるので、配線基板35およびコネクタ33の接続信頼性の
低下を抑制できる。
また、図6に示すように、本実施形態の幅狭部351aは、中心導体331および信号配線352の接合部に比べて枠体32のより内側まで形成されている。これによって、台座部材34の
熱膨張係数および配線基板35の熱膨張係数の差に起因する応力を低減することができるとともに、中心導体331と信号配線352との接合部に生じる応力を低減することができる。
また、図6に示すように、本実施形態の第2切欠き部342は、幅狭部351aに比べて枠体32のより内側まで形成されている。これによって、台座部材34が切欠かれた分、台座部材34および配線基板35の間の寄生容量ならびに台座部材34および中心導体331の間の寄生容
量をさらに小さくでき、信号配線352およびコネクタ33の特性インピーダンスの変動を低
減できる。
また、実装構造体1は、上記の光半導体素子収納用パッケージ3の内部に光半導体素子2を収納している。光半導体素子収納用パッケージ3では、配線基板35およびコネクタ33の中心導体331の接続信頼性の低下を抑制できる。これによって、光半導体素子2および
コネクタ33の電気的な接続性の低下を抑制することができる。
本発明は上記実施形態に限定されるものではなく、本発明の要旨を逸脱しない範囲において種々の変更、改良などが可能である。
[光半導体素子収納用パッケージおよび実装構造体の製造方法]
以下、図1に示す光半導体素子収納用パッケージ3および実装構造体1の製造方法を説明する。なお、本発明は以下の実施形態に限定されるものではない。
まず、基板31、枠体32および保持部材4を作製する。基板31、枠体32および保持部材4のそれぞれは、溶融した金属材料を型枠に鋳込んで固化させたインゴットを金属加工法を用いることによって所定形状に成形することで作製される。そして、枠体32には、第1貫通孔T1〜第3貫通孔T3が形成されるとともに、第2側部322と一体的に、第1切欠き
部341および第2切欠き部342を有する台座部材34が形成される。
次に、基体361、配線層362およびリード端子363を有する入出力端子36を作製する。ま
ず、例えば、酸化アルミニウム、窒化ホウ素、窒化アルミニウム、窒化ケイ素、炭化ケイ素または酸化ベリリウムなどのセラミック粉末に、有機バインダー、可塑剤または溶剤等を添加混合した混合物を所定形状に加工する。次いで、タングステンまたはモリブデンなどの高融点金属粉末を準備し、この粉末に有機バインダー、可塑剤または溶剤等を添加混合して金属ペーストを準備する。そして、所定形状に加工した混合物の表面に金属ペーストを所定のパターンに印刷する。そして、これを焼成することによって、金属ペーストを配線層362とし、所定形状に加工した混合物を基体361とする。そして、銀ろうを介して配線層372上にリード端子373を接合することで、入出力端子37が作製される。
次に、枠体32を基板31の主面31aに配置し、保持部材4を枠体32の第1側部321の第1
貫通孔T1に重なるように配置するとともに、入出力端子37を第2貫通孔T2に挿入する。
次に、配線基板35を作製する。基体361および配線層362で説明した作製方法と同様に、セラミック混合物を所定形状に加工し、金属ペーストをセラミック混合物の所定部分に印刷する。そして、これを焼成することによって、金属ペーストを信号配線352、導電膜353、所定形状に加工した混合物を絶縁基板351とする配線基板35が作製される。なお、配線
基板35の所定の部分にコート部材Cを形成してもよい。
次に、台座部材34の第1切欠き部341に接合部材Bを配置し、この接合部材Bが配置さ
れた第1切欠き部341に配線基板35を配置する。そして、接合部材Bを溶融および固化す
ることによって、配線基板35を第1切欠き部341の内面に接合する。
このとき、接合部材Bを介して配線基板35を台座部材34に接合する際に、配線基板35の位置が変動した場合でも、第1切欠き部341の内面によって配線基板35の位置の変動が抑
制される。すなわち、第1切欠き部341によって、配線基板35の位置ずれを抑制すること
ができ、配線基板35を所望の位置に設けることができるので、中心導体331および信号配
線352の間の高周波信号の伝送特性が良好な光半導体素子収納用パッケージ3を製造でき
る。
次に、外周導体332の中心軸33aに中心導体331をガラスなどで接合固定させることで、コネクタ33を作製する。そして、コネクタ33を第2貫通孔T2に挿入するとともに、半田を溶融および固化させることによって、コネクタ33を枠体32に固定するとともに、中心導体331および配線基板35を接合する。
最後に、光半導体素子2を素子用台座部材21を介して基板31の主面31aの素子搭載領域31b上に配置し、光半導体素子2をボンディングワイヤなどを介して配線層362および信
号配線352と電気的に接続する。次いで、光半導体素子収納用パッケージ3を蓋体38にて
封止することで、実装構造体1を作製することができる。
1 実装構造体
2 光半導体素子
3 光半導体素子収納用パッケージ
31 基板
31a 主面
31b 素子搭載領域
32 枠体
321 第1側部
322 第2側部
323 第3側部
324 第4側部
33 コネクタ
331 中心導体
332 外周導体
33a 中心軸
34 台座部材
341 第1切欠き部
342 第2切欠き部
35 配線基板
351 絶縁基板
351a 幅狭部
351b 幅広部
352 信号配線
353 導電膜
36 入出力端子
361 基体
362 配線層
363 リード端子
37 シールリング
38 蓋体
4 保持部材
T1 第1貫通孔
T2 第2貫通孔
T3 第3貫通孔
B 接合部材
C コート材

Claims (5)

  1. 主面に光半導体素子を搭載する素子搭載領域を有する基板と、前記素子搭載領域を取り囲むように前記基板の前記主面上に配置され、貫通孔が形成された側部を有する枠体と、前記枠体の前記貫通孔を通って前記枠体の内側および外側に配置されたコネクタと、前記枠体の内側における前記基板の前記主面上に配置された台座部材と、前記台座部材上に配置された配線基板とを備え、
    前記台座部材は、上面に第1切欠き部を有しており、
    前記配線基板が、前記第1切欠き部内に配置され、接合部材を介して前記第1切欠き部の内面に接合されているとともに、前記コネクタに接続されており、
    前記台座部材の前記上面には、前記第1切欠き部に隣接して第2切欠き部が形成されているとともに、前記配線基板が幅狭部および幅広部を有し、前記幅狭部は前記第2切欠き部によって挟まれている光半導体素子収納用パッケージ。
  2. 前記第2切欠き部は、前記第1切欠き部における前記貫通孔側の端部に隣接している請求項に記載の光半導体素子収納用パッケージ。
  3. 前記第2切欠き部は、前記配線基板を挟んで前記配線基板の両側に位置している請求項またはに記載の光半導体素子収納用パッケージ。
  4. 前記第2切欠き部は、平面視して円弧状である請求項1〜3のいずれか1つに記載の光半導体素子収納用パッケージ。
  5. 請求項1〜のいずれかに記載の光半導体素子収納用パッケージと、
    前記基板の前記主面の前記前記素子搭載領域に搭載された光半導体素子とを備える実装構造体。
JP2013112981A 2013-05-29 2013-05-29 光半導体素子収納用パッケージおよびこれを備えた実装構造体 Active JP6166101B2 (ja)

Priority Applications (1)

Application Number Priority Date Filing Date Title
JP2013112981A JP6166101B2 (ja) 2013-05-29 2013-05-29 光半導体素子収納用パッケージおよびこれを備えた実装構造体

Applications Claiming Priority (1)

Application Number Priority Date Filing Date Title
JP2013112981A JP6166101B2 (ja) 2013-05-29 2013-05-29 光半導体素子収納用パッケージおよびこれを備えた実装構造体

Publications (2)

Publication Number Publication Date
JP2014232796A JP2014232796A (ja) 2014-12-11
JP6166101B2 true JP6166101B2 (ja) 2017-07-19

Family

ID=52126015

Family Applications (1)

Application Number Title Priority Date Filing Date
JP2013112981A Active JP6166101B2 (ja) 2013-05-29 2013-05-29 光半導体素子収納用パッケージおよびこれを備えた実装構造体

Country Status (1)

Country Link
JP (1) JP6166101B2 (ja)

Families Citing this family (2)

* Cited by examiner, † Cited by third party
Publication number Priority date Publication date Assignee Title
DE102017123342A1 (de) * 2017-10-09 2019-04-11 Schott Ag TO-Gehäuse mit hoher Reflexionsdämpfung
CN117767092B (zh) * 2023-12-18 2024-06-28 武汉光至科技有限公司 一种缓解加工应力及螺纹应力的激光腔体结构

Family Cites Families (5)

* Cited by examiner, † Cited by third party
Publication number Priority date Publication date Assignee Title
JP2002243992A (ja) * 2001-02-20 2002-08-28 Sumitomo Metal Electronics Devices Inc パッケ−ジ、パッケ−ジの組付け方法、及び組付用治具
JP3752473B2 (ja) * 2002-06-19 2006-03-08 京セラ株式会社 半導体素子収納用パッケージおよび半導体装置
JP2006128323A (ja) * 2004-10-27 2006-05-18 Kyocera Corp 半導体素子収納用パッケージおよび半導体装置
JP5225825B2 (ja) * 2008-12-17 2013-07-03 新光電気工業株式会社 半導体素子収納用パッケージの製造方法及び半導体装置の製造方法
JP5610892B2 (ja) * 2010-07-22 2014-10-22 京セラ株式会社 素子収納用パッケージ、およびこれを備えた半導体装置

Also Published As

Publication number Publication date
JP2014232796A (ja) 2014-12-11

Similar Documents

Publication Publication Date Title
JP5981660B2 (ja) 電子部品収納用パッケージおよび電子装置
EP2237316A1 (en) Connection terminal, package using the same and electronic device
JP6243510B2 (ja) 電子部品収納用パッケージおよび電子装置
CN106415821B (zh) 元件收纳用封装以及安装结构体
JP6166101B2 (ja) 光半導体素子収納用パッケージおよびこれを備えた実装構造体
WO2015088028A1 (ja) 素子収納用パッケージおよび実装構造体
JP5261104B2 (ja) 回路基板および電子装置
JP6046822B2 (ja) 素子収納用パッケージおよびこれを備えた実装構造体
JP5812671B2 (ja) 素子収納用パッケージおよびこれを備えた半導体装置
JP2009283898A (ja) 電子部品容器体およびそれを用いた電子部品収納用パッケージならびに電子装置
JP6829303B2 (ja) 絶縁基体、半導体パッケージおよび半導体装置
JP5873167B2 (ja) 半導体素子収納用パッケージおよび半導体装置
WO2015012405A1 (ja) 素子収納用パッケージおよび実装構造体
JP5709427B2 (ja) 素子収納用パッケージおよびこれを備えた半導体装置
JP6408661B2 (ja) To−can型パッケージ用ヘッダーおよび半導体装置
WO2015029880A1 (ja) 素子収納用パッケージおよび実装構造体
JP6051095B2 (ja) 光半導体素子収納用パッケージおよびこれを備えた実装構造体
JP6162520B2 (ja) 半導体素子収納用パッケージおよびこれを備えた実装構造体
JP5992785B2 (ja) 半導体素子収納用パッケージおよび半導体装置
JP6239970B2 (ja) To−can型パッケージ用ヘッダーおよび半導体装置
JP5791258B2 (ja) 電子部品収納用パッケージおよび実装構造体
JP6219693B2 (ja) 素子収納用パッケージおよびこれを備えた実装構造体
JP2012234880A (ja) 素子収納用パッケージおよびこれを備えた半導体装置

Legal Events

Date Code Title Description
A621 Written request for application examination

Free format text: JAPANESE INTERMEDIATE CODE: A621

Effective date: 20160115

A131 Notification of reasons for refusal

Free format text: JAPANESE INTERMEDIATE CODE: A131

Effective date: 20161018

A977 Report on retrieval

Free format text: JAPANESE INTERMEDIATE CODE: A971007

Effective date: 20161019

A521 Request for written amendment filed

Free format text: JAPANESE INTERMEDIATE CODE: A523

Effective date: 20161215

TRDD Decision of grant or rejection written
A01 Written decision to grant a patent or to grant a registration (utility model)

Free format text: JAPANESE INTERMEDIATE CODE: A01

Effective date: 20170523

A61 First payment of annual fees (during grant procedure)

Free format text: JAPANESE INTERMEDIATE CODE: A61

Effective date: 20170622

R150 Certificate of patent or registration of utility model

Ref document number: 6166101

Country of ref document: JP

Free format text: JAPANESE INTERMEDIATE CODE: R150