JP6130833B2 - プラスチック容器のブロー成形と充填のための装置 - Google Patents

プラスチック容器のブロー成形と充填のための装置 Download PDF

Info

Publication number
JP6130833B2
JP6130833B2 JP2014524339A JP2014524339A JP6130833B2 JP 6130833 B2 JP6130833 B2 JP 6130833B2 JP 2014524339 A JP2014524339 A JP 2014524339A JP 2014524339 A JP2014524339 A JP 2014524339A JP 6130833 B2 JP6130833 B2 JP 6130833B2
Authority
JP
Japan
Prior art keywords
head
mold
cap
capping
container
Prior art date
Legal status (The legal status is an assumption and is not a legal conclusion. Google has not performed a legal analysis and makes no representation as to the accuracy of the status listed.)
Active
Application number
JP2014524339A
Other languages
English (en)
Other versions
JP2014530793A (ja
JP2014530793A5 (ja
Inventor
ギョーム ショーバン,
ギョーム ショーバン,
ダミエン カネンギーサー,
ダミエン カネンギーサー,
Current Assignee (The listed assignees may be inaccurate. Google has not performed a legal analysis and makes no representation or warranty as to the accuracy of the list.)
Discma AG
Original Assignee
Discma AG
Priority date (The priority date is an assumption and is not a legal conclusion. Google has not performed a legal analysis and makes no representation as to the accuracy of the date listed.)
Filing date
Publication date
Application filed by Discma AG filed Critical Discma AG
Publication of JP2014530793A publication Critical patent/JP2014530793A/ja
Publication of JP2014530793A5 publication Critical patent/JP2014530793A5/ja
Application granted granted Critical
Publication of JP6130833B2 publication Critical patent/JP6130833B2/ja
Active legal-status Critical Current
Anticipated expiration legal-status Critical

Links

Images

Classifications

    • BPERFORMING OPERATIONS; TRANSPORTING
    • B65CONVEYING; PACKING; STORING; HANDLING THIN OR FILAMENTARY MATERIAL
    • B65BMACHINES, APPARATUS OR DEVICES FOR, OR METHODS OF, PACKAGING ARTICLES OR MATERIALS; UNPACKING
    • B65B3/00Packaging plastic material, semiliquids, liquids or mixed solids and liquids, in individual containers or receptacles, e.g. bags, sacks, boxes, cartons, cans, or jars
    • B65B3/02Machines characterised by the incorporation of means for making the containers or receptacles
    • BPERFORMING OPERATIONS; TRANSPORTING
    • B29WORKING OF PLASTICS; WORKING OF SUBSTANCES IN A PLASTIC STATE IN GENERAL
    • B29CSHAPING OR JOINING OF PLASTICS; SHAPING OF MATERIAL IN A PLASTIC STATE, NOT OTHERWISE PROVIDED FOR; AFTER-TREATMENT OF THE SHAPED PRODUCTS, e.g. REPAIRING
    • B29C49/00Blow-moulding, i.e. blowing a preform or parison to a desired shape within a mould; Apparatus therefor
    • B29C49/08Biaxial stretching during blow-moulding
    • B29C49/10Biaxial stretching during blow-moulding using mechanical means for prestretching
    • B29C49/12Stretching rods
    • BPERFORMING OPERATIONS; TRANSPORTING
    • B29WORKING OF PLASTICS; WORKING OF SUBSTANCES IN A PLASTIC STATE IN GENERAL
    • B29CSHAPING OR JOINING OF PLASTICS; SHAPING OF MATERIAL IN A PLASTIC STATE, NOT OTHERWISE PROVIDED FOR; AFTER-TREATMENT OF THE SHAPED PRODUCTS, e.g. REPAIRING
    • B29C49/00Blow-moulding, i.e. blowing a preform or parison to a desired shape within a mould; Apparatus therefor
    • B29C49/42Component parts, details or accessories; Auxiliary operations
    • B29C49/46Component parts, details or accessories; Auxiliary operations characterised by using particular environment or blow fluids other than air
    • BPERFORMING OPERATIONS; TRANSPORTING
    • B65CONVEYING; PACKING; STORING; HANDLING THIN OR FILAMENTARY MATERIAL
    • B65BMACHINES, APPARATUS OR DEVICES FOR, OR METHODS OF, PACKAGING ARTICLES OR MATERIALS; UNPACKING
    • B65B3/00Packaging plastic material, semiliquids, liquids or mixed solids and liquids, in individual containers or receptacles, e.g. bags, sacks, boxes, cartons, cans, or jars
    • B65B3/02Machines characterised by the incorporation of means for making the containers or receptacles
    • B65B3/022Making containers by moulding of a thermoplastic material
    • BPERFORMING OPERATIONS; TRANSPORTING
    • B65CONVEYING; PACKING; STORING; HANDLING THIN OR FILAMENTARY MATERIAL
    • B65BMACHINES, APPARATUS OR DEVICES FOR, OR METHODS OF, PACKAGING ARTICLES OR MATERIALS; UNPACKING
    • B65B7/00Closing containers or receptacles after filling
    • B65B7/16Closing semi-rigid or rigid containers or receptacles not deformed by, or not taking-up shape of, contents, e.g. boxes or cartons
    • B65B7/28Closing semi-rigid or rigid containers or receptacles not deformed by, or not taking-up shape of, contents, e.g. boxes or cartons by applying separate preformed closures, e.g. lids, covers
    • B65B7/2828Closing semi-rigid or rigid containers or receptacles not deformed by, or not taking-up shape of, contents, e.g. boxes or cartons by applying separate preformed closures, e.g. lids, covers inserting and rotating screw stoppers
    • BPERFORMING OPERATIONS; TRANSPORTING
    • B65CONVEYING; PACKING; STORING; HANDLING THIN OR FILAMENTARY MATERIAL
    • B65BMACHINES, APPARATUS OR DEVICES FOR, OR METHODS OF, PACKAGING ARTICLES OR MATERIALS; UNPACKING
    • B65B7/00Closing containers or receptacles after filling
    • B65B7/16Closing semi-rigid or rigid containers or receptacles not deformed by, or not taking-up shape of, contents, e.g. boxes or cartons
    • B65B7/28Closing semi-rigid or rigid containers or receptacles not deformed by, or not taking-up shape of, contents, e.g. boxes or cartons by applying separate preformed closures, e.g. lids, covers
    • B65B7/2835Closing semi-rigid or rigid containers or receptacles not deformed by, or not taking-up shape of, contents, e.g. boxes or cartons by applying separate preformed closures, e.g. lids, covers applying and rotating preformed threaded caps
    • BPERFORMING OPERATIONS; TRANSPORTING
    • B29WORKING OF PLASTICS; WORKING OF SUBSTANCES IN A PLASTIC STATE IN GENERAL
    • B29CSHAPING OR JOINING OF PLASTICS; SHAPING OF MATERIAL IN A PLASTIC STATE, NOT OTHERWISE PROVIDED FOR; AFTER-TREATMENT OF THE SHAPED PRODUCTS, e.g. REPAIRING
    • B29C49/00Blow-moulding, i.e. blowing a preform or parison to a desired shape within a mould; Apparatus therefor
    • B29C49/42Component parts, details or accessories; Auxiliary operations
    • B29C49/46Component parts, details or accessories; Auxiliary operations characterised by using particular environment or blow fluids other than air
    • B29C2049/4602Blowing fluids
    • B29C2049/465Blowing fluids being incompressible
    • B29C2049/4664Blowing fluids being incompressible staying in the final article
    • BPERFORMING OPERATIONS; TRANSPORTING
    • B29WORKING OF PLASTICS; WORKING OF SUBSTANCES IN A PLASTIC STATE IN GENERAL
    • B29CSHAPING OR JOINING OF PLASTICS; SHAPING OF MATERIAL IN A PLASTIC STATE, NOT OTHERWISE PROVIDED FOR; AFTER-TREATMENT OF THE SHAPED PRODUCTS, e.g. REPAIRING
    • B29C2949/00Indexing scheme relating to blow-moulding
    • B29C2949/07Preforms or parisons characterised by their configuration
    • B29C2949/0715Preforms or parisons characterised by their configuration the preform having one end closed
    • BPERFORMING OPERATIONS; TRANSPORTING
    • B29WORKING OF PLASTICS; WORKING OF SUBSTANCES IN A PLASTIC STATE IN GENERAL
    • B29CSHAPING OR JOINING OF PLASTICS; SHAPING OF MATERIAL IN A PLASTIC STATE, NOT OTHERWISE PROVIDED FOR; AFTER-TREATMENT OF THE SHAPED PRODUCTS, e.g. REPAIRING
    • B29C49/00Blow-moulding, i.e. blowing a preform or parison to a desired shape within a mould; Apparatus therefor
    • B29C49/02Combined blow-moulding and manufacture of the preform or the parison
    • B29C49/06Injection blow-moulding
    • BPERFORMING OPERATIONS; TRANSPORTING
    • B29WORKING OF PLASTICS; WORKING OF SUBSTANCES IN A PLASTIC STATE IN GENERAL
    • B29CSHAPING OR JOINING OF PLASTICS; SHAPING OF MATERIAL IN A PLASTIC STATE, NOT OTHERWISE PROVIDED FOR; AFTER-TREATMENT OF THE SHAPED PRODUCTS, e.g. REPAIRING
    • B29C49/00Blow-moulding, i.e. blowing a preform or parison to a desired shape within a mould; Apparatus therefor
    • B29C49/42Component parts, details or accessories; Auxiliary operations
    • B29C49/4273Auxiliary operations after the blow-moulding operation not otherwise provided for
    • B29C49/428Joining
    • B29C49/42802Joining a closure or a sealing foil to the article or pincing the opening

Landscapes

  • Engineering & Computer Science (AREA)
  • Mechanical Engineering (AREA)
  • Manufacturing & Machinery (AREA)
  • Filling Of Jars Or Cans And Processes For Cleaning And Sealing Jars (AREA)
  • Basic Packing Technique (AREA)
  • Sealing Of Jars (AREA)
  • Blow-Moulding Or Thermoforming Of Plastics Or The Like (AREA)
  • Gear Transmission (AREA)

Description

本発明は、プリフォームからプラスチック容器をブロー成形してこの容器に充填するための装置に関する。
ウォーターボトルなどのプラスチック容器は、ブロー成形または延伸ブロー成形を含む様々な方法にしたがって製造されて充填される。
これらの既知の方法のうちの1つによれば、プラスチックプリフォームが最初に射出成形プロセスによって製造され、その後、プラスチックプリフォームが金型内に配置される前に加熱される。
プリフォームは、通常、その下端部が閉じられかつその反対側の端部が開放されている円筒状のチューブの形状を成す。
プリフォームが金型内に配置されると、プリフォームの開放端部のみが金型の上方から見える。
この方法は、プリフォームの閉じられた下端部と当接するようにプリフォームの開放端部内へ下向きに嵌められる延伸ロッドを使用する。更に、延伸ロッドは、閉じられた端部に押し付けられるように作動され、それにより、プリフォームが延伸される。
延伸段階が開始された後、液体がプリフォームの開放端部を通じてプリフォーム内へ注入される。この液体注入は、金型の内壁と接触するまでプリフォームの拡張を引き起こし、それにより、ボトルの最終形状が得られる。
このようにして金型内で製造されて充填されたボトルは、その後、キャップを用いてシールされなければならない。
この観点で、金型が開放されるとともに、液体が充填されたボトルが、閉栓ヘッドを備えるステーションへ移動される。
キャップが閉栓ヘッド内に配置され、また、ボトルのねじ付き首部の周りで閉栓ヘッドが回転されて、キャップが首部の周囲に螺合される。
この方法は満足できることが分かっているが、それにもかかわらず、ブロー成形、充填、および、閉栓プロセスを更に容易にする必要性がある。
この観点で、本発明は、請求項1に規定される装置を提供する。
本発明に係る装置において、閉栓ヘッドは、(延伸工程および拡張工程による)容器のブロー成形中および充填中に、注入ヘッドと金型との間に配置される。したがって、容器がブロー成形されて充填された時点で、注入ヘッドを上昇させて、注入ヘッドと依然として容器を収容する金型との間に閉栓ヘッドを移動させる必要がない。これは、閉栓ヘッドが既に適切な位置に配置されているからである。
また、充填されて開放された容器を閉栓ヘッドが設けられる離れたステーションへ移動させる必要もなく、それにより、移動されているときの液体の飛散が回避されあるいは少なくとも低減される。
したがって、ブロー成形、充填、および、閉栓プロセスが従来技術の場合よりも簡略化されて高速化される。
1つの特徴によれば、閉栓ヘッドが、位置合わせ軸線周りに中心付けられる横断穴を有し、この位置合わせ軸線に沿って注入ヘッドおよび金型が位置合わせされ、横断穴は、注入ヘッドから容器の注出口内への液体の注入を可能にする。
したがって、閉栓ヘッドの横断穴は、注入ヘッドと金型との間に配置され、特に、液体が出る注入ヘッドの出口と容器の注出口との両方に対向している。
なお、位置合わせ軸線は、容器の注出口の中央も通り過ぎる。
1つの特徴によれば、閉栓ヘッドが注入ヘッドに装着される。
これは、注入ヘッドと金型との間での閉栓ヘッドの簡単な配置を与える。
特に、閉栓ヘッドは注入ヘッドの下側に装着される。
より特有の特徴によれば、閉栓ヘッドが注入ヘッドに対して回転可能に装着される。
この装着は、キャップが注出口の首部の周囲に螺合されるその後のステップにとって特に都合が良い。
しかしながら、回転式の閉栓ヘッドを必要としない他の種類の閉栓工程が想起されてもよい。
したがって、螺合閉栓、押圧閉栓、シール閉栓(アルミニウム箔を伴う)、および、超音波シール閉栓などの他の閉栓技術が想起されてもよい。
別の想定し得る特徴によれば、装置は、注入ヘッドおよび金型の位置合わせ軸線と一致する回転軸線の周りで閉栓ヘッドを回転駆動させるための駆動手段を備える。
したがって、装置は、容器の注出口にキャップを固定する目的で閉栓ヘッドを回転駆動させるための適切な手段を備える。
そのような駆動手段を装置に恒久的に組み込むことができ、それにより、該駆動手段を必要時に閉栓ヘッドに近づける必要がなくなる。
特に、駆動手段が回転軸線に対して横方向にオフセットされてもよい。
この配置は、駆動手段を装置内に恒久的な態様で受け入れることができるようにし(駆動手段は、注入ヘッドの長手方向移動を妨げない位置に配置される)、一方、閉栓ヘッドは注入ヘッドと金型との間に恒久的に配設される。
したがって、横方向にオフセットされた駆動手段は、容器がブロー成形されて充填された後に閉栓ヘッドおよび駆動手段の位置を変えることなく、閉栓目的で閉栓ヘッドの回転駆動を可能にする。
1つの想定し得る特徴によれば、駆動手段が、例えば噛み合い係合によって閉栓ヘッドの外周に連結される。
別の想定し得る特徴によれば、容器が金型内の所定位置に保持されている間に駆動手段が作動される。
この特徴は、ブロー成形されて充填された容器を収容する金型が、ブロー成形・充填プロセス中に占められる位置と同じ位置にとどまって依然として容器を所定位置に保持するという点において有効である。
したがって、容器内の液体の飛散が回避される。
別の想定し得る特徴によれば、駆動手段がブラシレスモータを備える。
これらの種類の駆動手段は、注出口のねじ付き首部の周囲にキャップを螺合する工程中に捩じ込みトルクの正確な制御を可能にする。
あるいは、他の種類のモータが磁気結合と共に想起されてもよい。
なお、閉栓工程中に容器を所定位置に保持する金型は、回転防止手段として使用される。
別の想定し得る特徴によれば、閉栓ヘッドは、容器の注出口に固定されるべきキャップを受けるための受け入れ手段と、キャップを受け入れ手段内に保持するための保持手段とを有する。
別の想定し得る特徴によれば、受け入れ手段が横断穴を備える。
したがって、キャップは、横断穴内に受けられるとともに、横断穴の内寸法とキャップの外寸法との適切な寸法付けによって横断穴内に強固に嵌め付けられてもよい。
想定し得る特徴によれば、保持手段が横断穴の周囲に配置される。
そのような保持手段は、例えば、横断穴の内壁および/または横断穴内に設けられる弾性手段であってもよい。
別の想定し得る特徴によれば、延伸手段が延伸ロッドを備える。
従来の態様において、そのような延伸手段は、金型内でプリフォームを延伸させるための延伸段階中に使用される。
別の想定し得る特徴によれば、装置は、内部にキャップが詰まる場合がある受け入れ手段へ向けて延伸ロッドを下方へ移動させるための作動手段を備える。
延伸ロッドは2つの目的を有する。これは、延伸ロッドが、ブロー成形・充填プロセス中の金型内でのプリフォームの延伸と、閉栓ヘッドの受け入れ手段内に詰まったキャップの解放との両方に関与するからである。
他の想定し得る特徴によれば、注入ヘッドが並進動作で移動できる。この動作は、注入ヘッドおよび金型の長手方向位置合わせ軸線に沿って行われる。
別の想定し得る特徴によれば、注入ヘッドおよび閉栓ヘッドは、閉栓ヘッドを金型へ移動させるため、または、閉栓ヘッドを金型から離間させるために、一緒に並進動作で移動できる。
そのような並進動作は、容器の注出口の周囲で閉栓ヘッドが金型と接触できるようにする。例えば、これは、ブロー成形・充填プロセス中に生じ得る。そのような動作は、例えばキャップが閉栓ヘッドへ供給されなければならないときに、閉栓ヘッドが金型から離間できるようにする。
別の想定し得る特徴によれば、装置は、
閉栓ヘッドが金型から離間された後に、ブロー成形型充填済容器の注出口に固定されるべきキャップを閉栓ヘッドと金型との間に移動させるための移動手段と、
キャップを閉栓ヘッドの受け入れ手段内に位置決めするための位置決め手段と
を備える。
したがって、閉栓ヘッドが金型から離間されたときに、閉栓ヘッドと金型から突出する容器の注出口との間に適切な空間が残される。この空間は、その内部に移動可能な移動手段および位置決め手段を配設するために使用される。
ここで、添付図面を参照して、本発明の実施形態を単なる一例として説明する。
図1は、本発明に係る装置のその主要な構成要素を伴う概略的な全体図である。 図2は、キャップを移動させて閉栓ヘッド上に位置決めするための手段を有する、図1の装置の概略的な部分図である。 図3Aは、キャップを移動させて閉栓ヘッド上に位置決めするとともにキャップを容器の注出口に固定するための一工程を示す一連の概略図である。 図3Bは、キャップを移動させて閉栓ヘッド上に位置決めするとともにキャップを容器の注出口に固定するための別の工程を示す一連の概略図である。 図3Cは、キャップを移動させて閉栓ヘッド上に位置決めするとともにキャップを容器の注出口に固定するためのさらに別の工程を示す一連の概略図である。 図3Dは、キャップを移動させて閉栓ヘッド上に位置決めするとともにキャップを容器の注出口に固定するためのさらに別の工程を示す一連の概略図である。 図4Aは、閉栓ヘッドの内側に引っ掛かったキャップを離脱させるための延伸ロッドの使用を示す2つの連続する図のうちの一方の図である。 図4Bは、閉栓ヘッドの内側に引っ掛かったキャップを離脱させるための延伸ロッドの使用を示す2つの連続する図のうちのもう一方の図である。
図1は、プリフォームからプラスチック容器へのブロー成形とこの容器への充填を同時に行うための装置10の主要な構成要素の概略的な部分図を示す。
図1に表わされるように、容器は、液体が充填されたボトル12である。
装置10は、図1の位置でボトル12を収容する金型14を備える。
また、装置10は注入ヘッド16を備え、この注入ヘッド16を通じて液体がボトルの成形中にボトル内へ注入されている。
装置10は延伸手段も備え、この延伸手段は、ここでは図4Aおよび図4Bに表わされる延伸ロッドを備えており、以下で説明される。
装置10は、注入ヘッド16に対して回転可能に装着される閉栓ヘッド18を更に備える。
点線で表わされるように、閉栓ヘッド18は、長手方向軸線A周りに中心付けられる横断穴20を有する。
軸線Aは位置合わせ軸線であり、この位置合わせ軸線に沿って注入ヘッド16および金型14が図1の製造形態で位置合わせされる。
横断穴20は、互いに反対の2つのサイド20a,20bを有する。サイド20aは注入ヘッド16と対向し、一方、反対側のサイド20bは、金型14、特に容器12の注出口22と対向する。
図面に表わされていないが、注入ヘッド16は出口を有し、閉栓ヘッド18が金型14に当接して横断穴20が注出口22を取り囲むと、液体が出口を通じて流れ、横断穴20および注出口22に入る。
この位置は、図面に示されておらず、容器がブロー成形されると同時に充填される位置を表わす。
また、装置10は、長手方向の位置合わせ軸線Aと一致する回転軸線を中心に閉栓ヘッド18を回転駆動させるための駆動手段24を備える。
図1に表わされるように、駆動手段24は、軸線Aに対して横方向にオフセットされ、閉栓ヘッド18の外周に連結される。
特に、駆動手段は、閉栓ヘッド18の外周に設けられたギア28と協働するギア26を備える。
これらのギアは、噛み合い係合状態にあってもよく、例えば歯付きギアであってもよい。
ギア26は、例えば、モータ24の出力シャフト30に装着される。
モータ24は、例えばブラシレスモータである。
このモータは、後述する捩じ込みプロセス中に閉栓ヘッド18、したがってキャップに伝えられる力の正確な制御を可能にする。
図1は、例えば出願人の欧州特許出願第1 529 620号明細書に記載されるような従来のプロセスによってブロー成形されると同時に液体が充填された後の製造された容器12を示す。
つまり、容器12は、プラスチックプリフォームから形成されている。
この既知のプロセスによれば、プラスチックプリフォームは、最初に成形プロセスによって製造された後、プリフォームの口部へのアクセスを残すように金型14内に位置決めされる前に加熱される。
したがって、プリフォームの口部は、プリフォームの残りの部分を収容する金型の上部から突出する。
金型14は、製造プロセスに応じて2つ以上の部分に分割されてもよい。
プリフォームは、通常、その下端部が閉じられかつその反対側の端部が開放されている
円筒状のチューブの形状を成す。
プリフォームが金型内に配置されると、プリフォームのその突出された口部を伴う開放端部のみが金型の上方から見える。
開放端部はプロセス中に成形され、それにより、注出口22がもたらされる。
ブロー成形・充填プロセスでは、プリフォームの閉じられた下端部と接触するようにプリフォームの開放端部内へ下向きに嵌められる延伸ロッド(図4Aおよび図4Bに表わされる)が使用される。
その後、延伸ロッドは、閉じられた端部を下方へ押圧し、それに応じてプリフォームを制御された態様で延伸させるべく更に作動される。
延伸段階が開始された後、注入ヘッド16を通じて供給される液体は、延伸ロッドが依然として作動されている間に、延伸ロッドの周囲でプリフォームの開放端部を通じてプリフォーム内へ注入される。
この液体注入は、延伸ロッドの動きと相俟って、金型の内壁と接触するまでプリフォームの拡張を引き起こす。
したがって、容器12の最終形状が得られる。
前述したプロセスにしたがって容器がブロー成形されて充填されると、キャップが容器の注出口22に固定されなければならない。
この観点で、軸線Aに沿って並進動作で一緒に移動できる注入ヘッド16および閉栓ヘッド18は、閉栓ヘッド18と注出口22との間に十分な自由空間を残すように軸線Aに沿って上昇させられる。
注入ヘッド16と閉栓ヘッド18との間の接続は、ニードルベアリングを備える回転可能な接続であることに留意すべきである。
そのような回転可能な接続は当業者に知られている。
なお、注出口22は、雄ねじ34を伴う首部32と、首部の基部に設けられるフランジ36とを有する。フランジ36は、金型14の上部に設けられる凹部内に位置決めされる。
図2は、金型14内に保持される容器12と、金型14および首部32から離れた閉栓ヘッド18とを表わす概略的な簡略図である。
装置10は、キャップ40を注出口22に固定されるように移動させるための移動手段38を備える。移動手段38は、休止位置(図示せず)から、閉栓ヘッド18と注出口22との間に位置付けられる作用位置へ移動されている。
移動手段38はキャップ配送プレートの形状を成してもよく、このプレートの上面には、例えば、キャップ40をプレート上の所定位置に位置決めして保持するために僅かな凹部が設けられる。
このプレートは、その外周に幾つかのキャップを備える回転プレートであってもよく、または、一端に1つのキャップのみを支持して軸線Aに対して垂直な軸線に沿って延ばされる長尺プレートであってもよい。
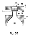
図3A〜図3Dは、容器の閉栓プロセスを示す一連の図を例示する。
図3Aは図2と同一であり、この場合、キャップ40は、閉栓ヘッド18と首部32との間に移動させられて、横断穴20の下側に横断穴のサイド20bと対向して配置されている。注入ヘッド16および取り付けられた閉栓ヘッド18は、移動手段38およびキャップ40へ向けて下降するように作動される。
図3Bに表わされるように、閉栓ヘッド18が首部32へ向けて下方へ移動され、閉栓ヘッド18が下方へ作動されるにつれてキャップ40が横断穴20内に強制的に嵌められる。
横断穴20の内側寸法(内径)およびキャップ40の外側寸法(外径)は、キャップ40を横断穴20内に圧入できかつ図3Cに表わされるようにキャップが所定位置にとどまることができるように調整される。
なお、キャップ40は穴20内に部分的に嵌められる。
キャップ40は、摩擦力によって閉栓ヘッドの受け入れ手段内(横断穴20の内側全体)に所定位置で保持される。キャップ40は、受け入れ手段内に強固に嵌め込んで取り付けられる。
横断穴20内へのキャップ40の導入度合は、キャップおよび穴のそれぞれの寸法によって決まる。それぞれの寸法が互いに一致すればするほど、キャップ40は横断穴20内へあまり導入されない。
本実施形態において、キャップ40は、注入ヘッドおよび閉栓ヘッドの並進動作のみによって閉栓ヘッド18の受け入れ手段内に位置決めされる。
これは、他のデバイスを何ら必要としない、キャップを閉栓ヘッド内の所定位置に配置するための非常に都合の良い手段である。また、移動手段38は、それらが垂直軸線Aに沿って移動可能である必要がないため、簡略化されてもよい。
しかしながら、閉栓ヘッド18の受け入れ手段内にキャップを位置決めするための他の位置決め手段が想起されてもよい。
キャップ40を閉栓ヘッド18と容器の注出口との間に移動させるための他の移動手段が代わりに想起されてもよい。
図3Cに戻ると、キャップ40が横断穴20内に適切に位置決めされた時点で、矢印により示されるように移動手段38が引込められる。
次に、キャップ40を備える閉栓ヘッド18が、それに応じて作動される注入ヘッド16により、軸線Aに沿って下方へ並進駆動され、首部32の周囲にキャップ40が配置される。
図3Dに表わされるように、既に前述したごとく閉栓ヘッド18を回転駆動させるために駆動手段24が駆動される。
したがって、閉栓ヘッドが軸線A周りで回転駆動される。閉栓ヘッド18のこの回転動作により、キャップ40が首部32の周囲で回転駆動され、それにより、容器の首部の周囲にキャップ40が強固に螺合される。
容器12を閉栓するための他の閉栓技術が代わりに想起されてもよい。例えば、押圧キャップタイプまたは超音波シール技術が使用されてもよい。超音波シールの場合には、オーバーモールド技術を使用して首部とキャップとが一緒に形成されてもよい。
言うまでもなく、以上説明してきた装置は、特に簡単な構成を成すとともに、僅かな簡単な動作(並進および回転)のみにしたがって移動できる可動部分または可動構成要素を有する。
また、閉栓ヘッドは、ブロー成形、充填、および、閉栓プロセス中に、長手方向軸線A(例えば、垂直軸線)に沿って並進動作で駆動され、あるいは、閉栓プロセスの最後のステップ中に回転駆動される(図3D)。
図4Aおよび図4Bは、注入ヘッド16および閉栓ヘッド18のみを表わす。金型14および閉塞容器12は、依然として閉栓ヘッドの下側に配置されているが、明確化のために示されていない。
図4Aに表わされるように、装置10は、注入ヘッド16内で摺動接続状態にある延伸ロッド42を備える。
延伸ロッド42は、該延伸ロッドを長手方向軸線Aに沿って上下に移動させる図示しない従来の作動手段によって作動される。
注入ヘッド16は、延伸ロッド42と、明確化のために図示されていない注入ノズルとを内部に受け入れる略円筒形状の内側ハウジング44を備える。
注入ノズルは、容器内への流体の注入がもはや必要でなくなったときに流体密のシールを達成するために内側ハウジング44の円錐台の内面46に当接している。
この注入ノズルは、前述した閉栓プロセス中に、この当接位置にとどまる。
注入ノズルは、延伸ロッド42を内部に受けるべく、その中央部が穿孔されている。
図4Aでは、キャップ48が受け入手段(閉栓ヘッド18の横断穴20)内に保持される。
しかしながら、キャップ48は、閉栓ヘッド18内に不正確に配置されている。
例えば、キャップ48は、キャップを詰まらせる非常に大きな距離にわたって横断穴20内に導入されてしまっている。
あるいは、キャップが傾斜した態様で穴20内に導入され、それにより、穴内でキャップが詰まってしまう場合がある。
この詰まり状況は、キャップを閉栓ヘッド内に位置決めするとき(図3B)、または、キャップを容器の注出口に固定するとき(図3D)、例えばキャップを螺合させて閉栓ヘッドを図3Dの位置から離れるように移動させようとした後に検出されてもよい。
この状況は、延伸ロッド42を使用して図4Aおよび図4Bに示されるように対処される。
図4Bに表わされるように、キャップ48の詰まりが検出されると、延伸ロッド42は、注入ヘッド18へ向けて、特に受け入れ手段20へ向けて下方へ移動させられる。
その後、延伸ロッド42は、キャップ48に対して垂直力を及ぼし、図4Bに示されるようにキャップを受け入れ手段20から下方へ押し出し、それにより、受け入れ手段を開放して、詰まったキャップを除去する。

Claims (16)

  1. プリフォームからプラスチック容器へのブロー成形とこの容器への充填を同時に行うための装置(10)であって、
    前記プリフォームの口部へのアクセスを残すように前記プリフォームを収容するための金型(14)と、
    前記金型内で前記プリフォームを延伸させるための延伸手段(42)と、
    前記金型内で前記プリフォームの拡張を引き起こすように前記口部を通じて液体を注入し、それにより、注出口(22)を備えるブロー成形型充填済容器(12)を得るための注入ヘッド(16)と
    を備える装置において、
    前記ブロー成形型充填済容器の前記注出口にキャップ(40)を固定するための閉栓ヘッド(18)を更に備え、前記閉栓ヘッドが、前記注入ヘッド(16)と前記金型(14)との間に恒久的に配置され、
    前記閉栓ヘッドが、位置合わせ軸線(A)周りに中心付けられる横断穴(20)を有し、前記位置合わせ軸線に沿って前記注入ヘッドおよび前記金型が位置合わせされ、前記横断穴が、前記注入ヘッドから前記容器の前記注出口内への液体の注入を可能にすることを特徴とする装置(10)。
  2. 前記閉栓ヘッド(18)が、前記容器の前記注出口に固定されるべきキャップ(40)を受けるための受け入れ手段(20)と、前記キャップを前記受け入れ手段内に保持するための保持手段とを有し、
    前記受け入れ手段が前記横断穴(20)を備え、
    前記保持手段が前記横断穴の周囲に配置される、請求項1に記載の装置。
  3. 前記閉栓ヘッド(18)が、前記容器の前記注出口に固定されるべきキャップ(40)を受けるための受け入れ手段(20)と、前記キャップを前記受け入れ手段内に保持するための保持手段とを有し、
    前記注入ヘッド(16)および前記閉栓ヘッド(18)が、前記閉栓ヘッドを前記金型(14)へ移動させるため、または、前記閉栓ヘッドを前記金型から離間させるために、一緒に並進動作で移動でき、
    前記閉栓ヘッドが前記金型から離間された後に、前記ブロー成形型充填済容器(12)の前記注出口(22)に固定されるべきキャップ(40)を前記閉栓ヘッドと前記金型との間に移動させるための移動手段(38)と、
    前記キャップを前記閉栓ヘッドの前記受け入れ手段内に位置決めするための位置決め手段と
    を備える、請求項1に記載の装置。
  4. 前記閉栓ヘッド(18)が前記注入ヘッド(16)に装着される、請求項1ないし3のいずれか1項に記載の装置。
  5. 前記閉栓ヘッドが前記注入ヘッドに対して回転可能に装着される、請求項4に記載の装置。
  6. 前記注入ヘッドおよび前記金型の前記位置合わせ軸線と一致する回転軸線の周りで前記閉栓ヘッドを回転駆動させるための駆動手段(24)を備える、請求項5に記載の装置。
  7. 前記駆動手段(24)が前記回転軸線に対して横方向にオフセットされる、請求項6に記載の装置。
  8. 前記駆動手段が前記閉栓ヘッドの外周(28)に連結される、請求項6または7に記載の装置。
  9. 前記ブロー成形型充填済容器(12)が前記金型内に保持されている間に前記駆動手段が作動される、請求項6〜8のいずれか一項に記載の装置。
  10. 前記駆動手段がブラシレスモータ(24)を備える、請求項6〜9のいずれか一項に記載の装置。
  11. 前記延伸手段が延伸ロッド(42)を備える、請求項1に記載の装置。
  12. 前記閉栓ヘッド(18)が、前記容器の前記注出口に固定されるべきキャップ(40)を受けるための受け入れ手段(20)と、前記キャップを前記受け入れ手段内に保持するための保持手段とを有し、
    前記受け入れ手段が前記横断穴(20)を備え、
    内部にキャップ(48)が詰まる場合がある前記受け入れ手段へ向けて前記延伸ロッドを下方へ移動させるための作動手段を備える、請求項11に記載の装置。
  13. 前記注入ヘッド(16)が並進動作で移動できる、請求項1に記載の装置。
  14. 前記注入ヘッド(16)および前記閉栓ヘッド(18)が、前記閉栓ヘッドを前記金型(14)へ移動させるため、または、前記閉栓ヘッドを前記金型から離間させるために、一緒に並進動作で移動できる、請求項13に記載の装置。
  15. 前記並進動作が、前記金型の上方で行われる垂直動作である、請求項13または14に記載の装置。
  16. 前記注入ヘッド(16)および前記閉栓ヘッド(18)が、前記閉栓ヘッドを前記金型(14)へ移動させるため、または、前記閉栓ヘッドを前記金型から離間させるために、一緒に並進動作で移動でき、
    前記閉栓ヘッドが前記金型から離間された後に、前記ブロー成形型充填済容器(12)の前記注出口(22)に固定されるべきキャップ(40)を前記閉栓ヘッドと前記金型との間に移動させるための移動手段(38)と、
    前記キャップを前記閉栓ヘッドの前記受け入れ手段内に位置決めするための位置決め手段と
    を備える、請求項2に記載の装置。
JP2014524339A 2011-08-08 2012-08-02 プラスチック容器のブロー成形と充填のための装置 Active JP6130833B2 (ja)

Applications Claiming Priority (3)

Application Number Priority Date Filing Date Title
EP11176852.9 2011-08-08
EP11176852 2011-08-08
PCT/EP2012/065116 WO2013020884A1 (en) 2011-08-08 2012-08-02 Apparatus for blowing and filling plastic containers

Publications (3)

Publication Number Publication Date
JP2014530793A JP2014530793A (ja) 2014-11-20
JP2014530793A5 JP2014530793A5 (ja) 2017-01-19
JP6130833B2 true JP6130833B2 (ja) 2017-05-17

Family

ID=46604330

Family Applications (1)

Application Number Title Priority Date Filing Date
JP2014524339A Active JP6130833B2 (ja) 2011-08-08 2012-08-02 プラスチック容器のブロー成形と充填のための装置

Country Status (9)

Country Link
US (1) US9688426B2 (ja)
EP (1) EP2741961B1 (ja)
JP (1) JP6130833B2 (ja)
CN (1) CN103781704B (ja)
BR (1) BR112014002781B1 (ja)
CA (1) CA2842849C (ja)
MX (1) MX354588B (ja)
RU (1) RU2601572C2 (ja)
WO (1) WO2013020884A1 (ja)

Families Citing this family (15)

* Cited by examiner, † Cited by third party
Publication number Priority date Publication date Assignee Title
JP6130833B2 (ja) * 2011-08-08 2017-05-17 ディスクマ アーゲーDiscma Ag プラスチック容器のブロー成形と充填のための装置
EP2813344B1 (en) * 2013-06-10 2016-11-16 Discma AG Apparatus and method for fabricating containers
DE102014104874A1 (de) 2014-04-04 2015-10-08 Krones Ag Vorrichtung und Verfahren zur Herstellung einer Kunststoffflasche und deren Befüllung mit einem Füllprodukt
JP6275581B2 (ja) * 2014-07-31 2018-02-07 株式会社吉野工業所 ブロー成形装置
WO2017078773A1 (en) 2015-11-03 2017-05-11 Discma Ag Seal for a container and method of installing prior to container ejection
DE102016107167A1 (de) 2016-04-18 2017-10-19 Krones Ag Verschließerkopf zum Verschließen eines Behälters mit einem Behälterverschluss
JP7240095B2 (ja) * 2017-01-17 2023-03-15 フェラム パッケージング アーゲー 容器を密封するための密封機械の排出装置用の排出ヘッド
JP6457055B2 (ja) * 2017-12-06 2019-01-23 株式会社吉野工業所 ブロー成形装置
DE102018108760A1 (de) * 2018-04-12 2019-10-17 Khs Corpoplast Gmbh Verfahren und Vorrichtung zum Befüllen von Behältern mit karbonisiertem Füllgut und dem anschließenden Verschließen der gefüllten Behälter
CN108821214A (zh) * 2018-08-15 2018-11-16 广州思诺密机械进出口有限公司 用于塑料瓶装生产线的整线一体机
DE102018125794A1 (de) 2018-10-17 2020-04-23 Krones Ag Formfüllen mit anschließender Verschließung unter Innendruck
IT201900007195A1 (it) 2019-05-24 2020-11-24 Gd Spa Stazione di tappatura di flaconi, in particolare per prodotti del settore farmaceutico.
CN110668373A (zh) * 2019-10-29 2020-01-10 江苏新美星包装机械股份有限公司 灌装封盖装置
CN110775926B (zh) * 2019-10-29 2022-03-08 江苏新美星包装机械股份有限公司 灌装封盖一体机
CN115303626B (zh) * 2022-08-05 2025-05-30 山东省鲁南地质工程勘察院(山东省地质矿产勘查开发局第二地质大队) 一种水工环岩土专业用的样品保护转运装置

Family Cites Families (33)

* Cited by examiner, † Cited by third party
Publication number Priority date Publication date Assignee Title
US2315478A (en) * 1938-09-16 1943-03-30 Monsanto Chemicals Method of producing plastic containers
US2958171A (en) * 1956-07-20 1960-11-01 Deckers Joseph Apparatus for the simultaneous manufacture and filling of packages
US3162706A (en) * 1960-04-13 1964-12-22 Dow Chemical Co Method of making and filling blown plastic bottles
US3196592A (en) * 1960-04-13 1965-07-27 Dow Chemical Co Machine for making and filling blown plastic bottles
NL284490A (ja) * 1961-10-25 1900-01-01
US3172706A (en) * 1962-04-10 1965-03-09 Kelsey Hayes Co Fluid pressure motor control system
US3785116A (en) * 1971-08-31 1974-01-15 Netstal Ag Maschf Giesserei Device for the production of filled and closed plastic containers
US4539172A (en) * 1983-12-16 1985-09-03 Baxter Travenol Laboratories, Inc. Method of blowmolding a container having an integral inner dispensing outlet
US5293809A (en) * 1988-03-28 1994-03-15 U.S. Philips Corporation Method of limiting a contact force
US5350483A (en) * 1990-12-21 1994-09-27 Avery-Dennison Corporation In-mold labeling insertion apparatus and method
JP2577995Y2 (ja) * 1991-03-28 1998-08-06 株式会社カントー技研 容器の充填装置
GB9306521D0 (en) * 1993-03-29 1993-05-19 Gei Filling Capping And Labell A capping machine
US5362222A (en) * 1993-08-31 1994-11-08 Cincinnati Milacron Inc. Injection molding machine having a vector controlled AC drive system
CN2214406Y (zh) * 1995-03-16 1995-12-06 中南制药机械二厂 一种旋盖装置
JP2001212874A (ja) * 2000-02-02 2001-08-07 Shikoku Kakoki Co Ltd 無菌容器成形充填方法
ITBO20030170A1 (it) * 2003-03-27 2004-09-28 Ima Spa Metodo e dispositivo per la chiusura controllata
ATE423670T1 (de) 2003-11-06 2009-03-15 Nestle Waters Man & Technology Herstellungsverfahren von behältern aus polyesterharz
CN2666878Y (zh) * 2003-12-11 2004-12-29 王辉宇 一种旋盖装置
CN2923656Y (zh) * 2005-08-20 2007-07-18 浙江圣雷机械有限公司 反正旋爪压式旋瓶盖机构
US7914726B2 (en) * 2006-04-13 2011-03-29 Amcor Limited Liquid or hydraulic blow molding
FR2914876B1 (fr) * 2007-04-10 2009-07-10 Sidel Participations Dispositif de moulage, par soufflage ou etirage-soufflage, de recipients en matiere thermoplastique
FR2918916B1 (fr) * 2007-07-19 2009-10-23 Sidel Participations Installation pour la fabrication de recipients a partir d'une preforme et procede de commande des moyens de soufflage d'une telle installation
ITBO20070545A1 (it) * 2007-08-02 2009-02-03 Acma Spa Macchina tappatrice
DE102009042109A1 (de) * 2009-09-11 2011-04-07 Closure Systems International Deutschland Gmbh Verschließmaschine und Verfahren zum Verschließen von Behältern
DE102010007541A1 (de) * 2009-12-23 2011-06-30 KHS Corpoplast GmbH, 22145 Verfahren und Vorrichtung zur Herstellung von gefüllten Behältern
CN201610365U (zh) * 2010-01-26 2010-10-20 江苏华宇飞凌包装机械有限公司 一种饮料灌装生产线上的装饰盖压盖头
FR2978371B1 (fr) * 2011-07-25 2013-08-16 Sidel Participations "dispositif d'injection d'un liquide sous pression pour le formage d'un recipient comportant une chambre de travail agencee en aval de moyens de pompage"
JP6130833B2 (ja) * 2011-08-08 2017-05-17 ディスクマ アーゲーDiscma Ag プラスチック容器のブロー成形と充填のための装置
US9254617B2 (en) * 2011-10-27 2016-02-09 Discma Ag Method and apparatus for forming and filling a container
EP2812172B1 (en) * 2012-02-10 2022-10-19 Discma AG A method of blowing, filling and capping containers
EP2983887B1 (en) * 2013-04-09 2016-11-09 Discma AG Extension device for the neck of a container formed in a machine for forming containers from preforms
EP3060481B1 (en) * 2013-10-21 2017-10-04 Discma AG Machine for forming and filling containers comprising a first closed loop and a second closed loop having a common part
DE102014104874A1 (de) * 2014-04-04 2015-10-08 Krones Ag Vorrichtung und Verfahren zur Herstellung einer Kunststoffflasche und deren Befüllung mit einem Füllprodukt

Also Published As

Publication number Publication date
MX354588B (es) 2018-03-12
US9688426B2 (en) 2017-06-27
BR112014002781A2 (pt) 2017-02-21
CN103781704A (zh) 2014-05-07
CN103781704B (zh) 2016-12-14
JP2014530793A (ja) 2014-11-20
WO2013020884A1 (en) 2013-02-14
CA2842849A1 (en) 2013-02-14
RU2014108864A (ru) 2015-09-20
RU2601572C2 (ru) 2016-11-10
BR112014002781B1 (pt) 2020-12-22
EP2741961B1 (en) 2020-02-12
CA2842849C (en) 2018-12-04
US20140174044A1 (en) 2014-06-26
MX2014001470A (es) 2014-02-27
EP2741961A1 (en) 2014-06-18

Similar Documents

Publication Publication Date Title
JP6130833B2 (ja) プラスチック容器のブロー成形と充填のための装置
JP2014530793A5 (ja)
JP6180442B2 (ja) 容器のブロー成形、充填、および、閉栓方法
CN105121129B (zh) 形成在由预制件形成容器的机器中的容器颈部的延伸装置
JP6072250B2 (ja) 容器を製造する方法および装置
RU2725362C2 (ru) Винтовая крышка, инструмент и способ завинчивания крышки на контейнер
JPH1076566A (ja) プリフォームにおけるネック部の内ねじ成形方法
US11738499B2 (en) Method of installing a seal for a container prior to container ejection
JP6523035B2 (ja) 液体ブロー成形装置及び液体ブロー成形方法
EP3342580A1 (en) Container molding apparatus and container molding method
WO2010012799A2 (en) Method for producing a first receptacle for a cosmetic product, associated mould, neck and receptacle
CN103717494B (zh) 填充有碳酸饮料的容器的脱气方法
EP3718740B1 (en) Liquid blow molding method
CN108883562B (zh) 利用液体吹塑成形的容器制造方法
WO2018179747A1 (ja) 容器製造方法
EP3718738B1 (en) Liquid blow molding method
JP7693494B2 (ja) 液体入り容器の製造方法
JP6739863B2 (ja) 液体ブロー成形による容器製造方法
JP2023080730A (ja) 液体入り容器の製造方法
US20170080620A1 (en) Method for producing a receptacle, receptacle obtained according to said method and device for producing the receptacle
ITPR20090064A1 (it) Metodo e testa di tappatura di bottiglie per tappi di sughero e di plastica

Legal Events

Date Code Title Description
A521 Request for written amendment filed

Free format text: JAPANESE INTERMEDIATE CODE: A523

Effective date: 20150708

A621 Written request for application examination

Free format text: JAPANESE INTERMEDIATE CODE: A621

Effective date: 20150708

A521 Request for written amendment filed

Free format text: JAPANESE INTERMEDIATE CODE: A523

Effective date: 20150730

A621 Written request for application examination

Free format text: JAPANESE INTERMEDIATE CODE: A621

Effective date: 20150730

RD02 Notification of acceptance of power of attorney

Free format text: JAPANESE INTERMEDIATE CODE: A7422

Effective date: 20160318

A711 Notification of change in applicant

Free format text: JAPANESE INTERMEDIATE CODE: A711

Effective date: 20160331

A131 Notification of reasons for refusal

Free format text: JAPANESE INTERMEDIATE CODE: A131

Effective date: 20160906

A524 Written submission of copy of amendment under article 19 pct

Free format text: JAPANESE INTERMEDIATE CODE: A524

Effective date: 20161201

TRDD Decision of grant or rejection written
A01 Written decision to grant a patent or to grant a registration (utility model)

Free format text: JAPANESE INTERMEDIATE CODE: A01

Effective date: 20170321

A61 First payment of annual fees (during grant procedure)

Free format text: JAPANESE INTERMEDIATE CODE: A61

Effective date: 20170414

R150 Certificate of patent or registration of utility model

Ref document number: 6130833

Country of ref document: JP

Free format text: JAPANESE INTERMEDIATE CODE: R150