JP6091908B2 - 端末装置及び表示プログラム - Google Patents

端末装置及び表示プログラム Download PDF

Info

Publication number
JP6091908B2
JP6091908B2 JP2013010495A JP2013010495A JP6091908B2 JP 6091908 B2 JP6091908 B2 JP 6091908B2 JP 2013010495 A JP2013010495 A JP 2013010495A JP 2013010495 A JP2013010495 A JP 2013010495A JP 6091908 B2 JP6091908 B2 JP 6091908B2
Authority
JP
Japan
Prior art keywords
panel
display
target area
frame
screen
Prior art date
Legal status (The legal status is an assumption and is not a legal conclusion. Google has not performed a legal analysis and makes no representation as to the accuracy of the status listed.)
Active
Application number
JP2013010495A
Other languages
English (en)
Other versions
JP2014142792A (ja
Inventor
勇吾 中村
勇吾 中村
Current Assignee (The listed assignees may be inaccurate. Google has not performed a legal analysis and makes no representation or warranty as to the accuracy of the list.)
THA LTD.
KDDI Corp
Original Assignee
THA LTD.
KDDI Corp
Priority date (The priority date is an assumption and is not a legal conclusion. Google has not performed a legal analysis and makes no representation as to the accuracy of the date listed.)
Filing date
Publication date
Application filed by THA LTD., KDDI Corp filed Critical THA LTD.
Priority to JP2013010495A priority Critical patent/JP6091908B2/ja
Publication of JP2014142792A publication Critical patent/JP2014142792A/ja
Application granted granted Critical
Publication of JP6091908B2 publication Critical patent/JP6091908B2/ja
Active legal-status Critical Current
Anticipated expiration legal-status Critical

Links

Images

Landscapes

  • User Interface Of Digital Computer (AREA)

Description

本発明は、端末装置及び表示プログラムに関する。
表示画面に定められた領域毎にアイコン画像を表示する電子装置(端末装置)が、特許文献1に開示されている。
特開2012−128619号公報
端末装置では、表示画面に情報を表示するに際して、ユーザに対して視覚的に心地良さや視認性を与えることが望まれている。
本発明は、前記の点に鑑みてなされたものであり、表示画面に情報を表示するに際して、ユーザに対して視覚的に心地良さや視認性を与えることができる端末装置及び表示プログラムを提供することを目的とする。
(1)上記の課題を解決するために、本発明に係る端末装置は、画面が格子状に区切られた複数の格子領域から構成され、前記格子領域を単位として1個以上の前記格子領域からなる対象領域毎に情報を表示する表示部と、前記対象領域に対する操作を検出する検出部と、前記検出部により操作が検出された前記対象領域を、前記操作が為された位置に応じて変形させて、前記表示部の画面に表示するように制御する制御部と、を備え、前記制御部は、前記操作が為された位置と前記対象領域の枠との間に働く所定の力が発生するとみなして、前記検出部により操作が検出された前記対象領域の変形後の形状を計算する、ことを特徴とする。
)上記の課題を解決するために、本発明に係る端末装置は、画面が格子状に区切られた複数の格子領域から構成され、前記格子領域を単位として1個以上の前記格子領域からなる対象領域毎に情報を表示する表示部と、前記対象領域に対する操作を検出する検出部と、前記検出部により操作が非検出である前記対象領域を、あらかじめ定められた操作が為されたとみなして変形させて、前記表示部の画面に表示するように制御する制御部と、を備え、前記制御部は、前記操作が為されたとみなされる位置と前記対象領域の枠との間に働く所定の力が発生するとみなして、前記検出部により操作が非検出である前記対象領域の変形後の形状を計算する、ことを特徴とする。
)上記の課題を解決するために、本発明に係る端末装置は、画面に長方形の対象領域毎に情報を表示する表示部と、前記対象領域に対する操作を検出する検出部と、前記検出部により操作が検出された前記対象領域を、前記操作が為された位置に応じて変形させるとともに、前記対象領域に対応する情報の表示態様を変化させて、前記表示部の画面に表示するように制御する制御部と、を備え、前記制御部は、前記操作が為された位置と前記対象領域の枠との間に働く所定の力が発生するとみなして、前記検出部により操作が検出された前記対象領域の変形後の形状を計算する、ことを特徴とする。
)上記の課題を解決するために、本発明に係る表示プログラムは、コンピュータに、画面が格子状に区切られた複数の格子領域の当該格子領域を単位として1個以上の前記格子領域からなる対象領域毎に情報を表示する手順と、前記対象領域に対する操作を検出する手順と、前記操作が検出された前記対象領域を、前記操作が為された位置に応じて変形させて、前記画面に表示するように制御する手順と、を実行させるためのプログラムであって、前記操作が為された位置と前記対象領域の枠との間に働く所定の力が発生するとみなして、前記操作が検出された前記対象領域の変形後の形状を計算する、プログラムである。
)上記の課題を解決するために、本発明に係る表示プログラムは、コンピュータに、画面が格子状に区切られた複数の格子領域の当該格子領域を単位として1個以上の前記格子領域からなる対象領域毎に情報を表示する手順と、前記対象領域に対する操作を検出する手順と、前記操作が非検出である前記対象領域を、あらかじめ定められた操作が為されたとみなして変形させて、前記画面に表示するように制御する手順と、を実行させるためのプログラムであって、前記操作が為されたとみなされる位置と前記対象領域の枠との間に働く所定の力が発生するとみなして、前記操作が非検出である前記対象領域の変形後の形状を計算する、プログラムである。
)上記の課題を解決するために、本発明に係る表示プログラムは、コンピュータに、画面に長方形の対象領域毎に情報を表示する手順と、前記対象領域に対する操作を検出する手順と、前記操作が検出された前記対象領域を、前記操作が為された位置に応じて変形させるとともに、前記対象領域に対応する情報の表示態様を変化させて、前記画面に表示するように制御する手順と、を実行させるためのプログラムであって、前記操作が為された位置と前記対象領域の枠との間に働く所定の力が発生するとみなして、前記操作が検出された前記対象領域の変形後の形状を計算する、プログラムである。
本発明によれば、表示画面に情報を表示するに際して、ユーザに対して視覚的に心地良さや視認性を与えることができる。
本発明の一実施形態に係る端末装置が有する表示部の画面の外観の概略の一例を示す図である。 本発明の一実施形態に係る端末装置の概略的な機能の構成例を示すブロック図である。 本発明の一実施形態に係る1個の格子領域から構成されるパネルの構成例を示す図である。 本発明の第1実施形態に係るパネルがユーザにより押下された場合におけるパネルの変形の概略の一例を示す図である。 本発明の第1実施形態に係るパネルがユーザにより押下された場合におけるパネルの変形の概略の一例を示す図である。 本発明の第1実施形態に係るパネルがユーザにより押下された場合におけるパネルの変形の概略の一例を示す図である。 本発明の第2実施形態に係るユーザによる操作がない場合におけるパネルの変形の一例を説明するための図である。 本発明の一実施形態に係る端末装置が有する表示部の画面の外観の概略の一例を示す図である。 本発明の一実施形態に係るバー状のパネルの構成例を示す図である。 本発明の第3実施形態に係るパネルがユーザにより押下された場合におけるパネルの変形の概略の一例を示す図である。 本発明の第3実施形態に係るパネルがユーザにより押下された場合におけるパネルの変形の概略の一例を示す図である。 本発明の第3実施形態に係るパネルがユーザにより押下されたまま押下点が移動させられた場合におけるパネルの変形の概略の一例を示す図である。 本発明の第3実施形態に係るパネルがユーザにより押下された場合におけるパネルの変形の概略の一例を示す図である。
本発明の一実施形態について図面を参照して詳細に説明する。
[第1実施形態]
<端末装置の構成例>
図1は、本発明の一実施形態に係る端末装置100が有する表示部150の画面(表示画面)の外観の概略の一例を示す図である。
本実施形態に係る端末装置100の表示画面は、横方向よりも縦方向が長い長方形を有している。そして、表示画面が、複数の格子領域に分割されて構成されている。表示画面において、複数の格子領域は、縦方向にn個及び横方向にm個(n、mは、それぞれ、1以上の整数であり、且つ、いずれか一方は2以上である。)の格子領域から構成されている。本実施形態では、n=5であり、m=3であり、表示画面は計15個の格子領域から構成されている。本実施形態では、各格子領域は正方形である。
本実施形態では、表示画面には、当該表示画面に向かって最も左上の格子を原点(0,0)とする格子単位のNM座標(N,M)=(0〜4,0〜2)として、向かって下向きのN軸と、向かって右向きのM軸と、が定められているとして説明する。
表示画面には、隣接する1以上の整数個の格子領域を有する領域(パネル)10〜14、20〜24、30、31、34が表示される。
図1の例では、パネル10〜14、20〜22、24、30、34は、それぞれ、1個の格子領域から構成されている。パネル23は、横に並ぶ2個の格子領域から構成されている。パネル31は、縦に並ぶ2個の格子領域から構成されている。また、端末装置100は、表示画面に、他の任意の複数の格子領域を組み合わせたパネルを表示することが可能である。
また、各パネル10〜14、20〜24、30、31、34には、アプリケーション自体を示すアイコンの画像や、アプリケーションにより表示される情報(例えば、文字、写真など)の画像が設定されて表示される。このような設定は、例えば、ユーザの操作により指定されて行われてもよく、或いは、端末装置100により自動的に行われてもよい。
図1の例では、パネル10には現在時刻を示すアナログ時計の画像が表示されており、パネル23にはメール等の文字列(“Hello!!”)の画像が表示されており、パネル34には穴埋め画像が表示されている。また、他のパネル11〜14、20〜22、24、30、31にも、それぞれ、様々な画像が表示される(図1では、図示を省略している。)。
また、本実施形態では、表示画面は、格子領域の単位(格子単位)よりも更に細かい複数の画素から構成されている。本実施形態では、表示画面には、当該表示画面に向かって最も左上の点を原点(0,0)とする画素単位のXY座標(X,Y)=(0〜XM,0〜YM)として、向かって下向きのX軸と、向かって右向きのY軸と、が定められているとして説明する。ここで、XM及びYMは、それぞれ、X軸方向の最大の座標値及びY軸方向の最大の座標値であり、図1の例では、XM:YM=5:3である。本実施形態では、1個の格子領域について、X軸方向の画素数とY軸方向の画素数は同じ数であり、例えば、数百である。
図2は、本発明の一実施形態に係る端末装置100の概略的な機能の構成例を示すブロック図である。
端末装置100は、検出部110と、記憶部120と、制御部130と、画像処理部140と、表示部150を備える。
本実施形態では、ユーザは、端末装置100の表示部150の表示画面に表示されているパネル10〜14、20〜24、30、31、34に対する操作を、その表示画面に指で触れる(タッチする)ことにより行う。
検出部110は、表示部150の表示画面を透明な部材で覆うように備えられる。検出部110は、表示画面に格子状に定められた格子領域から構成されるパネル10〜14、20〜24、30、31、34に対する操作を、例えば、ユーザの指と表示画面との接触(タッチ)に基づいて検出する。
検出部110は、表示画面においてユーザにより操作された位置を示す情報を、制御部130に出力する。ここで、操作された位置を示す情報は、例えば、表示部150の表示画面に定められたXY座標(X,Y)で表現される。
記憶部120は、制御部130を動作させるためのプログラムや、各種の情報を記憶する。例えば、記憶部120は、各パネル10〜14、20〜24、30、31、34に表示される画像の情報を記憶する。
制御部130は、各種の制御や処理を実行する。例えば、制御部130は、検出部110から入力される情報(表示画面においてユーザにより操作された位置)に基づいて、それに対応する処理を実行する。制御部130は、例えば、中央演算処理装置(CPU:Central Processing Unit)である。制御部130は、例えば、記憶部120に記憶されたプログラムに基づいて動作する。制御部130は、例えば、画像処理部140を制御して、表示部150の表示画面に表示される情報を制御する。
画像処理部140は、制御部130による制御に基づいて,各種の画像(例えば、アイコンの画像、時刻を示す画像、文字列を示す画像、穴埋め画像、写真の画像など)を生成する。画像処理部140は、生成した画像を示す情報を、表示画面に定められたパネル10〜14、20〜24、30、31、34毎に、表示部150に出力する。
表示部150は、画像処理部140により生成された画像を、表示画面に定められたパネル10〜14、20〜24、30、31、34毎に、当該表示画面に表示する。
<パネルの構成例>
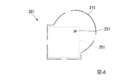
図3は、本発明の一実施形態に係る1個の格子領域から構成されるパネル201の構成例を示す図である。
正方形のパネル201の枠は、複数の点211(図3では、1個の点のみに符号を付してある)から構成されており、これら複数の点211を結んで構成される。
各点211は、例えば、画素位置(X,Y)の点と一致する。また、例えば、枠上に存在する全ての画素位置の点を用いてパネル201の枠が構成されてもよく、或いは、枠上に存在する全ての画素位置の点ではなく、所定間隔などの一部の画素位置の点を用いてパネル201の枠が構成されてもよい。
ここで、図3の例では、1個の格子領域から構成されるパネル201の構成例を示したが、2個以上の格子領域から構成されるパネルの構成例についても、同様である。
<パネルがユーザにより押下された場合の表示>
本実施形態では、画面のスクロールは行われておらず、スクロールは停止した状態であるとする。
他の例として、画面がスクロール中である場合には、例えば、画面がスクロール中である場合における表示態様(例えば、あらかじめ定められたもの)に従って表示画面の表示情報が制御される。なお、例えば、画面がスクロール中である場合に、本実施形態に係る表示態様が採用されてもよく、或いは、本実施形態に係る表示態様と他の表示態様とが組み合わされて用いられてもよい。
図4は、本実施形態に係るパネル201がユーザにより押下された場合におけるパネル201の変形の概略の一例を示す図である。
図4には、表示画面上において、パネル201の枠に対して、枠内に存在する点(押下の点)221がユーザの指により押下された場合に、制御部130が当該押下の点221に基づいて制御を行うことにより表示画面に表示されるパネル201の枠の形状の一例(パネル201の変形の一例)を示してある。また、図4には、参考として、変形前におけるパネル201の形状(元のパネル形状)251も示してあるが、これは実際には表示画面には表示されない。
図4の例では、変形後におけるパネル201の枠は、変形後における複数の点211(図4では、1個の点のみに符号を付してある)から構成され、これら変形後における複数の点211を結んで構成される。
本実施形態におけるパネル201の枠の変形の方法を説明する。
本実施形態では、パネル201の枠を構成する各点211に磁石の所定の大きさAを有するS極が存在するとみなす。
また、押下の点221が押下されたときに、当該押下の点221に磁石の所定の大きさBを有するS極が発生するとみなす。
そして、パネル201の枠を構成する各点211に、当該各点211のS極と押下の点221のS極とによる磁石の力(反発力)が発生するとして、各点211の位置を時間の流れに応じて変化させる。
ここで、本実施形態では、S極とS極との反発力を用いて説明するが、他の例として、N極とN極との反発力を用いてもよく、同様である。
また、パネル201の枠を構成する各点211のS極の大きさAと、押下の点221のS極の大きさBとしては、それぞれ、任意の値が用いられてもよく、例えば、同じ値が用いられてもよく、或いは、異なる値が用いられてもよい。
また、本実施形態では、磁石の力を用いて説明するが、任意の力が用いられてもよい。例えば、距離(距離の1乗)に反比例する関数で表される力、又は、距離のp(pは2以上の整数)乗に反比例する関数で表される力、又は、距離の任意のべき乗の項を任意の種類だけ有する関数で表される力などを用いることができる。
本実施形態では、この距離として、パネル201の枠を構成する各点211と押下の点221との間の距離を用いる。
また、押下の点221に発生するS極の大きさB(又は、それによって発生する力など)には、その発生から時間が経つに従ってその大きさを小さくするための係数(減衰係数)が乗算される。この係数は、時間に対して連続的な関数であってもよく、又は、時間に対して段階的に変化する値であってもよく、例えば、時間が経つに従って絶対値が小さくなる正の値である。この係数は、所定の時間を超えた場合に0(ゼロ)になる値であってもよく、又は、ゼロにはならないが時間が経過するに従って、計算上の丸め込みなどにより、実質的に0(ゼロ)になるような値であってもよい。
なお、本実施形態では、ユーザにより同じ点(押下の点)が押下され続けると、パネル201の枠が同じ変形状態で維持され続ける態様を用いており、つまり、ユーザにより同じ点(押下の点)が押下され続ける場合には、減衰係数を用いない。つまり、本実施形態では、ユーザにより同じ点が押下され続けると、その押下に応じた力が発生し続ける(減衰係数に関する時間が経過しない)とみなす。
また、パネル201の枠を構成する各点211には、更に、当該各点211が変形前の各点の位置(元の位置)に戻ろうとする力が常に働いているとみなして、各点211の位置を時間の流れに応じて変化させる。一例として、各点211には、各点の元の位置からの離隔距離(又は、そのべき乗など)に比例する引力が常に働くとみなす。
制御部130は、表示画面上でパネル201がユーザにより押下された場合には、上記した押下の点221に応じた反発力や、元の位置に戻ろうとする引力が働くとみなして、パネル201の枠を構成する各点211の位置を時間の流れに応じて計算して、その計算結果に応じた位置に変形後における各点211を表示させ、これにより、変形後におけるパネル201を表示させる。
ここで、パネル201の枠を構成する各点211の位置の変化を計算するために必要な他の値(例えば、各点211の質量など)があれば、任意に設定されてもよい。
また、例えば、ユーザがパネル201の枠内の位置を当該ユーザの指で触れたまま、その指を上下左右に動かすと、押下の点221の位置がずれて、それに応じたS極の位置もずれる。制御部130は、このような押下の点221の位置のずれ(S極の位置のずれ)に従って、パネル201の枠を構成する各点211の位置の変化を計算する。
また、同じパネル201の枠内がユーザにより異なるタイミングで複数回押下された場合には、制御部130は、それぞれの押下によって発生する力の足し合わせ(合成)が発生するとみなして、パネル201の枠を構成する各点211の位置の変化を計算する。
図4の例では、正方形のパネル201の枠内における右方の上方の端の付近の位置(押下の点221の位置)がユーザにより押下されており、パネル201の枠を構成する複数の点(例えば、数百個の点)の中で、特に、右上の端の付近(押下の部分の周辺)の点が拡張するように、パネル201の枠が変形している。
図4の例では、1個のパネル201の中で、ユーザの指で触れた部分の付近の変形が他の部分の変形とは異なるようになっており、例えば、ユーザの指で触れた部分の付近が特に膨張(拡張)するように表示される。
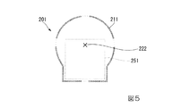
図5は、本実施形態に係るパネル201がユーザにより押下された場合におけるパネル201の変形の概略の一例を示す図である。
図5には、表示画面上において、パネル201の枠に対して、枠内に存在する点(押下の点)222がユーザの指により押下された場合に、制御部130が当該押下の点222に基づいて制御を行うことにより表示画面に表示されるパネル201の枠の形状の一例(パネル201の変形の一例)を示してある。また、図5には、参考として、変形前におけるパネル201の形状(元のパネル形状)251も示してあるが、これは実際には表示画面には表示されない。
図5の例では、変形後におけるパネル201の枠は、変形後における複数の点211(図5では、1個の点のみに符号を付してある)から構成され、これら変形後における複数の点211を結んで構成される。
本実施形態におけるパネル201の枠の変形の方法は、図4の例の場合と同様である。
図5の例では、正方形のパネル201の枠内における中央の上方の端の付近の位置(押下の点222の位置)がユーザにより押下されており、パネル201の枠を構成する複数の点(例えば、数百個の点)の中で、特に、中央の上の端の付近(押下の部分の周辺)の点が拡張するように、パネル201の枠が変形している。
図6は、本実施形態に係るパネル201がユーザにより押下された場合におけるパネル201の変形の概略の一例を示す図である。
図6には、表示画面上において、パネル201の枠に対して、枠内に存在する点(押下の点)223がユーザの指により押下された場合に、制御部130が当該押下の点223に基づいて制御を行うことにより表示画面に表示されるパネル201の枠の形状の一例(パネル201の変形の一例)を示してある。また、図6には、参考として、変形前におけるパネル201の形状(元のパネル形状)251も示してあるが、これは実際には表示画面には表示されない。
図6の例では、変形後におけるパネル201の枠は、変形後における複数の点211(図6では、1個の点のみに符号を付してある)から構成され、これら変形後における複数の点211を結んで構成される。
本実施形態におけるパネル201の枠の変形の方法は、図4の例の場合と同様である。
図6の例では、正方形のパネル201の枠内における中心の位置(押下の点223の位置)がユーザにより押下されており、パネル201の枠を構成する複数の点(例えば、数百個の点)が、中心(押下の部分)から均等に外側の方向へ拡張するように、パネル201の枠が変形している。
以上のように、本実施形態に係る端末装置100によると、パネル201がユーザにより押下された場合における当該パネル201の表示を制御することで、表示画面に情報(本実施形態では、パネル201の情報)を表示するに際して、ユーザに対して視覚的に心地良さや視認性を与えることができる。これにより、例えば、ユーザに操作時の心地良さを与えることができ、また、視認性を向上させて、誤操作を低減することができる。
なお、本実施形態では、パネル201の形状を変形させる方法について説明したが、例えば、パネル201自体又はパネル201に設定された画像に関する色を変化させる方法が併用されてもよい。一例として、制御部130は、パネル201に対するユーザによる押下がある状態においては、押下がない状態と比べて、パネル201自体又はパネル201に設定された画像に関する所定の色を異ならせる制御を行うことができる。
[第2実施形態]
本実施形態では、第1実施形態とは異なる部分について詳しく説明し、同様な部分については詳しい説明を省略する。
<ユーザによる操作がない場合におけるパネルの表示>
本実施形態では、画面のスクロールは行われておらず、スクロールは停止した状態であるとする。
他の例として、画面がスクロール中である場合には、例えば、画面がスクロール中である場合における表示態様(例えば、あらかじめ定められたもの)に従って表示画面の表示情報が制御される。なお、例えば、画面がスクロール中である場合に、本実施形態に係る表示態様が採用されてもよく、或いは、本実施形態に係る表示態様と他の表示態様とが組み合わされて用いられてもよい。
図7は、本実施形態に係るユーザによる操作がない場合におけるパネル201の変形の一例を説明するための図である。
図7には、パネル201の枠を構成する複数の点211を示してある。また、図7には、参考として、疑似的な指押下の範囲301も示してあるが、これは実際には表示画面には表示されない。
本実施形態では、パネル201に対するユーザの操作がないときには、制御部130は、あらかじめ定められた疑似的な指押下の範囲301の内側に、疑似的にユーザの指が所定の時間間隔で所定の位置に触れた(タッチした)とみなして、パネル201の枠を構成する各点211の位置を時間の流れに応じて計算して、その計算結果に応じた位置に変形後における各点211を表示させ、これにより、変形後におけるパネル201を表示させる。
パネル201の枠を構成する各点211の位置を変化させる方法としては、第1実施形態で説明した方法(図4〜図6における、押下の点に応じて、枠を構成する各点の位置を変化させる方法)と同じ方法を用いる。
ここで、疑似的な指押下の範囲301としては、様々な範囲が設定されてもよく、一例として、元のパネル形状における枠内の端の方を含まない範囲、つまり比較的中心に近い範囲を用いることができ、この場合、比較的中心に近い位置が疑似的に押下される状況を作り出すことができる。図7の例では、元のパネル形状の中心と同じ中心を持ち、元のパネル形状(図7の例では、正方形)に相似する、元より小さい形状の範囲を、疑似的な指押下の範囲301として用いている。
また、疑似的にユーザの指が所定の時間間隔で所定の位置に触れるという条件における所定の時間間隔としては、任意の時間間隔が設定されてもよく、例えば、一定の時間間隔であってもよく、又は、変動(変化)する時間間隔であってもよい。
また、疑似的にユーザの指が所定の時間間隔で所定の位置に触れるという条件における所定の位置としては、任意の位置が用いられてもよく、例えば、一定の位置であってもよく、又は、変動(変化)する位置であってもよい。
例えば、疑似的な指押下の範囲301、疑似的にユーザの指が所定の時間間隔で所定の位置に触れるという条件における所定の時間間隔、当該条件における所定の位置のうちの1つ以上について、ランダムな値を用いることもできる。この場合、ランダムな値は、例えば、疑似乱数を用いて取得することが可能である。
また、表示画面上に複数の異なるパネル(図1の例では、パネル10〜14、20〜24、30、31、34)が同時に表示される場合には、制御部130は、例えば、全てのパネルのそれぞれについて、同じ態様でパネルの枠を変形させて表示するように制御することができ、又は、全てのパネルのそれぞれについて、それぞれの態様(異なり得る態様)でパネルの枠を変形させて表示するように制御することができる。
一例として、図7に示されるパネル201について、疑似的な指押下の範囲301の内側において、疑似的にユーザの指で、毎秒に所定の複数回、ランダムな位置を触れる(押下する)とみなして、制御部130がパネル201の枠を構成する各点211の位置を変化させるように制御する。これにより、パネル201の枠を構成する各点211が(例えば、従来は静止状態であったのが)ランダムに小さい範囲で動き、このような動きは非対称になるが、人間の目で見ると時間的に平均化されて見える。
以上のように、本実施形態に係る端末装置100によると、ユーザによる操作がない場合におけるパネル201の表示を制御することで、表示画面に情報(本実施形態では、パネル201の情報)を表示するに際して、ユーザに対して視覚的に心地良さや視認性を与えることができる。これにより、例えば、ユーザに無操作時の心地良さを与えることができ、また、視認性を向上させることができる。
[第3実施形態]
図8は、本発明の一実施形態に係る端末装置100が有する表示部150の画面の外観の概略の一例を示す図である。
本実施形態では、端末装置100において、図1に示されるような表示画面の表示態様と、図8に示されるような表示画面の表示態様が切り替えられるとする。なお、表示画面における画素点のXY座標(X,Y)は図1に示されるものと同じであるとする。
また、本実施形態では、端末装置100の概略的な機能の構成例を示すブロック図は図2と同様であるとする。
図8の例では、表示画面には、リストビュー(List View)の情報が表示されている。
リストビューでは、制御部130は、表示画面に、縦方向に連続的に並んで、バーのような複数の領域(パネル)501〜506を表示するように制御する。また、制御部130は、各パネル501〜506の内側に、設定された図形や文字などを表示するように制御する。この設定は、例えば、ユーザにより行われてもよく、又は、あらかじめ行われてもよい。
図8の例では、パネル501には「☆ スター >」という図形や文字などが表示され、また、パネル502には「□ アプリケーション >」という図形や文字などが表示され、また、他のパネル503〜506についても図示される表示が為される。
また、本実施形態では、各パネル501〜506は、横方向に長い長方形の形状を有しており、同じ形状を有している。
図9は、本発明の一実施形態に係るバー状のパネル601の構成例を示す図である。このパネル601は、例えば、図8に示されるパネル502に相当するものを例としている。
パネル601の枠は、4個の点611(図9では、1個の点のみに符号を付してある)から構成されており、これら4個の点611を結んで構成される。また、制御部130は、パネル601に、設定された図形や文字など(図9の例では、「□ アプリケーション >」という図形や文字など)を表示する。
各点611は、例えば、画素位置(X,Y)の点と一致する。本実施形態では、パネル601の枠上に存在する全ての画素位置の点ではなく、長方形の4個の頂点の画素位置の点を用いてパネル601の枠が構成されている。
<パネルがユーザにより押下された場合の表示>
本実施形態では、画面のスクロールは行われておらず、スクロールは停止した状態であるとする。
他の例として、画面がスクロール中である場合には、例えば、画面がスクロール中である場合における表示態様(例えば、あらかじめ定められたもの)に従って表示画面の表示情報が制御される。なお、例えば、画面がスクロール中である場合に、本実施形態に係る表示態様が採用されてもよく、或いは、本実施形態に係る表示態様と他の表示態様とが組み合わされて用いられてもよい。
図10は、本実施形態に係るパネル601がユーザにより押下された場合におけるパネル601の変形の概略の一例を示す図である。
図10には、表示画面上において、パネル601の枠に対して、枠内に存在する点(押下の点)621がユーザの指により押下された場合に、制御部130が当該押下の点621に基づいて制御を行うことにより表示画面に表示されるパネル601の枠の形状の一例(パネル601の変形の一例)を示してある。また、図10には、参考として、変形前におけるパネル601の形状(元のパネル形状)651も示してあるが、これは実際には表示画面には表示されない。
図10の例では、変形後におけるパネル601の枠は、変形後における4個の点611(図10では、1個の点のみに符号を付してある)から構成され、これら変形後における4個の点611を結んで構成される。
ここで、パネル601の枠を構成する各点611の位置を変化させる方法としては、第1実施形態で説明した方法(図4〜図6における、押下の点に応じて、枠を構成する各点の位置を変化させる方法)と同様な方法を用いる。
なお、本実施形態に係るバー状のパネル601については、第1実施形態に係る正方形のパネルに対して、枠の形状が異なり、枠を構成する点の数が少なくなったものと、とらえることができる。
また、制御部130は、パネル601に設定された図形や文字など(図10の例では、「□ アプリケーション >」という図形や文字など)についても、押下の点611に応じて変形させて表示するように制御する。本実施形態では、例えば、制御部130は、押下の点611或いは押下の点611に応じて変形させられるパネル601の枠(変形後のパネル601の枠)に応じて、当該パネル601に設定された図形や文字などを変形させる。
具体例として、制御部130は、パネル601の枠内の右の方が押下されて当該枠の右の方が上下方向(縦方向)に広がって表示される場合には、設定された図形や文字などについても、右の方について上下方向(縦方向)に広がるように、変形させ、同様に、パネル601の枠内の左の方が押下されて当該枠の左の方が上下方向(縦方向)に広がって表示される場合には、設定された図形や文字などについても、左の方について上下方向(縦方向)に広がるように、変形させる。
また、具体例として、制御部130は、パネル601の枠内の点が押下された場合には、設定された図形や文字などを左右方向(横方向)に広がるように変形させる。この左右方向(横方向)に広がるように変形させる方法としては、例えば、図形や文字などの元の位置に対して右方向のみに広がるように変形させる方法が用いられてもよく、或いは、図形や文字などの元の位置に対して左方向のみに広がるように変形させる方法が用いられてもよく、或いは、図形や文字などの元の位置に対して左右の両方の方向に広がるように変形させる方法が用いられてもよい。
図10の例では、バー状のパネル601の枠内における右方の端の付近の位置(押下の点621の位置)がユーザにより押下されており、パネル601の枠を構成する4個の点611の中で、特に、右の端の付近(押下の部分の周辺)の点が拡張するように、パネル601の枠が変形している。これにより、変形後のパネル601の枠が、右方がより大きく開いた台形のような形状になっている。
また、図10の例では、「□ アプリケーション >」という図形や文字などについて、元の位置に対して、右の方へ拡張するように変形しており、且つ、右へ行くに従って上下に拡張するように変形している。
図11は、本実施形態に係るパネル601がユーザにより押下された場合におけるパネル601の変形の概略の一例を示す図である。
図11には、表示画面上において、パネル601の枠に対して、枠内に存在する点(押下の点)622がユーザの指により押下された場合に、制御部130が当該押下の点622に基づいて制御を行うことにより表示画面に表示されるパネル601の枠の形状の一例(パネル601の変形の一例)を示してある。また、図11には、参考として、変形前におけるパネル601の形状(元のパネル形状)651も示してあるが、これは実際には表示画面には表示されない。
図11の例では、変形後におけるパネル601の枠は、変形後における4個の点611(図11では、1個の点のみに符号を付してある)から構成され、これら変形後における4個の点611を結んで構成される。
本実施形態におけるパネル601の枠の変形の方法は、図10の例の場合と同様である。
図11の例では、バー状のパネル601の枠内における左方の端の付近の位置(押下の点622の位置)がユーザにより押下されており、パネル601の枠を構成する4個の点611の中で、特に、左の端の付近(押下の部分の周辺)の点が拡張するように、パネル601の枠が変形している。これにより、変形後のパネル601の枠が、左方がより大きく開いた台形のような形状になっている。
また、図11の例では、「□ アプリケーション >」という図形や文字などについて、元の位置に対して、右の方へ拡張するように変形しており、且つ、左へ行くに従って上下に拡張するように変形している。
図12は、本実施形態に係るパネル601がユーザにより押下されたまま押下点が移動させられた場合におけるパネル601の変形の概略の一例を示す図である。
図12には、表示画面上において、パネル601の枠に対して、元の枠内に存在する点(初期の押下の点)がユーザの指により押下された後に、その指が押下したまま動かされて、元の枠の外に存在する点(押下の点)623が押下された場合に、制御部130が当該押下の点623に基づいて制御を行うことにより表示画面に表示されるパネル601の枠の形状の一例(パネル601の変形の一例)を示してある。また、図12には、参考として、変形前におけるパネル601の形状(元のパネル形状)651も示してあるが、これは実際には表示画面には表示されない。
図12の例では、変形後におけるパネル601の枠は、変形後における4個の点611(図12では、1個の点のみに符号を付してある)から構成され、これら変形後における4個の点611を結んで構成される。
本実施形態におけるパネル601の枠の変形の方法は、図10の例の場合と同様な変形の方法に加えて、更に、押下点の移動に応じてパネル601の枠を構成する点611を移動させるように変形する方法を用いている。本実施形態では、これら2つの方法による変形を重ね合わせたものを、全体的な変形の結果として用いる。
図12の例では、バー状のパネル601の枠の外における右方の下方の位置(押下の点623の位置)がユーザにより押下されており、パネル601の枠を構成する4個の点611の中で、特に、右の端の付近(押下の部分の周辺)の点が拡張するように、パネル601の枠が変形しているとともに、右方へ行くほどパネル601が下方へ向かうように(例えば、パネル601が元の左端の辺の中心を軸として右回りに回転するように)変形している。また、図12の例では、「□ アプリケーション >」という図形や文字などについて、元の位置に対して、右下の方へ拡張するように変形しており、且つ、右へ行くに従って上下に拡張するように変形している。
図13は、本実施形態に係るパネル601がユーザにより押下された場合におけるパネル601の変形の概略の一例を示す図である。
図13には、表示画面上において、パネル601の枠に対して、枠内に存在する点(押下の点)624がユーザの指により押下された場合に、制御部130が当該押下の点624に基づいて制御を行うことにより表示画面に表示されるパネル601の枠の形状の一例(パネル601の変形の一例)を示してある。また、図13には、参考として、変形前におけるパネル601の形状(元のパネル形状)651も示してあるが、これは実際には表示画面には表示されない。
図13の例では、変形後におけるパネル601の枠は、変形後における4個の点611(図13では、1個の点のみに符号を付してある)から構成され、これら変形後における4個の点611を結んで構成される。
本実施形態におけるパネル601の枠の変形の方法は、図10の例の場合と同様である。
図13の例では、バー状のパネル601の枠内における中央の付近の位置(押下の点624の位置)がユーザにより押下されており、パネル601の枠を構成する4個の点611が、中央の付近(押下の部分)を中心にして均等に拡張するように、パネル601の枠が変形している。また、図13の例では、「□ アプリケーション >」という図形や文字などについて、元の位置に対して、右の方へ拡張するように変形しており、且つ、均等に上下に拡張するように変形している。
以上のように、本実施形態に係る端末装置100によると、パネル601がユーザにより押下された場合や、そのまま押下位置が移動させられた場合における当該パネル601の表示を制御することで、表示画面に情報(本実施形態では、パネル601の情報)を表示するに際して、ユーザに対して視覚的に心地良さや視認性を与えることができる。これにより、例えば、ユーザに操作時の心地良さを与えることができ、また、視認性を向上させて、誤操作を低減することができる。
なお、本実施形態では、パネル601の形状を変形させる方法について説明したが、例えば、パネル601自体又はパネル601に設定された画像に関する色を変化させる方法が併用されてもよい。一例として、制御部130は、パネル601に対するユーザによる押下がある状態においては、押下がない状態と比べて、パネル601自体又はパネル601に設定された画像(本実施形態では、図形や文字など)に関する所定の色を異ならせる制御を行うことができる。
[以上の実施形態に係る構成例]
<第1実施形態に係る端末装置の構成例>
一構成例として、画面が格子状に区切られた複数の格子領域から構成され、前記格子領域を単位として1個以上の前記格子領域からなる対象領域(第1実施形態では、パネル10〜14、20〜24、30、31、34の領域)毎に情報を表示する表示部(第1実施形態では、表示部150)と、前記対象領域に対する操作を検出する検出部(第1実施形態では、検出部110)と、前記検出部により操作が検出された前記対象領域を、前記操作が為された位置(第1実施形態では、押下の点221〜223)に応じて変形させて、前記表示部の画面に表示するように制御する制御部(第1実施形態では、制御部130)と、を備えることを特徴とする端末装置(第1実施形態では、端末装置100)である。
一構成例として、前記対象領域の枠は、複数の点(第1実施形態では、枠を構成する点211)から構成され、前記制御部は、前記操作が為された位置と前記対象領域の枠を構成する各点の位置との間に働く所定の力(第1実施形態では、例えば、磁石による反発力)が発生するとみなして、前記検出部により操作が検出された前記対象領域の変形後の形状を計算する、ことを特徴とする端末装置である。
<第2実施形態に係る端末装置の構成例>
一構成例として、画面が格子状に区切られた複数の格子領域から構成され、前記格子領域を単位として1個以上の前記格子領域からなる対象領域(第2実施形態では、パネル10〜14、20〜24、30、31、34の領域)毎に情報を表示する表示部(第2実施形態では、表示部150)と、前記対象領域に対する操作を検出する検出部(第2実施形態では、検出部110)と、前記検出部により操作が非検出である(つまり、検出されない)前記対象領域を、あらかじめ定められた操作(第2実施形態では、図7を参照して説明した操作)が為されたとみなして変形させて、前記表示部の画面に表示するように制御する制御部(第2実施形態では、制御部130)と、を備えることを特徴とする端末装置(第2実施形態では、端末装置100)である。
<第3実施形態に係る端末装置の構成例>
一構成例として、画面に長方形の対象領域(第3実施形態では、パネル501〜506の領域)毎に情報を表示する表示部(第3実施形態では、表示部150)と、前記対象領域に対する操作を検出する検出部(第3実施形態では、検出部110)と、前記検出部により操作が検出された前記対象領域を、前記操作が為された位置(第3実施形態では、押下の点621〜624)に応じて変形させるとともに、前記対象領域に対応する情報の表示態様を変化させて、前記表示部の画面に表示するように制御する制御部(第3実施形態では、制御部130)と、を備えることを特徴とする端末装置(第3実施形態では、端末装置100)である。
<第1実施形態に係る表示プログラムの構成例>
一構成例として、コンピュータ(第1実施形態では、端末装置100を構成するコンピュータ)に、画面が格子状に区切られた複数の格子領域の当該格子領域を単位として1個以上の前記格子領域からなる対象領域毎に情報を表示する手順と、前記対象領域に対する操作を検出する手順と、前記操作が検出された前記対象領域を、前記操作が為された位置に応じて変形させて、前記画面に表示するように制御する手順と、を実行させるための表示プログラムである。
<第2実施形態に係る表示プログラムの構成例>
一構成例として、コンピュータ(第2実施形態では、端末装置100を構成するコンピュータ)に、画面が格子状に区切られた複数の格子領域の当該格子領域を単位として1個以上の前記格子領域からなる対象領域毎に情報を表示する手順と、前記対象領域に対する操作を検出する手順と、前記操作が非検出である前記対象領域を、あらかじめ定められた操作が為されたとみなして変形させて、前記画面に表示するように制御する手順と、を実行させるための表示プログラムである。
<第3実施形態に係る表示プログラムの構成例>
一構成例として、コンピュータ(第3実施形態では、端末装置100を構成するコンピュータ)に、画面に長方形の対象領域毎に情報を表示する手順と、前記対象領域に対する操作を検出する手順と、前記操作が検出された前記対象領域を、前記操作が為された位置に応じて変形させるとともに、前記対象領域に対応する情報の表示態様を変化させて、前記画面に表示するように制御する手順と、を実行させるための表示プログラムである。
[以上の実施形態のまとめ]
以上、この発明の実施形態について図面を参照して詳述してきたが、具体的な構成はこの実施形態に限られるものではなく、この発明の要旨を逸脱しない範囲の設計等も含まれる。
なお、上記に説明した端末装置を実現するためのプログラムをコンピュータ読み取り可能な記録媒体に記録して、この記録媒体に記録されたプログラムをコンピュータシステムに読み込ませ、実行することにより、実行処理を行ってもよい。なお、ここでいう「コンピュータシステム」とは、OSや周辺機器等のハードウェアを含むものであってもよい。
また、「コンピュータシステム」は、WWWシステムを利用している場合であれば、ホームページ提供環境(あるいは表示環境)も含むものとする。また、「コンピュータ読み取り可能な記録媒体」とは、フレキシブルディスク、光磁気ディスク、ROM、フラッシュメモリ等の書き込み可能な不揮発性メモリ、CD−ROM等の可搬媒体、コンピュータシステムに内蔵されるハードディスク等の記憶装置のことをいう。
更に「コンピュータ読み取り可能な記録媒体」とは、インターネット等のネットワークや電話回線等の通信回線を介してプログラムが送信された場合のサーバやクライアントとなるコンピュータシステム内部の揮発性メモリ(例えばDRAM(Dynamic Random Access Memory))のように、一定時間プログラムを保持しているものも含むものとする。
また、上記プログラムは、このプログラムを記憶装置等に格納したコンピュータシステムから、伝送媒体を介して、あるいは、伝送媒体中の伝送波により他のコンピュータシステムに伝送されてもよい。ここで、プログラムを伝送する「伝送媒体」は、インターネット等のネットワーク(通信網)や電話回線等の通信回線(通信線)のように情報を伝送する機能を有する媒体のことをいう。
また、上記プログラムは、前述した機能の一部を実現するためのものであっても良い。
更に、前述した機能をコンピュータシステムにすでに記録されているプログラムとの組み合わせで実現できるもの、いわゆる差分ファイル(差分プログラム)であっても良い。
10〜14、20〜24、30、31、34、201、501〜506、601…パネル(領域)、100…端末装置、110…検出部、120…記憶部、130…制御部、140…画像処理部、150…表示部、211、611…点、221〜223、621〜624…押下の点、251、651…元のパネル形状、301…疑似的な指押下の範囲

Claims (6)

  1. 画面が格子状に区切られた複数の格子領域から構成され、前記格子領域を単位として1個以上の前記格子領域からなる対象領域毎に情報を表示する表示部と、
    前記対象領域に対する操作を検出する検出部と、
    前記検出部により操作が検出された前記対象領域を、前記操作が為された位置に応じて変形させて、前記表示部の画面に表示するように制御する制御部と、を備え
    前記制御部は、前記操作が為された位置と前記対象領域の枠との間に働く所定の力が発生するとみなして、前記検出部により操作が検出された前記対象領域の変形後の形状を計算する、
    ことを特徴とする端末装置。
  2. 画面が格子状に区切られた複数の格子領域から構成され、前記格子領域を単位として1個以上の前記格子領域からなる対象領域毎に情報を表示する表示部と、
    前記対象領域に対する操作を検出する検出部と、
    前記検出部により操作が非検出である前記対象領域を、あらかじめ定められた操作が為されたとみなして変形させて、前記表示部の画面に表示するように制御する制御部と、を備え
    前記制御部は、前記操作が為されたとみなされる位置と前記対象領域の枠との間に働く所定の力が発生するとみなして、前記検出部により操作が非検出である前記対象領域の変形後の形状を計算する、
    ことを特徴とする端末装置。
  3. 画面に長方形の対象領域毎に情報を表示する表示部と、
    前記対象領域に対する操作を検出する検出部と、
    前記検出部により操作が検出された前記対象領域を、前記操作が為された位置に応じて変形させるとともに、前記対象領域に対応する情報の表示態様を変化させて、前記表示部の画面に表示するように制御する制御部と、を備え
    前記制御部は、前記操作が為された位置と前記対象領域の枠との間に働く所定の力が発生するとみなして、前記検出部により操作が検出された前記対象領域の変形後の形状を計算する、
    ことを特徴とする端末装置。
  4. コンピュータに、
    画面が格子状に区切られた複数の格子領域の当該格子領域を単位として1個以上の前記格子領域からなる対象領域毎に情報を表示する手順と、
    前記対象領域に対する操作を検出する手順と、
    前記操作が検出された前記対象領域を、前記操作が為された位置に応じて変形させて、前記画面に表示するように制御する手順と、を実行させるための表示プログラムであって、
    前記操作が為された位置と前記対象領域の枠との間に働く所定の力が発生するとみなして、前記操作が検出された前記対象領域の変形後の形状を計算する、
    表示プログラム
  5. コンピュータに、
    画面が格子状に区切られた複数の格子領域の当該格子領域を単位として1個以上の前記格子領域からなる対象領域毎に情報を表示する手順と、
    前記対象領域に対する操作を検出する手順と、
    前記操作が非検出である前記対象領域を、あらかじめ定められた操作が為されたとみなして変形させて、前記画面に表示するように制御する手順と、を実行させるための表示プログラムであって、
    前記操作が為されたとみなされる位置と前記対象領域の枠との間に働く所定の力が発生するとみなして、前記操作が非検出である前記対象領域の変形後の形状を計算する、
    表示プログラム
  6. コンピュータに、
    画面に長方形の対象領域毎に情報を表示する手順と、
    前記対象領域に対する操作を検出する手順と、
    前記操作が検出された前記対象領域を、前記操作が為された位置に応じて変形させるとともに、前記対象領域に対応する情報の表示態様を変化させて、前記画面に表示するように制御する手順と、を実行させるための表示プログラムであって、
    前記操作が為された位置と前記対象領域の枠との間に働く所定の力が発生するとみなして、前記操作が検出された前記対象領域の変形後の形状を計算する、
    表示プログラム
JP2013010495A 2013-01-23 2013-01-23 端末装置及び表示プログラム Active JP6091908B2 (ja)

Priority Applications (1)

Application Number Priority Date Filing Date Title
JP2013010495A JP6091908B2 (ja) 2013-01-23 2013-01-23 端末装置及び表示プログラム

Applications Claiming Priority (1)

Application Number Priority Date Filing Date Title
JP2013010495A JP6091908B2 (ja) 2013-01-23 2013-01-23 端末装置及び表示プログラム

Publications (2)

Publication Number Publication Date
JP2014142792A JP2014142792A (ja) 2014-08-07
JP6091908B2 true JP6091908B2 (ja) 2017-03-08

Family

ID=51424024

Family Applications (1)

Application Number Title Priority Date Filing Date
JP2013010495A Active JP6091908B2 (ja) 2013-01-23 2013-01-23 端末装置及び表示プログラム

Country Status (1)

Country Link
JP (1) JP6091908B2 (ja)

Families Citing this family (1)

* Cited by examiner, † Cited by third party
Publication number Priority date Publication date Assignee Title
CN110780969B (zh) * 2019-10-31 2022-12-30 抖音视界有限公司 操作电子设备的方法、装置、电子设备及存储介质

Family Cites Families (7)

* Cited by examiner, † Cited by third party
Publication number Priority date Publication date Assignee Title
JPH07230352A (ja) * 1993-09-16 1995-08-29 Hitachi Ltd タッチ位置検出装置及びタッチ指示処理装置
JP2001242980A (ja) * 2000-03-02 2001-09-07 Yasufumi Mase 情報表示システム
JP5256712B2 (ja) * 2007-11-28 2013-08-07 ブラザー工業株式会社 インストールプログラムおよび情報処理装置
JP5297121B2 (ja) * 2008-08-29 2013-09-25 Necカシオモバイルコミュニケーションズ株式会社 端末装置及びプログラム
KR101640463B1 (ko) * 2009-05-19 2016-07-18 삼성전자 주식회사 휴대 단말기의 운용 방법 및 이를 지원하는 휴대 단말기
JP2011034476A (ja) * 2009-08-05 2011-02-17 Seiko Epson Corp 情報入力装置および情報入力方法
JP4908626B1 (ja) * 2010-12-28 2012-04-04 株式会社東芝 表示制御装置および表示制御方法

Also Published As

Publication number Publication date
JP2014142792A (ja) 2014-08-07

Similar Documents

Publication Publication Date Title
JP6938706B2 (ja) ユーザインターフェースプログラムおよびゲームプログラム
JP6122037B2 (ja) 端末機におけるコンテンツ移動方法及び装置
JP5671921B2 (ja) 情報処理装置、情報処理方法、及びプログラム
US20140002502A1 (en) Method and apparatus for outputting graphics to a display
JP2011520209A5 (ja)
JP5664147B2 (ja) 情報処理装置、情報処理方法、及びプログラム
US9685143B2 (en) Display control device, display control method, and computer-readable storage medium for changing a representation of content displayed on a display screen
KR20100041006A (ko) 3차원 멀티 터치를 이용한 사용자 인터페이스 제어방법
JP2016206740A (ja) ユーザ・インタフェース・プログラム
JP2011145779A (ja) 情報処理装置、その情報処理方法及びプログラム
KR20140133072A (ko) 모바일 장치 및 이의 구동 방법
JP5880024B2 (ja) 情報処理装置及びプログラム
JP6091908B2 (ja) 端末装置及び表示プログラム
JP2014134867A (ja) 情報処理端末
JP6197559B2 (ja) オブジェクト操作システム及びオブジェクト操作制御プログラム並びにオブジェクト操作制御方法
JP2009223532A (ja) アイコンインタフェースの操作制御方法
JP6091907B2 (ja) 端末装置及び表示プログラム
JP2013205980A (ja) 表示装置
CN106406717A (zh) 一种屏幕调整方法及装置
JP6000482B1 (ja) ユーザ・インタフェース画像表示方法およびプログラム
JP5856343B1 (ja) ユーザ・インタフェース・プログラムおよびコンピュータ実装方法
JP6016508B2 (ja) 表示装置
JP6031363B2 (ja) 端末装置及び表示プログラム
JP2017016622A (ja) ユーザ・インタフェース・プログラムおよびコンピュータ実装方法
JP2017142770A (ja) ユーザ・インタフェース画像表示方法およびプログラム

Legal Events

Date Code Title Description
A621 Written request for application examination

Free format text: JAPANESE INTERMEDIATE CODE: A621

Effective date: 20151125

A521 Request for written amendment filed

Free format text: JAPANESE INTERMEDIATE CODE: A821

Effective date: 20151126

A977 Report on retrieval

Free format text: JAPANESE INTERMEDIATE CODE: A971007

Effective date: 20160905

A131 Notification of reasons for refusal

Free format text: JAPANESE INTERMEDIATE CODE: A131

Effective date: 20160927

A521 Request for written amendment filed

Free format text: JAPANESE INTERMEDIATE CODE: A523

Effective date: 20161124

A521 Request for written amendment filed

Free format text: JAPANESE INTERMEDIATE CODE: A821

Effective date: 20161125

TRDD Decision of grant or rejection written
A01 Written decision to grant a patent or to grant a registration (utility model)

Free format text: JAPANESE INTERMEDIATE CODE: A01

Effective date: 20170110

A61 First payment of annual fees (during grant procedure)

Free format text: JAPANESE INTERMEDIATE CODE: A61

Effective date: 20170208

R150 Certificate of patent or registration of utility model

Ref document number: 6091908

Country of ref document: JP

Free format text: JAPANESE INTERMEDIATE CODE: R150

R250 Receipt of annual fees

Free format text: JAPANESE INTERMEDIATE CODE: R250

R250 Receipt of annual fees

Free format text: JAPANESE INTERMEDIATE CODE: R250

R250 Receipt of annual fees

Free format text: JAPANESE INTERMEDIATE CODE: R250

R250 Receipt of annual fees

Free format text: JAPANESE INTERMEDIATE CODE: R250