JP6074957B2 - 原子発振器および電子機器 - Google Patents

原子発振器および電子機器 Download PDF

Info

Publication number
JP6074957B2
JP6074957B2 JP2012194051A JP2012194051A JP6074957B2 JP 6074957 B2 JP6074957 B2 JP 6074957B2 JP 2012194051 A JP2012194051 A JP 2012194051A JP 2012194051 A JP2012194051 A JP 2012194051A JP 6074957 B2 JP6074957 B2 JP 6074957B2
Authority
JP
Japan
Prior art keywords
package
light emitting
emitting element
gas cell
atomic oscillator
Prior art date
Legal status (The legal status is an assumption and is not a legal conclusion. Google has not performed a legal analysis and makes no representation as to the accuracy of the status listed.)
Active
Application number
JP2012194051A
Other languages
English (en)
Other versions
JP2014050073A (ja
JP2014050073A5 (ja
Inventor
幸治 珎道
幸治 珎道
Current Assignee (The listed assignees may be inaccurate. Google has not performed a legal analysis and makes no representation or warranty as to the accuracy of the list.)
Seiko Epson Corp
Original Assignee
Seiko Epson Corp
Priority date (The priority date is an assumption and is not a legal conclusion. Google has not performed a legal analysis and makes no representation as to the accuracy of the date listed.)
Filing date
Publication date
Application filed by Seiko Epson Corp filed Critical Seiko Epson Corp
Priority to JP2012194051A priority Critical patent/JP6074957B2/ja
Publication of JP2014050073A publication Critical patent/JP2014050073A/ja
Publication of JP2014050073A5 publication Critical patent/JP2014050073A5/ja
Application granted granted Critical
Publication of JP6074957B2 publication Critical patent/JP6074957B2/ja
Active legal-status Critical Current
Anticipated expiration legal-status Critical

Links

Images

Landscapes

  • Stabilization Of Oscillater, Synchronisation, Frequency Synthesizers (AREA)

Description

本発明は、原子発振器および電子機器に関するものである。
ルビジウム、セシウム等のアルカリ金属の原子のエネルギー遷移に基づいて発振する原子発振器が知られている(例えば、特許文献1参照)。
このような原子発振器は、一般に、アルカリ金属を緩衝ガスとともに封入したガスセルと、ガスセル内のアルカリ金属を励起する励起光を出射する発光素子と、ガスセルを透過した励起光を検出する受光素子とを備える。
従来、このような原子発振器では、例えば、特許文献1に記載されているように、発光素子、ガスセル、受光素子をこの順で積層し、これらを共通のパッケージ内に収納している。
ところで、このような原子発振器では、安定した発振特性を発揮するために、発光素子およびガスセルを互いに異なる温度で一定温度に維持する必要がある。
しかし、従来の原子発振器では、発光素子とガスセルとの間の熱干渉が生じやすく、そのため、環境温度によっては、発光素子およびガスセルの温度をそれぞれ所望の温度に維持することができない場合があった。特に、このような熱干渉に関する問題は、波長の異なる2種類の光による量子干渉効果(CPT:Coherent Population Trapping)を利用した原子発振器において、一般に発光素子とガスセルとの間の距離が小さくなるため、顕著となる。
米国特許第6320472号明細書
本発明の目的は、発光素子とガスセルとの間の熱干渉を抑制または防止し、より幅広い環境温度範囲において、優れた発振特性を有する原子発振器を提供することにある。
本発明は、上述の課題の少なくとも一部を解決するためになされたものであり、以下の形態または適用例として実現することが可能である。
[適用例1]
本発明の原子発振器は、ガス状の金属原子が封入されるガスセルと、
前記ガスセル内の前記ガス状の金属原子を励起する励起光を出射する発光素子と、
前記ガスセルを透過した前記励起光を検出する受光素子と、
前記発光素子が設置される基体と、前記発光素子を覆う蓋体とを有し、減圧状態の内部空間に前記発光素子を収納するパッケージと、
前記パッケージの外側に設けられ、前記基体の熱を放熱する放熱部材と
前記パッケージ内に収納され、前記発光素子の温度を調節するペルチェ素子と、を備え、
前記発光素子は、前記ペルチェ素子を介して前記基体に設置されていることを特徴とする。
このように構成された原子発振器によれば、パッケージ内が減圧されているため、パッケージの蓋体を介してパッケージの外部と発光素子との間の熱干渉を防止または抑制することができる。したがって、パッケージ外にガスセルが配置されている場合、発光素子とガスセルとの間の熱干渉を防止または抑制し、発光素子とガスセルとを独立して高精度に温度制御することができる。また、パッケージ内に発光素子およびガスセルが収納されている場合であっても、発光素子とガスセルとの間に隙間を形成することにより、かかる隙間が減圧による断熱層を構成するため、発光素子とガスセルとの間の熱干渉を防止または抑制することができる。
また、放熱部材が基体を放熱するため、基体に設置された発光素子の過昇温を防止することができる。
このようなパッケージの減圧された内部空間による断熱性と、放熱部材による放熱性との組み合わせにより、パッケージの内外間の熱の伝達経路を最適化し、発光素子を高精度に温度制御することができる。
また、ペルチェ素子により発光素子の温度を調節することができる。また、発光素子をペルチェ素子を介して基体に設置することにより、ペルチェ素子の過昇温を防止し、その結果、ペルチェ素子により発光素子の温度を効率的に調節することができる。
[適用例2]
本発明の原子発振器は、ガス状の金属原子が封入されるガスセルと、
前記ガスセル内の前記ガス状の金属原子を励起する励起光を出射する発光素子と、
前記ガスセルを透過した前記励起光を検出する受光素子と、
前記発光素子が設置される基体と、前記発光素子を覆う蓋体とを有し、減圧状態の内部空間に前記発光素子を収納するパッケージを構成する第1パッケージと、
前記パッケージの外側に設けられ、前記基体の熱を放熱する放熱部材と、
前記ガスセルおよび前記受光素子を収納する第2パッケージと、
非金属で構成され、前記第1パッケージおよび前記第2パッケージを互いに非接触でこれらを保持する保持部材と、を備えることを特徴とする。
これにより、発光素子およびガスセルが互いに非接触の別々のパッケージに収納されているので、発光素子とガスセルとの間の熱干渉を防止または抑制し、発光素子とガスセルとを独立して高精度に温度制御することができる。
また、保持部材が非金属で構成されているので、第1パッケージと第2パッケージとの間の保持部材を介した熱伝導を抑えることができる。その結果、発光素子とガスセルとの間の熱干渉を効果的に防止または抑制することができる。
[適用例
本発明の原子発振器では、前記パッケージ内に収納され、前記発光素子の温度を調節するペルチェ素子をさらに備え、
前記発光素子は、前記ペルチェ素子を介して前記基体に設置されていることが好ましい。
これにより、ペルチェ素子により発光素子の温度を調節することができる。また、発光素子をペルチェ素子を介して基体に設置することにより、ペルチェ素子の過昇温を防止し、その結果、ペルチェ素子により発光素子の温度を効率的に調節することができる。
[適用例4]
本発明の原子発振器では、前記放熱部材は、前記保持部材の外側に設けられた放熱部を有することが好ましい。
これにより、保持部材に保持された第1パッケージの基体を効率的に放熱することができる。
[適用例5]
本発明の原子発振器では、前記第1パッケージは、前記基体を構成する第1基体と、前記蓋体を構成する第1蓋体とを有し、前記第1蓋体には、前記励起光に対する透過性を有する窓部が設けられ、
前記第2パッケージは、前記ガスセルおよび前記受光素子が設置される第2基体と、前記ガスセルおよび前記受光素子を覆い、かつ、前記励起光に対する透過性を有する窓部が設けられた第2蓋体とを有することが好ましい。
これにより、発光素子からガスセルを介して受光素子への励起光の光路を確保しつつ、発光素子およびガスセルを互いに非接触の別々のパッケージに収納することができる。
[適用例6]
本発明の原子発振器では、前記保持部材は、前記第1基体を支持する第1支持部と、前記第2基体を支持する第2支持部とを有することが好ましい。
これにより、第1パッケージと保持部材との接触部と、第2パッケージと保持部材との接触部との距離を大きくすることができる。そのため、第1パッケージと第2パッケージとの間の保持部材を介した熱伝導をより効果的に抑えることができる。
[適用例7]
本発明の原子発振器では、前記第1蓋体および前記第2蓋体は、それぞれ、前記保持部材に対して非接触であることが好ましい。
これにより、第1パッケージと第2パッケージとの間の保持部材を介した熱伝導をより効果的に抑えることができる。
[適用例8]
本発明の原子発振器では、前記放熱部材は、金属で構成されていることが好ましい。
これにより、放熱部材の放熱性を優れたものとすることができる。
[適用例9]
本発明の原子発振器では、前記保持部材は、熱伝導率が0.1W・m−1・K−1以上40W・m−1・K−1以下である材料で構成されていることが好ましい。
これにより、第1パッケージと第2パッケージとの間の保持部材を介した熱伝導をより効果的に抑えることができる。
[適用例10]
本発明の電子機器は、本発明の原子発振器を備えることを特徴とする。
これにより、信頼性に優れた電子機器を提供することができる。
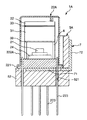
本発明の第1実施形態に係る原子発振器を示す斜視図である。 図1に示す原子発振器の概略構成を示す模式図である。 図1に示す原子発振器に備えられたガスセル内のアルカリ金属のエネルギー状態を説明するための図である。 図1に示す原子発振器に備えられた発光素子および受光素子について、発光素子からの2つの光の周波数差と、受光素子での検出強度との関係を示すグラフである。 図1に示す原子発振器の縦断面図である。 図1に示す原子発振器の第1パッケージおよび放熱部材を説明するための図(図5の部分拡大図)である。 図1に示す原子発振器の横断面図である。 本発明の第2実施形態に係る原子発振器の縦断面図である。 GPS衛星を利用した測位システムに本発明の電子機器を用いた場合の概略構成を示す図である。 本発明の原子発振器を用いたクロック伝送システムの一例を示す概略構成図である。
以下、本発明の原子発振器および電子機器を添付図面に示す実施形態に基づいて詳細に説明する。
<第1実施形態>
図1は、本発明の第1実施形態に係る原子発振器を示す斜視図、図2は、図1に示す原子発振器の概略構成を示す模式図、図3は、図1に示す原子発振器に備えられたガスセル内のアルカリ金属のエネルギー状態を説明するための図、図4は、図1に示す原子発振器に備えられた発光素子および受光素子について、発光素子からの2つの光の周波数差と、受光素子での検出強度との関係を示すグラフ、図5は、図1に示す原子発振器の縦断面図、図6は、図1に示す原子発振器の第1パッケージおよび放熱部材を説明するための図(図5の部分拡大図)、図7は、図1に示す原子発振器の横断面図である。
なお、図1、5〜7では、説明の便宜上、互いに直交する3つの軸として、X軸、Y軸およびZ軸を図示しており、その図示された各矢印の先端側を「+側」、基端側を「−側」とする。また、以下では、説明の便宜上、X軸に平行な方向を「X軸方向」、Y軸に平行な方向を「Y軸方向」、Z軸に平行な方向を「Z軸方向」といい、また、+Z方向側(図5の上側)を「上」、−Z方向側(図5の下側)を「下」という。
図1に示す原子発振器1は、量子干渉効果を利用した原子発振器である。
この原子発振器1は、図1に示すように、第1ユニット2と、第2ユニット3と、光学部品41、42、43と、これらを保持する保持部材5と、放熱部材7とを備える。
ここで、図1、2に示すように、第1ユニット2は、発光素子21と、ペルチェ素子24と、発光素子21およびペルチェ素子24を収納する第1パッケージ22とを備える。
また、第2ユニット3は、ガスセル31と、受光素子32と、ヒーター33と、温度センサー34と、コイル35と、これらを収納する第2パッケージ36とを備える。
そして、このような第1ユニット2および第2ユニット3は、制御部6により駆動制御される。
まず、原子発振器1の原理を簡単に説明する。
原子発振器1では、ガスセル31内に、ガス状のルビジウム、セシウム、ナトリウム等のアルカリ金属(金属原子)が封入されている。
アルカリ金属は、図3に示すように、3準位系のエネルギー準位を有しており、エネルギー準位の異なる2つの基底状態(基底状態1、2)と、励起状態との3つの状態をとり得る。ここで、基底状態1は、基底状態2よりも低いエネルギー状態である。
このようなガス状のアルカリ金属に対して周波数の異なる2種の共鳴光1、2を前述したようなガス状のアルカリ金属に照射すると、共鳴光1の周波数ω1と共鳴光2の周波数ω2との差(ω1−ω2)に応じて、共鳴光1、2のアルカリ金属における光吸収率(光透過率)が変化する。
そして、共鳴光1の周波数ω1と共鳴光2の周波数ω2との差(ω1−ω2)が基底状態1と基底状態2とのエネルギー差に相当する周波数に一致したとき、基底状態1、2から励起状態への励起がそれぞれ停止する。このとき、共鳴光1、2は、いずれも、アルカリ金属に吸収されずに透過する。このような現象をCPT現象または電磁誘起透明化現象(EIT:Electromagnetically Induced Transparency)と呼ぶ。
発光素子21は、ガスセル31に向けて、前述したような周波数の異なる2種の光(共鳴光1および共鳴光2)を出射する。
例えば、発光素子21が共鳴光1の周波数ω1を固定し、共鳴光2の周波数ω2を変化させていくと、共鳴光1の周波数ω1と共鳴光2の周波数ω2との差(ω1−ω2)が基底状態1と基底状態2とのエネルギー差に相当する周波数ω0に一致したとき、受光素子32の検出強度は、図4に示すように、急峻に上昇する。このような急峻な信号をEIT信号として検出する。このEIT信号は、アルカリ金属の種類によって決まった固有値をもっている。したがって、このようなEIT信号を用いることにより、発振器を構成することができる。
以下、原子発振器1の各部を順次詳細に説明する。
(第1ユニット)
前述したように、第1ユニット2は、発光素子21と、ペルチェ素子24(温度調節素子)と、発光素子21およびペルチェ素子24を収納する第1パッケージ22とを備える。
[発光素子]
発光素子21は、ガスセル31中のアルカリ金属原子を励起する励起光を出射する機能を有する。
より具体的には、発光素子21は、前述したような周波数の異なる2種の光(共鳴光1および共鳴光2)を出射するものである。
共鳴光1の周波数ω1は、ガスセル31中のアルカリ金属を前述した基底状態1から励起状態に励起し得るものである。
また、共鳴光2の周波数ω2は、ガスセル31中のアルカリ金属を前述した基底状態2から励起状態に励起し得るものである。
この発光素子21としては、前述したような励起光を出射し得るものであれば、特に限定されないが、例えば、垂直共振器面発光レーザー(VCSEL)等の半導体レーザー等を用いることができる。
また、発光素子21は、後述するペルチェ素子24(温度調節素子)により、後述するガスセル31とは異なる温度、例えば、30℃程度に温度調節される。
また、発光素子21は、発光に伴い発熱するが、ペルチェ素子24により冷却されたり、後に詳述するように、後述する第1パッケージ22の基体221を介して放熱部材7により放熱されたりする。そのため、後述するように発光素子21が減圧された第1パッケージ22内に収納されていても、発光素子21の過昇温を防止することができる。
このような発光素子21は、後述する制御部6に電気的に接続されている。
[ペルチェ素子]
ペルチェ素子24は、発光素子21を加熱または冷却し、発光素子21の温度を調節する機能を有する。これにより、発光素子21の温度変化に伴う特性変化を抑制または防止することができる。そのため、発光素子21が所望の特性の励起光LLを安定して出射することができ、原子発振器1の信頼性を向上させることができる。
また、ペルチェ素子24に流れる電流の向きを制御することにより、ペルチェ素子24の発光素子21側の面241を発熱面と吸熱面とで切り換えることができる。そのため、環境温度の範囲が広くても、発光素子21を所望の温度(例えば、30℃程度)に温調することができる。
また、ペルチェ素子24は、発光素子21の温度を検知する温度センサー(図示せず)の検知結果に基づいて、駆動制御される。
また、ペルチェ素子24は、後に詳述するように、後述する第1パッケージ22の基体221を介して放熱部材7による放熱により、ペルチェ素子24全体の過昇温を防止することができる。そのため、ペルチェ素子24の吸熱面の温度を低くすることができ、その結果、ペルチェ素子24が発光素子21の温度を効率的に調節することができる。
このようなペルチェ素子24は、後述する制御部6(温度制御部64)に電気的に接続されている。
なお、ペルチェ素子24は、省略してもよい。また、発光素子21の温度を調節する温度調節素子として、ペルチェ素子24に代えて、ヒーター(発熱抵抗体)を設けることもできる。
[第1パッケージ]
第1パッケージ22(パッケージ)は、図6に示すように、前述した発光素子21およびペルチェ素子24を収納する内部空間Sを有する。
この第1パッケージ22は、図5に示すように、基体221(第1基体)と、蓋体222(第1蓋体)とを備える。これにより、内部空間Sが形成される。
基体221は、発光素子21を直接的または間接的に支持する。本実施形態では、基体221は、板状をなし、平面視で円形をなしている。
この基体221は、後述する放熱部材7により放熱される。これにより、基体221に設置される発光素子21およびペルチェ素子24の過昇温を防止することができる。
また、基体221の構成材料としては、特に限定されず、例えば、樹脂材料、金属材料、セラミックス材料等を用いることができる。また、基体221の放熱性(熱伝導性)を高める観点から、熱伝導性に優れた材料を用いるのが好ましい。なお、導電性を有する材料を用いる場合、後述するリード223同士等の短絡を防止するために、所定の絶縁処理を行う。また、基体221には、その厚さ方向に貫通する熱伝導性の柱状体または筒状体を設けることによっても、基体221の放熱性(熱伝導性)を高めることができる。
この基体221の一方の面(実装面)には、発光素子21(実装部品)およびペルチェ素子24が設置(実装)される。
ここで、発光素子21は、ペルチェ素子24を介して基体221に設置されている。これにより、ペルチェ素子24により発光素子21の温度を調節することができる。また、発光素子21をペルチェ素子24を介して基体221に設置することにより、ペルチェ素子24の過昇温を防止し、その結果、ペルチェ素子24により発光素子21の温度を効率的に調節することができる。
本実施形態では、ペルチェ素子24の一方の面241に発光素子21が接合され、ペルチェ素子24の他方の面242に基体221が接合されている。
また、基体221の他方の面には、図5に示すように、複数のリード223が突出している。この複数のリード223は、図示しない配線を介して発光素子21に電気的に接続されている。
このような基体221には、基体221上の発光素子21を覆う蓋体222が接合されている。
蓋体222は、一端部が開口した有底筒状をなしている。本実施形態では、蓋体222の筒状部は、円筒状をなす。
この蓋体222の一端部の開口は、前述した基体221により塞がれている。
そして、蓋体222の他端部、すなわち蓋体222の開口とは反対側の底部には、窓部23が設けられている。
この窓部23は、ガスセル31と発光素子21との間の光軸a上に設けられている。
そして、窓部23は、前述した励起光に対して透過性を有する。
本実施形態では、窓部23は、レンズで構成されている。これにより、励起光LLを無駄なくガスセル31へ照射することができる。
また、窓部23は、励起光LLを平行光とする機能を有する。これにより、励起光LLがガスセル31の内壁で反射するのを簡単かつ確実に防止することができる。そのため、ガスセル31内での励起光の共鳴を好適に生じさせ、その結果、原子発振器1の発振特性を高めることができる。
なお、窓部23は、励起光に対する透過性を有するものであれば、レンズに限定されず、例えば、レンズ以外の光学部品であってもよいし、単なる光透過性の板状部材であってもよい。また、前述したような機能を有するレンズは、後述する光学部品41、42、43と同様、第1パッケージ22および第2パッケージ36との間に設けられていてもよい。
このような蓋体222の窓部23以外の部分の構成材料としては、特に限定されず、例えば、セラミックス、金属、樹脂等を用いることができる。
ここで、蓋体222の窓部23以外の部分が励起光に対して透過性を有する材料で構成されている場合、蓋体222の窓部23以外の部分と窓部23と一体的に形成することができる。また、蓋体222の窓部23以外の部分が励起光に対して透過性を有しない材料で構成されている場合、蓋体222の窓部23以外の部分と窓部23とを別体で形成し、これらを公知の接合方法により接合すればよい。
また、基体221と蓋体222とは気密的に接合されているのが好ましい。すなわち、第1パッケージ22内が気密空間であることが好ましい。これにより、第1パッケージ22内を減圧状態とすることができる。
また、基体221と蓋体222との接合方法としては、特に限定されないが、例えば、ろう接、シーム溶接、エネルギー線溶接(レーザー溶接、電子線溶接等)等を用いることができる。
このような基体221および蓋体222により形成された内部空間Sは、減圧されている。そのため、内部空間Sの断熱性により、第1パッケージ22の蓋体222を介して第1パッケージ22の外部と発光素子21との間の熱干渉を防止または抑制することができる。したがって、本実施形態のように第1パッケージ22外にガスセル31が配置されている場合、発光素子21とガスセル31との間の熱干渉を防止または抑制し、発光素子21とガスセル31とを独立して高精度に温度制御することができる。
内部空間Sの圧力は、大気圧以下であればよく、特に限定されないが、例えば、10−1Pa程度であるのが好ましい。
なお、基体221と蓋体222との間には、これらを接合するための接合部材が介在していてもよい。
また、第1パッケージ22内には、前述した発光素子21およびペルチェ素子24以外の部品、例えば温度センサー、光学部品等が収納されていてもよい。
このような基体221および蓋体222を有して構成された第1パッケージ22によれば、発光素子21から第1パッケージ22外への励起光の出射を許容しつつ、発光素子21を第1パッケージ22内に収納することができる。
また、第1パッケージ22は、基体221が第2パッケージ36とは反対側に配置されるように、後述する保持部材5に保持されている。
(第2ユニット)
前述したように、第2ユニット3は、ガスセル31と、受光素子32と、ヒーター33と、温度センサー34と、コイル35と、これらを収納する第2パッケージ36とを備える。
[ガスセル]
ガスセル31内には、ガス状のルビジウム、セシウム、ナトリウム等のアルカリ金属が封入されている。
例えば、ガスセル31は、図示しないが、柱状の貫通孔を有する本体部と、その貫通孔の両開口を封鎖する1対の窓部とを有する。これにより、前述したようなアルカリ金属が封入される内部空間が形成される。
ここで、ガスセル31の各窓部は、前述した発光素子21からの励起光に対する透過性を有している。そして、一方の窓部は、ガスセル31内へ入射する励起光が透過するものであり、他方の窓部は、ガスセル31内から出射した励起光が透過するものである。
したがって、ガスセル31の窓部を構成する材料としては、前述したような励起光に対する透過性を有していれば、特に限定されないが、例えば、ガラス材料、水晶等が挙げられる。
また、ガスセル31の本体部を構成する材料は、特に限定されず、金属材料、樹脂材料等であってもよく、窓部と同様にガラス材料、水晶等であってもよい。
そして、各窓部は、本体部に対して気密的に接合されている。これにより、ガスセル31の内部空間を気密空間とすることができる。
ガスセル31の本体部と窓部との接合方法としては、これらの構成材料に応じて決められるものであり、特に限定されないが、例えば、接着剤による接合方法、直接接合法、陽極接合法等を用いることができる。
また、このようなガスセル31は、ヒーター33により、前述した発光素子21とは異なる温度、例えば、70℃程度に温度調節される。
[受光素子]
受光素子32は、ガスセル31内を透過した励起光LL(共鳴光1、2)の強度を検出する機能を有する。
この受光素子32としては、上述したような励起光を検出し得るものであれば、特に限定されないが、例えば、太陽電池、フォトダイオード等の光検出器(受光素子)を用いることができる。
[ヒーター]
ヒーター33は、前述したガスセル31(より具体的にはガスセル31中のアルカリ金属)を加熱する機能を有する。これにより、ガスセル31中のアルカリ金属をガス状に維持することができる。
このヒーター33は、通電により発熱するものであり、例えば、ガスセル31の外表面上に設けられた発熱抵抗体で構成されている。このような発熱抵抗体は、例えば、プラズマCVD、熱CVDのような化学蒸着法(CVD)、真空蒸着等の乾式メッキ法、ゾル・ゲル法等を用いて形成される。
ここで、かかる発熱抵抗体は、ガスセル31の励起光の入射部または出射部に設けられる場合、励起光に対する透過性を有する材料、具体的には、例えば、ITO(Indium Tin Oxide)、IZO(Indium Zinc Oxide)、In、SnO、Sb含有SnO、Al含有ZnO等の酸化物等の透明電極材料で構成される。
なお、ヒーター33は、ガスセル31を加熱することができるものであれば、特に限定されず、ガスセル31に対して非接触であってもよい。また、ヒーター33に代えて、または、ヒーター33と併用して、ペルチェ素子を用いて、ガスセル31を加熱してもよい。
このようなヒーター33は、後述する制御部6の温度制御部62に電気的に接続され、通電される。
[温度センサー]
温度センサー34は、ヒーター33またはガスセル31の温度を検出するものである。そして、この温度センサー34の検出結果に基づいて、前述したヒーター33の発熱量が制御される。これにより、ガスセル31内のアルカリ金属原子を所望の温度に維持することができる。
なお、温度センサー34の設置位置は、特に限定されず、例えば、ヒーター33上であってもよいし、ガスセル31の外表面上であってもよい。
温度センサー34としては、それぞれ、特に限定されず、サーミスタ、熱電対等の公知の各種温度センサーを用いることができる。
このような温度センサー34は、図示しない配線を介して、後述する制御部6の温度制御部62に電気的に接続されている。
[コイル]
コイル35は、通電により、磁場を発生させる機能を有する。これにより、ガスセル31中のアルカリ金属に磁場を印加することにより、ゼーマン分裂により、アルカリ金属の縮退している異なるエネルギー準位間のギャップを拡げて、分解能を向上させることができる。その結果、原子発振器1の発振周波数の精度を高めることができる。
なお、コイル35が発生する磁場は、直流磁場または交流磁場のいずれかの磁場であってもよいし、直流磁場と交流磁場とを重畳させた磁場であってもよい。
このコイル35の設置位置は、特に限定されず、図示しないが、例えば、ソレノイド型を構成するようにガスセル31の外周に沿って巻回して設けられていてもよいし、ヘルムホルツ型を構成するように1対のコイルをガスセル31を介して対向させてもよい。
このコイル35は、図示しない配線を介して、後述する制御部6の磁場制御部63に電気的に接続されている。これにより、コイル35に通電を行うことができる。
このようなコイル35の構成材料としては、特に限定されないが、例えば、銀、銅、パラジウム、白金、金、または、これらの合金等が挙げられ、これらのうち1種または2種以上を組み合わせて用いることができる。
[第2パッケージ]
第2パッケージ36は、前述したガスセル31、受光素子32、ヒーター33、温度センサー34およびコイル35を収納する。
この第2パッケージ36は、前述した第1ユニット2の第1パッケージ22と同様に、構成されている。
具体的には、第2パッケージ36は、図5に示すように、基体361(第2基体)と、蓋体362(第2蓋体)とを備える。
基体361は、ガスセル31、受光素子32、ヒーター33、温度センサー34およびコイル35を直接的または間接的に支持する。本実施形態では、基体361は、板状をなし、平面視で円形をなしている。
そして、この基体361の一方の面(実装面)には、ガスセル31、受光素子32、ヒーター33、温度センサー34およびコイル35(複数の実装部品)が設置(実装)される。また、基体361の他方の面には、図5に示すように、複数のリード363が突出している。この複数のリード363は、図示しない配線を介して受光素子32、ヒーター33、温度センサー34およびコイル35に電気的に接続されている。
このような基体361には、基体361上のガスセル31、受光素子32、ヒーター33、温度センサー34およびコイル35を覆う蓋体362が接合されている。
蓋体362は、一端部が開口した有底筒状をなしている。本実施形態では、蓋体362の筒状部は、円筒状をなす。
この蓋体362の一端部の開口は、前述した基体361により塞がれている。
そして、蓋体362の他端部、すなわち蓋体362の開口とは反対側の底部には、窓部37が設けられている。
この窓部37は、ガスセル31と発光素子21との間の光軸a上に設けられている。
そして、窓部37は、前述した励起光に対して透過性を有する。
本実施形態では、窓部37は、光透過性を有する板状部材で構成されている。
なお、窓部37は、励起光に対する透過性を有するものであれば、光透過性を有する板状部材に限定されず、例えば、レンズ、偏光板、λ/4波長板等の光学部品であってもよい。
このような蓋体362の窓部37以外の部分の構成材料としては、特に限定されず、例えば、セラミックス、金属、樹脂等を用いることができる。
ここで、蓋体362の窓部37以外の部分が励起光に対して透過性を有する材料で構成されている場合、蓋体362の窓部37以外の部分と窓部37と一体的に形成することができる。また、蓋体362の窓部37以外の部分が励起光に対して透過性を有しない材料で構成されている場合、蓋体362の窓部37以外の部分と窓部37とを別体で形成し、これらを公知の接合方法により接合すればよい。
また、基体361と蓋体362とは気密的に接合されているのが好ましい。すなわち、第2パッケージ36内が気密空間であることが好ましい。これにより、第2パッケージ36内を減圧状態または不活性ガス封入状態とすることができ、その結果、原子発振器1の特性を向上させることができる。
また、基体361と蓋体362との接合方法としては、特に限定されないが、例えば、ろう接、シーム溶接、エネルギー線溶接(レーザー溶接、電子線溶接等)等を用いることができる。
なお、基体361と蓋体362との間には、これらを接合するための接合部材が介在していてもよい。
また、第2パッケージ36内には、少なくともガスセル31および受光素子32が収納されていればよく、また、前述したガスセル31、受光素子32、ヒーター33、温度センサー34およびコイル35以外の部品が収納されていてもよい。
このような基体361および蓋体362を有して構成された第2パッケージ36によれば、発光素子21からの励起光の第2パッケージ36内への入射を許容しつつ、ガスセル31および受光素子32を第2パッケージ36内に収納することができる。したがって、前述したような第1パッケージ22と組み合わせて第2パッケージ36を用いることにより、発光素子21からガスセル31を介して受光素子32への励起光の光路を確保しつつ、発光素子21およびガスセル31を互いに非接触の別々のパッケージに収納することができる。
また、第2パッケージ36は、基体361が第1パッケージ22とは反対側に配置されるように、後述する保持部材5に保持されている。
(光学部品)
前述したような第1パッケージ22と第2パッケージ36との間には、複数の光学部品41、42、43が配置されている。この複数の光学部品41、42、43は、それぞれ、前述した第1パッケージ22内の発光素子21と、前述した第2パッケージ36内のガスセル31との間の光軸a上に設けられている。
また、本実施形態では、第1パッケージ22側から第2パッケージ36側へ、光学部品41、光学部品42、光学部品43の順に配置されている。
光学部品41は、λ/4波長板である。これにより、例えば、発光素子21からの励起光が直線偏光である場合、その励起光を円偏光(右円偏光または左円偏光)に変換することができる。
前述したようにコイル35の磁場によりガスセル31内のアルカリ金属原子がゼーマン分裂した状態において、仮に直線偏光の励起光をアルカリ金属原子に照射すると、励起光とアルカリ金属原子との相互作用により、アルカリ金属原子がゼーマン分裂した複数の準位に均等に分散して存在することとなる。その結果、所望のエネルギー準位のアルカリ金属原子の数が他のエネルギー準位のアルカリ金属原子の数に対して相対的に少なくなるため、所望のEIT現象を発現する原子数が減少し、所望のEIT信号が小さくなり、その結果、原子発振器1の発振特性の低下をもたらす。
これに対し、前述したようにコイル35の磁場によりガスセル31内のアルカリ金属原子がゼーマン分裂した状態において、円偏光の励起光をアルカリ金属原子に照射すると、励起光とアルカリ金属原子との相互作用により、アルカリ金属原子がゼーマン分裂した複数の準位のうち、所望のエネルギー準位のアルカリ金属原子の数を他のエネルギー準位のアルカリ金属原子の数に対して相対的に多くすることができる。そのため、所望のEIT現象を発現する原子数が増大し、所望のEIT信号が大きくなり、その結果、原子発振器1の発振特性を向上させることができる。
本実施形態では、光学部品41は、円板状をなしている。そのため、後述するような形状の溝511に係合した状態で光軸aに平行な軸線周りに光学部品41を回転させることができる。なお、光学部品41の平面視形状は、これに限定されず、例えば、後述する保持部材5の凹部51の横断面形状によっては、四角形、五角形等の多角形をなしていてもよい。
このような光学部品41に対して第2ユニット3側には、光学部品42、43が配置されている。
光学部品42、43は、それぞれ、減光フィルター(NDフィルター)である。これにより、ガスセル31に入射する励起光LLの強度を調整(減少)させることができる。そのため、発光素子21の出力が大きい場合でも、ガスセル31に入射する励起光を所望の光量とすることができる。本実施形態では、前述した光学部品41により円偏光に変換された励起光の強度を光学部品42、43により調整する。
本実施形態では、光学部品42、43は、それぞれ、板状をなしている。また、光学部品42、43の平面視形状は、それぞれ、四角形をなしている。
なお、光学部品42、43の平面視形状は、これに限定されず、例えば、円形をなしていてもよい。光学部品42、43の平面視形状が円形である場合、後述するような形状の溝512、513に係合した状態で光軸aに平行な軸線周りに光学部品42、43を回転させることができる。
また、光学部品42および光学部品43は、互いに減光率が等しくてもよいし異なっていてもよい。
また、光学部品42、43は、それぞれ、上側と下側とで連続的または段階的に減光率の異なる部分を有していてもよい。この場合、光学部品42、43を保持部材5に対して上下方向での位置を調整することにより、励起光の減光率を調整することができる。
また、光学部品42、43が溝512、513に係合した状態で光軸aに平行な軸線周りに回転可能である場合、光学部品42、43は、それぞれ、周方向で連続的または断続的に減光率が異なる部分を有していてもよい。この場合、光学部品42、43を回転させることにより、励起光の減光率を調整することができる。
なお、この光学部品42、43のうちのいずれか一方の光学部品を省略してもよい。また、発光素子21の出力が適度である場合、光学部品42、43の双方を省略することができる。また、光学部品41、42、43は、前述したものに限定されず、例えば、光学部品41、42のうちの少なくとも一方の光学部品は、偏光板であってもよい。この場合、光学部品43がλ/4波長板であることが好ましい。
(保持部材)
保持部材5は、前述した第1パッケージ22、第2パッケージ36および複数の光学部品41、42、43を保持する機能を有する。
この保持部材5は、第1パッケージ22および第2パッケージ36を互いに非接触でこれらを保持する。
これにより、発光素子21とガスセル31との間の熱干渉を防止または抑制し、発光素子21とガスセル31とを独立して高精度に温度制御することができる。
また、保持部材5は、非金属で構成されている。
これにより、第1パッケージ22と第2パッケージ36との間の保持部材5を介した熱伝導を抑えることができる。その結果、発光素子21とガスセル31との間の熱干渉を効果的に防止または抑制することができる。
具体的に説明すると、図5に示すように、保持部材5は、上側に開口する凹部51を有する。
そして、この凹部51には、第1パッケージ22、第2パッケージ36および複数の光学部品41、42、43が設置されている。本実施形態では、第1パッケージ22、第2パッケージ36および複数の光学部品41、42、43の下部がそれぞれ凹部51内に位置している。
また、この凹部51は、第1パッケージ22および第2パッケージ36の位置および姿勢を規制する形状をなす。これにより、第1パッケージ22および第2パッケージ36を保持部材5の凹部51に設置することにより、発光素子21および受光素子32を含む光学系の位置決めを行うことができる。そのため、保持部材5に対する第1パッケージ22および第2パッケージ36の設置を容易なものとすることができる。
ここで、凹部51は、X軸方向に延在し、その一端部側(図5中の左側)には、第1パッケージ22が配置され、他端部側(図5中の右側)には、第2パッケージ36が配置されている。
また、第1パッケージ22および第2パッケージ36は、筒状をなす蓋体222および蓋体362の軸線がそれぞれ凹部51の延在方向(X軸方向)に平行となるように配置されている。これにより、第1パッケージ22および第2パッケージ36は、蓋体222および蓋体362の軸線が互いに一致または平行となるように配置されている。
本実施形態では、凹部51の横断面が矩形をなしている。
また、保持部材5の一端部側(図5中の左側)には、第1パッケージ22の基体221を支持する支持部52(第1支持部)が設けられ、保持部材5の他端部(図5中の右側)には、第2パッケージ36の基体361を支持する支持部53(第2支持部)が設けられている。
このように、支持部52が基体221を支持するとともに、支持部53が基体361を支持することにより、第1パッケージ22と保持部材5との接触部と、第2パッケージ36と保持部材5との接触部との距離を大きくすることができる。そのため、第1パッケージ22と第2パッケージ36との間の保持部材5を介した熱伝導をより効果的に抑えることができる。
また、蓋体222および蓋体362は、それぞれ、保持部材5に対して非接触である。これにより、第1パッケージ22と第2パッケージ36との間の保持部材5を介した熱伝導をより効果的に抑えることができる。特に、凹部51の横断面が矩形をなすのに対し、蓋体222、362の筒状部がそれぞれ円筒状をなしているため、蓋体222、362の側面と保持部材5との間に比較的大きな隙間を形成することができる。その結果、蓋体222、362から保持部材5への熱の伝導を極めて小さく抑えることができる。また、仮に蓋体222、362の側面と保持部材5とが接触していたとしても、その接触面積を小さくすることができる。
ここで、支持部52は、Y軸およびZ軸に平行な設置面を有する。この設置面には、前述した第1パッケージ22の基体221の蓋体222とは反対側の面が接触または近接する。これにより、保持部材5に対する第1パッケージ22の位置および姿勢を規制することができる。なお、基体221は、例えば、支持部52に接着剤を用いて固定することができる。
また、支持部52には、前述した第1パッケージ22の複数のリード223が挿通される複数の貫通孔521が形成されている。すなわち、支持部52は、第1パッケージ22が装着されるソケットのような形態をなす。これによっても、保持部材5に対する第1パッケージ22の位置および姿勢を規制することができる。なお、複数のリード223は、例えば、半田により支持部52に固定することができる。
複数のリード223は、複数の貫通孔521に挿通されることにより、保持部材5の外表面の下面または側面に設けられた複数の端子(図示せず)に複数の配線(図示せず)を介して電気的に接続される。
また、支持部52には、後述する放熱部材7の受熱部71が設けられている。そして、支持部52に設置された第1パッケージ22の基体221は、受熱部71に接触する。これにより、放熱部材7により基体221を放熱することができる。
同様に、支持部53は、Y軸およびZ軸に平行な設置面を有する。この設置面には、前述した第2パッケージ36の基体361の蓋体362とは反対側の面が接触または近接する。これにより、保持部材5に対する第2パッケージ36の位置および姿勢を規制することができる。なお、基体361は、例えば、支持部53に接着剤を用いて固定することができる。
また、支持部53には、前述した第2パッケージ36の複数のリード363が挿通される複数の貫通孔531が形成されている。すなわち、支持部53は、第2パッケージ36が装着されるソケットのような形態をなす。これによっても、保持部材5に対する第2パッケージ36の位置および姿勢を規制することができる。なお、複数のリード363は、例えば、半田により支持部53に固定することができる。
また、複数のリード363は、複数の貫通孔531に挿通されることにより、保持部材5の外表面の下面または側面に設けられた複数の端子(図示せず)に複数の配線(図示せず)を介して電気的に接続される。
以上のように、保持部材5は、第1パッケージ22および第2パッケージ36を保持する。
また、前述したように、保持部材5は、光学部品41、42、43をそれぞれ保持する。これにより、原子発振器1の製造時に保持部材5に各部品を取り付ける際、第1パッケージ22および第2パッケージ36を保持部材5に保持させた状態で、光学部品41、42、43をその位置または姿勢を調整しながら保持部材5に設置することができる。
具体的に説明すると、保持部材5の凹部51の壁面には、光学部品41を保持する溝511と、光学部品42を保持する溝512と、光学部品43を保持する溝513とが形成されている。
本実施形態では、溝511、512、513は、光学部品41、42、43の板面が互いに平行となるように形成されている。また、溝511、512、513は、光学部品41、42、43の板面がそれぞれ光軸aに対して垂直となるように形成されている。なお、溝511、512、513は、光学部品41、42、43の板面が互いに非平行となるように形成されていてもよし、光学部品41、42、43の板面がそれぞれ光軸aに対して傾斜するように形成されていてもよい。
溝511は、第1パッケージ22と第2パッケージ36とを結ぶ線分に沿った軸線(例えば、光軸a)周りに光学部品41を回転可能に保持し得る。これにより、光学部品41を保持部材5の溝511に係合させて光軸aに平行な方向での位置決めした状態で、光学部品41の光軸a周りの姿勢を調整することができる。
ここで、前述したように光学部品41がλ/4波長板であるため、保持部材5に対する第1パッケージ22の姿勢によらず、図7に示すように光学部品41を回転により姿勢を調整することにより、発光素子21からの励起光を直線偏光から円偏光へ変換することができる。
また、光学部品41が円板状をなすため、横断面が矩形をなす凹部51の壁面に対し3か所で接触する。これにより、保持部材5に対する光学部品41の位置決めを行うことができる。
光学部品41、42、43を保持部材5に設置するに際しては、例えば、まず、保持部材5に第1ユニット2および第2ユニット3を設置・固定する。その後、光学部品41、42、43をそれぞれ対応する溝511、512、513に係合させた状態で、EIT信号等を確認しながら、各光学部品41、42、43の位置および姿勢のうちの少なくとも一方を変化させる。そして、所望のEIT信号を確認したとき、その状態で、各光学部品41、42、43を保持部材5に対して固定する。かかる固定は、特に限定されないが、例えば、光硬化性接着剤を用いるのが好適である。光硬化性接着剤は、硬化前であれば各溝511、512、513に供給しても各光学部品41、42、43の位置または姿勢を変化させることができ、そして、所望時に短時間で硬化させて固定を行える。
このような保持部材5の構成材料としては、非金属の材料であれば、特に限定されないが、例えば、樹脂材料、セラミックス材料等が挙げられる。
保持部材5を構成する樹脂材料としては、特に限定されないが、例えば、ポリエチレン、エチレン−酢酸ビニル共重合体(EVA)等のポリオレフィン、アクリル系樹脂、アクリロニトリル−ブタジエン−スチレン共重合体(ABS樹脂)、アクリロニトリル−スチレン共重合体(AS樹脂)、ポリエチレンテレフタレート(PET)、ポリエーテル、ポリエーテルケトン(PEK)、ポリエーテルエーテルケトン(PEEK)、スチレン系、ポリオレフィン系、ポリ塩化ビニル系、ポリウレタン系、ポリエステル系、ポリアミド系、ポリブタジエン系、トランスポリイソプレン系、フッ素ゴム系、塩素化ポリエチレン系等の各種熱可塑性エラストマー、エポキシ樹脂、フェノール樹脂、ユリア樹脂、メラミン樹脂、不飽和ポリエステル、シリコーン樹脂、ポリウレタン等、またはこれらを主とする共重合体、ブレンド体、ポリマーアロイ等が挙げられ、これらのうちの1種または2種以上を組み合わせて(例えば2層以上の積層体として)用いることができる。
また、保持部材5を構成するセラミックス材料としては、特に限定されないが、例えば、各種ガラス、また、アルミナ、シリカ、チタニア、ジルコニア、イットリア、リン酸カルシウム等の酸化物セラミックス、さらに、窒化珪素、窒化アルミ、窒化チタン、窒化ボロン等の窒化物セラミックス、また、グラファイト、タングステンカーバイト等の炭化物系セラミックス、その他、例えばチタン酸バリウム、チタン酸ストロンチウム、PZT、PLZT、PLLZT等の強誘電体材料などが挙げられる。
また、保持部材5の熱電導率は、0.1W・m−1・K−1以上40W・m−1・K−1以下であることが好ましく、0.1W・m−1・K−1以上0.5W・m−1・K−1以下であることがより好ましい。これにより、第1パッケージ22と第2パッケージ36との間の保持部材5を介した熱伝導をより効果的に抑えることができる。すなわち、保持部材5の断熱性を高め、第1パッケージ22と第2パッケージ36とを熱的に分離する効果を顕著なものとすることができる。
これに対し、かかる熱伝導率が低すぎる場合、保持部材5の形状、大きさ等によっては、保持部材5に必要な剛性を確保できる材料の選定が難しく、一方、かかる熱伝導率が高すぎる場合、第1パッケージ22と保持部材5との接触部と、第2パッケージ36と保持部材5との接触部との距離によっては、第1パッケージ22と第2パッケージ36との間の保持部材5を介した熱伝導を抑えることが難しい。
[放熱部材]
放熱部材7は、第1パッケージ22の外側に設けられ、前述した第1パッケージ22の基体221を放熱する機能を有する。これにより、基体221に設置された発光素子21およびペルチェ素子24の過昇温を防止することができる。
特に、前述したような第1パッケージ22の減圧された内部空間Sによる断熱性と、放熱部材7による放熱性との組み合わせにより、第1パッケージ22の内外間の熱の伝達経路を最適化し、発光素子21を高精度に温度制御することができる。
具体的に説明すると、第1パッケージ22内に収納された発光素子21およびペルチェ素子24は、前述したように、減圧された内部空間Sの断熱性により、第1パッケージ22の蓋体222を介して第1パッケージ22の外部と発光素子21との間の熱干渉を防止または抑制することができる。
その一方で、発光素子21は、ペルチェ素子24により加熱されなくても、発光に伴って発熱する。また、ペルチェ素子24も駆動に伴ってペルチェ素子24全体が発熱し、また、発光素子21からの熱を受けるため、ペルチェ素子24全体が温度上昇する。
このような発光素子21およびペルチェ素子24の熱は、発光素子21およびペルチェ素子24が設置された基体221を通じて外部へ放出されるが、その放出が十分でないと、発光素子21が所望の温度よりも高くなってしまう。
また、ペルチェ素子24全体の温度上昇は、ペルチェ素子24の温度調節機能(特に冷却機能)の低下をもたらす。その結果、ペルチェ素子24によって発光素子21を所望の温度に調節することができなくなる。
そこで、本発明にかかる原子発振器1では、放熱部材7により基体221を放熱させることにより、発光素子21およびペルチェ素子24の過昇温を防止することとした。
この放熱部材7は、前述した保持部材5の支持部52に設けられた受熱部71と、保持部材5の外側に設けられた放熱部72を有する。
受熱部71は、支持部52の設置面(第1パッケージ22が設置される面)に沿って設けられている。これにより、受熱部71は、第1パッケージ22の基体221に接触している。
なお、受熱部71と基体221との間には、これらの間の熱伝導性を高めるため、絶縁性および熱伝導性に優れる熱伝導性材料が介在していてもよい。かかる熱伝導性材料としては、特に限定されないが、例えば、絶縁性および熱伝導性に優れるフィラーを樹脂材料に分散させたものを用いることができる。
本実施形態では、受熱部71は、シート状または板状をなし、第1パッケージ22の複数のリード223が挿通される複数の貫通孔711が形成されている。
このような受熱部71は、放熱部72と一体で形成されている。これにより、受熱部71は、放熱部72に熱的に接続されている。
放熱部72は、保持部材5の外側(凹部51とは反対側)に設けられている。これにより、保持部材5に保持された第1パッケージ22の基体221を効率的に放熱することができる。
本実施形態では、放熱部72は、保持部材5の外表面に沿って設けられている。これにより、放熱部72が保持部材5の外表面に対して突出するのを抑制しつつ、放熱部72の放熱面の面積を大きくすることができる。
本実施形態では、放熱部72は、シート状または板状をなしている。これにより、例えば、放熱部72が保持部材5の設置面に沿って設けてられていても、その設置面を基板に設置することができる。
なお、放熱部72には、放熱性を向上させるためのフィンが設けられていてもよい。この場合、放熱部72は、保持部材5の設置面とは異なる部位に設けるか、または、保持部材5が設置される基板にかかるフィンとの接触を防止する貫通孔を設ければよい。
このような放熱部材7は、金属で構成されていることが好ましい。これにより、放熱部材7の放熱性を優れたものとすることができる。また、放熱部材7を金属で構成する場合、金属板を折り曲げ加工することにより、簡単かつ安価に、放熱部材7を形成することができる。
また、放熱部材7の熱伝導率は、前述した保持部材5の熱伝導率よりも高ければよいが、できるだけ高いことが好ましく、具体的には、10W・m−1・K−1以上であることが好ましく、40W・m−1・K−1以上であることがより好ましく、100W・m−1・K−1以上であることがさらに好ましい。
このような観点から、放熱部材7の構成材料としては、前述したように金属材料を用いるのが好ましいが、特に、例えば、アルミニウムまたはその合金、銅またはその合金等を用いるのが好ましい。
[制御部]
図2に示す制御部6は、ヒーター33、コイル35、発光素子21およびペルチェ素子24をそれぞれ制御する機能を有する。
このような制御部6は、発光素子21の共鳴光1、2の周波数を制御する励起光制御部61と、ガスセル31中のアルカリ金属の温度を制御する温度制御部62と、ガスセル31に印加する磁場を制御する磁場制御部63と、温度制御部64とを有する。
励起光制御部61は、前述した受光素子32の検出結果に基づいて、発光素子21から出射される共鳴光1、2の周波数を制御する。より具体的には、励起光制御部61は、前述した受光素子32によって検出された(ω1−ω2)が前述したアルカリ金属固有の周波数ω0となるように、発光素子21から出射される共鳴光1、2の周波数を制御する。また、励起光制御部61は、発光素子21から出射される共鳴光1、2の中心周波数を制御する。
また、温度制御部62は、温度センサー34の検出結果に基づいて、ヒーター33への通電を制御する。これにより、ガスセル31を所望の温度範囲内に維持することができる。ここで、温度センサー34は、ガスセル31の温度を検知する温度検知手段を構成する。
また、磁場制御部63は、コイル35が発生する磁場が一定となるように、コイル35への通電を制御する。
このような制御部6は、例えば、保持部材5が設置される基板上に実装されたICチップに設けられている。
以上説明したような本実施形態の原子発振器1によれば、第1パッケージ22内が減圧されているため、第1パッケージ22の蓋体222を介して第1パッケージ22の外部と発光素子21との間の熱干渉を防止または抑制することができる。したがって、本実施形態のように第1パッケージ22外にガスセル31が配置されている場合、発光素子21とガスセル31との間の熱干渉を防止または抑制し、発光素子21とガスセル31とを独立して高精度に温度制御することができる。
また、放熱部材7が基体221を放熱するため、基体221に設置された発光素子21の過昇温を防止することができる。
このような第1パッケージ22の減圧された内部空間Sによる断熱性と、放熱部材7による基体221の放熱性との組み合わせにより、第1パッケージ22の内外間の熱の伝達経路を最適化し、発光素子21を高精度に温度制御することができる。その結果、原子発振器1の特性を優れたものとすることができる。
<第2実施形態>
次に、本発明の第2実施形態について説明する。
図8は、本発明の第2実施形態に係る原子発振器の縦断面図である。
本実施形態にかかる原子発振器は、発光素子、ガスセルおよび受光素子等を同一のパッケージ内に収納した以外は、前述した第1実施形態にかかる原子発振器と同様である。
なお、以下の説明では、第2実施形態の原子発振器に関し、第1実施形態との相違点を中心に説明し、同様の事項に関してはその説明を省略する。また、図8において、前述した実施形態と同様の構成については、同一符号を付している。
図7に示す原子発振器1Aは、図8に示すように、発光素子21と、ペルチェ素子24と、ガスセル31と、受光素子32と、ヒーター33と、これらを収納するパッケージ22Aと、パッケージ22Aを保持する保持部材5Aと、放熱部材7とを備える。なお、本実施形態では、保持部材5Aを省略することができる。
なお、図7では、説明の便宜上、図示しないが、原子発振器1Aは、前述した第1実施形態の原子発振器1と同様、光学部品、温度センサーおよびコイル等を備え、これらも、パッケージ22A内に収納されている。
本実施形態では、パッケージ22Aの内部空間S1内には、発光素子21およびペルチェ素子24だけでなく、ガスセル31、受光素子32およびヒーター33も収納されている。
パッケージ22Aは、基体221と、蓋体222Aとを備える。これにより、内部空間S1が形成される。
この内部空間S1は、減圧されている。
ここで、ガスセル31、受光素子32およびヒーター33は、発光素子21との間に隙間を形成するための支持部材8を介して、基体221に支持されている。
本実施形態のようにパッケージ22A内に発光素子21およびガスセル31が収納されている場合であっても、発光素子21とガスセル31との間に隙間を形成することにより、かかる隙間が減圧による断熱層を構成するため、発光素子21とガスセル31との間の熱干渉を防止または抑制することができる。
以上説明したような第2実施形態に係る原子発振器1Aによっても、発光素子とガスセルとの間の熱干渉を抑制または防止し、より幅広い環境温度範囲において、優れた発振特性を発揮することができる。
(電子機器)
以上説明したような原子発振器は、各種電子機器に組み込むことができる。このような電子機器は、優れた信頼性を発揮することができる。
以下、本発明の電子機器について説明する。
図9は、GPS衛星を利用した測位システムに本発明の原子発振器を用いた場合のシステム構成概要図である。
図9に示す測位システム100は、GPS衛星200と、基地局装置300と、GPS受信装置400とで構成されている。
GPS衛星200は、測位情報(GPS信号)を送信する。
基地局装置300は、例えば電子基準点(GPS連続観測局)に設置されたアンテナ301を介してGPS衛星200からの測位情報を高精度に受信する受信装置302と、この受信装置302で受信した測位情報をアンテナ303を介して送信する送信装置304とを備える。
ここで、受信装置302は、その基準周波数発振源として前述した本発明の原子発振器1を備える電子装置である。このような受信装置302は、優れた信頼性を有する。また、受信装置302で受信された測位情報は、リアルタイムで送信装置304により送信される。
GPS受信装置400は、GPS衛星200からの測位情報をアンテナ401を介して受信する衛星受信部402と、基地局装置300からの測位情報をアンテナ403を介して受信する基地局受信部404とを備える。
図10は、本発明の原子発振器を用いたクロック伝送システムの一例を示す概略構成図である。
図10に示すクロック伝送システム500は、時分割多重方式のネットワーク内の各装置のクロックを一致させるものであって、N(Normal)系およびE(Emergency)系の冗長構成を有するシステムである。
このクロック伝送システム500は、A局(上位(N系))のクロック供給装置(CSM:Clock Supply Module)501およびSDH(Synchronous Digital Hierarchy)装置502と、B局(上位(E系))のクロック供給装置503およびSDH装置504と、C局(下位)のクロック供給装置505およびSDH装置506、507とを備える。
クロック供給装置501は、原子発振器1を有し、N系のクロック信号を生成する。このクロック供給装置501内の原子発振器1は、セシウムを用いた原子発振器を含むマスタークロック508、509からのより高精度なクロック信号と同期して、クロック信号を生成する。
SDH装置502は、クロック供給装置501からのクロック信号に基づいて、主信号の送受信を行うとともに、N系のクロック信号を主信号に重畳し、下位のクロック供給装置505に伝送する。
クロック供給装置503は、原子発振器1を有し、E系のクロック信号を生成する。このクロック供給装置503内の原子発振器1は、セシウムを用いた原子発振器を含むマスタークロック508、509からのより高精度なクロック信号と同期して、クロック信号を生成する。
SDH装置504は、クロック供給装置503からのクロック信号に基づいて、主信号の送受信を行うとともに、E系のクロック信号を主信号に重畳し、下位のクロック供給装置505に伝送する。
クロック供給装置505は、クロック供給装置501、503からのクロック信号を受信し、その受信したクロック信号に同期して、クロック信号を生成する。
ここで、クロック供給装置505は、通常、クロック供給装置501からのN系のクロック信号に同期して、クロック信号を生成する。そして、N系に異常が発生した場合、クロック供給装置505は、クロック供給装置503からのE系のクロック信号に同期して、クロック信号を生成する。このようにN系からE系に切り換えることにより、安定したクロック供給を担保し、クロックパス網の信頼性を高めることができる。
SDH装置506は、クロック供給装置505からのクロック信号に基づいて、主信号の送受信を行う。同様に、SDH装置507は、クロック供給装置505からのクロック信号に基づいて、主信号の送受信を行う。これにより、C局の装置をA局またはB局の装置と同期させることができる。
以上、本発明の原子発振器および電子機器について、図示の実施形態に基づいて説明したが、本発明は、これらに限定されるものではない。
また、本発明の原子発振器および電子機器では、各部の構成は、同様の機能を発揮する任意の構成のものに置換することができ、また、任意の構成を付加することもできる。
また、本発明の原子発振器は、前述した各実施形態の任意の構成同士を組み合わせるようにしてもよい。
また、前述した実施形態では、発光素子とパッケージの基体との間にペルチェ素子(温度調節素子)が介在する場合を例に説明したが、これに限定されず、例えば、発光素子および温度調節素子がそれぞれパッケージの基体上に直接設置されていてもよい。
また、パッケージを保持する保持部材の形態は、前述した実施形態のものに限定されず、例えば、原子発振器の各部を制御する回路を有する基板であってもよい。この場合、例えば、かかる基板にパッケージ等が挿入される貫通孔を形成すればよい。
1‥‥原子発振器 1A‥‥原子発振器 2‥‥第1ユニット 3‥‥第2ユニット 5‥‥保持部材 5A‥‥保持部材 6‥‥制御部 7‥‥放熱部材 8‥‥支持部材 21‥‥発光素子 22‥‥第1パッケージ(パッケージ) 22A‥‥パッケージ 23‥‥窓部 24‥‥ペルチェ素子 31‥‥ガスセル 32‥‥受光素子 33‥‥ヒーター 34‥‥温度センサー 35‥‥コイル 36‥‥パッケージ 37‥‥窓部 41‥‥光学部品 42‥‥光学部品 43‥‥光学部品 51‥‥凹部 52‥‥支持部 53‥‥支持部 61‥‥励起光制御部 62‥‥温度制御部 63‥‥磁場制御部 64‥‥温度制御部 71‥‥受熱部 72‥‥放熱部 100‥‥測位システム 200‥‥GPS衛星 221‥‥基体 222‥‥蓋体 222A‥‥蓋体 223‥‥リード 241‥‥面 242‥‥面 300‥‥基地局装置 301‥‥アンテナ 302‥‥受信装置 303‥‥アンテナ 304‥‥送信装置 361‥‥基体 362‥‥蓋体 363‥‥リード 400‥‥GPS受信装置 401‥‥アンテナ 402‥‥衛星受信部 403‥‥アンテナ 404‥‥基地局受信部 500‥‥クロック伝送システム 501‥‥クロック供給装置 502‥‥SDH装置 503‥‥クロック供給装置 504‥‥SDH装置 505‥‥クロック供給装置 506‥‥SDH装置 507‥‥SDH装置 508‥‥マスタークロック 509‥‥マスタークロック 511‥‥溝 512‥‥溝 513‥‥溝 521‥‥貫通孔 531‥‥貫通孔 711‥‥貫通孔 LL‥‥励起光 S‥‥内部空間 S1‥‥内部空間 ω0‥‥周波数 ω1‥‥周波数 ω2‥‥周波数

Claims (10)

  1. ガス状の金属原子が封入されるガスセルと、
    前記ガスセル内の前記ガス状の金属原子を励起する励起光を出射する発光素子と、
    前記ガスセルを透過した前記励起光を検出する受光素子と、
    前記発光素子が設置される基体と、前記発光素子を覆う蓋体とを有し、減圧状態の内部空間に前記発光素子を収納するパッケージと、
    前記パッケージの外側に設けられ、前記基体の熱を放熱する放熱部材と
    前記パッケージ内に収納され、前記発光素子の温度を調節するペルチェ素子と、を備え、
    前記発光素子は、前記ペルチェ素子を介して前記基体に設置されていることを特徴とする原子発振器。
  2. ガス状の金属原子が封入されるガスセルと、
    前記ガスセル内の前記ガス状の金属原子を励起する励起光を出射する発光素子と、
    前記ガスセルを透過した前記励起光を検出する受光素子と、
    前記発光素子が設置される基体と、前記発光素子を覆う蓋体とを有し、減圧状態の内部空間に前記発光素子を収納するパッケージを構成する第1パッケージと、
    前記パッケージの外側に設けられ、前記基体の熱を放熱する放熱部材と、
    前記ガスセルおよび前記受光素子を収納する第2パッケージと、
    非金属で構成され、前記第1パッケージおよび前記第2パッケージを互いに非接触でこれらを保持する保持部材と、を備えることを特徴とする原子発振器。
  3. 前記パッケージ内に収納され、前記発光素子の温度を調節するペルチェ素子をさらに備え、
    前記発光素子は、前記ペルチェ素子を介して前記基体に設置されている請求項に記載の原子発振器。
  4. 前記放熱部材は、前記保持部材の外側に設けられた放熱部を有する請求項2または3に記載の原子発振器。
  5. 前記第1パッケージは、前記基体を構成する第1基体と、前記蓋体を構成する第1蓋体とを有し、前記第1蓋体には、前記励起光に対する透過性を有する窓部が設けられ、
    前記第2パッケージは、前記ガスセルおよび前記受光素子が設置される第2基体と、前記ガスセルおよび前記受光素子を覆い、かつ、前記励起光に対する透過性を有する窓部が設けられた第2蓋体とを有する請求項2ないし4のいずれかに記載の原子発振器。
  6. 前記保持部材は、前記第1基体を支持する第1支持部と、前記第2基体を支持する第2支持部とを有する請求項5に記載の原子発振器。
  7. 前記第1蓋体および前記第2蓋体は、それぞれ、前記保持部材に対して非接触である請求項6に記載の原子発振器。
  8. 前記放熱部材は、金属で構成されている請求項1ないし7のいずれかに記載の原子発振器。
  9. 前記保持部材は、熱伝導率が0.1W・m−1・K−1以上40W・m−1・K−1以下である材料で構成されている請求項に記載の原子発振器。
  10. 請求項1ないし9のいずれかに記載の原子発振器を備えることを特徴とする電子機器。
JP2012194051A 2012-09-04 2012-09-04 原子発振器および電子機器 Active JP6074957B2 (ja)

Priority Applications (1)

Application Number Priority Date Filing Date Title
JP2012194051A JP6074957B2 (ja) 2012-09-04 2012-09-04 原子発振器および電子機器

Applications Claiming Priority (1)

Application Number Priority Date Filing Date Title
JP2012194051A JP6074957B2 (ja) 2012-09-04 2012-09-04 原子発振器および電子機器

Publications (3)

Publication Number Publication Date
JP2014050073A JP2014050073A (ja) 2014-03-17
JP2014050073A5 JP2014050073A5 (ja) 2015-10-29
JP6074957B2 true JP6074957B2 (ja) 2017-02-08

Family

ID=50609282

Family Applications (1)

Application Number Title Priority Date Filing Date
JP2012194051A Active JP6074957B2 (ja) 2012-09-04 2012-09-04 原子発振器および電子機器

Country Status (1)

Country Link
JP (1) JP6074957B2 (ja)

Families Citing this family (1)

* Cited by examiner, † Cited by third party
Publication number Priority date Publication date Assignee Title
JP6209840B2 (ja) * 2013-03-27 2017-10-11 セイコーエプソン株式会社 量子干渉装置、原子発振器、電子機器および移動体

Family Cites Families (5)

* Cited by examiner, † Cited by third party
Publication number Priority date Publication date Assignee Title
JPH02161786A (ja) * 1988-12-15 1990-06-21 Hamamatsu Photonics Kk 半導体レーザ励起固定レーザ装置
JPH0336161U (ja) * 1989-08-21 1991-04-09
JPH0730171A (ja) * 1992-07-29 1995-01-31 Nippon Columbia Co Ltd 半導体レーザ励起固体レーザ装置
US5670914A (en) * 1995-09-25 1997-09-23 Northrop Grumman Corporation Miniature atomic frequency standard
JP5256999B2 (ja) * 2008-10-29 2013-08-07 セイコーエプソン株式会社 原子発振器の物理部

Also Published As

Publication number Publication date
JP2014050073A (ja) 2014-03-17

Similar Documents

Publication Publication Date Title
JP6119295B2 (ja) 量子干渉装置、原子発振器および移動体
JP6209840B2 (ja) 量子干渉装置、原子発振器、電子機器および移動体
JP6375637B2 (ja) 原子セル、量子干渉装置、原子発振器、電子機器および移動体
US9319056B2 (en) Quantum interference device, atomic oscillator, electronic apparatus, and moving object
JP6409267B2 (ja) 量子干渉装置、原子発振器、電子機器および移動体
JP6179327B2 (ja) 量子干渉装置、原子発振器、電子機器および移動体
US9912339B2 (en) Atomic oscillator
US9191017B2 (en) Quantum interference device, atomic oscillator, and moving object
JP2015231053A (ja) 原子セル、量子干渉装置、原子発振器、電子機器および移動体
JP5924155B2 (ja) 原子発振器および電子機器
JP6060568B2 (ja) ガスセルユニット、原子発振器および電子機器
JP6074957B2 (ja) 原子発振器および電子機器
JP6693353B2 (ja) 原子発振器および電子機器
JP6926519B2 (ja) 発光素子モジュール、原子発振器、電子機器および移動体
US9768791B2 (en) Quantum interference device, atomic oscillator, electronic apparatus, and moving object
JP6003280B2 (ja) 原子発振器および電子機器
JP6237096B2 (ja) 量子干渉装置、原子発振器、および電子機器
JP6089847B2 (ja) 量子干渉装置、原子発振器、電子機器および移動体
JP6075138B2 (ja) 量子干渉装置、原子発振器、電子機器、移動体および原子発振器の製造方法
JP6060560B2 (ja) ガスセルユニット、原子発振器および電子機器
JP2015170882A (ja) 発振器、電子機器および移動体

Legal Events

Date Code Title Description
A521 Request for written amendment filed

Free format text: JAPANESE INTERMEDIATE CODE: A523

Effective date: 20150901

A621 Written request for application examination

Free format text: JAPANESE INTERMEDIATE CODE: A621

Effective date: 20150901

A977 Report on retrieval

Free format text: JAPANESE INTERMEDIATE CODE: A971007

Effective date: 20160421

A131 Notification of reasons for refusal

Free format text: JAPANESE INTERMEDIATE CODE: A131

Effective date: 20160517

A521 Request for written amendment filed

Free format text: JAPANESE INTERMEDIATE CODE: A523

Effective date: 20160715

TRDD Decision of grant or rejection written
A01 Written decision to grant a patent or to grant a registration (utility model)

Free format text: JAPANESE INTERMEDIATE CODE: A01

Effective date: 20161213

A61 First payment of annual fees (during grant procedure)

Free format text: JAPANESE INTERMEDIATE CODE: A61

Effective date: 20161226

R150 Certificate of patent or registration of utility model

Ref document number: 6074957

Country of ref document: JP

Free format text: JAPANESE INTERMEDIATE CODE: R150

S111 Request for change of ownership or part of ownership

Free format text: JAPANESE INTERMEDIATE CODE: R313113

R350 Written notification of registration of transfer

Free format text: JAPANESE INTERMEDIATE CODE: R350

R250 Receipt of annual fees

Free format text: JAPANESE INTERMEDIATE CODE: R250

R250 Receipt of annual fees

Free format text: JAPANESE INTERMEDIATE CODE: R250

R250 Receipt of annual fees

Free format text: JAPANESE INTERMEDIATE CODE: R250