JP5969397B2 - 鋼矢板の位置合わせ用ガイド治具 - Google Patents

鋼矢板の位置合わせ用ガイド治具 Download PDF

Info

Publication number
JP5969397B2
JP5969397B2 JP2013000888A JP2013000888A JP5969397B2 JP 5969397 B2 JP5969397 B2 JP 5969397B2 JP 2013000888 A JP2013000888 A JP 2013000888A JP 2013000888 A JP2013000888 A JP 2013000888A JP 5969397 B2 JP5969397 B2 JP 5969397B2
Authority
JP
Japan
Prior art keywords
steel sheet
sheet pile
guide jig
alignment guide
claw
Prior art date
Legal status (The legal status is an assumption and is not a legal conclusion. Google has not performed a legal analysis and makes no representation as to the accuracy of the status listed.)
Expired - Fee Related
Application number
JP2013000888A
Other languages
English (en)
Other versions
JP2014133980A (ja
Inventor
善彦 杜若
善彦 杜若
Current Assignee (The listed assignees may be inaccurate. Google has not performed a legal analysis and makes no representation or warranty as to the accuracy of the list.)
Kajima Corp
Original Assignee
Kajima Corp
Priority date (The priority date is an assumption and is not a legal conclusion. Google has not performed a legal analysis and makes no representation as to the accuracy of the date listed.)
Filing date
Publication date
Application filed by Kajima Corp filed Critical Kajima Corp
Priority to JP2013000888A priority Critical patent/JP5969397B2/ja
Publication of JP2014133980A publication Critical patent/JP2014133980A/ja
Application granted granted Critical
Publication of JP5969397B2 publication Critical patent/JP5969397B2/ja
Expired - Fee Related legal-status Critical Current
Anticipated expiration legal-status Critical

Links

Images

Landscapes

  • Bulkheads Adapted To Foundation Construction (AREA)
  • Placing Or Removing Of Piles Or Sheet Piles, Or Accessories Thereof (AREA)

Description

本発明は、土木建築分野における土留め壁、基礎構造、港湾河川の護岸・岸壁、さらには止水壁に用いる構造部材として用いられる鋼矢板(シートパイル)を地面に沿って連ねて打設する際、鋼矢板の継手部同士を繋ぎ合わせるときに使用する鋼矢板の位置合わせ用ガイド治具に関する。
鋼矢板(シートパイル)は、その一例としてU形、Z形、直線形、ハット形等があり、土木建築工事に際しては、その継手どうしを嵌合させながら打設することで一体の地中連続壁とする。
図8はU形鋼矢板の1例であり、鋼矢板1は、ウエブ2aとフランジ2bからなるU形の板状部2の両端部に継手としての巻回部による爪部3を設けている。
図9に示すように、鋼矢板1をその幅方向側端部の継手の爪部3同士を繋ぎ合わせて、これら鋼矢板1をその幅方向に連ねて地中に打設する場合、従来から、クレーン装置等で鋼矢板1を吊上げて順次地面に挿入するようにして行われている。
この場合、先ず、クレーンオペレーターと玉掛け作業者とが共同で打設しようとする鋼矢板1を既に打設された鋼矢板2の上方で位置を微調整して、これら鋼矢板1の側端部の継手部同士の位置を正確に一致させる位置決めが行われる。
その後、打設しようとする鋼矢板を既打設済みの鋼矢板の側面に沿ってスライドさせて鋼矢板を溝に挿入する。この作業を繰り返して鋼矢板の打設作業は進められている。
しかし、鋼矢板の継手部同士の位置を正確に一致させることは、風の影響を受けやすく非常に困難である。また、かかる作業は、クレーンオペレーターの技量やクレーンオペレーターと玉掛け作業者のタイミング調整等により左右され、安全性の確保及び作業効率の向上を図ることが非常に困難であった。
下記特許文献は、海上等での鋼矢板打ち込み作業における鋼矢板のセクション合わせ用治具として提案されたものである。
実開平2−139938号公報
この特許文献1は、図10、図11に示すように、横断面形状が鋼矢板1の板状部2の横断面形状と同一に形成された板状体10を設け、この板状体10の下部の前面と後面に、取付部材11,12を4対対向させて下方に突出させて設け、板状体10の両端部には、鋼矢板1の両端部に設けられた連結用の巻回部による爪部3の弧状基部4と同一形状に形成された弧状案内片13のみを設け、板状体10の上部には、3箇所に窓孔14を設けた。
図12に示すように、打設済みの鋼矢板1上に装着し、次に打設する鋼矢板1のセクション合わせを行って鋼矢板1を下降させ、下降する途中の鋼矢板1は、鋼矢板1の前後に並列した道枠18によって導かれて打ち込まれる。
前記特許文献1の鋼矢板のセクション合わせ用治具では、既設の鋼矢板1の上に単に置くだけであり、取付部材11,12を4対対向させて下方に突出させて設けているものの、この取付部材11,12は既設の鋼矢板1の上端を差し入れるだけの隙間を有するものに過ぎず、完全に固定して治具を設けるものではない。
風があって打設しようとする鋼矢板があおられて大きく振られた場合、鋼矢板のセクション合わせ用治具にぶつかり、これを倒してしまうおそれもあり、また、弧状案内片13に打設しようとする鋼矢板の爪部を合わせようとしても容易に係合できないこともある。
本発明の目的は前記従来例の不都合を解消し、締め付け固定して打設済みの鋼矢板に装着できるので、風があっても影響を受けず、また、打設しようとする鋼矢板の爪部を合わせやすいように開口を大きくした鋼矢板の位置合わせ用ガイド治具を提供することにある。
前記目的を達成するため、請求項1記載の本発明は、両端に爪部を有する鋼矢板とほぼ同一の断面形状で、前記爪部に相当するガイド用溝部分は、その外周壁の上端角部を切り欠いて開口を大きくした位置合わせ用ガイド治具であり、既設の鋼矢板の上端にこれを延設するように載置した際に既設の鋼矢板の上端側面に添わせる係止片を下方に向け突設し、かつ、この係止片の一つまたは一部を介して既設の鋼矢板と締め付け金具により締め付け固定するための、締め付け金具挿入用の窓孔を形成したことを要旨とするものである。
請求項1記載の本発明によれば、位置合わせ用ガイド治具は既設の鋼矢板に対してその上端にこれを延設するように載置する際に締め付け金具により締め付け固定するので、強固に取り付けることができ、風があって打設しようとする鋼矢板があおられて衝突などしても影響を受けない。
また、両端の爪部に相当する溝形成部分の外周壁の上端角部を切り欠いて開口を大きくしたので、打設しようとする鋼矢板の下端部の片脇側の爪部をこれに係合させ易く、係合させたのち、打設しようとする鋼矢板を下降させれば、そのまま下方の打設済みの鋼矢板の爪部に係合させていくことができる。
請求項2記載の本発明は、背面を跨ぐように補強部材を連結固定したことを要旨とするものである。
請求項2記載の本発明は、短尺な位置合わせ用ガイド治具であっても、補強部材を有することにより、堅牢なものとすることができ、また、この補強部材は背面を跨ぐように連結固定するので、ガイド用溝部分の妨げにはならない。
以上述べたように、本発明の鋼矢板の位置合わせ用ガイド治具によれば、締め付け固定して打設済みの鋼矢板に装着できるので、風があっても影響を受けず、また、ガイド用溝部分は打設しようとする鋼矢板の爪部を合わせやすいように開口を大きくしたので、使い勝手がよいものである。
以下、本発明の実施の形態について図面を参照しながら説明する。図1は本発明の鋼矢板の位置合わせ用ガイド治具の1実施形態を示す正面図、図2は同上側面図、図3は同上要部の平面図、図4は同上背面図で、鋼矢板としてはU形鋼矢板の場合に使用するものである。
先にU形鋼矢板について説明すると、図8に示すように、鋼矢板1は、ウエブ2aとフランジ2bからなるU形の板状部2の両端部に継手としての巻回部による爪部3を設けている。そして、図9に示すように、鋼矢板1をその幅方向側端部の継手の爪部3同士を繋ぎ合わせて、これら鋼矢板1をその幅方向に連ねて地中に打設する。
本発明の位置合わせ用ガイド治具5は、前記両端に爪部3を有する鋼矢板1とほぼ同一の断面形状で、かつ、上下に短い、板状部6を本体部としている。板状部6はウエブ6aとフランジ6bからなるU形のものである。なお、本実施形態では、ほぼ矩形のウエブ6aに対してフランジ6bは、前側は同じ高さで、後ろに行くに従い高さが高くなる台形状とした。
なお、位置合わせ用ガイド治具5は、鋼矢板1を切断することにより、容易にその基の材料を得ることができる。
この位置合わせ用ガイド治具5で、鋼矢板1の前記爪部3に相当するガイド用溝部分7は、巻回部による爪部3と全く同じ断面形状のものとせずに、その外周壁の上端角部を三角状または四角状の切り欠き8を設けて、開口9を大きくした。
さらに、詳細に説明すると、前記爪部3と同じ断面形状とすると、爪部3を形成するには、フランジ6bの一部である内側壁15と、弧状基部16と、外側壁17とからなるが、内側壁15と弧状基部16とはそのまま残し、外側壁17は上端から下方に向けて順次拡径する三角状または四角状のものとする。
また、位置合わせ用ガイド治具5の他端の部分は、図示は省略するが、爪部3と全く同じ断面形状のものとしてもよいし、また、弧状基部16を僅かに残した直線状のものとしてもよい。
さらに、位置合わせ用ガイド治具であり、既設の鋼矢板の上端にこれを延設するように載置した際に既設の鋼矢板の上端側面に添わせる係止片19,20を下方に向け突設した。これら係止片19,20は縦長の矩形片を溶接して爪状の突設したもので、係止片19はウエブ6aの裏側下端に、係止片20はフランジ6bの裏側下端に設ける。
なお、前記係止片19,20はこれを一体の帯状のものとしてもよく、また、前記特許文献1の取付部材11,12のように対向させて下方に突出するようにしたものでもよい。
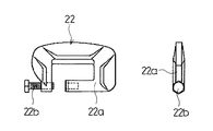
ウエブ6aの前記係止片19を設けた近傍に、締め付け金具挿入用の窓孔21を形成する。締め付け金具22としては種々のものが使用可能であるが、図7に示すようなチャンネル材ヤアングル材を山越えで接合する場合に使用される、“ブルマン”(ブルマン株式会社の登録商標)が好適であり、C字形またはU字形の本体22aにボルト22b(締付けボルト)を設けたクランプタイプのものである。
前記窓孔21は、本実施形態では、下方に抜ける切欠き穴として形成したが、閉鎖された穴でもよい。
位置合わせ用ガイド治具5はU形で、背面は凹面の解放面となっているが、この背面を跨ぐようにアングル材による補強部材23を左右のフランジ6bを連結固定するように溶接した。
次に、使用について説明する。まず、本発明の位置合わせ用ガイド治具5をセットするには、図5に示すように、打設済みの鋼矢板1の上にこれを延設するように載置する。その際、係止片19,20は打設済みの鋼矢板1の上端の裏側に当接する。
このように、係止片19が鋼矢板1のウエブ2aに当接し、係止片20が鋼矢板1のフランジ2bに当接して、矢板法線方向の規制と矢板法線直角方向の規制が得られる。
このように本発明の位置合わせ用ガイド治具5を打設済みの鋼矢板1の上に載置した上で、締め付け金具22により係止片19と打設済みの鋼矢板1を締付ける。その結果、発明の位置合わせ用ガイド治具5を打設済みの鋼矢板1に締付け固定される。
図6に示すように、打設しようとする鋼矢板1はその爪部3を位置合わせ用ガイド治具5のガイド用溝部分7に係合させ下降させれば、そのまま下方の打設済みの鋼矢板1の爪部3に係合させていくことができる。
以上の実施形態は本発明の位置合わせ用ガイド治具5をU形鋼矢板に使用する場合について説明したが、ハット形、直線形等他の形状の鋼矢板でも爪部による継手を有するものに対して、本発明は適用可能なものである。
本発明の鋼矢板の位置合わせ用ガイド治具の1実施形態を示す正面図である。 本発明の鋼矢板の位置合わせ用ガイド治具の1実施形態を示す側面図である。 本発明の鋼矢板の位置合わせ用ガイド治具の1実施形態を示す要部の平面図である。 本発明の鋼矢板の位置合わせ用ガイド治具の1実施形態を示す背面図である。 本発明の鋼矢板の位置合わせ用ガイド治具の使用状態を示す正面図である。 本発明の鋼矢板の位置合わせ用ガイド治具の使用状態を示す斜視図である。 本発明の鋼矢板の位置合わせ用ガイド治具で使用する締め付け金具の説明図である。 U形鋼矢板の1例を示す平面図である。 U形鋼矢板の連結状態を示す平面図である。 従来例を示す斜視図である。 従来例を示す横断平面図である。 従来例を示す正面図である。
1…鋼矢板 2…板状部
2a…ウエブ 2b…フランジ
3…爪部 4…弧状基部
5…位置合わせ用ガイド治具 6…板状部
6a…ウエブ 6b…フランジ
7…ガイド用溝部分 8…切り欠き
9…開口
10…板状体 11,12…取付部材
13…弧状案内片 14…窓孔
15…内側壁 16…弧状基部
17…外側壁 18…道枠
19,20…係止片
21…窓孔 22…締め付け金具
22a…本体 22b…ボルト
23…補強部材

Claims (2)

  1. 両端に爪部を有する鋼矢板とほぼ同一の断面形状で、前記爪部に相当するガイド用溝部分は、その外周壁の上端角部を切り欠いて開口を大きくした位置合わせ用ガイド治具であり、既設の鋼矢板の上端にこれを延設するように載置した際に既設の鋼矢板の上端側面に添わせる係止片を下方に向け突設し、かつ、この係止片の一つまたは一部を介して既設の鋼矢板と締め付け金具により締め付け固定するための、締め付け金具挿入用の窓孔を形成したことを特徴とする鋼矢板の位置合わせ用ガイド治具。
  2. 背面を跨ぐように補強部材を連結固定した請求項1記載の鋼矢板の位置合わせ用ガイド治具。
JP2013000888A 2013-01-08 2013-01-08 鋼矢板の位置合わせ用ガイド治具 Expired - Fee Related JP5969397B2 (ja)

Priority Applications (1)

Application Number Priority Date Filing Date Title
JP2013000888A JP5969397B2 (ja) 2013-01-08 2013-01-08 鋼矢板の位置合わせ用ガイド治具

Applications Claiming Priority (1)

Application Number Priority Date Filing Date Title
JP2013000888A JP5969397B2 (ja) 2013-01-08 2013-01-08 鋼矢板の位置合わせ用ガイド治具

Publications (2)

Publication Number Publication Date
JP2014133980A JP2014133980A (ja) 2014-07-24
JP5969397B2 true JP5969397B2 (ja) 2016-08-17

Family

ID=51412460

Family Applications (1)

Application Number Title Priority Date Filing Date
JP2013000888A Expired - Fee Related JP5969397B2 (ja) 2013-01-08 2013-01-08 鋼矢板の位置合わせ用ガイド治具

Country Status (1)

Country Link
JP (1) JP5969397B2 (ja)

Families Citing this family (5)

* Cited by examiner, † Cited by third party
Publication number Priority date Publication date Assignee Title
JP6432248B2 (ja) * 2014-09-29 2018-12-05 新日鐵住金株式会社 嵌合補助治具及び継手部の嵌合方法
CN109811762B (zh) * 2019-03-21 2024-03-01 中国水利水电建设工程咨询渤海有限公司 改进拉森钢板桩施工性能的引导组件
JP7385844B2 (ja) * 2020-01-22 2023-11-24 日本製鉄株式会社 鋼矢板壁の施工治具
CN114753368B (zh) * 2022-04-21 2023-06-09 中交第二航务工程局有限公司 超长锁扣钢管桩导向定位支架及其使用方法
CN118880873B (zh) * 2024-10-08 2024-12-20 桐乡市小老板特种塑料制品有限公司 一种对围堵板进行水下作业的施工设备及施工方法

Family Cites Families (3)

* Cited by examiner, † Cited by third party
Publication number Priority date Publication date Assignee Title
JPS54162804A (en) * 1978-06-15 1979-12-24 Minoru Kuroda Auxiliary tool for fitting pile and its pile fitting auxiliary method
JPS5941253Y2 (ja) * 1978-11-22 1984-11-27 清水建設株式会社 鋼矢板用ジヨイントガイド
JPH0523626Y2 (ja) * 1985-08-23 1993-06-16

Also Published As

Publication number Publication date
JP2014133980A (ja) 2014-07-24

Similar Documents

Publication Publication Date Title
JP5969397B2 (ja) 鋼矢板の位置合わせ用ガイド治具
US20220097957A1 (en) Secondary containment
JP5182251B2 (ja) 鋼矢板の継手構造および鋼矢板壁構造
JP2014020129A (ja) 鋼矢板及び鋼矢板壁体
KR20140062386A (ko) 시스템비계
JP2021195859A (ja) 親綱支柱
JP6431390B2 (ja) 堰堤
JP5305517B2 (ja) トラフ蓋の固定構造及び固定方法
JP5912481B2 (ja) 建築用取付具
KR200463894Y1 (ko) 이동식 펜스용 파이프 결속 클램프
KR20140023010A (ko) 플랜지형 파형강판
JP6601298B2 (ja) 縦継施工方法及び拘束部材
JP7102228B2 (ja) コンクリート矢板部材、土留め壁および土留め壁の構築方法
CN210134420U (zh) 一种用于栈桥钢管桩平联的复合式抱箍
JP2009162029A (ja) 擁壁
KR100878312B1 (ko) 산업용 클램프
KR102164342B1 (ko) 토류판 고정장치
JP2001234536A (ja) 矢板案内器
JP2017101394A (ja) 鋼矢板の継手部固定金具
JP6613523B2 (ja) 防食カバ−の取り付け構造
KR102057529B1 (ko) 토류판 고정장치
JP5580957B2 (ja) ボルト固定金物
KR200395190Y1 (ko) 펜스구조물 조립장치
JP4327176B2 (ja) 床下工事における基礎コンクリート補強金具
JP2006009384A (ja) 型枠コーナー部の角締め装置および角締め方法

Legal Events

Date Code Title Description
A621 Written request for application examination

Free format text: JAPANESE INTERMEDIATE CODE: A621

Effective date: 20151014

A977 Report on retrieval

Free format text: JAPANESE INTERMEDIATE CODE: A971007

Effective date: 20160608

TRDD Decision of grant or rejection written
A01 Written decision to grant a patent or to grant a registration (utility model)

Free format text: JAPANESE INTERMEDIATE CODE: A01

Effective date: 20160705

A61 First payment of annual fees (during grant procedure)

Free format text: JAPANESE INTERMEDIATE CODE: A61

Effective date: 20160707

R150 Certificate of patent or registration of utility model

Ref document number: 5969397

Country of ref document: JP

Free format text: JAPANESE INTERMEDIATE CODE: R150

LAPS Cancellation because of no payment of annual fees