JP5957535B2 - パラレルフロー型熱交換器及びこれを用いた空気調和気 - Google Patents

パラレルフロー型熱交換器及びこれを用いた空気調和気 Download PDF

Info

Publication number
JP5957535B2
JP5957535B2 JP2014544107A JP2014544107A JP5957535B2 JP 5957535 B2 JP5957535 B2 JP 5957535B2 JP 2014544107 A JP2014544107 A JP 2014544107A JP 2014544107 A JP2014544107 A JP 2014544107A JP 5957535 B2 JP5957535 B2 JP 5957535B2
Authority
JP
Japan
Prior art keywords
pipe
header
heat exchanger
tube
inflow
Prior art date
Legal status (The legal status is an assumption and is not a legal conclusion. Google has not performed a legal analysis and makes no representation as to the accuracy of the status listed.)
Expired - Fee Related
Application number
JP2014544107A
Other languages
English (en)
Other versions
JPWO2014068687A1 (ja
Inventor
一樹 吉村
一樹 吉村
淳 久保田
淳 久保田
英二 石井
英二 石井
Current Assignee (The listed assignees may be inaccurate. Google has not performed a legal analysis and makes no representation or warranty as to the accuracy of the list.)
Hitachi Ltd
Original Assignee
Hitachi Ltd
Priority date (The priority date is an assumption and is not a legal conclusion. Google has not performed a legal analysis and makes no representation as to the accuracy of the date listed.)
Filing date
Publication date
Application filed by Hitachi Ltd filed Critical Hitachi Ltd
Application granted granted Critical
Publication of JP5957535B2 publication Critical patent/JP5957535B2/ja
Publication of JPWO2014068687A1 publication Critical patent/JPWO2014068687A1/ja
Expired - Fee Related legal-status Critical Current
Anticipated expiration legal-status Critical

Links

Images

Classifications

    • FMECHANICAL ENGINEERING; LIGHTING; HEATING; WEAPONS; BLASTING
    • F28HEAT EXCHANGE IN GENERAL
    • F28DHEAT-EXCHANGE APPARATUS, NOT PROVIDED FOR IN ANOTHER SUBCLASS, IN WHICH THE HEAT-EXCHANGE MEDIA DO NOT COME INTO DIRECT CONTACT
    • F28D1/00Heat-exchange apparatus having stationary conduit assemblies for one heat-exchange medium only, the media being in contact with different sides of the conduit wall, in which the other heat-exchange medium is a large body of fluid, e.g. domestic or motor car radiators
    • F28D1/02Heat-exchange apparatus having stationary conduit assemblies for one heat-exchange medium only, the media being in contact with different sides of the conduit wall, in which the other heat-exchange medium is a large body of fluid, e.g. domestic or motor car radiators with heat-exchange conduits immersed in the body of fluid
    • F28D1/04Heat-exchange apparatus having stationary conduit assemblies for one heat-exchange medium only, the media being in contact with different sides of the conduit wall, in which the other heat-exchange medium is a large body of fluid, e.g. domestic or motor car radiators with heat-exchange conduits immersed in the body of fluid with tubular conduits
    • F28D1/053Heat-exchange apparatus having stationary conduit assemblies for one heat-exchange medium only, the media being in contact with different sides of the conduit wall, in which the other heat-exchange medium is a large body of fluid, e.g. domestic or motor car radiators with heat-exchange conduits immersed in the body of fluid with tubular conduits the conduits being straight
    • F28D1/0535Heat-exchange apparatus having stationary conduit assemblies for one heat-exchange medium only, the media being in contact with different sides of the conduit wall, in which the other heat-exchange medium is a large body of fluid, e.g. domestic or motor car radiators with heat-exchange conduits immersed in the body of fluid with tubular conduits the conduits being straight the conduits having a non-circular cross-section
    • F28D1/05366Assemblies of conduits connected to common headers, e.g. core type radiators
    • FMECHANICAL ENGINEERING; LIGHTING; HEATING; WEAPONS; BLASTING
    • F25REFRIGERATION OR COOLING; COMBINED HEATING AND REFRIGERATION SYSTEMS; HEAT PUMP SYSTEMS; MANUFACTURE OR STORAGE OF ICE; LIQUEFACTION SOLIDIFICATION OF GASES
    • F25BREFRIGERATION MACHINES, PLANTS OR SYSTEMS; COMBINED HEATING AND REFRIGERATION SYSTEMS; HEAT PUMP SYSTEMS
    • F25B39/00Evaporators; Condensers
    • F25B39/02Evaporators
    • F25B39/028Evaporators having distributing means
    • FMECHANICAL ENGINEERING; LIGHTING; HEATING; WEAPONS; BLASTING
    • F28HEAT EXCHANGE IN GENERAL
    • F28DHEAT-EXCHANGE APPARATUS, NOT PROVIDED FOR IN ANOTHER SUBCLASS, IN WHICH THE HEAT-EXCHANGE MEDIA DO NOT COME INTO DIRECT CONTACT
    • F28D1/00Heat-exchange apparatus having stationary conduit assemblies for one heat-exchange medium only, the media being in contact with different sides of the conduit wall, in which the other heat-exchange medium is a large body of fluid, e.g. domestic or motor car radiators
    • F28D1/02Heat-exchange apparatus having stationary conduit assemblies for one heat-exchange medium only, the media being in contact with different sides of the conduit wall, in which the other heat-exchange medium is a large body of fluid, e.g. domestic or motor car radiators with heat-exchange conduits immersed in the body of fluid
    • F28D1/04Heat-exchange apparatus having stationary conduit assemblies for one heat-exchange medium only, the media being in contact with different sides of the conduit wall, in which the other heat-exchange medium is a large body of fluid, e.g. domestic or motor car radiators with heat-exchange conduits immersed in the body of fluid with tubular conduits
    • F28D1/0408Multi-circuit heat exchangers, e.g. integrating different heat exchange sections in the same unit or heat exchangers for more than two fluids
    • F28D1/0417Multi-circuit heat exchangers, e.g. integrating different heat exchange sections in the same unit or heat exchangers for more than two fluids with particular circuits for the same heat exchange medium, e.g. with the heat exchange medium flowing through sections having different heat exchange capacities or for heating/cooling the heat exchange medium at different temperatures
    • FMECHANICAL ENGINEERING; LIGHTING; HEATING; WEAPONS; BLASTING
    • F28HEAT EXCHANGE IN GENERAL
    • F28FDETAILS OF HEAT-EXCHANGE AND HEAT-TRANSFER APPARATUS, OF GENERAL APPLICATION
    • F28F9/00Casings; Header boxes; Auxiliary supports for elements; Auxiliary members within casings
    • F28F9/02Header boxes; End plates
    • F28F9/0243Header boxes having a circular cross-section
    • FMECHANICAL ENGINEERING; LIGHTING; HEATING; WEAPONS; BLASTING
    • F28HEAT EXCHANGE IN GENERAL
    • F28FDETAILS OF HEAT-EXCHANGE AND HEAT-TRANSFER APPARATUS, OF GENERAL APPLICATION
    • F28F9/00Casings; Header boxes; Auxiliary supports for elements; Auxiliary members within casings
    • F28F9/02Header boxes; End plates
    • F28F9/026Header boxes; End plates with static flow control means, e.g. with means for uniformly distributing heat exchange media into conduits
    • F28F9/0265Header boxes; End plates with static flow control means, e.g. with means for uniformly distributing heat exchange media into conduits by using guiding means or impingement means inside the header box
    • FMECHANICAL ENGINEERING; LIGHTING; HEATING; WEAPONS; BLASTING
    • F28HEAT EXCHANGE IN GENERAL
    • F28FDETAILS OF HEAT-EXCHANGE AND HEAT-TRANSFER APPARATUS, OF GENERAL APPLICATION
    • F28F9/00Casings; Header boxes; Auxiliary supports for elements; Auxiliary members within casings
    • F28F9/02Header boxes; End plates
    • F28F9/026Header boxes; End plates with static flow control means, e.g. with means for uniformly distributing heat exchange media into conduits
    • F28F9/027Header boxes; End plates with static flow control means, e.g. with means for uniformly distributing heat exchange media into conduits in the form of distribution pipes
    • FMECHANICAL ENGINEERING; LIGHTING; HEATING; WEAPONS; BLASTING
    • F28HEAT EXCHANGE IN GENERAL
    • F28FDETAILS OF HEAT-EXCHANGE AND HEAT-TRANSFER APPARATUS, OF GENERAL APPLICATION
    • F28F9/00Casings; Header boxes; Auxiliary supports for elements; Auxiliary members within casings
    • F28F9/26Arrangements for connecting different sections of heat-exchange elements, e.g. of radiators
    • F28F9/262Arrangements for connecting different sections of heat-exchange elements, e.g. of radiators for radiators
    • FMECHANICAL ENGINEERING; LIGHTING; HEATING; WEAPONS; BLASTING
    • F28HEAT EXCHANGE IN GENERAL
    • F28DHEAT-EXCHANGE APPARATUS, NOT PROVIDED FOR IN ANOTHER SUBCLASS, IN WHICH THE HEAT-EXCHANGE MEDIA DO NOT COME INTO DIRECT CONTACT
    • F28D21/00Heat-exchange apparatus not covered by any of the groups F28D1/00 - F28D20/00
    • F28D2021/0019Other heat exchangers for particular applications; Heat exchange systems not otherwise provided for
    • F28D2021/0061Other heat exchangers for particular applications; Heat exchange systems not otherwise provided for for phase-change applications
    • F28D2021/0063Condensers
    • FMECHANICAL ENGINEERING; LIGHTING; HEATING; WEAPONS; BLASTING
    • F28HEAT EXCHANGE IN GENERAL
    • F28DHEAT-EXCHANGE APPARATUS, NOT PROVIDED FOR IN ANOTHER SUBCLASS, IN WHICH THE HEAT-EXCHANGE MEDIA DO NOT COME INTO DIRECT CONTACT
    • F28D21/00Heat-exchange apparatus not covered by any of the groups F28D1/00 - F28D20/00
    • F28D2021/0019Other heat exchangers for particular applications; Heat exchange systems not otherwise provided for
    • F28D2021/0061Other heat exchangers for particular applications; Heat exchange systems not otherwise provided for for phase-change applications
    • F28D2021/0064Vaporizers, e.g. evaporators

Landscapes

  • Engineering & Computer Science (AREA)
  • Physics & Mathematics (AREA)
  • Thermal Sciences (AREA)
  • Mechanical Engineering (AREA)
  • General Engineering & Computer Science (AREA)
  • Heat-Exchange Devices With Radiators And Conduit Assemblies (AREA)
  • Details Of Heat-Exchange And Heat-Transfer (AREA)

Description

本発明は、パラレルフロー型熱交換器及びこれを用いた空気調和気に関する。
二本のヘッダ管の間に複数の扁平管を備え、ヘッダ管と扁平管内の冷媒流動により熱交換を行うパラレルフロー型の熱交換器が、自動車のラジエータや冷房専用エアコン等に広く利用されている。
パラレルフロー型熱交換器で効率よく熱交換を行うためには、ヘッダ管内で各扁平管に冷媒を均等に分配する必要がある。しかしながら、特に冷媒が気液二相流の場合にはヘッダ管内部は複雑な流れ場となり、均等分配が難しい。例えば、ヘッダ管内に突き出した扁平管に流れが衝突することで圧力分布がばらつく。また、ヘッダ管内の流動形態が層状流の場合には冷媒気液界面の高さに変動が生じる。これらの現象によって、各扁平管への冷媒分配量が偏ってしまう。その結果、熱交換器の性能が低下する。
これに対して特許文献1では、「各伝熱管に均一に分流させ、冷媒が実際に蒸発する有効伝熱面積を増加させ、性能を向上させる」ために、「冷媒のヘッダー内速度を、上流側のヘッダーから下流側のヘッダーへ順次遅くし」、「ヘッダー内部に設けた螺旋溝の螺旋角度を上流側のヘッダーから下流側のヘッダーへ順次大きく」し、「ヘッダー内部に設けた螺旋溝の溝深さを上流側のヘッダーから下流側のヘッダーへ順次低くした」熱交換器を開示する。
しかしながら特許文献1に開示の熱交換器のヘッダ内部に設けられた螺旋溝では、冷媒が各伝熱管に均一に分流させるための旋回流が不十分な可能性がある。
特開平5−223490号公報
本発明においては、簡易な構造で、ヘッダ管内で旋回流を誘起させて、各扁平管に均等に冷媒を分配するパラレルフロー型熱交換器を提供することを課題とする。
本発明のパラレルフロー型熱交換器は、第1ヘッダ管及び第2ヘッダ管と、第1ヘッダ管及び第2ヘッダ管を接続する複数の扁平管と、第1ヘッダ管に接続され冷媒が流入する流入管と、第2ヘッダ管に接続され冷媒が流出する流出管と、を備え、流入管の中心軸が第1ヘッダ管の中心軸に対してオフセットするように流入管が配置される。
本発明によれば、簡易な構造で、ヘッダ管内で旋回流を誘起させて、各扁平管に均等に冷媒を分配するパラレルフロー型熱交換器を提供することができる。
従来のパラレルフロー型熱交換器を示す図。 実施例1におけるパラレルフロー型熱交換器を示す図。 実施例1における流入管による旋回誘起構造を示す図。 図1におけるヘッダ管内の冷媒流れ場を示す図。 実施例1におけるヘッダ管内の冷媒流れ場を示す図。 実施例2におけるパラレルフロー型熱交換器の三次元図。 実施例2における流入管とヘッダ管との接続関係を示す図。 実施例2における流入管とヘッダ管との接続関係を示す図。 実施例3におけるパラレルフロー型熱交換器を示す図。 実施例3におけるパラレルフロー型熱交換器を示す図。 実施例4におけるヘッダ管を示す図。 実施例4における旋回流ガイド板を示す図。 実施例5におけるパラレルフロー型熱交換器を示す図。 家庭用空気調和機の冷凍サイクル構成図。 再熱除湿方式を採用した場合の冷凍サイクルの構成図。
本実施例のパラレルフロー型熱交換器は、第1ヘッダ管及び第2ヘッダ管と、第1ヘッダ管及び第2ヘッダ管を接続する複数の扁平管と、第1ヘッダ管に接続され冷媒が流入する流入管と、第2ヘッダ管に接続され冷媒が流出する流出管と、を備え、流入管の中心軸が第1ヘッダ管の中心軸に対してオフセットするように流入管が配置される。本実施例によれば、簡易な構造で、ヘッダ管内でより強い旋回流を誘起させて、より均等に冷媒を各扁平管に分配するパラレルフロー型熱交換器を提供することができる。
以下、第1の実施例のパラレルフロー型熱交換器について図面を用いて説明する。まず、本実施例のパラレルフロー型熱交換器が適用される冷凍サイクルについて説明する。図14は家庭用空気調和機の冷凍サイクルの構成を示す図である。図14において、101は圧縮機、102は四方弁、103は電動弁等の絞り装置、104は室外熱交換器、106は室内熱交換器である。
空気調和機では、四方弁102を切替えることで室外熱交換器104を蒸発器、室内熱交換器106を凝縮器として使う冷房運転(実線矢印)と、室外熱交換器104を凝縮器、室内熱交換器106を蒸発器として使う暖房運転(破線矢印)を行うことができる。例えば、冷房運転では、圧縮機101で圧縮された高温高圧の冷媒は、四方弁102を通過して室外熱交換器104に流入し、空気との熱交換により放熱し凝縮する。そして、電動弁等の絞り装置103により等エンタルピ膨張した後、低温低圧でガスと液が混在した気液二相流となり室内熱交換器106へ流入する。室内熱交換器104では、冷媒管に取り付けられたフィンと冷媒管を通して、空気からの吸熱作用により冷媒は入口から出口にかけて液冷媒がガス冷媒に気化する。そして、室内熱交換器106を出た冷媒は圧縮機101へ戻り、サイクルを構成する。一般的に室外熱交換器104及び室外熱交換器106では、効率よく熱交換を行うために、一本の冷媒管から複数の冷媒管へ分岐させる配管構造が必要となる。
図15は、室内機の吹き出し温度を下げないようにした再熱除湿方式を採用した場合の冷凍サイクルの構成図を示す。絞り装置105を室内熱交換器107と108の間に設け、絞り装置105で冷媒を減圧することで、室内熱交換器108の部分を凝縮器、室内熱交換器107の部分を蒸発器として作用させて、室内熱交換器107及び室内熱交換器108の出口温度を混合する。
一般的な空気調和気では、室外熱交換器104や室内熱交換器106、107、108にはクロスフィンチューブ型の熱交換器が用いられる。しかしながら、熱交換器のさらなる低コスト化を目指して、自動車のラジエータや冷房専用エアコン等で用いられるパラレルフロー型の熱交換器を、凝縮機・蒸発機として使用することが求められている。そこで、パラレルフロー型熱交換器のヘッダ管から複数の扁平管へ冷媒を偏りなく分配することが課題となる。
図1は従来のパラレルフロー型熱交換器の構造を示す図である。パラレルフロー型熱交換器は、等間隔で配置された扁平管11の両端に冷媒が分岐・合流するヘッダ管21、22を有し、ヘッダ管21、22は冷媒の流入及び流出管31、32を有する。また、扁平管11の内部はさらに細い流路で分割されている。扁平管11の間には熱交換の効率を良くするためのフィン4が設置されている。例えば冷媒が流入管31から流入する場合、ヘッダ管21内で各扁平管11に分配される。そしてヘッダ管22で合流した後、流出管32から流出する。流入管が32、流出管が31となる場合も同様である。
図2は本実施例のパラレルフロー型熱交換器を示す図である。基本的な構成は図1と同様である。熱交換器は扁平管12、ヘッダ管21、22、ヘッダ管22の端面に設置された流出管32、ヘッダ管21の側面に設置された流入管33、扁平管12の間に設置されたフィン4で構成される。本実施例では、流入管33によって、ヘッダ管21内で旋回流を誘起させる構造について説明するが、ヘッダ管22でも同様の構造で旋回流を誘起することが可能である。ヘッダ管21と流入管33の位置、扁平管12の詳細については図3で説明する。
図3は図2のヘッダ管21と流入管33の位置関係を説明する図である。図3に示すように、ヘッダ管21の管側面に対し、流入管33の中心軸61とヘッダ管21の長手方向中心軸62が距離εオフセットするように流入管33を設置することで、ヘッダ管21内で冷媒の旋回流を誘起させる。後述するように、ヘッダ管21内で冷媒の旋回流を誘起させことにより、ヘッダ管21内の流入管近傍やヘッダ管21下方に液冷媒が偏ることなく、ヘッダ管21内上方(流入管端部)に液冷媒を分布させることができるので、扁平管12に均等に冷媒を分配することができる。また、ヘッダ管21内上方(流入管端部)にも液冷媒が分布するので、ヘッダ管21内下方まで流入管端部をヘッダ管21内深く挿入する必要が無いため、冷媒流動の圧力損失も低減することができる。また、例えば図3に示す扁平管12のように、ヘッダ管21に対する差し込み部分の面積が小さくなるように円弧形状(凹形状)とすることで、扁平管12の差し込み部分の抵抗による旋回力の減衰を低減することができる。扁平管12を円弧形状にすることに限らず、ヘッダ管21に対する扁平管12の差し込み長さを限りなく小さくすることでも同様の効果が得られる。例えば、扁平管12の端面は平面のままヘッダ管21内への差し込み長さを、ヘッダ管21と扁平管12が接合可能な加工限界まで短くする、また、扁平管12の端面に切り欠きを入れる等が挙げられる。
次に本実施例において、冷媒が気液二相流の場合の、図1の従来構造と図2の本実施例構造の気液冷媒流れ場についてそれぞれ説明する。図4は従来構造である図1のヘッダ管21内の流れ場を示す図である。図4において、熱交換器は扁平管11、ヘッダ管21、流入管31、気液冷媒5から構成され、フィンの図示は省略する。従来構造では、流入管から流入した冷媒が上部は気冷媒、下部は液冷媒となる層状流を形成し、ヘッダ管21内を流れる。流入管入口近傍では冷媒の流速が大きく、ヘッダ管21内に突き出された扁平管11に流れが衝突することで冷媒が撹拌される。よって流入管31近傍の扁平管11に冷媒が流入しやすく、分配量は多くなる。一方でヘッダ管21下流の壁端面では層状流として流れてきた液冷媒が壁端面によって跳ね返されるため流れがよどみ、液冷媒の界面が高くなる。このために壁端面付近の扁平管11にも冷媒は流入しやすい。またヘッダ管21の中央部に位置する扁平管11には、ヘッダ管21の両端と比較して界面が低いことから、扁平管11の端面(流入口)が液冷媒と接しにくいため、冷媒の流入量が相対的に少なくなる。以上のように、従来構造では扁平管11間で分配量のばらつきが生じてしまう。
図5は本実施例の構造であるである図2のヘッダ管21内流れ場を示す図である。図5において、熱交換器は扁平管12、ヘッダ管21、流入管33、気液冷媒5から構成され、フィンの図示は省略する。本実施例の構造では、ヘッダ管21内部で旋回流が誘起されるように流入管33を設置するため、液冷媒が気冷媒の旋回流に引っ張られ、ヘッダ管21の壁面全体を覆うように液冷媒が流れる。扁平管12はヘッダ管21内部への差し込み長さを短くするだけでなく、ヘッダ管21の円弧形状に沿うように端面形状とする。これにより扁平管は旋回流を妨げることがなく、ヘッダ管21内で均等な圧力分布となる。さらにヘッダ管21壁面に液膜を形成している液冷媒が扁平管12に流れ込みやすくなる。ただし、冷媒はヘッダ管21下流へ流れるに従い、旋回速度が減衰する。従って、ヘッダ管21全体で旋回流を維持できるように、ヘッダ管21の長さに応じて流入管33の管径を縮小して旋回力を調整することもできる。例えば、流入管33に管径が小さいパイプを用いる、管出口にテーパやオリフィスを設けて流出部に絞りをつける、等が挙げられる。
なお、本実施例では熱交換器の下側に設置されたヘッダ管に設けた流入管から流入し、熱交換器の上側に設置されたヘッダ管で合流後、流出管から流れ出る場合について説明したが、重力方向は限定されず、ヘッダ管の構造が上下逆の場合や、ヘッダ管の長手方向が重力方向となる場合も、冷媒の旋回によって分配のばらつき低減効果を得ることができる。
次に、第2の実施例について図面を用いて説明する。熱交換器の構成と旋回誘起構造については実施例1と同様であるため説明を省略する。本実施例においては、流入管の中心軸をヘッダ管の長手方向に傾斜させる。具体的には、ヘッダ管21への流入管挿入角度を、ヘッダ管21の下流側に向けてθ1傾ける。
図6は実施例2におけるパラレルフロー型熱交換器の三次元図である。図6において、熱交換器は扁平管12、ヘッダ管21、流入管34から構成され、フィンの図示は省略する。流入管34をヘッダ管21に設置する際に、流入管34をヘッダ管21に対して流入管34側にθ1傾けることで、流入管34の出口がヘッダ管21の下流側へ向くように構成する。このような構成により、ヘッダ管21内での冷媒流の長手方向速度がヘッダ管21の下流に向かって大きくなるので、相対的に旋回流の持続距離も大きくなり、特にヘッダ管21下流で冷媒の各扁平管12への分配ばらつきが改善される。
本構造の詳細を図7に示す。図7の熱交換器は、扁平管12、ヘッダ管21、流入管34、冷媒5、流入管34の中心軸61、ヘッダ管21の長手方向中心軸62から構成され、フィンの図示は省略する。図7に示すように、ヘッダ管21の側面垂直方向に対してθ1傾ける。
また、流入管の中心軸が扁平管の長手方向に傾斜するように構成することもできる。図8はヘッダ管21への流入管挿入角度を扁平管の流れ方向にθ2傾けた熱交換器の例である。図8の熱交換器は、扁平管12、ヘッダ管21、流入管34、冷媒5から構成され、これにより、気液冷媒がよりヘッダ管21の側壁面に沿った流れとなり、効率よく旋回流を誘起することができる。
以上にように、流入管34の設置角度θ1、θ2の調整によって旋回流をより効率的に作用させ、冷媒分配のばらつきを低減することができる。
次に、第3の実施例について図面を用いて説明する。熱交換器の構成と旋回誘起構造については実施例1と同様であるため説明を省略する。
図9はヘッダ管21への流入管34の挿入本数を複数にした場合の熱交換器の例である。図9の熱交換器は、扁平管12、ヘッダ管21、22、4本の流入管34、流出管32、フィン4から構成される。流入管34は上記各実施例で説明したように、ヘッダ管21内で旋回流を誘起する構造とする。本実施例では、ヘッダ管21に対して4本の流入管34が設置される。これにより、1か所の流入管からヘッダ管21へ冷媒が流入する場合と比べて、旋回の減衰による冷媒分配のばらつきを4か所に分散することができる。結果として各扁平管の冷媒分配のばらつきをさらに低減することができる。また、ヘッダ管21への流入箇所を複数とすることで、流入管1本当たりの冷媒流量低下に伴い旋回力が低下するが、これは流入管34の出口管径を小さくすることによって対応可能である。例えば、流入管34に管径が小さいパイプを用いる、管出口にテーパやオリフィスを設ける、等が挙げられる。図9では4か所に流入管34を設置するが、より多くの流入管34を用いることで、さらに冷媒分配のばらつきを低減することができる。また、流入管34の設置位置はヘッダ管21に対して等間隔とは限らず不等間隔に設置して各扁平管12への流入流量を調整することもできる。
ここで、 ヘッダ管21を複数の区画に分割し、これら複数の区画それぞれに、本実施例の流入管21を接続してもよい。図10は図9の熱交換器に対して、ヘッダ管21内部に隔壁7を設けた熱交換器の例である。流入管34の本数に応じてヘッダ管を隔壁7で区切ることで、ヘッダ管21内部で小部屋を形成し、各小部屋内で各扁平管12へ分配される冷媒量を各流入管34からの冷媒流入量に限定する。これにより、図9の構造よりもさらに各扁平管12への冷媒分配のばらつきを低減することが可能である。図10では4本の流入管34に対し、ヘッダ管21内に等間隔で隔壁7を設けることで、ヘッダ管21をさらに4つの小部屋に分割する。これにより各流入管34から流入した冷媒は各小部屋内ですべて分配されるため、扁平管12間に部屋をまたいで大きな分配のばらつきが生じることがない。また、隔壁7の設置位置はヘッダ管21に対して等間隔とは限らず不等間隔に設置して各扁平管12への流入流量を調整することもできる。
次に、第4の実施例について図面を用いて説明する。熱交換器の構成と旋回誘起構造については実施例1、2と同様であるため説明を省略する。本実施例においては、ヘッダ管21の内部に螺旋形状の旋回流ガイド板8を配置する。
図11は旋回流を維持するために旋回流ガイド板8を設けたヘッダ管を示す図である。上記各実施例において、さらに、ヘッダ管21内の側壁面に沿うように旋回流のガイドとなる旋回流ガイド板8を挿入する。図11の熱交換器は、扁平管12、ヘッダ管21、流入管34、旋回流ガイド板8から構成され、フィンの図示は省略する。図12は図11の旋回流ガイド板8の詳細構造図である。
本発明では上記各実施例と同様の構成とすることで、ヘッダ管21内部で旋回流を誘起する。しかしながら、ヘッダ管21の長手方向長さが長いほど、ヘッダ管21内を冷媒が下流へ流れるにつれて、ヘッダ管壁面と冷媒、又は、気冷媒と液冷媒の間で生じるせん断力によって旋回力が減衰し、冷媒分配のばらつき低減効果が低下する。そこで、本実施例においては、ヘッダ管21の内部に螺旋形状の旋回流ガイド板8を配置することにより、冷媒がヘッダ管21内壁を旋回するように誘導するため、旋回力の減少を抑制することができる。また、ヘッダ管21上流で旋回流ガイド板によって速度ベクトルの方向を矯正することにより、冷媒流入直後に強い旋回流によって冷媒が扁平管12へ直接流れ込む現象を抑制することができる。
図12は旋回流ガイド板の詳細構造である。本実施例おいては、図12に示すように、さらに、ヘッダ管21の上流側から下流側に向かって、旋回流ガイド板8の半径方向の板厚が増大するように構成する。つまり、螺旋形状の旋回流ガイド板8を、ヘッダ管上流から下流にかけての板の幅がt1<t2<t3と徐々に厚くなるように構成する。これにより、旋回力が減衰したヘッダ管21下流でもより強制的に冷媒流れの速度ベクトルの方向を旋回方向に矯正し、旋回流の効果をより長く持続させることができる。また、旋回流ガイド板8の厚さを均等に厚くして流れに強制力を与える場合に比べて、流れに応じて板の厚さを変更しているため、圧力損失も最適化することができる。これによって冷媒分配のばらつきをより抑えることが可能である。さらに実施例3で示した複数の流入管34設置や隔壁7設置との組み合わせも冷媒分配のばらつき低減に有効である。
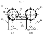
次に、第5の実施例について図面を用いて説明する。熱交換器の構成と旋回誘起構造については実施例1と同様であるため説明を省略する。図13は、熱交換器を前後二列に並べた場合のヘッダ管間に設置した流入管35による旋回誘起構造を示す図である。
本実施例の熱交換器では、ヘッダ管と扁平管、フィンからなる熱交換器を前後二列に繋げて配置しており、前列のヘッダ管から後列のヘッダ管へ冷媒が流入する際に、上記各実施例で示した旋回誘起構造を設ける(つまり、冷媒流れ下流側の熱交換器を上記各実施例のパラレルフロー型熱交換器で構成する。)。図13の熱交換器は、扁平管12、13、前列のヘッダ管22、後列のヘッダ管23、流入管(流出管)35、流入管35の中心軸61、ヘッダ管23の長手方向中心軸62から構成される。
本実施例においては、上記各実施例のパラレルフロー型熱交換器と、他のパラレルフロー型熱交換器(複数のヘッダ管22及びヘッダ管(図示せず)と、ヘッダ管22及びヘッダ管(図示せず)を接続する複数の扁平管12と、ヘッダ管(図示せず)に接続され冷媒が流入する流入管(図示せず)と、ヘッダ管22に接続され冷媒が流出する流出管35と、を有するパラレルフロー型熱交換器)と、が接続される。具体的には、他のパラレルフロー型熱交換器の流出管35が、上記各実施例のパラレルフロー型熱交換器の流入管35に接続され、他のパラレルフロー型熱交換器の流出管35から流出した冷媒が、上記各実施例のパラレルフロー型熱交換器の流入管35を介してヘッダ管23に流入する。
本実施例では熱交換器を二列に並べているため、例えば重力方向に対してヘッダ管を上下に分けて設置した場合、前列上部のヘッダ管から後列上部のヘッダ管へ冷媒が流れる際には、後列のヘッダ管内に液冷媒が滞留してしまい、各扁平管へ液冷媒が分配されにくくなる。そこで本発明では、図13に示すように、上記各実施例に記載の熱交換器を適用して、後列上部のヘッダ管23内で旋回流を誘起させることにより、各扁平管13に冷媒を均一に分配する。本実施例の冷媒流れ場とその効果について説明する。まず、前列に流入した冷媒5は各扁平管12に分配された後、扁平管12を流れ、ヘッダ管22で合流する。次に、冷媒5はヘッダ管22から流入管(流出管)35を介して後列の熱交換器に設置されたヘッダ管23へ流れる。その際、ヘッダ管23内での冷媒の層状流による圧力損失を低減するために、上記各実施例と同様に旋回流を誘起させる。気液冷媒が旋回流となっていることから、ヘッダ管23内では液冷媒が滞留しない。このため、ヘッダ管23内の圧力分布がより均一になり、扁平管13への冷媒分配ばらつきが改善される。扁平管13の端面形状がヘッダ管に沿っていること(扁平管13の端面形状が凹形状であること)から、冷媒の滞留をさらに抑制することができる。
11:従来の扁平管
12、13:端面形状を変更した扁平管
21、22、23:ヘッダ管
31、32:流入及び流出管
33、34、35:旋回誘起構造となる流入管及び流出管
4:フィン
5:気液冷媒
61:流入管の中心軸
62:ヘッダ管の長手方向の中心軸
7:ヘッダ管内部に設けた隔壁
8:螺旋形状をした旋回流ガイド板
101:圧縮機
102:四方弁
103、105:電動弁等の絞り装置
104:室外熱交換器
106、107、108:室内熱交換器

Claims (6)

  1. 第1ヘッダ管及び第2ヘッダ管と、前記第1ヘッダ管及び前記第2ヘッダ管を接続する複数の扁平管と、
    前記第1ヘッダ管に接続され、冷媒が流入する流入管と、
    前記第2ヘッダ管に接続され、冷媒が流出する流出管と、を備え、
    前記流入管の中心軸が前記第1ヘッダ管の中心軸に対してオフセットするように前記流入管が配置されるとともに、前記流入管の中心軸が前記ヘッダ管の長手方向に傾斜し、
    前記第1ヘッダ管及び前記第2ヘッダ管の中心軸が前記扁平管の中心軸と直交するように、前記第1ヘッダ管、前記扁平管、及び、前記第2ヘッダ管が重力方向下方から順次配置され、
    前記流入管から前記第1ヘッダ管に流入した冷媒は、前記第1ヘッダ管の中心軸を旋回中心として、前記第1ヘッダ管の中心軸に沿って前記第1ヘッダ内を下流側に向けて旋回し、
    前記第1ヘッダ管の内部に螺旋形状の旋回流ガイド板が配置され、
    前記第1ヘッダ管の上流側から下流側に向かって、前記旋回流ガイド板の半径方向の板厚が増大するパラレルフロー型熱交換器。
  2. 請求項1において、前記流入管の中心軸が前記扁平管の長手方向に傾斜するパラレルフロー型熱交換器。
  3. 請求項1又は2において、
    前記流入管は複数の流入管で構成され、
    前記ヘッダ管は複数の区画に分割され、
    複数の前記区画それぞれに前記流入管を接続するパラレルフロー型熱交換器。
  4. 請求項1乃至3の何れかにおいて、前記第1ヘッダ管に接続された前記扁平管の前記第1ヘッダ管の端面が凹形状に形成されたパラレルフロー型熱交換器。
  5. 請求項1乃至4の何れかに記載のパラレルフロー型熱交換器と、
    第3ヘッダ管及び第4ヘッダ管と、前記第3ヘッダ管及び前記第4ヘッダ管を接続する複数の第2扁平管と、前記第3ヘッダ管に接続され冷媒が流入する第2流入管と、前記第4ヘッダ管に接続され冷媒が流出する第2流出管と、を有する第2パラレルフロー型熱交換器と、を備え、
    前記第2流出管が前記流入管に接続され、
    前記第2流出管から流出した冷媒が、前記流入管を介して前記第1ヘッダ管に流入するパラレルフロー型熱交換器。
  6. 圧縮機、四方弁、室内熱交換器、膨張弁、及び、室内熱交換器を接続して構成するとともに、少なくとも前記室内熱交換器又は前記室外熱交換器の何れかを請求項1乃至5の何れかのパラレルフロー型熱交換器とした冷凍サイクル装置。
JP2014544107A 2012-10-31 2012-10-31 パラレルフロー型熱交換器及びこれを用いた空気調和気 Expired - Fee Related JP5957535B2 (ja)

Applications Claiming Priority (1)

Application Number Priority Date Filing Date Title
PCT/JP2012/078090 WO2014068687A1 (ja) 2012-10-31 2012-10-31 パラレルフロー型熱交換器及びこれを用いた空気調和気

Publications (2)

Publication Number Publication Date
JP5957535B2 true JP5957535B2 (ja) 2016-07-27
JPWO2014068687A1 JPWO2014068687A1 (ja) 2016-09-08

Family

ID=50626657

Family Applications (1)

Application Number Title Priority Date Filing Date
JP2014544107A Expired - Fee Related JP5957535B2 (ja) 2012-10-31 2012-10-31 パラレルフロー型熱交換器及びこれを用いた空気調和気

Country Status (2)

Country Link
JP (1) JP5957535B2 (ja)
WO (1) WO2014068687A1 (ja)

Cited By (1)

* Cited by examiner, † Cited by third party
Publication number Priority date Publication date Assignee Title
CN114938658A (zh) * 2020-01-23 2022-08-23 三菱电机株式会社 制冷循环装置的室外机

Families Citing this family (7)

* Cited by examiner, † Cited by third party
Publication number Priority date Publication date Assignee Title
JP2019095073A (ja) * 2016-03-10 2019-06-20 株式会社日立製作所 熱交換器及びこれを用いたヒートポンプ装置
US11555660B2 (en) * 2017-08-03 2023-01-17 Mitsubishi Electric Corporation Refrigerant distributor, heat exchanger, and refrigeration cycle apparatus
JP6922645B2 (ja) * 2017-10-20 2021-08-18 株式会社デンソー 熱交換器
JP7108177B2 (ja) * 2018-03-30 2022-07-28 ダイキン工業株式会社 熱交換器および空気調和装置
DE112020003756T5 (de) * 2019-08-08 2022-04-21 Denso Corporation Wärmetauscher
JP7596664B2 (ja) 2019-08-08 2024-12-10 株式会社デンソー 熱交換器
US20220090864A1 (en) * 2019-09-11 2022-03-24 Carrier Corporation Heat exchanger assembly

Family Cites Families (14)

* Cited by examiner, † Cited by third party
Publication number Priority date Publication date Assignee Title
JPS5246557A (en) * 1975-10-11 1977-04-13 Hitachi Ltd Hat exchanger
IT1138781B (it) * 1981-05-22 1986-09-17 Pirelli Terminale per pannelli solari e suo procedimento costruttivo
JPH073181Y2 (ja) * 1988-08-12 1995-01-30 カルソニック株式会社 マルチフロータイプの熱交換器
JPH04295599A (ja) * 1991-03-25 1992-10-20 Matsushita Refrig Co Ltd 熱交換器
JP2690234B2 (ja) * 1992-02-13 1997-12-10 松下電器産業株式会社 熱交換器
JP2002062062A (ja) * 2000-08-22 2002-02-28 Zexel Valeo Climate Control Corp 熱交換器
JP4176950B2 (ja) * 2000-11-02 2008-11-05 三菱電機株式会社 プレート熱交換器及びそれを備えた冷凍サイクルシステム
JP4296117B2 (ja) * 2004-03-31 2009-07-15 岩井機械工業株式会社 多管式熱交換器
US7806171B2 (en) * 2004-11-12 2010-10-05 Carrier Corporation Parallel flow evaporator with spiral inlet manifold
JP2006162339A (ja) * 2004-12-03 2006-06-22 Mitsubishi Heavy Ind Ltd 熱交換器及び原子炉
JP4889011B2 (ja) * 2006-07-20 2012-02-29 株式会社B.T.P. 冷暖房空調システム
JP5385588B2 (ja) * 2008-10-30 2014-01-08 シャープ株式会社 空気調和機の室外機
JP2011185549A (ja) * 2010-03-09 2011-09-22 Fuji Electric Co Ltd 熱交換器
JP2012163313A (ja) * 2011-01-21 2012-08-30 Daikin Industries Ltd 熱交換器および空気調和機

Cited By (3)

* Cited by examiner, † Cited by third party
Publication number Priority date Publication date Assignee Title
CN114938658A (zh) * 2020-01-23 2022-08-23 三菱电机株式会社 制冷循环装置的室外机
US12025355B2 (en) 2020-01-23 2024-07-02 Mitsubishi Electric Corporation Outdoor unit of refrigeration cycle apparatus
CN114938658B (zh) * 2020-01-23 2024-07-05 三菱电机株式会社 制冷循环装置的室外机

Also Published As

Publication number Publication date
WO2014068687A1 (ja) 2014-05-08
JPWO2014068687A1 (ja) 2016-09-08

Similar Documents

Publication Publication Date Title
JP5957535B2 (ja) パラレルフロー型熱交換器及びこれを用いた空気調和気
CN105229405B (zh) 层叠型联管箱、热交换器和空气调节装置
EP3217135B1 (en) Layered header, heat exchanger, and air-conditioning device
CN105283718B (zh) 空调装置
US10168083B2 (en) Refrigeration system and heat exchanger thereof
EP3051245B1 (en) Laminate-type header, heat exchanger, and air-conditioning apparatus
JP6371046B2 (ja) 空気調和機及び空気調和機用熱交換器
EP3062037B1 (en) Heat exchanger and refrigeration cycle device using said heat exchanger
JP5951475B2 (ja) 空気調和装置及びそれに用いられる室外熱交換器
JP2015017738A (ja) 熱交換器
EP2037186B1 (en) Air conditioning system
JP5627635B2 (ja) 空気調和機
WO2017135442A1 (ja) 熱交換器
WO2016121119A1 (ja) 熱交換器及び冷凍サイクル装置
JP5237244B2 (ja) 分配器及びこれを含む空調装置
JP5864030B1 (ja) 熱交換器、及び、この熱交換器を備えた冷凍サイクル装置
KR102169284B1 (ko) 열교환기 및 이를 갖는 공기조화기
JP6230852B2 (ja) 空気調和機及び空気調和機用熱交換器
JP6104357B2 (ja) 熱交換装置およびこれを備えた冷凍サイクル装置
CN106568187A (zh) 换热器和空调器
KR102076679B1 (ko) 열교환기 및 자연 냉매 순환식 공기 조화기
JP4874320B2 (ja) 熱交換器及びこの熱交換器を備えた空気調和機
WO2018098991A1 (zh) 蒸发器的管路、蒸发器及空调器
JP2024061466A (ja) 熱交換器及び空気調和機
JP7106814B2 (ja) 熱交換器

Legal Events

Date Code Title Description
TRDD Decision of grant or rejection written
A01 Written decision to grant a patent or to grant a registration (utility model)

Free format text: JAPANESE INTERMEDIATE CODE: A01

Effective date: 20160524

A61 First payment of annual fees (during grant procedure)

Free format text: JAPANESE INTERMEDIATE CODE: A61

Effective date: 20160620

R151 Written notification of patent or utility model registration

Ref document number: 5957535

Country of ref document: JP

Free format text: JAPANESE INTERMEDIATE CODE: R151

LAPS Cancellation because of no payment of annual fees