JP5939007B2 - 蓄電装置 - Google Patents

蓄電装置 Download PDF

Info

Publication number
JP5939007B2
JP5939007B2 JP2012092298A JP2012092298A JP5939007B2 JP 5939007 B2 JP5939007 B2 JP 5939007B2 JP 2012092298 A JP2012092298 A JP 2012092298A JP 2012092298 A JP2012092298 A JP 2012092298A JP 5939007 B2 JP5939007 B2 JP 5939007B2
Authority
JP
Japan
Prior art keywords
power storage
battery stack
housing member
storage elements
battery
Prior art date
Legal status (The legal status is an assumption and is not a legal conclusion. Google has not performed a legal analysis and makes no representation as to the accuracy of the status listed.)
Active
Application number
JP2012092298A
Other languages
English (en)
Other versions
JP2013222554A (ja
Inventor
大介 上木原
大介 上木原
泰博 関谷
泰博 関谷
久人 井上
久人 井上
起 小柳
起 小柳
Current Assignee (The listed assignees may be inaccurate. Google has not performed a legal analysis and makes no representation or warranty as to the accuracy of the list.)
Toyota Motor Corp
Original Assignee
Toyota Motor Corp
Priority date (The priority date is an assumption and is not a legal conclusion. Google has not performed a legal analysis and makes no representation as to the accuracy of the date listed.)
Filing date
Publication date
Application filed by Toyota Motor Corp filed Critical Toyota Motor Corp
Priority to JP2012092298A priority Critical patent/JP5939007B2/ja
Publication of JP2013222554A publication Critical patent/JP2013222554A/ja
Application granted granted Critical
Publication of JP5939007B2 publication Critical patent/JP5939007B2/ja
Active legal-status Critical Current
Anticipated expiration legal-status Critical

Links

Images

Classifications

    • YGENERAL TAGGING OF NEW TECHNOLOGICAL DEVELOPMENTS; GENERAL TAGGING OF CROSS-SECTIONAL TECHNOLOGIES SPANNING OVER SEVERAL SECTIONS OF THE IPC; TECHNICAL SUBJECTS COVERED BY FORMER USPC CROSS-REFERENCE ART COLLECTIONS [XRACs] AND DIGESTS
    • Y02TECHNOLOGIES OR APPLICATIONS FOR MITIGATION OR ADAPTATION AGAINST CLIMATE CHANGE
    • Y02EREDUCTION OF GREENHOUSE GAS [GHG] EMISSIONS, RELATED TO ENERGY GENERATION, TRANSMISSION OR DISTRIBUTION
    • Y02E60/00Enabling technologies; Technologies with a potential or indirect contribution to GHG emissions mitigation
    • Y02E60/10Energy storage using batteries

Landscapes

  • Battery Mounting, Suspending (AREA)

Description

本発明は、複数の蓄電素子が一方向に並んで配置された蓄電装置に関するものである。
複数の単電池(いわゆる角型の単電池)を一方向に並べることにより、組電池を構成しているものがある。複数の単電池は、一対のエンドプレートによって挟まれており、一対のエンドプレートには、複数の単電池の配列方向に延びる拘束バンドが固定されている。エンドプレートおよび拘束バンドを用いることにより、複数の単電池に対して拘束荷重を与えることができる。
特開2010−244876号公報 特開2001−068081号公報 特開2001−313018号公報 特開2003−036830号公報 特開2004−227788号公報 特開2010−040295号公報
エンドプレートおよび拘束バンドを用いて、複数の単電池を拘束するときには、複数の単電池の配列方向における組電池の中央部分が変位しやすいことがある。具体的には、エンドプレートを固定することによって、組電池を固定する場合には、エンドプレートから離れた単電池ほど、振動などの影響を受けて変位しやすくなることがある。組電池の一部が変位しやすい場合には、変位しやすい部分を固定すれば良いが、組電池を固定する構造によっては、組電池が大型化してしまい、組電池を搭載し難くなってしまう。
本発明である蓄電装置は、複数の蓄電素子および拘束機構を有する。複数の蓄電素子は、所定方向に並んで配置されており、拘束機構は、所定方向において複数の蓄電素子を挟んでおり、複数の蓄電素子に拘束荷重を与える。また、蓄電装置は、複数の蓄電素子の位置決めに用いられる締結部材と、複数の蓄電素子の充放電制御に用いられる機器とを収容する収容部材を有する。収容部材は、所定方向で隣り合う2つの蓄電素子の間に配置されており、これらの蓄電素子の間に、締結部材が配置されている。締結部材は、複数の蓄電素子および拘束機構を収容するためのケースに対して収容部材を固定する。
本発明によれば、複数の蓄電素子の間に配置される収容部材に締結部材を収容し、この締結部材を用いて、蓄電装置を位置決めしているため、蓄電装置が振動などを受けたときに、蓄電装置の一部が変位しやすくなるのを抑制することができる。すなわち、蓄電装置のうち、変位しやすい位置に、締結部材を収容した収容部材を配置することにより、蓄電装置の変位を抑制することができる。また、締結部材は、収容部材に収容されているため、締結部材が蓄電装置の外面に突出した状態で配置されることもない。締結部材が蓄電装置の外面に突出していなければ、締結部材との干渉を考慮することもなく、蓄電装置を搭載しやすくなる。
収容部材は、所定方向における複数の蓄電素子の中央部に配置することができる。言い換えれば、所定方向における蓄電装置の中央部に、収容部材を配置することができる。所定方向に並べられた複数の蓄電素子に拘束荷重を与えた構造では、所定方向における蓄電装置の中央部が振動などによって変位しやすくなる。このため、締結部材を収容する収容部材を、上述した中央部に配置することにより、蓄電装置の変位を抑制しやすくなる。
拘束機構は、一対のエンドプレートと、連結部材と、ブラケットとで構成することができる。一対のエンドプレートは、所定方向において、複数の蓄電素子を挟む位置に配置することができる。連結部材は、所定方向に延びており、連結部材の長手方向における両端部を一対のエンドプレートにそれぞれ連結することができる。これにより、一対のエンドプレートによって挟まれた複数の蓄電素子に対して拘束荷重を与えることができる。
ここで、各エンドプレートには、締結部材によって位置決めされるブラケットを固定することができる。これにより、ブラケットを位置決めする締結部材と、収容部材に収容された締結部材とを用いて、蓄電装置を位置決めすることができる。一方、エンドプレートの位置決めに用いられる締結部材を、エンドプレートに収容することができる。ここで、一対のエンドプレートのうち、少なくとも一方のエンドプレートに締結部材を収容することができる。これにより、エンドプレートに収容された締結部材と、収容部材に収容された締結部材とを用いて、蓄電装置を位置決めすることができる。
ンドプレートに締結部材を収容するときには、このエンドプレートに、複数の蓄電素子の充放電制御で用いられる機器を収容することができる。このように、収容部材やエンドプレートに、上述した機器を収容することにより、外力が機器に作用しにくくすることができ、機器を保護することができる。収容部材やエンドプレートに、締結部材や機器を収容するときには、収容部材やエンドプレートに、締結部材などを収容するための穴部を形成したり、締結部材などを、収容部材やエンドプレートに埋めたりすることができる。
上述した機器としては、電流遮断器や基板を用いることができる。電流遮断器は、蓄電素子と電気的に接続され、蓄電素子に流れる電流を遮断する。電流遮断器としては、例えば、ヒューズやPTC(Positive Temperature Coefficient)素子を用いることができる。基板は、蓄電素子の温度又は電圧を取得するために用いられる。基板と接続された検出線を、蓄電素子の正極端子および負極端子に接続すれば、蓄電素子の端子間電圧を取得することができる。また、検出線を介して、基板および温度センサを接続すれば、温度センサを用いて、蓄電装置(蓄電素子)の温度を取得することができる。
実施例1である電池スタックの外観図である。 実施例1である電池スタックの側面図である。 実施例1である電池スタックの上面図である。 実施例1における収容部材の斜視図である。 図4のY1−Y1断面図である。 収容部材に拘束荷重を与える前の状態と、拘束荷重を与えた後の状態を示す図である。 振動に伴う変位量を説明する図である。 3つの電池スタックの配置例を示す図である。 実施例2である電池スタックの側面図である。 実施例3である電池スタックの側面図である。 実施例3における収容部材の構成を示す図である。
以下、本発明の実施例について説明する。
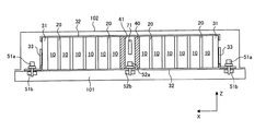
本発明の実施例1である電池スタック(蓄電装置に相当する)について説明する。図1は、本実施例の電池スタックの外観図である。図1において、X軸、Y軸およびZ軸は、互いに直交する軸であり、本実施例では、鉛直方向に相当する軸をZ軸としている。X軸、Y軸およびZ軸の関係は、他の図面においても、図1と同様である。
図1に示す電池スタック1は、例えば、車両に搭載することができる。電池スタック1から出力された電気エネルギをモータ・ジェネレータによって運動エネルギに変換することにより、この運動エネルギを用いて車両を走行させることができる。また、車両の制動時に発生する運動エネルギをモータ・ジェネレータによって電気エネルギに変換することにより、この電気エネルギを電池スタック1に蓄えることができる。
電池スタック1は、X方向(所定方向に相当する)に並んで配置された複数の単電池(蓄電素子に相当する)10を有する。単電池10は、いわゆる角型の単電池であり、単電池10の外形は、直方体に沿って形成されている。単電池10としては、ニッケル水素電池やリチウムイオン電池といった二次電池を用いることができる。また、二次電池の代わりに、電気二重層キャパシタ(コンデンサ)を用いることができる。電池スタック1を構成する単電池10の数は、電池スタック1の要求出力等に基づいて適宜設定することができる。
本実施例では、複数の単電池10をX方向に並べているが、これに限るものではない。具体的には、複数の単電池によって1つの電池モジュールを構成し、複数の電池モジュールをX方向に並べて配置することによって、電池スタック1を構成することができる。ここで、各電池モジュールを構成する複数の単電池は、Y方向に並べて配置することができる。この場合には、電池モジュールが、本発明の蓄電素子に相当する。
X方向に並べられた複数の単電池10は、バスバー(図示せず)によって、電気的に直列に接続されている。本実施例では、すべての単電池10が電気的に直列に接続されているが、電池スタック1には、電気的に並列に接続された複数の単電池10が含まれていてもよい。すなわち、バスバーの形状を適宜設定することにより、複数の単電池10を電気的に直列に接続したり、電気的に並列に接続したりすることができる。
バスバーは、導電性を有する部材である。X方向で隣り合う2つの単電池10において、バスバーは、一方の単電池10の正極端子11と、他方の単電池10の負極端子12とに接続される。電池スタック1を構成する複数の単電池10は、複数のバスバーを用いて電気的に接続することができ、複数のバスバーは、バスバーモジュールとして構成することができる。バスバーモジュールは、複数のバスバーと、複数のバスバーを保持する保持プレートとで構成することができる。保持プレートは、樹脂などの絶縁材料で形成することができる。
正極端子11および負極端子12は、各単電池10の上面に設けられている。なお、正極端子11および負極端子12は、単電池10の内部に収容された発電要素と電気的に接続されている。発電要素は、充放電を行う要素である。具体的には、正極板と、負極板と、正極板および負極板の間に配置されるセパレータとによって、発電要素を構成することができる。正極板は、正極集電板と、正極集電板の表面に形成された正極活物質層とで構成することができ、負極板は、負極集電板と、負極集電板の表面に形成された負極活物質層とで構成することができる。正極端子11は、発電要素の正極板と電気的に接続され、負極端子12は、発電要素の負極板と電気的に接続される。
本実施例では、単電池10の上面に正極端子11および負極端子12を設けているが、正極端子11および負極端子12を設ける位置は、適宜設定することができる。例えば、Y方向における単電池10の両端面(両側面)において、正極端子11および負極端子12を設けることができる。
X方向で隣り合う2つの単電池10の間には、仕切り板20が配置されており、仕切り板20は、例えば、樹脂などの絶縁材料で形成することができる。仕切り板20を絶縁材料で形成することにより、X方向において仕切り板20を挟む2つの単電池10を絶縁状態とすることができる。また、仕切り板20には、X方向(単電池10の側)に突出する突起部を設けることができる。突起部の先端が、単電池10と接触することにより、仕切り板20および単電池10の間にスペースを形成することができる。
仕切り板20および単電池10の間に形成されたスペースは、単電池10の温度調節に用いられる熱交換媒体の移動経路として用いることができる。すなわち、単電池10および仕切り板20の間に形成されたスペースに熱交換媒体を導くことにより、熱交換媒体および単電池10の間で熱交換を行わせ、単電池10の温度を調節することができる。例えば、単電池10が、充放電などによって発熱したときには、冷却用の熱交換媒体を単電池10に接触させることにより、単電池10の温度上昇を抑制することができる。また、単電池10が過度に冷却したときには、加温用の熱交換媒体を単電池10に接触させることにより、単電池10の温度低下を抑制することができる。
このように、単電池10の温度を所定の温度範囲内に維持することにより、単電池10の入出力特性が劣化してしまうのを抑制することができる。なお、熱交換媒体としては、気体や液体を用いることができる。電池スタック1を車両に搭載したときには、車室内の空気を熱交換媒体として用いることができる。車室とは、乗員の乗車するスペースである。一方、熱交換媒体を単電池10に供給する構造は、様々な技術が提案されており、これらの技術を適宜選択することができる。
X方向における電池スタック1の両端には、一対のエンドプレート(拘束機構の一部)31が配置されている。拘束バンド(連結部材、拘束機構の一部)32は、X方向に延びており、X方向(長手方向)における拘束バンド32の両端は、一対のエンドプレート31に固定されている。本実施例では、電池スタック1の上面に、2つの拘束バンド32が配置されているとともに、電池スタック1の底面に、2つの拘束バンド32が配置されている。
なお、拘束バンド32およびエンドプレート31の固定方法は、適宜選択することができ、例えば、ボルト又はリベットを用いて、拘束バンド32およびエンドプレート31を固定することができる。また、拘束バンド32は、一対のエンドプレート31に固定されていればよく、拘束バンド32の形状は、適宜設定することができる。また、拘束バンド32を配置する位置や、拘束バンド32の数も適宜設定することができる。例えば、Y方向における電池スタック1の両端面(両側面)に対して、拘束バンド32を配置することができる。
拘束バンド32の両端を一対のエンドプレート31に固定することにより、一対のエンドプレート31によって挟まれた複数の単電池10に対して拘束荷重を与えることができる。拘束荷重は、X方向において、単電池10を挟む力である。単電池10に拘束荷重を与えることにより、単電池10の膨張等を抑制することができ、単電池10の膨張や収縮などによって、単電池10の入出力特性が劣化してしまうのを抑制することができる。
なお、本実施例では、エンドプレート31および拘束バンド32を用いて、複数の単電池10に拘束荷重を与えているが、これに限るものではない。すなわち、X方向において単電池10を挟む力を発生させることができる構造であればよい。例えば、拘束バンド32を省略し、一対のエンドプレート31を互いに近づかせる方向に押す力を各エンドプレート31に与える構造を採用することができる。
各エンドプレート31のうち、単電池10と対向する面とは反対側の面には、ブラケット33が固定されている。ブラケット33は、エンドプレート31(言い換えれば、電池スタック1)を位置決めするために用いられる。電池スタック1をX方向から見たときに、ブラケット33は、エンドプレート31の外形によって規定される領域内に収まるように配置されている。すなわち、ブラケット33は、Y−Z平面内において、エンドプレート31の外縁から突出していない。本実施例では、エンドプレート31およびブラケット33を、別々の部材で構成しているが、エンドプレート31およびブラケット33を一体的に構成することもできる。
ブラケット33は、開口部33aを有しており、開口部33aには、図2に示すボルト51aが貫通している。図2に示すように、電池スタック1は、ボルト(締結部材に相当する)51a,52aによって、ロアーケース101に固定される。ボルト51aは、X方向における電池スタック1の両端に配置されており、ボルト52aは、X方向における電池スタック1の中央部に配置されている。すなわち、本実施例では、X方向における3箇所において、電池スタック1をロアーケース101に固定している。
ロアーケース101を貫通したボルト51a,52aは、ナット51b,52bと噛み合うことにより、電池スタック1をロアーケース101に固定することができる。なお、ボルト51a,52aおよびナット51b,52bを用いた固定構造は、図2に示す構造に限るものではない。すなわち、ボルト51a,52aおよびナット51b,52bの位置関係を、図2に示す位置関係と逆にすることができる。例えば、ロアーケース101の側にボルト51aを配置し、ブラケット33の側にナット51bを配置することができる。
ロアーケース101に固定された電池スタック1は、アッパーケース102によって覆われる。すなわち、ロアーケース101およびアッパーケース102によって囲まれたスペースに、電池スタック1が収容される。電池スタック1をロアーケース101およびアッパーケース102によって覆うことにより、電池スタック1を保護することができる。電池スタック1を車両に搭載するときには、ロアーケース101を車両ボディに固定することができる。
図1から図3に示すように、X方向における電池スタック1の中央部には、収容部材40が配置されている。収容部材40は、ボルト52aおよびヒューズ60を収容するために用いられる。ここで、収容部材40には、ボルト52aおよびヒューズ60を収容するための穴部41が形成されており、ボルト52aは、穴部41の下部に配置され、ヒューズ60は、穴部41の上部に配置されている。収容部材40は、仕切り板20と同様に、樹脂などの絶縁材料によって形成することができる。
収容部材40は、X方向で隣り合う2つの単電池10の間に配置されているため、収容部材40に収容されるボルト52aやヒューズ60は、X方向で隣り合う2つの単電池10の間に挟まれる。本実施例では、収容部材40に1つのボルト52aを収容しているが、収容部材40に収容されるボルト52aの数は、適宜設定することができる。すなわち、収容部材40に収容できる限り、ボルト52aの数を増やすことができる。
また、複数のボルト52aを用いるときにおいて、ボルト52aを配置する位置は、適宜設定することができる。すなわち、複数のボルト52aを用いて、収容部材40(言い換えれば、電池スタック1)を位置決めすることができればよい。例えば、複数のボルト52aを、Y方向に並べて配置することができる。
本実施例の電池スタック1(収容部材40)では、Y方向におけるスペースを確保しやすいため、複数のボルト52aをY方向に並べることにより、収容部材40がX方向に大型化してしまうのを抑制することができる。すなわち、複数のボルト52aをX方向に並べてしまうと、収容部材40がX方向において大型化してしまう。X方向における収容部材40の大型化を抑制することにより、電池スタック1がX方向で大型化してしまうのを抑制することができる。
収容部材40に収容されるヒューズ60は、単電池10と電気的に接続されており、電池スタック1に流れる電流を遮断するために用いられる。例えば、電池スタック1に過大な電流が流れたときには、ヒューズ60が溶断することにより、電池スタック1の電流経路を遮断して、電池スタック1の充放電を行わせないようにすることができる。
本実施例では、ヒューズ60を用いているが、ヒューズ60以外の電流遮断器を用いることができる。例えば、ヒューズ60の代わりに、PTC(Positive Temperature Coefficient)素子を用いることができる。PTC素子は、温度の上昇に応じて抵抗を増加させることができ、抵抗の増加によって、電池スタック1に流れる電流を遮断することができる。
次に、収容部材40の構造について、図4および図5を用いて説明する。図4は、収容部材40の外観図であり、図5は、図4のY1−Y1断面図である。
収容部材40は、上述したように、穴部41を有している。ここで、穴部41は、ヒューズ60を収容するための第1領域41aと、ボルト52aを収容するための第2領域41bとを有する。第1領域41aは、ヒューズ60の外形に沿って形成されており、第2領域41bは、ボルト52aの外形に沿って形成されている。第1領域41aや第2領域41bは、ヒューズ60やボルト52aを収容できれば良く、第1領域41aや第2領域41bの形状は、適宜設定することができる。第1領域41aおよび第2領域41bは、互いに繋がっており、ボルト52aは、第1領域41aを介して、第2領域41bに収容することができる。
本実施例では、エンドプレート31および拘束バンド32を用いて、一対のエンドプレート31によって挟まれた単電池10や仕切り板20に拘束荷重を与えている。収容部材40は、X方向で隣り合う2つの単電池10の間に位置しているため、収容部材40にも拘束荷重が加わる。ここで、収容部材40には、穴部41が形成されているため、拘束荷重を受けた収容部材40は、穴部41の内側に向かって変形してしまうおそれがある。すなわち、収容部材40の変形によって、穴部41によって形成されるスペースが減少してしまうおそれがある。
そこで、拘束荷重を受ける前の収容部材40を、図6に示す形状に形成することができる。拘束荷重を受ける前の状態において、収容部材40は、X方向の外側に向かって凸となるように形成されている。言い換えれば、収容部材40の穴部41は、X方向に広がっている。この収容部材40にX方向の拘束荷重を与えると、収容部材40のうち、外側に凸となる部分が変形し、図6に示す拘束後の状態となる。収容部材40に拘束荷重を与えた状態では、収容部材40に反力を発生させることができ、穴部41が、必要以上につぶれてしまうのを抑制することができる。すなわち、収容部材40が拘束荷重を受けて変形した後であっても、穴部41において、ボルト52aやヒューズ60を配置するスペースを確保することができる。
このように穴部41の内側において、ボルト52aやヒューズ60を配置するスペースを確保することにより、穴部41に収容されるヒューズ60やボルト52aに拘束荷重が加わるのを抑制することができる。すなわち、拘束荷重によって、ヒューズ60やボルト52aに過度の負荷がかかるのを抑制することができる。
また、収容部材40にヒューズ60を収容しておくことにより、ヒューズ60に外力が作用しにくくすることができる。電池スタック1にヒューズ60を取り付けるとき、電池スタック1の外面にヒューズ60が配置されると、ヒューズ60に外力が作用しやすくなってしまう。本実施例では、収容部材40によってヒューズ60を保護することができ、ヒューズ60に外力が加わるのを抑制することができる。
本実施例では、X方向における電池スタック1の中央部に収容部材40を配置しており、収容部材40に収容されたボルト52aと、X方向における電池スタック1の両端に配置されたボルト51aとを用いて、電池スタック1を位置決めしている。これにより、電池スタック1に振動などが加わったときに、電池スタック1に発生する変位量を低減することができる。
X方向における電池スタック1の両端だけを、ボルト51aを用いて位置決めした場合には、図7に示すように、X方向における電池スタック1の中央部が、変位量D1で変位することがある。図7は、電池スタック1に振動などが加わったときに、電池スタック1で発生する変位量を示している。図7の左右方向は、X方向に相当し、図7の上下方向は、Z方向又はY方向に相当する。
X方向における電池スタック1の両端は、ボルト51aによって位置決めされているため、電池スタック1に振動などが加わっても、変位しにくい。一方、ボルト51aが設けられた位置から離れた位置ほど、振動などに伴う変位量が増加する。言い換えれば、ボルト51aによって位置決めされる位置の間隔(X方向の長さ)が広がるほど、振動などに伴う変位量D1が増加する。
本実施例では、X方向における電池スタック1の中央部も、ボルト52aを用いて位置決めしている。このため、電池スタック1において、ボルト51a,52aによって位置決めされる箇所を増やすことができ、位置決めされる箇所の間隔を狭めることができる。ここで、電池スタック1に振動などが加わったときに、電池スタック1で発生する変位量(最大値)はD2であり、変位量D2は、変位量D1よりも小さくなる。このように、本実施例によれば、振動などによって電池スタック1に発生する変位量を低減でき、電池スタック1に撓みや変形が発生するのを抑制することができる。
ここで、電池スタック1に発生する変位量を低減する構造として、例えば、Y方向における収容部材40の側面(端面)に、ボルト52aを締結する部分を設けることが考えられる。このような構造であっても、電池スタック1に発生する変位量を低減することができ、電池スタック1に撓みや変形が発生するのを抑制することができる。
しかし、Y方向における収容部材40の側面(端面)に、ボルト52aを締結する部分を設けると、ボルト52aを締結する部分が、Y方向における電池スタック1の側面(端面)から突出することになる。このようにボルト52aを締結する部分がY方向に突出してしまうと、電池スタック1の搭載スペースが広がってしまったり、電池スタック1を搭載しにくくなってしまったりすることがある。
例えば、図8に示すように、複数の電池スタック1をY方向に並べて配置するときに、複数の電池スタック1の搭載スペースが広がってしまう。具体的には、ボルト52aを締結する部分がY方向に突出していると、ボルト52aを締結する部分が干渉するのを避けるために、Y方向で隣り合う2つの電池スタック1の間隔L(図8参照)を広げる必要がある。
一方、本実施例では、収容部材40にボルト52aを収容しており、ボルト52aを締結する部分が、電池スタック1の側面からY方向に突出することもない。このため、複数の電池スタック1をY方向に並べて配置するときに、Y方向で隣り合う2つの電池スタック1の間隔Lを狭めることができ、複数の電池スタック1の搭載スペースが広がってしまうのを抑制することができる。
例えば、複数の電池スタック1を車両に搭載するとき、車両では、電池スタック1を搭載するためのスペースが限られているため、複数の電池スタック1を車両に搭載しにくいことがある。特に、電気自動車では、車両の走行距離を確保するために、複数の電池スタック1を搭載することがあるため、電池スタック1の数が増えるほど、複数の電池スタック1を車両に搭載しにくくなってしまう。本実施例では、Y方向で隣り合う2つの電池スタック1を近づけて配置することができるため、車両に設けられた限りあるスペースを用いて、複数の電池スタック1を搭載することができる。
一方、1つの電池スタック1だけを搭載する場合であっても、ボルト52aを締結する部分が、電池スタック1の側面からY方向に突出していると、電池スタック1が搭載される場所との干渉によって、電池スタック1を搭載し難くなってしまうこともある。本実施例では、電池スタック1の内側にボルト52aを収容しているため、電池スタック1が搭載される場所との干渉を避けることができ、電池スタック1を搭載しやすくすることができる。
複数の単電池10をX方向に並べて電池スタック1を構成するとき、一対のエンドプレート31の間隔(X方向の間隔)は、各単電池10の製造バラツキなどに応じて変化する。すなわち、一対のエンドプレート31の間隔には、公差が発生する。このため、ブラケット33を締結するためには、電池スタック1の公差を考慮して、ブラケット33に形成される開口部33aを長穴とする必要がある。具体的には、開口部33aを、X方向に延びる長穴とする必要がある。
ボルト52aを省略した構造、言い換えれば、X方向における電池スタック1の両端だけを、ボルト51aを用いて固定する構造では、電池スタック1の公差が大きくなりやすい。すなわち、X方向における電池スタック1の両端だけに固定箇所を設けると、2つの固定箇所の間に位置する単電池10の数が増加することに応じて、電池スタック1の公差が大きくなってしまう。電池スタック1の公差が大きくなれば、ブラケット33に形成される開口部(長穴)33aも公差の分だけ大きくしなければならない。開口部33が大型化することにより、ブラケット33も大型化してしまう。
本実施例では、ボルト51a,52aを用いることにより、電池スタック1の固定箇所を増やしているため、電池スタック1に発生する公差も低減させることができる。すなわち、本実施例では、X方向における3つの位置に固定箇所を設けているため、各ボルト51aによる固定箇所と、ボルト52aによる固定箇所との間に配置される単電池10の数は、2つのボルト51aによる固定箇所の間に配置される単電池10の数よりも少なくなる。単電池10の数を減らせば、公差を小さくすることができ、公差を小さくした分だけ、ブラケット33に形成される開口部33aも小型化することができる。
また、ボルト52aが設けられた位置を、電池スタック1を取り付けるときの基準位置とすれば、電池スタック1の両端に配置されるブラケット33を共通化することができる。すなわち、ボルト52aは、X方向における電池スタック1の中央部に配置されるため、ボルト52aから各ブラケット33までの公差を等しくすることができる。
ボルト52aから各ブラケット33までの公差を等しくすれば、各ブラケット33に形成される開口部33aの形状も等しくすることができる。このため、X方向における電池スタック1の両端に配置されるブラケット33として、同一のブラケット33を用いることができる。
本実施例では、ヒューズ60やボルト52aを収容するための穴部41を、収容部材40に予め形成しているが、これに限るものではない。すなわち、ヒューズ60やボルト52aを収容部材40に埋めておくこともできる。具体的には、ヒューズ60やボルト52aを所定位置(収容部材40の内部に相当する位置)に予め配置した状態において、収容部材40を形成することができる。この場合であっても、収容部材40は、ヒューズ60やボルト52aを収容することになる。収容部材40にヒューズ60などを埋めることにより、ヒューズ60などを位置決めしやすくなる。
本実施例では、X方向における電池スタック1の中央部だけに、収容部材40を配置して、この収容部材40にヒューズ60を収容しているが、これに限るものではない。例えば、電池スタック1に複数のヒューズ60を設けるときには、複数の収容部材40を用いることができる。複数の収容部材40を配置する位置は、適宜設定することができる。ここで、複数の収容部材40を等間隔に配置することが好ましい。すなわち、ボルト51a,52aを用いた固定箇所が、X方向において等間隔に配置されるように、複数の収容部材40を配置することが好ましい。
本発明の実施例2である電池スタックについて説明する。ここで、実施例1で説明した部材と同一の機能を有する部材については、同一の符号を用い、詳細な説明は省略する。以下、実施例1と異なる点について、主に説明する。
図9は、本実施例である電池スタックの側面図である。本実施例において、エンドプレート31には、穴部31aが形成されており、穴部31には、ボルト51aが収容されている。穴部31aは、エンドプレート31の上部まで延びており、ボルト51aは、エンドプレート31の上部から穴部31aに組み込まれる。穴部31aに組み込まれたボルト51aは、エンドプレート31およびロアーケース101を貫通した状態で、ナット51bと噛み合っている。
本実施例でも、収容部材40にヒューズ60およびボルト52aを収容しているため、実施例1と同様の効果を得ることができる。本実施例では、実施例1と同様に、収容部材40にヒューズ60を収容しているが、これに限るものではない。例えば、エンドプレート31にヒューズ60を収容することもできる。この場合であっても、ヒューズ60は、エンドプレート31によって囲まれるため、外力がヒューズ60に加わるのを抑制することができる。
本実施例では、一対のエンドプレート31に穴部31aを形成しているが、これに限るものではない。すなわち、一対のエンドプレート31のうち、一方のエンドプレート31として、実施例1で説明したエンドプレート31を用い、他方のエンドプレート31として、本実施例で説明したエンドプレート31を用いることができる。
本発明の実施例3である電池スタックについて説明する。ここで、実施例1で説明した部材と同一の機能を有する部材については、同一の符号を用い、詳細な説明は省略する。以下、実施例1,2と異なる点について、主に説明する。
図10は、本実施例である電池スタックの側面図であり、図11は、本実施例における収容部材の概略図である。実施例1では、収容部材40にヒューズ60を収容しているが、本実施例では、収容部材40に基板71を収容している。本実施例において、収容部材40は、基板71およびボルト52aを収容するための穴部41を有している。
図11に示すように、基板71には、コネクタ73を介して検出線72が接続されている。単電池10の正極端子および負極端子に検出線72を接続すれば、単電池10の端子間電圧を検出することができる。また、検出線72に温度センサを接続すれば、温度センサを用いて、電池スタック1(単電池10)の温度を検出することができる。
基板71は、検出線72を介して、所定の情報(電圧や温度)を取得する。ここで、基板71には、通信コネクタ74が接続されており、通信コネクタ74は、基板71が取得した情報を電池ECU(Electronic Control Unit)に送信する。電池ECUは、電池スタック1の充放電を制御するために動作する。
本実施例では、収容部材40にボルト52aを収容しているため、実施例1と同様の効果を得ることができる。また、収容部材40に基板71を収容することにより、基板71を保護することができる。
本実施例では、1つの収容部材40だけを用いているが、これに限るものではなく、複数の収容部材40を用いることができる。複数の収容部材40を用いるときには、いずれかの収容部材40に基板71を収容し、他の収容部材40に、実施例1で説明したヒューズ60を収容することができる。
ここで、複数の収容部材40を配置する位置は、適宜設定することができる。ここで、複数の収容部材40を等間隔に配置することが好ましい。すなわち、収容部材40に収容されるボルト52aと、X方向における電池スタック1の両端に配置されるボルト51aとが、X方向において等間隔に配置されるように、複数の収容部材40を配置することが好ましい。
1:電池スタック(蓄電装置)、10:単電池(蓄電素子)、11:正極端子、
12:負極端子、20:仕切り板、31:エンドプレート、
32:拘束バンド(連結部材)、33:ブラケット、33a:開口部、
51a,52a:ボルト、51b,52b:ナット、60:ヒューズ、71:基板、
72:検出線、73:コネクタ、74:通信コネクタ

Claims (7)

  1. 所定方向に並んで配置された複数の蓄電素子と、
    前記所定方向において、前記複数の蓄電素子を挟んで、前記複数の蓄電素子に拘束荷重を与える拘束機構と、
    前記所定方向で隣り合う2つの前記蓄電素子の間において、前記複数の蓄電素子の位置決めに用いられる締結部材と、前記複数の蓄電素子の充放電制御に用いられる機器とを収容する収容部材と、を有し、
    前記締結部材は、前記複数の蓄電素子および前記拘束機構を収容するためのケースに対して前記収容部材を固定することを特徴とする蓄電装置。
  2. 前記収容部材は、前記所定方向における前記複数の蓄電素子の中央部に配置されていることを特徴とする請求項1に記載の蓄電装置。
  3. 前記拘束機構は、
    前記所定方向において、前記複数の蓄電素子を挟む一対のエンドプレートと、
    前記所定方向に延びており、長手方向の両端部が前記一対のエンドプレートにそれぞれ連結される連結部材と、
    前記各エンドプレートに固定され、締結部材によって位置決めされるブラケットと、
    を有することを特徴とする請求項1又は2に記載の蓄電装置。
  4. 前記拘束機構は、
    前記所定方向において、前記複数の蓄電素子を挟む一対のエンドプレートと、
    前記所定方向に延びており、長手方向の両端部が前記一対のエンドプレートにそれぞれ連結される連結部材と、を有しており、
    少なくとも一方の前記エンドプレートは、このエンドプレートの位置決めに用いられる締結部材を収容することを特徴とする請求項1又は2に記載の蓄電装置。
  5. 前記少なくとも一方のエンドプレートは、前記複数の蓄電素子の充放電制御で用いられる機器を収容することを特徴とする請求項4に記載の蓄電装置。
  6. 前記機器は、前記蓄電素子と電気的に接続され、前記蓄電素子に流れる電流を遮断する電流遮断器であることを特徴とする請求項1から5のいずれか1つに記載の蓄電装置。
  7. 前記機器は、前記蓄電素子の温度又は電圧を取得するための基板であることを特徴とする請求項1から5のいずれか1つに記載の蓄電装置。
JP2012092298A 2012-04-13 2012-04-13 蓄電装置 Active JP5939007B2 (ja)

Priority Applications (1)

Application Number Priority Date Filing Date Title
JP2012092298A JP5939007B2 (ja) 2012-04-13 2012-04-13 蓄電装置

Applications Claiming Priority (1)

Application Number Priority Date Filing Date Title
JP2012092298A JP5939007B2 (ja) 2012-04-13 2012-04-13 蓄電装置

Publications (2)

Publication Number Publication Date
JP2013222554A JP2013222554A (ja) 2013-10-28
JP5939007B2 true JP5939007B2 (ja) 2016-06-22

Family

ID=49593406

Family Applications (1)

Application Number Title Priority Date Filing Date
JP2012092298A Active JP5939007B2 (ja) 2012-04-13 2012-04-13 蓄電装置

Country Status (1)

Country Link
JP (1) JP5939007B2 (ja)

Families Citing this family (17)

* Cited by examiner, † Cited by third party
Publication number Priority date Publication date Assignee Title
JP6217428B2 (ja) * 2014-02-10 2017-10-25 株式会社豊田自動織機 電池パック
KR102011113B1 (ko) * 2015-11-05 2019-08-14 주식회사 엘지화학 배터리 모듈 및 이러한 배터리 모듈을 포함하는 배터리 팩 및 이러한 배터리 팩을 포함하는 자동차
JP6794709B2 (ja) * 2016-08-09 2020-12-02 株式会社豊田自動織機 電池モジュール
JP7187463B2 (ja) * 2017-08-21 2022-12-12 三洋電機株式会社 電池モジュール及びこれを装備する車両
JP6864105B2 (ja) * 2017-09-14 2021-04-21 ビークルエナジージャパン株式会社 電池モジュール
JP6447694B2 (ja) * 2017-09-27 2019-01-09 株式会社豊田自動織機 電池モジュール
JP7017398B2 (ja) * 2017-12-18 2022-02-08 住友ナコ フォ-クリフト株式会社 バッテリアッセンブリ及び荷役作業車
JP6983314B2 (ja) 2018-06-22 2021-12-17 ビークルエナジージャパン株式会社 二次電池モジュール
JP7042192B2 (ja) 2018-08-20 2022-03-25 本田技研工業株式会社 車両用バッテリ装置
JP7096102B2 (ja) * 2018-08-20 2022-07-05 本田技研工業株式会社 車両用バッテリ装置
JP2020064815A (ja) 2018-10-19 2020-04-23 トヨタ自動車株式会社 蓄電ユニットおよび蓄電装置
JP7392384B2 (ja) * 2019-10-23 2023-12-06 株式会社Gsユアサ 蓄電装置
KR102767701B1 (ko) * 2020-03-06 2025-02-12 주식회사 엘지에너지솔루션 전지 모듈 및 그 제조 방법
JP7652539B2 (ja) * 2020-04-16 2025-03-27 株式会社ブルーエナジー 蓄電装置
JP7504827B2 (ja) * 2021-03-29 2024-06-24 ダイムラー トラック エージー バッテリモジュール、車両用バッテリパック、及び電動車両
JP7668195B2 (ja) 2021-10-01 2025-04-24 本田技研工業株式会社 バッテリモジュール
JP7708648B2 (ja) 2021-11-16 2025-07-15 本田技研工業株式会社 バッテリモジュール

Family Cites Families (5)

* Cited by examiner, † Cited by third party
Publication number Priority date Publication date Assignee Title
JP4447625B2 (ja) * 2007-06-25 2010-04-07 矢崎総業株式会社 電源装置
JP2009238643A (ja) * 2008-03-27 2009-10-15 Sanyo Electric Co Ltd 車両用の電池ブロック
JP5558051B2 (ja) * 2009-08-31 2014-07-23 株式会社東芝 電池パック
JP2012209096A (ja) * 2011-03-29 2012-10-25 Primearth Ev Energy Co Ltd 電池パック
KR101292984B1 (ko) * 2011-08-22 2013-08-02 로베르트 보쉬 게엠베하 배터리 모듈

Also Published As

Publication number Publication date
JP2013222554A (ja) 2013-10-28

Similar Documents

Publication Publication Date Title
JP5939007B2 (ja) 蓄電装置
KR101447062B1 (ko) 전지모듈 및 이를 포함하는 전지팩
JP7146744B2 (ja) 電源装置及びこれを備える車両、蓄電装置並びに電源装置用セパレータ
KR101307369B1 (ko) 안전성이 향상된 전지팩
US8163419B2 (en) Battery pack
JP5593443B2 (ja) バッテリーモジュール
JP5584820B2 (ja) 新規構造を備えた検知部材を有する電池モジュール
JP5952418B2 (ja) 安全性の向上した電池パック
JP5315311B2 (ja) 蓄電装置
JP5472059B2 (ja) 蓄電装置
JP6296360B2 (ja) 電池ユニット
JP5605252B2 (ja) 蓄電装置
KR20090082212A (ko) 온도 제어 장치를 구비한 배터리 조립체
KR20070112489A (ko) 중대형 전지모듈
EP1492135B1 (en) Electric double-layer capacitor
CN104137295B (zh) 蓄电装置
JP5724921B2 (ja) 拘束機構の強度設定方法および蓄電装置
JP2010061982A (ja) 蓄電装置
JP7800430B2 (ja) 蓄電装置
JP2013146144A (ja) 電池パック
JP2023100002A (ja) 蓄電装置及び蓄電設備
CN120981960A (zh) 电池单体组件和包括该电池单体组件的电池组
JP2013120729A (ja) 蓄電装置

Legal Events

Date Code Title Description
A621 Written request for application examination

Free format text: JAPANESE INTERMEDIATE CODE: A621

Effective date: 20150303

A977 Report on retrieval

Free format text: JAPANESE INTERMEDIATE CODE: A971007

Effective date: 20160119

A131 Notification of reasons for refusal

Free format text: JAPANESE INTERMEDIATE CODE: A131

Effective date: 20160126

A521 Request for written amendment filed

Free format text: JAPANESE INTERMEDIATE CODE: A523

Effective date: 20160208

TRDD Decision of grant or rejection written
A01 Written decision to grant a patent or to grant a registration (utility model)

Free format text: JAPANESE INTERMEDIATE CODE: A01

Effective date: 20160419

A61 First payment of annual fees (during grant procedure)

Free format text: JAPANESE INTERMEDIATE CODE: A61

Effective date: 20160502

R151 Written notification of patent or utility model registration

Ref document number: 5939007

Country of ref document: JP

Free format text: JAPANESE INTERMEDIATE CODE: R151