JP5659029B2 - ステージ機構およびステージ機構を用いたdnaシーケンサ - Google Patents

ステージ機構およびステージ機構を用いたdnaシーケンサ Download PDF

Info

Publication number
JP5659029B2
JP5659029B2 JP2011014688A JP2011014688A JP5659029B2 JP 5659029 B2 JP5659029 B2 JP 5659029B2 JP 2011014688 A JP2011014688 A JP 2011014688A JP 2011014688 A JP2011014688 A JP 2011014688A JP 5659029 B2 JP5659029 B2 JP 5659029B2
Authority
JP
Japan
Prior art keywords
stage
joint
feed screw
torsional rigidity
screw shaft
Prior art date
Legal status (The legal status is an assumption and is not a legal conclusion. Google has not performed a legal analysis and makes no representation as to the accuracy of the status listed.)
Active
Application number
JP2011014688A
Other languages
English (en)
Other versions
JP2012152149A (ja
Inventor
匡 柴原
匡 柴原
浩志 辻
浩志 辻
真理 琴浦
真理 琴浦
洋幸 東野
洋幸 東野
昌宏 小山
昌宏 小山
福嶋 芳雅
芳雅 福嶋
Current Assignee (The listed assignees may be inaccurate. Google has not performed a legal analysis and makes no representation or warranty as to the accuracy of the list.)
Hitachi High Tech Corp
Original Assignee
Hitachi High Technologies Corp
Priority date (The priority date is an assumption and is not a legal conclusion. Google has not performed a legal analysis and makes no representation as to the accuracy of the date listed.)
Filing date
Publication date
Application filed by Hitachi High Technologies Corp filed Critical Hitachi High Technologies Corp
Priority to JP2011014688A priority Critical patent/JP5659029B2/ja
Publication of JP2012152149A publication Critical patent/JP2012152149A/ja
Application granted granted Critical
Publication of JP5659029B2 publication Critical patent/JP5659029B2/ja
Active legal-status Critical Current
Anticipated expiration legal-status Critical

Links

Images

Landscapes

  • Details Of Measuring And Other Instruments (AREA)
  • Microscoopes, Condenser (AREA)
  • Vibration Prevention Devices (AREA)
  • Transmission Devices (AREA)
  • Apparatus Associated With Microorganisms And Enzymes (AREA)

Description

本発明は、送りねじ駆動機構(ステージ機構)、およびこれを用いてDNA(デオキシリボ核酸)などの核酸の塩基配列を解読するための核酸配列解析装置に関わる。
1990年代に推進されたヒトゲノム計画などの大型プロジェクトでは、ゲノム解読は専門の大規模な解読センターにおいて行われていたが、今後、医療現場において個人レベルのゲノム配列解読をルーチンワークとして行えるようにするためには、配列解読の時間短縮、すなわち高スループット化が必要となる。このようなニーズに応えるため、今後、核酸配列解析装置(以下、DNAシーケンサと称する)においては、装置スループットの向上が必須となっている。
DNAシーケンサでは、塩基伸長反応を逐次進行させる化学反応の結果を光学的に計測する。このため、装置スループットの向上のためには、化学反応に要する時間と光学計測時間の両方を短縮することが重要である。化学反応の結果を計測する際には、対物レンズ直下に観察サンプルを搭載したフローセルを配置し、このフローセルはセルホルダに固定され、さらにセルホルダはXYステージの可動テーブル上に固定される(特許文献2参照)。XYステージを計測視野の大きさだけ逐次移動させることにより、フローセル上の観察サンプルと試薬の反応状態を撮像して、光学的に塩基配列情報を検出する。したがって、装置スループットを向上するためには、XYステージの高速化が必須となる。
このようなステージの高速化、すなわち、ステージの送り速度と加速度の増加は、装置振動の増大につながることが多く、特に、送りねじ(ボールねじ)駆動のステージでは、ステージの高速化と装置振動の抑制を両立させることがしばしば課題となる。送りねじを用いた駆動機構の場合、これを回転駆動手段(モータ)の軸と被駆動側の送りねじの軸を連結して動力を伝達するための継手(カップリング)が用いられ、この継手のねじり剛性の大小により、ステージの移動に伴う振動の発生状況が変わることが知られている。すなわち、継手のねじり剛性が高いほど駆動力に対する追従性は高くなるが、その反面、減衰効果は低下するため、送りねじに振動的な挙動が発生しやすくなる。
DNAシーケンサに用いる旨の開示はないが、このような送りねじ駆動機構の継手に関する公知例としては、特許文献1に記載されているフレキシブルカップリングが挙げられる。
特開2002−372068号公報 特表2008−528040号公報
上述の特許文献1では、駆動側と被駆動側の2軸を連結する部材の間に、緩衝たわみ部材を内蔵した減衰アダプタと剛性の高い金属ばねとで構成したたわみ連結部を装着した構造により、金属板ばねカップリングと同等のねじり剛性を有しつつ、適度の減衰効果を有するカップリングについて記載されている。
しかしながら、このような継手(カップリング)では、そのねじり剛性と緩衝たわみ部材の粘性係数は固定であるため、これを送りねじ駆動機構に適用し、様々な条件で動作させた際、必ずしも所望の動作特性が得られるとは限らない。
また、次世代DNAシーケンサにおいては、対物レンズ直下に観察サンプルを搭載したフローセルを配置し、このフローセルはセルホルダに固定され、さらにセルホルダはXYステージ上の可動テーブルに固定される。ここで、送りねじで駆動されるXYステージを計測視野の大きさだけ逐次移動させることにより、フローセル上の観察サンプルと試薬の反応状態を撮像して、光学的に塩基配列情報を検出する。しかし、送りねじ駆動のXYステージは、高速・高加減速に伴う振動の増大などにより、単純にXYステージの移動速度を高速にするだけでは装置スループットの向上は困難である。これは、高速・高加減速に伴う負荷の増大により加振力が増加し、画像取得を行う際の振動が発生して安定した画像取得を行うことが困難となるためである。このような振動を励起しない程度に移動速度を低下させると、結果としてスループットの向上が困難となってしまう。上記の特許文献1でも、ねじり剛性と緩衝たわみ部材の粘性係数は固定であるため、この問題を解決することは難しいと考えられる。
本発明の目的は、高いスループットを維持しつつ、振動を抑えた、次世代のDNAシーケンサに用いるステージ機構を提供することである。
上記課題を達成するために、送りねじと、この送りねじに螺合されるナットと、ナットに取り付けられる被送り部材と、送りねじを回転させる回転駆動手段と、回転駆動手段と送りねじを連結するねじり剛性可変機構付き継手と、回転駆動手段およびねじり剛性可変機構付き継手を制御する手段を備えることを特徴とするステージ機構を提供する。
さらに、前記ステージ機構の被送り部材上に観察サンプルを搭載したフローセルを固定し、フローセル上の観察サンプルと試薬の反応状態を撮像して、光学的に塩基配列情報を検出することを特徴とするDNAシーケンサを提供する。
本発明によれば、ステージ機構の被送り部材の動きに合わせて、継手のねじり剛性を適切に変化させることにより、被送り部材の移動中および停止時の振動が低減される。これにより、本ステージ機構を備えたDNAシーケンサのスループット向上が図れる。
本発明のねじり剛性可変機構付き継手を備えたステージ機構の概略構成図。 本発明の比較例を示すねじり剛性可変機構付き継手を備えたステージ機構の概略構成図。 (a)継手のねじり剛性を変化させた場合の変位応答波形、(b)継手のねじり剛性を変化させた場合の変位応答波形の拡大図。 ねじり剛性可変機構付き継手の概略構成図。 ねじり剛性可変機構付き継手の概略断面図。 (a)可動ステージの移動パターンの概略図、(b)継手のねじり剛性可変パターンの概略図(不連続変化)、(c)継手のねじり剛性可変パターンの概略図(連続変化)。 DNAシーケンサの概略構成図。 電気粘性流体を用いたねじり剛性可変機構付き継手の概略構成図。 電気粘性流体を用いたねじり剛性可変機構付き継手の概略断面図。
本発明の第1の実施例として、ねじり剛性可変機構付き継手を備えた送りねじ駆動機構について図1(a),図1(b)を用いて以下に説明する。図1(a)が本発明の実施例を示すための図であり、図1(b)がその比較例を示すための図である。
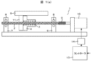
図1(b)に示すように、送りねじ駆動機構1は、送りねじ軸2と、この送りねじ軸2に多数のボール3を介して装着されるナット4と、このナット4に取り付けられる被送り部材としての可動テーブル5と、ホルダ11を備えている。送りねじ軸2には第1,第2軸受台6,7にサポートベアリング8を介して回転自在にかつ軸方向に固定状態に支持されており、送りねじ軸2の一端、この実施例では第1軸受台6側の端部が継手9を介して回転駆動源としての回転駆動手段10が連結されている。回転駆動手段10はコントローラ13によってモータドライバ14を介して制御されている。
この回転駆動手段10の具体的な装置としては、ステッピングモータ,DCサーボモータ,ACサーボモータなどを利用することができる。
そして、この送りねじ駆動機構1には駆動時に軸力およびトルク等の力が作用しており、この力作用部に継手9が設けられている。トルクは送りねじ軸2からナット4に伝達され、ナット4から可動テーブル5を支持する図示しない左右のガイド部材に伝えられる。また、軸力は可動テーブル5からナット4を介して送りねじ軸2を通じて各軸受台6,7に伝達される。
図1(a)の送りねじ駆動機構1は、送りねじ軸2と、この送りねじ軸2に多数のボール3を介して装着されるナット4と、このナット4に取り付けられる被送り部材としての可動テーブル5と、を備えている。送りねじ軸2は第1,第2軸受台6,7にサポートベアリング8を介して回転自在にかつ軸方向に固定状態に支持されており、送りねじ軸2の一端、この実施例では第1軸受台6側の端部がねじり剛性可変機構付き継手15を介して回転駆動源としての回転駆動手段10が連結されている。回転駆動手段10はコントローラ13によってモータドライバ14を介して制御されている。ねじり剛性可変機構付き継手15は、回転駆動手段10の駆動トルクを伝達する継手のねじり剛性を移動パターンに応じて適切に変化させることにより、高速・低振動・高停止安定性駆動を実現させるものである。次に、継手9のねじり剛性の違いによる振動と停止安定性に対する影響を、図2(a)および(b)を用いて以下に説明する。
図2(a)は、図1(a)の継手9をねじり剛性が高剛性,中剛性,低剛性のものに置き換えて、ステージを位置決めした際の位置応答波形を示している。また、図2(b)は図2(a)の停止時の拡大図である。図2(a)から継手9のねじり剛性が高剛性であるほど、移動中の振動が大きいことがわかる。また、図2(b)から継手9のねじり剛性が低剛性であるほど、位置決め後の停止安定性が低いことがわかる。その理由は、高剛性継手の場合には、減衰性が乏しいのでダンパー効果が得られず、振動が励起され、一方、低剛性継手の場合には、振動を吸収する減衰性があり、振動は励起されにくいが、剛性が低いために停止安定性が悪いことにある。したがって、継手9のねじり剛性が高剛性の場合は、振動は大きいが停止安定性が高く、継手9のねじり剛性が低剛性の場合は、振動は小さいが停止安定性が低いことを示している。一般的にねじり剛性が一定である継手9を用いた送りねじ駆動機構では、低振動と高停止安定性を両立することは困難である。そこで本発明では、ねじり剛性可変機構付き継手15を移動パターンに応じて適切に変化させる制御をすることにより、高速・低振動・高停止安定性の送りねじ駆動機構を可能とする。
図3および図4は、ねじり剛性可変機構付き継手15の基本形を示すもので、以下この基本形について、説明するものとする。図3および図4は、ねじり剛性可変機構付き継手15の斜視図および断面図である。ねじり剛性可変機構付き継手15は、低剛性継手16と図示しない可変粘性体を封入しているカバー19と可変粘性体を外部刺激により粘性を変化させるための可変粘性体操作部(例えば、電磁コイル)17と可変粘性体操作部17を固定するための可変粘性体操作部固定子18と備えた機構である。
可変粘性体として磁性流体を用いた場合、ねじり剛性可変機構付き継手15の原理を図4を用いて具体的に以下に説明する。
磁性流体が低剛性継手16の溝に充填され、磁界が発生してないとき磁性流体は単なる流体であり、継手のねじり剛性は低剛性である。可変粘性体操作部17としての電磁コイルを低剛性継手16の外周上に設置し、電流を流すことで、トルク作用軸上に磁界を発生させ、溝の間にある磁性流体が磁界方向に固化することにより、継手のねじり剛性が高剛性となる。
またこの作用は磁性流体だけではなく、他の可変粘性体、例えば、電気粘性流体を用いても同様のねじり剛性可変機構付き継手15が得られる。具体的な方法として、図7および図8を用いて以下に説明する。
電気粘性流体が低剛性継手16の溝に充填され、電界が発生してないとき電気粘性流体は単なる流体であり、継手のねじり剛性は低剛性である。可変粘性体操作部17としての電極(不図示)をトルク作用軸上に垂直に設置し、電圧を印加することで、トルク作用軸上に電界を発生させ、溝の間にある電気粘性流体が電界方向に固化することにより、継手のねじり剛性が高剛性となる。
また、図3および図4の低剛性継手16は円筒の金属を溝加工し金属ばねにすることで低剛性継手16としているが、弾性部材を利用している低剛性継手を用いて、その周囲を可変粘性体により被い、可変粘性体操作部17によって、ねじり剛性を可変として、ねじり剛性可変機構付き継手を構成することができる。
次に、ねじり剛性可変機構付き継手15の制御方法について、図1(b)を用いて以下に説明する。
前述よりねじり剛性可変機構付き継手15は、高速移動中は継手のねじり剛性を低剛性とし、移動終了直前に継手のねじり剛性を高剛性にすることで高速・低振動・高停止安定性を実現する。ねじり剛性可変機構付き継手15を制御するD/Aボード12とモータドライバ14と接続されているコントローラ13は、移動パターンを生成し、その移動パターンに応じた継手のねじり剛性可変パターンを生成し、回転駆動手段10とねじり剛性可変機構付き継手15を制御する。
移動パターンに応じた適切な継手のねじり剛性可変パターンについて、図5(a),(b),(c)を用いて以下に説明する。
図5(a)は、送りねじ駆動機構1における可動テーブル5の移動パターンである。図5(b)は、最も簡単な可動テーブル5の移動パターンに応じた継手のねじり剛性可変パターンである。継手のねじり剛性可変パターンは、高速移動中は継手のねじり剛性を低剛性とし、停止直前に継手のねじり剛性を高剛性となるように単純にねじり剛性を切り替えている。しかし、この方法では停止直前にねじり剛性が不連続に切り替わり、装置によっては切り替えた瞬間に振動を励起し、停止安定性が低くなる可能性がある。
図5(c)は、停止直前でねじれ剛性を連続的に切り替えた、継手のねじり剛性可変パターンである。この継手のねじり剛性可変パターンを用いれば、高速・低振動・高停止安定性の送りねじ駆動機構が可能である。
また機能性流体を磁性流体とした場合、継手のねじり剛性可変パターンは、可変粘性体操作部17である電磁コイルに電流を流すことで実現できる。つまり、図5(b)および(c)の継手のねじり剛性可変パターンと同様のパターンで、電磁コイルに電流を流すことで、磁界が発生し、磁性流体が固体化することで、ねじり剛性可変機構付き継手15のねじり剛性可変パターンの通りに制御する。
その他の可変粘性体として電気粘性流体を利用した場合は、図5(b)および(c)と同様のパターンの電圧を印加すればよい。
次に、本発明のねじり剛性可変機構付き継手を備えた送りねじ駆動機構を用いたDNAシーケンサの実施例について、図6を用いて以下に説明する。
DNA(デオキシリボ核酸)などの核酸の塩基配列を解読するための核酸配列解析装置としてDNAシーケンサ20がある。対物レンズ21直下に観察サンプルを搭載したフローセル22を配置し、このフローセル22はセルホルダ23に固定され、さらにセルホルダ23はXYステージ24上の可動テーブル25に固定される。ここで、送りねじで駆動されるXYステージ24を計測視野の大きさだけ逐次移動させることにより、フローセル上の観察サンプルと試薬の反応状態を撮像して、光学的に塩基配列情報を検出する。しかし、送りねじ駆動のXYステージ24は、高速・高加減速に伴う振動の増大などにより、単純にXYステージ24の移動速度を高速にするだけでは装置スループットの向上は困難である。これは、高速・高加減速に伴う負荷の増大により加振力が増加し、画像取得を行う際の振動が発生して安定した画像取得を行うことが困難となるためである。
そこで、図1(a)に示したねじり剛性可変機構付き継手を備えたステージ機構を採用することで、高速・低振動・高停止安定性が確保でき、DNAシーケンサのスループット向上が図れる。
また、ステージ機構の高速・低振動・高停止安定性を実現するために高価なサーボモータやセンサを使用せずに、性能を最大限に引き出すことができ、装置コストの低減が可能となる。
1 送りねじ駆動機構
2 送りねじ軸
3 ボール
4 ナット
5,25 可動テーブル
6 第1軸受台
7 第2軸受台
8 サポートベアリング
9 継手
10 回転駆動手段
11 ホルダ
12 D/Aボード
13 コントローラ
14 モータドライバ
15 ねじり剛性可変機構付き継手
16 低剛性継手
17 可変粘性体操作部
18 可変粘性体操作部固定子
19 カバー
20 DNAシーケンサ
21 対物レンズ
22 フローセル
23 セルホルダ
24 XYステージ

Claims (15)

  1. 送りねじ軸と、前記送りねじ軸に螺合され、ステージが取り付けられるナットと、前記送りねじ軸を回転させる回転駆動手段と、前記回転駆動手段と前記送りねじを連結する継手と、前記継手のねじり剛性を制御する制御手段を備え
    前記継手は、溝を有する弾性体と、前記溝に充填された磁性流体と、前記磁性流体を前記溝に閉じ込めるカバーと、磁場を印加する電磁コイルと、電磁コイルを固定するための固定子とを備え、
    弾性体、磁性流体、およびカバーは、電磁コイルが固定された固定子の内側に当該固定子との間に隙間を持って配置されている、ステージ機構。
  2. 送りねじ軸と、前記送りねじ軸に螺合され、ステージが取り付けられるナットと、前記送りねじ軸を回転させる回転駆動手段と、前記回転駆動手段と前記送りねじを連結する継手と、前記継手のねじり剛性を制御する制御手段を備え、
    前記継手は、溝を有する弾性体と、前記溝に充填された電気粘性流体と、電場を印加する電極と、前記磁性流体を前記溝に閉じ込めるカバーと、電場を印加する電極と、電極を固定するための固定子とを備え、
    弾性体、電気粘性流体、およびカバーは、電磁コイルが固定された固定子の内側に当該固定子との間に隙間を持って配置されている、ステージ機構。
  3. 前記制御手段は、前記ステージが移動開始すると前記継手のねじり剛性を第1の値に設定し、前記被送り部材が目標位置近傍に到達すると前記継手のねじり剛性を第1の値よりも高い第2の値に設定することを特徴とする請求項1または2に記載のステージ機構。
  4. 前記制御手段は、ねじり剛性を第1の値から第2の値へ変化させるとき、徐々に変化させることを特徴とする請求項3記載のステージ機構。
  5. 前記弾性体は、金属ばね継手であることを特徴とする請求項1または2に記載のステージ機構。
  6. 前記電磁コイルに電流を流す機構を備え、該機構により電磁コイルに電流を流すとトルク軸線上に磁界が発生することを特徴とする請求項1に記載のステージ機構。
  7. 前記電極に電圧を印加する機構を備え、該機構により電極に電圧を印加するとトルク軸線上に電界が発生することを特徴とする請求項2に記載のステージ機構。
  8. 送りねじ軸と、前記送りねじ軸に螺合され、ステージが取り付けられるナットと、前記送りねじ軸を回転させる回転駆動手段と、前記回転駆動手段と前記送りねじを連結する継手と、前記継手のねじり剛性を制御する制御手段を備えるステージ機構と、
    ステージと、
    前記ステージ上に固定されたフローセルと、前記フローセル上の観察サンプルと試薬の反応状態を画像として撮像するための撮像手段と、前記画像を解析して塩基配列情報を検出する解析手段とを備え、
    前記継手は、溝を有する弾性体と、前記溝に充填された磁性流体と、前記磁性流体を前記溝に閉じ込めるカバーと、磁場を印加する電磁コイルと、電磁コイルを固定するための固定子とを備え、
    弾性体、磁性流体、およびカバーは、電磁コイルが固定された固定子の内側に当該固定子との間に隙間を持って配置されている、
    ことを特徴とするDNAシーケンサ。
  9. 送りねじ軸と、前記送りねじ軸に螺合され、ステージが取り付けられるナットと、前記送りねじ軸を回転させる回転駆動手段と、前記回転駆動手段と前記送りねじを連結する継手と、前記継手のねじり剛性を制御する制御手段を備えるステージ機構と、
    ステージと、
    前記ステージ上に固定されたフローセルと、前記フローセル上の観察サンプルと試薬の反応状態を画像として撮像するための撮像手段と、前記画像を解析して塩基配列情報を検出する解析手段とを備え、
    前記継手は、溝を有する弾性体と、前記溝に充填された電気粘性流体と、電場を印加する電極と、前記磁性流体を前記溝に閉じ込めるカバーと、電場を印加する電極と、電極を固定するための固定子とを備え、
    弾性体、電気粘性流体、およびカバーは、電磁コイルが固定された固定子の内側に当該固定子との間に隙間を持って配置されている、ことを特徴とするDNAシーケンサ。
  10. 前記制御手段は、前記ステージが移動開始すると前記継手のねじり剛性を第1の値に設定し、前記被送り部材が目標位置近傍に到達すると前記継手のねじり剛性を第1の値よりも高い第2の値に設定することを特徴とする請求項8または9に記載のDNAシーケンサ。
  11. 前記制御手段は、ねじり剛性を第1の値から第2の値へ変化させるとき、徐々に変化さ
    せることを特徴とする請求項10記載のDNAシーケンサ。
  12. 前記弾性体は、金属ばね継手であることを特徴とする請求項8または9に記載のDNAシーケンサ。
  13. 前記電磁コイルに電流を流す機構を備え、該機構により電磁コイルに電流を流すとトルク軸線上に磁界が発生することを特徴とする請求項8に記載のDNAシーケンサ。
  14. 前記電極に電圧を印加する機構を備え、該機構により電極に電圧を印加するとトルク軸
    線上に電界が発生することを特徴とする請求項9に記載のDNAシーケンサ。
  15. 撮像手段は固定されており、前記ステージは移動と停止を繰り返し行うことを特徴とす
    る請求項8または9に記載のDNAシーケンサ。
JP2011014688A 2011-01-27 2011-01-27 ステージ機構およびステージ機構を用いたdnaシーケンサ Active JP5659029B2 (ja)

Priority Applications (1)

Application Number Priority Date Filing Date Title
JP2011014688A JP5659029B2 (ja) 2011-01-27 2011-01-27 ステージ機構およびステージ機構を用いたdnaシーケンサ

Applications Claiming Priority (1)

Application Number Priority Date Filing Date Title
JP2011014688A JP5659029B2 (ja) 2011-01-27 2011-01-27 ステージ機構およびステージ機構を用いたdnaシーケンサ

Publications (2)

Publication Number Publication Date
JP2012152149A JP2012152149A (ja) 2012-08-16
JP5659029B2 true JP5659029B2 (ja) 2015-01-28

Family

ID=46834596

Family Applications (1)

Application Number Title Priority Date Filing Date
JP2011014688A Active JP5659029B2 (ja) 2011-01-27 2011-01-27 ステージ機構およびステージ機構を用いたdnaシーケンサ

Country Status (1)

Country Link
JP (1) JP5659029B2 (ja)

Families Citing this family (3)

* Cited by examiner, † Cited by third party
Publication number Priority date Publication date Assignee Title
JP6442386B2 (ja) * 2015-09-29 2018-12-19 本田技研工業株式会社 力制御装置
CN107916220A (zh) * 2016-10-11 2018-04-17 广州康昕瑞基因健康科技有限公司 Xy平台丝杆驱动安装结构
CN115749032B (zh) * 2022-12-05 2024-05-24 重庆交通大学 一种位移和加速度分级双控混合阻尼器

Family Cites Families (6)

* Cited by examiner, † Cited by third party
Publication number Priority date Publication date Assignee Title
JPS5862450U (ja) * 1981-10-20 1983-04-27 オンキヨー株式会社 ミラ−支持駆動装置
JPH0375803A (ja) * 1989-08-17 1991-03-29 Taiyo Kogyo Kk サーボ系の位置決め装置
JPH07256534A (ja) * 1994-03-17 1995-10-09 Nikon Corp ステージ装置
JP2001310232A (ja) * 2000-04-28 2001-11-06 Matsushita Electric Ind Co Ltd 移動ステージの精密送り装置
JP5086011B2 (ja) * 2007-09-12 2012-11-28 カヤバ工業株式会社 磁気粘性流体緩衝器
JP5268444B2 (ja) * 2008-06-23 2013-08-21 株式会社日立ハイテクノロジーズ 単分子リアルタイムシーケンス装置,核酸分析装置及び単分子リアルタイムシーケンス方法

Also Published As

Publication number Publication date
JP2012152149A (ja) 2012-08-16

Similar Documents

Publication Publication Date Title
CN104320016B (zh) 基于粘滑惯性的串联式三自由度压电精密驱动平台
JP5639934B2 (ja) 表面性状測定機
KR102181674B1 (ko) 동전형 액추에이터 및 동전형 가진 장치
KR102350411B1 (ko) 가진 장치
JP6013704B2 (ja) 電動アクチュエータ
JP5659029B2 (ja) ステージ機構およびステージ機構を用いたdnaシーケンサ
EP2258509A1 (en) Drive unit for pressure device, with a piezoelectric load cell
KR101109542B1 (ko) Bldc 모터의 능동형 부하 시험 장치
JP2013079823A (ja) ねじり試験機
CN100394145C (zh) 电动式角振动台
JP4437844B2 (ja) 工作機械用スピンドル駆動機構
US7141914B2 (en) Micromanipulator including piezoelectric benders
JP2017201258A (ja) 疲労試験方法、および、疲労試験装置
JP4990282B2 (ja) 工具移動アクチュエータ
JP2009211024A (ja) アクチュエータおよびマニピュレータ
JP5899537B2 (ja) リニアアクチュエータおよび中ぐり加工装置
JP4389059B2 (ja) 直接駆動モータを用いた回転粘度計
JP2002295590A (ja) 制振装置
JP4717466B2 (ja) 移送装置{transferapparatus}
KR20170116800A (ko) 비틀림 시험장치
KR20190088534A (ko) 전동 액츄에이터
JP5376323B2 (ja) コントローラ
JP2014065123A (ja) パラレルリンクロボット
RU2350476C2 (ru) Устройство для нанесения изображения на твердой поверхности
US20110163221A1 (en) Method for controlling deflection in structural member

Legal Events

Date Code Title Description
RD04 Notification of resignation of power of attorney

Free format text: JAPANESE INTERMEDIATE CODE: A7424

Effective date: 20120522

A621 Written request for application examination

Free format text: JAPANESE INTERMEDIATE CODE: A621

Effective date: 20130130

A521 Request for written amendment filed

Free format text: JAPANESE INTERMEDIATE CODE: A523

Effective date: 20130130

A131 Notification of reasons for refusal

Free format text: JAPANESE INTERMEDIATE CODE: A131

Effective date: 20140527

A521 Request for written amendment filed

Free format text: JAPANESE INTERMEDIATE CODE: A523

Effective date: 20140724

TRDD Decision of grant or rejection written
A01 Written decision to grant a patent or to grant a registration (utility model)

Free format text: JAPANESE INTERMEDIATE CODE: A01

Effective date: 20141104

A61 First payment of annual fees (during grant procedure)

Free format text: JAPANESE INTERMEDIATE CODE: A61

Effective date: 20141201

R150 Certificate of patent or registration of utility model

Ref document number: 5659029

Country of ref document: JP

Free format text: JAPANESE INTERMEDIATE CODE: R150

S531 Written request for registration of change of domicile

Free format text: JAPANESE INTERMEDIATE CODE: R313531

S533 Written request for registration of change of name

Free format text: JAPANESE INTERMEDIATE CODE: R313533

R350 Written notification of registration of transfer

Free format text: JAPANESE INTERMEDIATE CODE: R350