JP5652002B2 - 電気泳動表示装置、電気泳動表示装置の駆動方法、コントローラ、電子機器 - Google Patents
電気泳動表示装置、電気泳動表示装置の駆動方法、コントローラ、電子機器 Download PDFInfo
- Publication number
- JP5652002B2 JP5652002B2 JP2010125917A JP2010125917A JP5652002B2 JP 5652002 B2 JP5652002 B2 JP 5652002B2 JP 2010125917 A JP2010125917 A JP 2010125917A JP 2010125917 A JP2010125917 A JP 2010125917A JP 5652002 B2 JP5652002 B2 JP 5652002B2
- Authority
- JP
- Japan
- Prior art keywords
- data
- pixel
- image
- input
- pixel data
- Prior art date
- Legal status (The legal status is an assumption and is not a legal conclusion. Google has not performed a legal analysis and makes no representation as to the accuracy of the status listed.)
- Active
Links
- 238000000034 method Methods 0.000 title claims description 48
- 238000012937 correction Methods 0.000 claims description 68
- 230000015654 memory Effects 0.000 description 71
- 239000002245 particle Substances 0.000 description 22
- 206010047571 Visual impairment Diseases 0.000 description 19
- 230000004048 modification Effects 0.000 description 18
- 238000012986 modification Methods 0.000 description 18
- 238000010586 diagram Methods 0.000 description 17
- 230000008569 process Effects 0.000 description 17
- 239000000758 substrate Substances 0.000 description 17
- 239000003990 capacitor Substances 0.000 description 14
- 238000012546 transfer Methods 0.000 description 14
- 230000006870 function Effects 0.000 description 13
- 238000012545 processing Methods 0.000 description 9
- 230000007274 generation of a signal involved in cell-cell signaling Effects 0.000 description 8
- 239000003094 microcapsule Substances 0.000 description 8
- 230000008859 change Effects 0.000 description 6
- 239000012790 adhesive layer Substances 0.000 description 4
- ZWEHNKRNPOVVGH-UHFFFAOYSA-N 2-Butanone Chemical compound CCC(C)=O ZWEHNKRNPOVVGH-UHFFFAOYSA-N 0.000 description 3
- CSCPPACGZOOCGX-UHFFFAOYSA-N Acetone Chemical compound CC(C)=O CSCPPACGZOOCGX-UHFFFAOYSA-N 0.000 description 3
- UHOVQNZJYSORNB-UHFFFAOYSA-N Benzene Chemical compound C1=CC=CC=C1 UHOVQNZJYSORNB-UHFFFAOYSA-N 0.000 description 3
- YMWUJEATGCHHMB-UHFFFAOYSA-N Dichloromethane Chemical compound ClCCl YMWUJEATGCHHMB-UHFFFAOYSA-N 0.000 description 3
- LFQSCWFLJHTTHZ-UHFFFAOYSA-N Ethanol Chemical compound CCO LFQSCWFLJHTTHZ-UHFFFAOYSA-N 0.000 description 3
- XEKOWRVHYACXOJ-UHFFFAOYSA-N Ethyl acetate Chemical compound CCOC(C)=O XEKOWRVHYACXOJ-UHFFFAOYSA-N 0.000 description 3
- OKKJLVBELUTLKV-UHFFFAOYSA-N Methanol Chemical compound OC OKKJLVBELUTLKV-UHFFFAOYSA-N 0.000 description 3
- YXFVVABEGXRONW-UHFFFAOYSA-N Toluene Chemical compound CC1=CC=CC=C1 YXFVVABEGXRONW-UHFFFAOYSA-N 0.000 description 3
- XLOMVQKBTHCTTD-UHFFFAOYSA-N Zinc monoxide Chemical compound [Zn]=O XLOMVQKBTHCTTD-UHFFFAOYSA-N 0.000 description 3
- 239000007822 coupling agent Substances 0.000 description 3
- 239000002612 dispersion medium Substances 0.000 description 3
- VLKZOEOYAKHREP-UHFFFAOYSA-N n-Hexane Chemical compound CCCCCC VLKZOEOYAKHREP-UHFFFAOYSA-N 0.000 description 3
- 230000002093 peripheral effect Effects 0.000 description 3
- 239000000049 pigment Substances 0.000 description 3
- 230000002829 reductive effect Effects 0.000 description 3
- 230000002441 reversible effect Effects 0.000 description 3
- KBPLFHHGFOOTCA-UHFFFAOYSA-N 1-Octanol Chemical compound CCCCCCCCO KBPLFHHGFOOTCA-UHFFFAOYSA-N 0.000 description 2
- HEDRZPFGACZZDS-UHFFFAOYSA-N Chloroform Chemical compound ClC(Cl)Cl HEDRZPFGACZZDS-UHFFFAOYSA-N 0.000 description 2
- LTEQMZWBSYACLV-UHFFFAOYSA-N Hexylbenzene Chemical compound CCCCCCC1=CC=CC=C1 LTEQMZWBSYACLV-UHFFFAOYSA-N 0.000 description 2
- KFZMGEQAYNKOFK-UHFFFAOYSA-N Isopropanol Chemical compound CC(C)O KFZMGEQAYNKOFK-UHFFFAOYSA-N 0.000 description 2
- LRHPLDYGYMQRHN-UHFFFAOYSA-N N-Butanol Chemical compound CCCCO LRHPLDYGYMQRHN-UHFFFAOYSA-N 0.000 description 2
- PXHVJJICTQNCMI-UHFFFAOYSA-N Nickel Chemical compound [Ni] PXHVJJICTQNCMI-UHFFFAOYSA-N 0.000 description 2
- OFBQJSOFQDEBGM-UHFFFAOYSA-N Pentane Chemical compound CCCCC OFBQJSOFQDEBGM-UHFFFAOYSA-N 0.000 description 2
- GWEVSGVZZGPLCZ-UHFFFAOYSA-N Titan oxide Chemical compound O=[Ti]=O GWEVSGVZZGPLCZ-UHFFFAOYSA-N 0.000 description 2
- -1 alicyclic hydrocarbons Chemical class 0.000 description 2
- ADCOVFLJGNWWNZ-UHFFFAOYSA-N antimony trioxide Chemical compound O=[Sb]O[Sb]=O ADCOVFLJGNWWNZ-UHFFFAOYSA-N 0.000 description 2
- 230000015572 biosynthetic process Effects 0.000 description 2
- 239000000084 colloidal system Substances 0.000 description 2
- 230000003247 decreasing effect Effects 0.000 description 2
- UZILCZKGXMQEQR-UHFFFAOYSA-N decyl-Benzene Chemical compound CCCCCCCCCCC1=CC=CC=C1 UZILCZKGXMQEQR-UHFFFAOYSA-N 0.000 description 2
- 238000011156 evaluation Methods 0.000 description 2
- 239000011521 glass Substances 0.000 description 2
- UAEPNZWRGJTJPN-UHFFFAOYSA-N methylcyclohexane Chemical compound CC1CCCCC1 UAEPNZWRGJTJPN-UHFFFAOYSA-N 0.000 description 2
- 239000003921 oil Substances 0.000 description 2
- 239000004033 plastic Substances 0.000 description 2
- 229920003023 plastic Polymers 0.000 description 2
- 238000007747 plating Methods 0.000 description 2
- 229920000642 polymer Polymers 0.000 description 2
- 230000004044 response Effects 0.000 description 2
- 239000004094 surface-active agent Substances 0.000 description 2
- MCVUKOYZUCWLQQ-UHFFFAOYSA-N tridecylbenzene Chemical compound CCCCCCCCCCCCCC1=CC=CC=C1 MCVUKOYZUCWLQQ-UHFFFAOYSA-N 0.000 description 2
- 235000014692 zinc oxide Nutrition 0.000 description 2
- 239000011787 zinc oxide Substances 0.000 description 2
- WSLDOOZREJYCGB-UHFFFAOYSA-N 1,2-Dichloroethane Chemical compound ClCCCl WSLDOOZREJYCGB-UHFFFAOYSA-N 0.000 description 1
- KPZGRMZPZLOPBS-UHFFFAOYSA-N 1,3-dichloro-2,2-bis(chloromethyl)propane Chemical compound ClCC(CCl)(CCl)CCl KPZGRMZPZLOPBS-UHFFFAOYSA-N 0.000 description 1
- XNWFRZJHXBZDAG-UHFFFAOYSA-N 2-METHOXYETHANOL Chemical compound COCCO XNWFRZJHXBZDAG-UHFFFAOYSA-N 0.000 description 1
- FWLHAQYOFMQTHQ-UHFFFAOYSA-N 2-N-[8-[[8-(4-aminoanilino)-10-phenylphenazin-10-ium-2-yl]amino]-10-phenylphenazin-10-ium-2-yl]-8-N,10-diphenylphenazin-10-ium-2,8-diamine hydroxy-oxido-dioxochromium Chemical compound O[Cr]([O-])(=O)=O.O[Cr]([O-])(=O)=O.O[Cr]([O-])(=O)=O.Nc1ccc(Nc2ccc3nc4ccc(Nc5ccc6nc7ccc(Nc8ccc9nc%10ccc(Nc%11ccccc%11)cc%10[n+](-c%10ccccc%10)c9c8)cc7[n+](-c7ccccc7)c6c5)cc4[n+](-c4ccccc4)c3c2)cc1 FWLHAQYOFMQTHQ-UHFFFAOYSA-N 0.000 description 1
- 239000004925 Acrylic resin Substances 0.000 description 1
- 229920000178 Acrylic resin Polymers 0.000 description 1
- DKPFZGUDAPQIHT-UHFFFAOYSA-N Butyl acetate Natural products CCCCOC(C)=O DKPFZGUDAPQIHT-UHFFFAOYSA-N 0.000 description 1
- RYGMFSIKBFXOCR-UHFFFAOYSA-N Copper Chemical compound [Cu] RYGMFSIKBFXOCR-UHFFFAOYSA-N 0.000 description 1
- XDTMQSROBMDMFD-UHFFFAOYSA-N Cyclohexane Chemical compound C1CCCCC1 XDTMQSROBMDMFD-UHFFFAOYSA-N 0.000 description 1
- 229920000084 Gum arabic Polymers 0.000 description 1
- NTIZESTWPVYFNL-UHFFFAOYSA-N Methyl isobutyl ketone Chemical compound CC(C)CC(C)=O NTIZESTWPVYFNL-UHFFFAOYSA-N 0.000 description 1
- UIHCLUNTQKBZGK-UHFFFAOYSA-N Methyl isobutyl ketone Natural products CCC(C)C(C)=O UIHCLUNTQKBZGK-UHFFFAOYSA-N 0.000 description 1
- CTQNGGLPUBDAKN-UHFFFAOYSA-N O-Xylene Chemical compound CC1=CC=CC=C1C CTQNGGLPUBDAKN-UHFFFAOYSA-N 0.000 description 1
- 241000978776 Senegalia senegal Species 0.000 description 1
- RTAQQCXQSZGOHL-UHFFFAOYSA-N Titanium Chemical compound [Ti] RTAQQCXQSZGOHL-UHFFFAOYSA-N 0.000 description 1
- 229920001807 Urea-formaldehyde Polymers 0.000 description 1
- 239000000205 acacia gum Substances 0.000 description 1
- 235000010489 acacia gum Nutrition 0.000 description 1
- 239000005456 alcohol based solvent Substances 0.000 description 1
- 150000001338 aliphatic hydrocarbons Chemical class 0.000 description 1
- 125000000217 alkyl group Chemical group 0.000 description 1
- 229910052782 aluminium Inorganic materials 0.000 description 1
- XAGFODPZIPBFFR-UHFFFAOYSA-N aluminium Chemical compound [Al] XAGFODPZIPBFFR-UHFFFAOYSA-N 0.000 description 1
- 150000004945 aromatic hydrocarbons Chemical class 0.000 description 1
- 150000001555 benzenes Chemical class 0.000 description 1
- 230000005540 biological transmission Effects 0.000 description 1
- 239000006229 carbon black Substances 0.000 description 1
- 150000007942 carboxylates Chemical class 0.000 description 1
- 239000003795 chemical substances by application Substances 0.000 description 1
- 150000001875 compounds Chemical class 0.000 description 1
- 238000012217 deletion Methods 0.000 description 1
- 230000037430 deletion Effects 0.000 description 1
- 239000002270 dispersing agent Substances 0.000 description 1
- KWKXNDCHNDYVRT-UHFFFAOYSA-N dodecylbenzene Chemical compound CCCCCCCCCCCCC1=CC=CC=C1 KWKXNDCHNDYVRT-UHFFFAOYSA-N 0.000 description 1
- 229920001971 elastomer Polymers 0.000 description 1
- 239000003792 electrolyte Substances 0.000 description 1
- 238000001962 electrophoresis Methods 0.000 description 1
- 230000008030 elimination Effects 0.000 description 1
- 238000003379 elimination reaction Methods 0.000 description 1
- 150000002148 esters Chemical class 0.000 description 1
- PCHJSUWPFVWCPO-UHFFFAOYSA-N gold Chemical compound [Au] PCHJSUWPFVWCPO-UHFFFAOYSA-N 0.000 description 1
- 239000010931 gold Substances 0.000 description 1
- 229910052737 gold Inorganic materials 0.000 description 1
- 150000008282 halocarbons Chemical class 0.000 description 1
- FUZZWVXGSFPDMH-UHFFFAOYSA-N hexanoic acid Chemical compound CCCCCC(O)=O FUZZWVXGSFPDMH-UHFFFAOYSA-N 0.000 description 1
- 229930195733 hydrocarbon Natural products 0.000 description 1
- 230000008676 import Effects 0.000 description 1
- APFVFJFRJDLVQX-UHFFFAOYSA-N indium atom Chemical compound [In] APFVFJFRJDLVQX-UHFFFAOYSA-N 0.000 description 1
- 229910003437 indium oxide Inorganic materials 0.000 description 1
- AMGQUBHHOARCQH-UHFFFAOYSA-N indium;oxotin Chemical compound [In].[Sn]=O AMGQUBHHOARCQH-UHFFFAOYSA-N 0.000 description 1
- 150000002576 ketones Chemical class 0.000 description 1
- 239000010410 layer Substances 0.000 description 1
- 239000007788 liquid Substances 0.000 description 1
- 239000000314 lubricant Substances 0.000 description 1
- 238000004519 manufacturing process Methods 0.000 description 1
- 239000000463 material Substances 0.000 description 1
- 239000011159 matrix material Substances 0.000 description 1
- 229910052751 metal Inorganic materials 0.000 description 1
- 239000002184 metal Substances 0.000 description 1
- GYNNXHKOJHMOHS-UHFFFAOYSA-N methyl-cycloheptane Natural products CC1CCCCCC1 GYNNXHKOJHMOHS-UHFFFAOYSA-N 0.000 description 1
- 239000000203 mixture Substances 0.000 description 1
- 229910052759 nickel Inorganic materials 0.000 description 1
- LIXVMPBOGDCSRM-UHFFFAOYSA-N nonylbenzene Chemical compound CCCCCCCCCC1=CC=CC=C1 LIXVMPBOGDCSRM-UHFFFAOYSA-N 0.000 description 1
- TVMXDCGIABBOFY-UHFFFAOYSA-N octane Chemical compound CCCCCCCC TVMXDCGIABBOFY-UHFFFAOYSA-N 0.000 description 1
- VXNSQGRKHCZUSU-UHFFFAOYSA-N octylbenzene Chemical compound [CH2]CCCCCCCC1=CC=CC=C1 VXNSQGRKHCZUSU-UHFFFAOYSA-N 0.000 description 1
- 230000003287 optical effect Effects 0.000 description 1
- 230000036961 partial effect Effects 0.000 description 1
- 229920001483 poly(ethyl methacrylate) polymer Polymers 0.000 description 1
- 229920003229 poly(methyl methacrylate) Polymers 0.000 description 1
- 229920000767 polyaniline Polymers 0.000 description 1
- 239000002952 polymeric resin Substances 0.000 description 1
- 239000004926 polymethyl methacrylate Substances 0.000 description 1
- 230000001681 protective effect Effects 0.000 description 1
- 230000009467 reduction Effects 0.000 description 1
- 239000011347 resin Substances 0.000 description 1
- 229920005989 resin Polymers 0.000 description 1
- 239000005060 rubber Substances 0.000 description 1
- 150000004756 silanes Chemical class 0.000 description 1
- 239000000344 soap Substances 0.000 description 1
- 239000003381 stabilizer Substances 0.000 description 1
- 239000000126 substance Substances 0.000 description 1
- 229920003002 synthetic resin Polymers 0.000 description 1
- JZALLXAUNPOCEU-UHFFFAOYSA-N tetradecylbenzene Chemical compound CCCCCCCCCCCCCCC1=CC=CC=C1 JZALLXAUNPOCEU-UHFFFAOYSA-N 0.000 description 1
- 239000010936 titanium Substances 0.000 description 1
- 229910052719 titanium Inorganic materials 0.000 description 1
- 239000004408 titanium dioxide Substances 0.000 description 1
- 230000007704 transition Effects 0.000 description 1
- XBEADGFTLHRJRB-UHFFFAOYSA-N undecylbenzene Chemical compound CCCCCCCCCCCC1=CC=CC=C1 XBEADGFTLHRJRB-UHFFFAOYSA-N 0.000 description 1
- 239000002966 varnish Substances 0.000 description 1
- XLYOFNOQVPJJNP-UHFFFAOYSA-N water Substances O XLYOFNOQVPJJNP-UHFFFAOYSA-N 0.000 description 1
- 239000012463 white pigment Substances 0.000 description 1
- 239000008096 xylene Substances 0.000 description 1
Images
Classifications
-
- G—PHYSICS
- G09—EDUCATION; CRYPTOGRAPHY; DISPLAY; ADVERTISING; SEALS
- G09G—ARRANGEMENTS OR CIRCUITS FOR CONTROL OF INDICATING DEVICES USING STATIC MEANS TO PRESENT VARIABLE INFORMATION
- G09G3/00—Control arrangements or circuits, of interest only in connection with visual indicators other than cathode-ray tubes
- G09G3/20—Control arrangements or circuits, of interest only in connection with visual indicators other than cathode-ray tubes for presentation of an assembly of a number of characters, e.g. a page, by composing the assembly by combination of individual elements arranged in a matrix no fixed position being assigned to or needed to be assigned to the individual characters or partial characters
- G09G3/34—Control arrangements or circuits, of interest only in connection with visual indicators other than cathode-ray tubes for presentation of an assembly of a number of characters, e.g. a page, by composing the assembly by combination of individual elements arranged in a matrix no fixed position being assigned to or needed to be assigned to the individual characters or partial characters by control of light from an independent source
- G09G3/3433—Control arrangements or circuits, of interest only in connection with visual indicators other than cathode-ray tubes for presentation of an assembly of a number of characters, e.g. a page, by composing the assembly by combination of individual elements arranged in a matrix no fixed position being assigned to or needed to be assigned to the individual characters or partial characters by control of light from an independent source using light modulating elements actuated by an electric field and being other than liquid crystal devices and electrochromic devices
- G09G3/344—Control arrangements or circuits, of interest only in connection with visual indicators other than cathode-ray tubes for presentation of an assembly of a number of characters, e.g. a page, by composing the assembly by combination of individual elements arranged in a matrix no fixed position being assigned to or needed to be assigned to the individual characters or partial characters by control of light from an independent source using light modulating elements actuated by an electric field and being other than liquid crystal devices and electrochromic devices based on particles moving in a fluid or in a gas, e.g. electrophoretic devices
-
- G—PHYSICS
- G09—EDUCATION; CRYPTOGRAPHY; DISPLAY; ADVERTISING; SEALS
- G09G—ARRANGEMENTS OR CIRCUITS FOR CONTROL OF INDICATING DEVICES USING STATIC MEANS TO PRESENT VARIABLE INFORMATION
- G09G2300/00—Aspects of the constitution of display devices
- G09G2300/08—Active matrix structure, i.e. with use of active elements, inclusive of non-linear two terminal elements, in the pixels together with light emitting or modulating elements
-
- G—PHYSICS
- G09—EDUCATION; CRYPTOGRAPHY; DISPLAY; ADVERTISING; SEALS
- G09G—ARRANGEMENTS OR CIRCUITS FOR CONTROL OF INDICATING DEVICES USING STATIC MEANS TO PRESENT VARIABLE INFORMATION
- G09G2310/00—Command of the display device
- G09G2310/02—Addressing, scanning or driving the display screen or processing steps related thereto
- G09G2310/0264—Details of driving circuits
- G09G2310/0275—Details of drivers for data electrodes, other than drivers for liquid crystal, plasma or OLED displays, not related to handling digital grey scale data or to communication of data to the pixels by means of a current
-
- G—PHYSICS
- G09—EDUCATION; CRYPTOGRAPHY; DISPLAY; ADVERTISING; SEALS
- G09G—ARRANGEMENTS OR CIRCUITS FOR CONTROL OF INDICATING DEVICES USING STATIC MEANS TO PRESENT VARIABLE INFORMATION
- G09G2310/00—Command of the display device
- G09G2310/04—Partial updating of the display screen
-
- G—PHYSICS
- G09—EDUCATION; CRYPTOGRAPHY; DISPLAY; ADVERTISING; SEALS
- G09G—ARRANGEMENTS OR CIRCUITS FOR CONTROL OF INDICATING DEVICES USING STATIC MEANS TO PRESENT VARIABLE INFORMATION
- G09G2310/00—Command of the display device
- G09G2310/06—Details of flat display driving waveforms
- G09G2310/061—Details of flat display driving waveforms for resetting or blanking
-
- G—PHYSICS
- G09—EDUCATION; CRYPTOGRAPHY; DISPLAY; ADVERTISING; SEALS
- G09G—ARRANGEMENTS OR CIRCUITS FOR CONTROL OF INDICATING DEVICES USING STATIC MEANS TO PRESENT VARIABLE INFORMATION
- G09G2320/00—Control of display operating conditions
- G09G2320/02—Improving the quality of display appearance
- G09G2320/0233—Improving the luminance or brightness uniformity across the screen
-
- G—PHYSICS
- G09—EDUCATION; CRYPTOGRAPHY; DISPLAY; ADVERTISING; SEALS
- G09G—ARRANGEMENTS OR CIRCUITS FOR CONTROL OF INDICATING DEVICES USING STATIC MEANS TO PRESENT VARIABLE INFORMATION
- G09G2320/00—Control of display operating conditions
- G09G2320/02—Improving the quality of display appearance
- G09G2320/0257—Reduction of after-image effects
-
- G—PHYSICS
- G09—EDUCATION; CRYPTOGRAPHY; DISPLAY; ADVERTISING; SEALS
- G09G—ARRANGEMENTS OR CIRCUITS FOR CONTROL OF INDICATING DEVICES USING STATIC MEANS TO PRESENT VARIABLE INFORMATION
- G09G2330/00—Aspects of power supply; Aspects of display protection and defect management
- G09G2330/02—Details of power systems and of start or stop of display operation
- G09G2330/021—Power management, e.g. power saving
Landscapes
- Engineering & Computer Science (AREA)
- Physics & Mathematics (AREA)
- Computer Hardware Design (AREA)
- General Physics & Mathematics (AREA)
- Theoretical Computer Science (AREA)
- Control Of Indicators Other Than Cathode Ray Tubes (AREA)
- Electrochromic Elements, Electrophoresis, Or Variable Reflection Or Absorption Elements (AREA)
Description
また、上記の反転消去時の問題点とは別に、電気泳動表示装置では、表示させた画像成分(例えば黒表示部分)を形成する画素が孤立している場合と、互いに隣接している場合とでは表示色(黒色)の濃さが変わることがあり、表示むらが発生するという課題もあった。
また、入力対象の前記画素データを、当該画素データの周囲の画素データの情報に基づいて反転させることを特徴とする。
本発明によれば、画像データ入力回路を備えることにより必要な回路要素とともに1チップ化することができ、別チップあるいは単品で構成されることが多かった従来の構成に比べて、省スペース化を実現することができるとともに、コスト削減を図ることができる。
本発明によれば、残像を発生させずに画像を消去する機能や表示むらのない高品質の画像を表示する機能を備えた表示手段を具備した電子機器となる。
図1は、本発明の電気光学装置の一実施形態である電気泳動表示装置の全体構成を示している。
電気泳動表示装置(電気光学装置)100は、図1に示すように、素子基板2と、制御手段としてのコントローラ3と、画像データ入力回路4とを備えている。素子基板2の表面には、表示部5と、その周辺領域に走査線駆動回路6及び駆動手段としてのデータ線駆動回路7とが形成されている。これら走査線駆動回路6及びデータ線駆動回路7には、コントローラ3から直接又は画像データ入力回路4を介して制御信号や画像信号が提供されている。
画像データ入力回路4は、1行分の画素データからなる行データの集合である画像データを入力する駆動回路であって、複数のラインメモリを有した記憶部14と、データ補正回路15とを備えている。
電気泳動表示装置100は、複数の画素40が配列された表示部5を有している。表示部5の周辺には、走査線駆動回路6およびデータ線駆動回路7が配置されている。走査線駆動回路6及びデータ線駆動回路7は、それぞれ上記コントローラ3と接続されている。
なお、本実施形態では、背景が白の場合の画像データ(画素データ)「0」(白)を規定する場合には、言い換えれば白のままにする場合には、ローレベル(L)の画像信号を画素40に供給し、画像データ(画素データ)「1」(黒)を規定する場合はハイレベル(H)の画像信号を画素40に供給する。また、中間階調の画素データを規定する場合にはLからHの中間のレベルの画像信号を画素40に供給する。
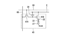
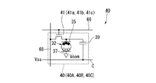
表示部5の各画素40には、選択トランジスタ41、画素電極35、電気泳動素子32(電気光学物質層)、共通電極37、及び保持容量39が設けられている。
保持容量39の一方の電極は選択トランジスタ41のドレインに接続され、他方の電極は容量線Cに接続されている。
この画素回路においては、走査線66が選択されると選択トランジスタ41がオン状態となり、データ線68から選択トランジスタ41を介して画素電極35に画像信号が入力されるとともに、保持容量39が充電される。走査線66が非選択となると選択トランジスタ41はオフ状態となるが、その後も保持容量39に蓄えられたエネルギーで電気泳動素子32の荷電粒子を移動させる。
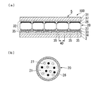
電気泳動表示装置100は、素子基板2と対向基板31との間に、複数のマイクロカプセル20を配列してなる電気泳動素子32を挟持した構成を備えている。表示部5において、素子基板2の電気泳動素子32側には複数の画素電極35が配列形成されており、電気泳動素子32は接着剤層33を介して画素電極35と接着されている。
マイクロカプセル20は、例えば50μm程度の粒径を有しており、内部に分散媒21と、複数の白色粒子(電気泳動粒子)27と、複数の黒色粒子(電気泳動粒子)26とを封入した球状体である。マイクロカプセル20は、図5(a)に示すように共通電極37と画素電極35とで挟持され、1つの画素40内に1つ又は複数のマイクロカプセル20が配置される。
分散媒21は、白色粒子27と黒色粒子26とをマイクロカプセル20内に分散させる液体である。分散媒21としては、水、アルコール系溶媒(メタノール、エタノール、イソプロパノール、ブタノール、オクタノール、メチルセルソルブなど)、エステル類(酢酸エチル、酢酸ブチルなど)、ケトン類(アセトン、メチルエチルケトン、メチルイソブチルケトンなど)、脂肪族炭化水素(ぺンタン、ヘキサン、オクタンなど)、脂環式炭化水素(シクロへキサン、メチルシクロへキサンなど)、芳香族炭化水素(ベンゼン、トルエン、長鎖アルキル基を有するベンゼン類(キシレン、ヘキシルベンゼン、ヘブチルベンゼン、オクチルベンゼン、ノニルベンゼン、デシルベンゼン、ウンデシルベンゼン、ドデシルベンゼン、トリデシルベンゼン、テトラデシルベンゼンなど))、ハロゲン化炭化水素(塩化メチレン、クロロホルム、四塩化炭素、1,2−ジクロロエタンなど)、カルボン酸塩などを例示することができ、その他の油類であってもよい。これらの物質は単独又は混合物として用いることができ、さらに界面活性剤などを配合してもよい。
これらの顔料には、必要に応じ、電解質、界面活性剤、金属石鹸、樹脂、ゴム、油、ワニス、コンパウンドなどの粒子からなる荷電制御剤、チタン系カップリング剤、アルミニウム系カップリング剤、シラン系カップリング剤等の分散剤、潤滑剤、安定化剤などを添加することができる。
また、黒色粒子26及び白色粒子27に代えて、例えば赤色、緑色、青色などの顔料を用いてもよい。かかる構成によれば、表示部5に赤色、緑色、青色などを表示することができる。
図6(a)に示す白表示の場合には、共通電極37が相対的に高電位、画素電極35が相対的に低電位に保持される。これにより、負に帯電した白色粒子27が共通電極37に引き寄せられる一方、正に帯電した黒色粒子26が画素電極35に引き寄せられる。その結果、表示面側となる共通電極37側からこの画素を見ると、白色(W)が認識される。
図6(b)に示す黒表示の場合、共通電極37が相対的に低電位、画素電極35が相対的に高電位に保持される。これにより、正に帯電した黒色粒子26が共通電極37に引き寄せられる一方、負に帯電した白色粒子27が画素電極35に引き寄せられる。その結果、共通電極37側からこの画素を見ると黒色(B)が認識される。
画像データ入力回路4は、図7(a)に示すように複数のラインメモリLM1,LM2,LM3からなる記憶部14と、データ補正回路15とを備えている。この画像データ入力回路4は、入力対象の画素40に対応する画素データを、画像データを構成する画素データの周囲の画素データの情報に基づいて補正し、補正された画素データをデータ線駆動回路7へ供給する回路である。
次に、電気泳動表示装置100における画像更新に係る駆動方法について説明する。本実施形態では、一例として、表示部5に「Ab」の画像を表示した後、当該画像を消去して全面白表示とし、その後に所定画像に更新する場合の駆動方法について説明する。
本実施形態の画像更新に係るステップは、画像表示ステップS101と、画像消去ステップS102と、更新画像表示ステップS103とを有している。
まず、画像表示ステップS101について説明する。画像表示ステップS101は、表示部5に画像を表示するステップである。具体的に、本実施形態の画像表示ステップS101では、図9(a)に示す画像P1を表示部5に表示させる。
また本実施形態の場合、画像P1が1画素幅の線画からなる文字画像であるため、画素40Aは画像P1を形成する画素であるとともに、画像P1の輪郭を形成する画素でもある。
画像P1が表示された後は、少なくとも共通電極37がハイインピーダンス状態に保持される。これにより、以降の画素40の表示状態の変更が防止され、表示画像P1が保持される。
次に、画像消去ステップS102について説明するが、それに先立って、従来の駆動方法(反転消去)における問題点について図18及び図19を参照しつつ説明する。
図18は、画像P1を選択消去したときの表示部5の変化を示す図である。図18(a)は消去動作前の状態を示し、図18(b)は、画像P1を形成する画素40Aのみを駆動して画像P1を選択消去した後の状態を示している。
しかしながら、このような消去方法を実行するためには、図19(b)に示すように、画像P1の画像データF1に、輪郭部分の画像データF2を追加した消去用の画像データを作成する必要がある。そうすると、ホストコンピューターPCやコントローラ3に、画像P1に対応する画像データを保持する第1フレームメモリの他に消去用の画像データを保持する第2フレームメモリ等を設ける必要が生じる。また、画像データ生成の演算処理によってCPUの処理時間や消費電力が増大する。
例えば、第1ラインメモリLM1に(i+1)行目の行データが取り込まれ、第2ラインメモリLM2にi行目のデータが取り込まれ、第3ラインメモリLM3に(i−1)行目のデータが取り込まれている場合に、入力対象の画素データがi行目の行データのj番地の画素データdi,jであるとする。このとき、データ補正回路15は、上記の画素データdi,jとともに、この画素データdi,jと隣り合う画素データをもラインメモリLM1〜LM3から取得する。その後、データ補正回路15は、下記の式(1)に示すように、取得した周辺の画素データの情報(ここでは階調値)を用いたブール代数演算を実施する。
そして、データ補正回路15は、下記の表1に示す9入力の論理和回路で構成されており、入力対象の画素データdi,jが「1」(黒)である場合はもちろんのこと、入力対象の画素データに隣接する周辺の画素データのいずれか1つでも「1」(黒)であれば、演算結果としての入力対象の画素データdは、「1」となる。
次に、更新画像表示ステップS103に移行すると、コントローラ3により表示部5に更新画像が表示される。この更新画像表示ステップS103における具体的な動作は、先の画像表示ステップS101と同様である。すなわち、コントローラ3から出力された更新画像の画像データは、行データ毎にラインメモリLM1〜LM3に順次取り込まれる。そして、第2ラインメモリLM2に保持されている行データが、データ補正回路15によって補正されることなくデータ線駆動回路7に転送される。データ線駆動回路7は、入力された画像データから画像信号を生成し、対応するデータ線68を介して画素40に供給する。このようにして所定の更新画像が表示部5に表示される。
よって、大規模な回路の追加やCPU負荷(処理時間、電力)がなく、迅速な輪郭消去が低消費で可能となり、残像のない高画質が得られる。
例えば、図10に示すように、選択トランジスタ41Aと、駆動トランジスタ41Bと、画素電極35と、電気泳動素子32と、共通電極37と、保持容量39とを備え、走査線66に対応して行単位で形成された電源線Eに保持容量39と駆動トランジスタ41Bとが接続された構成であってもよい。
(変形例1)
先に記載した第1実施形態においては、輪郭消去時の輪郭の幅を1画素としていたが、画素サイズ等によっては2画素以上が好ましいことがある。
変形例1では、図11(a)に示すように、5つのラインメモリLM1、LM2、LM3、LM4、LM5と、データ補正回路15とからなる画像データ入力回路4と、図11(b)に示すデータ線駆動回路7とを備えた構成とし、下記の式(2)を用いてブール代数和を計算する。
データ補正回路15は、上記のフィルタにより、画像P1の画像データ(画像P1を形成する画素40Aの画素データ)の入力を受けて、画素40Aと隣り合って配置され背景を構成する画素40Bと、画素40Bの画素40Aとは反対側で画素40Bと隣り合って配置され背景を構成する画素40bとに対して、値「1」の画素データを設定する。ここでは、画像P1に対応する画素40Aと、画素40Aの上下方向及び左右方向に並ぶ2つの画素40B,40bと、画素40Aの斜め方向に並ぶ2つ画素40B,40bに対応する画素データにより輪郭消去データ(入力対象の画像データ)が構成される。つまり、データ補正回路15は、画像P1の輪郭を2画素分外側に拡張する補正を加えた画像データを生成し、データ線駆動回路7に供給する。
データ線駆動回路7は、上記画像データの入力を受けて、各画素40A,40B,40bに対して、画素を白表示動作させる電圧あるいは電流を出力する。
ここでは、画像P1に対応する画素40Aと、画素40Aの上下方向及び左右方向に配置された2つの画素40B,40bと、画素40Aの斜め方向に配置された1つ画素40Bとにより輪郭消去データが構成される。この画像データの入力を受けたデータ線駆動回路7は、消去領域を構成する画素40A、40B、40bに対して、画素を白表示動作させる電圧あるいは電流を供給する。
このように、消去用画像データの輪郭を形成する複数の画素40bを1画素おきに配置し、消去領域の外周端をギザギザの形状とすることにより、背景との境界が直線状とならず見えにくくなる。
反転消去を行ったときの残像は、階調の異なる画素40に挟まれた境界部分に発生するため、斜め方向で階調の異なる画素40が隣り合っていたとしても、これらの画素40の境界はそれらの角部近傍のみであるため、残像が比較的生じにくい。このような場合に表5に示すフィルタを適用すれば、残像が生じやすい領域に確実に消去領域を設定しつつ、残像が生じにくい領域の画素40は消去時に駆動しないようにすることができ、電力消費が抑えられる。
次に、第1実施形態の変形例2について説明する。
上記第1実施形態及び変形例1では、発明を理解しやすくするためにフィルタの係数値を「0」「1」の2値としていたが、階調表示が可能な電気泳動表示装置である場合には、データ補正回路15によって画素データの階調値を補正してデータ線駆動回路7に出力する構成とすることもできる。表6は、変形例2に係るデータ補正回路15に備えられるフィルタの形を示すものである。表6に示すフィルタを備えたデータ補正回路15は、25入力の論理和回路であり、入力対象の画素データdi,jとその周囲の画素データの階調値に、対応する番地のフィルタの係数値(wi,j)を掛けて重み付けし、これの算術和を算出したものを補正後の画素データdとして設定する(下記式(4)参照)。そして、補正された画素データdをデータ線駆動回路7に出力する。
なお、この場合にデータ線駆動回路7が、補正された画素データdに対応する電圧信号又は電流信号をデータ線68に出力可能に構成されるのはもちろんである。
例えば、入力対象の画素データdi,jから1画素分の距離に位置する画素データdi-1,j-1、di-1,i、di-1,j+1、di,j-1、di,j+1、di+1,j-1、di+1,j、di+1,j+1に対応する係数値wi-1,j-1、wi-1,i、wi-1,j+1、wi,j-1、wi,j+1、wi+1,j-1、wi+1,j、wi+1,j+1を、2画素分の距離に位置する画素データdi-2,j-2、di-2,i-1、di-2,j、di-2,j+1、di-2,j+2、di-1,j-2、di-1,j+2、di,j-2、di,i+2、di+1,j-2、di+1,j+2、di+2,j-2、di+2,j-1、di+2,j、di+2,j+1、di+2,j+2に対応する係数値wi-2,j-2、wi-2,i-1、wi-2,j、wi-2,j+1、wi-2,j+2、wi-1,j-2、wi-1,j+2、wi,j-2、wi,i+2、wi+1,j-2、wi+1,j+2、wi+2,j-2、wi+2,j-1、wi+2,j、wi+2,j+1、wi+2,j+2の2倍に設定し、入力対象の画素データdi,jと隣り合う画素の情報の貢献度を高く設定することもできる。
なお、変形例2では5行5列の画素データを用いて入力対象の画素データの補正を行うこととしたが、これに限定されるものではなく、必要に応じて行数及び列数を増減することができる。
次に、本発明の第2実施形態について説明する。なお、第1実施形態と同一の構成要素については、その説明を省略する。
図14(a)は、複数の画像P11〜P13を表示させたときの表示部5の状態を示す図である。図14(b)は、複数の画像P11〜P13に対応する画像データ(フレームメモリに展開された状態)を示す図である。なお、図14(b)では黒表示に対応する画素データの値を「1」とする一方、白表示の画素データ(「0」)は省略して空白にしてある。
具体的には、画像P11では、輪郭部分に位置する1画素幅の枠状領域を構成する画素40cの表示色が、内側に配置された画素40sよりも薄い黒色(グレー)になってしまう。また、画像P12では、全体が画像P11の画素40cよりも薄いグレー表示となり、そのうちでも両端の画素40dが、内側の画素40eよりも薄いグレー表示になる。また、単一の画素40fからなる画像P13では、画像P12の画素40dよりもさらに薄いグレー表示になる。
つまり、複数の画素40に対して同じ黒にする電圧を印加したとしても、その周りを取り囲む白色の画素40Bの個数が多くなるほど(黒の画素が孤立するほど)表示色が白に近いグレー表示になる。
図15に示すように、電気泳動表示装置200は、画像データ入力回路204を備えている。画像データ入力回路204は、3つのラインメモリLM1〜LM3からなる記憶部14と、記憶部14と接続されたデータ補正回路215とを備えている。データ補正回路215は、データ線駆動回路7及びコントローラ3と接続されており、コントローラ3からは書込回数Cwが入力される。
詳細は後述するが、データ補正回路215は、コントローラ3から入力される書込回数Cwの値と、算術和sumの値とに基づいて異なる動作を実行する。
図16は、本実施形態の電気泳動表示装置200の駆動方法を示すフローチャートであり、図17は、データ補正回路215の動作を示すフローチャートである。
画像表示ステップS202では、例えば図14(a)に示すような複数の画像P11,P12,P13に対応する画像データ(図14(b)参照)を用いて、表示部5に4回の画像書き込み動作が行われる。このとき、画像P11〜P13の画像データは、画像データ入力回路204を経由してデータ線駆動回路7に供給されるが、画像データ入力回路204のデータ補正回路215は、図15に示すように、コントローラ3から記憶部14を介して入力される画素データ(算術和sum)と、コントローラ3から入力される書込回数Cwとに基づいて異なる動作を実行する。
データ補正回路215では、第2ラインメモリLM2に入力対象のi行目の行データの入力が入力されたタイミングで、図17に示すステップST21が開始される。ステップST21において、データ補正回路215には、コントローラ3から書込回数Cw(=1)が入力され、ラインメモリLM1〜LM3から入力対象の画素データdi,jが順次入力される。
このように、本実施形態の駆動方法では、2フレーム目までは、コントローラ3から供給される画像データをそのままデータ線駆動回路7に供給し、表示部5への画像表示動作を行う。
ステップST26におけるsumの値評価において、sumの値が7以上である場合(すなわち、入力対象の画素データdi,jの周囲の7画素以上が黒表示に対応する画素データである場合)には、ステップST27に移行する。そして、ステップST27において入力対象の画素データdi,jは破棄され、補正後の画素データd=0がデータ線駆動回路7に供給される。つまり、周囲に黒表示の画素40が多数配置されている画素40では3回目の書き込みは行われないことになる。
一方、sumの値が7未満である場合には、ステップST28に移行する。ステップST28では、入力対象の画素データdi,jを補正することなくそのまま画素データdとしてデータ線駆動回路7に供給する。つまり、周囲に黒表示の画素40が比較的少ない(0以上6個以下である)場合には、3回目の黒書き込みが行われることになる。
一方、sumの値が3未満である場合には、ステップST33に移行する。ステップST33では、入力対象の画素データdi,jを補正することなくそのまま画素データdとしてデータ線駆動回路7に供給する。つまり、周囲に黒表示の画素40が0〜2個のみ配置されている場合には、4回目の黒書き込みが行われることになる。
なお、周囲の黒データ数と書込回数の関係は、一例を示したに過ぎず、表示むらの程度に応じて適宜設定することができる。
次に、第2実施形態の変形例について説明する。
上記第2実施形態では、周囲の黒データ数に応じて画素40を駆動する回数(書込回数)を調整することで、表示むらを解消するものとしたが、階調表示が可能な電気泳動表示装置である場合には、データ補正回路215によって画素データの階調値を補正してデータ線駆動回路7に出力する構成とすることもできる。
なお、この場合にデータ線駆動回路7が、補正された画素データdに対応する電圧信号又は電流信号をデータ線68に出力可能に構成されるのはもちろんである。また表6に示した5行5列単位に限定するものではなく、必要に応じて行数及び列数を増減してもよい。
図14に示したように、画素40c〜40fは、周囲に配置された黒表示の画素40の個数が少ないものほど黒表示が薄くなる。そこで、表10に示すように、周囲の黒表示の画素40の個数に応じて、最も濃い黒表示が得られる画素40sの階調値に対して1.2〜1.5倍とする。これにより、画素40c〜40fにおいて、電気泳動素子32に印加する電圧ないし入力する電流を画素40sによりも多くすることができ、黒表示が薄くなるのを防止することができる。
また、上記各実施形態では、記憶部14がラインメモリである場合について説明したが、1フレーム分の画像データを保持するフレームメモリであってもよい。本発明の場合、元の画像データは変更せず、データ補正回路15,215を介してデータ線駆動回路7に転送する際に、画素データの生成や変更を行うため、表示用の画像データを保持するフレームメモリからデータ補正回路15,215に画素データを直接供給してもよい。
特に書き込みあるいは消去を複数回実行する場合に、上位装置から画像データを転送せずに済むので、消費電力が抑えられ、上位装置内のCPUの処理時間も省くことができる。
次に、本発明の第3実施形態について説明する。
図20は、本発明の電気光学装置の一実施例である電子ブックリーダーの外観図、図21は、電子ブックリーダーの内部構成を示す図である。
図20に示すように、電子ブックリーダー300は、筐体101と、筐体101の一方の面に形成された矩形状の開口部101aに装着された電気泳動表示パネル119とを備えている。筐体101には、ページ送りボタン105と、ページ戻しボタン106と、決定ボタン108と、スキップ送りボタン115と、スキップ戻しボタン116と、が設けられている。
スキップ送りボタン115は、1回押される毎に、例えば10ページ先のページを表示させる機能を起動する操作部である。スキップ戻しボタン116は、1回押される毎に、例えば10ページ前のページを表示させる機能を起動する操作部である。スキップ送りボタン115及びスキップ戻しボタン116のページスキップ数は任意に設定することができる。
また、CPU102は、入力I/F109から後述するページ送り信号が出力されていると、電気泳動表示パネル119に表示されているドキュメントの次ページに対応する画像データ(以下、ラスタデータとも呼ぶ。)を生成し、そのラスタデータをVRAM110に格納する。
なお、ワークメモリ103としては、FeRAM(Ferroelectric Random Access Memory)やMRAM(Magnetoresistive random access memory)等の不揮発性メモリを使用する。
ワークメモリ103として不揮発メモリを使用することで、利用者によるコンテンツの閲覧時間に関わらず、1ページ分のコンテンツの表示に消費されるワークメモリ103の消費電力を一定とすることができ、表示可能ページ数を容易かつ正確に算出することができる。これに対してワークメモリ103として駆動用電池の電力を消費するDRAM(Dynamic Random Access Memory)等の揮発性メモリを使用する方法では、コンテンツの閲覧時間に応じてワークメモリ103の消費電力が変化してしまい、表示可能ページ数を精度よく算出することが困難となる。
なお、プログラムメモリ104内の各種プログラム及びデータは、いずれもCPU102により読み取り及び実行可能な形式で格納されている。
表示部制御回路111は、全体制御部140と、画像データ書込制御部141と、タイミング信号生成部142と、記憶装置制御部144と、画像データ読出制御部145と、画像信号生成部146と、選択信号生成部147とを有してなり、このような表示部制御回路111には電気泳動表示パネル119が接続されている。電気泳動表示パネル119は、電気泳動素子を備えた表示部150、走査線駆動回路120、およびデータ線駆動回路121を備えている。
従来の構成では、電気泳動表示パネル119に対して画像データに基づく画像信号を供給する走査線駆動回路120およびデータ線駆動回路121と、これら駆動回路120,121を駆動するCPU102や表示部制御回路111等とは別チップあるいは単品で構成されることが多かったが、本実施形態ではこれらを同一基板上に実装させることで複数の単独チップを1チップ化することができ、省スペース化を実現することができた。また、1チップに集約化することで、従来よりも大幅なコスト削減及び低消費電力化を図ることが可能である。
次に、上記各実施形態の電気泳動表示装置100を、電子機器に適用した場合について説明する。
図23は電子ペーパー1100の構成を示す斜視図である。電子ペーパー1100は、上記実施形態の電気泳動表示装置100を表示領域1101に備えている。電子ペーパー1100は可撓性を有し、従来の紙と同様の質感及び柔軟性を有する書き換え可能なシートからなる本体1102を備えて構成されている。
Claims (5)
- 行方向に延びる複数の走査線と、列方向に延びる複数のデータ線と、前記走査線とデータ線との交差位置に設けられた複数の画素と、当該複数の画素を配列してなる表示部に対して画像データに基づく画像信号を供給する駆動回路と、前記画像データを前記駆動回路に入力する画像データ入力回路とを備えた電気泳動表示装置であって、
前記画像データ入力回路が、
前記画像データの1行分の画素データからなる行データのうち入力対象の前記行データを含む連続した複数行の前記行データを保持する記憶部と、
入力対象の前記画素データをその周囲の画素データとともに前記記憶部から読み出し、入力対象の前記画素データを、前記周囲の画素データの情報に基づいて補正するデータ補正回路と、を備え、
前記画像データが前記表示部に複数階調を含む表示画像を表示させる画像データであり、前記データ補正回路は、入力対象の前記画素データの階調値を、前記周囲の画素データの階調値の算術和に基づいて補正することを特徴とする電気泳動表示装置。 - 複数の画素を配列してなる表示部と、前記表示部に対して画像データに基づく画像信号を供給する駆動回路と、前記画像データを前記駆動回路に入力する画像データ入力回路と、を備え、前記画像データ入力回路が、前記画像データの1行分の画素データからなる行データのうち入力対象の前記行データを含む連続した複数行の前記行データを保持する記憶部と、入力対象の前記画素データをその周囲の画素データとともに前記記憶部から読み出し、入力対象の前記画素データを、前記周囲の画素データの情報に基づいて補正するデータ補正回路と、を有する電気泳動表示装置の駆動方法であって、
各々の前記画素に対応する前記画素データを前記駆動回路に入力するに際して、入力対象の前記画素に対応する画素データを、前記画像データにおける前記画素データの周囲の画素データの情報に基づいて補正し、補正された前記画素データを前記駆動回路に入力するステップを有し、入力対象の前記画素データの階調値を、前記周囲の画素データの階調値の算術和に基づいて補正することを特徴とする電気泳動表示装置の駆動方法。 - 同一の前記画像データを用いた複数回の表示動作を行うに際して、
入力対象の前記画素に対する書き込み回数を、前記周囲の画素データの情報に基づいて設定することを特徴とする請求項2に記載の電気泳動表示装置の駆動方法。 - 複数の画素を配列してなる表示部と、前記表示部に対して画像データに基づく画像信号を供給する駆動回路と、前記画像データを前記駆動回路に入力する画像データ入力回路と、を備え、前記画像データ入力回路が、前記画像データの1行分の画素データからなる行データのうち入力対象の前記行データを含む連続した複数行の前記行データを保持する記憶部と、入力対象の前記画素データをその周囲の画素データとともに前記記憶部から読み出し、入力対象の前記画素データを、前記周囲の画素データの情報に基づいて補正するデータ補正回路と、を有する電気泳動表示装置を制御するためのコントローラであって、
各々の前記画素に対応する画素データからなる画像データを前記駆動回路に入力するに際して、入力対象の前記画素に対応する画素データを、前記画像データにおける前記画素データの周囲の画素データの情報に基づいて補正し、補正された前記画素データを前記駆動回路に入力するステップを有し、入力対象の前記画素データの階調値を、前記周囲の画素データの階調値の算術和に基づいて補正することを特徴とするコントローラ。 - 請求項1に記載の電気泳動表示装置を備えたことを特徴とする電子機器。
Priority Applications (6)
| Application Number | Priority Date | Filing Date | Title |
|---|---|---|---|
| JP2010125917A JP5652002B2 (ja) | 2009-11-13 | 2010-06-01 | 電気泳動表示装置、電気泳動表示装置の駆動方法、コントローラ、電子機器 |
| TW099138735A TWI536088B (zh) | 2009-11-13 | 2010-11-10 | 光電裝置、光電裝置之驅動方法、控制器、電子機器 |
| CN201010546654.6A CN102063869B (zh) | 2009-11-13 | 2010-11-11 | 电泳显示装置、电泳显示装置的驱动方法、控制器和电子设备 |
| CN201410532139.0A CN104282273B (zh) | 2009-11-13 | 2010-11-11 | 电光装置、电光装置的驱动方法、控制器和电子设备 |
| KR1020100112539A KR20110053199A (ko) | 2009-11-13 | 2010-11-12 | 전기 광학 장치, 전기 광학 장치의 구동 방법, 컨트롤러, 전자 기기 |
| US12/945,015 US9117411B2 (en) | 2009-11-13 | 2010-11-12 | Electro-optic device, method of driving electro-optic device, controller, and electronic apparatus |
Applications Claiming Priority (3)
| Application Number | Priority Date | Filing Date | Title |
|---|---|---|---|
| JP2009259844 | 2009-11-13 | ||
| JP2009259844 | 2009-11-13 | ||
| JP2010125917A JP5652002B2 (ja) | 2009-11-13 | 2010-06-01 | 電気泳動表示装置、電気泳動表示装置の駆動方法、コントローラ、電子機器 |
Publications (2)
| Publication Number | Publication Date |
|---|---|
| JP2011123470A JP2011123470A (ja) | 2011-06-23 |
| JP5652002B2 true JP5652002B2 (ja) | 2015-01-14 |
Family
ID=43999124
Family Applications (1)
| Application Number | Title | Priority Date | Filing Date |
|---|---|---|---|
| JP2010125917A Active JP5652002B2 (ja) | 2009-11-13 | 2010-06-01 | 電気泳動表示装置、電気泳動表示装置の駆動方法、コントローラ、電子機器 |
Country Status (5)
| Country | Link |
|---|---|
| US (1) | US9117411B2 (ja) |
| JP (1) | JP5652002B2 (ja) |
| KR (1) | KR20110053199A (ja) |
| CN (2) | CN104282273B (ja) |
| TW (1) | TWI536088B (ja) |
Families Citing this family (18)
| Publication number | Priority date | Publication date | Assignee | Title |
|---|---|---|---|---|
| JP5736666B2 (ja) * | 2010-04-05 | 2015-06-17 | セイコーエプソン株式会社 | 電気光学装置、電気光学装置の駆動方法、電気光学装置の制御回路、電子機器 |
| JP5779992B2 (ja) * | 2011-05-31 | 2015-09-16 | セイコーエプソン株式会社 | 入力機能付表示装置 |
| CN102231262A (zh) * | 2011-06-14 | 2011-11-02 | 汉王科技股份有限公司 | 电子阅读器及其屏温检测方法 |
| JP5874379B2 (ja) * | 2011-12-20 | 2016-03-02 | セイコーエプソン株式会社 | 電気泳動表示装置の駆動方法、電気泳動表示装置、電子機器及び電子時計 |
| JP5950109B2 (ja) * | 2012-09-11 | 2016-07-13 | セイコーエプソン株式会社 | 電気泳動表示装置の駆動方法、電気泳動表示装置、電子機器および電子時計 |
| CN110610687B (zh) * | 2013-03-01 | 2022-07-12 | 伊英克公司 | 用于驱动电光显示器的方法 |
| KR102075545B1 (ko) | 2013-08-02 | 2020-02-11 | 삼성디스플레이 주식회사 | 표시 장치 |
| TWI582511B (zh) * | 2014-10-31 | 2017-05-11 | 達意科技股份有限公司 | 電泳式顯示裝置及其影像處理方法 |
| TWI557717B (zh) * | 2015-12-22 | 2016-11-11 | 矽創電子股份有限公司 | 資料轉換方法及其顯示裝置 |
| JP6811052B2 (ja) * | 2016-08-02 | 2021-01-13 | リンフィニー コーポレーションLinfiny Corporation | 駆動装置、駆動方法、および表示装置 |
| CN110070835B (zh) * | 2018-01-22 | 2021-05-28 | 矽创电子股份有限公司 | 电子纸显示驱动电路 |
| CN109272948B (zh) * | 2018-11-30 | 2021-06-01 | 中山大学 | 基于机器学习的电子纸驱动调试方法、装置及计算机设备 |
| CN110111746B (zh) * | 2019-04-18 | 2021-04-06 | 广州奥翼电子科技股份有限公司 | 一种电泳显示器驱动方法 |
| CN111028781B (zh) * | 2019-12-26 | 2021-04-30 | 厦门天马微电子有限公司 | 显示面板的驱动方法及驱动装置、显示设备 |
| CN111681588A (zh) * | 2020-06-15 | 2020-09-18 | 昆山工研院新型平板显示技术中心有限公司 | 显示面板的驱动装置和驱动方法 |
| CN113936611B (zh) * | 2020-07-13 | 2022-11-08 | 元太科技工业股份有限公司 | 电子纸显示设备及电子纸显示面板的驱动方法 |
| TWI774019B (zh) | 2020-07-13 | 2022-08-11 | 元太科技工業股份有限公司 | 電子紙顯示裝置及電子紙顯示面板的驅動方法 |
| TWI888449B (zh) * | 2020-12-15 | 2025-07-01 | 美商思娜公司 | 像素電路、包含像素電路的顯示裝置及像素電路操作方法 |
Family Cites Families (16)
| Publication number | Priority date | Publication date | Assignee | Title |
|---|---|---|---|---|
| JPH08146912A (ja) * | 1994-11-18 | 1996-06-07 | Fujitsu General Ltd | プラズマディスプレイパネルの駆動方法 |
| US6681053B1 (en) * | 1999-08-05 | 2004-01-20 | Matsushita Electric Industrial Co., Ltd. | Method and apparatus for improving the definition of black and white text and graphics on a color matrix digital display device |
| JP3552105B2 (ja) * | 2000-05-26 | 2004-08-11 | シャープ株式会社 | 図形表示装置、文字表示装置、表示方法、記録媒体およびプログラム |
| US6762744B2 (en) * | 2000-06-22 | 2004-07-13 | Seiko Epson Corporation | Method and circuit for driving electrophoretic display, electrophoretic display and electronic device using same |
| JP3550347B2 (ja) * | 2000-07-21 | 2004-08-04 | 松下電器産業株式会社 | 表示方法 |
| WO2002059864A1 (en) * | 2001-01-26 | 2002-08-01 | Matsushita Electric Industrial Co., Ltd. | Signal processor |
| JP2002297092A (ja) * | 2001-01-26 | 2002-10-09 | Matsushita Electric Ind Co Ltd | 信号処理装置 |
| WO2004086348A1 (en) * | 2003-03-25 | 2004-10-07 | Canon Kabushiki Kaisha | Driving method of display apparatus in which a handwriting can be overweitten on the displayed image |
| EP1627374A1 (en) * | 2003-05-08 | 2006-02-22 | Koninklijke Philips Electronics N.V. | Electrophoretic display and addressing method thereof |
| KR20060024215A (ko) * | 2004-09-13 | 2006-03-16 | 엘지전자 주식회사 | 플라즈마 디스플레이 패널의 데이터 제어방법 및 장치 |
| JP4778859B2 (ja) * | 2006-08-10 | 2011-09-21 | 富士通株式会社 | 画像処理装置、画像処理方法及び画像処理プログラム |
| JP5050608B2 (ja) * | 2007-03-29 | 2012-10-17 | セイコーエプソン株式会社 | 表示システム、表示装置及び表示システムの表示方法 |
| KR101383716B1 (ko) * | 2007-08-17 | 2014-04-10 | 삼성디스플레이 주식회사 | 전기 영동 표시 장치의 구동 장치 및 구동 방법 |
| JP2009128448A (ja) * | 2007-11-20 | 2009-06-11 | Seiko Epson Corp | 駆動制御装置、記憶性表示装置及び記憶性表示装置の駆動方法 |
| JP5262211B2 (ja) * | 2008-03-19 | 2013-08-14 | セイコーエプソン株式会社 | 電気泳動表示装置の駆動方法、電気泳動表示装置及び電子機器 |
| JP5428211B2 (ja) * | 2008-06-13 | 2014-02-26 | セイコーエプソン株式会社 | 電気泳動表示装置の駆動方法 |
-
2010
- 2010-06-01 JP JP2010125917A patent/JP5652002B2/ja active Active
- 2010-11-10 TW TW099138735A patent/TWI536088B/zh active
- 2010-11-11 CN CN201410532139.0A patent/CN104282273B/zh active Active
- 2010-11-11 CN CN201010546654.6A patent/CN102063869B/zh active Active
- 2010-11-12 US US12/945,015 patent/US9117411B2/en active Active
- 2010-11-12 KR KR1020100112539A patent/KR20110053199A/ko not_active Ceased
Also Published As
| Publication number | Publication date |
|---|---|
| JP2011123470A (ja) | 2011-06-23 |
| CN102063869A (zh) | 2011-05-18 |
| CN102063869B (zh) | 2015-09-02 |
| CN104282273A (zh) | 2015-01-14 |
| KR20110053199A (ko) | 2011-05-19 |
| CN104282273B (zh) | 2017-04-12 |
| TW201131271A (en) | 2011-09-16 |
| US20110115759A1 (en) | 2011-05-19 |
| TWI536088B (zh) | 2016-06-01 |
| US9117411B2 (en) | 2015-08-25 |
Similar Documents
| Publication | Publication Date | Title |
|---|---|---|
| JP5652002B2 (ja) | 電気泳動表示装置、電気泳動表示装置の駆動方法、コントローラ、電子機器 | |
| JP5262211B2 (ja) | 電気泳動表示装置の駆動方法、電気泳動表示装置及び電子機器 | |
| JP5125974B2 (ja) | 電気泳動表示装置の駆動方法、電気泳動表示装置及び電子機器 | |
| JP5444953B2 (ja) | 電気泳動表示装置の駆動方法、電気泳動表示装置、及び電子機器 | |
| JP5200700B2 (ja) | 電気泳動表示装置及び電子機器 | |
| JP5169251B2 (ja) | 電気泳動表示装置の駆動方法、電気泳動表示装置、電子機器 | |
| JP5287157B2 (ja) | 電気泳動表示装置の駆動方法、電気泳動表示装置、及び電子機器 | |
| JP5521975B2 (ja) | 電気泳動表示装置の駆動方法、制御回路、および電気泳動表示装置 | |
| CN102067200A (zh) | 用于驱动电光显示器的方法 | |
| CN101739959A (zh) | 电泳显示装置的驱动方法、电泳显示装置以及电子设备 | |
| CN102779482B (zh) | 电光装置的控制方法、电光装置的控制装置、电光装置及电子设备 | |
| JP2009229832A (ja) | 電気泳動表示装置の駆動方法、電気泳動表示装置、及び電子機器 | |
| JP2009175409A (ja) | 電気泳動表示装置の駆動方法、電気泳動表示装置、及び電子機器 | |
| JP2009258616A (ja) | 電気泳動表示装置用駆動回路、電気泳動表示装置及び電子機器 | |
| JP5375007B2 (ja) | マトリクス装置の駆動回路、マトリクス装置、画像表示装置、電気泳動表示装置、及び電子機器 | |
| JP2012237960A (ja) | 電気光学装置の制御方法、電気光学装置の制御装置、電気光学装置、及び電子機器 | |
| JP2010181618A (ja) | 電気泳動表示装置の駆動方法、電気泳動表示装置、及び電子機器 | |
| JP5359840B2 (ja) | 電気泳動表示装置の駆動方法、電気泳動表示装置、及び電子機器 | |
| JP5304324B2 (ja) | 電気泳動表示装置の駆動方法、電気泳動表示装置、及び電子機器 | |
| CN104933994A (zh) | 电泳装置以及电子设备 | |
| JP2009288685A (ja) | 電気泳動表示装置の駆動方法、電気泳動表示装置、及び電子機器 | |
| JP2009229850A (ja) | 画素回路、電気泳動表示装置及びその駆動方法、並びに電子機器 | |
| JP2009237272A (ja) | 電気泳動表示装置及びその駆動方法、並びに電子機器 | |
| CN101540142A (zh) | 电泳显示装置用驱动电路、电泳显示装置以及电子设备 | |
| JP2009198689A (ja) | 電気泳動表示装置とその駆動方法、及び電子機器 |
Legal Events
| Date | Code | Title | Description |
|---|---|---|---|
| RD04 | Notification of resignation of power of attorney |
Free format text: JAPANESE INTERMEDIATE CODE: A7424 Effective date: 20120203 |
|
| A621 | Written request for application examination |
Free format text: JAPANESE INTERMEDIATE CODE: A621 Effective date: 20130515 |
|
| A977 | Report on retrieval |
Free format text: JAPANESE INTERMEDIATE CODE: A971007 Effective date: 20140122 |
|
| A131 | Notification of reasons for refusal |
Free format text: JAPANESE INTERMEDIATE CODE: A131 Effective date: 20140225 |
|
| A521 | Request for written amendment filed |
Free format text: JAPANESE INTERMEDIATE CODE: A523 Effective date: 20140410 |
|
| A02 | Decision of refusal |
Free format text: JAPANESE INTERMEDIATE CODE: A02 Effective date: 20140513 |
|
| A521 | Request for written amendment filed |
Free format text: JAPANESE INTERMEDIATE CODE: A523 Effective date: 20140731 |
|
| A911 | Transfer to examiner for re-examination before appeal (zenchi) |
Free format text: JAPANESE INTERMEDIATE CODE: A911 Effective date: 20140808 |
|
| TRDD | Decision of grant or rejection written | ||
| A01 | Written decision to grant a patent or to grant a registration (utility model) |
Free format text: JAPANESE INTERMEDIATE CODE: A01 Effective date: 20141021 |
|
| A61 | First payment of annual fees (during grant procedure) |
Free format text: JAPANESE INTERMEDIATE CODE: A61 Effective date: 20141103 |
|
| R150 | Certificate of patent or registration of utility model |
Ref document number: 5652002 Country of ref document: JP Free format text: JAPANESE INTERMEDIATE CODE: R150 |
|
| S531 | Written request for registration of change of domicile |
Free format text: JAPANESE INTERMEDIATE CODE: R313531 |
|
| R350 | Written notification of registration of transfer |
Free format text: JAPANESE INTERMEDIATE CODE: R350 |
|
| S111 | Request for change of ownership or part of ownership |
Free format text: JAPANESE INTERMEDIATE CODE: R313113 |
|
| R350 | Written notification of registration of transfer |
Free format text: JAPANESE INTERMEDIATE CODE: R350 |
|
| R250 | Receipt of annual fees |
Free format text: JAPANESE INTERMEDIATE CODE: R250 |
|
| R250 | Receipt of annual fees |
Free format text: JAPANESE INTERMEDIATE CODE: R250 |
|
| R250 | Receipt of annual fees |
Free format text: JAPANESE INTERMEDIATE CODE: R250 |
|
| R250 | Receipt of annual fees |
Free format text: JAPANESE INTERMEDIATE CODE: R250 |
|
| R250 | Receipt of annual fees |
Free format text: JAPANESE INTERMEDIATE CODE: R250 |
|
| R250 | Receipt of annual fees |
Free format text: JAPANESE INTERMEDIATE CODE: R250 |
