JP5651007B2 - X線検査装置 - Google Patents

X線検査装置 Download PDF

Info

Publication number
JP5651007B2
JP5651007B2 JP2010292684A JP2010292684A JP5651007B2 JP 5651007 B2 JP5651007 B2 JP 5651007B2 JP 2010292684 A JP2010292684 A JP 2010292684A JP 2010292684 A JP2010292684 A JP 2010292684A JP 5651007 B2 JP5651007 B2 JP 5651007B2
Authority
JP
Japan
Prior art keywords
ray
component
ratio
conversion coefficient
mass
Prior art date
Legal status (The legal status is an assumption and is not a legal conclusion. Google has not performed a legal analysis and makes no representation as to the accuracy of the status listed.)
Active
Application number
JP2010292684A
Other languages
English (en)
Other versions
JP2012141176A (ja
Inventor
藤本 秀也
秀也 藤本
高田 良光
良光 高田
Original Assignee
アンリツ産機システム株式会社
Priority date (The priority date is an assumption and is not a legal conclusion. Google has not performed a legal analysis and makes no representation as to the accuracy of the date listed.)
Filing date
Publication date
Application filed by アンリツ産機システム株式会社 filed Critical アンリツ産機システム株式会社
Priority to JP2010292684A priority Critical patent/JP5651007B2/ja
Publication of JP2012141176A publication Critical patent/JP2012141176A/ja
Application granted granted Critical
Publication of JP5651007B2 publication Critical patent/JP5651007B2/ja
Active legal-status Critical Current
Anticipated expiration legal-status Critical

Links

Images

Landscapes

  • Length-Measuring Devices Using Wave Or Particle Radiation (AREA)
  • Analysing Materials By The Use Of Radiation (AREA)

Description

本発明は、被検査物にX線を照射して成分比率、例えば、生肉、魚、等の脂肪率を検査するX線検査装置に関し、特に、複数の異なるエネルギー帯のX線の透過データに基づいて成分比率の判定を行う技術に関するものである。
食品などの製造ラインで製品重量を測定するために、近年では、X線照射型の重量測定装置が提案されている。
このX線照射型の重量測定装置は、測定対象の物品にX線を照射し、その透過X線の強度を検出し、物品によるX線の総吸収量を求め、X線吸収量と物品の質量とを関係付ける換算係数を用いて総吸収量を重量換算するというものである。
このX線照射型の重量測定装置は、被検査物の成分が均一である場合に安定して重量が測定でき、従来の重量センサ(荷重センサ)を用いた重量測定装置に比べ、ケースに複数の物品収容部が設けられた被検査物において物品収容部毎の重量を測定する場合、被検査物が短い間隔で高速に搬送される場合、被検査物が連続的に搬送される場合等に有効である。(特許文献1)
一方、生肉、魚、等を取り扱う業界では、その食材の品質の均一性が求められ、その食材の脂肪率を測定する脂肪率測定装置が提案されている。
この脂肪率測定装置は、撮像装置と重量測定装置を有し、撮像装置から得られる測定対象物の外形容積と重量測定装置から得られる測定対象物の重量に基づいて測定対象物の脂肪率を測定している。(特許文献2)
具体的には、測定対象物の外形容積と測定対象物の重量から測定対象物の比重(重量/外形容積)を求め、この比重から脂肪率演算式により脂肪率を演算している。
特開2009−85876号公報 特開2005−227122号公報
しかしながら、重量センサを用いた重量測定装置で重量を測定しているため、被検査物が短い間隔で高速に搬送される場合は重量を測定することができず、脂肪率を測定することができない。また、外観容量と重量に基づいて測定対象物の脂肪率を測定しているため、被検査物が連続的に搬送される場合には、外観容量と重量の両方が測定できず、脂肪率を測定することができない。
請求項1に記載されたX線検査装置は、搬送される被検査物にX線を照射し、前記被検査物を透過した複数の異なるエネルギー帯のX線の透過量を検出する検出手段10と、前記検出手段が出力する前記エネルギー帯毎の透過量に応じた検出信号から前記複数の異なるエネルギー帯の数と同数分の前記被検査物を形成する成分についての質量を求めるための質量換算係数を記憶する換算係数記憶手23と、前記検出手段が出力する前記複数の異なるエネルギー帯毎の検出信号と前記換算係数記憶手段に記憶された成分毎の質量換算係数に基づいて前記被検査物中に含まれる成分の比率を算出する成分比率算出手段28と備えている。
請求項1に記載されたX線検査装置は、搬送される被検査物にX線を照射し、前記被検査物を透過した複数の異なるエネルギー帯のX線の透過量を検出する検出手段10と、前記検出手段が出力する前記エネルギー帯毎の透過量に応じた検出信号から前記複数の異なるエネルギー帯の数と同数分の前記被検査物の成分についての質量を求めるための質量換算係数を記憶する換算係数記憶手23と、前記検出手段が出力する前記複数の異なるエネルギー帯毎の検出信号と前記換算係数記憶手段に記憶された成分毎の質量換算係数に基づいて前記被検査物中に含まれる成分の比率を算出する成分比率算出手段28と備えている。
請求項2に記載されたX線検査装置は請求項1に記載のX線検査装置において、質量及び前記成分の比率が既知であるサンプルにX線を照射して得られる前記エネルギー帯の前記サンプルのX線透過量に基づいて前記エネルギー帯毎の質量換算係数を算出する換算係数算出手段29を有し、前記換算係数記憶手段に質量換算係数を設定する制御部20を備えたこと特徴としている。
請求項3に記載されたX線検査装置は、請求項1または請求項2に記載のX線検査装置において、前記成分比率算出手段で算出した成分の比率から、指定された成分の比率が所定の範囲内にあるか否かを判定する成分比率判定手段32を備えたことを特徴としている。
請求項4に記載されたX線検査装置は、請求項1から3のいずれかに記載のX線検査装置において、前記複数の異なるエネルギー帯のX線の透過量に基づいて前記被検査物に異物が含まれているか否かを判定する異物判定手段を備え、前記成分比率算出手段は、前記異物判定手段で異物が存在すると判定した前記被検査物の部位について成分比率算出から除くことを特徴としている。
請求項1の発明によれば、重量センサを用いた重量測定装置を用いずに、異なるエネルギー帯毎のX線の透過量に応じた検出信号と成分毎の質量換算係数に基づいて被検査物中に含まれ成分の比率を算出しているため、被検査物が短い間隔で高速に搬送される場合または被検査物が連続的の搬送される場合であっても確実に成分比率を求めることができる。
請求項2の発明によれば、請求項1記載の計量装置による効果に加え、質量及び前記成分の比率が既知であるサンプルのエネルギー帯毎のX線透過量に基づいてエネルギー帯毎の質量換算係数を算出し、換算係数記憶手段に質量換算係数を設定する制御部を備えているので、より正確に成分比率を求めることができる。
請求項3の発明によれば、請求項1記載のX線検査装置による効果に加え、成分比率算出手段で算出した成分の比率から、指定された成分の比率が所定の範囲内にあるか否かを判定する成分比率判定手段を備えているため、成分比率が許容範囲内あるか否かの検査を行うことができる。
請求項4の発明によれば、請求項1記載のX線検査装置による効果に加え、被検査物に異物が含まれているか否かを判定する異物判定手段を備え、成分比率算出手段は、前記異物判定手段で異物が存在すると判定した前記被検査物の部位については成分比率算出を行わないので、異物があったとしても、より正確に成分比率を求めることができる。
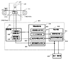
本発明の第1実施形態に係るX線検査装置の構成を示すブロック図である。 本発明の第1実施形態に係るX線検査装置の設定表示例を示す平面図である。 本発明の第1実施形態に係るX線検査装置の設定処理手順を示すフローチャートである。 本発明の第2実施形態に係るX線検査装置の検出手段の構成を示すブロック図である。 本発明の第2実施形態に係るX線検査装置の設定表示例を示す平面図である。 本発明の第2実施形態に係るX線検査装置の設定処理手順を示すフローチャートである。 本発明の第3実施形態に係るX線検査装置の構成を示すブロック図である。 本発明の第3実施形態に係るX線検査装置の被検査物を分割した集計単位ブロックを説明する説明図である。
以下、本発明の好ましい実施の形態について、図面を参照しつつ説明する。
1.第1実施形態(図1) 図1は、本発明の第1実施形態を示す図である。まず、その構成について説明する。
本実施形態のX線検査装置は、例えばブロック肉などの食材である被検査物Wの質量を測定し成分比率を検査する装置であり、図1に示すように、被検査物WにX線を照射し、透過したX線を検出する検出手段10(X線検出手段)と、被検査物Wを所定方向に搬送する搬送手段11を備えている。
検出手段10は、被検査物Wに向けてX線を照射するX線源13と、照射されたX線のうち被検査物Wを透過したX線を検出するX線検出部14とを含んで構成されている。X線源13は、例えば陰極フィラメントからの熱電子をその陰極と陽極の間の高電圧により陽極ターゲットに衝突させてX線を発生させるX線管を有しており、発生したX線を下方のX線検出部14に向けて搬送手段11の搬送方向と直交する方向(以下、幅方向という)に広がる略円錐状に照射するようになっている。
X線検出部14は、複数(本実施形態では2つ)のX線センサ14a,14bを備えている。各X線センサ14a,14bは、ライン状に形成され、X線検査装置の本体をなす筐体の下部にて、上記X線発生部13から略円錐状に照射されたX線を受ける範囲内で併設されている。
各X線センサ14a,14bは、図示しないが、ライン状に配列された複数のフォトダイオードと、フォトダイオード上に設けられたシンチレータとを備えたアレイ状のラインセンサが用いられる。この種の構成では、搬送された被検査物Wに対してX線が照射された時、被検査物Wを透過してくるX線をシンチレータで受けて光に変換する。シンチレータで変換された光は、フォトダイオードによって受光される。各フォトダイオードは、受光した光を電気信号に変換して透過X線データを出力する。このX線センサ14a,14bによるそれぞれの電気信号は、制御部20に入力される。
図1に示すように、X線センサ14a側には、X線のX線エネルギー(線質)を異ならせる線質可変体15が設けられている。この線質可変体15は、例えば、アルミニウムなどの金属や、カーボンや樹脂材が薄板状に形成されたフィルタをなしている。そして、線質可変体15は、X線センサ14aのX線を受けるべき部位であって、例えば上記シンチレータ上面、あるいは不図示のスリットを覆うように配される。線質可変体15は、X線センサ14aで受けるX線の透過量を減衰させる。これにより、X線センサ14aで受けるX線と、X線センサ14bで受けるX線のX線エネルギー(線質)を異ならせることとなる。なお、本実施の形態では、線質可変体15は、X線センサ14a側にのみ設けられているが、各X線センサ14a,14bにて受けるX線の線質が異なる別の種類の線質可変体15を各X線センサ14a,14bそれぞれに設けてもよい。
搬送手段11は、X線源13からX線検出部14(X線センサ14a,14b)に向けて照射されたX線に被検査物Wを通過させるものである。図1に示すように、搬送方向の前後に配置されたローラに巻回された無端状の搬送ベルトで被検査物Wを搬送するようになっており、詳細を図示しない搬送駆動機構により同期してローラが回転駆動し、予め設定された一定の搬送速度で被検査物Wが搬送されるようになっている。
制御部20は、詳細なハードウェア構成を図示しないが、例えばCPU、ROM、RAMおよびI/Oインターフェースを有するマイクロコンピュータと、フラッシュメモリ等の補助記憶装置、各機能部のドライバ回路等を含んで構成されており、ROM等のメモリに予め格納された制御プログラムに従って、CPUがRAMとの間でデータを授受しながら所定の演算処理を実行することで、X線検出部14からの検出信号を基にX線画像を作成して被検査物W中の成分比率を検査するようになっており、記憶手段21と画像処理理手段25と判定手段30とを有している。
記憶手段21は、X線検出部14が出力する検出信号から得られる被検査物Wの異なるエネルギー帯毎のX線画像をデジタル画像化して記憶するX線画像記憶手段22を有している。このX線画像は、X線センサ14a,14bによる1ライン上のサンプリングピッチと略等しいサンプリングピッチで搬送方向にサンプリングされ、X線画像として画像化される。このX線画像は、X線透過画像とX線吸収画像のどちらでもよいが、濃度値が物質による吸収量をストレートに示すX線吸収画像の方が質量に換算しやすいのでX線吸収画像であるほうが好ましい。
X線吸収画像は、例えば、X線の照射量I、X線センサによって検出する領域におけるX線の透過量をIとすると
D=logI‐ logI (1)
として求められる検出する領域における単位X線吸収量Dが所定数集まった画像であり、X線の照射量I0は被検査物Wの単位X線吸収量DがゼロであるときのX線の透過量、すなわち搬送ベルト上に被検査物Wが無い状態で検出したX線の透過量から求めることができる。
また、単位X線吸収量Dは、X線波長で定まる物質の質量減弱係数μに物質の密度ρと物質の厚さt
を乗じたものであり、X線照射条件および被検査物Wの物性が同じならば被検査物Wの質量m は、質量換算数Aに単位X線吸収量Dの総和X(=ΣD)を乗じた次式で求めることができる。
m= AΣD
ここで、被検査物Wの成分が複数ある場合の質量m は、成分毎の質量の合計となるから、成分毎の質量換算係数An、成分毎のX線吸収量の総和Xn 、各成分の比率 Pn (但しnは1,2,・・・)とすると
m= A + A + ・・・ (2)
X= X + X + ・・・ (3)
n×m=Ann (4)
となる
記憶手段21は、さらにX線画像から質量を算出するための成分毎の質量換算係数をエネルギー帯毎に記憶する換算係数記憶手段23を有している。このとき質量換算係数はX線画像記憶手段に記憶されるエネルギー帯毎のX線画像に対応させて記憶するようになっている。また、この換算係数記憶手段23は、比率を求める成分数に対応した数の質量換算係数を同じ数のエネルギー帯ついて記憶する。ここで、被検査物Wとしては、被検査物を形成する主成分と主成分とは密度が異なる副成分からなるものが対象となり、例えばタンパク質等を主成分とした肉に副成分として脂肪があるブロック肉や副成分としてカルシウム(骨)がある魚などがある。そして、この副成分の比率(例えば脂肪率)を求めるために、2つの成分の質量換算係数を2つエネルギー帯についてそれぞれ記憶する。
画像処理手段25は、換算係数算出手段29と成分比率算出手段28を含み、X線検出部14が出力する検出信号から得られるX線透過画像からX線画像記憶手段22に記憶するX線画像としてのX線吸収画像を生成するX線画像生成手段26と、X線画像をフィルタ処理するフィルタ処理手段27とを有し、X線画像を画像処理するようになっている。
フィルタ処理手段27は、予め設定されたパラメータに基づいて、被検査物W中に異物が混入している場合、その異物情報を強調して異物抽出画像として抽出するためのフィルタ等の画像処理を実行し、物品Wに混入した異物の有無検出を行うことができるようになっている。異物情報を強調するためのフィルタとしては、例えば例えば微分フィルタ(Robertsフィルタ、Prewittフィルタ、Sobelフィルタ)やラプラシアンフィルタなどの特徴抽出フィルタが用いられる。
換算係数算出手段29は、設定モードのときに、質量及び成分比率が既知である複数サンプルに対し、各サンプルが搬送手段11上を搬送して得られる各サンプルのエネルギー帯毎のX線画像からエネルギー帯毎の質量換算係数を前述した式(2)〜式(4)を用いて算出し、換算係数記憶手段23に記憶する。
成分比率算出手段28は、運転モードのときに、換算係数記憶手段23に記憶された換算係数、成分数、X線画像による被検査物WのX線吸収量から、前述した式(2)〜式(4)を用いて被検査物W中の質量と各成分の成分比率算出し、算出結果が表示・操作部40に表示される。
なお、画像処理手段25で生成される異物抽出画像に異物が存在するときは、異物が存在する位置のX線吸収量を除いて被検査物WのX線吸収量の総和Xを求め、被検査物W中の質量と各成分の成分比率算出するようにしてもよい。この場合、設定モードに含まれない異物によるX線吸収量の増加を除くごとができるのでより正確な成分比率を算出することができる。
判定手段30は、異物判定手段31と成分比率判定手段32を含んで構成され、運転モードのときに判定が行なわれる。異物判定手段31は、画像処理手段25のフィルタ処理によって得られる異物抽出画像に異物があるか否かを判定し、判定結果が表示・操作部40に表示される。
成分比率判定手段32は、測定された判定対象成分(副成分)の成分比率が、表示・操作部40から設定された比率の上下限リミットで指定された比率範囲内にあるか否かを判定する。指定された比率範囲内のときはOK、上限リミットを越える比率のときは過量NG,下限リミット未満の比率のときは軽量NGと判定し、判定結果が表示・操作部40に表示される。
次に、本実施形態の動作について説明する。
動作モードは、換算係数算出して記憶する設定モードと、記憶された換算係数を用いて成分比率を算出する運転モードがあり、表示・操作部40からの指示によってモードが切り替わるようになっている。
設定モードの場合、表示・操作部40から重量と成分の重量比率が既知であるサンプルについて、その重量と成分の重量比率を設定する図2に示すような成分比率設定画面40aが表示され、オペレータよって重量と成分の重量比率の設定が行なわれる。図2の例では成分2が主成分、成分1が副成分となり、設定においては主成分が100%のサンプルを用意するのが好ましい。また、副成分の成分1が成分比率判定手段32での判定対象成分となる。
オペレータよって重量と成分の重量比率の設定が終了した後、設定したサンプルを搬送手段11で流し、それによって得られるX線吸収画像から換算係数算出して記憶する。この動作の流れを図3のフローチャートで説明する。
まず、オペレータが、成分比率設定画面40aで重量と成分の重量比率を設定した後、スタートボタンを押すことにより、図3のフローがスタートし、搬送手段11の搬送駆動機構及びX線源13がONになり、搬送が開始するとともにX線源13からのX線照射が始まる(S10)。続いて、比率設定画面40aにサンプル1を流すメッセージが表示され、オペレータに対し比率設定画面40aで重量と成分の重量比率を設定したサンプル1の搬送を要求する(S11)。
次いで、オペレータが搬送ベルトに載せたサンプル1がサンプル検知されるまで待機し(S12)、サンプルが検知されたらサンプル1のX線吸収量を計数する(S13)。この計数は、サンプルが各X線センサ14a,14bを通過し終わるまで行なわれ、サンプルの検知はサンプルが各X線センサ14a,14bを通過したときの透過量に基づいて行う。例えば、X線吸収画像に対し所定の閾値以上であれば搬送ベルトにサンプル1が存在すると判断してX線吸収量を計数するようにし、各エネルギー帯のX線吸収画像毎にそれぞれ所定の閾値で実施する。なお、このとき計数された2つエネルギー帯のX線吸収量をそれぞれXH1(高エネルギー帯), XL1(低エネルギー帯)とする。
次いで、成分比率設定画面40aにサンプル2を流すメッセージが表示され、オペレータに対し成分比率設定画面40aで重量と成分の重量比率を設定したサンプル2の搬送を要求し(S14)、オペレータが搬送ベルトに載せたサンプル2がサンプル検知されるまで待機し(S15)、サンプルが検知されたらサンプル2のX線吸収量を計数する(S16)。なお、このとき計数された2つエネルギー帯のX線吸収量をそれぞれXH2(高エネルギー帯), XL2(低エネルギー帯)とする。
次いで、成分比率設定画面40aで設定されたサンプル1の重量と成分とサンプル2の重量と成分および計数したサンプル1とサンプル2のX線吸収量から式(2)〜式(4)に基づいて2つのエネルギー帯における2つの成分の換算係数が算出され(S17)、換算係数記憶手段23に記憶される(S18)。
ここで、サンプル1の成分1が0%で質量が100g、サンプル2の成分1が30%で質量が97gとすると、2つのエネルギー帯における成分2の換算計数(AH2、AL2)は、サンプル1のX線吸収量(XH1 、XL1)から式(2)を用いて求め、
100=AH2H1 (高エネルギー帯)
100=AL2L1 (低エネルギー帯)
成分1の換算計数(AH1、AL1)はサンプル2のX線吸収量(XH1 、XL1)とAH3、AL3 とから式(2)〜式(4)を用いて求めることができる。
97=AH1H21 +AH2H22、XH2=XH21+XH22、97×0.7=AH2H22 (5)
97=AL1L21 +AL2L22、XL2=XL21+XL22、97×0.7=AL2L22 (6)
次いで、搬送手段11の送駆動機構及びX線源13がOFFになり、搬送及びX線源13からのX線照射が停止(S19)して図3のフローは終了し、オペレータによって成分比率設定画面40aから運転モードに切り替えられるのを待つ。
動作モードが運転モードの場合は、例えばオペレータによって表示・操作部40の運転開始ボタン(不図示)が押されると運転状態となり、搬送が開始するとともにX線源13からのX線照射が始まる。そして、被検査物Wが検知されたら被検査物WのX線吸収量を計数し、記憶された換算係数を用いて成分比率を算出する。そして、例えばオペレータによって表示・操作部40の停止ボタン(不図示)が押さて搬送及びX線源13からのX線照射が停止する停止状態になるまで被検査物Wが検知から成分比率の算出を繰り返す。なお、被検査物Wの検知は設定モード時の検知と同様にX線吸収画像に基づいて行なわれる。
計数された2つエネルギー帯のX線吸収量をそれぞれXH(高エネルギー帯), XL(低エネルギー帯)とし、成分1の成分比率p、全体の質量m、換算係数記憶手段に記憶された換算係数をそれぞれ、AH1(高エネルギー帯の成分1)、AH2(高エネルギー帯の成分2)、AL1(低エネルギー帯の成分1)、AL2(低エネルギー帯の成分2)とし、式(2)〜式(4)から
m=AH1H1+AH2H2 、XH2=XH1+XH2 、pm=AH1H1 、(1-p)m=AH2H2 (7)
m=AL1L1+AL2L2 、XL2=XL1+XL2 、pm=AL1L1 、(1-p)m=AL2L2 (8)
となり、この方程式を解くことにより 副成分である成分1の成分比率、全体の質量を算出する。
以上説明したように、本発明の第1実施形態に係るX線検査装置は、搬送される被検査物にX線を照射し、前記被検査物を透過した複数の異なるエネルギー帯のX線の透過量を検出する検出手段と、前記検出手段が出力する前記エネルギー帯毎の透過量に応じた検出信号から前記複数の異なるエネルギー帯の数と同数分の前記被検査物の成分についての質量を求めるための質量換算係数を記憶する換算係数記憶手段と、前記検出手段が出力する前記エネルギー帯毎の検出信号と前記換算係数記憶手段に記憶された成分毎の質量換算係数に基づいて前記被検査物中に含まれる成分の比率を算出する成分比率算出手段とを備えたことを特徴としている。
したがって、重量センサを用いた重量測定装置を用いずに、異なるエネルギー帯毎のX線の透過量に応じた検出信号と成分毎の質量換算係数に基づいて被検査物中に含まれ成分の比率を算出しているため、被検査物が短い間隔で高速に搬送される場合であっても確実に成分比率を求めることができる。
2.第2実施形態(図4)
本例のX線検査装置は、第1実施形態の構成のなかでX線検出部14が異なっているものであり、その他の構成は第1実施形態と同様なので、X線検出部14とX線検査装置の動作について説明し、その他の構成に関しては、第1実施形態の構成と対応する部分には図中に第1実施形態と同様の符号を付し、第1実施形態の説明を援用して再度の説明を省略するものとする。
X線検出部14は、X線センサ14a,14b,14cを備えている。各X線センサ14a,14b,14cは、搬送手段11の搬送方向に直交するようにライン状に形成され、X線検査装置の本体をなす筐体の下部にて、上記X線発生部13から略円錐状に照射されたX線を受ける範囲内で併設されている。
各X線センサ14a,14b,14cは、第1実施形態と同様にラインセンサであり、被検査物Wを透過してくるX線に対応した電気信号を透過X線データとして出力する。このX線センサ14a,14b,14cによるそれぞれの電気信号は、制御部20に入力される。
図4に示すように、X線センサ14aには、X線のX線エネルギー(線質)を異ならせる第1の線質可変体15aが設けられ、さらにX線センサ14bには、第1の線質可変体15aによって可変したX線のX線エネルギー(線質)とは異なるX線エネルギー(線質)に異ならせる第2の線質可変体15bが設けられている。この線質可変体15a,15bは、第1実施形態と同様なフィルタをなしており、X線センサ14aのX線を受けるべき部位であって、例えば前述のシンチレータ上面に配され、X線センサ14a、X線センサ14bで受けるX線の透過量を減衰させる。
これにより、X線センサ14aで受けるX線、X線センサ14bで受けるX線及びX線センサ14cで受けるX線のX線エネルギー(線質)を異ならせることとなる。なお、本実施の形態では、X線センサ14cには線質可変体15が設けられていないが、各X線センサ14a,14b,14cにて受けるX線の線質が異なる別の種類の線質可変体15cをX線センサ14cに設けるようにしてもよい。
次に、本実施形態の動作について説明する。
設定モードの場合、表示・操作部40から重量と成分の重量比率が既知であるサンプルについて、その重量と成分の重量比率を設定する図5に示すような成分比率設定画面40bが表示され、オペレータよって重量と成分の重量比率の設定が行なわれる。図5の例では成分3が主成分、成分2と成分1が副成分となり、設定においては主成分が100%のサンプルを用意するのが好ましい。また、副成分の成分2と成分1が成分比率判定手段32での判定対象成分となる。
オペレータよって重量と成分の重量比率の設定が終了した後、設定したサンプルを搬送手段11で流し、それによって得られるX線吸収量から換算係数算出して記憶する。この動作の流れを図6のフローチャートで説明する。
まず、オペレータが、成分比率設定画面40bで重量と成分の重量比率を設定した後、スタートボタンを押すことにより、図6のフローがスタートし、搬送手段11の搬送駆動機構及びX線源13がONになり、搬送が開始するとともにX線源13からのX線照射が始まる(S110)。続いて、比率設定画面40bにサンプル1を流すメッセージが表示され、オペレータに対し比率設定画面40bで重量と成分の重量比率を設定したサンプル1の搬送を要求する(S111)。
次いで、オペレータが搬送ベルトに載せたサンプル1がサンプル検知されるまで待機し(S112)、サンプルが検知されたらサンプル1のX線吸収量を計数する(S113)。この計数は、サンプルが各X線センサ14a,14b,14cを通過し終わるまで行なわれ、サンプルの検知はサンプルが各X線センサ14a,14b,14cを通過したときの透過量に基づいて行う。例えば、X線吸収画像に対し所定の閾値以上であれば搬送ベルトにサンプル1が存在すると判断してX線吸収量を計数するようにし、各エネルギー帯のX線吸収画像毎にそれぞれ所定の閾値で実施する。なお、このとき計数された3つエネルギー帯のX線吸収量をそれぞれXH1(高エネルギー帯), XM1(中エネルギー帯),XL1(低エネルギー帯)とする。
次いで、成分比率設定画面40bにサンプル2を流すメッセージが表示され、オペレータに対し成分比率設定画面40bで重量と成分の重量比率を設定したサンプル2の搬送を要求し(S114)、オペレータが搬送ベルトに載せたサンプル2がサンプル検知されるまで待機し(S115)、サンプルが検知されたらサンプル2のX線吸収量を計数する(S116)。なお、このとき計数された3つエネルギー帯のX線吸収量をそれぞれXH2(高エネルギー帯), XM2(中エネルギー帯), XL2(低エネルギー帯)とする。
次いで、成分比率設定画面40bにサンプル3を流すメッセージが表示され、オペレータに対し成分比率設定画面40bで重量と成分の重量比率を設定したサンプル3の搬送を要求し(S117)、オペレータが搬送ベルトに載せたサンプル3がサンプル検知されるまで待機し(S118)、サンプルが検知されたらサンプル3のX線吸収量を計数する(S119)。そして、このとき計数された3つエネルギー帯のX線吸収量をそれぞれXH3(高エネルギー帯), XM3(中エネルギー帯), XL3(低エネルギー帯)とする。
次いで、成分比率設定画面40bで設定されたサンプル1〜サンプル3の重量と成分および計数したサンプル1、サンプル2及びサンプル3のX線吸収量から式(2)〜式(4)に基づいて3つのエネルギー帯における3つの成分の換算係数が算出され(S120)、換算係数記憶手段23に記憶される(S121)。
ここで、サンプル1の成分1が0%、成分2が0%で質量が100g、サンプル2の成分1が10%、成分2が20%で質量が96g、サンプル3の成分1が20%、成分2が10%で質量が95gとすると、3つのエネルギー帯における成分3の換算計数(AH3、AM3、AL3)は、サンプル1のX線吸収量(XH1 、XM1、XL1)から式(2)を用いて求めることができ、
100=AH3H1 、100=AM3M1、100=AL3L1 (9)
成分2の換算計数(AH2、AM2、AL2)と成分1の換算計数(AH1、AM1、AL1)は、サンプル2のX線吸収量(XH2、XM2、XL2)とサンプル3のX線吸収量(XH3 、XM3、XL3)と式(10)で求めたAH3、AM3、AL3 とから式(2)〜式(4)を用いて求めることができる。
[サンプル2のX線吸収量]
96 =AH1H21 +AH2H22 +AH3H23 、XH2=XH21+XH22+XH23、96×0.7=AH3H23 (10)
96 =AM1M21 +AM2M22 +AM3M23 、XM2=XM21+XM22+XM23、96×0.7=AM3M23 (11)
96 =AL1M21 +AL2L22 +AL3L23 、XM2=XH21+XH22+XH23、96×0.7=AL3L23 (12)
[サンプル3のX線吸収量]
95 =AH1H31 +AH2H32 +AH3H33 、X32=XH31+XH32+XH33、95×0.7=AH3H33 (13)
95 =AM1M31 +AM2M32 +AM3M33 、X32=XM31+XM32+XM33、95×0.7=AM3M33 (14)
95 =AL1M31 +AL2L32 +AL3L33 、X32=XH31+XH32+XH33、95×0.7=AL3L33 (15)
次いで、搬送手段11の搬送駆動機構及びX線源13がOFFになり、搬送及びX線源13からのX線照射が停止(S122)して図6のフローは終了し、オペレータによって成分比率設定画面40bから運転モードに切り替えられるのを待つ。
動作モードが運転モードの場合は、例えばオペレータによって表示・操作部の運転開始ボタンが押されると運転状態となり、搬送が開始するとともにX線源13からのX線照射が始まる。そして、被検査物Wが検知されたら被検査物WのX線吸収量を計数し、記憶された換算係数を用いて成分比率を算出する。そして、例えばオペレータによって表示・操作部の停止ボタンが押さて搬送及びX線源13からのX線照射が停止する停止状態になるまで被検査物Wが検知から成分比率の算出を繰り返す。なお、被検査物Wの検知は設定モード時の検知と同様にX線吸収画像に基づいて行なわれる。
このとき計数された3つエネルギー帯のX線吸収量をそれぞれXH(高エネルギー帯), XM(中エネルギー帯) 、XL(低エネルギー帯)とし、成分1の成分比率P1、成分2の成分比率P2、全体の質量m、換算係数記憶手段に記憶された換算係数をそれぞれ、AH1(高エネルギー帯の成分1)、AH2(高エネルギー帯の成分2)、AH3(高エネルギー帯の成分3)、AM1(中エネルギー帯の成分1)、AM2(中エネルギー帯の成分2)、AM3(中エネルギー帯の成分3)、AL1(低エネルギー帯の成分1)、AL2(低エネルギー帯の成分2)、AL3(低エネルギー帯の成分3)とし、式(2)〜式(4)から

m=AH1H1 +AH2H2 +AH3H3 、XH2=XH1+XH2+XH3
1m=AH1H1 、P2m=AH2H2 、(1-P1-P2)m=AH3H3 (16)
m=AM1M1 +AM2M2 +AM3M3 、XM=XM1+XM2+XM3
1m=AM1M1 、P2m=AM2M2 、(1-P1-P2)m=AM3M3 (17)
m=AL1L1 +AL2L2 +AL3L3 、XL=XL1+XL2+XL3
1m=AL1L1 、P2m=AL2L2 、(1-P1-P2)m=AL3L3 (18)
となり、この方程式を解くことにより 副成分である成分1と成分2の成分比率、全体の質量を算出する。
以上説明したように、本発明の第2実施形態に係るX線検査装置は、3つの異なるエネルギー帯のX線の透過量を検出する検出手段14を備え、検出手段14が出力する3つのエネルギー帯毎の透過量に応じた検出信号と換算係数記憶手段23に3つのエネルギー帯について記憶された3つの成分の質量換算係数に基づいて前記被検査物中に含まれる成分の比率を算出することを特徴としている。
したがって、3つの成分の比率を算出することができるので、主成分を除いた複数の副成分について成分比率の要否判定を行うことができる。なお、ここまでエネルギー帯が2つおよび3つの例を説明したが、同様にエネルギー帯の数を増やすことが可能である。
3.第3実施形態(図7)
本例のX線検査装置は、被検査物Wが連続的に搬送される連続体の被検査物Wに対応するために、第1実施形態の構成に分割領域設定手段33を追加したものであり、その他の構成は第1実施形態と同様なので、分割領域設定手段33とX線検査装置の動作について説明し、その他の構成に関しては、第1実施形態の構成と対応する部分には図中に第1実施形態と同様の符号を付し、第1実施形態の説明を援用して再度の説明を省略するものとする。
分割領域設定手段33は、連続体の被検査物Wの一部をX線吸収量の集計単位ブロックとして設定するよう構成されている。具体的には、図8に示すように集計単位ブロックは、連続体の被検査物Wの搬送方向においては長さまたは時間により設定され、幅方向においては、割数が指定され、等分に分割するか、または分割幅が指定され、中心から両端に向けて分割幅間隔で領域が設定される。設定された集計単位ブロックの設定情報は、記憶手段21に記憶されるとともに、成分比率算出手段28で利用される。
また、集計単位ブロックの設定操作は、例1または例2
に示すように、表示・操作部40 に表示された設定画面の空欄に、表示・操作部40の別ウィンドウで表示されるテンキー(不図示)から入力するようになる。
例1は、集計単位ブロックの長さは、搬送方向の寸法であるブロック長(mm)の入力により設定し、集計単位ブロックの幅方向について、集計単位ブロックの幅方向の寸法であるブロック幅(mm)の入力と検査幅(mm)の入力とにより幅方向の分割数を設定する例である。幅方向の両端に端数が出る場合は、幅が狭い集計単位ブロックとして領域を設定するようになる。
例2は、集計単位ブロックの長さは、集計時間(ms)の入力により設定し、集計単位ブロックの幅方向について、分割後の列数の入力と検査幅(mm)の入力とにより幅方向の分割数を設定する例である。この場合、表示・操作部40により集計時間が入力されると、集計時間と搬送速度とを乗算して集計単位ブロックの搬送方向の寸法を設定し、幅方向の列数が入力されると、検査幅を等分に分割して集計単位ブロックの幅方向の寸法を設定するようになる。
次に、本実施形態の動作について説明する。
設定モードの場合、重量と成分の重量比率が既知であるサンプルとして、連続体の被検査物Wの一部分(ブロック片)を用意し、第1実施形態または第2実施形態と同様の動作手順で換算係数算出して記憶する。一方、動作モードが運転モードの場合は、被検査物Wの検知方法以外の動作は第1実施形態または第2実施形態と同様の動作になるので被検査物Wの検知方法について説明する。
連続体の被検査物Wの検知方法は、運転開始時に最上流側のX線センサ14aに連続体の被検査物Wが検出されているか否かで異なり、検出されている場合は、最上流側のX線センサに対応するエネルギー帯のX線吸収画像に対し、運転開始時を起点として、記憶手段21に記憶されている集計単位ブロックの設定情報を基に連続体の被検査物Wにおける集計単位ブロックの領域を割り出す。そして、最上流側のX線センサ14aと他のX線センサのX線検出位置に隔たりがなければ他のX線センサにおける集計単位ブロックの起点は最上流側のX線センサ14aと同様に運転開始時となる。
しかし、隔たりがある場合は、その距離によって集計単位ブロックの起点にずれが生じるため、そのずれを補正(位置ずれ補正)する必要がある。例えば、上流側のX線センサと下流側のX線センサの配置による搬送方向の位置ずれ(長さ)を搬送速度で除算して上流側のX線センサからの到達遅れ時間を求める。そして、下流側のX線センサに対応するエネルギー帯のX線吸収画像に対しては、運転開始時から到達遅れ時間経過後を集計単位ブロックの起点とするようにする。
そして、上述したようにして得られた起点(各エネルギー帯のX線吸収画像に対する時間的なスキャン開始点)と記憶手段21に記憶されている集計単位ブロックの設定情報を基に連続体の被検査物Wにおける集計単位ブロックの領域を割り出し、集計単位ブロックの領域内における質量と各成分の成分比率を算出し、停止状態になるまでこの集計単位ブロックの領域を割り出してから成分比率の算出を繰り返す。
一方、否(被検査物が検出されていない)の場合は、各エネルギー帯のX線吸収画像毎にそれぞれ所定の閾値を超えるタイミングを上流側のX線センサから順に被検査物Wの立ち上がりを検出するので、各エネルギー帯のX線吸収画像に対し、被検査物Wの立ち上がりを起点として記憶手段に記憶されている集計単位ブロックの設定情報を基に連続体の被検査物Wにおける集計単位ブロックの領域を割り出し、集計単位ブロックの領域内における質量と各成分の成分比率を算出し、停止状態になるまでこの集計単位ブロックの領域を割り出から成分比率の算出を繰り返す。
以上説明したように、本発明の第3実施形態に係るX線検査装置は、分割領域設定手段33を備え、さらに各X線センサの位置ずれを補正して成分比率を算出しているため、被検査物が連続的の搬送される場合であっても確実に成分比率を求めることができる。
なお、幅方向の分割設定を行うように説明したが、幅方向の分割を行わず搬送方向に所定の時間周期または長さ周期で成分比率を算出する場合は、表示・操作部から入力された周期を記憶手段21に記憶し、その記憶された周期に基づいた領域内における質量と各成分の成分比率を算出するようにしてもよい。この場合は分割領域設定手段33を不要とすることができる
以上、本発明の好ましい実施の形態について説明したが、線質可変体を設けず、X線検出器と対となるようにX線のX線エネルギーを異ならせた複数のX線源を設ける構成としてもよい。この場合にはX線センサ間に隔たりが生じるようになるが、上述した位置ずれ補正を行うことで安定して成分比率を求めることができる。
以上説明したように本発明は、重量センサを用いた重量測定装置を用いずに、異なるエネルギー帯毎のX線の透過量に応じた検出信号と成分毎の質量換算係数に基づいて被検査物中に含まれ成分の比率を算出しているため、被検査物が短い間隔で高速に搬送される場合または被検査物が連続的の搬送される場合であっても確実に成分比率を求めることができ、搬送される被検査物の成分比率を検査する装置、例えば、X線検査装置、質量測定装置に有用である。
10 X線検出手段(検出手段)
11 搬送手段
13 X線源
14 X線検出部
14a、14b X線センサ
15 線質可変体
20 制御部
21 記憶手段
22 X線画像記憶手段
23 換算係数記憶手段
25 画像処理手段
26 X線画像生成手段
27 フィルタ処理手段
28 成分比率算出手段
29 換算係数算出手段
30 判定手段
31 異物判定手段
32 成分比率判定手段
33 分割領域設定手段
40 表示・操作部

Claims (4)

  1. 搬送される被検査物にX線を照射し、前記被検査物を透過した複数の異なるエネルギー帯のX線の透過量を検出する検出手段(10)と、前記検出手段が出力する前記エネルギー帯毎の透過量に応じた検出信号から前記複数の異なるエネルギー帯の数と同数分の前記被検査物を形成する成分についての質量を求めるための質量換算係数を記憶する換算係数記憶手段(23)と、前記検出手段が出力する前記複数の異なるエネルギー帯毎の検出信号と前記換算係数記憶手段に記憶された成分毎の質量換算係数に基づいて前記被検査物中に含まれる成分の比率を算出する成分比率算出手段(28)と、を備えたX線検査装置。
  2. 質量及び前記成分の比率が既知であるサンプルにX線を照射して得られる前記エネルギー帯毎の前記サンプルのX線透過量に基づいて前記エネルギー帯毎の質量換算係数を算出する換算係数算出手段(29)を有し、前記換算係数記憶手段に質量換算係数を設定する制御部(20)を備えたこと特徴とする請求項1に記載のX線検査装置。
  3. 前記成分比率算出手段で算出した成分の比率から、指定された成分の比率が所定の範囲内にあるか否かを判定する成分比率判定手段(32)を備えたことを特徴とする請求項1または請求項2に記載のX線検査装置。
  4. 前記複数の異なるエネルギー帯のX線の透過量に基づいて前記被検査物に異物が含まれているか否かを判定する異物判定手段(31)を備え、前記成分比率算出手段は、前記異物判定手段が異物が存在すると判定した前記被検査物の部位について成分比率算出から除くことを特徴とする請求項1から3のいずれかに記載のX線検査装置。
JP2010292684A 2010-12-28 2010-12-28 X線検査装置 Active JP5651007B2 (ja)

Priority Applications (1)

Application Number Priority Date Filing Date Title
JP2010292684A JP5651007B2 (ja) 2010-12-28 2010-12-28 X線検査装置

Applications Claiming Priority (1)

Application Number Priority Date Filing Date Title
JP2010292684A JP5651007B2 (ja) 2010-12-28 2010-12-28 X線検査装置

Publications (2)

Publication Number Publication Date
JP2012141176A JP2012141176A (ja) 2012-07-26
JP5651007B2 true JP5651007B2 (ja) 2015-01-07

Family

ID=46677605

Family Applications (1)

Application Number Title Priority Date Filing Date
JP2010292684A Active JP5651007B2 (ja) 2010-12-28 2010-12-28 X線検査装置

Country Status (1)

Country Link
JP (1) JP5651007B2 (ja)

Families Citing this family (9)

* Cited by examiner, † Cited by third party
Publication number Priority date Publication date Assignee Title
JP6385058B2 (ja) * 2013-12-26 2018-09-05 川西 勝三 脂肪量検査装置
JP6356430B2 (ja) * 2014-02-20 2018-07-11 株式会社イシダ 脂質含有率測定装置
JP6525513B2 (ja) * 2014-06-18 2019-06-05 株式会社イシダ 物品分割前処理方法とその方法を実施するx線検査装置並びにその装置を使用した切り分けシステム
JP6525512B2 (ja) * 2014-06-18 2019-06-05 株式会社イシダ 物品分割前処理方法とその方法を実施するx線検査装置並びにその装置を使用した定量切り分けシステム
JP6556472B2 (ja) * 2015-03-10 2019-08-07 アンリツインフィビス株式会社 多段階選別システム
US10006873B1 (en) * 2016-12-14 2018-06-26 Battelle Memorial Institute Dual-energy microfocus radiographic imaging method for meat inspection
JP6663374B2 (ja) * 2017-02-28 2020-03-11 アンリツインフィビス株式会社 X線検査装置
JP7406220B2 (ja) * 2019-03-15 2023-12-27 株式会社イシダ X線検査装置
CN110763312B (zh) * 2019-12-26 2020-03-27 常州莫森智能科技有限公司 一种具有金属检测功能的x射线高精度检重装置

Family Cites Families (14)

* Cited by examiner, † Cited by third party
Publication number Priority date Publication date Assignee Title
US5319547A (en) * 1990-08-10 1994-06-07 Vivid Technologies, Inc. Device and method for inspection of baggage and other objects
JPH08178873A (ja) * 1994-12-21 1996-07-12 Tokyo Metropolis マルチエネルギー放射線透過試験方法
JP2002228603A (ja) * 2001-02-02 2002-08-14 Matsushita Electric Ind Co Ltd シート状体の分析方法およびそれを用いたシート状体の製造方法、ならびにシート状体の製造装置
JP2003279503A (ja) * 2002-03-22 2003-10-02 Shimadzu Corp X線検査装置
CN1995993B (zh) * 2005-12-31 2010-07-14 清华大学 一种利用多种能量辐射扫描物质的方法及其装置
WO2008096787A1 (ja) * 2007-02-08 2008-08-14 Ishida Co., Ltd. 重量検査装置およびこれを備えた重量検査システム
GB0716045D0 (en) * 2007-08-17 2007-09-26 Durham Scient Crystals Ltd Method and apparatus for inspection of materials
JP5199633B2 (ja) * 2007-10-02 2013-05-15 アンリツ産機システム株式会社 X線質量測定装置
CN101403711B (zh) * 2007-10-05 2013-06-19 清华大学 液态物品检查方法和设备
JP5314272B2 (ja) * 2007-12-10 2013-10-16 アンリツ産機システム株式会社 X線質量測定装置
JP5297087B2 (ja) * 2008-01-17 2013-09-25 アンリツ産機システム株式会社 X線異物検出装置
US8218837B2 (en) * 2008-06-06 2012-07-10 General Electric Company Material composition detection from effective atomic number computation
JP5297142B2 (ja) * 2008-10-09 2013-09-25 アンリツ産機システム株式会社 異物検出方法および装置
JP5368772B2 (ja) * 2008-11-11 2013-12-18 浜松ホトニクス株式会社 放射線検出装置、放射線画像取得システム及び放射線の検出方法

Also Published As

Publication number Publication date
JP2012141176A (ja) 2012-07-26

Similar Documents

Publication Publication Date Title
JP5651007B2 (ja) X線検査装置
JP5297206B2 (ja) 重量検査装置およびこれを備えた重量検査システム
EP1950527B1 (en) X-ray inspection device
EP3548877B1 (en) Multi-energy x-ray absorption imaging for detecting foreign objects on a conveyor
US8447562B2 (en) Inspection apparatus and method using penetrating radiation
JP6663374B2 (ja) X線検査装置
US20180106660A1 (en) Method of determining the mass of objects from a plurality of x-ray images taken at different energy level
JP2016002631A (ja) 物品分割前処理方法とその方法を実施するx線検査装置並びにその装置を使用した定量切り分けシステム
AU2002339180A1 (en) X-ray grading apparatus and process
JP7060446B2 (ja) X線ラインセンサ及びそれを用いたx線異物検出装置
JP6356430B2 (ja) 脂質含有率測定装置
WO2017014194A1 (ja) 光検査システム及び画像処理アルゴリズム設定方法
CN108548831A (zh) 检测肉类中脂肪含量的方法和装置
JP4180581B2 (ja) 物品検査システム
JP2009080030A (ja) X線検査装置
JP2015158407A (ja) X線検査装置
KR101452329B1 (ko) 지폐의 두께 검출 방법
JP7079966B2 (ja) X線検出装置
JP2016090494A (ja) X線検査装置
JP2007212366A (ja) 被検部厚の検査方法及び装置
JP5739192B2 (ja) X線異物検出装置
JP2016002632A (ja) 物品分割前処理方法とその方法を実施するx線検査装置並びにその装置を使用した切り分けシステム
JP7042166B2 (ja) 物品検査装置、物品検査システム及びプログラム
CN118465855A (zh) 切断位置指定装置及方法、切断系统以及x射线检查装置
JP2018155643A (ja) X線検出装置

Legal Events

Date Code Title Description
A621 Written request for application examination

Free format text: JAPANESE INTERMEDIATE CODE: A621

Effective date: 20131108

A977 Report on retrieval

Free format text: JAPANESE INTERMEDIATE CODE: A971007

Effective date: 20140225

A131 Notification of reasons for refusal

Free format text: JAPANESE INTERMEDIATE CODE: A131

Effective date: 20140304

A521 Request for written amendment filed

Free format text: JAPANESE INTERMEDIATE CODE: A523

Effective date: 20140423

TRDD Decision of grant or rejection written
A01 Written decision to grant a patent or to grant a registration (utility model)

Free format text: JAPANESE INTERMEDIATE CODE: A01

Effective date: 20141021

A61 First payment of annual fees (during grant procedure)

Free format text: JAPANESE INTERMEDIATE CODE: A61

Effective date: 20141114

R150 Certificate of patent or registration of utility model

Ref document number: 5651007

Country of ref document: JP

Free format text: JAPANESE INTERMEDIATE CODE: R150

S533 Written request for registration of change of name

Free format text: JAPANESE INTERMEDIATE CODE: R313533

R350 Written notification of registration of transfer

Free format text: JAPANESE INTERMEDIATE CODE: R350

R250 Receipt of annual fees

Free format text: JAPANESE INTERMEDIATE CODE: R250

R250 Receipt of annual fees

Free format text: JAPANESE INTERMEDIATE CODE: R250

R250 Receipt of annual fees

Free format text: JAPANESE INTERMEDIATE CODE: R250

R250 Receipt of annual fees

Free format text: JAPANESE INTERMEDIATE CODE: R250

S111 Request for change of ownership or part of ownership

Free format text: JAPANESE INTERMEDIATE CODE: R313111

R350 Written notification of registration of transfer

Free format text: JAPANESE INTERMEDIATE CODE: R350

R250 Receipt of annual fees

Free format text: JAPANESE INTERMEDIATE CODE: R250

R250 Receipt of annual fees

Free format text: JAPANESE INTERMEDIATE CODE: R250

R250 Receipt of annual fees

Free format text: JAPANESE INTERMEDIATE CODE: R250

R250 Receipt of annual fees

Free format text: JAPANESE INTERMEDIATE CODE: R250

R250 Receipt of annual fees

Free format text: JAPANESE INTERMEDIATE CODE: R250