JP5634698B2 - 質量流量センサ装置の製造方法および質量流量センサ装置 - Google Patents

質量流量センサ装置の製造方法および質量流量センサ装置 Download PDF

Info

Publication number
JP5634698B2
JP5634698B2 JP2009241623A JP2009241623A JP5634698B2 JP 5634698 B2 JP5634698 B2 JP 5634698B2 JP 2009241623 A JP2009241623 A JP 2009241623A JP 2009241623 A JP2009241623 A JP 2009241623A JP 5634698 B2 JP5634698 B2 JP 5634698B2
Authority
JP
Japan
Prior art keywords
mass flow
flow sensor
bypass
sensor
carrier member
Prior art date
Legal status (The legal status is an assumption and is not a legal conclusion. Google has not performed a legal analysis and makes no representation as to the accuracy of the status listed.)
Expired - Fee Related
Application number
JP2009241623A
Other languages
English (en)
Other versions
JP2010101889A (ja
Inventor
ベルンハルト フィッシャー
フィッシャー ベルンハルト
ハウシェル ヤン−エリック
ハウシェル ヤン−エリック
クニッテル トルステン
クニッテル トルステン
ペザール シュテファン
ペザール シュテファン
セテシャック スティーヴン
セテシャック スティーヴン
ヴァイニンガー ホルガー
ヴァイニンガー ホルガー
Current Assignee (The listed assignees may be inaccurate. Google has not performed a legal analysis and makes no representation or warranty as to the accuracy of the list.)
Continental Automotive GmbH
Original Assignee
Continental Automotive GmbH
Priority date (The priority date is an assumption and is not a legal conclusion. Google has not performed a legal analysis and makes no representation as to the accuracy of the date listed.)
Filing date
Publication date
Application filed by Continental Automotive GmbH filed Critical Continental Automotive GmbH
Publication of JP2010101889A publication Critical patent/JP2010101889A/ja
Application granted granted Critical
Publication of JP5634698B2 publication Critical patent/JP5634698B2/ja
Expired - Fee Related legal-status Critical Current
Anticipated expiration legal-status Critical

Links

Images

Classifications

    • GPHYSICS
    • G01MEASURING; TESTING
    • G01FMEASURING VOLUME, VOLUME FLOW, MASS FLOW OR LIQUID LEVEL; METERING BY VOLUME
    • G01F1/00Measuring the volume flow or mass flow of fluid or fluent solid material wherein the fluid passes through a meter in a continuous flow
    • G01F1/68Measuring the volume flow or mass flow of fluid or fluent solid material wherein the fluid passes through a meter in a continuous flow by using thermal effects
    • G01F1/684Structural arrangements; Mounting of elements, e.g. in relation to fluid flow
    • G01F1/6842Structural arrangements; Mounting of elements, e.g. in relation to fluid flow with means for influencing the fluid flow

Landscapes

  • Physics & Mathematics (AREA)
  • Fluid Mechanics (AREA)
  • General Physics & Mathematics (AREA)
  • Measuring Volume Flow (AREA)

Description

本発明は、質量流量センサ装置の製造方法および質量流量センサ装置に関する。
質量流量センサ装置は、媒体の流量を求めるために、種々の産業領域で使用されている。例えば、質量流量センサ装置は空気質量センサ装置として、内燃機関の吸気管路内を流れる、または点火部の方向へ流れる空気の流量または、ガス消費量を求めるためにガス測定機器を通って流れる、燃焼ガスの流量を求めるために使用される。燃料噴射を伴う内燃機関内で使用されている質量流量センサ装置は、吸気空気流量を正確に測定するために使用される。これによって、燃料噴射量が高い精度で求められる。
空気の流量または燃焼ガスの流量を求めるために、質量流量センサ装置はセンサ部材を有している。このセンサ部材の測定結果は、センサ部材を取り囲んでいるバイパス内のセンサ部材の配置に非常に影響されやすい。
DE10311039A1号は、流量測定装置を開示している。この装置は、測定のために空気を導入および搬送するための通路とともに構成されており、センサ部分を有している。ここでこのセンサ部分は、空気の流量を測定するための通路内に配置されている。縮流部分は、通路の内面で次のように構成されている。すなわち、縮流部分がセンサ部分の方を向いているように構成されている。縮流部分は、センサ部分近傍を流れる空気の流れを狭くする。縮流部分の平らな面は、センサ部分の面に対して並行であり、少なくとも、センサ部分の流れの上方に構成されている。
DE102005036189A1号は、高温フィルム空気質量計を開示している。高温フィルム空気質量計は、高温フィルムセンサチップを有している。担体部材は、高温フィルムセンサチップの取り付けのためのホルダを有している。MID(molded interconnect device:成型回路部品)方法によって、少なくとも1つの導体路が担体部材上に載置される。この少なくとも1つの導体路上に、次のステップで少なくとも1つの電子構成部材が被着される。次に、高温フィルムセンサチップがホルダ内に被着される。
DE4219454A1号は、質量流量センサを開示している。これは媒体流量の強度を検出するために用いられる。質量流量センサは、単結晶シリコンから成る誘電ダイヤフラムとフレームを有している測定チップを含んでいる。このダイヤフラム上に少なくとも1つの加熱器が配置されている。このような測定チップはハウジングのフローチャネル内に構成される。
DE19724659A1号はガス流量を測定するための装置を開示している。ガス流量を測定するためのこの装置は、チューブ体を有している。その内部空間は、測定されるべき、流れているガスに対する通路として用いられる。一般的なU字状の周辺通路を有しているハウジングの一部分はチューブ体とともに構成されている。プレート状の流量検出部材が、周辺通路の第1の通路内に配置される。ここで通路制限部分が、周辺通路の第2の通路内に、流れ方向において、第1の通路の後方に配置されている。周辺通路の流入部分は、チューブ体の軸方向中央の近傍に配置されている。ここで周辺通路の出口部分は、チューブ体の管壁部の近傍に配置されている。
DE10311039A1号 DE102005036189A1号 DE4219454A1号 DE19724659A1号
本発明の課題は、正確かつ確実な質量流量センサ装置を実現する質量流量センサ装置を製造する方法を提供すること、および正確かつ確実な質量流量センサ装置を実現することである。
上述の課題は、 ハウジングボディを有する質量流量センサ装置を製造する方法であって、当該ハウジングボディはバイパスを有しており、
・担体部材を少なくとも部分的に前記バイパス内に配置し、
・少なくとも1つのセンサ部材を伴う質量流量センサを、通過して流れる空気質量を求めるために、少なくとも部分的にバイパス内に配置し、前記担体部材と機械的に次のように結合する、すなわち、少なくとも1つのセンサ部材が、前記バイパス内に、所定のポジションで配置されるように結合し、
・次に、切り欠きを備えた流体内物体を提供し、当該流体内物体は、少なくとも1つのセンサ部材の領域においてフローガイドを設定するために構成されており、当該流体内物体を、前記バイパス内で担体部材上に配置し、前記担体部材および/またはハウジングボディと機械的に、前記質量流量センサが前記流体内物体の切り欠き内に配置されるように結合する、ことを特徴とする、質量流量センサ装置を製造する方法および
質量流量センサ装置であって、当該質量流量センサ装置は以下のものを有しており:すなわち、
・バイパスを有しているハウジングボディと、
・少なくとも部分的に前記バイパス内に配置されている担体部材と、
・通過して流れる空気質量を求める少なくとも1つのセンサ部材を有する質量流量センサとを有しており、当該質量流量センサは、少なくとも部分的に前記バイパス内に配置されており、前記少なくとも1つのセンサ部材が前記バイパス内で所定の位置に配置されるように前記担体部材と機械的に結合されており、
・切り欠きを有する流体内物体を有しており、当該流体内物体は少なくとも1つのセンサ部材の領域においてフローガイドを設定するように構成されており、かつ前記流体内物体は前記バイパス内で、前記担体部材上に配置されており、前記担体部材および/またはハウジングボディと機械的に、前記質量流量センサが前記流体内物体の切り欠き内に配置されるように結合されている、ことを特徴とする質量流量センサ装置によって解決される。
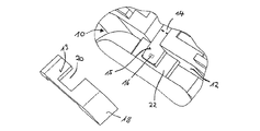
ハウジングボディを備えた質量流量センサ装置の長手方向断面図であり、このハウジングボディは、メインチャネル内に配置されている。 ハウジングボディの縦断面図である。 ハウジングボディの部分および流体内物体である。 流体内物体を有するハウジングボディの部分である。 ステップV1〜V5を有する質量流量センサ装置の製造方法のフローチャートである。
有利な発展形態は従属請求項に記載されている。
本発明は、質量流量センサ装置を製造する方法および結果として生じる質量流量センサ装置を特徴とする。この質量流量センサ装置は、バイパスを有するハウジングボディを含んでいる。担体部材は少なくとも部分的にバイパス内に配置されている。少なくとも1つのセンサ部材を伴う質量流量センサは、通過して流れる空気質量を求めるために、少なくとも部分的にバイパス内に配置されており、担体部材と機械的に次のように結合されている。すなわち、少なくとも1つのセンサ部材が、バイパス内に、所定のポジションで配置されるように結合されている。切り欠きを有する流体内物体(Stroemungskoerper)が、少なくとも1つのセンサ部材の領域内においてフローガイドを設定するために構成されている。流体内物体は、バイパス内で、担体部材上に配置されており、担体部材および/またはハウジングボディと機械的に次のように結合されている。すなわち、質量流量センサが流体内物体の切り欠き内に配置されるように結合されている。これによって、少なくとも1つのセンサ部材の領域内でのフローガイドの正確かつ正確に再現される設定が可能になる。担体部材を有する質量流量センサの機械的な結合によって、バイパス内の質量流量センサの正確な配向が可能になる。続いて流体内物体を配置することによって付加的に、正確に配向された質量流量センサ周辺でのフローガイドを正確に設定することが可能になる。
有利な構成では、質量流量センサは担体部材上に接着される。これによって、バイパス内で質量流量センサを担体部材上に正確に位置付けることができる。
有利な構成では、流体内物体は支持担体および/またはハウジングボディと接着されている。これによって、バイパス内で流体内物体を正確に位置付けることができ、少なくとも1つのセンサ部材の領域においてフローガイドを正確に設定することができる。
有利な構成では担体部材はセラミックまたはプラスチックから成る。これによって担体部材の熱伝導性および電導性を正確に設定することができる。これら2つは、少なくとも1つのセンサ部材の測定結果に影響を与える。
次に、図面を参照しながら本発明の実施例について詳しく説明する。
同一の構造または機能を有する構成部材には、いずれの図においても同じ参照符号が付されている。
図1は、メインチャネル4内に配置されている質量流量センサ装置2を示している。メインチャネル4は例えば、内燃機関の吸気管路であり、この吸気管路を通って、質量流量センサ装置2から、求められるべき空気質量が流れる。
質量流量センサ装置2はハウジングボディ6を含んでいる。このハウジングボディ内にはフローチャネル8が配置されている。フローチャネル8は、ハウジングボディ6の配向によって、有利には次のように配置されている。すなわち、フローチャネル8の流入口が、通過して流れる空気質量のメインの流れ方向に対向するように配置されている。
ハウジングボディ6内にはさらにバイパス10が配置されている。これは内壁部12を有している。バイパス10は、フローチャネル8から分岐しており、流れ方向において下流で、ハウジングボディ6内に流入し、再びフローチャネル8に合流する。バイパス10内には、質量流量センサ14が配置されている。ここでこの質量流量センサは少なくとも1つのセンサ部材16を含んでいる(図2参照)。このセンサ部材16は、通過して流れる空気質量を検出するように構成されている。
図2は、質量流量センサ装置2のハウジングボディ6の断面図を示している。上にセンサ部材16が配置されている質量流量センサ14の周囲には、流体内物体18が配置されている。流体内物体18は切り欠き20を含んでいる(図3参照)。この開口部内に質量流量センサ14が配置される。流体内物体18は、センサ部材16の領域内のフローガイドを正確に設定するために用いられる。有利な実施形態では、流体内物体18の表面19は、切り欠き20の領域において、質量流量センサ14の表面15とほぼ同じ高さに配置されている。流体内物体18の利点は、流体内物体18を、質量流量センサ装置2の製造方法において、センサ部材16を有する質量流量センサ14を取り付けた後に、非常に正確にバイパス10内に組み込むことができるということである。このようにして、センサ部材16の領域内のフローガイドがバイパス10内で正確にかつ正確に再現可能に設定可能になる。これによって、結果として確実な質量流量センサ装置2が得られる。
流体内物体18および、センサ部材16を有する質量流量センサ14を備えたバイパス10の領域の詳細な図は図3および4に示されている。図3は、切り欠き20の領域内に表面19を有している流体内物体18並びにバイパス10の一部を示している。質量流量センサ14の領域内では、バイパス10の内壁部12が中断されている。センサ部材16を有する質量流量センサ14は部分的にバイパス10内に配置されている。図3および図4には示されていないが、例えば、質量流量センサ14が少なくとも部分的に、空洞内に延在することが可能である。ここでは例えば、質量流量センサ14上に評価電子回路が配置される。この評価電子回路はセンサ部材16からの入力信号を評価し、例えば、電気コンタクトを介して制御機器に供給する。
センサ部材16を有する質量流量センサ14が、担体部材22上に配置されている。担体部材22は例えば、バイパス10の内壁部12が中断されている領域内に延在している。有利な構成では担体部材22はセラミックまたはプラスチックから成る。これによって、担体部材22の電導性および/または熱伝導性を確実に設定することができる。担体部材22の電導性および熱伝導性は、センサ部材16の測定結果に影響を与える。
流体内物体18は担体部材22上に載置され、担体部材22および/またはバイパス10の内壁部12と機械的に結合されている。流体内物体18は担体部材22および/またはバイパス10の内壁部12と、例えば接着されている。
質量流量センサ14は、流体内物体18の切り欠き20内に有利には次のように配置される。すなわち、質量流量センサが流体内物体18と機械的に結合されるのではなく、質量流量センサ14が流体内物体18と間隔を空けて配置される。質量流量センサ14と流体内物体18との間の間隔は例えば、数マイクロメータである。質量流量センサ14と、担体部材22上に配置されており、流体内物体18によって囲まれているセンサ部材16との組み合わせの利点は以下の3つである: 第1に、質量流量センサ14を正確に、かつ正確に再現可能に、担体部材22上に位置付けすることができるということである。第2に、センサ部材16の領域内で、担体部材22を通じた導電性おび熱伝導性を正確に設定することができるということである。第3に、流体内物体18によって、センサ部材16の領域内にフローガイドを正確に設定することができるということである。
図5は、ステップV1〜V5を有するフローチャートを示している。このフローチャートを用いて、質量流量センサ装置2の製造方法を以下で説明する。
この方法は第1のステップV1で始まる。第1のステップV1では、ハウジングボディ6が提供される。ここでこのハウジングボディ内には、フローチャネル8および内壁部12を有するバイパス10が構成されている。
第2のステップV2では、担体部材22が少なくとも部分的にバイパス10内に配置され、ハウジングボディ6および/またはバイパスの内壁部12と機械的に結合される。例えば担体部材22はハウジングボディ6および/または内壁部12と接着される。
第3のステップV3では、センサ部材16を有する質量流量センサ14が少なくとも部分的にバイパス10内に配置され、担体部材22と機械的に結合される。例えば、質量流量センサ14は担体部材22と接着される。担体部材22と質量流量センサ14との組み合わせの利点は、質量流量センサ14を非常に正確に、かつ正確に再現可能に担体部材22上に位置付けることができ、これによってセンサ部材16を、バイパス10の所定の位置に配置することができる、というものである。
第4のステップV4では、切り欠き20を有する流体内物体18が、バイパス10内に次のように配置される。すなわち、流体内物体18が担体部材22を覆い、質量流量センサ14が切り欠き内に配置されるように、配置される。これによって、センサ部材16の領域内で流体内物体18によってフローガイドを正確に設定することができる。
本発明の方法は第5のステップV5で終了する。
2 質量流量センサ装置、 4 メインチャネル、 6 ハウジングボディ、 8 フローチャネル、 10 バイパス、 12 内壁部、 14 質量流量センサ、 16 センサ部材、 18 流体内物体、 20 切り欠き、 22 担体部材

Claims (5)

  1. ハウジングボディ(6)を有する質量流量センサ装置(2)を製造する方法であって、当該ハウジングボディ(6)はバイパス(10)を有しており、
    ・担体部材(22)を前記ハウジングボディ(6)および/または前記バイパス(10)の内壁部(12)に接着し、
    ・少なくとも1つのセンサ部材(16)を伴う質量流量センサ(14)を、通過して流れる空気質量を求めるために、少なくとも部分的にバイパス(10)内に配置し、前記担体部材(22)と機械的に次のように結合する、すなわち、少なくとも1つのセンサ部材(16)が、前記バイパス(10)内に、所定のポジションで配置されるように結合し、
    ・次に、切り欠き(20)を備えた流体内物体(18)を提供し、当該流体内物体は、少なくとも1つのセンサ部材(16)の領域においてフローガイドを設定するために構成されており、当該流体内物体を、前記担体部材(22)および/または前記バイパス(10)の内壁部(12)に、前記担体部材(22)を覆うように接着し、前記担体部材(22)および/またはハウジングボディ(6)と前記質量流量センサ(14)が前記流体内物体(18)の切り欠き(20)内に配置されるように機械的に結合する、
    ことを特徴とする、質量流量センサ装置を製造する方法。
  2. 前記質量流量センサ(14)を前記担体部材(22)上に接着する、請求項1記載の方法。
  3. 質量流量センサ装置(2)であって、
    当該質量流量センサ装置は以下のものを有しており:すなわち、
    ・バイパス(10)を有しているハウジングボディ(6)と、
    前記ハウジングボディ(6)および/または前記バイパス(10)の内壁部(12)に接着されている担体部材(22)と、
    ・通過して流れる空気質量を求める少なくとも1つのセンサ部材(16)を有する質量流量センサ(14)とを有しており、当該質量流量センサは、少なくとも部分的に前記バイパス(10)内に配置されており、前記少なくとも1つのセンサ部材(16)が前記バイパス(10)内で所定の位置に配置されるように前記担体部材(22)と機械的に結合されており、
    ・切り欠き(20)を有する流体内物体(18)を有しており、当該流体内物体は少なくとも1つのセンサ部材(16)の領域においてフローガイドを設定するように構成されており、かつ前記流体内物体は前記担体部材(22)および/または前記バイパス(10)の内壁部(12)に、前記担体部材(22)を覆うように接着されており、前記担体部材(22)および/またはハウジングボディ(6)と前記質量流量センサ(14)が前記流体内物体(18)の切り欠き(20)内に配置されるように機械的に結合されている、
    ことを特徴とする質量流量センサ装置。
  4. 前記担体部材(22)はセラミックまたはプラスチックから構成されている、請求項記載の質量流量センサ装置(2)。
  5. 前記バイパス(10)は、前記ハウジングボディ(6)内で、フローチャネル(8)から分岐しており、流れ方向において下流で再び前記フローチャネル(8)に合流する、請求項3または4記載の質量流量センサ装置(2)。
JP2009241623A 2008-10-21 2009-10-20 質量流量センサ装置の製造方法および質量流量センサ装置 Expired - Fee Related JP5634698B2 (ja)

Applications Claiming Priority (2)

Application Number Priority Date Filing Date Title
DE102008052404.2 2008-10-21
DE200810052404 DE102008052404B4 (de) 2008-10-21 2008-10-21 Verfahren zum Herstellen einer Massenstromsensorvorrichtung

Publications (2)

Publication Number Publication Date
JP2010101889A JP2010101889A (ja) 2010-05-06
JP5634698B2 true JP5634698B2 (ja) 2014-12-03

Family

ID=42054947

Family Applications (1)

Application Number Title Priority Date Filing Date
JP2009241623A Expired - Fee Related JP5634698B2 (ja) 2008-10-21 2009-10-20 質量流量センサ装置の製造方法および質量流量センサ装置

Country Status (2)

Country Link
JP (1) JP5634698B2 (ja)
DE (1) DE102008052404B4 (ja)

Families Citing this family (4)

* Cited by examiner, † Cited by third party
Publication number Priority date Publication date Assignee Title
CN104964721B (zh) * 2015-06-30 2017-12-05 蔡丰勇 空气流量计的气体流道结构
DE112019000709T5 (de) 2018-02-07 2020-11-05 Denso Corporation Vorrichtung zur Messung einer physikalischen Größe
JP2020106428A (ja) * 2018-12-27 2020-07-09 株式会社デンソー 物理量計測装置
JP2019138707A (ja) 2018-02-07 2019-08-22 株式会社デンソー 物理量計測装置

Family Cites Families (10)

* Cited by examiner, † Cited by third party
Publication number Priority date Publication date Assignee Title
DE4219454C2 (de) 1992-06-13 1995-09-28 Bosch Gmbh Robert Massenflußsensor
JP2859831B2 (ja) * 1995-05-25 1999-02-24 光照 木村 フローセンサ、その製造方法および駆動方法
JP3310167B2 (ja) 1996-06-12 2002-07-29 株式会社ユニシアジェックス 気体流量計測装置
DE19744997A1 (de) * 1997-10-11 1999-04-15 Bosch Gmbh Robert Vorrichtung zur Messung der Masse eines strömenden Mediums
JP3587734B2 (ja) * 1999-06-30 2004-11-10 株式会社日立製作所 熱式空気流量センサ
DE19939824A1 (de) * 1999-08-21 2001-02-22 Bosch Gmbh Robert Vorrichtung zur Messung der Masse eines strömenden Mediums
JP4106224B2 (ja) 2002-03-14 2008-06-25 株式会社デンソー 流量測定装置
JP2006047272A (ja) * 2004-06-29 2006-02-16 Ngk Spark Plug Co Ltd 流量センサ
DE102005036189A1 (de) 2005-08-02 2007-02-08 Robert Bosch Gmbh Verfahren zur Herstellung eines Heißfilmluftmassenmessers
DE102007024865A1 (de) * 2007-05-29 2008-12-04 Robert Bosch Gmbh Vorrichtung zur Bestimmung wenigstens eines Parameters eines fluiden Mediums

Also Published As

Publication number Publication date
JP2010101889A (ja) 2010-05-06
DE102008052404B4 (de) 2014-05-28
DE102008052404A1 (de) 2010-04-29

Similar Documents

Publication Publication Date Title
US8215160B2 (en) Sensor structure
JP5396410B2 (ja) センサの構造
US8701475B2 (en) Air flow measuring device
CN104081169B (zh) 流量计测装置
KR101957133B1 (ko) 유체의 유동 특성을 검출하기 위한 센서 장치
CN105324644B (zh) 物理量测量装置
JP4416012B2 (ja) 吸入空気流量測定装置
CN106662476B (zh) 物理量检测装置
CN106415213B (zh) 用于确定流过通道结构的流体介质的至少一个参数的传感器装置
JP6689387B2 (ja) エアフローメータ
CN107607164B (zh) 热式流量计
JP2009541757A (ja) 排気管内の層抵抗体
JP5634698B2 (ja) 質量流量センサ装置の製造方法および質量流量センサ装置
JP4755712B2 (ja) 質量流量センサ装置
KR101768736B1 (ko) 공기 질량 계측기
JP4707412B2 (ja) 気体流量測定装置
JP2015087196A (ja) 温湿度センサ用ヒータの温度制御装置
US6571623B1 (en) Measuring instrument with rectangular flow channel and sensors for measuring the mass of a flowing medium
JP2012242298A (ja) 流量検出装置
KR20080015926A (ko) 유량 센서
JP5542614B2 (ja) 流量測定装置
CN106969790B (zh) 用于感测流体介质的至少一个流动特性的传感器装置
CN110741232A (zh) 用于感测流体介质的至少一个特性的传感器
CN105319326B (zh) 确定流过测量通道的流体介质的至少一个参数的传感器
KR20150070389A (ko) 공기 질량 센서

Legal Events

Date Code Title Description
RD04 Notification of resignation of power of attorney

Free format text: JAPANESE INTERMEDIATE CODE: A7424

Effective date: 20101228

A621 Written request for application examination

Free format text: JAPANESE INTERMEDIATE CODE: A621

Effective date: 20120827

RD02 Notification of acceptance of power of attorney

Free format text: JAPANESE INTERMEDIATE CODE: A7422

Effective date: 20120827

A131 Notification of reasons for refusal

Free format text: JAPANESE INTERMEDIATE CODE: A131

Effective date: 20131125

A521 Request for written amendment filed

Free format text: JAPANESE INTERMEDIATE CODE: A523

Effective date: 20140220

TRDD Decision of grant or rejection written
A01 Written decision to grant a patent or to grant a registration (utility model)

Free format text: JAPANESE INTERMEDIATE CODE: A01

Effective date: 20140916

A61 First payment of annual fees (during grant procedure)

Free format text: JAPANESE INTERMEDIATE CODE: A61

Effective date: 20141015

R150 Certificate of patent or registration of utility model

Ref document number: 5634698

Country of ref document: JP

Free format text: JAPANESE INTERMEDIATE CODE: R150

R250 Receipt of annual fees

Free format text: JAPANESE INTERMEDIATE CODE: R250

R250 Receipt of annual fees

Free format text: JAPANESE INTERMEDIATE CODE: R250

R250 Receipt of annual fees

Free format text: JAPANESE INTERMEDIATE CODE: R250

R250 Receipt of annual fees

Free format text: JAPANESE INTERMEDIATE CODE: R250

R250 Receipt of annual fees

Free format text: JAPANESE INTERMEDIATE CODE: R250

R250 Receipt of annual fees

Free format text: JAPANESE INTERMEDIATE CODE: R250

S111 Request for change of ownership or part of ownership

Free format text: JAPANESE INTERMEDIATE CODE: R313113

R360 Written notification for declining of transfer of rights

Free format text: JAPANESE INTERMEDIATE CODE: R360

R360 Written notification for declining of transfer of rights

Free format text: JAPANESE INTERMEDIATE CODE: R360

R371 Transfer withdrawn

Free format text: JAPANESE INTERMEDIATE CODE: R371

S111 Request for change of ownership or part of ownership

Free format text: JAPANESE INTERMEDIATE CODE: R313113

R350 Written notification of registration of transfer

Free format text: JAPANESE INTERMEDIATE CODE: R350

LAPS Cancellation because of no payment of annual fees