JP5632142B2 - クラッシュボックス - Google Patents
クラッシュボックス Download PDFInfo
- Publication number
- JP5632142B2 JP5632142B2 JP2009165625A JP2009165625A JP5632142B2 JP 5632142 B2 JP5632142 B2 JP 5632142B2 JP 2009165625 A JP2009165625 A JP 2009165625A JP 2009165625 A JP2009165625 A JP 2009165625A JP 5632142 B2 JP5632142 B2 JP 5632142B2
- Authority
- JP
- Japan
- Prior art keywords
- cylindrical body
- crash box
- wall
- axial direction
- bending deformation
- Prior art date
- Legal status (The legal status is an assumption and is not a legal conclusion. Google has not performed a legal analysis and makes no representation as to the accuracy of the status listed.)
- Active
Links
Images
Landscapes
- Vibration Dampers (AREA)
Description
これらの本発明では、複数の稜線のうち筒状体の周方向に隣接する二本の稜線により区画される外壁が、平面、または、筒状体の外側または内側に向けて湾曲した曲面をなすことが望ましい。
また、これらの本発明では、筒状体の軸方向への第3の部分の長さが、この軸方向への第1の部分の長さ以上であることがさらに望ましい。
(A)折り返し量が増加するように折れ曲がり変形を連続して生じるので、荷重振幅が小さいこと、および
(B)外壁が軸方向へ延びる稜線を有するので、例えば特許文献2〜6により開示された円筒体を有する衝撃吸収部材よりも衝撃エネルギーの吸収性能が高く、また、偏荷重が作用した場合にも、衝撃吸収部材全体が大きく屈曲する曲がり変形の発生を抑制でき、衝突方向によらずに安定した高い衝撃エネルギーの吸収性能を維持できること
という優れた効果が奏される。
以下、本発明に係るクラッシュボックスを実施するための形態を、添付図面を参照しながら説明する。なお、以降の説明では、本発明に係るクラッシュボックスを構成する筒状体が鋼板からなる場合を例にとる。
図1に示すように、このクラッシュボックス1は、鋼板からなる外壁2aを有する筒状体2を備える。この筒状体2は、図1中のA−A断面図に示すように、その軸方向に関して、第1の部分3と、第2の部分4と、第3の部分5とを有する。
(i)最初に折り返し部である第2の部分13−2を起点として、第2の部分13−2の近傍の第1の部分13−1の外壁が外側に折り返され、以後、第1の部分13−1の外壁が順次裏返しに折り返される。
(iii)したがって、この周長の増大によって折り返された部分には周方向への引張力が作用する。
(v)曲げ変形を生じていない第1の部分13−1は、この周方向の圧縮力によって、初期断面よりも折り返し部近傍において縮径変形を生じる。
図4(a)は、本発明に係るクラッシュボックス1の筒状体2の折り返し変形開始時に折り返し部側からみた横断面の変化状況を示す説明図であり、図4(b)は、この筒状体2の折り返し変形の進行中の横断面の変化状況を示す説明図であり、図4(c)は、筒状体2の稜線11と稜線間の外壁2aとにおける折り返し変形の半径の違いを示す説明図である。
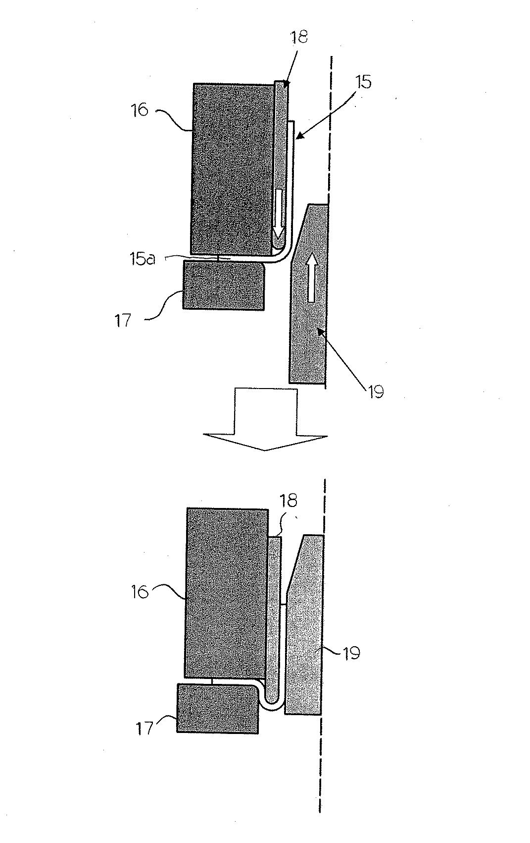
図6に示すように、薄鋼板や薄アルミニウム合金板等の素材14に、段階的な深絞り加工(多段絞り加工)を行って円筒状の深絞り成形品15を製造する。その後、この深絞り成形品15に対して、多角形断面化加工を行う。
このようにして、本発明に係るクラッシュボックス1を構成する筒状体2を製造する。そして、この筒状体2を、例えば溶接等の適当な接合手段によって取付け台座6に接合することによって、本発明に係るクラッシュボックス1が製造される。
(a)筒状体2が曲げ変形を継続して生じることにより衝撃エネルギーを吸収するため、軸方向への座屈を繰り返して蛇腹状に塑性変形することにより衝撃エネルギーを吸収する公知のクラッシュボックスに比較して、周期的な荷重変化(荷重振幅)が小さい衝撃吸収性能を得ることができ、クラッシュボックスを低強度の部材(例えばロアークロスメンバー)等に装着しても、この部材の損傷に起因した補修費の上昇を、できるだけ抑制することが可能になること、
(b)筒状体2が複数本の稜線11を有し、多角形の横断面形状を有するので、衝撃エネルギーの吸収量を高め、かつ、衝突方向によらず曲げ変形を安定的に継続して発生することができ、安定した高い衝撃エネルギーの吸収性能を発揮できること、および。
という、極めて優れた効果を奏することができる。
次に、実施の形態2に係るクラッシュボックスを説明する。以降の説明では、上述した実施の形態1と相違する部分を説明し、同一の部分については同一の符合を付することにより重複する説明は適宜省略する。
次に、参考の形態に係るクラッシュボックスを説明する。図2(e)は、参考の形態のクラッシュボックス1−2により衝撃エネルギーが吸収される状況を、模式的に示す説明図であり、図2(e)における左図は正面図、中央図は曲げ変形開始時の断面図、右図は曲げ変形終了時の断面図である。
本実施例では、本発明に係るクラッシュボックスの効果をさらに説明するため、下記の要領で衝突試験を模擬した数値解析を行った。
なお、この解析では、筒状体2に取付け台座6を固定し、取付け台座6の位置は常に不変であるとするとともに、取付け台座6は常に回転しないものとした。
図13は、荷重の変化を示すグラフであり、図13(a)には、傾斜角度θが0度である剛体壁25を用いた場合(正突)で、横断面形状が円形である比較例と、横断面形状が12角形である本発明例とを対比して示し、図13(b)には、傾斜角度が10度である剛体壁25を用いた場合(斜突)で、横断面形状が円形である比較例と、横断面形状が12角形である本発明例とを対比して示す。
また、表1に示すように、正突の場合、本発明例の単位質量当たりの吸収エネルギは、比較例に比べ7%程度増大する。
1−2 参考の形態のクラッシュボックス
2 筒状体
2a、2a−1、2a−2、2a−3、2a−4、2a−5、2a−6、2a−7、2a−8 外壁
3 第1の部分
3a 先端
4 第2の部分
5 第3の部分
5a 外向きフランジ部
6、6−1 取付け台座
6a 貫通穴
6b 通過穴
6c 表面
7 ロアークロスメンバー
7a ネジ穴
8 ボルト
9 バンパーレインフォースメント
9a 後面
10 折り返し部
11 稜線
12 接合部
13 円筒体
13a 一端
13−1 第1の部分
13−2 第2の部分
14 素材
15,15−1 深絞り成形品
15a フランジ部
16 上押え治具
17 下押え治具
18、18−1 外周成形工具
19、19−1 内面成形工具
20 金属管
21 第1の工具
22 第2の工具
23 第3の工具
24 中間品
25 剛体壁
Claims (8)
- 金属材料からなる外壁を有する筒状体からなる第1の部分と、該第1の部分の外壁に連続するとともに外側に折れ曲がって形成される折れ曲がり部である第2の部分と、該第2の部分に連続するとともに該第2の部分の支持部をなす第3の部分とを有し、前記第1の部分の端部から前記筒状体の軸方向へ向けて負荷される衝撃荷重によって、前記第1の部分の外壁が折り返されて形成される折り返し部の長さが増加する曲げ変形を連続して生じることにより衝撃エネルギーを吸収するクラッシュボックスであって、
前記曲げ変形を連続して生じる前記外壁は、8角形から12角形までのいずれかの多角形の横断面形状を有し、
前記第1の部分は、前記外壁のうちで、少なくとも、前記曲げ変形を連続して生じる範囲に、前記筒状体の軸方向へ延びて設けられる複数の稜線を有すること、
前記第3の部分は、自動車の構造部材であるロアークロスメンバーに装着されること、
前記第1の部分の端部は、バンパーレインフォースメントの後面に接合されること、および
前記第1の部分および前記第3の部分は、いずれも、前記筒状体の軸方向と略平行な方向へ延びて設けられること
を特徴とするクラッシュボックス。 - 前記第2の部分は筒状体である請求項1に記載されたクラッシュボックス。
- 前記第3の部分は筒状体である請求項1または請求項2に記載されたクラッシュボックス。
- 前記複数の稜線のうち前記筒状体の周方向に隣接する二本の稜線により区画される前記外壁は、平面、または、前記筒状体の外側または内側に向けて湾曲した曲面をなす請求項1から請求項3までのいずれか1項に記載されたクラッシュボックス。
- 前記第1の部分は一の金属材料からなるとともに、前記第3の部分は該一の金属材料とは異なる他の一の金属材料からなる請求項1から請求項4までのいずれか1項に記載されたクラッシュボックス。
- 前記一の金属材料と、前記他の一の金属材料とは、それぞれの板厚および/または材質が異なる請求項5に記載されたクラッシュボックス。
- さらに、前記第3の部分を支持するとともに前記折り返し部の外径よりも大きな径の穴を有する支持部材を備える請求項1から請求項6までのいずれか1項に記載されたクラッシュボックス。
- 前記筒状体の軸方向への前記第3の部分の長さは、該軸方向への前記第1の部分の長さ以上である請求項1に記載されたクラッシュボックス。
Priority Applications (1)
| Application Number | Priority Date | Filing Date | Title |
|---|---|---|---|
| JP2009165625A JP5632142B2 (ja) | 2009-07-14 | 2009-07-14 | クラッシュボックス |
Applications Claiming Priority (1)
| Application Number | Priority Date | Filing Date | Title |
|---|---|---|---|
| JP2009165625A JP5632142B2 (ja) | 2009-07-14 | 2009-07-14 | クラッシュボックス |
Publications (2)
| Publication Number | Publication Date |
|---|---|
| JP2011021644A JP2011021644A (ja) | 2011-02-03 |
| JP5632142B2 true JP5632142B2 (ja) | 2014-11-26 |
Family
ID=43631909
Family Applications (1)
| Application Number | Title | Priority Date | Filing Date |
|---|---|---|---|
| JP2009165625A Active JP5632142B2 (ja) | 2009-07-14 | 2009-07-14 | クラッシュボックス |
Country Status (1)
| Country | Link |
|---|---|
| JP (1) | JP5632142B2 (ja) |
Families Citing this family (1)
| Publication number | Priority date | Publication date | Assignee | Title |
|---|---|---|---|---|
| JP5729074B2 (ja) | 2011-03-28 | 2015-06-03 | Jfeスチール株式会社 | 衝撃吸収部材 |
Family Cites Families (11)
| Publication number | Priority date | Publication date | Assignee | Title |
|---|---|---|---|---|
| JPS4745986B1 (ja) * | 1967-02-25 | 1972-11-20 | ||
| JPH09277960A (ja) * | 1996-04-16 | 1997-10-28 | Nissan Motor Co Ltd | 二重緩衝部材及びそれを用いた車体構造 |
| FR2792384B1 (fr) * | 1999-04-15 | 2001-06-01 | Lorraine Laminage | Organe absorbeur de choc et procede de fabrication |
| JP4395964B2 (ja) * | 2000-02-29 | 2010-01-13 | Jfeスチール株式会社 | 衝突エネルギー吸収構造体 |
| JP4362953B2 (ja) * | 2000-07-03 | 2009-11-11 | 日本軽金属株式会社 | バンパステイ |
| US7393029B2 (en) * | 2001-09-27 | 2008-07-01 | Shape Corporation | Plastic energy management beam |
| JP4087636B2 (ja) * | 2002-04-19 | 2008-05-21 | アイシン精機株式会社 | バンパ装置 |
| JP3977687B2 (ja) * | 2002-05-23 | 2007-09-19 | 株式会社アステア | 衝撃吸収部材 |
| US7182191B2 (en) * | 2002-07-11 | 2007-02-27 | Autoliv Asp, Inc. | Motion damper |
| JP2005225397A (ja) * | 2004-02-13 | 2005-08-25 | Futaba Industrial Co Ltd | 衝撃吸収装置 |
| JP2007261557A (ja) * | 2006-03-27 | 2007-10-11 | Sango Co Ltd | 車両の衝撃吸収装置 |
-
2009
- 2009-07-14 JP JP2009165625A patent/JP5632142B2/ja active Active
Also Published As
| Publication number | Publication date |
|---|---|
| JP2011021644A (ja) | 2011-02-03 |
Similar Documents
| Publication | Publication Date | Title |
|---|---|---|
| JP5488069B2 (ja) | クラッシュボックス及び自動車車体 | |
| JP4792036B2 (ja) | 車両用衝撃吸収部材 | |
| CN100476233C (zh) | 碰撞吸收构件 | |
| JP5949925B2 (ja) | クラッシュボックス及び自動車車体 | |
| JP4350731B2 (ja) | 車両用衝撃吸収部材 | |
| JP5659185B2 (ja) | 車両用衝撃吸収部材 | |
| WO2015053075A1 (ja) | クラッシュボックスおよびその製造方法 | |
| JP6354864B2 (ja) | プレス成形品、並びにそのプレス成形品の製造方法及び製造設備列 | |
| JP2013540067A (ja) | 拡張性を有する車両用クラッシュカン | |
| JP2010508154A (ja) | 圧潰可能な、テーパのある筒状構造体及び製造方法 | |
| JP2009184417A (ja) | クラッシュボックス及びその車体への取付け構造 | |
| CN105923048A (zh) | 车辆用车架 | |
| JP4395964B2 (ja) | 衝突エネルギー吸収構造体 | |
| JP5632142B2 (ja) | クラッシュボックス | |
| JP5632147B2 (ja) | クラッシュボックス | |
| US8523274B1 (en) | Vehicle-body front structure member | |
| JP5631723B2 (ja) | 衝撃吸収部材 | |
| JP6565291B2 (ja) | 衝撃吸収部材、車体および衝撃吸収方法 | |
| JP7530825B2 (ja) | エネルギー吸収部品 | |
| JPWO2008012876A1 (ja) | 衝撃吸収部材 | |
| TW201720685A (zh) | 應用於車輛的碰撞潰縮吸能結構 | |
| JP5486250B2 (ja) | 衝撃吸収具及び車両用バンパ装置 | |
| JP5609322B2 (ja) | チューブ部材の製造方法 | |
| JP5125602B2 (ja) | 自動車のフレーム構造 | |
| JP6881683B2 (ja) | 自動車用構造部材および車体 |
Legal Events
| Date | Code | Title | Description |
|---|---|---|---|
| A621 | Written request for application examination |
Free format text: JAPANESE INTERMEDIATE CODE: A621 Effective date: 20110825 |
|
| A977 | Report on retrieval |
Free format text: JAPANESE INTERMEDIATE CODE: A971007 Effective date: 20120531 |
|
| A131 | Notification of reasons for refusal |
Free format text: JAPANESE INTERMEDIATE CODE: A131 Effective date: 20120626 |
|
| A521 | Written amendment |
Free format text: JAPANESE INTERMEDIATE CODE: A523 Effective date: 20120824 |
|
| A521 | Written amendment |
Free format text: JAPANESE INTERMEDIATE CODE: A523 Effective date: 20121011 |
|
| A711 | Notification of change in applicant |
Free format text: JAPANESE INTERMEDIATE CODE: A712 Effective date: 20121011 |
|
| A02 | Decision of refusal |
Free format text: JAPANESE INTERMEDIATE CODE: A02 Effective date: 20130305 |
|
| A521 | Written amendment |
Free format text: JAPANESE INTERMEDIATE CODE: A523 Effective date: 20130605 |
|
| A911 | Transfer of reconsideration by examiner before appeal (zenchi) |
Free format text: JAPANESE INTERMEDIATE CODE: A911 Effective date: 20130612 |
|
| A912 | Removal of reconsideration by examiner before appeal (zenchi) |
Free format text: JAPANESE INTERMEDIATE CODE: A912 Effective date: 20130906 |
|
| RD03 | Notification of appointment of power of attorney |
Free format text: JAPANESE INTERMEDIATE CODE: A7423 Effective date: 20140210 |
|
| A521 | Written amendment |
Free format text: JAPANESE INTERMEDIATE CODE: A523 Effective date: 20140818 |
|
| A61 | First payment of annual fees (during grant procedure) |
Free format text: JAPANESE INTERMEDIATE CODE: A61 Effective date: 20141009 |
|
| R150 | Certificate of patent or registration of utility model |
Ref document number: 5632142 Country of ref document: JP Free format text: JAPANESE INTERMEDIATE CODE: R150 |
|
| S533 | Written request for registration of change of name |
Free format text: JAPANESE INTERMEDIATE CODE: R313533 |
|
| R350 | Written notification of registration of transfer |
Free format text: JAPANESE INTERMEDIATE CODE: R350 |
