JP5603128B2 - 分離装置 - Google Patents

分離装置 Download PDF

Info

Publication number
JP5603128B2
JP5603128B2 JP2010100963A JP2010100963A JP5603128B2 JP 5603128 B2 JP5603128 B2 JP 5603128B2 JP 2010100963 A JP2010100963 A JP 2010100963A JP 2010100963 A JP2010100963 A JP 2010100963A JP 5603128 B2 JP5603128 B2 JP 5603128B2
Authority
JP
Japan
Prior art keywords
passage
exhaust
intake
pipe
hopper
Prior art date
Legal status (The legal status is an assumption and is not a legal conclusion. Google has not performed a legal analysis and makes no representation as to the accuracy of the status listed.)
Active
Application number
JP2010100963A
Other languages
English (en)
Japanese (ja)
Other versions
JP2011230326A (ja
JP2011230326A5 (enExample
Inventor
龍平 野
克明 帆山
Current Assignee (The listed assignees may be inaccurate. Google has not performed a legal analysis and makes no representation or warranty as to the accuracy of the list.)
Kawata Mfg Co Ltd
Original Assignee
Kawata Mfg Co Ltd
Priority date (The priority date is an assumption and is not a legal conclusion. Google has not performed a legal analysis and makes no representation as to the accuracy of the date listed.)
Filing date
Publication date
Application filed by Kawata Mfg Co Ltd filed Critical Kawata Mfg Co Ltd
Priority to JP2010100963A priority Critical patent/JP5603128B2/ja
Publication of JP2011230326A publication Critical patent/JP2011230326A/ja
Publication of JP2011230326A5 publication Critical patent/JP2011230326A5/ja
Application granted granted Critical
Publication of JP5603128B2 publication Critical patent/JP5603128B2/ja
Active legal-status Critical Current
Anticipated expiration legal-status Critical

Links

Images

Landscapes

  • Combined Means For Separation Of Solids (AREA)
  • Processing And Handling Of Plastics And Other Materials For Molding In General (AREA)
JP2010100963A 2010-04-26 2010-04-26 分離装置 Active JP5603128B2 (ja)

Priority Applications (1)

Application Number Priority Date Filing Date Title
JP2010100963A JP5603128B2 (ja) 2010-04-26 2010-04-26 分離装置

Applications Claiming Priority (1)

Application Number Priority Date Filing Date Title
JP2010100963A JP5603128B2 (ja) 2010-04-26 2010-04-26 分離装置

Publications (3)

Publication Number Publication Date
JP2011230326A JP2011230326A (ja) 2011-11-17
JP2011230326A5 JP2011230326A5 (enExample) 2013-05-02
JP5603128B2 true JP5603128B2 (ja) 2014-10-08

Family

ID=45320162

Family Applications (1)

Application Number Title Priority Date Filing Date
JP2010100963A Active JP5603128B2 (ja) 2010-04-26 2010-04-26 分離装置

Country Status (1)

Country Link
JP (1) JP5603128B2 (enExample)

Families Citing this family (2)

* Cited by examiner, † Cited by third party
Publication number Priority date Publication date Assignee Title
CN102825009B (zh) * 2012-07-27 2014-07-16 安徽理工大学 一种用于干法分级的360度气流布风、布料机构
JP6224367B2 (ja) * 2013-07-13 2017-11-01 株式会社シュトルツ 加工材料の混合装置

Family Cites Families (12)

* Cited by examiner, † Cited by third party
Publication number Priority date Publication date Assignee Title
JPH0220061Y2 (enExample) * 1985-04-01 1990-06-01
JPS61249578A (ja) * 1985-04-26 1986-11-06 キッコーマン株式会社 分級方法及び装置
JPS6432109U (enExample) * 1987-08-21 1989-02-28
EP0316622B1 (en) * 1987-11-20 1993-08-04 General Electric Company Method and apparatus for elutriation of shaped particles of polymeric resin
JPH0487778U (enExample) * 1990-12-14 1992-07-30
JP3448858B2 (ja) * 1994-08-11 2003-09-22 ソニー株式会社 射出成形機における樹脂材供給装置
JP2001269932A (ja) * 2000-03-28 2001-10-02 Olympus Optical Co Ltd 成形機の樹脂材料供給装置
JP2002137226A (ja) * 2000-10-31 2002-05-14 Olympus Optical Co Ltd 樹脂供給装置
JP2002192079A (ja) * 2000-12-27 2002-07-10 Sumitomo Dow Ltd フロス分離器
JP4110446B2 (ja) * 2001-12-04 2008-07-02 第一三共プロファーマ株式会社 圧縮成形品の粉除去装置
JP2003237887A (ja) * 2002-02-19 2003-08-27 Toray Ind Inc 粉粒体の排出装置および粉粒体の粉塵除去方法
JP2005211901A (ja) * 2005-04-22 2005-08-11 Sanko Air Plant Ltd 粉粒体分級器

Also Published As

Publication number Publication date
JP2011230326A (ja) 2011-11-17

Similar Documents

Publication Publication Date Title
CN101797561B (zh) 负压风力塑料颗粒与粉尘的分离装置
CA2768079C (en) Cyclone having a pure gas line
US20150147952A1 (en) Air passage device for admitting purified air into an interior of a control cabinet
JP4629301B2 (ja) 木質を含有しているゴミをクリーニングするユニット
IL271620B2 (en) Centrifugal gas separator
KR20090117976A (ko) 분말제거장치 및 입체 분리 시스템
JP2009202142A (ja) ダスト除去装置
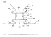
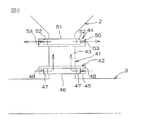
JP5603128B2 (ja) 分離装置
CN212597592U (zh) 一种应用于化工塑料物料的淘洗装置
JP2007050354A (ja) 粉取り装置
JP2016209852A (ja) 廃棄物の選別装置
CN107670448B (zh) 除尘装置和制砂生产线
CN218133931U (zh) 一种树脂粉分选装配生产线用除尘机构
CN111468405A (zh) 轻重物质分离系统
CN201959664U (zh) 袋式高压脉冲反吹除尘器
JP6298776B2 (ja) 分級バグフィルタ
CN205146690U (zh) 一种饲料风选机
KR20150056413A (ko) 입상 물질 분리장치
CN111570401B (zh) 一种应用于化工塑料物料的淘洗装置
JP4932858B2 (ja) 粒状物の微粉除去装置
CN210285577U (zh) 一种抗扬尘溜槽及干物料运输系统
CN210585867U (zh) 负压吸附捕集器
CN101486032A (zh) 塑料粒料惯性淘析器及其淘析工艺和用途
KR101440027B1 (ko) 축부재 내의 누적된 미세입자에 대한 블로잉-석션 방식의 제거 기능을 가지는 모듈형 싸이클론 방식의 공기정화장치
CN206199505U (zh) 旋风分离器

Legal Events

Date Code Title Description
A521 Request for written amendment filed

Free format text: JAPANESE INTERMEDIATE CODE: A523

Effective date: 20130318

A621 Written request for application examination

Free format text: JAPANESE INTERMEDIATE CODE: A621

Effective date: 20130318

A871 Explanation of circumstances concerning accelerated examination

Free format text: JAPANESE INTERMEDIATE CODE: A871

Effective date: 20130322

A975 Report on accelerated examination

Free format text: JAPANESE INTERMEDIATE CODE: A971005

Effective date: 20130419

A131 Notification of reasons for refusal

Free format text: JAPANESE INTERMEDIATE CODE: A131

Effective date: 20130604

A521 Request for written amendment filed

Free format text: JAPANESE INTERMEDIATE CODE: A523

Effective date: 20130801

A131 Notification of reasons for refusal

Free format text: JAPANESE INTERMEDIATE CODE: A131

Effective date: 20131022

A521 Request for written amendment filed

Free format text: JAPANESE INTERMEDIATE CODE: A523

Effective date: 20131219

A131 Notification of reasons for refusal

Free format text: JAPANESE INTERMEDIATE CODE: A131

Effective date: 20140318

A521 Request for written amendment filed

Free format text: JAPANESE INTERMEDIATE CODE: A523

Effective date: 20140519

TRDD Decision of grant or rejection written
A01 Written decision to grant a patent or to grant a registration (utility model)

Free format text: JAPANESE INTERMEDIATE CODE: A01

Effective date: 20140819

A61 First payment of annual fees (during grant procedure)

Free format text: JAPANESE INTERMEDIATE CODE: A61

Effective date: 20140821

R150 Certificate of patent or registration of utility model

Ref document number: 5603128

Country of ref document: JP

Free format text: JAPANESE INTERMEDIATE CODE: R150

R250 Receipt of annual fees

Free format text: JAPANESE INTERMEDIATE CODE: R250

R250 Receipt of annual fees

Free format text: JAPANESE INTERMEDIATE CODE: R250

R250 Receipt of annual fees

Free format text: JAPANESE INTERMEDIATE CODE: R250