JP5574792B2 - 撮影装置 - Google Patents

撮影装置 Download PDF

Info

Publication number
JP5574792B2
JP5574792B2 JP2010092541A JP2010092541A JP5574792B2 JP 5574792 B2 JP5574792 B2 JP 5574792B2 JP 2010092541 A JP2010092541 A JP 2010092541A JP 2010092541 A JP2010092541 A JP 2010092541A JP 5574792 B2 JP5574792 B2 JP 5574792B2
Authority
JP
Japan
Prior art keywords
image
exposure
gradation
images
pass filter
Prior art date
Legal status (The legal status is an assumption and is not a legal conclusion. Google has not performed a legal analysis and makes no representation as to the accuracy of the status listed.)
Expired - Fee Related
Application number
JP2010092541A
Other languages
English (en)
Other versions
JP2011221924A5 (ja
JP2011221924A (ja
Inventor
栄作 巽
Current Assignee (The listed assignees may be inaccurate. Google has not performed a legal analysis and makes no representation or warranty as to the accuracy of the list.)
Canon Inc
Original Assignee
Canon Inc
Priority date (The priority date is an assumption and is not a legal conclusion. Google has not performed a legal analysis and makes no representation as to the accuracy of the date listed.)
Filing date
Publication date
Application filed by Canon Inc filed Critical Canon Inc
Priority to JP2010092541A priority Critical patent/JP5574792B2/ja
Priority to US13/080,892 priority patent/US20110249143A1/en
Publication of JP2011221924A publication Critical patent/JP2011221924A/ja
Publication of JP2011221924A5 publication Critical patent/JP2011221924A5/ja
Priority to US13/915,735 priority patent/US9001232B2/en
Application granted granted Critical
Publication of JP5574792B2 publication Critical patent/JP5574792B2/ja
Priority to US14/634,968 priority patent/US9357139B2/en
Expired - Fee Related legal-status Critical Current
Anticipated expiration legal-status Critical

Links

Images

Classifications

    • GPHYSICS
    • G06COMPUTING OR CALCULATING; COUNTING
    • G06TIMAGE DATA PROCESSING OR GENERATION, IN GENERAL
    • G06T5/00Image enhancement or restoration
    • G06T5/90Dynamic range modification of images or parts thereof
    • GPHYSICS
    • G06COMPUTING OR CALCULATING; COUNTING
    • G06TIMAGE DATA PROCESSING OR GENERATION, IN GENERAL
    • G06T5/00Image enhancement or restoration
    • G06T5/20Image enhancement or restoration using local operators
    • GPHYSICS
    • G06COMPUTING OR CALCULATING; COUNTING
    • G06TIMAGE DATA PROCESSING OR GENERATION, IN GENERAL
    • G06T5/00Image enhancement or restoration
    • G06T5/73Deblurring; Sharpening
    • HELECTRICITY
    • H04ELECTRIC COMMUNICATION TECHNIQUE
    • H04NPICTORIAL COMMUNICATION, e.g. TELEVISION
    • H04N23/00Cameras or camera modules comprising electronic image sensors; Control thereof
    • H04N23/70Circuitry for compensating brightness variation in the scene
    • H04N23/73Circuitry for compensating brightness variation in the scene by influencing the exposure time
    • HELECTRICITY
    • H04ELECTRIC COMMUNICATION TECHNIQUE
    • H04NPICTORIAL COMMUNICATION, e.g. TELEVISION
    • H04N23/00Cameras or camera modules comprising electronic image sensors; Control thereof
    • H04N23/70Circuitry for compensating brightness variation in the scene
    • H04N23/741Circuitry for compensating brightness variation in the scene by increasing the dynamic range of the image compared to the dynamic range of the electronic image sensors
    • HELECTRICITY
    • H04ELECTRIC COMMUNICATION TECHNIQUE
    • H04NPICTORIAL COMMUNICATION, e.g. TELEVISION
    • H04N23/00Cameras or camera modules comprising electronic image sensors; Control thereof
    • H04N23/70Circuitry for compensating brightness variation in the scene
    • H04N23/743Bracketing, i.e. taking a series of images with varying exposure conditions
    • GPHYSICS
    • G06COMPUTING OR CALCULATING; COUNTING
    • G06TIMAGE DATA PROCESSING OR GENERATION, IN GENERAL
    • G06T2207/00Indexing scheme for image analysis or image enhancement
    • G06T2207/10Image acquisition modality
    • G06T2207/10004Still image; Photographic image
    • GPHYSICS
    • G06COMPUTING OR CALCULATING; COUNTING
    • G06TIMAGE DATA PROCESSING OR GENERATION, IN GENERAL
    • G06T2207/00Indexing scheme for image analysis or image enhancement
    • G06T2207/10Image acquisition modality
    • G06T2207/10141Special mode during image acquisition
    • G06T2207/10144Varying exposure
    • GPHYSICS
    • G06COMPUTING OR CALCULATING; COUNTING
    • G06TIMAGE DATA PROCESSING OR GENERATION, IN GENERAL
    • G06T2207/00Indexing scheme for image analysis or image enhancement
    • G06T2207/10Image acquisition modality
    • G06T2207/10141Special mode during image acquisition
    • G06T2207/10148Varying focus
    • GPHYSICS
    • G06COMPUTING OR CALCULATING; COUNTING
    • G06TIMAGE DATA PROCESSING OR GENERATION, IN GENERAL
    • G06T2207/00Indexing scheme for image analysis or image enhancement
    • G06T2207/20Special algorithmic details
    • G06T2207/20024Filtering details
    • GPHYSICS
    • G06COMPUTING OR CALCULATING; COUNTING
    • G06TIMAGE DATA PROCESSING OR GENERATION, IN GENERAL
    • G06T2207/00Indexing scheme for image analysis or image enhancement
    • G06T2207/20Special algorithmic details
    • G06T2207/20172Image enhancement details
    • G06T2207/20208High dynamic range [HDR] image processing
    • GPHYSICS
    • G06COMPUTING OR CALCULATING; COUNTING
    • G06TIMAGE DATA PROCESSING OR GENERATION, IN GENERAL
    • G06T2207/00Indexing scheme for image analysis or image enhancement
    • G06T2207/20Special algorithmic details
    • G06T2207/20212Image combination
    • G06T2207/20221Image fusion; Image merging

Landscapes

  • Engineering & Computer Science (AREA)
  • Physics & Mathematics (AREA)
  • General Physics & Mathematics (AREA)
  • Theoretical Computer Science (AREA)
  • Multimedia (AREA)
  • Signal Processing (AREA)
  • Studio Devices (AREA)
  • Image Processing (AREA)
  • Facsimile Image Signal Circuits (AREA)

Description

本発明は、表示あるいはプリントされる画像のダイナミックレンジを拡大するための静止画および動画像の処理技術に関する。
人間の目のダイナミックレンジが、10の6乗から10乗(順応を含む場合)に達するのに対し、通常のデジタル写真におけるダイナミックレンジは、10の4乗程度しかない。そのため、たとえ適正露出を設定して撮影したとしても、写真の中に白飛びや黒つぶれ部分が出来てしまうことが多かった。
これを解決するための方法として、露出を変えた複数の写真を撮影しておき、それらを合成することで、ハイダイナミックレンジの写真を作成する方法がある(特許文献1、2参照)。また、動画においては、暗部および明部のガンマカーブを調整することで、ある程度の黒つぶれや白とびを減少させることが可能であり、それはニー調整と呼ばれる機能である。
ハイダイナミックレンジの写真を作成する従来例を、図9、図10(A)、(B)を用いて説明する。
図9は、従来例によるハイダイナミックレンジの画像を作成するための機能ブロック図である。図中、106は適正露出画像に使用割合Aを乗算する機能ブロック、107は露出オーバー画像に使用割合Bを乗算する機能ブロック、108は露出アンダー画像に使用割合Cを乗算する機能ブロックである。109は3つの画像を加算する加算ブロック、110は画像の階調数を出力画像として適当な階調数に削減または拡張する階調変換ブロック、である。
不図示の入力部から、適正露出、露出オーバー、露出アンダーの3種類の入力画像が入力される。それぞれの入力画像の階調値は、3種類の露出で撮影した時の撮像素子の出力電圧をデジタル化した値であり、後述する図10(A)の符号111〜113に相当する。
次に、機能ブロック106、107、108が、適正露出、露出オーバー、露出アンダーの3種類の画像に、それぞれ個別の割合(割合:A、割合:B、割合:C)をかける。これらの画像は加算ブロック109にて足し合わされる(線形合成)。このとき、暗い側においては、適正露出と露出オーバーの階調が足しあわされ、明るい側において、適正露出と露出アンダーの階調が足しあわされる。その結果、入力される輝度に対して出力する階調数が広くなる(ハイダイナミックレンジ)。
最後に、階調変換ブロック110によって、画像の階調数の調整を行なう。これは、要求される階調数に合わせる処理を行う。通常乗算器で構成される。
このようにして、ハイダイナミックレンジの画像が得られる。
図10(A)、(B)は、従来のハイダイナミックレンジ(HDR)画像の説明を行うための模式的な図である。図10(A)は撮像素子に入力される輝度と撮像素子の出力を示す図、図10(B)は撮像素子に入力される輝度とHDR画像の階調値を示す図である。
図10(A)において、横軸は撮像素子に入力される輝度、縦軸は撮像素子の出力をアナログ/デジタル変換器でデジタルデータに変換した撮像素子の出力階調値である。
説明をわかりやすくするために、8bitのアナログ/デジタル変換器を用いた例で出力階調値を0−255のデータとして示している。もちろん必要な階調数(ビット幅)に
変更しても良い。図10(A)において、点線111は適正露出で撮像した場合の撮像素子に入力される輝度と撮像素子の出力階調値の関係を示す。点線112は露出オーバーで撮像した場合の撮像素子に入力される輝度と撮像素子の出力階調値の関係を示す。点線113は露出アンダーで撮像した場合の撮像素子に入力される輝度と撮像素子の出力階調値の関係を示す。図10(A)では、図が見難くなるのを避けるために省略しているが、適正露出の場合は、出力階調値0に対応する輝度111Dより小さい輝度では出力階調値は0になり、出力階調値255に対応する輝度111Lより大きい輝度では出力階調値は255になる。すなわち、0から255以外をクリッピングしている。同様に露出オーバー、露出アンダーの場合も、0から255以外をクリッピングしている。
HDR画像を作成しない通常の撮影では、例えば適正露出で撮像した場合、輝度111Dより小さい輝度では、出力階調値は一律に0となり、いわゆる黒つぶれが発生する。また、輝度111Lより大きい輝度では、出力階調値は一律に255となり、いわゆる白飛びが発生する。この輝度111Dから111Lまでの範囲がダイナミックレンジに相当する。
従来行われているHDR画像の作成はこれらの問題を解決するために、露出アンダー、露出オーバーで撮像し得られた画像を以下の説明のように処理してダイナミックレンジを広げる(すなわち、黒つぶれする輝度を小さく、白飛びする輝度を大きくする)。
図10(B)を参照して、従来のHDR画像作成方法の説明を行う。図10(B)において、横軸は撮像素子に入力される輝度、縦軸は撮像素子の出力階調値およびHDR加算画像の階調値である。点線111、112、113は前述した適正露出で撮像した場合、露出オーバーで撮像した場合、露出アンダーで撮像した場合の撮像素子に入力される輝度と撮像素子の出力階調値を示す。
HDR画像の作成は、図9で説明したブロックで処理される。説明を簡単にするため、図9で説明した割合A、B、Cをすべて1として説明する。撮像素子の出力階調値(点線111、112、113)が加算ブロック109で足しあわされる。ここで、加算ブロック109の出力をHDR加算画像と呼ぶことにする。図10(B)の太い実線114はHDR加算画像の階調値を示す。このHDR加算画像は階調変換ブロック110により必要な階調数に変換される。
実線114では、図10(B)に示すように、黒つぶれが発生する輝度が114Dで示す輝度まで小さくなり、白飛びが発生する輝度が114Lに示す輝度まで大きくなる。つまり、HDR画像では、図10(A)で示した適正露出の画像に比べて、ダイナミックレンジが拡張されているのがわかる。
HDR加算画像は実線114のように0から765の値を取るので、例えば256階調の表示装置に表示する場合は、階調変換ブロック110において階調値を1/3倍することが好適である。
図10(B)において、実線114の形状はHDR画像の特性を示している。この実線114の形状は露出オーバー、露出アンダーの設定値、図9で説明した割合A、B、Cにより変更可能であり、必要なダイナミックレンジで最適な特性の形状となるように設計すればよい。
特開2008−236726号公報 特開2006−345509号公報 特開2009−71821号公報 特開2004−48445号公報 特開2009−98718号公報
動いている被写体に対し、上述したハイダイナミックレンジ処理を行なう場合、瞬間的に露出を変えた複数の写真を撮影する必要がある。しかしながら、一般のカメラではどうしても、数十msの間隔をおかないと、次の撮影が出来ない。その結果として、複数の写真を合成した時に、動いている被写体の輪郭部分が2重に見えるような、2重写り(3枚だと3重写り)と呼ばれる問題が発生する。
こうした従来例の課題を、図11を用いて説明する。図11は、2次元画像における水平方向1ライン分の階調分布を示しており、横軸は水平方向の座標、縦軸は階調値である。
均一な背景の中を明るい色の四角い物体が左から右に動いているときに、適正露出画像と露出オーバー画像を順に撮影したとする。図11の131は適正露出画像に割合Aを乗算した画像の階調分布であり、132は露出オーバー画像に割合Bを乗算した画像の階調分布である。また133は、加算及び階調変換して得られたHDR画像の階調分布である。
四角い物体が動いているため、適正露出画像を撮影してから露出オーバー画像を撮影するまでの数十msの時間経過により、四角い物体の撮像素子内の位置が移動する。そのため、階調分布133に示すように、HDR画像のエッジ部分が階段状になる。これが2重写りのように見える。幅が非常に狭い線状の物体の場合は、2本の線が現れるような画像になってしまう。この2重写りは、一般の写真において表現される動きを示す「自然な尾引き」ではないので、非常に見苦しいものになる。
そこで2重写り対策として、特許文献3のように、動きベクトルを演算し、動いた部分を補正する処理を行なうものがある。しかしながら、動きベクトルの演算は完璧に出来るものではないので、合成した写真において、動いた部分のエッジの一部がガタガタになって、見苦しい写真となってしまうことがある。特に静止画においては参照画像が少ないので、動きベクトルの抽出は難しい。また、動きベクトルの演算が困難な縞模様のようなパターンがあると、合成写真の品質低下が顕著になる。
また、特許文献4および5のように、画像の領域を分けて画像合成することにより、ハイダイナミックレンジの画像を作る方法において、境界部分の微妙な不一致をぼかし処理によって解決する方法がある。しかしながら、この方法は、両方の画像をぼかして合成するため、得られた画像は境界が不自然にぼけた画像になってしまう。
そこで、本発明は、動く被写体を連続撮影して得られた複数の静止画像からハイダイナミックレンジの静止画像を作成する際に、2重写りやエッジの乱れの発生を防ぎ、動く被写体のエッジ部分を自然な尾引きで表現する技術を提供することを目的とする。
また、本発明は、2重写りやエッジの乱れのない高品質なハイダイナミックレンジの静止画像および動画像を表示するための技術を提供することを目的とする。
また、本発明は、ハイダイナミックレンジの動画像を簡易に作成するための技術を提供することを目的とする。
本発明、動画像を撮影する撮影装置であって、適正露出の適正画像、オーバー露出のオーバー露出画像、及び、アンダー露出のアンダー露出画像を撮影する撮影手段と、前記オーバー露出画像及び前記アンダー露出画像にローパスフィルター処理を行い、前記適正画像のフレーム、ローパスフィルター処理されたオーバー露出画像のフレーム、及び、ローパスフィルター処理されたアンダー露出画像のフレームを交互に含む動画像を生成する画像処理手段と、前記画像処理手段で生成された動画像を記憶する記憶手段と、を有することを特徴とする
本発明によれば、動く被写体を連続撮影して得られた複数の静止画像からハイダイナミックレンジの静止画像を作成する際に、2重写りやエッジの乱れの発生を防ぎ、動く被写体のエッジ部分を自然な尾引きで表現することができる。
また、2重写りやエッジの乱れのない高品質なハイダイナミックレンジの静止画像および動画像を表示することができる。
また、ハイダイナミックレンジの動画像を簡易に作成することができる。
第1実施形態に係る画像処理装置の機能ブロック図。 第1実施形態における画像合成を説明する図。 第2実施形態に係る画像処理装置の機能ブロック図。 第2実施形態における画像合成を説明する図。 第3実施形態に係る画像処理装置の機能ブロック図。 第3実施形態における画像合成を説明する図。 第4実施形態に係る表示装置の機能ブロック図。 第5実施形態に係る撮影装置と表示装置の機能ブロック図。 従来例によるHDR画像を作成するための機能ブロック図。 従来例によるHDR画像の作成方法を説明する図。 従来例による2重写りを説明する図。
本発明は、露出の異なる複数の画像を使用してハイダイナミックレンジ画像(HDR画像)を作成するための技術に関するものであり、特に、動く被写体のHDR画像を得る目的に好ましく利用されるものである。この技術は、例えば、露出の異なる複数の画像を合成して1枚のHDR画像を作成する画像処理装置、露出の異なる複数の画像を連続表示してHDRと同様の視覚効果を得る表示装置、HDRの動画像を撮影し記録する撮影装置などに適用できる。
ここで露出の異なる複数の画像は、適正露出で撮影された画像(これを「適正露出画像」と呼ぶ)と、適正露出以外(露出アンダー、露出オーバーなど)で撮影された画像(これを「不適正露出画像」と呼ぶ)とを含んでいる。適正露出画像と不適正露出画像の2枚の画像から1枚のHDR画像を得ることもできるし、1又は複数の適正露出画像と1又は複数の不適正露出画像の複数枚の画像から1枚のHDR画像を得ることもできる。なお、「適正露出」とは、自然な階調再現が得られるように、被写体の明るさ等の条件により決まる標準の露出値のことであり、「標準露出」といいかえることもできる。
以下、添付する図面を参照して本発明の実施形態を説明する。第1〜第3実施形態は本発明を画像処理装置に適用した例であり、第4実施形態は本発明を表示装置に適用した例であり、第5実施形態は本発明を撮影装置に適用した例である。以下の実施形態で述べる装置は、例えば、TV装置、映像記録再生装置、パーソナルコンピューター、デジタルカメラ、デジタルビデオカメラ、デジタルフォトフレーム、携帯電話、ゲーム装置などの機能の一部として実装可能である。
(第1実施形態)
図1は、本発明の第1実施形態に係る画像処理装置の機能ブロック図である。
この画像処理装置は、適正露出画像と不適正露出画像を入力する入力手段1、不適正露出画像に対しローパスフィルター処理を行なうフィルター手段2、適正露出画像に対しフィルター手段2の出力画像を合成することでHDR画像を作成する合成手段3を備える。入力手段1からは、適正露出画像と、露出オーバーと露出アンダーの2枚の不適正露出画像とが入力される。フィルター手段2は、露出オーバー画像の高周波成分を除去するためのローパスフィルター(LPF)11と、露出アンダー画像の高周波成分を除去するためのローパスフィルター(LPF)12を備える。合成手段3は、機能ブロック106、107、108と、加算ブロック109と、階調変換ブロック110とを備えている。これらのブロック106〜110の機能は図9に示したものと同じである。図1において、S11は、割合Aが乗算された適正露出画像、S12は、割合Bが乗算された、ローパスフィルター処理後の露出オーバー画像、S13は、割合Cが乗算された、ローパスフィルター処理後の露出アンダー画像である。S14は、加算ブロック109の出力画像(HDR加算画像とも呼ぶ)である。
例えばデジタルカメラのオートブラケット機能を使用すると、適正露出の他に、露出オーバーと露出アンダーの3枚の画像が数十msの間隔をおいて、撮影できる。その3枚の画像を入力手段1から入力する。第1実施形態では、露出オーバー画像をローパスフィルター11に通し、露出アンダー画像をローパスフィルター12に通す。そして、図9と同様に機能ブロック106、107、108が、適正露出画像、ローパスフィルター処理後の露出オーバー画像、ローパスフィルター処理後の露出アンダー画像の3種類の画像に、それぞれ所定の割合A、B、Cをかける。
このようにして得られた画像S11、S12、S13は加算ブロック109にて足し合わされる。図10(B)で説明したように、暗い側においては、ローパスフィルター処理後の露出オーバー画像S12と適正露出画像S11の階調が足しあわされる。また、明るい側においては、ローパスフィルター処理後の露出アンダー画像S13と適正露出画像S11の階調が足しあわされる。したがって、合成後の画像S14は、元画とローパスフィルターを通した画が、混合された画となる。
図2は、本実施形態の画像合成を説明する図である。図2は、2次元画像における水平方向1ライン分の階調分布を示しており、横軸は水平方向の座標、縦軸は階調値である。以下、説明を簡略化するために、露出オーバー画像と適正露出画像の2枚からHDR画像を作成する処理を説明する。露出アンダー画像を合成する場合も同様に考えればよい。
図11と同様、均一な背景の中を明るい色の四角い物体が左から右に動いている、という被写体を仮定する。本実施形態では、この被写体を露出オーバー、適正露出の順で撮影する。図2の31は適正露出画像に割合Aを乗算した画像S11の階調分布であり、32はローパスフィルター処理後の露出オーバー画像に割合Bを乗算した画像S12の階調分布である。また33は、合成画像S14の階調分布である。
四角い物体が動いているため、露出オーバー画像を撮影してから適正露出画像を撮影す
るまでの数十msの時間経過により、四角い物体の撮像素子内の位置が移動する。この両方の画像に図1で示した処理を適用すると、適正露出画像に関しては、階調分布31のようにエッジが維持されるが、露出オーバー画像に関しては、ローパスフィルターを通すことで、階調分布32のようにエッジがなだらかな画像S12に変換される。
この2つの画像S11とS12を加算すると、加算後の画像S14は階調分布33のようになる。この階調分布33を見ると、四角い物体の進行方向前方では階調が僅かに減少しており(33a参照)、後方では階調が僅かに増加している(33b参照)。このようなエッジ部分の階調変化は、写真撮影におけるシャッタースピードと物体の動きとの関係で生じる「尾引き」に類似しており、従来例のような2重写りとは違い、自然な画像に見える。また、幅が非常に狭い線状の物体の場合、露出オーバー画像側の線はローパスフィルターによりぼやけて目立たなくなるので、合成画像は2重線に見えない。したがって、本実施形態によれば、複数の画像からHDR画像を作成する際に、2重写りやエッジの乱れの発生を防ぎ、動く被写体のエッジ部分を自然な尾引きで表現することができる。
適正露出画像と不適正露出画像の撮影順は、不適正露出画像の撮影が先であることが好ましい。また不適正露出画像として、露出オーバー画像と露出アンダー画像の2つを用いる場合には、露出オーバー画像、露出アンダー画像、適正露出画像の順で撮影を行なうのがよい。このような撮影順とすることで、より自然な尾引きが生成されるからである。
なお本発明は、上記実施形態の構成に限るものでなく、目的、効果および結果が同じであれば、別の構成をとることも出来る。例えば、各画像に割合A〜Cを乗算せず、適正露出画像に対しローパスフィルター処理後の不適正露出画像をそのまま加算してもよい。
入力画像としては、輝度に対して階調値が比例している画像(リニア系の画像)を用いることが好ましい。JPEG画像などガンマ系の画像を使用する場合は、リニア系の画像に変換してから上記のHDR合成処理を行うと良い。また出力するHDR画像は、必要に応じてリニア系からガンマ系に変換すると良い。あるいは、合成時に割合A,B,Cを適宜設定することで、ガンマ系の画像のまま上記処理を行なっても良い。ただしガンマ系の画像に対し上記のHDR合成処理を行なう場合は、コントラストカーブが若干変化する。
(第2実施形態)
図3および図4を用いて、本発明の第2実施形態を説明する。第2実施形態では、HDR画像における「ぼやけ」や「尾引き」を減少する方法を示す。
図3は、本発明の第2実施形態に係る画像処理装置の機能ブロック図である。
この画像処理装置は、適正露出画像から低周波成分を減じる処理を行なう適正露出画像調整手段4を有している点で、第1実施形態のものと異なる。それ以外の構成(入力手段1、フィルター手段2、合成手段3)は第1実施形態のものと同じである。
適正露出画像調整手段4は、適正露出画像に対しローパスフィルター処理を行なうローパスフィルター211と、ローパスフィルター処理前の適正露出画像S20からローパスフィルター処理後の適正露出画像S21を減算する減算ブロック212と、を有する。本実施形態では、減算ブロック212から出力される、調整された適正露出画像S22がHDR合成に利用される。
適正露出画像から低周波成分を減算した画像S22をHDR合成に用いることで、適正露出の階調範囲では、元の適正露出画像S20に近い画像が得られる。このことを図4にて説明する。
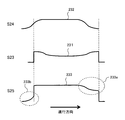
図4は、第2実施形態の画像合成を説明する図である。第1実施形態(図2)の場合と同じ適正露出画像及び露出オーバー画像が入力された例を示している。図4の231は調
整された適正露出画像S22に割合Aを乗算した画像S23の階調分布であり、232はローパスフィルター処理後の露出オーバー画像に割合Bを乗算した画像S24の階調分布である。また233は、合成画像S25の階調分布である。
四角い物体が動いているため、露出オーバー画像を撮影してから適正露出画像を撮影するまでの数十msの時間経過により、四角い物体の撮像素子内の位置が移動する。この両方の画像に図3で示した処理を適用すると、適正露出画像に関しては、低周波成分を減算しているので、エッジは維持され、輝度変化の小さい中央部分は凹んだような階調分布231になる。一方、露出オーバー画像に関しては、ローパスフィルターを通すことで、エッジがなだらかな階調分布232となる。
これらの合成画像S25も、第1実施形態と同様、四角い物体の進行方向前方では階調が僅かに減少し(233a参照)、後方では階調が僅かに増加する(233b参照)階調分布233をもつ。したがって、動く被写体を自然な「尾引き」で表現できる。
ここで、四角い物体の中央部の階調に注目する。画像S23は低周波成分が減算されているのに対し、画像S24は低周波成分である。そのため、画像S23とS24を加算すると、四角い物体の中央部の階調分布がほぼフラットになる。よって、第1実施形態よりも、「ぼやけ」や「尾引き」が減少し、より高品質なHDR画像が得られる。
(第3実施形態)
図5および図6を用いて、本発明の第3実施形態を説明する。第3実施形態では、不適正露出画像のなかの所定の階調部分にのみローパスフィルター処理を行なうことで、HDR画像の品質をさらに向上する方法を示す。
図5は、本発明の第3実施形態に係る画像処理装置の機能ブロック図である。
この画像処理装置は、フィルター手段2が特殊ローパスフィルター311、312を有している点で、第2実施形態のものと異なる。それ以外の構成(入力手段1、合成手段3、適正露出画像調整手段4)は第2実施形態のものと同じである。
特殊ローパスフィルター311は、露出オーバー画像のなかの所定閾値TH1より明るい階調部分にのみローパスフィルターをかける(つまり、閾値TH1より暗い階調部分でフィルターをオフにする)、特殊なフィルターである。また特殊ローパスフィルター312は、露出アンダー画像のなかの所定閾値TH2より暗い階調部分にのみローパスフィルターをかける(つまり、閾値TH2より明るい階調部分でフィルターをオフにする)、特殊なフィルターである。本実施形態では、閾値TH1とTH2をそれぞれ、適正露出のダイナミックレンジの最小値(図10(A)の111D)と最大値(図10(A)の111L)に設定する。ただし閾値TH1とTH2の値はこれに限らず、それぞれ任意に設定してよい。
図6(A)と図6(B)は、第3実施形態の画像合成を説明する図である。図6(A)は、第1実施形態(図2)の場合と同じ適正露出画像及び露出オーバー画像が入力された例を示している。図6(B)は、図6(A)よりも暗い四角い物体を撮影して得られた適正露出画像及び露出オーバー画像が入力された例である。331と334は、図5における画像S33の階調分布であり、332と335は、画像S34の階調分布であり、333と336は、合成画像S35の階調分布である。
図6(A)の明るい物体の場合は、第2実施形態と同じ合成画像S35が得られる。よって、第2実施形態と同様、自然な尾引き表現による高品質なHDR画像(333参照)が生成される。
一方、図6(B)の暗い物体について考える。当該物体の輝度が適正露出では映らない
レベルの輝度だった場合、画像S33の階調は0となる(334参照)。露出オーバー画像では、当該物体の輝度が閾値TH1より小さいためにローパスフィルターがオフになり、入力された画像と同様の階調分布335が得られる。よって、合成画像S35の階調分布336では、ローパスフィルターによるエッジぼけがなく、元の物体のエッジが保たれる。図示していないが、露出アンダー画像に関しては、閾値TH1より大きい階調部分について、エッジぼけのない高品質な画像が得られる。
以上より、本実施形態によれば、第2実施形態よりもさらに「ぼやけ」や「尾引き」が減少した、より高品質なHDR画像が得られる。
(第4実施形態)
さてここまでの第1〜第3実施形態では、複数の入力画像から1枚のHDR画像を作成した後にそれを表示する例を述べた。
最近の表示装置は、120pなどの高速に表示できるものが増えている。このような表示装置において、複数の画像を高速に切り替えて表示すると、観者にはそれらの画像を合成した画像が見える。そこで、露出の異なる複数の入力画像に対し、第1〜第3実施形態と同様のフィルター処理を行った後、それらを繰り返し連続的に表示することで、観者には合成した結果であるHDR画像として見えることになる。
図7は、本発明の第4実施形態に係る表示装置における、ハイダイナミックレンジ処理を行なう部分の機能ブロック図である。図1と同じ符号が付されたブロックは、第1実施形態のものと同じ機能をもつものである。第1実施形態と異なる点は、加算ブロック109の代わりに、表示部に出力する画像をフレーム単位で切り替えるセレクタ411が設けられている点である。
セレクタ411は、垂直同期に従い所定の表示周波数で、適正露出画像(S40)と不適正露出画像(S41、S42)とを交互に表示する。ここでは、フリッカーの発生を抑制するために、2つの画像を交互に表示する場合には表示周波数を70Hz以上に、3つの画像を交互に表示する場合には表示周波数を100Hz以上にする。
表示される画像を図2で説明すると、実際に表示される画像は階調分布31と32の2つの画像であるにもかかわらず、それらが高速に切り替わるため、観者の目の中で合成されて、階調分布33のように見える。このように、簡単な構成で、高品質なHDR画像を得ることができる。
なお、第4実施形態では、第1実施形態と同じフィルター処理を行なう例を挙げたが、本発明の構成はこれに限られない。第2実施形態で述べた適正露出画像調整手段や、第3実施形態で述べた特殊ローパスフィルターを、第4実施形態の構成に追加することもできる。あるいは、図7の構成からフィルター手段2を省略して、入力手段1で入力された適正露出画像と不適正露出画像をそのまま表示することもできる。
(第5実施形態)
さてここまでの第1〜第4実施形態では、静止画の画像からハイダイナミックレンジの画像を表示する例を述べた。第1〜第3実施形態において、露出の異なる複数の静止画からハイダイナミックレンジの画像を合成する方法を述べた。また、第4実施形態においては、露出の異なる複数の画像を連続的に表示することによって、観者の目の中でハイダイナミック合成できることを示した。
ところで当然ながら、表示装置は動画を表示することができるものであって、ことに最近は120pなどの高速に表示できるものが増えている。このような表示装置においては、第4実施形態で示した静止画の例と同様に、動画像においても、露出の異なる画像を交互に表示することで、視聴者には合成した画像として見えることになる。
そこで、適正露出画像のフレームと不適正露出画像のフレームとが交互に含まれる動画像を作成すれば、この動画像を表示することで、観者にハイダイナミックレンジの画像を提供することができる。
図8を用いて、第5実施形態に係る撮影装置と表示装置の構成を説明する。撮影装置は、撮像素子511、アンプ512、ゲインセレクタ513、ADコンバータ514、画像処理部515を有している。撮像素子511は、動画像を撮影する撮影手段であり、CCD又はCMOSで構成される。アンプ512は、撮像素子511の出力電圧を変換する機能である。ゲインセレクタ513は、アンプ512のゲインを「適正なレベル」と「オーバーなレベル」と「アンダーなレベル」の間で切り替える機能である。ADコンバータ514は、アンプ512の出力をデジタル信号に変換する機能である。画像処理部515は、デジタル演算によって画質調整や圧縮などの処理を行なう機能である。画像処理部515から出力される動画像は記憶媒体に記録される。516は、その動画像を表示するための表示装置である。
2種類の露出の画像を交互に表示する動画像の場合は、フリッカーの発生を抑制するために、その表示周波数を120Hzのように70Hz以上の値にする必要がある。
120Hzで動作させる例では、撮像素子511をシャッター速度(蓄積速度)125分の1秒以下で動かし、図示していないレンズで結像した光信号を電気信号に変換する。次にアンプ512にて電気信号を増幅するが、この時の増幅率は、以下の2種類を120Hzのタイミングで切り替えて繰り返し使用する。増幅率を変化させれば、ISO感度が変化することになる。
ゲインA:適正露出より若干オーバーな増幅率(1.5倍〜2倍程度)
ゲインB:適正露出より若干アンダーな増幅率(0.7倍〜0.5倍程度)
そうすれば、交互に若干オーバーな画像レベルの信号とアンダーな画像レベルの信号が、120Hzのフレーム周波数で得られる。この信号を、ADコンバータ514でデジタル化する。そして、画像処理部515が、撮像素子のRAWデータをRGB画像データに変換した後、ガンマ調整などの画質調整を行い、必要に応じて圧縮する。ただし、画像処理部515では、感度調整(露出調整)は行わない。
このようにすれば、若干オーバーな明るい画像フレームと、若干アンダーな暗い画像フレームが繰り返されている動画が得られる。なお、明るい画像フレームには、白飛び部分があり、暗い画像フレームには、黒つぶれ部分が存在する可能性がある。
本実施形態においては、120Hzで連続した動画を撮影しているので、図1に示すローパスフィルター11、12はあっても良いが必須ではない。もしも、60Hzの動画から、120Hzの動画を作成する場合は、第1〜第4実施形態のように、ローパスフィルターが必要になる。
このようにして得られた動画像は、不揮発性メモリ、HDD、テープなどの記憶媒体(記憶手段)に記録される。つまり、本実施形態の撮影装置によれば、露出(感度)の異なる画像のフレームが交互に現れるような動画像が生成し、記憶される。
なお、露出を変える手段は、上に示したアンプ512によって感度を変えるものだけでない。ビデオカメラの(図示していない)絞りを連続的に変化させたり、撮像素子511の電子シャッター速度を連続的に変化させても、同様に露出を変えることができる。
上記手段で記録してあった動画像を、撮影時と同じ周波数(ここでは120Hz)で、高速動画表示装置516に送る。高速動画表示装置516では、入力された動画像を(合成はせずに)連続的に表示する。これにより、観者がフリッカーを感じない速度で、明る
い画像フレームと暗い画像フレームが繰り返し表示される。
そうすれば、観者の目の中で、明るい画像フレームと暗い画像フレームが合成した動画として見える。明るい画像フレームにあった白飛び部分は、暗い画像フレームでは階調があるので、合成後は、白飛びしていないように見える。逆に、暗い画像フレームにあった黒つぶれ部分は、明るい画像フレームでは階調があるので、合成後は、黒つぶれしていないように見える。よって、観者には合成した結果であるハイダイナミックレンジの画像として見える。
なお、上記実施形態では、露出の変更を2種類とする場合について述べたが、勿論露出変更を3種類としても、同様の効果が得られる。3種類の場合は、露出アンダーフレーム、適正露出フレーム、露出オーバーフレームの3種類とするのが、ダイナミックレンジが明暗方向の両側に広がるので適当である。ただし、より暗い部分の階調性を重視した画作りを行ないたい場合は、適正露出画像のフレーム1つに対して露出オーバー画像のフレームを複数使用してもよい。逆に、明るい部分の階調性を重視した作品にしたい場合などは、適正露出画像のフレーム1つに対して露出アンダー画像のフレームを複数使用してもよい。
また、上記実施形態は、1台のカメラで撮影しているが、露出の異なる2台のカメラで同じ被写体を撮影してもよい。各カメラで撮影し録画された2つの映像から、異なる露出のフレームが交互になるように編集をし直す事で、上記1台のカメラと同じことを実現することも可能である。
1:入力手段、2:フィルター手段、3:合成手段

Claims (2)

  1. 動画像を撮影する撮影装置であって、
    適正露出の適正画像、オーバー露出のオーバー露出画像、及び、アンダー露出のアンダー露出画像を撮影する撮影手段と、
    前記オーバー露出画像及び前記アンダー露出画像にローパスフィルター処理を行い、前記適正画像のフレーム、ローパスフィルター処理されたオーバー露出画像のフレーム、及び、ローパスフィルター処理されたアンダー露出画像のフレームを交互に含む動画像を生成する画像処理手段と、
    前記画像処理手段で生成された動画像を記憶する記憶手段と、を有することを特徴とする撮影装置。
  2. 前記動画像を70Hz以上の周波数で表示する表示手段をさらに有する
    ことを特徴とする請求項1に記載の撮影装置。
JP2010092541A 2010-04-13 2010-04-13 撮影装置 Expired - Fee Related JP5574792B2 (ja)

Priority Applications (4)

Application Number Priority Date Filing Date Title
JP2010092541A JP5574792B2 (ja) 2010-04-13 2010-04-13 撮影装置
US13/080,892 US20110249143A1 (en) 2010-04-13 2011-04-06 Image processing apparatus, display apparatus and image capturing apparatus
US13/915,735 US9001232B2 (en) 2010-04-13 2013-06-12 Image processing apparatus, display apparatus and image capturing apparatus, with moving image including plural frames of images alternately captured with different exposures including correct and incorrect exposures
US14/634,968 US9357139B2 (en) 2010-04-13 2015-03-02 Image processing apparatus, display apparatus and image capturing apparatus with generation of composite image by adding multiplied edge components outputted from first multiplier and multiplied low frequency components outputted from second mylitplier

Applications Claiming Priority (1)

Application Number Priority Date Filing Date Title
JP2010092541A JP5574792B2 (ja) 2010-04-13 2010-04-13 撮影装置

Publications (3)

Publication Number Publication Date
JP2011221924A JP2011221924A (ja) 2011-11-04
JP2011221924A5 JP2011221924A5 (ja) 2013-05-23
JP5574792B2 true JP5574792B2 (ja) 2014-08-20

Family

ID=44760671

Family Applications (1)

Application Number Title Priority Date Filing Date
JP2010092541A Expired - Fee Related JP5574792B2 (ja) 2010-04-13 2010-04-13 撮影装置

Country Status (2)

Country Link
US (3) US20110249143A1 (ja)
JP (1) JP5574792B2 (ja)

Cited By (1)

* Cited by examiner, † Cited by third party
Publication number Priority date Publication date Assignee Title
JP2023140446A (ja) * 2022-03-23 2023-10-05 キヤノン株式会社 光学機器およびその制御方法

Families Citing this family (19)

* Cited by examiner, † Cited by third party
Publication number Priority date Publication date Assignee Title
US9918017B2 (en) 2012-09-04 2018-03-13 Duelight Llc Image sensor apparatus and method for obtaining multiple exposures with zero interframe time
US9521355B2 (en) * 2012-12-04 2016-12-13 Samsung Electronics Co., Ltd. Image processing apparatus, image processing method and program thereof
CN104103053B (zh) * 2013-11-25 2017-10-20 北京华科创智健康科技股份有限公司 一种电子内窥镜图像增强的方法和装置
EP2933999B1 (en) * 2014-04-14 2018-02-21 Alcatel Lucent Method and apparatus for obtaining an image with motion blur
JP6492452B2 (ja) * 2014-08-12 2019-04-03 株式会社リコー 制御システム、撮像装置、制御方法およびプログラム
US12401911B2 (en) 2014-11-07 2025-08-26 Duelight Llc Systems and methods for generating a high-dynamic range (HDR) pixel stream
US12401912B2 (en) 2014-11-17 2025-08-26 Duelight Llc System and method for generating a digital image
US12445736B2 (en) 2015-05-01 2025-10-14 Duelight Llc Systems and methods for generating a digital image
JP6390512B2 (ja) * 2015-05-21 2018-09-19 株式会社デンソー 車載カメラ装置
US10311558B2 (en) * 2015-11-16 2019-06-04 Dolby Laboratories Licensing Corporation Efficient image processing on content-adaptive PQ signal domain
CN105657247A (zh) * 2015-11-20 2016-06-08 乐视移动智能信息技术(北京)有限公司 一种电子设备的二次曝光拍照方法和装置
JP6630176B2 (ja) * 2016-02-09 2020-01-15 キヤノン株式会社 画像処理装置およびその方法
WO2018161013A1 (en) * 2017-03-03 2018-09-07 Apton Biosystems, Inc. High speed scanning system with acceleration tracking
US10706512B2 (en) * 2017-03-07 2020-07-07 Adobe Inc. Preserving color in image brightness adjustment for exposure fusion
US10158797B2 (en) * 2017-03-31 2018-12-18 Motorola Mobility Llc Combining images when a face is present
CN110572584B (zh) * 2019-08-26 2021-05-07 Oppo广东移动通信有限公司 图像处理方法、装置、存储介质及电子设备
JP7765383B2 (ja) 2019-09-05 2025-11-06 パシフィック・バイオサイエンシズ・オブ・カリフォルニア・インク. 超解像画像化のための高速スキャニングシステム
CN113472980B (zh) * 2021-06-15 2022-12-09 展讯通信(上海)有限公司 一种图像处理方法、装置、设备、介质和芯片
CN116228585A (zh) * 2023-03-13 2023-06-06 上海闻泰信息技术有限公司 图像处理方法、装置、计算机设备和存储介质

Family Cites Families (27)

* Cited by examiner, † Cited by third party
Publication number Priority date Publication date Assignee Title
JPH11317905A (ja) 1998-05-06 1999-11-16 Seiko Epson Corp デジタルカメラ
JP3426139B2 (ja) * 1998-08-18 2003-07-14 松下電器産業株式会社 映像信号処理方法とその装置および撮像装置
US6687400B1 (en) * 1999-06-16 2004-02-03 Microsoft Corporation System and process for improving the uniformity of the exposure and tone of a digital image
JP2001320613A (ja) * 2000-05-12 2001-11-16 Sony Corp 撮影装置
JP4742453B2 (ja) * 2001-06-20 2011-08-10 ソニー株式会社 撮像方法および装置
JP2003158669A (ja) * 2001-11-21 2003-05-30 Olympus Optical Co Ltd 撮像装置
JP2004048445A (ja) 2002-07-12 2004-02-12 Fuji Photo Film Co Ltd 画像合成方法及び装置
JP4174494B2 (ja) 2004-06-30 2008-10-29 キヤノン株式会社 駆動装置、画像表示装置及びテレビジョン装置
JP2006025310A (ja) * 2004-07-09 2006-01-26 Konica Minolta Photo Imaging Inc 撮像装置
JP2006033033A (ja) * 2004-07-12 2006-02-02 Konica Minolta Photo Imaging Inc 動画再生方法、動画再生プログラムおよび撮像装置
JP2006050391A (ja) * 2004-08-06 2006-02-16 Matsushita Electric Ind Co Ltd 動画データ再生装置、動画データの再生方法、動画データ記録装置、動画データの記録方法、および動画データが記録された記録媒体
US7480421B2 (en) 2005-05-23 2009-01-20 Canon Kabushiki Kaisha Rendering of high dynamic range images
JP2007049227A (ja) * 2005-08-05 2007-02-22 Canon Inc 画像処理装置及び方法
US7912337B2 (en) * 2005-11-02 2011-03-22 Apple Inc. Spatial and temporal alignment of video sequences
JP4941285B2 (ja) 2007-02-20 2012-05-30 セイコーエプソン株式会社 撮像装置、撮像システム、撮像方法及び画像処理装置
JP2008236727A (ja) 2007-02-23 2008-10-02 Matsushita Electric Ind Co Ltd 無線通信端末装置及び隣接セル測定方法
US8108211B2 (en) * 2007-03-29 2012-01-31 Sony Corporation Method of and apparatus for analyzing noise in a signal processing system
JP2009033586A (ja) * 2007-07-30 2009-02-12 Canon Inc 撮像装置
KR101411639B1 (ko) 2007-09-11 2014-06-24 삼성전기주식회사 영상 정합 방법 및 장치
US7940311B2 (en) * 2007-10-03 2011-05-10 Nokia Corporation Multi-exposure pattern for enhancing dynamic range of images
JP4952499B2 (ja) 2007-10-12 2012-06-13 株式会社デンソー 画像処理装置
JP4906668B2 (ja) * 2007-10-18 2012-03-28 株式会社キーエンス 高速撮影装置、高速撮影装置の制御方法及びコンピュータプログラム
US20090175535A1 (en) * 2008-01-09 2009-07-09 Lockheed Martin Corporation Improved processing of multi-color images for detection and classification
JP2009246775A (ja) * 2008-03-31 2009-10-22 Canon Inc 画像再生装置
JP4406461B2 (ja) * 2008-04-08 2010-01-27 オリンパス株式会社 撮像装置
JP5294922B2 (ja) * 2009-02-26 2013-09-18 キヤノン株式会社 再生装置および再生方法
JP5451319B2 (ja) 2009-10-29 2014-03-26 キヤノン株式会社 画像処理装置、画像処理方法、プログラム及び記憶媒体

Cited By (1)

* Cited by examiner, † Cited by third party
Publication number Priority date Publication date Assignee Title
JP2023140446A (ja) * 2022-03-23 2023-10-05 キヤノン株式会社 光学機器およびその制御方法

Also Published As

Publication number Publication date
US20110249143A1 (en) 2011-10-13
US20150181104A1 (en) 2015-06-25
US9001232B2 (en) 2015-04-07
US9357139B2 (en) 2016-05-31
US20130271622A1 (en) 2013-10-17
JP2011221924A (ja) 2011-11-04

Similar Documents

Publication Publication Date Title
JP5574792B2 (ja) 撮影装置
US9712757B2 (en) Image capturing apparatus capable of compositing images generated using the same development parameter and control method therefor
US10194091B2 (en) Image capturing apparatus, control method therefor, program, and recording medium
JP5083046B2 (ja) 撮像装置及び撮像方法
US8488029B2 (en) Imaging apparatus, imaging method, integrated circuit, and storage medium
JP5412553B2 (ja) 視覚処理装置、視覚処理方法
CN102811315A (zh) 图像处理装置、图像处理方法和程序
JP4999871B2 (ja) 撮像装置およびその制御方法
JP6092690B2 (ja) 撮像装置およびその制御方法
JP6047686B2 (ja) 撮影装置
JP3817635B2 (ja) カラ−画像処理装置および処理方法
JP4879363B1 (ja) 画像処理システム
KR102199472B1 (ko) 화상 처리 장치 및 화상 처리 방법
JP5335964B2 (ja) 撮像装置およびその制御方法
JP2012134745A (ja) 画像信号処理装置
JP5365881B2 (ja) 画像処理装置、画像処理方法
JP5904753B2 (ja) 画像処理装置及び画像処理装置の制御方法
JP2018181070A (ja) 画像処理装置および画像処理方法
JP6858073B2 (ja) 画像処理装置、画像処理方法、及び、プログラム
Cvetkovic Image enhancement circuit using nonlinear processing curve and constrained histogram range equalization
KR102182696B1 (ko) 영상 처리 장치 및 영상 처리 방법
JP3763555B2 (ja) 電子スチルカメラ
JP6072191B2 (ja) 画像処理装置及び画像処理装置の制御方法
JP2015213276A (ja) 画像処理装置および画像処理方法
JP2009253510A (ja) 撮像装置

Legal Events

Date Code Title Description
A521 Request for written amendment filed

Free format text: JAPANESE INTERMEDIATE CODE: A523

Effective date: 20130404

A621 Written request for application examination

Free format text: JAPANESE INTERMEDIATE CODE: A621

Effective date: 20130404

A977 Report on retrieval

Free format text: JAPANESE INTERMEDIATE CODE: A971007

Effective date: 20131129

A131 Notification of reasons for refusal

Free format text: JAPANESE INTERMEDIATE CODE: A131

Effective date: 20131210

A521 Request for written amendment filed

Free format text: JAPANESE INTERMEDIATE CODE: A523

Effective date: 20140128

TRDD Decision of grant or rejection written
A01 Written decision to grant a patent or to grant a registration (utility model)

Free format text: JAPANESE INTERMEDIATE CODE: A01

Effective date: 20140603

A61 First payment of annual fees (during grant procedure)

Free format text: JAPANESE INTERMEDIATE CODE: A61

Effective date: 20140701

R151 Written notification of patent or utility model registration

Ref document number: 5574792

Country of ref document: JP

Free format text: JAPANESE INTERMEDIATE CODE: R151

LAPS Cancellation because of no payment of annual fees