JP5490230B2 - 輸送台船、洋上構造物設置システム及び洋上構造物設置方法 - Google Patents

輸送台船、洋上構造物設置システム及び洋上構造物設置方法 Download PDF

Info

Publication number
JP5490230B2
JP5490230B2 JP2012515909A JP2012515909A JP5490230B2 JP 5490230 B2 JP5490230 B2 JP 5490230B2 JP 2012515909 A JP2012515909 A JP 2012515909A JP 2012515909 A JP2012515909 A JP 2012515909A JP 5490230 B2 JP5490230 B2 JP 5490230B2
Authority
JP
Japan
Prior art keywords
load
crane
transport carrier
loading platform
actuator
Prior art date
Legal status (The legal status is an assumption and is not a legal conclusion. Google has not performed a legal analysis and makes no representation as to the accuracy of the status listed.)
Expired - Fee Related
Application number
JP2012515909A
Other languages
English (en)
Other versions
JPWO2011145655A1 (ja
Inventor
貴之 澤井
均 熊本
Current Assignee (The listed assignees may be inaccurate. Google has not performed a legal analysis and makes no representation or warranty as to the accuracy of the list.)
Mitsubishi Heavy Industries Ltd
Original Assignee
Mitsubishi Heavy Industries Ltd
Priority date (The priority date is an assumption and is not a legal conclusion. Google has not performed a legal analysis and makes no representation as to the accuracy of the date listed.)
Filing date
Publication date
Application filed by Mitsubishi Heavy Industries Ltd filed Critical Mitsubishi Heavy Industries Ltd
Priority to JP2012515909A priority Critical patent/JP5490230B2/ja
Publication of JPWO2011145655A1 publication Critical patent/JPWO2011145655A1/ja
Application granted granted Critical
Publication of JP5490230B2 publication Critical patent/JP5490230B2/ja
Expired - Fee Related legal-status Critical Current
Anticipated expiration legal-status Critical

Links

Images

Classifications

    • BPERFORMING OPERATIONS; TRANSPORTING
    • B63SHIPS OR OTHER WATERBORNE VESSELS; RELATED EQUIPMENT
    • B63BSHIPS OR OTHER WATERBORNE VESSELS; EQUIPMENT FOR SHIPPING 
    • B63B35/00Vessels or similar floating structures specially adapted for specific purposes and not otherwise provided for
    • B63B35/003Vessels or similar floating structures specially adapted for specific purposes and not otherwise provided for for transporting very large loads, e.g. offshore structure modules
    • BPERFORMING OPERATIONS; TRANSPORTING
    • B63SHIPS OR OTHER WATERBORNE VESSELS; RELATED EQUIPMENT
    • B63BSHIPS OR OTHER WATERBORNE VESSELS; EQUIPMENT FOR SHIPPING 
    • B63B27/00Arrangement of ship-based loading or unloading equipment for cargo or passengers
    • B63B27/10Arrangement of ship-based loading or unloading equipment for cargo or passengers of cranes
    • BPERFORMING OPERATIONS; TRANSPORTING
    • B63SHIPS OR OTHER WATERBORNE VESSELS; RELATED EQUIPMENT
    • B63BSHIPS OR OTHER WATERBORNE VESSELS; EQUIPMENT FOR SHIPPING 
    • B63B27/00Arrangement of ship-based loading or unloading equipment for cargo or passengers
    • B63B27/16Arrangement of ship-based loading or unloading equipment for cargo or passengers of lifts or hoists
    • BPERFORMING OPERATIONS; TRANSPORTING
    • B63SHIPS OR OTHER WATERBORNE VESSELS; RELATED EQUIPMENT
    • B63BSHIPS OR OTHER WATERBORNE VESSELS; EQUIPMENT FOR SHIPPING 
    • B63B35/00Vessels or similar floating structures specially adapted for specific purposes and not otherwise provided for
    • B63B35/44Floating buildings, stores, drilling platforms, or workshops, e.g. carrying water-oil separating devices
    • BPERFORMING OPERATIONS; TRANSPORTING
    • B63SHIPS OR OTHER WATERBORNE VESSELS; RELATED EQUIPMENT
    • B63BSHIPS OR OTHER WATERBORNE VESSELS; EQUIPMENT FOR SHIPPING 
    • B63B39/00Equipment to decrease pitch, roll, or like unwanted vessel movements; Apparatus for indicating vessel attitude
    • B63B39/06Equipment to decrease pitch, roll, or like unwanted vessel movements; Apparatus for indicating vessel attitude to decrease vessel movements by using foils acting on ambient water
    • BPERFORMING OPERATIONS; TRANSPORTING
    • B63SHIPS OR OTHER WATERBORNE VESSELS; RELATED EQUIPMENT
    • B63BSHIPS OR OTHER WATERBORNE VESSELS; EQUIPMENT FOR SHIPPING 
    • B63B39/00Equipment to decrease pitch, roll, or like unwanted vessel movements; Apparatus for indicating vessel attitude
    • B63B39/14Equipment to decrease pitch, roll, or like unwanted vessel movements; Apparatus for indicating vessel attitude for indicating inclination or duration of roll
    • BPERFORMING OPERATIONS; TRANSPORTING
    • B63SHIPS OR OTHER WATERBORNE VESSELS; RELATED EQUIPMENT
    • B63BSHIPS OR OTHER WATERBORNE VESSELS; EQUIPMENT FOR SHIPPING 
    • B63B77/00Transporting or installing offshore structures on site using buoyancy forces, e.g. using semi-submersible barges, ballasting the structure or transporting of oil-and-gas platforms
    • B63B77/10Transporting or installing offshore structures on site using buoyancy forces, e.g. using semi-submersible barges, ballasting the structure or transporting of oil-and-gas platforms specially adapted for electric power plants, e.g. wind turbines or tidal turbine generators
    • BPERFORMING OPERATIONS; TRANSPORTING
    • B66HOISTING; LIFTING; HAULING
    • B66CCRANES; LOAD-ENGAGING ELEMENTS OR DEVICES FOR CRANES, CAPSTANS, WINCHES, OR TACKLES
    • B66C13/00Other constructional features or details
    • B66C13/02Devices for facilitating retrieval of floating objects, e.g. for recovering crafts from water
    • BPERFORMING OPERATIONS; TRANSPORTING
    • B66HOISTING; LIFTING; HAULING
    • B66CCRANES; LOAD-ENGAGING ELEMENTS OR DEVICES FOR CRANES, CAPSTANS, WINCHES, OR TACKLES
    • B66C23/00Cranes comprising essentially a beam, boom, or triangular structure acting as a cantilever and mounted for translatory of swinging movements in vertical or horizontal planes or a combination of such movements, e.g. jib-cranes, derricks, tower cranes
    • B66C23/18Cranes comprising essentially a beam, boom, or triangular structure acting as a cantilever and mounted for translatory of swinging movements in vertical or horizontal planes or a combination of such movements, e.g. jib-cranes, derricks, tower cranes specially adapted for use in particular purposes
    • B66C23/36Cranes comprising essentially a beam, boom, or triangular structure acting as a cantilever and mounted for translatory of swinging movements in vertical or horizontal planes or a combination of such movements, e.g. jib-cranes, derricks, tower cranes specially adapted for use in particular purposes mounted on road or rail vehicles; Manually-movable jib-cranes for use in workshops; Floating cranes
    • B66C23/52Floating cranes
    • BPERFORMING OPERATIONS; TRANSPORTING
    • B63SHIPS OR OTHER WATERBORNE VESSELS; RELATED EQUIPMENT
    • B63BSHIPS OR OTHER WATERBORNE VESSELS; EQUIPMENT FOR SHIPPING 
    • B63B17/00Vessels parts, details, or accessories, not otherwise provided for
    • B63B2017/0072Seaway compensators
    • EFIXED CONSTRUCTIONS
    • E02HYDRAULIC ENGINEERING; FOUNDATIONS; SOIL SHIFTING
    • E02BHYDRAULIC ENGINEERING
    • E02B3/00Engineering works in connection with control or use of streams, rivers, coasts, or other marine sites; Sealings or joints for engineering works in general
    • E02B3/20Equipment for shipping on coasts, in harbours or on other fixed marine structures, e.g. bollards

Landscapes

  • Engineering & Computer Science (AREA)
  • Mechanical Engineering (AREA)
  • Chemical & Material Sciences (AREA)
  • Combustion & Propulsion (AREA)
  • Ocean & Marine Engineering (AREA)
  • Transportation (AREA)
  • Life Sciences & Earth Sciences (AREA)
  • Sustainable Development (AREA)
  • Sustainable Energy (AREA)
  • Civil Engineering (AREA)
  • Structural Engineering (AREA)
  • Architecture (AREA)
  • Jib Cranes (AREA)
  • Ship Loading And Unloading (AREA)
  • Control And Safety Of Cranes (AREA)

Description

本発明は、輸送台船、洋上構造物設置システム及び洋上構造物設置方法に関し、特に、風車のような構造物を洋上に設置する用途に好適な輸送台船、洋上構造物設置システム及び洋上構造物設置方法に関する。
一般に風車等の構造物を洋上に輸送・設置する場合、まず、ジャッキアップ装置、デッキクレーンを備えた輸送台船上に、構造物の各パーツ、洋上に風車を設置するための基礎構造等を積込み、設置海域まで自航もしくは曳航し移動する。
移動後、ジャッキアップ脚を海底へ降ろし船体を海面上へ完全に持ち上げた状態で、デッキクレーンを用いて輸送台船から各パーツを吊り上げ設置作業が行われる。
また、設置海域に作業用台船が常駐している場合は、作業用台船の隣に輸送台船をジャッキアップした後、作業用台船に備えたデッキクレーンで輸送台船上に積載された風車パーツ等を吊り上げ、そのまま設置作業を行うこともある。
特許文献1(実公平7−11033号公報)は、船舶における船体上部構造物の上下方向および左右方向の動揺を吸収するための上部構造物動揺吸収制御装置を開示している。
実公平7−11033号公報
しかしながら、従来の技術においては、輸送台船を設置海域に移動した後、積荷を降ろすためにジャッキアップし、輸送台船を固定する作業が必要となる。
また、風車の設置海域についても、岸から遠く水深の深い海域に風車を設置することが多く、更に、風車自体も大型化していく傾向があり、設置工事時間、設置工事コストが嵩んでしまうという問題があった。
本発明は、このような事情に鑑みてなされたものであって、輸送コストおよび設置時間を低減し、かつ、積荷を損傷させることなく積荷を降ろす作業を行える輸送台船、洋上構造物設置システムを提供することを目的とする。
上記目的を達成するために、本発明の第1の観点による輸送台船は、構造物を洋上に設置する場合に用いられる。その輸送台船は、構造物を搭載する積荷架台を具備する。前記積荷架台は台船内において昇降可能である。
従来は、輸送台船から積荷を下ろす場合、波による船体の上下揺れが発生するため、予め輸送台船を海底にジャッキアップし、輸送台船を固定した状態で作業が行われることとなる。
そこで、輸送台船の積荷架台を上下昇降可能に構成し、積荷架台から積荷を吊り上げる際に積荷架台を下げ降ろすことを可能にした。
そのため、輸送台船を海底にジャッキアップさせることなく、波による輸送台船の上下揺れの影響を緩和することができる。したがって、積荷を吊り上げる際に積荷と積荷架台とがぶつかることが防止され、高価なジャッキアップ装置を備えた輸送台船を使用するコストおよびジャッキアップを行う時間が低減されることとなる。
本発明の第1の観点による輸送台船は、前記積荷架台を上下に駆動するアクチュエータ群を具備することが好ましい。前記アクチュエータ群は、第1手動操作に基づいて前記積荷架台を下げ降ろす。手動操作に基づいて積荷架台を下げ降ろすことで、積荷架台を下げ降ろすタイミングの制御が容易である。
前記アクチュエータ群は、前記輸送台船の上下揺れの上限のタイミングで前記積荷架台を下げ降ろすことが好ましい。輸送台船の上下揺れの上限のタイミングで積荷架台を下げ降ろすことで輸送台船の下方への移動とアクチュエータ群による積荷架台の下げ降ろしとが重ね合わせられ、吊り上げられた積荷から積荷架台が速やかに離れる。そのため、積荷と積荷架台とがぶつかることが更に確実に防止される。
さらに、本発明の第1の観点による輸送台船は、前記積荷架台の動揺が低減されるように前記アクチュエータ群を前記輸送台船の前後揺れ又は左右揺れに基づいて自動制御するアクチュエータ制御装置を更に具備することが好ましい。
輸送台船にアクチュエータ制御装置を備えたことで、波による上下揺れだけでなく、前後揺れ又は左右揺れを低減することができ、積荷を降ろす作業を容易に行うことができる。
さらに、本発明の第1の観点による輸送台船は、前記輸送台船の前後揺れ又は左右揺れを低減する減揺板を更に具備することが好ましい。
輸送台船に輸送台船の前後揺れ又は左右揺れを低減する減揺板を備えたことで、波による上下揺れだけではなく、前後揺れ、左右揺れについても影響を緩和させることができ、積荷を降ろす作業を容易に行うことができる。
本発明の第2の観点による洋上構造物設置システムは、上記輸送台船と、クレーン作業船とを具備する。前記輸送台船は、前記積荷架台を上下に駆動するアクチュエータ群を備える。前記クレーン作業船は、デッキクレーンと、第1手動操作により第1操作信号を生成するアクチュエータ操作装置と、第2手動操作により第2操作信号を生成するクレーン操作装置とを備える。前記アクチュエータ群は、前記第1操作信号に基づいて前記積荷架台を下げ降ろす。前記デッキクレーンは、前記第2操作信号に基づいて前記積荷架台に載せられた積荷を吊り上げる。
輸送台船に備える積荷架台を下げ降ろすアクチュエータ群の操作信号を生成するアクチュエータ操作装置、および積荷を吊り上げるデッキクレーンの操作信号を生成するクレーン操作装置をクレーン作業船に備えるシステムとすることで、積荷架台の下げ降ろしと積荷の吊り上げのタイミングを正確に合わせることができ、積荷を損傷させることなく積荷を降ろす作業を行うことができる。
さらに、本発明の第2の観点による洋上構造物設置システムにおいて、前記輸送台船は、前記輸送台船の上下揺れを検知して上下揺れ検知信号を出力する上下揺れセンサを備え、前記クレーン作業船は、前記上下揺れ検知信号に基づいて前記輸送台船の上下揺れを表示する表示装置を備えることが好ましい。
波による輸送台船の上下揺れを検出し、クレーン作業船に備えられた表示装置に表示されることとした。したがって、前記デッキクレーンが前記輸送台船の上下揺れの上限のタイミングで前記積荷架台に載せられた前記積荷を吊り上げ、前記アクチュエータ群が前記上限のタイミングで前記積荷架台を下げ降ろすことが容易である。よって、波による輸送台船の上下揺れの影響を緩和するととともに、上限のタイミングで積荷の吊り上げと積荷台の下げ降ろしを行うことで、積荷を吊り上げる際の積荷と積荷架台との衝突を回避でき、容易に積荷を降ろすことができる。
さらに、前記クレーン作業船は、前記デッキクレーンが設けられた船体と、前記船体を海底に支持するジャッキアップ装置とを備えることが好ましい。
積荷を吊り上げるデッキクレーンを備えたクレーン作業船をジャッキアップ装置を介して海底に支持することで、クレーン作業船の波による揺れを解消し、容易に積荷を降ろすことができる。
本発明の第3の観点による洋上構造物設置方法は、洋上で輸送台船の積荷架台に載せられた積荷を吊り上げることと、前記積荷を吊り上げる際に前記積荷架台を下げ降ろすこととを具備する。
そのため、輸送台船を海底にジャッキアップさせることなく、波による輸送台船の上下揺れの影響を緩和することができる。したがって、積荷を吊り上げる際に積荷と積荷架台とがぶつかることが防止され、高価なジャッキアップ装置を備えた輸送台船を使用するコストおよびジャッキアップを行う時間が低減されることとなる。
洋上構造物設置方法は、アクチュエータ操作装置が第1手動操作に基づいて第1操作信号を出力することと、クレーン操作装置が第2手動操作に基づいて第2操作信号を出力することとを更に具備することが好ましい。前記積荷架台を下げ降ろすことにおいて、前記輸送台船のアクチュエータ群が前記第1操作信号に基づいて前記積荷架台を下げ降ろす。前記積荷を吊り上げることにおいて、クレーン作業船のデッキクレーンが前記第2操作信号に基づいて前記積荷を吊り上げる。前記アクチュエータ操作装置及び前記クレーン操作装置は、前記輸送台船及び前記クレーン作業船の一方に設けられる。
アクチュエータ操作装置及びクレーン操作装置が輸送台船及びクレーン作業船の一方に設けられるため、積荷架台の下げ降ろしと積荷の吊り上げのタイミングを正確に合わせることができ、積荷を損傷させることなく積荷を降ろす作業を行うことができる。
前記アクチュエータ操作装置及び前記クレーン操作装置が記クレーン作業船に設けられる場合、第3の観点による洋上構造物設置方法は、前記輸送台船の上下揺れを検知することと、前記クレーン作業船の表示装置が前記輸送台船の上下揺れを表示することとを更に具備することが好ましい。
前記積荷を吊り上げること及び前記積荷架台を下げ降ろすことを前記輸送台船の上下揺れの上限のタイミングで実行することが好ましい。
前記積荷を吊り上げることにおいて、ジャッキアップ脚を介して海底に支持されたクレーン作業船が前記積荷を吊り上げることが好ましい。
本発明によれば、波で上下に揺れる輸送台船から積荷を吊り上げる際に輸送台船と積荷とがぶつかることが防止される輸送台船、洋上構造物設置システム及び洋上構造物設置方法が提供される。
本発明の上記目的、他の目的、効果、及び特徴は、添付される図面として連携して実施の形態の記述から、より明らかになる。
図1は、本発明の第1の実施形態に係る洋上構造物設置システムの概略図である。 図2は、第1の実施形態に係る洋上構造物設置システムの制御系の概念図である。 図3Aは、第1の実施形態に係る洋上構造物設置方法の手順を示す。 図3Bは、第1の実施形態に係る洋上構造物設置方法の手順を示す。 図3Cは、第1の実施形態に係る洋上構造物設置方法の手順を示す。 図3Dは、第1の実施形態に係る洋上構造物設置方法の手順を示す。 図4は、本発明の第2の実施形態に係る洋上構造物設置システムの制御系の概念図である。 図5は、本発明の第3の実施形態に係る洋上構造物設置システムの制御系の概念図である。 図6は、本発明の第4の実施形態に係る輸送台船の概略図である。 図7は、本発明の第5の実施形態に係る輸送台船の概略図である。 図8は、本発明の第6の実施形態に係る輸送台船の概略図である。 図9は、本発明の第7の実施形態に係る輸送台船の概略図である。
添付図面を参照して、本発明による輸送台船、洋上構造物設置システム及び洋上構造物設置方法を実施するための形態を以下に説明する。
(第1の実施形態)
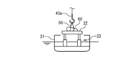
図1を参照して、本発明の第1の実施形態について説明する。洋上構造物設置システム10は、輸送台船20と、クレーン作業船40とを備える。輸送台船20は、船体21と、積荷架台22と、アクチュエータ群23とを備える。クレーン作業船40は、船体41と、ジャッキアップ装置42と、デッキクレーン43と、クレーンオペレータ室44とを備える。デッキクレーン43及びクレーンオペレータ室44は船体41上に設けられる。ジャッキアップ装置42は、ジャッキアップ脚42aを備える。デッキクレーン43は、輸送物を吊り上げるフック43aを備える。輸送台船20及びクレーン作業船40は、自航又は曳航により航行可能である。
図2は、輸送台船20の積荷架台22に載せられた積荷を吊り上げる機構を模式的に示した図である。輸送台船20は、アクチュエータ制御装置24と、アクチュエータ操作装置25とを備える。アクチュエータ群23は、複数のアクチュエータ23A乃至23Dを備える。アクチュエータ23A乃至23Dは、積荷架台22に接続され、船体21の上方位置で積荷架台22を支持する。アクチュエータ群23は積荷架台22を上下に駆動することができる。アクチュエータ操作装置25は、手動操作により操作信号を出力する。アクチュエータ制御装置24は、アクチュエータ操作装置25から出力された操作信号に基づいてアクチュエータ23A乃至23Dを制御する。クレーン作業船40は、クレーンオペレータ室44に設けられたクレーン操作装置45を備える。クレーン操作装置45は、手動操作により操作信号を出力する。デッキクレーン43は、クレーン操作装置45が出力した操作信号に基づいて動作する。
以下、本実施形態では、洋上構造物設置システム10によって洋上に設置される構造物が風車の場合を説明するが、洋上に設置される構造物は石油プラットホームや橋脚等であってもよい。
図1を参照して、クレーン作業船40は、風車の設置のためのクレーン作業に用いられる。クレーン作業船40が風車設置海域の所望の場所に配置されたら、ジャッキアップ装置42のジャッキアップ脚42aを海底へ降ろして船体41を海面上に持ち上げる。よって、クレーン作業船40は、ジャッキアップ脚42aを介して海底に支持されることとなる。輸送台船20は、風車の部品や基礎構造の輸送に用いられる。風車の部品や基礎構造としての積荷60は、積荷架台22に載せられる。輸送台船20は、積荷60を港から風車設置海域まで輸送し、クレーン作業船40の近く、望ましくはクレーン作業船40と隣接する場所で停船する。
その後、クレーン作業による積荷降ろしが行われる。クレーン作業は、積荷60を輸送台船20から吊り上げる荷吊作業を含む。荷吊作業を実行する際、荷吊作業者101及びアクチュエータオペレータ102は輸送台船20上で作業し、クレーンオペレータ103はクレーンオペレータ室44でデッキクレーン43を操縦する。
荷吊作業において、はじめに、玉掛け作業者は、ワイヤ50を介して積荷60をフック43aに接続する。ここで、玉掛け作業者は、輸送台船20が上下揺れの下限にきたときに積荷60が積荷架台22から浮き上がらない程度にワイヤ50が張るように、且つ、輸送台船20が上下揺れの上限にきたときにワイヤ50がたるむように、ワイヤ50を介して積荷60をフック43aに接続する。玉掛け作業者は、荷吊作業者101及びアクチュエータオペレータ102を含んでも良い。
図3Aは、輸送台船20が上下揺れの下限にきた状態を示している。図3Bは、輸送台船20が上下揺れの上限にきた状態を示している。クレーン作業船40がジャッキアップ脚42aを介して海底に支持されるため、フック43aは波によって上下に揺れない。輸送台船20が上下揺れの下限にくると、積荷60が積荷架台22から浮き上がらない程度にワイヤ50が張る。輸送台船20が上下揺れの上限にくると、ワイヤ50がたるむ。
荷吊作業者101は、輸送台船20の上下揺れの上限のタイミングで旗、ホイッスル、又はトランシーバ等の指示器具を用いて合図をする。クレーンオペレータ103は、荷吊作業者101の合図にあわせてクレーン操作装置45に対して手動操作を行う。クレーン操作装置45は、クレーンオペレータ103の手動操作に基づいて操作信号を出力する。デッキクレーン43は、クレーン操作装置45が出力した操作信号に基づいて積荷60を吊り上げる。アクチュエータオペレータ102は、荷吊作業者101の合図にあわせてアクチュエータ操作装置25に対して手動操作を行う。アクチュエータ操作装置25は、アクチュエータオペレータ102の手動操作に基づいて操作信号を出力する。アクチュエータ制御装置24は、アクチュエータ操作装置25から出力された操作信号に基づいて、アクチュエータ群23が積荷架台22を下げ降ろすようにアクチュエータ群23を制御する。
したがって、図3Cに示すように、輸送台船20の上下揺れの上限のタイミングで、積荷60が吊り上げられ、且つ、積荷架台22が下げ降ろされる。その結果、図3Dに示すように、船体21の波による上下揺れを緩和するとともに、積荷60と積荷架台22の間で速やかに十分な距離が保たれることとなる。そのため、積荷60を吊り上げる際、吊り上げの揺れによる積荷60と積荷架台22との衝突を防止することができ、さらに、積荷60が吊り上げられた後の次の上下揺れの上限のタイミングにおいて積荷60と積荷架台22とがぶつかることを防止することができる。
本実施形態に係る輸送台船20、洋上構造物設置システム10及び洋上構造物設置方法によれば、波で上下に揺れる輸送台船20から積荷60を吊り上げる際に輸送台船20と積荷60とがぶつかることが防止される。本実施形態に係る輸送台船20、洋上構造物設置システム10及び洋上構造物設置方法は、輸送台船20をジャッキアップした状態で積荷60を吊り上げる場合や輸送台船20が積荷60の輸送とクレーン作業の両方を行う場合に比べて、作業工数が低減される。特に、ジャッキアップ装置のジャッキアップ脚の上げ下ろしのための作業工数が低減されるため、本実施形態に係る輸送台船20、洋上構造物設置システム10及び洋上構造物設置方法は、水深の深い海域に風車等の構造物を設置する場合に特に有利である。更に、輸送台船20が高価なジャッキアップ装置を備える必要がないため、輸送台船20の用船コストが低減される。
(第2の実施形態)
図4を参照して、本発明の第2の実施形態に係る洋上構造物設置システム10及び洋上構造物設置方法を説明する。本実施形態に係る洋上構造物設置システム10及び洋上構造物設置方法は、下記点で第1の実施形態に係る洋上構造物設置システム10及び洋上構造物設置方法と異なり、その他の点で第1の実施形態に係る洋上構造物設置システム10及び洋上構造物設置方法と同じである。
輸送台船20は、前後揺れセンサ27と、左右揺れセンサ28とを備える。前後揺れセンサ27、及び、左右揺れセンサ28は、加速度計又は喫水計を備える。前後揺れセンサ27は、船体21の前後揺れを検知して前後揺れ検知信号を出力する。左右揺れセンサ28は、船体21の左右揺れを検知して左右揺れ検知信号を出力する。アクチュエータ制御装置24は、前後揺れ検知信号及び左右揺れ検知信号に基づいて、積荷架台22の動揺が低減されるようにアクチュエータ群23を自動制御する。アクチュエータ制御装置24は、アクチュエータ操作装置25が出力した操作信号を受けた際は、積荷架台22の動揺を低減するための自動制御を中止し、積荷架台22が下げ降ろされるようにアクチュエータ群23を制御する。或いは、アクチュエータ制御装置24は、アクチュエータ操作装置25が出力した操作信号に基づいて、積荷架台22の動揺を低減するための自動制御と積荷架台22を下げ降ろすための制御とが重ねあわされた制御を実行してもよい。
本実施形態によれば、積荷架台22の前後揺れおよび左右揺れの動揺が低減されるため、荷吊作業を更に容易に行える。
(第3の実施形態)
図5を参照して、本発明の第3の実施形態に係る洋上構造物設置システム10及び洋上構造物設置方法を説明する。本実施形態に係る洋上構造物設置システム10及び洋上構造物設置方法は、下記点で第1の実施形態に係る洋上構造物設置システム10及び洋上構造物設置方法と異なり、その他の点で第1の実施形態に係る洋上構造物設置システム10及び洋上構造物設置方法と同じである。
輸送台船20は、輸送台船20(例えば船体21)の上下揺れを検知して上下揺れ検知信号を出力する上下揺れセンサ26を備える。上下揺れセンサ26は、加速度計又は喫水計を備える。クレーン作業船40は、アクチュエータ操作装置46と、表示装置47とを備える。アクチュエータ操作装置46及び表示装置47は、クレーンオペレータ室44に設けられる。表示装置47は、上下揺れセンサ26が出力した上下揺れ検知信号を有線又は無線通信を介して受信し、上下揺れ検知信号に基づいて輸送台船20(例えば船体21)の上下揺れをクレーンオペレータ103に表示する。表示装置47は、例えばオシロスコープである。アクチュエータ操作装置46は、手動操作により操作信号を出力する。アクチュエータ制御装置24は、有線又は無線通信を介してアクチュエータ操作装置46が出力した操作信号を受信する。
クレーンオペレータ103は、表示装置47に表示される輸送台船20の上下揺れに基づいて、輸送台船20の上下揺れの上限のタイミングを判断し、そのタイミングでクレーン操作装置45及びアクチュエータ操作装置46に対して手動操作を行う。クレーンオペレータ103の手動操作に基づくクレーン操作装置45及びデッキクレーン43の動作は第1の実施形態で述べたとおりである。アクチュエータ操作装置46は、クレーンオペレータ103の手動操作に基づいて操作信号を出力する。アクチュエータ制御装置24は、アクチュエータ操作装置46から出力された操作信号に基づいて、アクチュエータ群23が積荷架台22を下げ降ろすようにアクチュエータ群23を制御する。
本実施形態によれば、積荷60の吊り上げ及び積荷架台22の下げ降しが同一のクレーンオペレータ室44にて手動操作により実行されるため、積荷60の吊り上げのタイミングと積荷架台22の下げ降しのタイミングとを合わせることが容易である。
なお、クレーン操作装置45とは別のクレーン操作装置(不図示)をアクチュエータ操作装置25の近くに設けて、アクチュエータオペレータ102の手動操作に基づいて積荷60の吊り上げ及び積荷架台22の下げ降しを実行してもよい。更に、アクチュエータ制御装置24が第2の実施形態と同様の制御を実行してもよい。
(第4の実施形態)
図6を参照して、本発明の第4の実施形態に係る輸送台船20を説明する。本実施形態に係る輸送台船20は、第1乃至第3の実施形態のいずれかに係る輸送台船20に他の積荷架台22及び他のアクチュエータ群23が追加されたものである。他の積荷架台22及び他のアクチュエータ群23は、上述の積荷架台22及びアクチュエータ群23と同じように構成されて同じように動作する。他の積荷架台22には他の積荷60が載せられる。
本実施形態によれば、積荷60ごとに積荷架台22が設けられるため、荷吊作業が容易になる。
(第5の実施形態)
図7を参照して、本発明の第5の実施形態に係る輸送台船20を説明する。本実施形態に係る輸送台船20は、第1乃至第4の実施形態のいずれかに係る輸送台船20に減揺板29が追加されたものである。減揺板29は、輸送台船20の前後揺れを低減するために船体21から前後に張り出す、又は、輸送台船20の左右揺れを低減するために船体21から左右に張り出す。本実施形態によれば、輸送台船20の前後揺れ又は左右揺れが低減されるため、荷吊作業が容易になる。なお、前後揺れを低減するための減揺板29及び左右揺れを低減するための減揺板29の両方が設けられてもよい。
(第6の実施形態)
図8を参照して、本発明の第6の実施形態に係る輸送台船20を説明する。本実施形態に係る輸送台船20は、第1乃至第5の実施形態のいずれかに係る輸送台船20から船型が変更されたものである。本実施形態に係る輸送台船20の船体21は、SWATH(Small Waterplane Area Twin Hull)船型である。本実施形態によれば、輸送台船20の上下揺れの振幅が小さくなるため、荷吊作業が容易になる。
(第7の実施形態)
図9を参照して、本発明の第7の実施形態に係る輸送台船20を説明する。本実施形態に係る輸送台船20は、第1乃至第5の実施形態のいずれかに係る輸送台船20から船型が変更されたものである。本実施形態に係る輸送台船20の船体21は、セミサブ(Semi−Submersible)船型である。本実施形態によれば、輸送台船20の上下揺れの振幅が小さくなるため、荷吊作業が容易になる。
以上、実施の形態を参照して本発明による輸送台船、洋上構造物設置システム及び洋上構造物設置方法を説明したが、本発明は上記実施の形態に限定されない。上記実施の形態は、発明の目的と抵触しない範囲で変更し、組み合わせることが可能である。

Claims (11)

  1. 構造物を洋上に設置する場合に用いる輸送台船であって、
    台船内において構造物を搭載する積荷架台を上下に駆動するアクチュエータ群を具備し、
    前記アクチュエータ群は、第1手動操作に基づいて前記積荷架台を下げ降ろし、
    前記積荷架台の動揺が低減されるように前記アクチュエータ群を前記輸送台船の前後揺れ又は左右揺れに基づいて自動制御するアクチュエータ制御装置を更に具備する
    輸送台船。
  2. 前記アクチュエータ群は、前記輸送台船の上下揺れの上限のタイミングで前記積荷架台を下げ降ろす
    請求項1に記載の輸送台船。
  3. 前記輸送台船の前後揺れ又は左右揺れを低減する減揺板を更に具備する
    請求項1又は2に記載の輸送台船。
  4. 構造物を洋上に設置する場合に用いる輸送台船と、
    クレーン作業船と
    を具備し、
    前記輸送台船は、台船内において前記構造物用の積荷を搭載する積荷架台を上下に駆動するアクチュエータ群を備え、
    前記クレーン作業船は、
    デッキクレーンと、
    第1手動操作により第1操作信号を生成するアクチュエータ操作装置と、
    第2手動操作により第2操作信号を生成するクレーン操作装置と
    を備え、
    前記アクチュエータ群は、前記第1操作信号に基づいて前記積荷架台を下げ降し、
    前記デッキクレーンは、前記第2操作信号に基づいて前記積荷架台に載せられた積荷を吊り上げる
    洋上構造物設置システム。
  5. 前記輸送台船は、前記輸送台船の上下揺れを検知して上下揺れ検知信号を出力する上下揺れセンサを備え、
    前記クレーン作業船は、前記上下揺れ検知信号に基づいて前記輸送台船の上下揺れを表示する表示装置を備える
    請求項4の洋上構造物置システム。
  6. 前記デッキクレーンは、前記輸送台船の上下揺れの上限のタイミングで前記積荷架台に載せられた前記積荷を吊り上げ、
    前記アクチュエータ群は、前記上限のタイミングで前記積荷架台を下げ降ろす
    請求項4又は5に記載の洋上構造物設置システム。
  7. 前記クレーン作業船は、
    前記デッキクレーンが設けられた船体と、
    前記船体を海底に支持するジャッキアップ装置と
    を備える
    請求項4乃至6のいずれかに記載の洋上構造物設置システム。
  8. 洋上で輸送台船の積荷架台に載せられた積荷を吊り上げることと、
    前記積荷を吊り上げる際に前記積荷架台を下げ降ろすことと、
    アクチュエータ操作装置が第1手動操作に基づいて第1操作信号を出力することと、
    クレーン操作装置が第2手動操作に基づいて第2操作信号を出力することと
    を具備し
    前記積荷架台を下げ降ろすことにおいて、前記輸送台船のアクチュエータ群が前記第1操作信号に基づいて前記積荷架台を下げ降ろし、
    前記積荷を吊り上げることにおいて、クレーン作業船のデッキクレーンが前記第2操作信号に基づいて前記積荷を吊り上げ、
    前記アクチュエータ操作装置及び前記クレーン操作装置は、前記輸送台船及び前記クレーン作業船の一方に設けられる
    洋上構造物設置方法。
  9. 前記アクチュエータ操作装置及び前記クレーン操作装置は、前記クレーン作業船に設けられ、
    前記輸送台船の上下揺れを検知することと、
    前記クレーン作業船の表示装置が前記輸送台船の上下揺れを表示することと
    を更に具備する
    請求項8に記載の洋上構造物設置方法。
  10. 前記積荷を吊り上げること及び前記積荷架台を下げ降ろすことを前記輸送台船の上下揺れの上限のタイミングで実行する
    請求項8又は9に記載の洋上構造物設置方法。
  11. 前記積荷を吊り上げることにおいて、ジャッキアップ脚を介して海底に支持されたクレーン作業船が前記積荷を吊り上げる
    請求項8に記載の洋上構造物設置方法。
JP2012515909A 2010-05-20 2011-05-18 輸送台船、洋上構造物設置システム及び洋上構造物設置方法 Expired - Fee Related JP5490230B2 (ja)

Priority Applications (1)

Application Number Priority Date Filing Date Title
JP2012515909A JP5490230B2 (ja) 2010-05-20 2011-05-18 輸送台船、洋上構造物設置システム及び洋上構造物設置方法

Applications Claiming Priority (4)

Application Number Priority Date Filing Date Title
JP2010116143 2010-05-20
JP2010116143 2010-05-20
PCT/JP2011/061445 WO2011145655A1 (ja) 2010-05-20 2011-05-18 輸送台船、洋上構造物設置システム及び洋上構造物設置方法
JP2012515909A JP5490230B2 (ja) 2010-05-20 2011-05-18 輸送台船、洋上構造物設置システム及び洋上構造物設置方法

Publications (2)

Publication Number Publication Date
JPWO2011145655A1 JPWO2011145655A1 (ja) 2013-07-22
JP5490230B2 true JP5490230B2 (ja) 2014-05-14

Family

ID=44991749

Family Applications (1)

Application Number Title Priority Date Filing Date
JP2012515909A Expired - Fee Related JP5490230B2 (ja) 2010-05-20 2011-05-18 輸送台船、洋上構造物設置システム及び洋上構造物設置方法

Country Status (5)

Country Link
EP (1) EP2572976B1 (ja)
JP (1) JP5490230B2 (ja)
KR (1) KR101432416B1 (ja)
CN (1) CN102869568B (ja)
WO (1) WO2011145655A1 (ja)

Families Citing this family (12)

* Cited by examiner, † Cited by third party
Publication number Priority date Publication date Assignee Title
KR101379025B1 (ko) * 2012-05-17 2014-03-28 삼성중공업 주식회사 풍력 발전기 설치용 선박
CN103449315B (zh) * 2013-09-17 2015-02-04 无锡市江南船舶设备有限公司 克令吊升降装置
CN107223184B (zh) 2014-12-23 2020-02-14 菱重维斯塔斯海上风力有限公司 风轮机叶片在船舰上的操纵
EP3514100A1 (en) * 2018-01-23 2019-07-24 Seasight Davits ApS Method and coupling arrangement for loading equipment onto a wind turbine platform
CN108189980B (zh) * 2018-02-05 2019-11-05 南京科远自动化集团股份有限公司 一种停靠码头船舶的位置姿态实时测量方法及测量系统
US10544015B1 (en) * 2018-07-10 2020-01-28 GeoSea N.V. Device and method for lifting an object from a deck of a vessel subject to movements
US10308327B1 (en) * 2018-07-10 2019-06-04 GeoSea N.V. Device and method for lifting an object from a deck of a vessel subject to movements
NL2024562B1 (en) 2019-12-23 2021-09-02 Itrec Bv A feeder vessel
NO20201444A1 (en) 2020-12-30 2022-07-01 Macgregor Norway As Displacement of a horizontal pile
NL2027600B1 (nl) * 2021-02-19 2022-10-07 Barge Master Ip B V Offshore samenstel omvattende een bewegingscompensatie-platform met daarop een object met een hoogte van 30-50 meter of meer, bewegingscompensatie platform, alsmede gebruik van het samenstel.
NL2028189B1 (en) 2021-05-11 2022-11-29 Itrec Bv Offloading an object from a heave motion compensated carrier of a vessel.
NL2033624B1 (en) * 2022-11-28 2024-06-04 Barge Master Ip B V Feeder vessel for carrying a column pile, assembly comprising such feeder vessel, use of such feeder vessel, and use of such assembly

Citations (6)

* Cited by examiner, † Cited by third party
Publication number Priority date Publication date Assignee Title
JPS57130888A (en) * 1981-02-07 1982-08-13 Mitsui Eng & Shipbuild Co Ltd Semi-submerged work ship associated with elevating work table
JPS60195215A (ja) * 1984-03-19 1985-10-03 Hitachi Zosen Corp 大型海洋構造物の据付装置
JPS61163793U (ja) * 1985-03-30 1986-10-11
JPH0117992B2 (ja) * 1982-09-16 1989-04-03 Mitsui Shipbuilding Eng
JP3206248B2 (ja) * 1993-09-02 2001-09-10 石川島播磨重工業株式会社 海上荷役作業時の動揺吸収装置
JP2005132130A (ja) * 2003-10-28 2005-05-26 Taisei Corp 台船及びジャケット構造体の構築方法

Family Cites Families (11)

* Cited by examiner, † Cited by third party
Publication number Priority date Publication date Assignee Title
US2934905A (en) * 1957-12-16 1960-05-03 Moore Corp Lee C Barge-carried oil well drilling equipment
FR2353477A1 (fr) * 1976-06-02 1977-12-30 Petroles Cie Francaise Procede de transbordement de charges en mer et moyen de mise en oeuvre
GB2165188B (en) * 1985-06-05 1988-10-12 Heerema Engineering Installation and removal vessel
IT1184238B (it) * 1985-06-19 1987-10-22 Saipem Spa Procedimento per l'installazione della sovrastruttura in monoblocco di una piattaforma offshore ed attrezzature per la sua messa in pratica
JPH0711033Y2 (ja) 1988-08-03 1995-03-15 三菱重工業株式会社 船舶の上部構造物動揺吸収制御装置
US5037241A (en) * 1990-03-29 1991-08-06 Exxon Production Research Company Method and apparatus for setting a superstructure onto an offshore platform
GB2267360B (en) * 1992-05-22 1995-12-06 Octec Ltd Method and system for interacting with floating objects
US6085851A (en) * 1996-05-03 2000-07-11 Transocean Offshore Inc. Multi-activity offshore exploration and/or development drill method and apparatus
US7152547B1 (en) * 2006-02-01 2006-12-26 Pgs Geophysical As Seismic vessel having motion-stabilized helicopter landing platform
NL1031263C2 (nl) 2006-03-01 2007-09-04 Univ Delft Tech Vaartuig, bewegingsplatform, werkwijze voor het compenseren voor bewegingen van een vaartuig en gebruik van een Stewart platform.
KR100956092B1 (ko) * 2008-03-03 2010-05-07 삼성중공업 주식회사 부유식 해양 설비의 구조물 수평 유지장치 및 이를 이용한부유식 해양 설비

Patent Citations (6)

* Cited by examiner, † Cited by third party
Publication number Priority date Publication date Assignee Title
JPS57130888A (en) * 1981-02-07 1982-08-13 Mitsui Eng & Shipbuild Co Ltd Semi-submerged work ship associated with elevating work table
JPH0117992B2 (ja) * 1982-09-16 1989-04-03 Mitsui Shipbuilding Eng
JPS60195215A (ja) * 1984-03-19 1985-10-03 Hitachi Zosen Corp 大型海洋構造物の据付装置
JPS61163793U (ja) * 1985-03-30 1986-10-11
JP3206248B2 (ja) * 1993-09-02 2001-09-10 石川島播磨重工業株式会社 海上荷役作業時の動揺吸収装置
JP2005132130A (ja) * 2003-10-28 2005-05-26 Taisei Corp 台船及びジャケット構造体の構築方法

Also Published As

Publication number Publication date
CN102869568A (zh) 2013-01-09
EP2572976A1 (en) 2013-03-27
WO2011145655A1 (ja) 2011-11-24
CN102869568B (zh) 2015-11-25
KR20120138819A (ko) 2012-12-26
KR101432416B1 (ko) 2014-08-20
JPWO2011145655A1 (ja) 2013-07-22
EP2572976A4 (en) 2017-06-14
EP2572976B1 (en) 2021-06-16

Similar Documents

Publication Publication Date Title
JP5490230B2 (ja) 輸送台船、洋上構造物設置システム及び洋上構造物設置方法
JP5639557B2 (ja) 海洋構造物の運搬および設置用船舶並びに海洋構造物の運搬および設置方法
CN102712350B (zh) 海上风轮机安装
CN103228530B (zh) 浮体结构物作业系统、浮体结构物、作业船及浮体结构物的作业方法
CN110719886A (zh) 用于在海上船上使用的运动补偿起重机
CN116348370A (zh) 风力涡轮机在漂浮基座上的安装
US9022691B2 (en) Method of installing an offshore wind turbine and a transport vessel thereof
JP2021524418A (ja) 動きにさらされる船舶のデッキから物体を持ち上げるための装置および方法
DK201170319A (en) A self-propelled semi-submersible offshore wind farm installation vessel with a large crane
CN102292261B (zh) 用于运输风力涡轮机的船及其方法
EP2251254A1 (en) Installation vessel for offshore wind turbines
JP2014227765A (ja) 洋上風力発電施設の据付方法及び洋上風力発電施設用バージ
JP2018203195A (ja) 洋上施工用浮体
JP5565803B2 (ja) 緊張係留浮体構造物の設置方法及び緊張係留浮体構造物の設置用船
WO2013125535A1 (ja) 洋上風車設置用船舶および洋上風車設置方法
KR20180003214A (ko) 분리형 해상 구조물 설치 선박 및 그 운용 방법
WO2012066790A1 (ja) 洋上風車設置用船舶およびこれを用いた洋上風車設置方法
JP2024519473A (ja) 建て起こしクレーンおよび据え付け船舶
CN102616338A (zh) 一种运输风电机组的船、一种风电机组的运输方法
WO2012039619A2 (en) Vessel comprising a hull with a deck and a cargo area extending in a length direction of the deck
KR101297669B1 (ko) 해상풍력발전기 설치 전용선을 이용한 해상풍력발전기 설치방법
KR20240015186A (ko) 부유식 해상 풍력 발전 구조물 설치 시스템 및 방법
KR101566522B1 (ko) 대형 블록 탑재 방법
KR20110074433A (ko) 부력용 부유체를 구비하는 크레인선 및 그의 안정화 방법
KR102415564B1 (ko) 해상 크레인

Legal Events

Date Code Title Description
A131 Notification of reasons for refusal

Free format text: JAPANESE INTERMEDIATE CODE: A131

Effective date: 20130807

A521 Request for written amendment filed

Free format text: JAPANESE INTERMEDIATE CODE: A523

Effective date: 20130930

A131 Notification of reasons for refusal

Free format text: JAPANESE INTERMEDIATE CODE: A131

Effective date: 20131031

A521 Request for written amendment filed

Free format text: JAPANESE INTERMEDIATE CODE: A523

Effective date: 20131121

TRDD Decision of grant or rejection written
A01 Written decision to grant a patent or to grant a registration (utility model)

Free format text: JAPANESE INTERMEDIATE CODE: A01

Effective date: 20140127

A61 First payment of annual fees (during grant procedure)

Free format text: JAPANESE INTERMEDIATE CODE: A61

Effective date: 20140225

R151 Written notification of patent or utility model registration

Ref document number: 5490230

Country of ref document: JP

Free format text: JAPANESE INTERMEDIATE CODE: R151

S111 Request for change of ownership or part of ownership

Free format text: JAPANESE INTERMEDIATE CODE: R313111

R350 Written notification of registration of transfer

Free format text: JAPANESE INTERMEDIATE CODE: R350

LAPS Cancellation because of no payment of annual fees