JP5407936B2 - 電磁ノイズ抑制体 - Google Patents

電磁ノイズ抑制体 Download PDF

Info

Publication number
JP5407936B2
JP5407936B2 JP2010045196A JP2010045196A JP5407936B2 JP 5407936 B2 JP5407936 B2 JP 5407936B2 JP 2010045196 A JP2010045196 A JP 2010045196A JP 2010045196 A JP2010045196 A JP 2010045196A JP 5407936 B2 JP5407936 B2 JP 5407936B2
Authority
JP
Japan
Prior art keywords
magnetic
electromagnetic noise
magnetic flux
ferromagnetic
ferromagnetic body
Prior art date
Legal status (The legal status is an assumption and is not a legal conclusion. Google has not performed a legal analysis and makes no representation as to the accuracy of the status listed.)
Expired - Fee Related
Application number
JP2010045196A
Other languages
English (en)
Other versions
JP2011181730A (ja
Inventor
則夫 増田
Current Assignee (The listed assignees may be inaccurate. Google has not performed a legal analysis and makes no representation or warranty as to the accuracy of the list.)
NEC Corp
Original Assignee
NEC Corp
Priority date (The priority date is an assumption and is not a legal conclusion. Google has not performed a legal analysis and makes no representation as to the accuracy of the date listed.)
Filing date
Publication date
Application filed by NEC Corp filed Critical NEC Corp
Priority to JP2010045196A priority Critical patent/JP5407936B2/ja
Publication of JP2011181730A publication Critical patent/JP2011181730A/ja
Application granted granted Critical
Publication of JP5407936B2 publication Critical patent/JP5407936B2/ja
Expired - Fee Related legal-status Critical Current
Anticipated expiration legal-status Critical

Links

Images

Classifications

    • HELECTRICITY
    • H01ELECTRIC ELEMENTS
    • H01LSEMICONDUCTOR DEVICES NOT COVERED BY CLASS H10
    • H01L2224/00Indexing scheme for arrangements for connecting or disconnecting semiconductor or solid-state bodies and methods related thereto as covered by H01L24/00
    • H01L2224/01Means for bonding being attached to, or being formed on, the surface to be connected, e.g. chip-to-package, die-attach, "first-level" interconnects; Manufacturing methods related thereto
    • H01L2224/42Wire connectors; Manufacturing methods related thereto
    • H01L2224/47Structure, shape, material or disposition of the wire connectors after the connecting process
    • H01L2224/48Structure, shape, material or disposition of the wire connectors after the connecting process of an individual wire connector
    • H01L2224/4805Shape
    • H01L2224/4809Loop shape
    • H01L2224/48091Arched
    • HELECTRICITY
    • H01ELECTRIC ELEMENTS
    • H01LSEMICONDUCTOR DEVICES NOT COVERED BY CLASS H10
    • H01L2224/00Indexing scheme for arrangements for connecting or disconnecting semiconductor or solid-state bodies and methods related thereto as covered by H01L24/00
    • H01L2224/01Means for bonding being attached to, or being formed on, the surface to be connected, e.g. chip-to-package, die-attach, "first-level" interconnects; Manufacturing methods related thereto
    • H01L2224/42Wire connectors; Manufacturing methods related thereto
    • H01L2224/47Structure, shape, material or disposition of the wire connectors after the connecting process
    • H01L2224/48Structure, shape, material or disposition of the wire connectors after the connecting process of an individual wire connector
    • H01L2224/481Disposition
    • H01L2224/48151Connecting between a semiconductor or solid-state body and an item not being a semiconductor or solid-state body, e.g. chip-to-substrate, chip-to-passive
    • H01L2224/48221Connecting between a semiconductor or solid-state body and an item not being a semiconductor or solid-state body, e.g. chip-to-substrate, chip-to-passive the body and the item being stacked
    • H01L2224/48225Connecting between a semiconductor or solid-state body and an item not being a semiconductor or solid-state body, e.g. chip-to-substrate, chip-to-passive the body and the item being stacked the item being non-metallic, e.g. insulating substrate with or without metallisation
    • H01L2224/48227Connecting between a semiconductor or solid-state body and an item not being a semiconductor or solid-state body, e.g. chip-to-substrate, chip-to-passive the body and the item being stacked the item being non-metallic, e.g. insulating substrate with or without metallisation connecting the wire to a bond pad of the item
    • HELECTRICITY
    • H01ELECTRIC ELEMENTS
    • H01LSEMICONDUCTOR DEVICES NOT COVERED BY CLASS H10
    • H01L2924/00Indexing scheme for arrangements or methods for connecting or disconnecting semiconductor or solid-state bodies as covered by H01L24/00
    • H01L2924/15Details of package parts other than the semiconductor or other solid state devices to be connected
    • H01L2924/151Die mounting substrate
    • H01L2924/153Connection portion
    • H01L2924/1531Connection portion the connection portion being formed only on the surface of the substrate opposite to the die mounting surface
    • H01L2924/15311Connection portion the connection portion being formed only on the surface of the substrate opposite to the die mounting surface being a ball array, e.g. BGA
    • HELECTRICITY
    • H01ELECTRIC ELEMENTS
    • H01LSEMICONDUCTOR DEVICES NOT COVERED BY CLASS H10
    • H01L2924/00Indexing scheme for arrangements or methods for connecting or disconnecting semiconductor or solid-state bodies as covered by H01L24/00
    • H01L2924/15Details of package parts other than the semiconductor or other solid state devices to be connected
    • H01L2924/181Encapsulation

Landscapes

  • Shielding Devices Or Components To Electric Or Magnetic Fields (AREA)

Description

本発明は、電子機器から放射された電磁ノイズが、外部の電子機器や電子機器内部の隣接する回路の機能を低下させ、かつ誤動作を発生させる電磁障害(EMI;electromagnetic interference)を抑制する技術に関する。特に、LSIチップ、インタポーザ、プリント配線板などの回路基板上に形成された回路素子、配線から外部に対して放射される電磁ノイズや、隣接する回路に対して影響を与える電磁ノイズを、シート状あるいは膜状の強磁性体を使用して低減させる技術に関する。
電子機器が動作する際、他の電子機器や機械機器の動作に伴い発生する電磁界が到来し、電磁障害(EMI)を引き起こし、電子機器の性能低下を発生させることがある。特に、大規模集積回路(LSI)では、SoC(System on a chip)技術によりLSIの集積度が増すと消費電力が増す傾向にあり、外部に漏洩する電磁波も増加するため、隣接するLSIや電子機器の機能を低下させる可能性が高くなる。特に磁界については、LSIの電源の電圧が低電圧化すると消費電力が同じであれば電流量が増すため、この場合LSI近傍では磁界ノイズが増える傾向にある。また、インタポーザやプリント配線板などの回路基板についても同じ考え方で磁界の放射源になり得る。
また、このような漏洩電磁波には秘密情報が含まれている場合がある。小型なプローブによりLSIが集積化されているLSIチップやパッケージ近傍で電磁波を測定することにより、秘密情報を盗聴する電磁波攻撃が行われることがある。そのため、電磁波セキュリティの観点からも、不要な電磁放射を低減する技術が必要とされている。
電磁障害と電磁波セキュリティの問題を解決するために有効な方法として、LSIチップ、LSIパッケージ、プリント配線板近傍にシート状の強磁性体を設置することが行われている。これは強磁性体を電磁ノイズ抑制体として使用するためである。強磁性体は、プリント配線板近傍に設置することにより、強磁性体内部に磁界を収束させて損失させることができ、電磁障害を低減する手段として使うことができる。
そして、このような電磁障害を低減する技術として、以下の特許文献1及び非特許文献1・2が知られている。
特許文献1に示される電磁波吸収体では、電磁波発生体である電子部品を覆うように配置されて、強磁性材料の磁化容易方向が発生磁界成分の方向と一致するように、該強磁性材料を配向した構成とされている。
一方、非特許文献1ではLSIチップ上に薄膜磁性体を成膜し、ICチップから放射される磁界を低減するための電磁ノイズ抑制体として使用している。
また、非特許文献2では円形の磁性体を積層した例が報告されている。非特許文献2では円形の強磁性体が積層されたものであるが、角部が無い場合は磁極が生じにくいので強磁性体外部に形成される磁界は弱まる可能性がある。ただし、磁区の磁気モーメントの配列パターンによっては還流磁区構造にならないため、強い磁界を生じることがある。
特開2001−53486号公報
T.Fukushima,S.Koya,H.Ono,N.Masuda and M.Yamaguchi、Evaluationof RF Magnetic Thin Film Noise Suppressor Integrated onto an Operating LSI Chip、J.Magn.Soc.Jpn、2006、30、pp.531−534 N.Masuda、Development of On−chip Loop Coils for Evaluation of RF Noise Suppression Film、The 59th Electronic Components and Technology Conference、2009、pp.815−819
従来、電磁ノイズ抑制体は角型あるいは円形とされていた。これはLSIチップ、LSIパッケージ、プリント配線板が多くの場合、正方形、長方形であるためである。電磁ノイズ抑制体として角形の強磁性体を回路上に積層して使用する場合、強磁性体は磁区構造をとることにより静磁エネルギーを低下させる。そのため、強磁性体が飽和しなければ外部に漏洩する磁界は少ない。ところが、強磁性体が高周波磁界で磁化されると磁気工学が教える通り回転磁化が主体となり、強磁性体の端部に強磁性体内部の磁化による磁極が形成され、磁極から強い磁界が外部に対して形成される。
すなわち、強磁性体がノイズ放射源から集めた磁気エネルギーが端部から漏洩し、隣接する回路に影響を与える可能性がある。強磁性体をLSIチップやLSIパッケージ上にシート状に形成する場合には強磁性体の厚みが10〜100マイクロメートル程度であり、強磁性体内部で生じる高周波損失、ヒステリシス損失などの損失が磁界を十分に減衰できる程度に大きいとは限らない。そのため、強磁性体に収束する磁界が強磁性体内部で減衰しないため端部から磁気エネルギーが漏洩し、強磁性体の近傍では磁界が強くなる場所が出現する可能性がある。
そして、このような問題に対処して特許文献1〜3及び非特許文献1・2の技術が示されているが、前述したように、強磁性体がノイズ放射源から集めた磁気エネルギーが端部から漏洩する恐れがあるので、未だ隣接する回路に与える影響を十分に排除することができないでいた。特に、非特許文献2では円形の強磁性体が積層されているが、このような強磁性体に角部が無い場合は、磁極が生じにくいので強磁性体外部に形成される磁界は弱まる可能性がある。ただし、磁界の発生源であるLSIチップ上の配線や素子の向き、強磁性体内部での磁束分布によっては周縁部に磁極が生じ、強磁性体近傍に強い磁界が形成される可能性がある。
この発明は、上述した事情に鑑みてなされたものであって、強磁性体にノイズ放射源から集められた磁気エネルギーが漏洩して隣接する回路に影響を与えることを抑制することが可能な電磁ノイズ抑制体を提供する。
上記課題を解決するために、この発明は以下の手段を提案している。
すなわち、本発明では、回路基板上に積層されたシート状の強磁性体により構成される電磁ノイズ抑制体であって、前記強磁性体は環状に形成されてその内部に収束した磁束を閉じ込めることにより、電磁ノイズを低減させることを特徴としている。
また、本発明では、回路基板上に積層されたシート状の強磁性体により構成される電磁ノイズ抑制体であって、前記強磁性体はその内部に収束した磁束を閉じ込め、電磁干渉が生じにくい所定領域まで該磁束を誘導しかつ漏洩させることにより、電磁ノイズを低減させることを特徴とする。
第1の発明では、強磁性体は環状に形成されてその内部に収束した磁束を閉じ込めることにより、電磁ノイズを低減させるようにした。すなわち、強磁性体内部に収束した磁束は、開口出口の無い環状の強磁性体によりその内部に閉じ込められるので、外部に漏れ出ることができず、強磁性体の磁気損失によりその磁束が強磁性体内部で減衰する。これにより、強磁性体がノイズ放射源から集めた磁気エネルギーが漏洩してしまうのを抑え、隣接する回路に与える影響を確実に抑制することができる。
第2の発明では、強磁性体に収束した磁束を強磁性体内部に閉じ込めることにより、強磁性体がノイズ放射源から集めた磁気エネルギーを漏洩させず、隣接する回路に与える影響を排除することができる。このとき、電磁干渉が生じにくい所定領域まで前記磁束を誘導し、周辺の磁気ノイズに弱い回路に影響を与えにくい場所にてその前記磁束を漏洩させることにより、特に磁気ノイズに弱い回路に対して、電磁ノイズの影響を確実に抑制することができる。
そして、これらの発明により、電子機器から放射された電磁ノイズが、外部の電子機器や電子機器内部の隣接する回路の機能を低下させ、かつ誤動作を発生させる電磁障害(EMI)を防止する。また、外部から侵入しようとするノイズに対する電磁イミュニティを向上させ、かつLSI内部で扱う秘密情報が漏洩し、盗聴される可能性が低くなり、耐タンパー性能も向上させることも可能となる。
本発明の実施例1に適用される電子基板を示す図であって、(A)は平面図、(B)は正面図である。 図1のICパッケージを具体的に示す正面図である。 図2のLSIチップを具体的に示す平面図である。 図3のLSIチップの他の態様を示す平面図である。 本発明の実施例2を示すLSIチップの平面図である。 図5のLSIチップの他の態様を示す平面図である。 図5のLSIチップの他の態様を示す平面図である。 本発明の実施例3を示すLSIチップの平面図である。 図8のLSIチップの他の態様を示す平面図である。 図8のLSIチップの他の態様を示す平面図である。
本発明の実施例1について図1〜図3を参照して説明する。
本実施例の電磁ノイズ抑制体はプリント配線板、セラミック基板、LSIチップなどの回路基板に適用されるシート状体である。
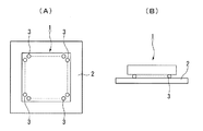
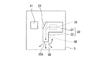
図1は本発明の実施例を説明するため一般的なICパッケージ1の実装状態を示す図であって、(A)はその上面図、(B)はその側面図である。図1に符号1で示される電子部品のICパッケージは、基板2上に接合ボール3を介して実装されている。
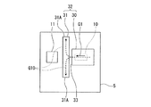
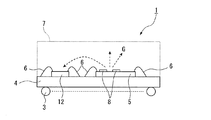
図2は図1のICパッケージ1の内部を示している。このICパッケージ1は、インタポーザ基板4上にLSIが集積化されたLSIチップ5が実装されており、該LSIチップ5とインタポーザ基板4とはワイヤ6で接続されている。また、このICパッケージ1全体はモールド7により覆われている。
また、LSIチップ5の上面には電子回路10及び11が設けられており、該電子回路10を含むLSIチップ5には、中央に開口部8Aを有し全体として円環状に形成されかつ電磁ノイズ抑制体として機能する強磁性体8が配置されている。電子回路10は、自身の動作により、隣接する電子回路11の電気特性に影響を与えるとともに、その一部が外部に放射されうる磁束Gが生じ、磁界分布を形成する。
ここで、電子回路10はノイズ放射源であり、形成する磁束Gにより、周囲にある電磁ノイズに弱い電子回路11に電磁障害を発生させうるものとする。また、符号12は、インタポーザ基板4上に直接配置された電子回路である。
このようなLSIチップ5上に配置される強磁性体8の例として、非特許文献1ではスパッタプロセスを使用してCoNbZr膜を形成したものが報告されている。これまで、LSIチップ上への成膜を目的とした強磁性体としては、アモルファス、微粒子など多種類が開発されている。また、スピンスプレーめっき法により、フェライト膜を直接LSIチップ上に成膜することも可能であり、非特許文献2ではLSIチップ上に数マイクロメートルの厚みで成膜した例が報告されている。フェライト膜は金属膜に比べて高周波帯における特性が優れているため、電波吸収体やシート状の電磁ノイズ抑制体に使用されている。なお、プリント配線板用途としてはFe−Si−Al合金(センダスト)と高分子材料の複合材が使用された報告がある。強磁性体8の厚みは0.1マイクロメートルから100マイクロメートル程度である。さらに磁気メモリなどで使われている半導体プロセスを使って形成することも可能である。
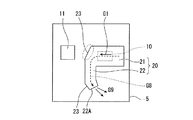
強磁性体8によるノイズ抑制メカニズムについて説明する。図3では強磁性体8の環の部分の一部を電子回路10上に積層するように成膜している。ここでは、電子回路10は高速で動作しており、消費電力も大きい回路であるとする。電子回路10の例として、CMOS(complementary metal oxide semiconductor)回路により構成されたデジタル回路が挙げられる。回路内部の半導体素子がスイッチング動作を行うとその動作に伴う電力が供給され、電源およびグランド系統、信号系の配線に大きな電流が瞬間的に流れる。電流が流れると電磁気の法則に従い電流の周囲に磁束(符号G1で示す)が形成される。
図3では、磁束G1は磁性体8の円周方向を向いている。磁束と磁界には電磁気の法則に従う関係があるので、磁界が生じると考えても良い。したがって、CMOSの回路や配線の周囲に強い磁界が形成される。磁束G1の一部が隣接する電子回路11に向かうと電磁干渉を生じ、信号品質を低下させるなどの影響を与える。図3に示す通り、磁性体8が電子回路10上に設けられている場合、磁束G1の一部は強磁性体8の内部に収束するようにして集められ、強磁性体8を磁化する磁束(符号G2で示す)となる。これは強磁性体8の透磁率が周囲の物質に比べて大きいためである。通常、CMOSプロセスではオンチップインダクタ等を除き磁性体が内蔵されることがないため、CMOSプロセスで作成された基板の透磁率は真空中の透磁率と同程度である。強磁性体8に収束した磁束G1はその内部に閉じ込められるようにして分布を形成する。具体的には円周方向の磁路に沿って磁束が形成される。強磁性体8は環状に形成されているので、磁束G2が向かう方向には開口部がない、すなわち不連続的に透磁率が変化する箇所がないため、強磁性体8の円周方向に誘導され、強磁性体8が飽和しない限り外部に漏れ出る量は少ない。強磁性体8の内部で損失が生じれば磁束G2は強磁性体8の内部で減衰する。そのため、電磁ノイズに弱い電子回路11近傍で磁束が漏洩することがないので、電磁障害が生じにくくなる。
ここで、磁束G2は電磁ノイズに弱い電子回路11の近傍を通らず、電子回路11からそれるように強磁性体8がレイアウトされている。そして、強磁性体8を円環状の形状とすることにより、強磁性体8の内部で磁束G2が通過する磁路を電子回路11からそれる方向に形成することができ、磁束G2を電磁障害が発生しにくくなる向きに誘導することができる。加えて、円環状の形状にすることにより強磁性体8の部分で磁極が生じにくくなるので強磁性体8近傍に強い磁界を発生することがない。
そして、このように本願の円環状の強磁性体8を採用しかつ配置することで、電磁障害を発生しにくい方向に磁束を誘導し、かつ強磁性体8の外部に磁界が発生しにくくなるという優れた特徴を有する。一般に棒状、あるいは角型の強磁性体を磁化すると棒の端面付近に磁極が発生し、強磁性体外部においてはその磁極から反対側の磁極に向けて磁界が発生し、強磁性体内部においては反磁界が発生する。これは磁気に関する基本的な現象であり、磁気工学の分野では良く知られている。強磁性体を環状にすると、磁束G2が始点に戻ってくるため強磁性体8の内部に磁極が発生しない。したがって、磁極による磁界が発生しにくくなり、言い換えれば磁束の漏洩が低減できる。
これまで述べた通り、強磁性体8を円環状にし、かつその一部をノイズの放射源である電子回路10上に積層し、磁路が電磁ノイズに弱い電子回路11から離れるように該強磁性体8を配置することにより、該強磁性体8に集められたノイズが再漏洩されることがなく、電磁障害を抑制することが可能となる。
また、本実施例では、強磁性体8が円環状に形成されているため磁束の漏洩は少ないが、磁区構造によっては環近傍で磁界が観測される可能性がある。そこで、図3では強磁性体8の一部を電子回路10上に積層するように形成し、かつ該強磁性体8の他の部分は電子回路11から距離を保つように設置している。この場合、図3に示すように強磁性体8の下側に存在する電子回路10は磁界に対して強い電磁イミュニティ性能を有しているとすると、強磁性体8により誘導された磁束は、電子回路11から離れた影響の少ない領域に運ばれるため、結果として電子回路11近傍の磁界強度は減少する。従って、電子回路11は電磁障害を受けることがない。
また、本実施例1では、前述の強磁性体8が、円周方向に軟磁性となり、幅方向には硬磁性であるような強磁性体で構成すると良い。このような一軸異方性を有する強磁性体8の内部では、その磁束G2が図3の円周方向に沿って強くなり、強磁性体8の内部の円周方向に誘導されやすくなると考えられる。従って、他の回路に対して与える影響をより軽減することができる。
また、本実施例では、電子回路10の素子の配列、強いノイズを発生させる配線の配列によっては、電子回路10近傍に形成される磁束Gが角度パターンを持つ場合がある。多くの素子が接続される電源及びグランド配線には素子の動作による強い電流が瞬間的に流れる。電磁気の法則によると、電流近傍には磁界が形成されるので、配線に沿うようにして線状に強い磁界分布が観測されることがある。強磁性体8をこのようなノイズの伝播経路となっている配線の近傍に設置した場合、強磁性体8に収束する磁束には指向性が存在することになる。
ここで、電子回路10が発生する磁束(符号G1で示す)の向きと、前述の強磁性体8の軟磁性となる向きを合わせる。これにより、磁束G1が強磁性体8の内部で形成され、磁極を形成しない磁束G2の向きと同じであるので、強磁性体8の内部に磁束G2を取り込むことが容易となる。また、円周方向に一軸異方性であるとすれば、磁束G2を円周方向に誘導しやすくなる。従って、強磁性体外部への磁束の漏洩を抑制でき、結果として電子回路11などの電磁ノイズに弱い回路に対する電磁妨害を減らすことができる。
以上詳細に説明したように本実施例1に示される電磁ノイズ抑制体では、強磁性体8が円環状に形成されており、その内部に収束した磁束を閉じ込めることにより、電磁ノイズを低減させるようにした。すなわち、強磁性体8の内部に収束した磁束は、開口出口の無い環状の強磁性体8によりその内部に閉じ込められているので、外部に漏れ出ることができず、強磁性体8の磁気損失によりその磁束が強磁性体8の内部で減衰する。これにより、強磁性体8がノイズ放射源から集めた磁気エネルギーを漏洩させることなく、隣接する回路に与える影響を確実に抑制することができる。
また、本実施例1に示される電磁ノイズ抑制体では、少なくとも強磁性体8の一部を電磁ノイズの放射源である電子回路10上に設置し、かつ、強磁性体8が電磁ノイズに弱い電子回路12の近傍に位置しない配置とすることにより、周囲の電子回路12に対する電磁干渉を抑制することができる。電子回路12上に形成された強磁性体8により、該電子回路10がから漏洩する磁束を強磁性体8の内部に集め、強い磁界が周辺に形成されることを抑制する。強磁性体8に集められた磁束は強磁性体8の内部を誘導され、外部からの電磁ノイズに弱い電子回路11を磁束線が避けるように強磁性体8を配置すれば、電磁ノイズに弱い電子回路11にて電磁障害を発生させることが無い。
また、強磁性体8の内部には強い磁束G1、G2が形成されているため、強磁性体8の真下に位置する電子回路はその磁束G1、G2の影響を受ける恐れがある。この場合に、電磁ノイズに弱い電子回路上に中央の開口部8Aを設置すれば、電磁干渉を抑制することができる。
(実施例1の変形例1)
本実施例1では、図3では一例として円環状に強磁性体8が形成されているが、楕円状でも同様の効果が期待できる。長方形や正方形を使って環を形成し、その角部を面取りした形状でも同様の効果が期待できる。滑らかな形状となるように面取りを行うことが望ましいが、多角形の組み合わせでも効果が期待できる。
(実施例1の変形例2)
本実施例1では、図3に一例として示すように、円環状に強磁性体8が形成されているが、図4で示すようにその強磁性体8の一部を切り欠いて間隙部8Bを設けるようにしても良い。そして、このような強磁性体8の間隙部8Bを、電磁干渉が生じにくい位置に設ける配置とすることにより、電磁ノイズを強磁性体8の内部に収束する磁束として誘導することができ、電磁障害の発生に関係の無い場所で、間隙部8Bを通じて磁束(符号G2´で示す)を所定領域に漏洩させることができる。その結果、強磁性体8が持つ減衰量が小さい場合でも、磁束を誘導して運び間隙部8Bで漏洩させることで、高性能なノイズ抑制体を形成することができる。
本発明の実施例2について図5〜図7を参照して説明する。
実施例2の電磁ノイズ抑制体が実施例1と異なる点は、実施例2の電磁ノイズ抑制体が、中央の開口部8Aが真円又は真円に近い円環状の強磁性体8からなるのに対して、実施例2の電磁ノイズ抑制体では、環の形状を変化させることでその磁気特性を部分的に変化させて、漏洩する磁束Gを低減させるようにしている。
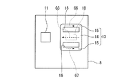
環の磁気特性を変化させる一つの手法として環の形状及び寸法を変化させる手法が考えられる。例えば、図5は、LSIが集積化されているLSIチップ5の上面図であり、LSIチップ5上の強磁性体13を、メインフィルム14及びサブフィルム15からなる磁性薄膜で形成し、これらメインフィルム14及びサブフィルム15によって平面視、環状に形成されている。
メインフィルム14は電子回路10上にレイアウトされている。電子回路10はノイズ放射源であり、周囲の電磁ノイズに弱い電子回路11に電磁障害を発生させている。サブフィルム15は、メインフィルム14の両端部に、該メインフィルム14を側方から迂回するように連結されている。また、このサブフィルム15は、磁気工学でいうところの副磁路に相当し、メインフィルム14は主磁路に相当する。サブフィルム15はメインフィルム14に比べて幅が狭く磁気特性が弱く設計されており、磁気的な減少は主としてメインフィルム14の内部で発生する。このためメインフィルム14の特性には大きな影響を及ぼさないが、端部14Aから漏洩する磁束を低減させる機能を有する。
メインフィルム14は長方形に形成されており、メインフィルム14内部では図の長手方向に磁束(符号G3で示す)が生じるとすると、図5でメインフィルム14の端部14Aから磁束(符号G4で示す)が漏洩する。この場合、メインフィルム14端部には磁極が生じ、強い磁界を発生させ、周囲の回路の電気特性を劣化させる。電子回路11はメインフィルム14の端部付近にレイアウトされており、端部から漏洩する磁束17が向かう向き合う位置関係にある。そのため、電子回路11では電磁干渉により信号品質の劣化などが生じやすくなる。メインフィルム14内部での減衰が十分でない場合には、メインフィルム14が存在することにより電子回路11周辺の磁界強度が強くなり、電磁障害が発生しやすくなることも考えられる。そこで、本実施例2では、強磁性体13にサブフィルム15を設けている。メインフィルム14内部の磁束G3の一部は磁束G4として漏洩するが、一部の磁束(符号G5で示す)はサブフィルム15に導かれる。従って電子回路11に向かう磁束17を減少させることができる。すなわち、このような強磁性体13では、幅広のメインフィルム14により磁束を集め、かつ幅狭のサブフィルム15により磁束を誘導するように構成している。
そして、このような電磁ノイズ抑制体では、メインフィルム14が直上に存在することにより、電子回路10から漏洩した磁束の一部がメインフィルム14に収束し、メインフィルム14内部で磁束が減衰し、結果として周囲の回路の位置での電子回路10による磁界強度が減衰するので電磁干渉は抑制される。
以上詳細に説明したように本実施例2に示される電磁ノイズ抑制体では、強磁性体13が環状に形成されており、その内部に収束した磁束を閉じ込めることにより、電磁ノイズを低減させるようにした。すなわち、強磁性体13内部に収束した磁束は、開口出口の無い環状の強磁性体13によりその内部に閉じ込められているので、外部に漏れ出ることができず、強磁性体13の磁気損失によりその磁束が強磁性体13内部で減衰する。これにより、強磁性体13がノイズ放射源から集めた磁気エネルギーを漏洩させることなく、隣接する回路に与える影響を確実に抑制することができる。
また、本実施例2に示される電磁ノイズ抑制体では、幅広のメインフィルム14と幅狭のサブフィルム15とからなる強磁性体13が設けられているので、幅広のメインフィルム14により磁束を集め、かつ幅狭のサブフィルム15により磁束を誘導する。このとき、磁束を誘導する部分を広くすると、他の回路から不要なノイズが強磁性体に収束してくる可能性があるため、そのような場合にノイズ低減の対象とする回路の上のみに、広い面積のメインフィルム14を配置して効率的に電磁ノイズを強磁性体13に集め、他の部分では不必要に電磁ノイズを収集しない効果を持たせることができる。また、他の例として電磁ノイズを発生する回路の面積が小さい場合には、幅狭のサブフィルム15で磁束を誘導して、メインフィルム14に集める方式も考えられる。
(実施例2の変形例1)
実施例2では、強磁性体13を構成するメインフィルム14とサブフィルム15は一体化して形成して良く、異なるプロセスで形成しても良い。
(実施例2の変形例2)
実施例2では、主磁路となりメインフィルム14と、副磁路となるサブフィルム15とにより段部を有する強磁性体13を構成するとともに、メインフィルム14を側方から迂回するようにサブフィルム15を連結した。しかし、これに限定されず、図6に示すように、主磁路となりメインフィルム14の図中下部位置に、副磁路となるサブフィルム15を連結することで、全体として段部が無く磁極を発生させない四角形状に強磁性体13を形成しても良い。そして、このような構成によっても、強磁性体13内部に収束した磁束は、開口出口の無い環状の強磁性体13によりその内部に閉じ込められるので、外部に漏れ出ることができず、強磁性体13の磁気損失によりその磁束を強磁性体13内部で減衰させることができる。
(実施例2の変形例3)
実施例2では、主磁路となりメインフィルム14と、副磁路となる1本のサブフィルム15とにより強磁性体13を全体として四角形状に形成したが、これに限定されず、図7に示すように、メインフィルム14の端部に2本のサブフィルム15を連結し、これらメインフィルム14及び2本のサブフィルム15により2つの磁気経路(符号G6・G7で示す)を形成しても良い。そして、このような構成によっても、強磁性体13内部に収束した磁束は、開口出口の無い強磁性体13によりその内部に閉じ込められているので、外部に漏れ出ることができず、強磁性体13の磁気損失によりその磁束を強磁性体13内部で減衰させることができる。
なお、このようなサブフィルム15は2本に限定されず、磁気特性に応じて2本以上の複数本設けても良く、その幅も適宜設定しても良い。また、強磁性体13のメインフィルム14とサブフィルム15との間には対称となる位置関係に孔16が形成されるが、この孔16の大きさは、周囲の電子部品12の配置に応じた電磁ノイズを低減度合いに応じて適宜、調整すると良い。
本発明の実施例3について図8〜図10を参照して説明する。
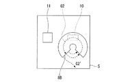
実施例3の電磁ノイズ抑制体が実施例1・2と異なるのは、実施例1・2の電磁ノイズ抑制体が環状の強磁性体8からなるのに対して、実施例3の電磁ノイズ抑制体では、図8に示されるように、L字状に曲がった形状の強磁性体20により構成される点である。
この強磁性体20は幅広のメインフィルム21と幅狭のサブフィルム22とがL字をなすように形成されている。電子回路10上にはメインフィルム21が設けられ、また、サブフィルム22の端部22Aは、電磁ノイズに弱い電子回路11から離れたLSIチップ5の縁部に位置している。
電子回路10から発生した磁束はメインフィルム21内部に収束する(その磁束を符号G8で示す)。強磁性体20内部の磁束G8は、強磁性体20の形状に合わせてL字状に形成されて、サブフィルム22の端部22Aに向かう。サブフィルム22は内部の磁束G8を電子回路11から離れた位置まで運ぶ役割を担う。すなわち、このような強磁性体20では、幅広のメインフィルム21により磁束を集め、かつ幅狭のサブフィルム22により磁束を誘導するように構成している。
サブフィルム22の端部22Aには磁極が形成され、新たな磁束(符号G9で示す)が形成され、かつ端部22Aから磁束G9が漏洩する。磁束G9は通常、放射状に広がり、一部はメインフィルム21の別の磁極が形成されている部分に向かうなど、強磁性体20近傍にある分布を形成する。ここで、サブフィルム22の端部22Aが電子回路11に対向配置されていないので、電子回路11周辺には強い磁界が形成されることもない。従って、電子回路11に対する電磁干渉を低減することができる。また、メインフィルム21と幅狭のサブフィルム22とがL字をなすコーナー部23は面取りされたような鈍角になる形状になっている。
従って、このコーナー部23での磁極の形成は抑制されつつ、強磁性体20内の磁束G8はサブフィルム22の端部22Aまで誘導されることになる。また、このコーナー部23は鈍角又は多角形状に形成することで、この部分に磁極が形成することを抑制している。
以上詳細に説明したように実施例3に示される電磁ノイズ抑制体では、強磁性体20に収束した磁束G9を強磁性体20内部に閉じ込めることにより、強磁性体20がノイズ放射源から集めた磁気エネルギーを漏洩させず、隣接する回路に与える影響を排除することができる。このとき、必要に応じて、所定領域であるサブフィルム22の端部22Aまで磁束G8を誘導し、周辺の磁気ノイズに弱い回路に影響を与えにくい場所にて、その磁束G8を漏洩させることにより、特に磁気ノイズに弱い電子回路11に対して、電磁ノイズの影響を確実に低減することができる。
(実施例3の変形例1)
実施例3では、1つのコーナー部23でL字状に屈曲した強磁性体20を例に挙げたが、これに限定されず、図9に示すように、2つ以上のコーナー部23を設けることで、サブフィルム22の端部22Aを所望の箇所に位置させ、これにより電子回路に影響を与えず電磁ノイズを漏洩させるようにしても良い。強磁性体20の屈曲部23はL字状に限らず、C字状、J字状、T字状などの形状でも良く、いずれの側に屈曲させても良い。
(実施例3の変形例2)
上記実施例3では、幅広のメインフィルム21と幅狭のサブフィルム22を一体に連結することで強磁性体20を形成したが、これに限定されず、図10に示すように幅広のメインフィルム30と幅狭のサブフィルム31を別体とすることで強磁性体32を構成しても良い。
このような強強磁性体32では、一定の長さを有するサブフィルム31の中間部近傍に、微小な間隙33を介在させてメインフィルム30が近接配置されており、サブフィルム31の端部31Aが図中上下方向に延伸するように配置となっている。そして、このような強強磁性体32では、幅広のメインフィルム30により磁束を集め、かつ幅狭のサブフィルム31により磁束G10を誘導するようにしているが、このときメインフィルム30とサブフィルム31との間には間隙33があるので、該磁束10Gは、メインフィルム30の端部30Aから漏洩することになる。しかし、サブフィルム31がメインフィルム30に近接配置されているため、磁束10Gは、サブフィルム31に吸引かつ誘導されて、該サブフィルム31に沿い下側又は上側の端部31Aに向かうようになる。
すなわち、上述したような屈曲部23を設けず、メインフィルム30とサブフィルム31の間に微小な間隙33を介在させることで強磁性体32を構成しても良い。そして、このように強磁性体32では、LSIチップ5上に半導体プロセスによりメインフィルム30、サブフィルム31が形成される場合は、間隙33の大きさを1マイクロメートル以下とすることで、良好な磁気的結合を得ることができる。
なお、実施例3の変形例2では、幅広のメインフィルム30と幅狭のサブフィルム31とから強磁性体32を形成したが、これらのフィルム30・31の数は2つに限定されず、磁路のレイアウトに応じて2つ以上フィルムを近接配置しても良い。
以上、本発明の実施形態について図面を参照して詳述したが、具体的な構成はこの実施形態に限られるものではなく、本発明の要旨を逸脱しない範囲の設計変更等も含まれる。また、各実施例に個々に示される構成は適宜組み合わせることで、自在に本発明の電磁ノイズ抑制体を形成しても良い。
本発明は、LSIチップ、LSIパッケージ、プリント配線板などのノイズ対策に適用される技術である。
8 強磁性体
8B 間隙部
10 電子回路
11 電子回路
13 強磁性体
20 強磁性体
30 メインフィルム(強磁性体シート)
31 サブフィルム(強磁性体シート)
32 強磁性体
33 間隙
G1〜G10 磁束

Claims (8)

  1. 回路基板上に積層されたシート状の強磁性体により構成される電磁ノイズ抑制体であって、
    前記強磁性体は環状に形成されてその内部に収束した磁束を閉じ込めることにより、電磁ノイズを低減させることを特徴とする電磁ノイズ抑制体。
  2. 環状に形成された前記強磁性体の孔が非対称に設けられていることを特徴とする請求項1の電磁ノイズ抑制体。
  3. 前記強磁性体の磁気特性を部分的に変化させたことを特徴とする請求項1または2のいずれか1項に記載の電磁ノイズ抑制体。
  4. 前記強磁性体の幅を変化させることにより前記磁気特性を部分的に変化させることを特徴とする請求項3の電磁ノイズ抑制体。
  5. 前記強磁性体の一部に、電磁干渉が生じにくい所定位置で切り欠きとなる間隙部を設けたことを特徴とする請求項1〜4のいずれか1項に記載の電磁ノイズ抑制体。
  6. 前記強磁性体の透磁率を変化させて構成したことを特徴とする請求項1〜5のいずれか1項に記載の電磁ノイズ抑制体。
  7. 前記強磁性体が、一軸異方性を有することを特徴とすることを特徴とする請求項1〜6のいずれか1項に記載の電磁ノイズ抑制体。
  8. 前記強磁性体の一部を少なくとも電磁ノイズの放射源である回路上に設置し、かつ、該強磁性体が電磁ノイズに弱い回路の近傍に設置されないように形成したことを特徴とする請求項1〜7のいずれか1項に記載の電磁ノイズ抑制体。
JP2010045196A 2010-03-02 2010-03-02 電磁ノイズ抑制体 Expired - Fee Related JP5407936B2 (ja)

Priority Applications (1)

Application Number Priority Date Filing Date Title
JP2010045196A JP5407936B2 (ja) 2010-03-02 2010-03-02 電磁ノイズ抑制体

Applications Claiming Priority (1)

Application Number Priority Date Filing Date Title
JP2010045196A JP5407936B2 (ja) 2010-03-02 2010-03-02 電磁ノイズ抑制体

Publications (2)

Publication Number Publication Date
JP2011181730A JP2011181730A (ja) 2011-09-15
JP5407936B2 true JP5407936B2 (ja) 2014-02-05

Family

ID=44692935

Family Applications (1)

Application Number Title Priority Date Filing Date
JP2010045196A Expired - Fee Related JP5407936B2 (ja) 2010-03-02 2010-03-02 電磁ノイズ抑制体

Country Status (1)

Country Link
JP (1) JP5407936B2 (ja)

Families Citing this family (5)

* Cited by examiner, † Cited by third party
Publication number Priority date Publication date Assignee Title
JP5670392B2 (ja) 2012-07-27 2015-02-18 株式会社東芝 回路基板
JP5904957B2 (ja) * 2013-02-28 2016-04-20 キヤノン株式会社 電子部品および電子機器。
WO2014167871A1 (ja) * 2013-04-10 2014-10-16 株式会社村田製作所 半導体装置
JP7450457B2 (ja) * 2020-05-22 2024-03-15 三菱電機株式会社 磁性体シートおよび該磁性体シートを備えた電子機器
CN113625214B (zh) * 2021-08-10 2023-08-29 广东工业大学 一种磁力计电磁干扰诊断滤波方法及系统

Family Cites Families (4)

* Cited by examiner, † Cited by third party
Publication number Priority date Publication date Assignee Title
JP2001148596A (ja) * 1999-11-22 2001-05-29 Sony Corp 電波吸収体
JP2003115691A (ja) * 2001-10-04 2003-04-18 Tdk Corp フィルム状emiフィルタ
JP2004146505A (ja) * 2002-10-23 2004-05-20 Kyocera Corp 電磁波吸収部材とその製造方法、及びこれを用いた高周波回路パッケージ用蓋体並びに高周波回路パッケージ
JP4161911B2 (ja) * 2004-01-30 2008-10-08 ソニー株式会社 集積回路装置

Also Published As

Publication number Publication date
JP2011181730A (ja) 2011-09-15

Similar Documents

Publication Publication Date Title
JP5407936B2 (ja) 電磁ノイズ抑制体
US20160164178A1 (en) Antenna device and portable electronic device using the same
KR102288244B1 (ko) 전자파 감쇠체 및 전자 장치
JP2011054672A (ja) 電気磁気素子およびその製造方法
CN209658154U (zh) 电子元件
US10468354B2 (en) Semiconductor device with magnetic layer and nonmagnetic layer
US20150303573A1 (en) Antenna device
CN111491500B (zh) 电磁波衰减体及电子装置
JP2009071604A (ja) 平面アンテナ
JPH1064714A (ja) Emi対策部品及びそれを備えた能動素子
US8143696B2 (en) Integrated circuit inductors with reduced magnetic coupling
US10510680B2 (en) Semiconductor device having electromagnetic wave attenuation layer
TWI774013B (zh) 具有磁屏蔽層的裝置及方法
Muroga et al. Simultaneous evaluation of conductive/near-field noise suppression in Co-Zr-Nb film using magnetic circuit
JP2011030106A (ja) 非接触icカードリーダ・ライタのシールドアンテナ、そのアンテナ・シールド
US8964400B2 (en) Circuitry arrangement for reducing a tendency towards oscillations
Yamaguchi et al. On-chip integrated magnetic thin-film solution to countermeasure digital noise on RF IC
Ma et al. Analysis of multilayered Co-Zr-Nb film on-chip noise suppressor as a function of resistivity and permeability
Ma et al. Analysis of magnetic-film-type noise suppressor integrated on transmission lines for on-chip crosstalk evaluation
JP6048218B2 (ja) Esd保護デバイス
JPWO2011111593A1 (ja) 磁性体装置
JP2010010635A (ja) 電磁ノイズ対策部材及び電磁ノイズ対策方法
JP6044021B2 (ja) ノイズ抑制部材
KR101011633B1 (ko) 고인덕턴스를 제공하는 적층형 파워인덕터
JPH04164393A (ja) 磁界スリット型シールド方式

Legal Events

Date Code Title Description
A621 Written request for application examination

Free format text: JAPANESE INTERMEDIATE CODE: A621

Effective date: 20130212

A977 Report on retrieval

Free format text: JAPANESE INTERMEDIATE CODE: A971007

Effective date: 20130705

A131 Notification of reasons for refusal

Free format text: JAPANESE INTERMEDIATE CODE: A131

Effective date: 20130716

A521 Request for written amendment filed

Free format text: JAPANESE INTERMEDIATE CODE: A523

Effective date: 20130911

A01 Written decision to grant a patent or to grant a registration (utility model)

Free format text: JAPANESE INTERMEDIATE CODE: A01

Effective date: 20131008

A61 First payment of annual fees (during grant procedure)

Free format text: JAPANESE INTERMEDIATE CODE: A61

Effective date: 20131021

LAPS Cancellation because of no payment of annual fees