JP5402011B2 - 光学性能評価装置 - Google Patents

光学性能評価装置 Download PDF

Info

Publication number
JP5402011B2
JP5402011B2 JP2009009941A JP2009009941A JP5402011B2 JP 5402011 B2 JP5402011 B2 JP 5402011B2 JP 2009009941 A JP2009009941 A JP 2009009941A JP 2009009941 A JP2009009941 A JP 2009009941A JP 5402011 B2 JP5402011 B2 JP 5402011B2
Authority
JP
Japan
Prior art keywords
light
light source
performance evaluation
optical system
optical performance
Prior art date
Legal status (The legal status is an assumption and is not a legal conclusion. Google has not performed a legal analysis and makes no representation as to the accuracy of the status listed.)
Active
Application number
JP2009009941A
Other languages
English (en)
Other versions
JP2010169424A (ja
Inventor
博伸 作田
Current Assignee (The listed assignees may be inaccurate. Google has not performed a legal analysis and makes no representation or warranty as to the accuracy of the list.)
Nikon Corp
Original Assignee
Nikon Corp
Priority date (The priority date is an assumption and is not a legal conclusion. Google has not performed a legal analysis and makes no representation as to the accuracy of the date listed.)
Filing date
Publication date
Application filed by Nikon Corp filed Critical Nikon Corp
Priority to JP2009009941A priority Critical patent/JP5402011B2/ja
Publication of JP2010169424A publication Critical patent/JP2010169424A/ja
Application granted granted Critical
Publication of JP5402011B2 publication Critical patent/JP5402011B2/ja
Active legal-status Critical Current
Anticipated expiration legal-status Critical

Links

Images

Landscapes

  • Testing Of Optical Devices Or Fibers (AREA)

Description

本発明は、被検光学系の光学性能を評価する光学性能評価装置に関する。
例えば宇宙で使用される光学系は、ロケットで打ち上げられると地上とは環境が異なるため地上で十分な試験を行って性能を確認する必要がある。環境の違いには、例えば重力、熱、媒質等がある。試験内容として、最も重要なものの1つに光学系の結像性能評価がある。結像性能評価は、用途により像のプロファイルであったり、MTFであったりするが、被検光学系の前方にコリメータを配置し、コリメータでターゲットを投影して光学系の結像性能を評価することが多い。
しかしながら、被検光学系の口径が大きくなると、その試験のために、被検光学系と同等またはそれ以上の口径の光学系が必要になりコストが増大する。そこで、被検光学系の焦点面からターゲットを投影し平面鏡で折り返して結像性能を評価する方法が行われている。しかしながら、この方法では、被検光学系をコリメータとして用いており、コリメータ自体が歪んだ光を発しており、評価される被検光学系の像を正確に評価することが困難であるという問題があった。
本発明は、かかる従来の問題を解決するためになされたもので、被検光学系の光学性能を高精度で評価することができる光学性能評価装置を提供することを目的とする。
本発明を例示する第一の態様に従えば、像側の焦点面に撮像素子を備えた被検光学系に像側から光を導く光源装置と、前記被検光学系を通過した光を偏向させて前記焦点面に導く反射素子とを有し、前記光源装置は、前記焦点面に微小光源からの光を集光させる照明光学系と、前記被検光学系の波面状態を検出する検出手段と、前記波面状態に基づいて前記微小光源からの光の波面状態を補正する補正手段とを有し、前記補正手段によって波面状態を補正された光が、前記像側から前記被検光学系に入射されることを特徴とする光学性能評価装置が提供される。
本発明では、被検光学系の光学性能を高精度で評価することができる。
本発明の光学性能評価装置の第1の実施形態を示す説明図である。 図1の反射素子の傾き角を示す説明図である。 図1の光学性能評価装置の動作を示す説明図である。 焦点面への光の導入部を示す説明図である。 図4の他の例を示す説明図である。 撮像素子における像のプロファイル位置を示す説明図である。 1次元ラインセンサを示す説明図である。 マスク部材を示す説明図である。 本発明の光学性能評価装置の第2の実施形態の動作を示す説明図である。
以下、本発明の実施形態を図面を用いて詳細に説明する。
(第1の実施形態)
図1は、本発明の光学性能評価装置の第1の実施形態を示している。
この実施形態では、評価対象である被検光学系に、大口径光学系であるカセグレインタイプの望遠鏡が適用される。望遠鏡は、望遠鏡部11、撮像素子13を有している。望遠鏡部11は、主鏡15と副鏡17を有している。撮像素子13にはCCDが使用されている。望遠鏡部11には、光軸に略平行な光が入射し、主鏡15および副鏡17で反射した後、撮像素子13上に像を形成する。
この実施形態の光学性能評価装置は、光源装置19、反射素子21、制御装置23を有している。
光源装置19は、被検光学系である望遠鏡部11の焦点面FPに光を導く。光源装置19は、光源25、マスク部材27、コリメータ29、形状可変鏡31、ビームスプリッタ33、ダイバージャレンズ35、シャック・ハルトマンセンサ37を有している。光源25にはレーザ光、白色光等が用いられる。マスク部材27にはピンホール27aが形成されている。形状可変鏡31は波面形状を変形可能とされている。シャック・ハルトマンセンサ37は波面状態を検出する。シャック・ハルトマンセンサ37は、マイクロレンズアレイ39、撮像素子41を有している。撮像素子41はCCDからなる。
反射素子21は平面鏡からなる。反射素子21は、図2に示すようにθxおよびθy方向に回転可能とされている。θxは、反射素子21における望遠鏡部11の光軸Cとの交点Oを通るX軸を中心とする回転方向の傾き角である。θyは、交点Oを通るX軸に垂直なY軸を中心とする回転方向の傾き角である。
制御装置23は、CPU43、メモリ45を有している。制御装置23は、光源装置19、反射素子21を制御する。また、撮像素子13からの画像信号を入力し光学性能の評価処理を行う。
以下、上述した光学性能評価装置の動作を、図3に示すフローチャートを用いて説明する。
ステップS1:制御装置23のCPU43は、光源装置19の光源25を点灯する。光源25には、例えば白色光が使用される。光源25の光は、ピンホール27a、コリメータ29を通り形状可変鏡31で反射される。反射された光は、ビームスプリッタ33を通り、ダイバージャレンズ35により被検光学系である望遠鏡部11の焦点面FPに集光される。集光した光束は、望遠鏡部11を実際の使用時と逆の方向(図1に実線で示す)に導入され、副鏡17および主鏡15で反射され略平行光になる。平行光となった光束は、反射素子21で反射され、望遠鏡部11を使用時の方向(図1に二点鎖線で示す)に進行する。そして、焦点面FPに焦点を結ぶ。
望遠鏡部11に光を導入する像面には、図4に斜線で示すように撮像素子13が配置されている。光を導入する位置は、例えば図4の円内の×の位置に設定するのが望ましい。一般に光学系は軸対称系が用いられるのが普通なので、この位置を設定することにより像性能を保証することができる。なお、この位置を導入位置として設定することが困難な場合には、例えば図5に示すように、反射鏡Mにより光路Kを折り曲げて像面Zと同一の焦点位置にするようにしても良い。
ステップS2:CPU43は、反射素子21を駆動して反射光を焦点面FPの入射位置に反射させる。そして、望遠鏡部11に入射した光束と望遠鏡部11から出射される光束とが重なるような傾き角θxおよびθyに反射素子21の角度を設定する。光が元の光路に戻るように反射素子21の傾きを調整すると、光束は光源装置19のダイバージャレンズ35、ビームスプリッタ33を通りシャック・ハルトマンセンサ37に導かれる。
ステップS3:被検光学系である望遠鏡部11の波面状態を検出する。この検出は、光源装置19に配置されるシャック・ハルトマンセンサ37により行われる。シャック・ハルトマンセンサ37は、ビームスプリッタ33から入射された光束をマイクロレンズアレイ39を介して撮像素子41に導く。撮像素子41で検出された画像は制御装置23に出力され波面状態が求められる。この波面状態は、導入した光が元の光路に戻るように反射素子21の傾きを調整しているため、往復の光路の波面収差を含んでいる。従って、この波面収差の半分の値が往路の波面収差になる。
ステップS4:光源装置19の光源25からの光の波面状態を補正する。この補正は、形状可変鏡31により行われる。CPU43は、求められた波面状態に基づいて形状可変鏡31に信号を出力する。そして、望遠鏡部11の波面収差および反射素子21の形状誤差をキャンセルするような波面が得られるように形状可変鏡31を制御する。より具体的には、ステップS3で検出される波面収差は、往復の光路の波面収差を含んでいるため、この波面収差の1/2の波面収差をキャンセルできるような波面が得られるように形状可変鏡31を制御する。なお、望遠鏡部11の射出瞳、形状可変鏡31、シャック・ハルトマンセンサ37のマイクロレンズアレイ39は精度よく波面収差を検出し補正するために互いに共役関係にある。
ステップS5:CPU43は、撮像素子13の所定位置に光が導かれるように反射素子21を駆動する。所定位置として、例えば図6に示すように撮像素子13の中央A、四隅の×で示す位置B,C,D,Eが選択されている。CPU43は、先ず、例えば撮像素子13の中央の位置Aに光が導かれるように反射素子21を駆動する。これにより撮像素子13の位置Aには、望遠鏡部11により広がった点像(PSF)が形成される。撮像素子13の所定位置A,B,C,D,Eに対する反射素子21の傾き角θx、θyは、撮像素子13の所定画素の信号より設定することで、所定位置A,B,C,D,Eに光を導くことができる。
ステップS6:CPU43は、反射素子21を走査して撮像素子13から点像をデータとして取得する。より具体的には、撮像素子13の傾き角θx、θyをステップ走査または連続走査して点像のプロファイルを取得する。
ステップS7:選択された全ての位置を測定していない場合には、残りの位置に対してステップS5およびステップS6の動作を行う。
ステップS8:ステップS7において全ての位置を測定した後、ステップS6で得られたデータを計算処理して光学特性を評価する。例えば計算処理によりMTFやその他の特性を評価することができる。
上述した光学性能評価装置では、シャック・ハルトマンセンサ37により望遠鏡部11の波面状態を検出し、検出された波面状態に基づいて形状可変鏡31を制御し、微小光源25からの光の波面状態を補正するようにしたので、被検光学系である望遠鏡部11の光学性能を高精度で評価することができる。
(第2の実施形態)
以下、本発明の光学性能評価装置の第2の実施形態を説明する。なお、この実施形態において第1の実施形態と同一の要素には同一の符号を付して詳細な説明を省略する。
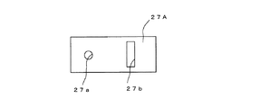
この実施形態では、被検光学系である望遠鏡の撮像素子に、例えば図7に示すような1次元ラインセンサからなる撮像素子13Aが用いられている。この撮像素子13Aは、多数の画素Gが直線状に形成されている。また、マスク部材27Aには、例えば図8に示すように、ピンホール27aおよびスリット27bが形成されている。マスク部材27Aは、ピンホール27aとスリット27bとの位置を切り替え可能に構成されている。マスク部材27Aはスリット27bをステップ走査または連続走査可能に構成されている。光源25には、白色光が用いられている。
図9は、この実施形態の光学性能評価装置の動作を示すフローチャートである。
ステップS1:CPU43は、マスク部材27Aをピンホール27aの位置に設定し光源25を点灯する。なお、ステップS2、ステップS3、ステップS4は、図3のステップS2、ステップS3、ステップS4に対応するため詳細な説明を省略する。
ステップS5:CPU43は、マスク部材27Aをスリット27bの位置に設定する。
ステップS6:CPU43は、撮像素子13Aの所定位置に光が導かれるように反射素子21を駆動する。所定位置として、例えば図7に示すように撮像素子13Aの中央および両側の×で示す位置A’,B’,C’が選択されている。そして、先ず、例えば撮像素子13Aの中央の位置A’に光が導かれるように反射素子21を駆動する。これにより撮像素子13Aには、望遠鏡部11により広がったスリット像(LSF)が形成される。
撮像素子13Aの所定位置A’,B’,C’に対する反射素子21の傾き角θx、θyは、撮像素子13Aの所定画素の信号より設定することで、所定位置A’,B’,C’に光を導くことができる。
ステップS7:CPU43は、スリット27bを走査して撮像素子13Aからスリット像をデータとして取得する。より具体的には、スリット27bの形成されるマスク部材27Aをステップ走査または連続走査してスリット像のプロファイルを取得する。
ステップS8:選択された全ての位置を測定していない場合には残りの位置に対してステップS6およびステップS7の動作を行う。
ステップS9:ステップS8において全ての位置を測定した後、ステップS7で得られたデータを計算処理して光学特性を評価する。例えば計算処理によりMTFやその他の特性を評価することができる。
この実施形態の光学性能評価装置では、マスク部材27Aのピンホール27aからの点光源を用いてシャック・ハルトマンセンサ37により被検光学系である望遠鏡部11の波面状態を検出するようにしたので、波面状態を確実に検出することができる。そして、マスク部材27Aのスリット27bを用いてスリット像を取得するようにしたので、1次元ラインセンサからなる撮像素子13Aを使用する場合にも、スリット像を容易,確実に得ることができる。すなわち、1次元ラインセンサからなる撮像素子13Aでは、撮像素子13A上に点光源を位置させることが非常に困難であるが、スリット光源は所定の長さを有しているため、スリットを撮像素子13Aの画素G上に位置させることが比較的容易である。
(実施形態の補足事項)
以上、本発明を上述した実施形態によって説明してきたが、本発明の技術的範囲は上述した実施形態に限定されるものではなく、例えば、以下のような形態でも良い。
(1)上述した実施形態では、被検光学系を望遠鏡にした例について説明したが、例えば、カメラ等の光学機器の光学系であっても良い。
(2)上述した第1の実施形態では、マスク部材27にピンホール27aを形成した例について説明したが、例えばレーザ光を使用する場合には、必ずしもマスク部材27Aを使用する必要はない。
(3)上述した第2の実施形態では、マスク部材27Aのスリット27bを走査して撮像素子13Aからスリット像を取得した例について説明したが、反射素子21を走査してスリット像を取得するようにしても良い。
11…望遠鏡部、13…撮像素子、21…反射素子、19…光源装置、23…制御装置、25…光源、27…マスク部材、31…形状可変鏡、37…シャック・ハルトマンセンサ。
特開平10−38755号公報

Claims (4)

  1. 像側の焦点面に撮像素子を備えた被検光学系に像側から光を導く光源装置と、
    前記被検光学系を通過した光を偏向させて前記焦点面に導く反射素子とを有し、
    前記光源装置は、
    前記焦点面に微小光源からの光を集光させる照明光学系と、
    前記被検光学系の波面状態を検出する検出手段と、
    前記波面状態に基づいて前記微小光源からの光の波面状態を補正する補正手段とを有し、
    前記補正手段によって波面状態を補正された光が、前記像側から前記被検光学系に入射されることを特徴とする光学性能評価装置。
  2. 請求項1記載の光学性能評価装置において、
    前記微小光源は、点光源とスリット光源とに切り換え可能であることを特徴とする光学性能評価装置。
  3. 請求項1または請求項2記載の光学性能評価装置において、
    前記反射素子の反射角をステップ的または連続的に変更する第1の変更手段を有していることを特徴とする光学性能評価装置。
  4. 請求項2記載の光学性能評価装置において、
    前記スリット光源の位置をステップ的または連続的に変更する第2の変更手段を有していることを特徴とする光学性能評価装置。
JP2009009941A 2009-01-20 2009-01-20 光学性能評価装置 Active JP5402011B2 (ja)

Priority Applications (1)

Application Number Priority Date Filing Date Title
JP2009009941A JP5402011B2 (ja) 2009-01-20 2009-01-20 光学性能評価装置

Applications Claiming Priority (1)

Application Number Priority Date Filing Date Title
JP2009009941A JP5402011B2 (ja) 2009-01-20 2009-01-20 光学性能評価装置

Publications (2)

Publication Number Publication Date
JP2010169424A JP2010169424A (ja) 2010-08-05
JP5402011B2 true JP5402011B2 (ja) 2014-01-29

Family

ID=42701727

Family Applications (1)

Application Number Title Priority Date Filing Date
JP2009009941A Active JP5402011B2 (ja) 2009-01-20 2009-01-20 光学性能評価装置

Country Status (1)

Country Link
JP (1) JP5402011B2 (ja)

Families Citing this family (4)

* Cited by examiner, † Cited by third party
Publication number Priority date Publication date Assignee Title
FR2972051B1 (fr) * 2011-02-24 2013-08-16 Thales Sa Banc de controle simplifie de telescopes et telescopes auto-controlables
CN104964810B (zh) * 2015-06-16 2017-07-25 苏州佳世达光电有限公司 光源侦测系统及方法
CN106092516B (zh) * 2016-05-27 2019-09-17 海信集团有限公司 光学元件的老化装置
CN108871733B (zh) * 2018-05-08 2020-04-07 中国科学院国家天文台南京天文光学技术研究所 大口径光学系统近场检测装置及其测量方法

Family Cites Families (3)

* Cited by examiner, † Cited by third party
Publication number Priority date Publication date Assignee Title
JPH06250108A (ja) * 1993-02-22 1994-09-09 Hitachi Ltd 補償光学装置とこれを用いた天体望遠鏡,光データリンク,レーザ加工機
US6985268B1 (en) * 2000-05-30 2006-01-10 Mitsubishi Denki Kabushiki Kaisha Image capturing apparatus
JP4140684B2 (ja) * 2000-11-28 2008-08-27 三菱電機株式会社 光学系ズレ推定装置、光学系ズレ調整装置、光学系ズレ推定方法、及び光学系ズレ調整方法

Also Published As

Publication number Publication date
JP2010169424A (ja) 2010-08-05

Similar Documents

Publication Publication Date Title
RU2008134018A (ru) Датчик фронтов последовательности волн
JP2019133176A (ja) 深紫外線連続波レーザー、システム、及び方法
KR102052757B1 (ko) 이미징 시스템용 광학 모니터링 디바이스
US12066638B2 (en) Collimator
EP3153879A1 (en) Electro-optical distance measuring instrument
JP2020022569A5 (ja)
JP5402011B2 (ja) 光学性能評価装置
KR20140119719A (ko) Brdf, bsdf, 및 btdf를 측정하도록 되어 있는 광학 시스템
US10291897B2 (en) Parallax correction device and method in blended optical system for use over a range of temperatures
JP6328612B2 (ja) ガイド星生成
JP2009288075A (ja) 収差測定装置及び収差測定方法
JP5511632B2 (ja) レーザー照射装置
US9851557B2 (en) Optical systems including lens assemblies and methods of imaging fields of view using such optical systems
JP6255490B2 (ja) 走査装置
JP4492859B2 (ja) 眼屈折力測定装置
JP7241986B2 (ja) 波面測定装置、および波面測定方法
JP2006118944A (ja) レンズの評価装置
JP4721802B2 (ja) テレセントリック光学系の自動光軸補正方法、自動光軸補正テレセントリック光学装置及び露光装置
JP2008292597A5 (ja)
JP2009288076A (ja) 収差測定装置
KR100790706B1 (ko) 렌즈 초점 거리 측정 장치
US6329634B1 (en) Workpiece irradiation system
JP2007033653A (ja) 焦点検出装置及びそれを用いた撮像装置
JP5448932B2 (ja) 波面計測装置
JP2009042128A (ja) 高さ測定装置

Legal Events

Date Code Title Description
A621 Written request for application examination

Free format text: JAPANESE INTERMEDIATE CODE: A621

Effective date: 20120118

A521 Request for written amendment filed

Free format text: JAPANESE INTERMEDIATE CODE: A523

Effective date: 20120907

A977 Report on retrieval

Free format text: JAPANESE INTERMEDIATE CODE: A971007

Effective date: 20130423

A131 Notification of reasons for refusal

Free format text: JAPANESE INTERMEDIATE CODE: A131

Effective date: 20130514

A521 Request for written amendment filed

Free format text: JAPANESE INTERMEDIATE CODE: A523

Effective date: 20130709

TRDD Decision of grant or rejection written
A01 Written decision to grant a patent or to grant a registration (utility model)

Free format text: JAPANESE INTERMEDIATE CODE: A01

Effective date: 20131001

A61 First payment of annual fees (during grant procedure)

Free format text: JAPANESE INTERMEDIATE CODE: A61

Effective date: 20131014

R150 Certificate of patent or registration of utility model

Ref document number: 5402011

Country of ref document: JP

Free format text: JAPANESE INTERMEDIATE CODE: R150

R250 Receipt of annual fees

Free format text: JAPANESE INTERMEDIATE CODE: R250

R250 Receipt of annual fees

Free format text: JAPANESE INTERMEDIATE CODE: R250

R250 Receipt of annual fees

Free format text: JAPANESE INTERMEDIATE CODE: R250

R250 Receipt of annual fees

Free format text: JAPANESE INTERMEDIATE CODE: R250

R250 Receipt of annual fees

Free format text: JAPANESE INTERMEDIATE CODE: R250

R250 Receipt of annual fees

Free format text: JAPANESE INTERMEDIATE CODE: R250

R250 Receipt of annual fees

Free format text: JAPANESE INTERMEDIATE CODE: R250

R250 Receipt of annual fees

Free format text: JAPANESE INTERMEDIATE CODE: R250

R250 Receipt of annual fees

Free format text: JAPANESE INTERMEDIATE CODE: R250

R250 Receipt of annual fees

Free format text: JAPANESE INTERMEDIATE CODE: R250