JP5382467B2 - 車両用駆動装置 - Google Patents

車両用駆動装置 Download PDF

Info

Publication number
JP5382467B2
JP5382467B2 JP2011094322A JP2011094322A JP5382467B2 JP 5382467 B2 JP5382467 B2 JP 5382467B2 JP 2011094322 A JP2011094322 A JP 2011094322A JP 2011094322 A JP2011094322 A JP 2011094322A JP 5382467 B2 JP5382467 B2 JP 5382467B2
Authority
JP
Japan
Prior art keywords
electrical machine
rotation
rotating
rotating electrical
internal combustion
Prior art date
Legal status (The legal status is an assumption and is not a legal conclusion. Google has not performed a legal analysis and makes no representation as to the accuracy of the status listed.)
Expired - Fee Related
Application number
JP2011094322A
Other languages
English (en)
Other versions
JP2012224244A (ja
Inventor
秀樹 久田
重樹 ▲高▼見
昌記 吉田
Current Assignee (The listed assignees may be inaccurate. Google has not performed a legal analysis and makes no representation or warranty as to the accuracy of the list.)
Aisin AW Co Ltd
Original Assignee
Aisin AW Co Ltd
Priority date (The priority date is an assumption and is not a legal conclusion. Google has not performed a legal analysis and makes no representation as to the accuracy of the date listed.)
Filing date
Publication date
Application filed by Aisin AW Co Ltd filed Critical Aisin AW Co Ltd
Priority to JP2011094322A priority Critical patent/JP5382467B2/ja
Priority to US13/448,829 priority patent/US8591361B2/en
Publication of JP2012224244A publication Critical patent/JP2012224244A/ja
Application granted granted Critical
Publication of JP5382467B2 publication Critical patent/JP5382467B2/ja
Expired - Fee Related legal-status Critical Current
Anticipated expiration legal-status Critical

Links

Images

Classifications

    • BPERFORMING OPERATIONS; TRANSPORTING
    • B60VEHICLES IN GENERAL
    • B60WCONJOINT CONTROL OF VEHICLE SUB-UNITS OF DIFFERENT TYPE OR DIFFERENT FUNCTION; CONTROL SYSTEMS SPECIALLY ADAPTED FOR HYBRID VEHICLES; ROAD VEHICLE DRIVE CONTROL SYSTEMS FOR PURPOSES NOT RELATED TO THE CONTROL OF A PARTICULAR SUB-UNIT
    • B60W20/00Control systems specially adapted for hybrid vehicles
    • B60W20/40Controlling the engagement or disengagement of prime movers, e.g. for transition between prime movers
    • BPERFORMING OPERATIONS; TRANSPORTING
    • B60VEHICLES IN GENERAL
    • B60KARRANGEMENT OR MOUNTING OF PROPULSION UNITS OR OF TRANSMISSIONS IN VEHICLES; ARRANGEMENT OR MOUNTING OF PLURAL DIVERSE PRIME-MOVERS IN VEHICLES; AUXILIARY DRIVES FOR VEHICLES; INSTRUMENTATION OR DASHBOARDS FOR VEHICLES; ARRANGEMENTS IN CONNECTION WITH COOLING, AIR INTAKE, GAS EXHAUST OR FUEL SUPPLY OF PROPULSION UNITS IN VEHICLES
    • B60K6/00Arrangement or mounting of plural diverse prime-movers for mutual or common propulsion, e.g. hybrid propulsion systems comprising electric motors and internal combustion engines
    • B60K6/20Arrangement or mounting of plural diverse prime-movers for mutual or common propulsion, e.g. hybrid propulsion systems comprising electric motors and internal combustion engines the prime-movers consisting of electric motors and internal combustion engines, e.g. HEVs
    • B60K6/22Arrangement or mounting of plural diverse prime-movers for mutual or common propulsion, e.g. hybrid propulsion systems comprising electric motors and internal combustion engines the prime-movers consisting of electric motors and internal combustion engines, e.g. HEVs characterised by apparatus, components or means specially adapted for HEVs
    • B60K6/38Arrangement or mounting of plural diverse prime-movers for mutual or common propulsion, e.g. hybrid propulsion systems comprising electric motors and internal combustion engines the prime-movers consisting of electric motors and internal combustion engines, e.g. HEVs characterised by apparatus, components or means specially adapted for HEVs characterised by the driveline clutches
    • B60K6/387Actuated clutches, i.e. clutches engaged or disengaged by electric, hydraulic or mechanical actuating means
    • BPERFORMING OPERATIONS; TRANSPORTING
    • B60VEHICLES IN GENERAL
    • B60KARRANGEMENT OR MOUNTING OF PROPULSION UNITS OR OF TRANSMISSIONS IN VEHICLES; ARRANGEMENT OR MOUNTING OF PLURAL DIVERSE PRIME-MOVERS IN VEHICLES; AUXILIARY DRIVES FOR VEHICLES; INSTRUMENTATION OR DASHBOARDS FOR VEHICLES; ARRANGEMENTS IN CONNECTION WITH COOLING, AIR INTAKE, GAS EXHAUST OR FUEL SUPPLY OF PROPULSION UNITS IN VEHICLES
    • B60K6/00Arrangement or mounting of plural diverse prime-movers for mutual or common propulsion, e.g. hybrid propulsion systems comprising electric motors and internal combustion engines
    • B60K6/20Arrangement or mounting of plural diverse prime-movers for mutual or common propulsion, e.g. hybrid propulsion systems comprising electric motors and internal combustion engines the prime-movers consisting of electric motors and internal combustion engines, e.g. HEVs
    • B60K6/42Arrangement or mounting of plural diverse prime-movers for mutual or common propulsion, e.g. hybrid propulsion systems comprising electric motors and internal combustion engines the prime-movers consisting of electric motors and internal combustion engines, e.g. HEVs characterised by the architecture of the hybrid electric vehicle
    • B60K6/44Series-parallel type
    • B60K6/445Differential gearing distribution type
    • BPERFORMING OPERATIONS; TRANSPORTING
    • B60VEHICLES IN GENERAL
    • B60WCONJOINT CONTROL OF VEHICLE SUB-UNITS OF DIFFERENT TYPE OR DIFFERENT FUNCTION; CONTROL SYSTEMS SPECIALLY ADAPTED FOR HYBRID VEHICLES; ROAD VEHICLE DRIVE CONTROL SYSTEMS FOR PURPOSES NOT RELATED TO THE CONTROL OF A PARTICULAR SUB-UNIT
    • B60W10/00Conjoint control of vehicle sub-units of different type or different function
    • B60W10/02Conjoint control of vehicle sub-units of different type or different function including control of driveline clutches
    • BPERFORMING OPERATIONS; TRANSPORTING
    • B60VEHICLES IN GENERAL
    • B60WCONJOINT CONTROL OF VEHICLE SUB-UNITS OF DIFFERENT TYPE OR DIFFERENT FUNCTION; CONTROL SYSTEMS SPECIALLY ADAPTED FOR HYBRID VEHICLES; ROAD VEHICLE DRIVE CONTROL SYSTEMS FOR PURPOSES NOT RELATED TO THE CONTROL OF A PARTICULAR SUB-UNIT
    • B60W10/00Conjoint control of vehicle sub-units of different type or different function
    • B60W10/04Conjoint control of vehicle sub-units of different type or different function including control of propulsion units
    • B60W10/08Conjoint control of vehicle sub-units of different type or different function including control of propulsion units including control of electric propulsion units, e.g. motors or generators
    • BPERFORMING OPERATIONS; TRANSPORTING
    • B60VEHICLES IN GENERAL
    • B60WCONJOINT CONTROL OF VEHICLE SUB-UNITS OF DIFFERENT TYPE OR DIFFERENT FUNCTION; CONTROL SYSTEMS SPECIALLY ADAPTED FOR HYBRID VEHICLES; ROAD VEHICLE DRIVE CONTROL SYSTEMS FOR PURPOSES NOT RELATED TO THE CONTROL OF A PARTICULAR SUB-UNIT
    • B60W2710/00Output or target parameters relating to a particular sub-units
    • B60W2710/02Clutches
    • B60W2710/025Clutch slip, i.e. difference between input and output speeds
    • BPERFORMING OPERATIONS; TRANSPORTING
    • B60VEHICLES IN GENERAL
    • B60WCONJOINT CONTROL OF VEHICLE SUB-UNITS OF DIFFERENT TYPE OR DIFFERENT FUNCTION; CONTROL SYSTEMS SPECIALLY ADAPTED FOR HYBRID VEHICLES; ROAD VEHICLE DRIVE CONTROL SYSTEMS FOR PURPOSES NOT RELATED TO THE CONTROL OF A PARTICULAR SUB-UNIT
    • B60W2710/00Output or target parameters relating to a particular sub-units
    • B60W2710/08Electric propulsion units
    • B60W2710/081Speed
    • YGENERAL TAGGING OF NEW TECHNOLOGICAL DEVELOPMENTS; GENERAL TAGGING OF CROSS-SECTIONAL TECHNOLOGIES SPANNING OVER SEVERAL SECTIONS OF THE IPC; TECHNICAL SUBJECTS COVERED BY FORMER USPC CROSS-REFERENCE ART COLLECTIONS [XRACs] AND DIGESTS
    • Y02TECHNOLOGIES OR APPLICATIONS FOR MITIGATION OR ADAPTATION AGAINST CLIMATE CHANGE
    • Y02TCLIMATE CHANGE MITIGATION TECHNOLOGIES RELATED TO TRANSPORTATION
    • Y02T10/00Road transport of goods or passengers
    • Y02T10/60Other road transportation technologies with climate change mitigation effect
    • Y02T10/62Hybrid vehicles

Landscapes

  • Engineering & Computer Science (AREA)
  • Chemical & Material Sciences (AREA)
  • Combustion & Propulsion (AREA)
  • Transportation (AREA)
  • Mechanical Engineering (AREA)
  • Automation & Control Theory (AREA)
  • Electric Propulsion And Braking For Vehicles (AREA)
  • Hybrid Electric Vehicles (AREA)
  • Control Of Driving Devices And Active Controlling Of Vehicle (AREA)
  • Control Of Vehicle Engines Or Engines For Specific Uses (AREA)

Description

本発明は、内燃機関に駆動連結される入力部材と、車輪に駆動連結される出力部材と、第一回転電機と、第二回転電機と、少なくとも3つの回転要素を有する差動歯車装置と、制御装置と、を備えた車両用駆動装置に関する。
上記のような車両用駆動装置の従来技術として、例えば下記の特許文献1に記載された技術がある。特許文献1には、差動歯車装置が3つの回転要素を有する遊星歯車機構により構成され、サンギヤに第一回転電機が駆動連結され、キャリヤに入力部材が駆動連結され、リングギヤに第二回転電機及び出力部材が駆動連結された構成が記載されている。このような構成とすることで、内燃機関のトルクを利用して車両を走行させるハイブリッド走行モードと、内燃機関を停止した状態で第二回転電機のトルクにより車両を走行させる電動走行モードとが実現可能となっている。そして、この車両用駆動装置は、キャリヤと入力部材(内燃機関)との駆動連結を解除可能な係合装置を備え、当該係合装置の状態が、ハイブリッド走行モードの実行時には上記駆動連結が確保された状態(以下、「連結状態」という。)となり、電動走行モードの実行時には上記駆動連結が解除された状態(以下、「非連結状態」という。)となるように制御される。これにより、電動走行モードの実行中に、内燃機関を遊星歯車機構から切り離すことができ、例えば、特許文献1に記載のように、第一回転電機の回転速度を積極的に制御することでキャリヤを回転させ、当該キャリヤの回転を利用して補機を駆動することが可能となる。
ところで、特許文献1の構成のように、電動走行モードの実行中に係合装置が非連結状態とされる構成では、当該文献の段落0049に記載のように、ハイブリッド走行モードから電動走行モードへの切替が行われる際には、内燃機関を停止させるとともに係合装置を連結状態から非連結状態へと切り替える必要がある。この際、特許文献1の構成では、内燃機関の燃料噴射を停止することで、係合装置が自動的に非連結状態へと切り替わる。また、特許文献1には、油圧の制御により係合装置を非連結状態へと切り替えることに言及した記載もある。
しかしながら、特許文献1には、係合装置を連結状態から非連結状態へと切り替えるタイミングに関する具体的な記載がない。そのため、上記のような車両用駆動装置において重要となるエネルギ効率の観点から好適なタイミングで、係合装置を連結状態から非連結状態へと切り替えることが可能な構成は未だ判明していない。
特開2010−76678号公報(段落0049等)
そこで、エネルギ効率の観点から好適なタイミングで係合装置を連結状態から非連結状態へと切り替えることが可能な車両用駆動装置の実現が望まれる。
本発明に係る内燃機関に駆動連結される入力部材と、車輪に駆動連結される出力部材と、第一回転電機と、第二回転電機と、少なくとも3つの回転要素を有する差動歯車装置と、制御装置と、を備えた車両用駆動装置の特徴構成は、前記入力部材、前記出力部材、及
び前記第一回転電機が、それぞれ前記差動歯車装置の異なる回転要素に、当該差動歯車装置の他の回転要素を介することなく駆動連結され、前記第二回転電機が、前記第一回転電機が駆動連結された回転要素以外の前記差動歯車装置の回転要素に、当該差動歯車装置の他の回転要素を介することなく駆動連結され、前記入力部材、前記出力部材、及び前記第一回転電機のいずれかと、前記差動歯車装置の回転要素との駆動連結を解除可能な係合装置を備え、前記制御装置は、前記係合装置による駆動連結が維持され、前記内燃機関が動作中であり、更に前記出力部材が回転している状態から前記内燃機関を停止する内燃機関停止条件が成立した際に、当該内燃機関停止条件が成立した際の前記第一回転電機の回転方向である停止条件成立時回転方向が、前記内燃機関の回転速度を零とする動作点での前記第一回転電機の回転方向である対象回転方向に対して逆方向であるか否かを判定する回転方向判定部と、前記停止条件成立時回転方向が前記対象回転方向に対して逆方向であると判定されたことを条件に、前記内燃機関の回転速度を低下させる方向の回転低下トルクを第一回転電機に出力させる回転低下トルク制御を実行する回転低下トルク制御部と、前記第一回転電機の回転速度が、零を含むように設定された連結解除回転速度範囲内の回転速度となったことを条件に、前記係合装置による駆動連結の解除を指令する連結解除指令部と、を備え、前記制御装置は、前記停止条件成立時回転方向が前記対象回転方向に対して逆方向ではないと判定された場合には、前記回転低下トルク制御を実行せずに前記係合装置による駆動連結の解除を指令する点にある。
本願において、「駆動連結」とは、2つの回転要素が駆動力を伝達可能に連結された状態を指し、当該2つの回転要素が一体的に回転するように連結された状態、或いは当該2つの回転要素が一又は二以上の伝動部材を介して駆動力を伝達可能に連結された状態を含む概念として用いている。このような伝動部材としては、回転を同速で又は変速して伝達する各種の部材が含まれ、例えば、軸、歯車機構、ベルト、チェーン等が含まれる。また、このような伝動部材として、回転及び駆動力を選択的に伝達する係合要素、例えば摩擦係合要素や噛み合い式係合要素等が含まれていてもよい。なお、「駆動力」は「トルク」と同義で用いている。
また、本願では、サンギヤ、キャリヤ、リングギヤを備えた遊星歯車機構等のような3つの回転要素を備えた差動歯車機構を用い、当該差動歯車機構単独で、若しくは複数の差動歯車機構を組み合わせて得られる装置を差動歯車装置と呼ぶ。
また、本願において「回転電機」は、モータ(電動機)、ジェネレータ(発電機)、及び必要に応じてモータ及びジェネレータの双方の機能を果たすモータ・ジェネレータのいずれをも含む概念として用いている。
上記の特徴構成によれば、回転低下トルク制御の実行時に第一回転電機が出力するトルク(回転低下トルク)の方向は、内燃機関の回転速度を低下させる方向と一致する。ここで、内燃機関停止条件が成立したことで内燃機関が停止(燃料噴射又は点火の少なくとも一方が停止)された直後は、内燃機関の回転出力部材には回転し続けようとする方向に当該内燃機関の慣性モーメントに応じた慣性トルクが作用するため、回転低下トルクは、上記慣性トルクに抗する所定の大きさのトルクとなる。そして、回転低下トルク制御は、停止条件成立時回転方向が対象回転方向に対して逆方向であると判定されたことを条件に実行されるため、回転低下トルク制御の実行開始時の回転低下トルクの方向は、第一回転電機の回転速度の絶対値を低下させる方向(発電方向)と一致する。よって、回転低下トルク制御を実行することで、内燃機関の慣性トルクを有効に利用して、当該慣性トルクの大きさに応じた電力を第一回転電機に回生(発電)させることができる。
なお、内燃機関の慣性トルクを利用した第一回転電機による電力の回生は、係合装置の連結状態で実現される。そのため、慣性トルクが零となるまでの間は、係合装置を連結状態に維持するのが良いとも思われる。しかし、第一回転電機の回転方向が対象回転方向と同じ方向となると、回転低下トルクの方向が第一回転電機の回転速度の絶対値を上昇させる方向となるため、内燃機関の慣性トルクを利用した電力の回生は行えない。この点に鑑み、本発明では、第一回転電機の回転速度が、零を含むように設定された連結解除回転速度範囲内の回転速度となったことを条件に、係合装置による駆動連結の解除を指令して、係合装置を連結状態から非連結状態へと切り替える構成とする。これにより、内燃機関の慣性トルクを有効利用して発電することでエネルギ効率の向上を図ると共に、第一回転電機が不必要に回転してエネルギ損失となることを抑制することが可能となっている。
ここで、前記連結解除指令部は、前記第一回転電機の回転方向が前記対象回転方向と同じ方向になる前に、前記係合装置による駆動連結の解除を指令する構成とすると好適である。
この構成によれば、第一回転電機が発電できない状態で当該第一回転電機が不必要に回転してエネルギ損失となることを抑制することができ、エネルギ効率を高めることができる。
また、前記回転低下トルク制御部は、前記第一回転電機の回転方向が前記対象回転方向と同じ方向になる前に、前記回転低下トルク制御を停止する構成とすると好適である。
この構成によれば、内燃機関の慣性トルクを利用した電力の回生を行えない回転速度域において、第一回転電機が慣性トルクに抗するトルク(回転低下トルク)を出力して力行することを抑制することができ、エネルギ効率を更に高めることができる。
また、前記制御装置は、前記第一回転電機の動作状態の変化又は前記係合装置の係合状態の変化により前記差動歯車装置を介して前記出力部材に伝達されるトルク変動を抑制する変動抑制トルクを、前記第二回転電機に出力させる変動抑制制御を実行する構成とすると好適である。
この構成によれば、車輪に駆動連結される出力部材に伝達されるトルク変動を抑制することができる。よって、内燃機関停止条件が成立したことで内燃機関を停止させる制御を実行する際に、車両にショックが発生することを抑制することができる。
また、前記第二回転電機が、前記出力部材が駆動連結された前記差動歯車装置の回転要素に、当該差動歯車装置の他の回転要素を介することなく駆動連結されている構成とすると好適である。
この構成によれば、係合装置により差動歯車装置の回転要素との駆動連結が解除可能とされる部材を、入力部材、出力部材、及び第一回転電機のいずれとしても、内燃機関を停止した状態で第二回転電機のトルクを出力部材に伝達して車輪を駆動する電動走行モードを実現することが可能となる。よって、係合装置の配置に関して設計の自由度が高まり、本発明に係る車両用駆動装置を広範囲に適用することが可能となる。
例えば、前記係合装置を、前記入力部材と前記差動歯車装置の回転要素との駆動連結を解除可能に備える構成としては、前記差動歯車装置は、回転速度の順に第一回転要素、第二回転要素、及び第三回転要素となる3つの回転要素を有し、前記差動歯車装置の他の回転要素を介することなく、前記第一回転要素に前記第一回転電機が駆動連結され、前記第二回転要素に前記入力部材が駆動連結され、前記第三回転要素に前記第二回転電機及び前記出力部材が駆動連結され、前記係合装置は、前記入力部材と前記第二回転要素との間の動力伝達経路上に設けられている構成とすると好適である。
なお、「回転速度の順」は、高速側から低速側に向かう順、又は低速側から高速側に向かう順のいずれかであり、各差動歯車機構の回転状態によりいずれともなり得るが、いずれの場合にも回転要素の順は変わらない。
或いは、前記第二回転電機が、前記第一回転電機が駆動連結された回転要素及び前記出力部材が駆動連結された回転要素以外の前記差動歯車装置の回転要素に、当該差動歯車装置の他の回転要素を介することなく駆動連結され、前記係合装置が、前記入力部材と、当該入力部材が他の回転要素を介することなく駆動連結された前記差動歯車装置の回転要素との間の動力伝達経路上に設けられている構成としても好適である。
この構成によっても、内燃機関を停止した状態で第二回転電機のトルクを出力部材に伝達して車輪を駆動する電動走行モードを実現することができる。
本発明の第一の実施形態に係る車両用駆動装置の機械的構成を示すスケルトン図である。 本発明の第一の実施形態に係る車両用駆動装置のシステム構成を示す模式図である。 本発明の第一の実施形態に係る内燃機関停止制御の動作を説明するための速度線図である。 本発明の第一の実施形態に係る内燃機関停止制御の実行時の各部の動作状態の一例を示すタイムチャートである。 本発明の第一の実施形態に係る内燃機関停止制御の処理手順を示すフローチャートである。 本発明の第二の実施形態に係る車両用駆動装置の機械的構成を示すスケルトン図である。 本発明の第二の実施形態に係る内燃機関停止制御の動作を説明するための速度線図である。 本発明の第三の実施形態に係る車両用駆動装置の機械的構成を示すスケルトン図である。 本発明の第三の実施形態に係る内燃機関停止制御の動作を説明するための速度線図である。 本発明の第四の実施形態に係る内燃機関停止制御の動作を説明するための速度線図である。 本発明のその他の実施形態に係る内燃機関停止制御の動作を説明するための速度線図である。 本発明のその他の実施形態に係る内燃機関停止制御の動作を説明するための速度線図である。 本発明のその他の実施形態に係る内燃機関停止制御の動作を説明するための速度線図である。 本発明のその他の実施形態に係る内燃機関停止制御の動作を説明するための速度線図である。 本発明のその他の実施形態に係る内燃機関停止制御の動作を説明するための速度線図である。
1.第一の実施形態
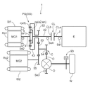
本発明に係る車両用駆動装置の第一の実施形態について図面を参照して説明する。図1に示すように、本実施形態に係る車両用駆動装置1は、車輪の駆動力源として内燃機関E及び回転電機MG1,MG2の双方を備えた車両(ハイブリッド車両)を駆動するための駆動装置(ハイブリッド車両用駆動装置)とされている。そして、本実施形態に係る車両用駆動装置1は制御装置70(図2参照)を備え、この制御装置70は、図2に示すシステム構成に基づき各駆動力源及び摩擦係合装置CLの動作を制御する。なお、図2において、破線は電力の伝達経路を示し、実線矢印は各種情報の伝達経路を示している。
図1に示すように、本実施形態では、車両用駆動装置1が備える差動歯車装置DGは、サンギヤs、キャリヤca、及びリングギヤrを回転要素として有する遊星歯車機構PGにより構成されている。そして、この遊星歯車機構PGの他の回転要素を介することなく、サンギヤsに第一回転電機MG1が駆動連結され、キャリヤcaに入力部材Iが駆動連結され、リングギヤrに第二回転電機MG2及び出力部材Oが駆動連結されている。なお、入力部材Iは内燃機関Eに駆動連結され、出力部材Oは車輪Wに駆動連結されている。
そして、この車両用駆動装置1は、入力部材Iとキャリヤcaとの駆動連結を解除可能な摩擦係合装置CLを備えている。これにより、内燃機関Eを停止した状態で第二回転電機MG2の出力トルクを出力部材Oに伝達して車輪Wを駆動する電動走行モード(EV走行モード)を実行する際に、内燃機関Eを切り離すことができ、第一回転電機MG1の空転(引き摺り)を回避することによるエネルギ効率の向上や、キャリヤcaの回転を利用した補機(例えばオイルポンプ等)の駆動等が可能となっている。以下、本実施形態に係る車両用駆動装置1の構成について詳細に説明する。
1−1.車両用駆動装置の機械的構成
まず、本実施形態に係る車両用駆動装置1の機械的構成について説明する。車両用駆動装置1は、内燃機関Eに駆動連結される入力部材Iと、車輪Wに駆動連結される出力部材Oと、第一回転電機MG1と、第二回転電機MG2と、少なくとも3つの回転要素を有する差動歯車装置DGと、制御装置70と、を備えている。そして、本実施形態に係る車両用駆動装置1は、内燃機関Eの出力トルクを、第一回転電機MG1側と、車輪W及び第二回転電機MG2側とに分配する動力分配用の差動歯車装置DGを備えた、いわゆる2モータスプリット方式のハイブリッド車両用の駆動装置として構成されている。
図1に示すように、本実施形態では、差動歯車装置DGは、シングルピニオン型の遊星歯車機構PGにより構成されている。すなわち、差動歯車装置DGは本例では3つの回転要素を有している。そして、これら3つの回転要素を回転速度の順に、第一回転要素e1、第二回転要素e2、及び第三回転要素e3とすると、本実施形態では、遊星歯車機構PGのサンギヤsが第一回転要素e1を構成し、遊星歯車機構PGのキャリヤcaが第二回転要素e2を構成し、遊星歯車機構PGのリングギヤrが第三回転要素e3を構成している。
そして、以下に述べるように、入力部材I、出力部材O、及び第一回転電機MG1が、それぞれ差動歯車装置DGの異なる回転要素に、当該差動歯車装置DGの他の回転要素を介することなく駆動連結されている。また、第二回転電機MG2が、第一回転電機MG1が駆動連結された回転要素以外の差動歯車装置DGの回転要素に、当該差動歯車装置DGの他の回転要素を介することなく駆動連結されている。そして、車両用駆動装置1は、入力部材I、出力部材O、及び第一回転電機MG1のいずれかと、差動歯車装置DGの回転要素との駆動連結を解除可能な摩擦係合装置CLを備えている。
なお、差動歯車装置DGの各回転要素には、当該回転要素と一体回転する回転要素連結部材が連結されている。具体的には、図1に示すように、第一回転要素e1としてのサンギヤsには、第一回転要素連結部材41が連結され、第二回転要素e2としてのキャリヤcaには、第二回転要素連結部材42が連結され、第三回転要素e3としてのリングギヤrには、第三回転要素連結部材43が連結されている。そして、入力部材I、出力部材O、第一回転電機MG1、及び第二回転電機MG2のそれぞれは、これらの回転要素連結部材の何れかに駆動連結されることで、差動歯車装置DGの何れかの回転要素に駆動連結されている。
入力部材Iは、内燃機関Eに駆動連結される。本実施形態では、入力部材Iは軸部材(入力軸)とされている。ここで、内燃機関Eは、燃料の燃焼により動力を出力する原動機であり、例えば、ガソリンエンジン等の火花点火機関やディーゼルエンジン等の圧縮着火機関等を用いることができる。入力部材Iは、内燃機関Eのクランクシャフト等の内燃機関出力軸に駆動連結されている。本実施形態では、入力部材Iは、内燃機関出力軸と一体回転するように駆動連結されており、入力部材Iの回転速度は内燃機関Eの回転速度と等しくなる。なお、内燃機関Eが、ダンパやフライホイール等の他の装置を介して入力部材Iに駆動連結された構成としても好適である。
出力部材Oは、車輪Wに駆動連結される。本実施形態では、出力部材Oは歯車部材とされており、具体的には、出力用差動歯車装置Dに備えられる差動入力ギヤとされている。出力用差動歯車装置Dは、本例では、互いに噛み合う複数の傘歯車を用いた差動歯車機構により構成されており、出力部材Oに伝達されるトルクを駆動輪となる左右の車輪Wに分配する。車輪Wにはブレーキ装置93(本例ではディスクブレーキ)が設けられており、ブレーキペダル91(図2参照)の操作量に応じた制動力が車輪Wに作用する。
第一回転電機MG1は、図示しないケースに固定された第一ステータSt1と、この第一ステータSt1の径方向内側に回転自在に支持された第一ロータRo1と、を有している。第二回転電機MG2は、図示しないケースに固定された第二ステータSt2と、この第二ステータSt2の径方向内側に回転自在に支持された第二ロータRo2と、を有している。第二ロータRo2は、当該第二ロータRo2が固定された第二ロータ軸を介して、第二回転電機出力ギヤ55と一体回転するように駆動連結されている。
図2に示すように、第一回転電機MG1は、第一インバータ4を介して蓄電装置Bに電気的に接続されており、第二回転電機MG2は、第二インバータ5を介して蓄電装置Bに電気的に接続されている。蓄電装置Bは、バッテリやキャパシタ等の公知の各種の蓄電装置を用いることができる。そして、本実施形態では、第一回転電機MG1及び第二回転電機MG2のそれぞれは、蓄電装置Bから電力の供給を受けて動力(トルク)を発生するモータ(電動機)としての機能と、動力の供給を受けて電力を発生させ、発生した電力を蓄電装置Bに供給するジェネレータ(発電機)としての機能を果たすことが可能とされている。
摩擦係合装置CLは、2つの係合部材を備え、一方の係合部材である第一係合部材CLaに駆動連結された部材と、他方の係合部材である第二係合部材CLbに駆動連結された部材とを、選択的に駆動連結する装置である。本実施形態では、摩擦係合装置CLは、油圧により動作する湿式多板クラッチとして構成されている。そして、本実施形態では、摩擦係合装置CLは、入力部材Iと差動歯車装置DGの回転要素(本例では第二回転要素e2)との駆動連結を解除可能に備えられている。すなわち、本実施形態では、摩擦係合装置CLが、入力部材Iと差動歯車装置DGの回転要素(本例では第二回転要素e2)との間の動力伝達経路上に設けられている。そして、第一係合部材CLaが、入力部材Iと一体回転するように駆動連結された入力側係合部材とされ、第二係合部材CLbが、第二回転要素連結部材42と一体回転するように駆動連結された出力側係合部材とされている。本実施形態では、摩擦係合装置CLが本発明における「係合装置」に相当する。
そして、図1に示すように、本実施形態では、遊星歯車機構PG(差動歯車装置DG)の他の回転要素を介することなく、サンギヤs(第一回転要素e1)に第一回転電機MG1が駆動連結され、キャリヤca(第二回転要素e2)に入力部材Iが駆動連結され、リングギヤr(第三回転要素e3)に第二回転電機MG2及び出力部材Oが駆動連結されている。すなわち、本実施形態では、第二回転電機MG2は、出力部材Oが駆動連結された差動歯車装置DGの回転要素であるリングギヤr(第三回転要素e3)に、当該差動歯車装置DGの他の回転要素を介することなく駆動連結されている。
具体的には、第一ロータRo1が固定された第一ロータ軸が第一回転要素連結部材41と一体回転するように駆動連結されることで、第一回転電機MG1がサンギヤsに駆動連結されている。すなわち、本実施形態では、サンギヤs(第一回転要素e1)の回転速度は、第一ロータRo1(第一回転電機MG1)の回転速度に常に等しくなる。
入力部材Iは、摩擦係合装置CLの第一係合部材CLaに対して、一体回転するように駆動連結されることで、摩擦係合装置CLを介して選択的にキャリヤcaに駆動連結される。すなわち、本実施形態では、摩擦係合装置CLが直結係合状態である場合には、キャリヤca(第二回転要素e2)の回転速度は、入力部材I(内燃機関E)の回転速度に等しくなる。また、本実施形態では、摩擦係合装置CLの2つの係合部材の間の回転速度差は、入力部材I(内燃機関E)の回転速度とキャリヤca(第二回転要素連結部材42)の回転速度との差となる。
第二回転電機MG2及び出力部材Oは、カウンタギヤ機構Cを介してリングギヤrに駆動連結されている。図1に示すように、カウンタギヤ機構Cは、第一カウンタギヤ53と、第二カウンタギヤ54と、これらが一体回転するように連結するカウンタ軸と、を有して構成されている。第三回転要素連結部材43は、第一カウンタギヤ53と噛み合うカウンタドライブギヤ52を有している。そして、第二回転電機出力ギヤ55がカウンタドライブギヤ52とは周方向(第一カウンタギヤ53の周方向)の異なる位置で第一カウンタギヤ53に噛み合うように配置されることで、第二回転電機MG2がリングギヤrに駆動連結されている。また、出力部材Oは、第二カウンタギヤ54に噛み合うように配置されることで、リングギヤrに駆動連結されている。すなわち、本実施形態では、リングギヤrと第二回転電機MG2と出力部材Oとの間の回転速度の関係は、互いに比例関係にあり、その比例係数(すなわち、回転速度比)は、間に介在する歯車の歯数に応じた値となる。
上記のような構成を備えることで、この車両用駆動装置1は、内燃機関Eと回転電機MG1,MG2との双方の出力トルクにより走行するハイブリッド走行モード(スプリット走行モード)と、回転電機MG1,MG2(本例では、第二回転電機MG2のみ)の出力トルクのみにより走行する電動走行モード(EV走行モード)とを実行可能に備えている。ハイブリッド走行モードでは、摩擦係合装置CLが直結係合状態とされ、遊星歯車機構PGにより内燃機関Eの出力トルクがサンギヤs(第一回転電機MG1)とリングギヤr(カウンタドライブギヤ52)とに分配される状態となる。EV走行モードにおいては、摩擦係合装置CLが解放状態とされ、内燃機関Eは停止状態とされる。また、内燃機関Eの内部の摩擦力により内燃機関出力軸(入力部材I)の回転速度は基本的に零となり、第一回転電機MG1の回転速度は、基本的に、零となるように制御される。
1−2.車両用駆動装置のシステム構成
1−2−1.システムの全体構成
図2に示すように、本実施形態に係る制御装置70は、回転電機制御部71、走行モード決定部73、回転方向判定部81、回転低下トルク制御部82、及び連結解除指令部83を備えている。
そして、制御装置70は、CPU等の演算処理装置を中核として備えるとともに、RAMやROM等の記憶装置等を有して構成されている。そして、ROM等に記憶されたソフトウェア(プログラム)又は別途設けられた演算回路等のハードウェア、或いはそれらの両方により、制御装置70の各機能部が構成されている。これらの各機能部は、互いに情報の受け渡しを行うことができるように構成されている。
制御装置70は、車両用駆動装置1を搭載する車両の各部の情報を取得するために、車両の各部に設けられたセンサ等からの情報を取得可能に構成されている。具体的には、図2に示すように、制御装置70は、入力部材センサSe1、出力部材センサSe3、アクセル開度センサSe11、ブレーキ操作センサSe12、第一ロータ軸センサSe2、解除対象回転要素センサSe4、及び蓄電状態センサSe10からの情報を取得可能に構成されている。
入力部材センサSe1は、入力部材Iの回転速度を検出するセンサである。入力部材センサSe1により検出される入力部材Iの回転速度は、本例では、内燃機関Eの回転速度に等しい。出力部材センサSe3は、出力部材Oの回転速度を検出するセンサである。なお、本例では、出力部材Oの回転速度は、第二回転電機MG2の回転速度と比例関係にあるため、第二回転電機MG2に備えられた回転センサ(レゾルバ等)の検出結果に基づき出力部材Oの回転速度が取得される構成とすることもできる。制御装置70は、出力部材センサSe3により検出される出力部材Oの回転速度に基づき、車速を導出する。アクセル開度センサSe11は、アクセルペダル90の操作量を検出することによりアクセル開度を検出するセンサである。蓄電状態センサSe10は、蓄電装置Bの状態(蓄電量や温度等)を検出するセンサである。
ブレーキ操作センサSe12は、ブレーキペダル91の操作量を検出するためのセンサである。車両には、ブレーキ装置93(図1参照)の動作制御を行うためのブレーキ装置制御ユニット8が備えられており、制御装置70は、ブレーキ操作センサSe12の検出結果に基づき、ブレーキペダル91の操作量に応じた制動力が車輪Wに作用するように、ブレーキ装置制御ユニット8を制御する。
第一ロータ軸センサSe2は、第一回転電機MG1(第一ロータ軸)の回転速度を検出するセンサである、本例では、第一ロータ軸センサSe2により検出される第一回転電機MG1の回転速度は、第一回転要素連結部材41(サンギヤs)の回転速度に等しい。第一ロータ軸センサSe2は、例えば、第一回転電機MG1に備えられた回転センサ(レゾルバ等)とすることができる。
解除対象回転要素センサSe4は、差動歯車装置DGが有する回転要素の内の解除対象回転要素enの回転速度を検出するセンサである。ここで、解除対象回転要素enとは、摩擦係合装置CLによって、入力部材I、出力部材O、及び第一回転電機MG1のいずれかとの駆動連結が解除可能とされている回転要素である。本実施形態では、キャリヤcaが解除対象回転要素enであり、解除対象回転要素センサSe4は、第二回転要素連結部材42の回転速度を検出する。
図2に示すように、車両には内燃機関制御ユニット3が備えられている。内燃機関制御ユニット3は、内燃機関Eの各部を制御することにより、内燃機関Eの動作制御を行う。具体的には、内燃機関制御ユニット3は、内燃機関Eの動作点(出力トルク及び回転速度)の制御目標としての目標動作点(目標トルク及び目標回転速度)を設定し、この制御目標に応じて内燃機関Eを動作させることにより、内燃機関Eの動作制御を行う。なお、目標トルクや目標回転速度は、制御装置70からの指令に基づき設定される。また、内燃機関制御ユニット3は、内燃機関Eの停止状態において、制御装置70から始動の指令を受けた場合には、燃料噴射及び点火を開始させ、内燃機関Eを始動状態へと変化させる。また、内燃機関制御ユニット3は、内燃機関Eの始動状態(動作中)において、制御装置70から停止の指令を受けた場合には、燃料噴射及び点火を停止させて、内燃機関Eを停止状態へと変化させる。
また、図2に示すように、車両には、摩擦係合装置CLの動作制御を行う摩擦係合装置制御ユニット6が備えられている。本実施形態では、摩擦係合装置CLは油圧により動作する摩擦係合装置とされ、摩擦係合装置制御ユニット6は、油圧制御装置2を制御することで摩擦係合装置CLの動作制御を行う。具体的には、摩擦係合装置制御ユニット6は、摩擦係合装置CLに対する油圧指令値を生成し、当該油圧指令値に相当する油圧が摩擦係合装置CLに供給されるように油圧制御装置2を制御する。
摩擦係合装置CLの状態には、当該摩擦係合装置CLによる駆動連結が維持された状態である「連結状態」と、当該摩擦係合装置CLによる駆動連結が解除された状態である「非連結状態」とがある。すなわち、「連結状態」は、摩擦係合装置CLを介したトルクの伝達が行われる状態であり、摩擦係合装置CLによる駆動連結が有効とされた状態である。また、「非連結状態」は、摩擦係合装置CLを介したトルクの伝達が行われない状態であり、摩擦係合装置CLによる駆動連結が無効とされた状態である。
そして、本例では、摩擦係合装置CLが備える2つの係合部材の間の係合に関する状態に応じて、当該摩擦係合装置CLの状態が連結状態と非連結状態との間で切り替わる。すなわち、2つの係合部材の間の係合に関する状態が「解放状態」である場合には、摩擦係合装置CLが非連結状態となり、2つの係合部材の間の係合に関する状態が「スリップ係合状態」又は「直結係合状態」である場合には、摩擦係合装置CLが連結状態となる。
ここで、「解放状態」は、摩擦係合装置CLの2つの係合部材の間で回転及びトルクが伝達されない状態(係合解除状態)であり、「スリップ係合状態」は、当該2つの係合部材が回転速度差を有する状態で係合する状態(係合状態)であり、「直結係合状態」は、当該2つの係合部材が一体回転する状態で係合する状態(係合状態)である。すなわち、「スリップ係合状態」は、摩擦係合装置CLの2つの係合部材が互いに相対回転する状態で、当該2つの係合部材の間でトルクが伝達される係合状態である。また、「直結係合状態」は、摩擦係合装置CLの2つの係合部材が直結し、当該2つの係合部材の間に差回転がない係合状態である。このように、係合状態には、スリップ係合状態と直結係合状態とが含まれる。そして、直結係合状態には、摩擦係合装置CLが伝達するトルクの変動にかかわらず直結係合状態が維持される状態である「定常的な直結係合状態」が含まれる。このような定常的な直結係合状態を得るための油圧は、例えば、油圧制御装置2により生成されるライン圧(基準油圧)となる。なお、以下では、摩擦係合装置CLの状態を、2つの係合部材の間の係合に関する状態により表す。
摩擦係合装置CLが2つの係合部材の間で伝達可能なトルクの大きさは、摩擦係合装置CLのその時点での係合圧に応じて決まる。このときのトルクの大きさを、摩擦係合装置CLの伝達トルク容量とする。本実施形態では、摩擦係合装置CLに対する油圧指令値に応じて、比例ソレノイド弁で摩擦係合装置CLへの供給油量及び供給圧の大きさを連続的に制御することにより、摩擦係合装置CLの伝達トルク容量の増減が連続的に制御可能となっている。そして、本実施形態では、摩擦係合装置制御ユニット6は、制御装置70からの係合指令や係合解除指令(解放指令)等に基づき摩擦係合装置CLの伝達トルク容量を制御し、摩擦係合装置CLの状態を制御する。
1−2−2.走行モード決定部の構成
走行モード決定部73は、車両の走行モードを決定する機能部である。走行モード決定部73は、例えば、出力部材センサSe3の検出結果に基づき導出される車速と、アクセル開度センサSe11により検出されるアクセル開度と、蓄電状態センサSe10により検出される蓄電状態(蓄電量や温度等)に基づいて、車両用駆動装置1が実現すべき走行モードを決定する。本実施形態では、走行モード決定部73が決定可能な走行モードには、電動走行モードとハイブリッド走行モードとが含まれる。そして、走行モード決定部73は、基本的に、メモリ等で構成される記憶装置に記憶して備えられた、車速、アクセル開度、及び蓄電状態と、走行モードと、の関係を規定したモード選択マップ(図示せず)を参照して、走行モードを決定する。
このモード選択マップによれば、ハイブリッド走行モードでの走行中に内燃機関停止条件が成立した場合に、電動走行モードへの移行が決定される。ここで、内燃機関停止条件は、始動状態(動作中)の内燃機関Eを停止させるための条件であり、車両が内燃機関Eのトルクを必要としない状況となった場合や、車両が内燃機関Eのトルクを利用できない状況となった場合に成立する。例えば、ハイブリッド走行モードでの走行中に、アクセルペダル90の踏み込み量が減少し、或いはブレーキペダル91の踏み込み量が増大する等して、回転電機MG1,MG2のみで車両に要求されるトルクが得られる状態となった場合に、内燃機関停止条件が成立する。また、蓄電装置Bの蓄電量が予め定められた閾値以上にまで回復したため、内燃機関Eのトルクにより回転電機MG1,MG2に発電させて蓄電装置Bを充電することが必要でなくなった場合にも、内燃機関停止条件が成立する。
1−2−3.回転電機制御部の構成
回転電機制御部71は、第一回転電機MG1や第二回転電機MG2の動作制御を行う機能部である。具体的には、回転電機制御部71は、第一回転電機MG1の動作点(出力トルク及び回転速度)の制御目標としての目標動作点(目標トルク及び目標回転速度)を設定し、この制御目標に応じて第一回転電機MG1が動作するように、第一インバータ4を制御する。本例では、回転電機制御部71は、トルク制御或いは回転速度制御により第一回転電機MG1の動作制御を行う。ここで、トルク制御は、第一回転電機MG1に対する目標トルクを設定して、第一回転電機MG1の出力トルクを当該目標トルクに合わせる制御である。また、回転速度制御は、第一回転電機MG1に対する目標回転速度を設定して、第一回転電機MG1の回転速度を当該目標回転速度に合わせる制御である。また、第二回転電機MG2についての制御は、第一インバータ4が第二インバータ5に置き換わる点を除いて第一回転電機MG1と同様である。
本実施形態では、上記のトルク制御には、第一回転電機MG1に回転低下トルクを出力させる回転低下トルク制御が含まれる。回転低下トルク制御は、回転低下トルク制御部82により実行される。この回転低下トルク制御部82の構成については、後の「1−2−5.回転低下トルク制御部の構成」の項で説明する。
1−2−4.回転方向判定部の構成
回転方向判定部81は、摩擦係合装置CLによる駆動連結が維持され、内燃機関Eが動作中であり、更に出力部材Oが回転している状態から内燃機関Eを停止する内燃機関停止条件が成立した際に、回転方向判定を実行する機能部である。すなわち、回転方向判定部81は、摩擦係合装置CLが係合状態(基本的に直結係合状態)とされると共に内燃機関Eが始動状態とされた状態での走行中(ハイブリッド走行モードでの走行中)に内燃機関停止条件が成立した際に、回転方向判定を実行する。なお、内燃機関停止条件が成立したか否かの判定は制御装置70により実行される。
ここで、「回転方向判定」とは、内燃機関停止条件が成立した際の第一回転電機MG1の回転方向(以下、「停止条件成立時回転方向K1」という。)が、内燃機関Eの回転速度を零とする動作点での第一回転電機MG1の回転方向(以下、「対象回転方向K2」という。)に対して逆方向であるか否かの判定である。
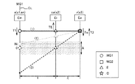
図3を参照して、回転方向判定部81が実行する回転方向判定について説明する。図3は、差動歯車装置DG(本例では遊星歯車機構PG)の動作状態を表す速度線図である。この速度線図において、縦軸は、各回転要素の回転速度に対応している。すなわち、縦軸に対応して記載している「0」は、回転速度が零であることを示しており、上側が正回転(回転速度が正)、下側が負回転(回転速度が負)である。ここで、各部材の回転(回転速度)及びトルクの方向に関して、「正方向」とは、内燃機関Eの動作中における当該内燃機関Eの回転方向と同じ方向であり、「負方向」とは、その逆方向である。
また、並列配置された複数本の縦線のそれぞれが、差動歯車装置DGの各回転要素に対応している。各回転要素に対応する縦線の間隔は、差動歯車装置DGのギヤ比λに対応している。本例では、差動歯車装置DGは遊星歯車機構PGにより構成されており、そのギヤ比λは、サンギヤsとリングギヤrとの歯数比となる。そして、各縦線の上側に記載されている四角形で囲まれた「Em」、「Ei」、「Eo」は、それぞれ、ハイブリッド走行モードの実行時における反力伝達要素Em、入力回転要素Ei、出力回転要素Eoを示している。反力伝達要素Em、入力回転要素Ei、及び出力回転要素Eoは、それぞれ、差動歯車装置DGの他の回転要素を介することなく、第一回転電機MG1、内燃機関E(入力部材I)、及び出力部材Oが駆動連結される回転要素である。すなわち、反力伝達要素Em、入力回転要素Ei、及び出力回転要素Eoは、それぞれ、第一回転電機連結要素、入力部材連結要素(内燃機関連結要素)、及び出力部材連結要素である。
また、速度線図上において、第一回転電機MG1の回転速度、第二回転電機MG2の回転速度、内燃機関E(入力部材I)の回転速度、及び出力部材Oの回転速度のそれぞれを、互いに異なる記号で示している。具体的には、「丸」の記号が、第一回転電機MG1の回転速度を示し、「四角」の記号が、第二回転電機MG2の回転速度を示し、「三角」の記号が、内燃機関Eの回転速度を示し、「星」の記号が、出力部材Oの回転速度を示している。なお、発明の理解を容易にすべく、第一回転電機MG1、第二回転電機MG2、内燃機関E、及び出力部材Oの各部材の回転速度は、差動歯車装置DGの回転要素(回転要素連結部材)までの動力伝達経路上に設けられた伝動部材(摩擦係合装置CLのような回転及びトルクを選択的に伝達する係合要素を除く)による回転速度の変換(変速)後の回転速度を表している。以下の説明における各部材の回転速度に関する記載も、基本的に、上記伝動部材による回転速度の変換後の回転速度を意味する。
具体的には、本実施形態では、第一回転電機MG1は、第一回転要素連結部材41と一体回転するように駆動連結されているため、速度線図上における第一回転電機MG1(サンギヤs)の回転速度は、第一回転電機MG1の実回転速度と一致する。また、内燃機関E(入力部材I)は、摩擦係合装置CLが直結係合状態である場合には、第二回転要素連結部材42と同じ回転速度で回転するため、速度線図上における内燃機関E(キャリヤca)の回転速度は、内燃機関Eの実回転速度と一致する。
一方、第二回転電機MG2は、カウンタギヤ機構Cを介して第三回転要素連結部材43に駆動連結されているため、速度線図上における第二回転電機MG2(リングギヤr)の回転速度は、第二回転電機MG2の実回転速度に、第二回転電機出力ギヤ55、第一カウンタギヤ53、及びカウンタドライブギヤ52からなる動力伝達系のギヤ比を乗じたものとなっている。同様に、出力部材Oも、カウンタギヤ機構Cを介して第三回転要素連結部材43に駆動連結されているため、速度線図上における出力部材Oの回転速度は、出力部材Oの実回転速度に、差動入力ギヤ(出力部材O)、第二カウンタギヤ54、第一カウンタギヤ53、及びカウンタドライブギヤ52からなる動力伝達系のギヤ比を乗じたものとなっている。
そして、「T1」は第一回転電機MG1から差動歯車装置DGの回転要素(反力伝達要素Em、本例ではサンギヤs)に伝達されるトルク(第一回転電機トルク)を示し、「T2」は第二回転電機MG2から差動歯車装置DGの回転要素(本例ではリングギヤr)に伝達されるトルク(第二回転電機トルク)を示している。「TE」は、内燃機関Eから差動歯車装置DGの回転要素(入力回転要素Ei、本例ではキャリヤca)に伝達されるトルク(内燃機関トルク)を示し、「To」は出力部材O(車輪W)から差動歯車装置DGの回転要素(出力回転要素Eo、本例ではリングギヤr)に伝達されるトルク(走行トルク、走行抵抗)を示している。これらのトルクに隣接配置された矢印は、ハイブリッド走行モードの実行時における各トルクの方向を表しており、上向き矢印が正方向のトルクを表し、下向き矢印が負方向のトルクを表している。なお、以下で参照する各速度線図においても、図3と同様に差動歯車装置DGの動作状態を示している。
図3において太実線で示す状態(「(1)」で示す状態)は、ハイブリッド走行モードでの動作状態を表している。ハイブリッド走行モードでは、摩擦係合装置CLが係合状態(基本的に直結係合状態)となる。そして、ハイブリッド走行モードでは、内燃機関Eは、効率が高く排ガスの少ない状態(最適燃費特性に沿った状態)に維持されるよう制御されつつ車両を走行させるための要求駆動力に応じた正方向のトルクを出力し、第一回転電機MG1は、負方向のトルクを出力することで内燃機関Eのトルクの反力受けとして機能する。この際、第一回転電機MG1は、基本的に、正回転して発電する。また、第二回転電機MG2は、基本的に、正方向のトルクを出力して、出力部材Oに伝達されるトルクを補助する。なお、本実施形態では、ハイブリッド走行モードの実行時には、基本的に、出力部材Oの回転速度は内燃機関Eの回転速度と同じく正方向とされる。
そして、図3に太実線で示される状態において内燃機関停止条件が成立した場合に、回転方向判定部81による回転方向判定が実行される。図3に示す例では、内燃機関停止条件が成立した際の第一回転電機MG1動作点は、図3において太実線の丸で示す動作点であるため、停止条件成立時回転方向K1は「正方向」となる。停止条件成立時回転方向K1は、例えば、第一ロータ軸センサSe2の検出結果に基づき取得される。なお、第一回転電機MG1の回転速度(サンギヤsの回転速度)は、キャリヤcaの回転速度及びリングギヤrの回転速度に応じて一意に定まるため、これらキャリヤca及びリングギヤrの回転速度の検出結果に基づき停止条件成立時回転方向K1が導出される構成とすることもできる。
また、図3に示す例では、摩擦係合装置CLの直結係合状態で内燃機関Eの回転速度を零とする第一回転電機MG1の動作点は、図3において細破線の丸で示す、回転速度が対象回転速度Nsとなる動作点であるため、対象回転方向K2は「負方向」となる。よって、図3に示す例では、停止条件成立時回転方向K1が対象回転方向K2に対して逆方向であると判定される。図示は省略するが、内燃機関Eの回転速度や出力部材Oの回転速度によっては、停止条件成立時回転方向K1は「負方向」となり、この場合、停止条件成立時回転方向K1が対象回転方向K2と同方向であると判定される。後に別実施形態の説明で参照する各図面(図7、図9〜図15)においても、ハイブリッド走行モードの実行時の状態(太実線で示す状態)として、停止条件成立時回転方向K1が対象回転方向K2に対して逆方向となる場合のみを示している。
なお、対象回転方向K2と出力部材Oの回転方向との関係は、反力伝達要素Em、入力回転要素Ei、及び出力回転要素Eoの間の回転速度の順に応じて定まる。すなわち、例えば図3に示す連結関係のように、これら3つの回転要素の間の回転速度の順が、入力回転要素Eiが中間となる順である場合には、対象回転方向K2は、出力部材Oの回転方向とは逆方向となる。また、例えば後に参照する図10に示す連結関係のように、これら3つの回転要素の間の回転速度の順が、入力回転要素Eiが端となる順である場合には、対象回転方向K2は、出力部材Oの回転方向と同方向となる。
本実施形態では、反力伝達要素Em、入力回転要素Ei、及び出力回転要素Eoの間の回転速度の順は、入力回転要素Eiが中間となる順であるため、対象回転方向K2は、出力部材Oの回転方向とは逆方向となる。また、本実施形態では、上記のように、ハイブリッド走行モードの実行時には、基本的に、出力部材Oの回転速度は内燃機関Eの回転速度と同じく正方向とされる。そのため、本実施形態では、対象回転方向K2は基本的に負方向となる。よって、本実施形態では、回転方向判定部81による回転方向判定では、停止条件成立時回転方向K1が正方向である場合に、停止条件成立時回転方向K1が対象回転方向K2に対して逆方向であると判定され、停止条件成立時回転方向K1が負方向である場合に、停止条件成立時回転方向K1が対象回転方向K2と同方向であると判定される。
1−2−5.回転低下トルク制御部の構成
回転低下トルク制御部82は、回転方向判定部81により停止条件成立時回転方向K1が対象回転方向K2に対して逆方向であると判定されたことを条件に、内燃機関Eの回転速度を低下させる方向の回転低下トルクを第一回転電機MG1に出力させる回転低下トルク制御を実行する機能部である。図3において細跳び破線(細点線)で示す状態(「(2)」で示す状態)は、回転低下トルク制御の実行により、ハイブリッド走行モードでの走行中に比べて、内燃機関Eの回転速度が低下した状態を表している。
本実施形態では、内燃機関停止条件が成立した際には、速やかに内燃機関制御ユニット3に対する内燃機関Eの停止指令が実行されるように構成されており、回転低下トルク制御部82による回転低下トルク制御は、基本的に、内燃機関Eの燃料噴射及び点火の少なくとも一方(本例では双方)が停止された状態で開始される。ここで、内燃機関Eの燃料噴射や点火が停止された直後は、内燃機関Eの内燃機関出力軸には、回転し続けようとする方向(正方向)に、内燃機関Eの慣性モーメントに応じた慣性トルクが作用する。そして、回転低下トルク制御の実行時には、第一回転電機MG1は、この慣性トルクに抗して内燃機関Eの回転速度を低下させるためのトルクである回転低下トルクを出力するように制御される。なお、回転速度について「低下」とは、回転速度を負の方向に変化させることを意味し、回転速度について「上昇」とは、回転速度を正の方向に変化させることを意味する。
ハイブリッド走行モードの実行中には、第一回転電機MG1は内燃機関Eの反力受けとして機能するため、第一回転電機MG1は、内燃機関Eの回転速度を低下させる方向のトルクを出力している。そのため、回転低下トルク制御の実行中に第一回転電機MG1が出力する回転低下トルクの方向は、ハイブリッド走行モードの実行中における第一回転電機MG1の出力トルクの方向と一致する。なお、ハイブリッド走行モードの実行中における第一回転電機MG1の出力トルクの方向は、反力伝達要素Em、入力回転要素Ei、及び出力回転要素Eoの間の回転速度の順に応じて定まる。すなわち、これら3つの回転要素の間の回転速度の順が、出力回転要素Eoが端となる順である場合には、当該出力トルクの方向は負方向となる。また、これら3つの回転要素の間の回転速度の順が、出力回転要素Eoが中間となる順である場合には、当該出力トルクの方向は正方向となる。
本実施形態では、反力伝達要素Em、入力回転要素Ei、及び出力回転要素Eoの間の回転速度の順は、出力回転要素Eoが端となる順であるため、回転低下トルクの方向は負方向となる。そのため、回転低下トルク制御の実行中には、第一回転電機MG1は、負方向のトルク(回転低下トルク)を出力してその回転速度が低下するように制御され、第一回転電機MG1の回転速度が低下するとともに、内燃機関Eの回転速度が低下する。
そして、上記のように、本実施形態では、停止条件成立時回転方向K1が正方向である場合に、回転方向判定部81により停止条件成立時回転方向K1が対象回転方向K2に対して逆方向であると判定される。そのため、当該判定を条件に実行が開始される回転低下トルク制御の実行開始時には、回転低下トルクの方向が、第一回転電機MG1の回転方向とは反対方向(すなわち発電方向)となる。よって、回転低下トルク制御を実行することで、第一回転電機MG1の回転速度が零となるまでの間、内燃機関Eの慣性トルクの大きさに応じた電力を第一回転電機MG1に回生(発電)させることが可能となる。
本実施形態では、回転低下トルク制御は、第一回転電機MG1の回転方向が対象回転方向K2と同じ方向になる前に停止される。本例では、対象回転方向K2は負方向であるため、回転低下トルク制御は、第一回転電機MG1の回転速度が負となる前、すなわち、第一回転電機MG1の回転速度が零以上の状態で停止される。
ところで、回転低下トルクは、回転低下トルク制御の実行時における内燃機関Eの回転速度の目標変化率、内燃機関Eの慣性モーメント、差動歯車装置DGのギヤ比λ等に応じて設定される構成とすることができる。具体的には、内燃機関Eの回転速度の目標変化率と内燃機関Eの慣性モーメントとの積に応じた大きさのトルクがキャリヤcaに作用するように、第一回転電機MG1が出力する回転低下トルクの大きさが設定される。回転低下トルクは、予め設定された固定値としても良く、また、ハイブリッド走行モードの実行中の動作状態に応じて回転低下トルクが可変に設定される構成とすることもできる。この際、例えば、ハイブリッド走行モードの実行中における内燃機関Eの回転速度が高くなるに従って、回転低下トルクが大きく設定される構成とすることもできる。
また、本実施形態では、回転電機制御部71は、少なくとも内燃機関停止条件が成立してから摩擦係合装置CLによる駆動連結が解除されるまでの間、変動抑制制御を実行するように構成されている。ここで、変動抑制制御とは、第一回転電機MG1の動作状態(回転速度や出力トルク等)の変化や摩擦係合装置CLの係合状態の変化により差動歯車装置DGを介して出力部材Oに伝達されるトルク変動を抑制する変動抑制トルクを、第二回転電機MG2に出力させる制御である。この変動抑制トルクは、後の「1−2−7.変動抑制トルク導出部の構成」の項で説明する変動抑制トルク導出部84により導出される。
1−2−6.連結解除指令部の構成
連結解除指令部83は、第一回転電機MG1の回転速度が連結解除回転速度範囲A内の回転速度となったことを条件に、摩擦係合装置CLによる駆動連結の解除を指令する機能部である。本実施形態では、摩擦係合装置CLの2つの係合部材の間の係合が解除されることで、当該摩擦係合装置CLによる駆動連結が解除される。よって、本実施形態では、連結解除指令部83は、第一回転電機MG1の回転速度が連結解除回転速度範囲A内の回転速度となったことを条件に、摩擦係合装置CLの係合解除を指令する。
ここで、連結解除回転速度範囲Aは、零を含むように設定される回転速度の範囲である。この連結解除回転速度範囲Aは、例えば、第一回転電機MG1の制御応答性等を考慮して設定される。連結解除回転速度範囲Aの大きさは、例えば、50rpm以上500rpm以下の中から選択された値とされる。そして、本実施形態では、連結解除回転速度範囲Aは、図3に示すように、回転速度が正となる回転速度範囲を含むように設定され、連結解除指令部83は、第一回転電機MG1の回転速度が、連結解除回転速度範囲Aに含まれる零以上の回転速度(連結解除回転速度Ni)となったことを条件に、摩擦係合装置CLの係合解除を指令する。これにより、本実施形態では、連結解除指令部83による係合解除指令は、第一回転電機MG1の回転方向が対象回転方向K2と同じ方向になる前に実行される。
なお、図3に示す例では、連結解除回転速度範囲Aが、回転速度が負となる回転速度範囲も含むように設定されているが、連結解除回転速度範囲Aが、零に加えて回転速度が正となる回転速度範囲のみを含むように設定される構成とすることもできる。また、連結解除回転速度範囲Aが、零に加えて回転速度が正となる回転速度範囲と回転速度が負となる回転速度範囲との双方を含むように設定される場合に、図3に示す例のように正と負とで均等に回転速度域が設定される構成とすることも、正と負とで不均等に回転速度域が設定される構成とすることもできる。
図3において細跳び破線(細点線)で示す状態(「(2)」で示す状態)は、第一回転電機MG1の回転速度が連結解除回転速度Niとなった状態を表わしている。なお、本例では、連結解除回転速度Niは零より大きな回転速度となっている。この状態で、連結解除指令部83により摩擦係合装置CLの係合解除が指令される。本実施形態では、更に、第一回転電機MG1の回転速度が連結解除回転速度Niとなったことを条件に、回転低下トルク制御が停止される。すなわち、本実施形態では、回転低下トルク制御が停止される第一回転電機MG1の回転速度が、連結解除指令部83により摩擦係合装置CLの係合解除が指令される第一回転電機MG1の回転速度と等しくなる。
摩擦係合装置制御ユニット6は、連結解除指令部83により摩擦係合装置CLの係合解除が指令されると、摩擦係合装置CLの伝達トルク容量を、現在の値(例えば、摩擦係合装置CLを定常的な直結係合状態とするための値)から零まで、所定(例えば一定)の変化率で低下させる制御を行う。これにより、摩擦係合装置CLが解放状態となる。
摩擦係合装置CLが解放状態となると、内燃機関Eの回転速度は、内燃機関Eの慣性モーメントや、内燃機関Eを構成する摺動部品や軸受等に起因する摩擦抵抗等に応じた変化率で零に向かって変化し、所定時間の経過後、内燃機関Eの回転速度は零となる。また、本実施形態では、第一回転電機MG1は、回転低下トルク制御が停止された後、当該第一回転電機MG1の回転速度が零となるように制御(例えば、回転速度フィードバック制御)され、所定時間の経過後、第一回転電機MG1の回転速度は零となる。
図3において太破線で示す状態(「(3)」で示す状態)は、摩擦係合装置CLの解放状態で内燃機関Eの回転速度及び第一回転電機MG1の回転速度が共に零とされ、車両が電動走行モードにより走行している際の動作状態を表している。電動走行モードでは、摩擦係合装置CLが解放状態となるため、差動歯車装置DGの解除対象回転要素enは、内燃機関Eから独立して自由に回転できる状態となる。本実施形態では、解除対象回転要素enはキャリヤcaであり、キャリヤcaは、車速(出力部材Oの回転速度)と第一回転電機MG1の回転速度とに基づいて定まる回転速度で回転する。
1−2−7.変動抑制トルク導出部の構成
変動抑制トルク導出部84は、変動抑制制御の実行時に第二回転電機MG2に出力させる変動抑制トルクを導出する機能部である。上記のように、この変動抑制制御は、少なくとも内燃機関停止条件が成立してから摩擦係合装置CLによる駆動連結が解除されるまでの間、実行されるように構成されている。
摩擦係合装置CLがスリップ係合状態や直結係合状態にある場合には、第一回転電機MG1の動作状態(回転速度や出力トルク等)の変化により、差動歯車装置DGを介して出力部材Oにトルク変動が伝達される。また、摩擦係合装置CLの係合状態が変化することでも、差動歯車装置DGを介して出力部材Oにトルク変動が伝達される。変動抑制トルクは、このようなトルク変動を抑制するためのトルクであり、その方向は、当該トルク変動を打ち消す方向とされ、その大きさは、当該トルク変動の大きさに基づき設定される。そして、回転電機制御部71は、第二回転電機MG2の目標トルクを、車両要求トルクに応じて定まる第二回転電機要求トルク(第二回転電機MG2に対して要求されるトルク)に変動抑制トルクを加算したトルクに設定して、第二回転電機MG2の動作制御を行う。
1−3.内燃機関停止制御の内容
本実施形態に係る内燃機関停止制御の内容について、図4を参照して説明する。図4は、ハイブリッド走行モードでの走行中に、内燃機関停止制御を実行して電動走行モードへ移行する際のタイムチャートの一例を示す図である。より具体的には、図4は、ブレーキペダル91が踏み込まれたことにより、内燃機関を停止させ、回生モードへ移行する際のタイムチャートの一例を示している。ここで、「回生モード」は、電動走行モードに含まれるモードであり、第二回転電機MG2に発電方向のトルク(回生トルク)を出力させる走行モードである。また、「内燃機関停止制御」とは、内燃機関停止条件が成立した際に、制御装置70の各部で実行される電動走行モードへ移行するための各種制御の総称である。なお、図4では、時刻T0において内燃機関停止条件が成立し、時刻T3において電動走行モードへの移行が完了する場合を想定している。
時刻T0までは、摩擦係合装置CLの伝達トルク容量が、摩擦係合装置CLを定常的な直結係合状態とするための値とされているとともに、内燃機関Eが動作中であり、内燃機関Eの出力トルクがサンギヤsとリングギヤrとに分配される状態となっている。また、第一回転電機MG1は、負方向のトルクを出力することで内燃機関Eのトルクの反力受けとして機能しており、本例では、正回転して発電している。第二回転電機MG2は、正方向のトルクを出力することで出力部材Oに伝達されるトルクを補助している。
ブレーキペダル91が踏み込まれたことにより、時刻T0で内燃機関停止条件が成立すると、内燃機関制御ユニット3に対する内燃機関Eの停止指令が実行されるとともに、回転方向判定部81が回転方向判定を実行する。本例では、上記のように、時刻T0までは第一回転電機MG1が正回転しているため、回転方向判定により、停止条件成立時回転方向K1が対象回転方向K2に対して逆方向であると判定される。よって、本例では、回転低下トルク制御部82による回転低下トルク制御が実行される。また、時刻T0以降、第二回転電機MG2は、発電方向(本例では負方向)の回生トルクを出力するように制御される。なお、本例では、少なくとも内燃機関停止条件が成立してから摩擦係合装置CLによる駆動連結が解除されるまでの間、変動抑制制御が実行されるように構成されている。そのため、摩擦係合装置CLが解放状態となるまでの間に第二回転電機MG2が出力する回生トルクは、変動抑制トルクが上乗せされたものとなっている。
図4に示す例では、時刻T0から所定時間が経過した後の時刻T1において、回転低下トルク制御の実行が開始される。本例では、回転低下トルク制御の実行時に第一回転電機MG1が出力する回転低下トルクは負方向のトルクであるため、回転低下トルク制御の実行により、第一回転電機MG1の回転速度が低下するとともに、内燃機関Eの回転速度が低下する。
そして、回転低下トルク制御の実行開始時点(時刻T1)から所定時間が経過し、第一回転電機MG1の回転速度が、連結解除回転速度範囲A内の回転速度である連結解除回転速度Niとなると(時刻T2)、回転低下トルク制御が停止されるとともに、連結解除指令部83により摩擦係合装置CLの係合解除が指令される。摩擦係合装置制御ユニット6は、摩擦係合装置CLの係合解除が指令されると、摩擦係合装置CLの伝達トルク容量を、現在の値(摩擦係合装置CLを定常的な直結係合状態とするための値)から零まで、一定の変化率で低下させる制御を行う。図4に示すように、第二回転電機MG2が出力する回生トルクは、摩擦係合装置CLの伝達トルク容量とともに変化する変動抑制トルクに合わせて、変化する。また、回転低下トルク制御が停止されると、第一回転電機MG1は、その回転速度が零となるように回転速度フィードバック制御され、時刻T3において、第一回転電機MG1の回転速度が零となる。本例では、同じく時刻T3において、内燃機関Eの回転速度も零となる。
1−4.内燃機関停止制御の処理手順
次に、本実施形態に係る内燃機関停止制御の処理手順について、図5のフローチャートを参照して説明する。以下に説明する各処理手順は、制御装置70の各機能部により実行される。各機能部がプログラムにより構成される場合には、制御装置70が備える演算処理装置が、上記の各機能部を構成するプログラムを実行するコンピュータとして動作する。
ハイブリッド走行モードでの走行中に(ステップ#01:Yes)内燃機関停止条件が成立すると(ステップ#02:Yes)、内燃機関制御ユニット3に対する内燃機関Eの停止指令が実行されるとともに(ステップ#03)、回転方向判定部81により、停止条件成立時回転方向K1が、対象回転方向K2に対して逆方向であるか否かの判定(回転方向判定)が実行される(ステップ#04)。なお、ステップ#03とステップ#04とは同時に並行して実行する構成とすることができ、また、いずれか一方の実行後に他方を実行する構成とすることもできる。
ステップ#04の判定により、停止条件成立時回転方向K1が対象回転方向K2に対して逆方向であると判定されると(ステップ#04:Yes)、回転低下トルク制御部82による回転低下トルク制御が開始される(ステップ#05)。第一回転電機MG1の回転速度が、連結解除回転速度範囲A内に設定された連結解除回転速度Niに到達するまでの間(ステップ#06:No)、回転低下トルク制御の実行が継続する。なお、対象とする回転速度(例えば第一回転電機MG1の回転速度)が目標値(目標回転速度)に「到達」するとは、当該対象とする回転速度と目標値との間の回転速度差が、目標到達判定閾値未満となった状態を意味する。ここで、目標到達判定閾値は、例えば、10rpm以上100rpm以下の値に設定される。
そして、第一回転電機MG1の回転速度が連結解除回転速度Niに到達すると(ステップ#06:Yes)、回転低下トルク制御が終了(停止)されるとともに(ステップ#07)、連結解除指令部83による摩擦係合装置CLの連結解除指令(本例では係合解除指令)が実行される(ステップ#08)。なお、ステップ#07とステップ#08とは同時に並行して実行する構成とすることができ、また、いずれか一方の実行後に他方を実行する構成とすることもできる。
また、ステップ#04の判定により、停止条件成立時回転方向K1が対象回転方向K2に対して逆方向ではない(すなわち同方向である)と判定されると(ステップ#04:No)、処理はステップ#08に進み、連結解除指令部83による摩擦係合装置CLの係合解除指令が実行される。その後、本実施形態では、第一回転電機MG1が、その回転速度が零となるように制御(例えば回転速度フィードバック制御)される。
2.第二の実施形態
次に、本発明に係る車両用駆動装置の第二の実施形態について、図6及び図7を参照して説明する。図6に示すように、本実施形態に係る車両用駆動装置1は、摩擦係合装置CLの配設位置を除いて、基本的に上記第一の実施形態と同様に構成されている。以下では、本実施形態に係る車両用駆動装置1の構成について、上記第一の実施形態との相違点を中心に説明する。なお、特に説明しない点については、上記第一の実施形態と同様とする。
図6に示すように、本実施形態に係る車両用駆動装置1は、摩擦係合装置CLが、入力部材Iと差動歯車装置DGの回転要素(第二回転要素e2)との間ではなく、出力部材Oと差動歯車装置DGの回転要素(第三回転要素e3)との間の動力伝達経路上に設けられている。これにより、差動歯車装置DGは、出力部材Oと差動歯車装置DGの回転要素(第三回転要素e3)との駆動連結を解除可能に備えられている。
具体的には、摩擦係合装置CLの一方の係合部材である第一係合部材CLaには、カウンタドライブギヤ52が一体回転するように駆動連結されており、他方の係合部材である第二係合部材CLbには、第三回転要素連結部材43が一体回転するように駆動連結されている。よって、摩擦係合装置CLは、第二回転電機MG2と差動歯車装置DGの回転要素(第三回転要素e3)との間の動力伝達経路上にも位置し、摩擦係合装置CLを解放状態とすることで、出力部材Oに加えて第二回転電機MG2も、差動歯車装置DGの回転要素(第三回転要素e3)との駆動連結が解除される。
本実施形態では、解除対象回転要素enがリングギヤrとなるため、図6に示すように、解除対象回転要素センサSe4は、リングギヤrの回転速度を検出可能に配置されている。また、本実施形態では、入力部材Iは、第二回転要素連結部材42と一体回転するように駆動連結されており、キャリヤcaの回転速度は、内燃機関Eの回転速度に常に等しくなる。
図7は、本実施形態に係る車両用駆動装置1で実行される内燃機関停止制御の動作を説明するための速度線図である。図7では、図3と同様に、太実線がハイブリッド走行モードでの動作状態を表し、細跳び破線(細点線)が、第一回転電機MG1の回転速度が連結解除回転速度Niに到達した状態を表し、太破線が、電動走行モードでの動作状態を表している。なお、本実施形態では、摩擦係合装置CLは、リングギヤrと出力部材O及び第二回転電機MG2とを選択的に駆動連結するように設けられている。そのため、本例では、細跳び破線(細点線)で示す状態において摩擦係合装置CLの係合解除が指令された後は、摩擦係合装置CLが解放状態となることで自由に回転できる状態となったリングギヤrの回転速度が、第一回転電機MG1の回転速度の低下及び内燃機関Eの回転速度の低下に合わせて低下し、電動走行モードにおいては、リングギヤrの回転速度は基本的に零とされる。
3.第三の実施形態
次に、本発明に係る車両用駆動装置の第三の実施形態について、図8及び図9を参照して説明する。図8に示すように、本実施形態に係る車両用駆動装置1は、摩擦係合装置CLの配設位置を除いて、基本的に上記第一の実施形態と同様に構成されている。以下では、本実施形態に係る車両用駆動装置1の構成について、上記第一の実施形態との相違点を中心に説明する。なお、特に説明しない点については、上記第一の実施形態と同様とする。
図8に示すように、本実施形態に係る車両用駆動装置1は、摩擦係合装置CLが、入力部材Iと差動歯車装置DGの回転要素(第二回転要素e2)との間ではなく、第一回転電機MG1と差動歯車装置DGの回転要素(第一回転要素e1)との間の動力伝達経路上に設けられている。これにより、差動歯車装置DGは、第一回転電機MG1と差動歯車装置DGの回転要素(第一回転要素e1)との駆動連結を解除可能に備えられている。
具体的には、摩擦係合装置CLの一方の係合部材である第一係合部材CLaには、第一回転電機MG1の第一ロータ軸7が一体回転するように駆動連結され、摩擦係合装置CLの他方の係合部材である第二係合部材CLbには、第一回転要素連結部材41が一体回転するように駆動連結されている。本実施形態では、解除対象回転要素enがサンギヤsとなるため、図8に示すように、解除対象回転要素センサSe4は、サンギヤsの回転速度を検出可能に配置されている。また、本実施形態では、入力部材Iは、第二回転要素連結部材42と一体回転するように駆動連結されており、キャリヤcaの回転速度は、内燃機関Eの回転速度に常に等しくなる。
図9は、本実施形態に係る車両用駆動装置1で実行される内燃機関停止制御の動作を説明するための速度線図である。図9では、図3と同様に、太実線がハイブリッド走行モードでの動作状態を表し、細跳び破線(細点線)が、第一回転電機MG1の回転速度が連結解除回転速度Niに到達した状態を表し、太破線が、電動走行モードでの動作状態を表している。また、第一回転電機MG1を表す太破線の丸は、電動走行モードでの、第一回転電機MG1の回転速度を表している。なお、本実施形態では、摩擦係合装置CLは、サンギヤsと第一回転電機MG1とを選択的に駆動連結するように設けられている。そのため、本例では、細跳び破線(細点線)で示す状態において摩擦係合装置CLの係合解除が指令された後は、摩擦係合装置CLが解放状態となることで自由に回転できる状態となったサンギヤsの回転速度が、内燃機関Eの回転速度の低下に合わせて低下し、電動走行モードにおいては、サンギヤsは、車速(出力部材Oの回転速度)に基づいて定まる回転速度で回転する。
4.第四の実施形態
上記第一、第二、及び第三の実施形態では、差動歯車装置DGの他の回転要素を介することなく、第一回転要素e1に第一回転電機MG1が駆動連結され、第二回転要素e2に入力部材Iが駆動連結され、第三回転要素e3に第二回転電機MG2及び出力部材Oが駆動連結された構成を例として説明した。しかし、本発明の実施形態はこれに限定されるものではなく、図10に示すように、第一回転要素e1に入力部材Iが駆動連結され、第二回転要素e2に第二回転電機MG2及び出力部材Oが駆動連結され、第三回転要素e3に第一回転電機MG1が駆動連結された構成とすることもできる。
図10に示す例では、上記第一、第二、第三の実施形態と異なり、内燃機関Eと回転電機MG1,MG2との双方の出力トルクにより走行するハイブリッド走行モードでは、基本的に、内燃機関Eの出力トルクに対して増幅されたトルクが出力部材Oに伝達されるトルクコンバータモードとなる。そして、本実施形態では、上記第一の実施形態(図1)と同様、摩擦係合装置CLは、入力部材Iと差動歯車装置DGの回転要素(本例では、第一回転要素e1)との間の動力伝達経路上に設けられている。
図10は、本実施形態に係る車両用駆動装置1で実行される内燃機関停止制御の動作を説明するための速度線図である。なお、図中に示すλ1及びλ2は差動歯車装置DGのギヤ比を表し、これらの値は当該差動歯車装置DGを構成する差動歯車機構のギヤ比に基づき定まる。速度線図の表記方法は上述した各実施形態と同様であるためここでは詳細な説明は省略するが、本実施形態では、上記の各実施形態とは異なり、反力伝達要素Em、入力回転要素Ei、及び出力回転要素Eoの間の回転速度の順が、入力回転要素Eiが端となる順であるため、対象回転方向K2は、出力部材Oの回転方向と同方向となる。よって、本実施形態では、停止条件成立時回転方向K1が負方向である場合に、停止条件成立時回転方向K1が対象回転方向K2に対して逆方向であると判定される。
そして、本実施形態では、上記の各実施形態とは異なり、反力伝達要素Em、入力回転要素Ei、及び出力回転要素Eoの間の回転速度の順が、出力回転要素Eoが中間となる順であるため、回転低下トルクの方向は正方向となる。このような構成では、連結解除回転速度Niを、連結解除回転速度範囲Aに含まれる零以下(零又は負)の回転速度に設定すると好適である。図10の例では、連結解除回転速度Niが、連結解除回転速度範囲Aに含まれる負の回転速度に設定されている。なお、図10に示す例では、連結解除回転速度範囲Aが、回転速度が正となる回転速度範囲と回転速度が負となる回転速度範囲との双方を含むように設定されているが、連結解除回転速度範囲Aを、零に加えて回転速度が負となる回転速度範囲のみを含むように設定することもできる。
図示は省略するが、図10に示す構成において、摩擦係合装置CLを、入力部材Iと差動歯車装置DGの回転要素との間の動力伝達経路上ではなく、出力部材O及び第二回転電機MG2と差動歯車装置DGの回転要素(本例では、第二回転要素e2)との間の動力伝達経路上に設けた構成や、第一回転電機MG1と差動歯車装置DGの回転要素(本例では、第三回転要素e3)との間の動力伝達経路上に設けた構成とすることもできる。
5.その他の実施形態
最後に、本発明に係るその他の実施形態を説明する。なお、以下の各々の実施形態で開示される特徴は、その実施形態でのみ利用できるものではなく、矛盾が生じない限り、別の実施形態にも適用可能である。
(1)上記の各実施形態では、第二回転電機MG2が、出力部材Oが駆動連結された差動歯車装置DGの回転要素に、当該差動歯車装置DGの他の回転要素を介することなく駆動連結されている構成を例として説明した。しかし、本発明の実施形態はこれに限定されるものではなく、第二回転電機MG2が、出力部材Oが駆動連結された差動歯車装置DGの回転要素以外の回転要素に、当該差動歯車装置DGの他の回転要素を介することなく駆動連結されている構成とすることもできる。
このような構成として、例えば、図11に示すように、差動歯車装置DGの他の回転要素を介することなく、第一回転要素e1に第一回転電機MG1が駆動連結され、第二回転要素e2に入力部材I及び第二回転電機MG2が駆動連結され、第三回転要素e3に出力部材Oが駆動連結されている構成とすることができる。この構成では、摩擦係合装置CLは、入力部材Iと、当該入力部材Iが他の回転要素を介することなく駆動連結された差動歯車装置DGの回転要素(本例では第二回転要素e2)との間の動力伝達経路上に設けられるが、第二回転電機MG2と差動歯車装置DGの回転要素(本例では第二回転要素e2)との間の動力伝達経路上には、摩擦係合装置CLが位置しない構成とされる。
このように、第二回転電機MG2が、出力部材Oが駆動連結された差動歯車装置DGの回転要素以外の回転要素に、当該差動歯車装置DGの他の回転要素を介することなく駆動連結されている構成では、上記の各実施形態とは異なり、電動走行モードの実行時において、第一回転電機MG1は、トルクを出力して第二回転電機MG2のトルクの反力受けとして機能する。
また、図示は省略するが、第二回転電機MG2が、出力部材Oが駆動連結された差動歯車装置DGの回転要素以外の回転要素に、当該差動歯車装置DGの他の回転要素を介することなく駆動連結されている構成として、図10に示す構成において、第二回転要素e2ではなく第一回転要素e1に第二回転電機MG2が駆動連結された構成とすることもできる。この場合、摩擦係合装置CLは、入力部材Iと、当該入力部材Iが他の回転要素を介することなく駆動連結された差動歯車装置DGの回転要素(本例では第一回転要素e1)との間の動力伝達経路上に設けられるが、第二回転電機MG2と差動歯車装置DGの回転要素(本例では第一回転要素e1)との間の動力伝達経路上には、摩擦係合装置CLが位置しない構成とされる。
(2)上記の各実施形態では、内燃機関Eの出力トルクを利用して走行するハイブリッド走行モードの実行時に、基本的に、出力部材Oの回転速度が内燃機関Eの回転速度と同じく正方向とされる構成を例として説明した。しかし、本発明の実施形態はこれに限定されるものではなく、例えば、図12に示すように、内燃機関Eの出力トルクを利用して走行するハイブリッド走行モードの実行時に、基本的に、出力部材Oの回転速度が、内燃機関Eの回転速度とは異なり負方向とされる構成とすることもできる。
図12に示す構成では、差動歯車装置DGの他の回転要素を介することなく、第一回転要素e1に入力部材Iが駆動連結され、第二回転要素e2に第一回転電機MG1が駆動連結され、第三回転要素e3に第二回転電機MG2及び出力部材Oが駆動連結されている。また、摩擦係合装置CLが、入力部材Iと、当該入力部材Iが他の回転要素を介することなく駆動連結された差動歯車装置DGの回転要素(本例では第一回転要素e1)との間の動力伝達経路上に設けられている。
なお、図示は省略するが、図12に示す構成において、摩擦係合装置CLが、入力部材Iと差動歯車装置DGの回転要素との間の動力伝達経路上ではなく、第一回転電機MG1と差動歯車装置DGの回転要素(本例では、第二回転要素e2)との間の動力伝達経路上に設けられた構成や、出力部材O及び第二回転電機MG2と差動歯車装置DGの回転要素(本例では、第三回転要素e3)との間の動力伝達経路上に設けられた構成とすることもできる。
また、図12に示す構成において、第三回転要素e3ではなく第一回転要素e1に第二回転電機MG2が駆動連結された構成とすることもできる。この場合、摩擦係合装置CLは、入力部材Iと、当該入力部材Iが他の回転要素を介することなく駆動連結された差動歯車装置DGの回転要素(本例では第一回転要素e1)との間の動力伝達経路上に設けられるが、第二回転電機MG2と差動歯車装置DGの回転要素(本例では第一回転要素e1)との間の動力伝達経路上には、摩擦係合装置CLが位置しない構成とされる。
(3)上記の各実施形態では、差動歯車装置DGが3つの回転要素を有する構成を例として説明した。しかし、本発明の実施形態はこれに限定されるものではなく、差動歯車装置DGが4つ以上の回転要素を有する構成とすることもできる。例えば、図13〜図15に示すように、差動歯車装置DGが、回転速度の順に、第一回転要素e1、第二回転要素e2、第三回転要素e3、及び第四回転要素e4となる4つの回転要素を有する構成とすることができる。なお、図13〜図15中に示すλ1,λ2,λ3は差動歯車装置DGのギヤ比を表し、これらの値は当該差動歯車装置DGを構成する差動歯車機構のギヤ比に基づき定まる。
図13〜図15に示す例では、入力部材I、出力部材O、第一回転電機MG1、及び第二回転電機MG2が、それぞれ差動歯車装置DGの異なる回転要素に、当該差動歯車装置DGの他の回転要素を介することなく駆動連結されている。すなわち、図13〜図15に示す例では、上記の各実施形態とは異なり、第二回転電機MG2が、入力部材I、出力部材O、及び第一回転電機MG1が駆動連結された差動歯車装置DGの回転要素以外の回転要素に、当該差動歯車装置DGの他の回転要素を介することなく駆動連結されている。
具体的には、図13に示す例では、差動歯車装置DGの他の回転要素を介することなく、第一回転要素e1に入力部材Iが駆動連結され、第二回転要素e2に出力部材Oが駆動連結され、第三回転要素e3に第二回転電機MG2が駆動連結され、第四回転要素e4に第一回転電機MG1が駆動連結されている。また、図14に示す例では、差動歯車装置DGの他の回転要素を介することなく、第一回転要素e1に第一回転電機MG1が駆動連結され、第二回転要素e2に入力部材Iが駆動連結され、第三回転要素e3に出力部材Oが駆動連結され、第四回転要素e4に第二回転電機MG2が駆動連結されている。また、図15に示す例では、差動歯車装置DGの他の回転要素を介することなく、第一回転要素e1に入力部材Iが駆動連結され、第二回転要素e2に第一回転電機MG1が駆動連結され、第三回転要素e3に第二回転電機MG2が駆動連結され、第四回転要素e4に出力部材Oが駆動連結されている。
そして、図13〜図15に示す例では、摩擦係合装置CLは、入力部材Iと、当該入力部材Iが他の回転要素を介することなく駆動連結された差動歯車装置DGの回転要素との間の動力伝達経路上に設けられている。
なお、差動歯車装置DGが4つの回転要素を有する構成は図13〜図15に示す例に限られず、図13〜図15に示す構成において、2つの回転要素の順番が入れ替えられた構成とすることも可能である。例えば、図13に示す構成において、第二回転要素e2と第三回転要素e3とが入れ替えられた構成とすることができる。また、図14に示す構成において、第三回転要素e3と第四回転要素e4とが入れ替えられた構成とすることもできる。さらに、図14に示す構成において、第三回転要素e3と第四回転要素e4とが入れ替えられた後に、更に第二回転要素e2と第三回転要素e3とが入れ替えられた構成とすることもできる。
(4)上記の各実施形態では、回転低下トルク制御が停止される第一回転電機MG1の回転速度が、連結解除指令部83により摩擦係合装置CLの係合解除が指令される第一回転電機MG1の回転速度と等しくなる構成を例として説明した。しかし、本発明の実施形態はこれに限定されるものではなく、回転低下トルク制御が停止される第一回転電機MG1の回転速度が、連結解除指令部83により摩擦係合装置CLの係合解除が指令される第一回転電機MG1の回転速度とは異なる構成とすることも可能である。すなわち、回転低下トルク制御が、連結解除指令部83による摩擦係合装置CLの係合解除指令の前に停止される構成や、回転低下トルク制御が、連結解除指令部83による摩擦係合装置CLの係合解除指令の後に停止される構成とすることができる。この場合において、回転低下トルク制御が停止される第一回転電機MG1の回転速度を、連結解除回転速度範囲Aに含まれない回転速度に設定することも可能である。
(5)上記の各実施形態では、回転低下トルク制御が、第一回転電機MG1の回転方向が対象回転方向K2と同じ方向になる前に停止される構成を例として説明した。しかし、本発明の実施形態はこれに限定されるものではなく、回転低下トルク制御が、第一回転電機MG1の回転方向が対象回転方向K2と同じ方向になった後に停止される構成とすることも可能である。
(6)上記の各実施形態では、連結解除指令部83による係合解除指令が、第一回転電機MG1の回転方向が対象回転方向K2と同じ方向になる前に実行される構成を例として説明した。しかし、本発明の実施形態はこれに限定されるものではなく、回転方向が対象回転方向K2と同じ方向となる回転速度範囲を含むように連結解除回転速度範囲Aが設定され、連結解除指令部83による係合解除指令が、第一回転電機MG1の回転方向が対象回転方向K2と同じ方向となった後に実行される構成とすることも可能である。
(7)上記の各実施形態では、少なくとも内燃機関停止条件が成立してから摩擦係合装置CLによる駆動連結が解除されるまでの間、変動抑制制御が実行される構成を例として説明した。しかし、本発明の実施形態はこれに限定されるものではなく、内燃機関停止条件が成立してから摩擦係合装置CLによる駆動連結が解除されるまでの間における一部の期間或いは全ての期間において、変動抑制制御が実行されない構成とすることも可能である。また、変動抑制制御を、車両の走行中であって摩擦係合装置CLが係合状態(スリップ係合状態や直結係合状態)にある場合には、基本的に常時実行する構成とすることもできる。
(8)上記第一、第二、及び第三の実施形態では、差動歯車装置DGが、シングルピニオン型の遊星歯車機構PGにより構成されている場合を例として説明した。しかし、本発明の実施形態はこれに限定されるものではなく、差動歯車装置DGが、ダブルピニオン型の遊星歯車機構やラビニヨ型の遊星歯車機構により構成されていても良い。また、差動歯車装置DGの具体的構成を示さなかった各実施形態(上記第一、第二、及び第三の実施形態を除く実施形態)においても、差動歯車装置DGの構成としては任意の機構を採用することができる。例えば、4つ以上の回転要素を有する差動歯車装置DGは、2組以上の遊星歯車機構の一部の回転要素間を互いに連結した構成等を用いることができる。
(9)上記の各実施形態では、摩擦係合装置CLが、油圧により動作する摩擦係合装置とされた構成を例として説明した。しかし、本発明の実施形態はこれに限定されるものではなく、摩擦係合装置CLとして、電磁力に応じて係合圧が制御される電磁式の摩擦係合装置を採用することも可能である。また、上記の各実施形態では、本発明に係る係合装置が摩擦係合装置CLとされた構成を例として説明したが、本発明に係る係合装置を噛み合い式の係合装置(ドグクラッチ)とすることも可能である。
(10)上記の各実施形態では、制御装置70とは別に、内燃機関制御ユニット3、摩擦係合装置制御ユニット6、及びブレーキ装置制御ユニット8が備えられた構成を例として説明した。しかし、本発明の実施形態はこれに限定されるものではなく、これらの別途設けられた各種制御ユニットの少なくとも何れかが制御装置70に一体化された構成とすることも可能である。また、上記の実施形態で説明した機能部の割り当ては単なる一例であり、複数の機能部を組み合わせたり、1つの機能部をさらに区分けしたりすることも可能である。
(11)その他の構成に関しても、本明細書において開示された実施形態は全ての点で例示であって、本発明の実施形態はこれに限定されない。すなわち、本願の特許請求の範囲に記載された構成及びこれと均等な構成を備えている限り、特許請求の範囲に記載されていない構成の一部を適宜改変した構成も、当然に本発明の技術的範囲に属する。
本発明は、内燃機関に駆動連結される入力部材と、車輪に駆動連結される出力部材と、第一回転電機と、第二回転電機と、少なくとも3つの回転要素を有する差動歯車装置と、制御装置と、を備えた車両用駆動装置に好適に利用することができる。
A:連結解除回転速度範囲
CL:摩擦係合装置(係合装置)
DG:差動歯車装置
E:内燃機関
I:入力部材
K1:停止条件成立時回転方向
K2:対象回転方向
MG1:第一回転電機
MG2:第二回転電機
O:出力部材
W:車輪
e1:第一回転要素
e2:第二回転要素
e3:第三回転要素
1:車両用駆動装置
70:制御装置
81:回転方向判定部
82:回転低下トルク制御部
83:連結解除指令部

Claims (7)

  1. 内燃機関に駆動連結される入力部材と、車輪に駆動連結される出力部材と、第一回転電機と、第二回転電機と、少なくとも3つの回転要素を有する差動歯車装置と、制御装置と、を備えた車両用駆動装置であって、
    前記入力部材、前記出力部材、及び前記第一回転電機が、それぞれ前記差動歯車装置の異なる回転要素に、当該差動歯車装置の他の回転要素を介することなく駆動連結され、
    前記第二回転電機が、前記第一回転電機が駆動連結された回転要素以外の前記差動歯車装置の回転要素に、当該差動歯車装置の他の回転要素を介することなく駆動連結され、
    前記入力部材、前記出力部材、及び前記第一回転電機のいずれかと、前記差動歯車装置の回転要素との駆動連結を解除可能な係合装置を備え、
    前記制御装置は、前記係合装置による駆動連結が維持され、前記内燃機関が動作中であり、更に前記出力部材が回転している状態から前記内燃機関を停止する内燃機関停止条件が成立した際に、当該内燃機関停止条件が成立した際の前記第一回転電機の回転方向である停止条件成立時回転方向が、前記内燃機関の回転速度を零とする動作点での前記第一回転電機の回転方向である対象回転方向に対して逆方向であるか否かを判定する回転方向判定部と、
    前記停止条件成立時回転方向が前記対象回転方向に対して逆方向であると判定されたことを条件に、前記内燃機関の回転速度を低下させる方向の回転低下トルクを第一回転電機に出力させる回転低下トルク制御を実行する回転低下トルク制御部と、
    前記第一回転電機の回転速度が、零を含むように設定された連結解除回転速度範囲内の回転速度となったことを条件に、前記係合装置による駆動連結の解除を指令する連結解除指令部と、を備え
    前記制御装置は、前記停止条件成立時回転方向が前記対象回転方向に対して逆方向ではないと判定された場合には、前記回転低下トルク制御を実行せずに前記係合装置による駆動連結の解除を指令する車両用駆動装置。
  2. 前記連結解除指令部は、前記第一回転電機の回転方向が前記対象回転方向と同じ方向になる前に、前記係合装置による駆動連結の解除を指令する請求項1に記載の車両用駆動装置。
  3. 前記回転低下トルク制御部は、前記第一回転電機の回転方向が前記対象回転方向と同じ方向になる前に、前記回転低下トルク制御を停止する請求項1又は2に記載の車両用駆動装置。
  4. 前記制御装置は、前記第一回転電機の動作状態の変化又は前記係合装置の係合状態の変化により前記差動歯車装置を介して前記出力部材に伝達されるトルク変動を抑制する変動抑制トルクを、前記第二回転電機に出力させる変動抑制制御を実行する請求項1から3のいずれか一項に記載の車両用駆動装置。
  5. 前記第二回転電機が、前記出力部材が駆動連結された前記差動歯車装置の回転要素に、当該差動歯車装置の他の回転要素を介することなく駆動連結されている請求項1から4のいずれか一項に記載の車両用駆動装置。
  6. 前記差動歯車装置は、回転速度の順に第一回転要素、第二回転要素、及び第三回転要素となる3つの回転要素を有し、
    前記差動歯車装置の他の回転要素を介することなく、前記第一回転要素に前記第一回転電機が駆動連結され、前記第二回転要素に前記入力部材が駆動連結され、前記第三回転要素に前記第二回転電機及び前記出力部材が駆動連結され、
    前記係合装置は、前記入力部材と前記第二回転要素との間の動力伝達経路上に設けられている請求項1から5のいずれか一項に記載の車両用駆動装置。
  7. 前記第二回転電機が、前記第一回転電機が駆動連結された回転要素及び前記出力部材が駆動連結された回転要素以外の前記差動歯車装置の回転要素に、当該差動歯車装置の他の回転要素を介することなく駆動連結され、
    前記係合装置が、前記入力部材と、当該入力部材が他の回転要素を介することなく駆動連結された前記差動歯車装置の回転要素との間の動力伝達経路上に設けられている請求項1から4のいずれか一項に記載の車両用駆動装置。
JP2011094322A 2011-04-20 2011-04-20 車両用駆動装置 Expired - Fee Related JP5382467B2 (ja)

Priority Applications (2)

Application Number Priority Date Filing Date Title
JP2011094322A JP5382467B2 (ja) 2011-04-20 2011-04-20 車両用駆動装置
US13/448,829 US8591361B2 (en) 2011-04-20 2012-04-17 Vehicle drive device

Applications Claiming Priority (1)

Application Number Priority Date Filing Date Title
JP2011094322A JP5382467B2 (ja) 2011-04-20 2011-04-20 車両用駆動装置

Publications (2)

Publication Number Publication Date
JP2012224244A JP2012224244A (ja) 2012-11-15
JP5382467B2 true JP5382467B2 (ja) 2014-01-08

Family

ID=47021764

Family Applications (1)

Application Number Title Priority Date Filing Date
JP2011094322A Expired - Fee Related JP5382467B2 (ja) 2011-04-20 2011-04-20 車両用駆動装置

Country Status (2)

Country Link
US (1) US8591361B2 (ja)
JP (1) JP5382467B2 (ja)

Families Citing this family (34)

* Cited by examiner, † Cited by third party
Publication number Priority date Publication date Assignee Title
JP5382467B2 (ja) * 2011-04-20 2014-01-08 アイシン・エィ・ダブリュ株式会社 車両用駆動装置
US8938327B2 (en) 2012-05-04 2015-01-20 Ford Global Technologies, Llc Methods and systems for transitioning between driveline braking modes
US8924061B2 (en) * 2012-05-04 2014-12-30 Ford Global Technologies, Llc Methods and systems for launching a vehicle
US9501276B2 (en) 2012-12-31 2016-11-22 Intel Corporation Instructions and logic to vectorize conditional loops
JP6048154B2 (ja) * 2013-01-11 2016-12-21 トヨタ自動車株式会社 ハイブリッド車両の動力伝達装置及びハイブリッドシステム
CN105008175A (zh) * 2013-02-22 2015-10-28 丰田自动车株式会社 车辆用驱动装置
US9663094B2 (en) 2013-04-30 2017-05-30 Toyota Jidosha Kabushiki Kaisha Driving device for hybrid vehicle
US9108505B2 (en) * 2013-05-28 2015-08-18 Ford Global Technologies, Llc Powersplit powertrain for a hybrid electric vehicle
US9109674B2 (en) * 2013-10-14 2015-08-18 Fca Us Llc Enhanced electrically variable drive unit
DE102013017946B8 (de) * 2013-10-29 2015-07-30 Audi Ag Verfahren zum Betreiben einer Hybridantriebseinrichtung sowie entsprechende Hybridantriebseinrichtung
US9387756B1 (en) 2013-10-31 2016-07-12 Quanta Products LLC Vehicle hybrid drive arrangement
SE539030C2 (sv) 2014-03-20 2017-03-21 Scania Cv Ab Förfarande för att styra en hybriddrivlina, fordon med en sådan hybriddrivlina, datorprogram för att styra en sådan hybriddrivlina, samt en datorprogramprodukt innefattande programkod
SE540693C2 (sv) 2014-03-20 2018-10-09 Scania Cv Ab Förfarande för att styra en hybriddrivlina, fordon med en sådan hybriddrivlina, datorprogram för att styra en sådan hybriddrivlina, samt en datorprogramprodukt innefattande programkod
SE540692C2 (sv) 2014-03-20 2018-10-09 Scania Cv Ab Förfarande för att styra en hybriddrivlina, fordon med en sådan hybriddrivlina, datorprogram för att styra en sådan hybriddrivlina, samt en datorprogramprodukt innefattande programkod
SE539660C2 (sv) 2014-03-20 2017-10-24 Scania Cv Ab Förfarande för att starta en förbränningsmotor i en hybriddrivlina, fordon med en sådan hybriddrivlina, datorprogram föratt starta en förbränningsmotor, samt en datorprogramproduk t innefattande programkod
SE537896C2 (sv) * 2014-03-20 2015-11-17 Scania Cv Ab Förfarande för att starta en förbränningsmotor i en hybriddrivlina, fordon med en sådan hybriddrivlina, datorprogram föratt starta en förbränningsmotor, samt en datorprogramprodukt innefattande programkod
SE538187C2 (sv) 2014-03-20 2016-03-29 Scania Cv Ab Förfarande för att styra en hybriddrivlina, fordon med en sådan hybriddrivlina, datorprogram för att styra en sådan hybriddrivlina, samt en datorprogramprodukt innefattande programkod
SE538736C2 (sv) 2014-03-20 2016-11-08 Scania Cv Ab Förfarande för att styra en hybriddrivlina för att optimera det drivande momentet från en hos hybriddrivlinan anordnad förbränningsmotor
SE539028C2 (sv) 2014-03-20 2017-03-21 Scania Cv Ab Förfarande för ivägkörning av ett fordon med en hybriddrivlina, fordon med en sådan hybriddrivlina, datorprogram för attstyra ivägkörning av ett fordon, samt en datorprogramproduk t innefattande programkod
SE539032C2 (sv) 2014-03-20 2017-03-21 Scania Cv Ab Förfarande för att styra en hybriddrivlina, fordon med en sådan hybriddrivlina, datorprogram för att styra en sådan hybriddrivlina, samt en datorprogramprodukt innefattande programkod
SE538735C2 (sv) 2014-03-20 2016-11-08 Scania Cv Ab Förfarande för att styra en hybriddrivlina för att optimera bränsleförbrukningen
SE537897C2 (sv) 2014-03-20 2015-11-17 Scania Cv Ab Förfarande för ivägkörning av ett fordon med en hybriddrivlina, fordon med en sådan hybriddrivlina, datorprogram för attstyra ivägkörning av ett fordon, samt en datorprogramprodukt innefattande programkod
SE539661C2 (sv) 2014-03-20 2017-10-24 Scania Cv Ab Förfarande för att starta en förbränningsmotor hos en hybriddrivlina, fordon med en sådan förbränningsmotor, datorprogram för att starta en sådan förbränningsmotor, samt en datorprogramprodukt innefattande programkod
SE539662C2 (sv) 2014-03-20 2017-10-24 Scania Cv Ab Förfarande för att starta en förbränningsmotor i en hybriddrivlina, fordon med en sådan hybriddrivlina, datorprogram föratt starta en förbränningsmotor, samt en datorprogramproduk t innefattande programkod
SE539002C2 (sv) 2014-03-20 2017-03-14 Scania Cv Ab Förfarande för att styra en hybriddrivlina, fordon med en sådan hybriddrivlina, datorprogram för att styra en sådan hybriddrivlina, samt en datorprogramprodukt innefattande programkod
JP2015182662A (ja) * 2014-03-25 2015-10-22 トヨタ自動車株式会社 エンジン停止制御装置
JP6090222B2 (ja) * 2014-04-01 2017-03-08 トヨタ自動車株式会社 エンジン始動制御装置
KR101684542B1 (ko) * 2015-06-26 2016-12-08 현대자동차 주식회사 하이브리드 차량의 엔진 정지 제어 시스템 및 그 방법
JP6358207B2 (ja) * 2015-09-10 2018-07-18 トヨタ自動車株式会社 ハイブリッド車両
JP6607202B2 (ja) * 2017-01-10 2019-11-20 トヨタ自動車株式会社 駆動装置
JP6662359B2 (ja) * 2017-08-09 2020-03-11 トヨタ自動車株式会社 ハイブリッド車両の駆動力制御装置
US10941855B2 (en) * 2017-08-28 2021-03-09 Jatco Ltd Control device for vehicle and control method for vehicle
JP7230831B2 (ja) * 2020-01-16 2023-03-01 トヨタ自動車株式会社 ハイブリッド自動車
JP7478202B2 (ja) * 2022-09-16 2024-05-02 本田技研工業株式会社 車両の制御装置

Family Cites Families (15)

* Cited by examiner, † Cited by third party
Publication number Priority date Publication date Assignee Title
JP3921819B2 (ja) * 1998-06-19 2007-05-30 株式会社エクォス・リサーチ 駆動装置
JP3951562B2 (ja) * 2000-06-28 2007-08-01 アイシン・エィ・ダブリュ株式会社 ハイブリッド型車両
JP2002195137A (ja) * 2000-12-27 2002-07-10 Aisin Aw Co Ltd ハイブリッド型車両及びその制御方法
JP3815220B2 (ja) * 2000-12-27 2006-08-30 アイシン・エィ・ダブリュ株式会社 ハイブリッド型車両及びその制御方法
JP4147756B2 (ja) * 2001-08-10 2008-09-10 アイシン・エィ・ダブリュ株式会社 電動車両駆動制御装置、電動車両駆動制御方法及びプログラム
JP3843966B2 (ja) * 2003-06-05 2006-11-08 アイシン・エィ・ダブリュ株式会社 ハイブリッド型車両駆動制御装置、ハイブリッド型車両駆動制御方法及びそのプログラム
JP4596381B2 (ja) * 2004-02-02 2010-12-08 アイシン・エィ・ダブリュ株式会社 電動車両駆動制御装置及び電動車両駆動制御方法
JP4055746B2 (ja) * 2004-06-18 2008-03-05 アイシン・エィ・ダブリュ株式会社 電動車両駆動制御装置及び電動車両駆動制御方法
JP4998164B2 (ja) * 2007-09-14 2012-08-15 トヨタ自動車株式会社 車両用動力伝達装置の制御装置
JP5023991B2 (ja) * 2007-11-16 2012-09-12 トヨタ自動車株式会社 ハイブリッド車両の制御装置
JP5120644B2 (ja) * 2008-09-26 2013-01-16 アイシン・エィ・ダブリュ株式会社 ハイブリッド駆動装置
JP5435304B2 (ja) * 2011-03-25 2014-03-05 アイシン・エィ・ダブリュ株式会社 車両用駆動装置
JP5622050B2 (ja) * 2011-04-18 2014-11-12 アイシン・エィ・ダブリュ株式会社 車両用駆動装置
JP5382467B2 (ja) * 2011-04-20 2014-01-08 アイシン・エィ・ダブリュ株式会社 車両用駆動装置
JP5408506B2 (ja) * 2011-04-20 2014-02-05 アイシン・エィ・ダブリュ株式会社 車両用駆動装置

Also Published As

Publication number Publication date
US8591361B2 (en) 2013-11-26
US20120270698A1 (en) 2012-10-25
JP2012224244A (ja) 2012-11-15

Similar Documents

Publication Publication Date Title
JP5382467B2 (ja) 車両用駆動装置
JP5435305B2 (ja) 車両用駆動装置
JP5915744B2 (ja) ハイブリッド車両の制御装置
JP5435304B2 (ja) 車両用駆動装置
JP5408506B2 (ja) 車両用駆動装置
JP5884897B2 (ja) ハイブリッド車両の駆動制御装置
US20190276006A1 (en) Hybrid vehicle drive system
JP5874812B2 (ja) ハイブリッド車両の駆動制御装置
JP2008207656A (ja) ハイブリッド駆動装置
JP2005016547A (ja) ハイブリッド駆動装置の制御装置
US9682697B2 (en) Control system for hybrid vehicle
JP2008207657A (ja) ハイブリッド駆動装置
US10124795B2 (en) Driving force control system for hybrid vehicle
EP3919302B1 (en) Control system for hybrid vehicle
JP2013169852A (ja) 車両の制御装置
JP2010125900A (ja) ハイブリッド駆動装置
JP6070451B2 (ja) ハイブリッド車両の制御装置
JP5190701B2 (ja) ハイブリッド駆動装置
JP2010234830A (ja) ハイブリッド駆動装置
JP2009166643A (ja) 車両用動力伝達装置の制御装置
JP2012210833A (ja) 車両用駆動装置
JP4225247B2 (ja) 車両用駆動装置の制御装置
JP5083633B2 (ja) ハイブリッド駆動装置
JP5083631B2 (ja) ハイブリッド駆動装置
JP2012210834A (ja) 車両用駆動装置

Legal Events

Date Code Title Description
A621 Written request for application examination

Free format text: JAPANESE INTERMEDIATE CODE: A621

Effective date: 20130322

A131 Notification of reasons for refusal

Free format text: JAPANESE INTERMEDIATE CODE: A131

Effective date: 20130502

A521 Written amendment

Free format text: JAPANESE INTERMEDIATE CODE: A523

Effective date: 20130628

TRDD Decision of grant or rejection written
A01 Written decision to grant a patent or to grant a registration (utility model)

Free format text: JAPANESE INTERMEDIATE CODE: A01

Effective date: 20130905

A61 First payment of annual fees (during grant procedure)

Free format text: JAPANESE INTERMEDIATE CODE: A61

Effective date: 20130918

R150 Certificate of patent or registration of utility model

Ref document number: 5382467

Country of ref document: JP

Free format text: JAPANESE INTERMEDIATE CODE: R150

Free format text: JAPANESE INTERMEDIATE CODE: R150

LAPS Cancellation because of no payment of annual fees