JP5377141B2 - 超音波プローブ - Google Patents

超音波プローブ Download PDF

Info

Publication number
JP5377141B2
JP5377141B2 JP2009175266A JP2009175266A JP5377141B2 JP 5377141 B2 JP5377141 B2 JP 5377141B2 JP 2009175266 A JP2009175266 A JP 2009175266A JP 2009175266 A JP2009175266 A JP 2009175266A JP 5377141 B2 JP5377141 B2 JP 5377141B2
Authority
JP
Japan
Prior art keywords
intermediate layer
piezoelectric vibrator
ultrasonic probe
ultrasonic
plane
Prior art date
Legal status (The legal status is an assumption and is not a legal conclusion. Google has not performed a legal analysis and makes no representation as to the accuracy of the status listed.)
Active
Application number
JP2009175266A
Other languages
English (en)
Other versions
JP2011030062A (ja
Inventor
稔 青木
健太郎 都築
弘一 芝本
隆士 小川
Current Assignee (The listed assignees may be inaccurate. Google has not performed a legal analysis and makes no representation or warranty as to the accuracy of the list.)
Toshiba Corp
Canon Medical Systems Corp
Original Assignee
Toshiba Corp
Toshiba Medical Systems Corp
Toshiba Medical Systems Engineering Co Ltd
Priority date (The priority date is an assumption and is not a legal conclusion. Google has not performed a legal analysis and makes no representation as to the accuracy of the date listed.)
Filing date
Publication date
Application filed by Toshiba Corp, Toshiba Medical Systems Corp, Toshiba Medical Systems Engineering Co Ltd filed Critical Toshiba Corp
Priority to JP2009175266A priority Critical patent/JP5377141B2/ja
Publication of JP2011030062A publication Critical patent/JP2011030062A/ja
Application granted granted Critical
Publication of JP5377141B2 publication Critical patent/JP5377141B2/ja
Active legal-status Critical Current
Anticipated expiration legal-status Critical

Links

Images

Landscapes

  • Ultra Sonic Daignosis Equipment (AREA)
  • Transducers For Ultrasonic Waves (AREA)

Description

本発明は、超音波診断装置に用いる超音波プローブに係り、特に中間層を持つ構造の超音波プローブに関する。
超音波診断装置は、被検体内を超音波で走査し、被検体内からの反射波から生成した受信信号を基に当該被検体の内部状態を画像化することができる。このような超音波診断装置は、超音波プローブから超音波を被検体内に送信し、被検体内部の音響インピーダンスの不整合によって反射波が生じ、この反射波を同じ超音波プローブで受信することで受信信号を生成する。
超音波の送受信を行う超音波プローブは、圧電振動子を走査方向に複数個配置して構成される。圧電振動子が1方向に配置されているものを1次元アレイプローブ、2方向に配設されているものを2次元アレイプローブと呼ぶ。1次元アレイプローブでは、2次元的な情報を得て被検体内部の断層像を得るのに対して、2次元アレイプローブでは、3次元的な情報を得ることができることから、被検体内部の立体構造を得ることができる。
従来の一般的な超音波プローブは、超音波を発生する圧電振動子と、この圧電振動子から生体接触面側に向かって、圧電振動子と生体間の音響インピーダンスの不整合を緩和する音響整合層、超音波を収束する音響レンズがある。また、圧電振動子からプローブケーブル側には、圧電振動子に対して電気信号を送受信するための配線板であるFPC板(Flexible Printed Circuit)、超音波振動の余分な成分を減衰吸収する背面材で構成される。
また、圧電振動子とFPC板との間に中間層を有し、圧電振動子に厚み振動を発生させることにより超音波を送受信する超音波プローブがある。この圧電振動子の裏面側に中間層を設けた構造を採用することにより、特性を大幅に改善することができる。圧電振動素子の裏面に厚さが超音波の波長のほぼ四分の一あるいはその奇数倍で、しかも圧電振動子および背面材の固有インピーダンスより高い材料の中間層を設けることにより、超音波の出力パワーを背面材に吸収させることなく、能率よく生体などの低音響インピーダンスの音場あるいは音響負荷に放射させることが可能である(特許文献1参照)。
特開昭53−25390号公報(図2)
特許文献1に示す、圧電振動子の裏面に中間層を設けた構造においては、圧電振動子と中間層の音響インピーダンス差が大きいことにより、圧電振動子の裏面側に放射されるパワーを反射させ、効率良く超音波放射面側に送り出すことができるが、製造に際して、中間層の層厚や、圧電振動子との接着層厚に対して正確な層厚制御が要求される。すなわち、以下に示すような問題点がある。
第1の問題点は、中間層と圧電振動子との接合面の表面粗さが大きい場合、圧電振動子と中間層間に接着剤が溜まり、薄い接着層を形成しようとしても結果として厚い接着層が形成されることになってしまう。接着層厚のばらつきは音響特性にばらつきを生じる。そのため、中間層の圧電振動子側の平面の表面粗さを厳密に制御する必要がある。接着層の厚さが、超音波プローブの特性にどう影響するかについては後述する。
第2は、中間層とFPC板との接合面について考えた場合、中間層とFPC板と接着接合は機械的に接合されることに加えて、電気的に接合されることも要求される。
非導電性接着剤を使用する場合には、接着層は薄いほど確実な電気的接合を得ることができるが、その悪影響として、中間層―FPC板間の接着剤が少なくなり、接着力が低下する。中間層−FPC板間の接着力が不十分であると、素子分割工程でのダイシングでの切削負荷や、他の製造工程での機械的負荷により中間層とFPC板間の接着剤剥離、あるいは、超音波プローブ使用中の劣化、故障を引き起こす。これは、素子面積の小さい2次元アレイプローブ構造においては顕著に現れる問題である。したがってこの接合面の形成では特に接着強度が優先される。
導電性接着剤を使用する場合、確実な電気的接合と機械的強度は得られるが、層厚が厚くなると接着層が音響整合層として機能するため特性が劣化する。従って、第1の問題点に比べて厳格でないが、層厚は制御する必要がある。
そこで本発明は、上記問題点を解決するためになされたもので、信頼性の向上ならびに音響特性のばらつきを低減した超音波プローブを提供することを目的とする。
本発明の一態様によれば、厚み縦振動モードで振動して超音波を放射する圧電振動子と、この圧電振動子に一方の面が接合され他方の面がプリント配線基板に接合される、前記圧電振動子よりも大きい音響インピーダンスを有する中間層とを有する超音波プローブであって、前記中間層は、前記圧電振動子に接合される平面と前記プリント配線板に接合される平面とにそれぞれ表面凹凸形状を有し、前記圧電振動子に接合される平面の表面凹凸形状と前記プリント配線板に接合される平面の表面凹凸形状とは、相異なる形状であること特徴とする超音波プローブを提供する。
本発明によれば、信頼性ならびに音響特性を向上させた超音波プローブが得られる。
本発明の実施形態に係る超音波プローブの共通構造を示す図である。 本発明の実施形態に係る超音波プローブの電気的インピーダンス特性のシミュレーション結果を示す図である。 本発明の第1の実施形態に係る超音波プローブの構成例である。 平面の表面粗さ(中心線平均粗さ:Ra)と研磨剤の番数との関係を示す例である。 本発明の第2の実施形態に係る超音波プローブの構成例である。 本発明の第2の実施形態に係る超音波プローブのFPC側の中間層表面に施されるランダム形状の例を示す図である。
本発明の実施形態について図面を参照しながら詳細に説明する。図1は、本発明の一実施形態に係る超音波プローブの共通構造を示す図である。本実施形態は、特許文献1(特開昭53−25390)に記載の中間層を持つ超音波プローブ構造を採用し、さらに中間層に接続される圧電振動子および反対面に接続されるFPC板との接着層厚の制御を行い、音響特性が良好でしかも音響特性ばらつきを低減でき、しかも接着強度を向上させることで製造歩留まりの良い超音波プローブを実現する。
本発明の超音波プローブの構成は、下から余分な超音波振動成分を減衰吸収する背面材11、各超音波振動素子を接続して超音波信号を送受信するFPC板12、FPC板12の配線13、その上に、効率向上のための中間層14、超音波を送信し、生体内で反射した超音波を受信する圧電振動子15、圧電振動子15と生体間の音響インピーダンスを整合する音響整合層16で構成される。
本構成は2次元アレイプローブの例を示しており、その一部である2×3の超音波振動子を抜き出して示す。実際には、必要数の超音波振動素子が2次元状に繰り返し形成される。
このように圧電振動子15と、FPC板12との間に中間層14を設けた構造を採用することにより、音響特性を大幅に改善することができる。これは圧電振動子15と中間層14の音響インピーダンス差が大きいことにより、圧電振動子の裏面側に放射されるパワーを効率良く超音波放射面側に送り出すことができるからである。
中間層14の音響インピーダンスは圧電振動子15および背面材11の音響インピーダンスよりも高くする必要があり、しかも中間層14の厚さは、使用する超音波の波長のほぼ1/4、あるいはその奇数倍にする必要があることが知られている。(特許文献1参照)
この中間層14の材料としては、金、鉛、タングステン、水銀、サファイヤなどが挙げられる。中間層14の裏面側はFPC板12上の配線13と接合され、アレイプローブの超音波振動素子毎に超音波の送受信信号をやりとりすることができる。
また、圧電振動子15と中間層14、中間層14とFPC板12はエポキシ系接着剤などにより接合されることが一般的である。
図2(a)は、本発明の実施形態に係る超音波プローブの電気的インピーダンス特性のシミュレーション結果を示す。縦軸は、電気的インピーダンス、横軸は周波数を表わしている。図中に示す共振周波数fr、反共振周波数faは、電気的インピーダンスの位相特性(図示せず)で位相が0となる周波数であり、通常は、それぞれ電気インピーダンスが最小と最大となる周波数とほぼ重なることが知られている。図2(a)において、点線は圧電振動子と中間層の間に接着層がない場合の特性を示し、実線は圧電振動子と中間層の間に接着層がある場合の特性を示している。
シミュレーションに用いた構成は圧電振動子15、中間層14からなる1素子分とし、この1素子に対して、電気的インピーダンスを算出した。また、接着層の影響を求めるため、圧電振動子15と中間層14の間に接着層21を挿入したものと比較し、その影響を調べた。接着層21に使用する接着剤の種類としてエポキシ系接着剤を仮定した。
接着層21がない場合、共振周波数fr=2MHz、反共振周波数fa=3MHzであるが、接着層21を挿入すると、反共振周波数faが大きく低域側にシフトしていることが分かる。
圧電振動子の音響特性を示す指標は、電気機械結合係数kによって評価でき、以下の式によって近似的に表すことができる。
1/k=(a・fr/Δf)+b ・・・・・(1)
ここで、Δf=fa−fr a、bは材質、振動モードで変わる係数である。
従って、Δf、すなわち反共振周波数faと共振周波数frの差が小さくなると電気機械結合定数kは小さくなる。図2(a)では、このΔfを接着層無しの場合Aで示し、接着層有りの場合Bで示した。接着層有りのBの方が接着層無しのAよりも小さくなっている。接着層21が厚くなればなるほど電気機械結合係数kの低下を生じ、超音波エネルギーの変換効率の低下をもたらしてしまう。これは、圧電振動子15と中間層14の間の接着層が、音響整合層として機能してしまい、圧電振動子15の裏面側に放射されたエネルギーが超音波放射面側に効率良く送り出すことができなくなるためである。接着層は薄くするほど音響特性の向上は得られるが機械的強度が失われるため、トレードオフの関係がある。
このような、シミュレーション結果から、変換効率の低下が顕著にみられない範囲として圧電振動子15と中間層14間の接着層21の厚さは、中間層の厚さの約2%以下と薄くすることが望ましいことが分った。また、エポキシ系接着剤では、接着層厚が中間層の1%以上では機械的強度も十分得ることが可能である。従って、圧電振動子15と中間層14との接着には、中間層の約1%から約2%の接着層厚を用いて機械的強度も確保する。
さらに、同様なシミュレーション結果から中間層14とFPC板12間の接着層は、中間層厚の約3%以下の接着層の厚さとすることが望ましいことが判明した。従って、中間層11とFPC板12間の接着には、機械的強度を優先する必要性から中間層の厚さの約1%から約3%の厚さの接着層を用いて機械的強度を十分確保する。
<第1の実施形態>
図3は、本発明の第1の実施形態に係る超音波プローブの構成例である。図1と同様背面材11、FPC板12、FPC板上の配線13、中間層14、圧電振動子15、音響整合層16で構成される。中間層14の圧電振動子側の平面31とFPC板12側の平面32には、波線で示す表面粗さRa(中心線平均粗さ)の処置が施されている。
この第1の実施形態では、前述の第1および第2の問題点に関して、図2のシミュレーション結果を踏まえ、以下のような解決方法を採用する。
実施形態例として、圧電振動子15と中間層14との接着層厚に対しては特性を重視して中間層厚の1%とする。また、圧電振動子15とFPC板12との間の接着層の厚さに関しては中間層厚の3%とする
図3に示すように、中間層14の表面粗さの程度を制御することにより、アンカー効果により接着強度を上げると同時に必要以上の接着剤が付着することを防止できる。
この中間層14の表面粗さを精度よく制御して仕上げるためには、例えば、中間層14それぞれの表面に対して片面研磨を実施することによって所望の表面粗さに仕上げることができる。
図4は、平面の表面粗さ(中心線平均粗さ:Ra)と研磨剤の番数との関係を示す例である。この図を用いて所望の接着層の厚さを得るための表面粗さと、片面研磨に使用する研磨剤の番数との関係を説明する。
例えば、中間層を200μmであるとした場合、中間層の1%の接着層厚は2μmであり、また3%は6μmである。余分に付着する接着剤の量を無視して考えると、少なくともこの値の半分程度の表面粗さRa(中心線平均粗さ)を平面に形成すればよい。すなわち、この程度の表面粗さRaを形成するために必要な研磨剤の番数は、図4よりRa=1μmに対しては、#700、3μmに対しては#200の研磨剤を選べばよいことになる。この研磨剤の番数は、使用する超音波の波長、研磨剤の種類によって適宜変更する。
従って、圧電振動子側の表面31の粗さは、若干の余分な接着剤の量を加味することにより、マージンをとって例えば#800仕上げとする。一方、FPC側の表面32の粗さは、例えば#240仕上げとする。このマージンは、使用する接着剤の粘度や、導電性フィラーの大きさで適宜変更する。
中間層14と圧電振動子15、およびFPC板12との接着は、例えば、エポキシ系接着剤が用いられる。接着は加圧接着、高温硬化により実施される。中間層14と圧電振動子15の接着は、薄い接着層(中間層厚の約2%以下、Raでは1%以下)を形成することが重要であるため、高い加圧力(例えば、50N/cm程度)で接着することが望ましい。片面研磨によって例えば#800で仕上げされた表面粗さを持つ表面31は、接着剤を塗布した後、高い加圧力をかけながら高温硬化されることによって圧電振動子15との間に薄く均一な層厚の接着層が形成される。尚、接着層の厚さは表面粗さに対応する。
以上述べたように、薄い接着層を形成するためには、予め音響特性の劣化が見られない程度の表面粗さを形成することで余分な接着剤の付着を防止することができる。これにより第1の問題点が解決する。
一方、中間層14とFPC板12の接着は、この接着層の接着強度を高めることが主目的であることから、上述の中間層14と圧電振動子15の接着ほどの厳密な接着層厚の制限は必要ない。しかしながら、非導電性接着剤を使用した場合、接着層が厚いと、中間層11―FPC板64間の電気的導通が確保できないことになる。また、導電性接着剤を用いた場合でも接着層が厚いと、音響整合層として機能してしまうことにつながり、不要な振動を発生させる原因となる。従って、片面研磨された例えば#240で仕上げされた中間層の表面32に、接着剤を塗布した後、加圧、高温硬化させることによって、FPC板12との間に均一な層厚の接着層が形成される。これにより第2の問題点が解決される。
その後、従来の製造方法と同じプロセスに従い、音響整合層16を形成、その後背面材11形成、素子分割、音響レンズの形成を行なう。
以上のように構成された第1の実施形態によれば、圧電振動子15―中間層14間の接着層を薄く形成することができるので、ばらつきの少ない所望の音響特性を得ることができる。また同時に、中間層14―FPC板12間の接着力を高めることで、高い信頼性を持つ高品質な超音波プローブを製造することができる。なお、本実施形態においては、表面粗さを形成するために研磨剤を用いた片面研磨の方法を用いたが、最近の切削加工の進展より、切削など他の方法によって形成しても構わない。
<第2の実施形態>
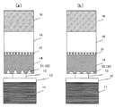
図5は、本発明の第2の実施形態に係る超音波プローブの構成例である。第1の実施形態に加えて、さらに裏面反射を軽減させる方法について説明する。基本となる超音波プローブの構造は図1と同じである。
中間層14の圧電振動子15側の表面31は、第1の実施形態と同じ表面粗さとするが、中間層14のFPC板12側の表面32には、凹状の幾何学的形状を作製し凹凸面とする。
図5では超音波振動素子の断面図を示しており、図5(a)では、鋸状の幾何学凹凸形状51、図5(b)は半円状の幾何学凹凸形状52を形成している。
この幾何学凹凸形状は、中間層14の表面を切削加工するか、マスクパターンによりエッチングを施すか、又は、予め鋳型を用意して形成することにより所望の形状を得ることができる。
この時、中間層14が非導電性材料で形成されている場合には、幾何学的凹凸形状を加工した後に、中間層14の周囲全面に対してメッキやスパッタ法により電極を作製し、導電性を持つようにする必要がある。
図5ではのこぎり状51(a)、半円状52(b)の幾何学凹凸形状を示しているが、これは2次元の断面図である。3次元形状で表すと、例えば、角柱、半円柱、半球、円錐、角錐、くさび形状など任意の形状が可能である。すなわち、これら凹部で形成される幾何学的形状が、中間層14の圧電振動子15側の表面31に対して新たな平行面とならないようにすることが重要である。
これにより、裏面反射を防止できる。当然のことながら超音波振動子内で繰り返して反射する多重反射も防止できる。
図6は、本発明の第2の実施形態に係る超音波プローブのFPC板12側の中間層14表面32に施されるランダム形状の例を示す図である。図6(a)においては半円柱と三角柱を一次元状に交互に配置して3次元形状61を形成している。また、図6(b)では、半球、円錐を2次元状に配置して3次元形状62を形成している。このように幾何学的形状は、様々な形状、寸法が混在しても良く、これらを1次元、2次元状に配置にする際も、ランダムな配置であるほうが望ましい。これは、この幾何学的形状で散乱された裏面反射が、散乱波同士で重なり合うことがないようにするためである。
幾何学凹凸形状の凹部の深さは、中間層14の厚さの約10%近くまで深く形成しても特性に余り影響がないことが、上述と同様のシミュレーションから判明した。このような幾何学的形状を中間層14のFPC板側の表面に配置した場合、この幾何学形状の中に接着剤が入り込むため、この面に対して前述のような表面を粗くすることは特別に必要とはしない。上述した3%の表面粗さより大きくできるから接着強度は十分とれるからである。
非導電性接着剤を用いた場合、中間層14とFPC板12の接触面積が小さくなるため中間層14とFPC板12間の電気的接触を確保することが難しくなる。FPC板12との接触点で薄い接着層になるように形成するには加圧条件等に注意が必要である。導電性接着剤を使用すればこの問題は解決できる。
なお、この圧電振動子の背面に中間層を設けた構造においては、圧電振動子の裏面側に放射されるパワーを反射させ、超音波放射面側に送り出すことができるが、中間層の層厚などに起因する音響インピーダンスの不整合により、完全には反射されず、その一部の振動は中間層内を伝わり、これが、FPC板側の表面で反射をする(裏面反射と呼ぶ)。この裏面反射した振動は音響放射面側に放射することになり、不要な振動となって所望の音響特性に悪影響を及ぼすことになる。このような裏面反射は診断時において、存在しない虚像として観測されてしまうおそれがある。
これについて、上記第2の実施形態によれば、FPC板12と接着される中間層14の平面に3次元的幾何学形状を予め作り込むことによって裏面反射の影響を取り除くことが可能である。
本発明による超音波プローブによれば、中間層の表面形状を接触面に応じて相異なる形状にすることで、各接着層が所望の厚さに形成できる。これにより特性ばらつきを低減し、信頼性の向上ならびに音響特性を向上させる効果を有する。すなわち、圧電振動子側との接着面については、音響特性を犠牲にしない程度の小さい表面粗さを形成することによって、必要以上の接着剤が付着されないようすることができ、その結果、薄い接着層が形成される。また、FPC板側の接着面については、さらに表面粗さを大きくして接着強度を上げることが可能である。さらには、この面に3次元幾何学凹凸形状を形成することにより、強固な接着強度と裏面反射防止が達成される。
また、本発明は上記実施形態そのままに限定されるものではなく、実施段階ではその要旨を逸脱しない範囲で構成要素を変形して具体化できる。上記実施形態に開示されている複数の構成要素の適宜な組み合わせにより、種々の発明を形成できる。例えば、実施形態に示される全構成要素から幾つかの構成要素を削除してもよい。さらに、異なる実施形態にわたる構成要素を適宜組み合わせても良い。本発明の技術思想を用いる限りこれらの変形例も本発明に含まれる。
11…背面材
12…FPC板、
13…配線、
14…中間層、
15…圧電振動子、
16…音響整合層、
21…接着層、
31…圧電振動子側平面、
32…FPC板側平面、
51、52、61,62…3次元幾何学凹凸形状。

Claims (5)

  1. 厚み縦振動モードで振動して超音波を放射する圧電振動子と、
    この圧電振動子に一方の面が接合され他方の面がプリント配線基板に接合される、前記圧電振動子よりも大きい音響インピーダンスを有する中間層とを有する超音波プローブであって、
    前記中間層は、前記圧電振動子に接合される平面と前記プリント配線板に接合される平面とにそれぞれ表面凹凸形状を有し、
    前記圧電振動子に接合される平面の表面凹凸形状と前記プリント配線板に接合される平面の表面凹凸形状とは、相異なる形状であること特徴とする超音波プローブ。
  2. 前記圧電振動子と接合される面の前記中間層の平面の表面粗さが、中間層の厚さの約1%以上約2%以下であることを特徴とする請求項1記載の超音波プローブ。
  3. 前記プリント配線板と接合される前記中間層の平面の表面粗さを、前記圧電振動子と接合される中間層の平面の表面粗さより大きくされてなることを特徴とする請求項1又は請求項2記載の超音波プローブ。
  4. 前記プリント配線板と接合される前記中間層の平面に、所望の3次元の幾何学凹凸形状を有する凹部を複数個形成されてなることを特徴とする請求項1又は請求項2記載の超音波プローブ。
  5. 前記凹部の形状は、半円柱、角柱、くさび型、半球型、円錐型および角錐型のいずれかの幾何学凹凸形状とし、前記プリント配線板と接合される前記中間層の平面に、この凹部形状の1つまたは複数の種類の凹部を1次元、又は、2次元状にランダムな間隔に配置して、3次元幾何学凹凸形状を形成されてなることを特徴とする請求項4記載の超音波プローブ。
JP2009175266A 2009-07-28 2009-07-28 超音波プローブ Active JP5377141B2 (ja)

Priority Applications (1)

Application Number Priority Date Filing Date Title
JP2009175266A JP5377141B2 (ja) 2009-07-28 2009-07-28 超音波プローブ

Applications Claiming Priority (1)

Application Number Priority Date Filing Date Title
JP2009175266A JP5377141B2 (ja) 2009-07-28 2009-07-28 超音波プローブ

Publications (2)

Publication Number Publication Date
JP2011030062A JP2011030062A (ja) 2011-02-10
JP5377141B2 true JP5377141B2 (ja) 2013-12-25

Family

ID=43638239

Family Applications (1)

Application Number Title Priority Date Filing Date
JP2009175266A Active JP5377141B2 (ja) 2009-07-28 2009-07-28 超音波プローブ

Country Status (1)

Country Link
JP (1) JP5377141B2 (ja)

Families Citing this family (5)

* Cited by examiner, † Cited by third party
Publication number Priority date Publication date Assignee Title
JP6840635B2 (ja) * 2017-07-03 2021-03-10 株式会社日立製作所 超音波プローブ及びその製造方法
JP7306042B2 (ja) * 2019-04-23 2023-07-11 コニカミノルタ株式会社 超音波探触子及び超音波診断装置
JP7275808B2 (ja) * 2019-04-23 2023-05-18 コニカミノルタ株式会社 超音波探触子及び超音波診断装置
JP7159127B2 (ja) * 2019-07-29 2022-10-24 日立Geニュークリア・エナジー株式会社 超音波探触子装置
JP7310761B2 (ja) * 2020-08-31 2023-07-19 Tdk株式会社 超音波デバイス

Family Cites Families (7)

* Cited by examiner, † Cited by third party
Publication number Priority date Publication date Assignee Title
JPS5325390A (en) * 1976-08-22 1978-03-09 Noritaka Nakahachi Ultrasonic transducer
JPS59178378A (ja) * 1983-03-29 1984-10-09 Toshiba Corp 超音波探触子
JPS6373942A (ja) * 1986-09-18 1988-04-04 富士通株式会社 超音波探触子
JPH04218765A (ja) * 1990-03-26 1992-08-10 Toshiba Corp 超音波プローブ
JP4087098B2 (ja) * 2001-11-14 2008-05-14 株式会社東芝 超音波検査装置
JP4520317B2 (ja) * 2005-01-25 2010-08-04 パナソニック株式会社 超音波探触子、超音波診断装置及び超音波探傷装置
JP2009061112A (ja) * 2007-09-06 2009-03-26 Ge Medical Systems Global Technology Co Llc 超音波探触子および超音波撮像装置

Also Published As

Publication number Publication date
JP2011030062A (ja) 2011-02-10

Similar Documents

Publication Publication Date Title
CN101431941B (zh) 超声波探头
JP7376008B2 (ja) 高周波超音波トランスデューサ
KR100966194B1 (ko) 초음파 탐촉자
CN107534815B (zh) 包括具有复合结构的匹配层的超声换能器及其制造方法
JP2002045357A (ja) 超音波診断装置
CN106456111B (zh) 具有具有集成中心匹配层的超声透镜的高频超声换能器
CN102727252B (zh) 超声波探头以及超声波探头的制造方法
JP5377141B2 (ja) 超音波プローブ
JP4703372B2 (ja) 超音波プローブ及び超音波診断装置
JP5691627B2 (ja) 超音波探触子及び超音波診断装置
JP2021087812A (ja) 超音波撮像装置並びに超音波トランスデューサおよびその製造方法
WO2021079906A1 (ja) 超音波探触子用音響レンズ、超音波探触子、超音波プローブおよび超音波診断装置
JP4528606B2 (ja) 超音波プローブ及び超音波診断装置
JP4941998B2 (ja) 超音波プローブの圧電振動子、超音波プローブ、超音波診断装置及び超音波プローブにおける圧電振動子の製造方法
JP7566767B2 (ja) 超音波探触子、超音波プローブおよび超音波診断装置
WO2017031679A1 (zh) 超声换能器
US9566612B2 (en) Ultrasonic probe
JP4764057B2 (ja) 超音波プローブ及びその製造方法
JP2009072349A (ja) 超音波トランスデューサ及びその製造方法、並びに、超音波探触子
JP2018183426A (ja) 超音波撮像装置並びに超音波トランスデューサおよびその製造方法
CN113643677B (zh) 一种多频超声换能器及具有其的超声成像系统、方法
JP2001197593A (ja) 超音波装置
JPH10117399A (ja) 超音波トランスジューサー及びその製造方法
JP3819315B2 (ja) 超音波振動子
JP3592448B2 (ja) 超音波プローブ

Legal Events

Date Code Title Description
A621 Written request for application examination

Free format text: JAPANESE INTERMEDIATE CODE: A621

Effective date: 20120620

A977 Report on retrieval

Free format text: JAPANESE INTERMEDIATE CODE: A971007

Effective date: 20130426

A131 Notification of reasons for refusal

Free format text: JAPANESE INTERMEDIATE CODE: A131

Effective date: 20130521

A521 Written amendment

Free format text: JAPANESE INTERMEDIATE CODE: A523

Effective date: 20130718

TRDD Decision of grant or rejection written
A01 Written decision to grant a patent or to grant a registration (utility model)

Free format text: JAPANESE INTERMEDIATE CODE: A01

Effective date: 20130827

A61 First payment of annual fees (during grant procedure)

Free format text: JAPANESE INTERMEDIATE CODE: A61

Effective date: 20130924

R150 Certificate of patent or registration of utility model

Ref document number: 5377141

Country of ref document: JP

Free format text: JAPANESE INTERMEDIATE CODE: R150

Free format text: JAPANESE INTERMEDIATE CODE: R150

S111 Request for change of ownership or part of ownership

Free format text: JAPANESE INTERMEDIATE CODE: R313117

Free format text: JAPANESE INTERMEDIATE CODE: R313115

R350 Written notification of registration of transfer

Free format text: JAPANESE INTERMEDIATE CODE: R350

S533 Written request for registration of change of name

Free format text: JAPANESE INTERMEDIATE CODE: R313533

R350 Written notification of registration of transfer

Free format text: JAPANESE INTERMEDIATE CODE: R350