JP5367544B2 - モールド真空バルブの試験方法 - Google Patents

モールド真空バルブの試験方法 Download PDF

Info

Publication number
JP5367544B2
JP5367544B2 JP2009266456A JP2009266456A JP5367544B2 JP 5367544 B2 JP5367544 B2 JP 5367544B2 JP 2009266456 A JP2009266456 A JP 2009266456A JP 2009266456 A JP2009266456 A JP 2009266456A JP 5367544 B2 JP5367544 B2 JP 5367544B2
Authority
JP
Japan
Prior art keywords
vacuum valve
test
contacts
open
test method
Prior art date
Legal status (The legal status is an assumption and is not a legal conclusion. Google has not performed a legal analysis and makes no representation as to the accuracy of the status listed.)
Expired - Fee Related
Application number
JP2009266456A
Other languages
English (en)
Other versions
JP2011113666A (ja
Inventor
美佳 松岡
千代美 川口
文雄 降矢
Current Assignee (The listed assignees may be inaccurate. Google has not performed a legal analysis and makes no representation or warranty as to the accuracy of the list.)
Toshiba Corp
Original Assignee
Toshiba Corp
Priority date (The priority date is an assumption and is not a legal conclusion. Google has not performed a legal analysis and makes no representation as to the accuracy of the date listed.)
Filing date
Publication date
Application filed by Toshiba Corp filed Critical Toshiba Corp
Priority to JP2009266456A priority Critical patent/JP5367544B2/ja
Publication of JP2011113666A publication Critical patent/JP2011113666A/ja
Application granted granted Critical
Publication of JP5367544B2 publication Critical patent/JP5367544B2/ja
Expired - Fee Related legal-status Critical Current
Anticipated expiration legal-status Critical

Links

Images

Landscapes

  • High-Tension Arc-Extinguishing Switches Without Spraying Means (AREA)

Description

本発明は、真空バルブの外周をエポキシ樹脂のような絶縁材料でモールドし、絶縁層を形成したモールド真空バルブの試験方法に関する。
従来、気中で用いられる真空バルブには、内部の真空中よりも外部の絶縁耐力が弱いため、真空絶縁容器の外周に絶縁材料をモールドして絶縁層を形成し、外部絶縁の補強が行われている。そして、絶縁層内部や真空絶縁容器との接着界面などの健全性を確認するため、モールド後において、部分放電試験などの電気試験が実施されている(例えば、特許文献1参照。)。
特開2005−41063号公報 (第3〜4ページ、図1)
上記の従来のモールド真空バルブにおいては、次のような問題がある。モールド真空バルブは、接点の閉路状態、接点の開路状態であって固定側が充電状態、および可動側が充電状態となる使用条件がある。このため、これらの三条件にて、それぞれ部分放電試験を実施しなければならず、試験回数が増え、作業時間が長時間となっていた。部分放電試験では、例えばクレーン作業の一旦停止などノイズ発生源の除去が必要であり、周囲機器の稼働に影響を与えるので、短時間での作業が望まれていた。
本発明は上記問題を解決するためになされたもので、部分放電試験の回数を減らし、作業時間を短時間とし得るモールド真空バルブの試験方法を提供することを目的とする。
上記目的を達成するために、本発明のモールド真空バルブの試験方法は、接離自在の一対の接点を有する真空バルブと、前記真空バルブの外周に絶縁材料をモールドして設けた絶縁層と、前記絶縁層の外周に設けた接地層とを備えたモールド真空バルブの試験方法であって、前記一対の接点間を所定ギャップとなる開路試験位置に開路し、その開路位置を可動側通電軸の移動を係止する開路保持部材で保持し、前記接地層を接地した後、前記それぞれの接点に同一位相の試験電圧を同時に印加して電気試験を行うことを特徴とする。
本発明によれば、モールド真空バルブを開路状態として固定側と可動側とに、同時に試験電圧を印加しているので、接点の閉路状態、接点の開路状態であって固定側が充電状態、および可動側が充電状態の三条件を、一回の部分放電試験により行うことができ、作業時間を短時間とすることができる。
本発明の実施例1に係るモールド真空バルブの試験方法を説明する断面図。 本発明の実施例2に係るモールド真空バルブの試験方法を説明する図。 本発明の実施例3に係るモールド真空バルブの試験方法を説明する図。
開路状態を保持して固定側と可動側とに同時に試験電圧を印加し、絶縁層内に加わる電界ストレスを実使用状態に近似させるものである。以下、図面を参照して本発明の実施例を説明する。
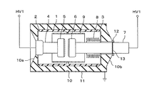
先ず、本発明の実施例1に係るモールド真空バルブを図1を参照して説明する。図1は、本発明の実施例1に係るモールド真空バルブの試験方法を説明する断面図である。
先ず、モールド真空バルブの構成を説明する。図1に示すように、筒状の真空絶縁容器1の両端開口部には、固定側封着金具2と可動側封着金具3が封着されている。固定側封着金具2には、固定側通電軸4が貫通固定され、端部に固定側接点5が固着されている。固定側接点5に対向して可動側接点6が、可動側封着金具3を移動自在に貫通する可動側通電軸7の端部に固着されている。
可動側通電軸7中間部と可動側封着金具3間には、伸縮自在のベローズ8の両端がそれぞれ封着され、これによって真空絶縁容器1内の真空を保って可動側通電軸7を軸方向に移動させることができるようになっている。接点5、6の周りには、真空絶縁容器1の内面中間部に固定されたアークシールド9が設けられている。
真空バルブの外周には、エポキシ樹脂のような絶縁材料をモールドして形成した絶縁層10が設けられている。絶縁層10の外周には、導電性塗料を塗布して形成した接地層11が設けられている。絶縁層10の軸方向両端には、他のモールド機器と接続するためのテーパ状の界面接続部10a、10bが形成され、軸心にそれぞれの通電軸4、7端部が露出している。
次に、試験方法について説明する。先ず、真空バルブは自閉力により、可動側通電軸7が閉路方向に移動するので、可動側の界面接続部10b端に可動側通電軸7の移動を係止する環状の開路保持部材12を設け、開路状態にする。可動側通電軸7の中間部に設けたねじ部13を界面接続部10b端まで引出し、開路保持部材12を締付ければ、接点5、6間を開路状態に保持することができる。ここで、ねじ部13は、接点5、6を実使用状態の所定ギャップに開路させたことを示す位置となるので、これを開路試験位置と称する。
次に、接地層11を接地し、固定側通電軸4と可動側通電軸7に同一の試験電圧HV1を印加する。試験電圧は当該モールド真空バルブの定格電圧以上とし、図示しない測定装置で部分放電特性を測定する。なお、耐電圧試験も同様に行うことができる。
これにより、開路状態であっても固定側と可動側には試験電圧を印加することができ、閉路状態に相当する部分放電試験を行うことができる。厳密に言うと、接点5、6近傍の電界ストレスが閉路状態と異なるが、接点5、6間のギャップ長が数mmであり、絶縁層10に加わる電界ストレスを大きく相違させるものではなく、実使用上、問題はない。
また、固定側と可動側では、開路状態における電界ストレスを絶縁層10にそれぞれ加えることができる。絶縁層10内の電界ストレスは、従来の例えば固定側を印加し、可動側を接地した電界ストレスとほぼ同様になる。
なお、接点5、6間に電界ストレスを加えることができないが、所定の絶縁耐力を有する真空バルブを用いることにより、極間の部分放電の検証を不要とすることができる。モールドに伴って真空不良などの欠陥が起きた場合には、上述の方法で充分に検証することができる。試験用変圧器は従来と同様であり、印加線を固定側と可動側に並列接続すればよく、追加設備などは不要である。
上記実施例1のモールド真空バルブによれば、接点5、6間を開路状態に保持し、固定側通電軸4と可動側通電軸7とに、同時に試験電圧HV1を印加して部分放電試験を行っているので、接点5、6を閉路状態にする条件、接点5、6を開路状態として固定側通電軸4に印加する条件、および可動側通電軸7に印加する条件の三条件を、一回の部分放電試験で行うことができ、作業時間を短時間とすることができる。
次に、本発明の実施例2に係るモールド真空バルブを図2を参照して説明する。図2は、本発明の実施例2に係るモールド真空バルブの試験方法を説明する図である。なお、この実施例2が実施例1と異なる点は、印加電圧の位相である。モールド真空バルブの構成は、実施例1と同様であるので、その説明を省略する。
図2に示すように、三相変圧器14を用い、第一相の試験電圧HV2を固定側、第一相より電圧位相が120度ずれた第二相の試験電圧HV3を可動側に、同時に印加するものである。第三相は、開放する。
上記実施例2のモールド真空バルブによれば、実施例1と同様の効果のほかに、異電源突合せの電源系統に用いられる真空バルブの極間の検証を行うことができる。
次に、本発明の実施例3に係るモールド真空バルブを図3を参照して説明する。図3は、本発明の実施例3に係るモールド真空バルブの試験方法を説明する図である。なお、この実施例3が実施例1と異なる点は、印加電圧の位相である。モールド真空バルブの構成は、実施例1と同様であるので、その説明を省略する。
図3に示すように、単相変圧器15を二台用い、互いの電圧位相を180度ずらし、一方の試験電圧HV4を固定側、他方の試験電圧HV5を可動側に、同時に印加するものである。
上記実施例3のモールド真空バルブによれば、実施例1と同様の効果のほかに、真空バルブの極間の検証をより厳しく行うことができる。
1 真空絶縁容器
2 固定側封着金具
3 可動側封着金具
4 固定側通電軸
5 固定側接点
6 可動側接点
7 可動側通電軸
8 ベローズ
9 アークシールド
10 絶縁層
10a、10b 界面接続部
11 接地層
12 開路保持部材
13 ねじ部
14 三相変圧器
15 単相変圧器

Claims (3)

  1. 接離自在の一対の接点を有する真空バルブと、
    前記真空バルブの外周に絶縁材料をモールドして設けた絶縁層と、
    前記絶縁層の外周に設けた接地層とを備えたモールド真空バルブの試験方法であって、
    前記一対の接点間を所定ギャップとなる開路試験位置に開路し、
    その開路位置を可動側通電軸の移動を係止する開路保持部材で保持し、
    前記接地層を接地した後、
    前記それぞれの接点に同一位相の試験電圧を同時に印加して電気試験を行うことを特徴とするモールド真空バルブの試験方法。
  2. 接離自在の一対の接点を有する真空バルブと、
    前記真空バルブの外周に絶縁材料をモールドして設けた絶縁層と、
    前記絶縁層の外周に設けた接地層とを備えたモールド真空バルブの試験方法であって、
    前記一対の接点間を所定ギャップとなる開路試験位置に開路し、
    その開路位置を可動側通電軸の移動を係止する開路保持部材で保持し、
    前記接地層を接地した後、
    前記それぞれの接点に位相が120度ずれている試験電圧を同時に印加して電気試験を行うことを特徴とするモールド真空バルブの試験方法。
  3. 接離自在の一対の接点を有する真空バルブと、
    前記真空バルブの外周に絶縁材料をモールドして設けた絶縁層と、
    前記絶縁層の外周に設けた接地層とを備えたモールド真空バルブの試験方法であって、
    前記一対の接点間を所定ギャップとなる開路試験位置に開路し、
    その開路位置を可動側通電軸の移動を係止する開路保持部材で保持し、
    前記接地層を接地した後、
    前記それぞれの接点に位相が180度ずれている試験電圧を同時に印加して電気試験を行うことを特徴とするモールド真空バルブの試験方法。
JP2009266456A 2009-11-24 2009-11-24 モールド真空バルブの試験方法 Expired - Fee Related JP5367544B2 (ja)

Priority Applications (1)

Application Number Priority Date Filing Date Title
JP2009266456A JP5367544B2 (ja) 2009-11-24 2009-11-24 モールド真空バルブの試験方法

Applications Claiming Priority (1)

Application Number Priority Date Filing Date Title
JP2009266456A JP5367544B2 (ja) 2009-11-24 2009-11-24 モールド真空バルブの試験方法

Publications (2)

Publication Number Publication Date
JP2011113666A JP2011113666A (ja) 2011-06-09
JP5367544B2 true JP5367544B2 (ja) 2013-12-11

Family

ID=44235877

Family Applications (1)

Application Number Title Priority Date Filing Date
JP2009266456A Expired - Fee Related JP5367544B2 (ja) 2009-11-24 2009-11-24 モールド真空バルブの試験方法

Country Status (1)

Country Link
JP (1) JP5367544B2 (ja)

Families Citing this family (1)

* Cited by examiner, † Cited by third party
Publication number Priority date Publication date Assignee Title
EP3561844A1 (en) * 2018-04-26 2019-10-30 ABB Schweiz AG A spacer for a vacuum interrupter

Family Cites Families (10)

* Cited by examiner, † Cited by third party
Publication number Priority date Publication date Assignee Title
JPS5490578A (en) * 1977-12-28 1979-07-18 Tokyo Shibaura Electric Co Vacuum valve
JPS62114Y2 (ja) * 1980-05-12 1987-01-06
JPS59169014A (ja) * 1983-03-16 1984-09-22 三菱電機株式会社 真空スイツチの製造方法
JPH0782080B2 (ja) * 1987-09-09 1995-09-06 株式会社日立製作所 遮断器の試験装置
JP2936946B2 (ja) * 1993-03-12 1999-08-23 三菱電機株式会社 絶縁試験装置
JPH10340655A (ja) * 1997-06-06 1998-12-22 Mitsubishi Electric Corp 真空バルブ
JPH11164429A (ja) * 1997-12-01 1999-06-18 Toshiba Corp 接地装置付き断路器
JP4159938B2 (ja) * 2003-07-25 2008-10-01 株式会社東芝 モールド電気機器およびそのモールド方法
JP4303147B2 (ja) * 2004-03-01 2009-07-29 株式会社東芝 固体絶縁スイッチギヤ
JP2009022115A (ja) * 2007-07-12 2009-01-29 Toshiba Corp 固体絶縁スイッチギヤおよびその試験方法

Also Published As

Publication number Publication date
JP2011113666A (ja) 2011-06-09

Similar Documents

Publication Publication Date Title
US7772515B2 (en) Vacuum switchgear assembly and system
KR20100054737A (ko) 진공 스위치 기어
JP4832352B2 (ja) 樹脂モールド真空バルブ
KR101581764B1 (ko) 개폐기의 내전압 검출장치
CN102237193B (zh) 气体绝缘仪表用电压互感器
JP5367544B2 (ja) モールド真空バルブの試験方法
EP3767763B1 (en) Gas-insulated switching device
JP3349275B2 (ja) ケーブルヘッド用エレファント部
JP2009022115A (ja) 固体絶縁スイッチギヤおよびその試験方法
CN103081050A (zh) 电隔离器
JP2009071907A (ja) 固体絶縁スイッチギヤおよびその絶縁試験方法
JP7242005B2 (ja) 絶縁成形体、固体絶縁母線、絶縁成形体の製造方法、及び固体絶縁母線の製造方法
JP2011038803A (ja) 注型品の試験装置およびその試験方法
KR101415135B1 (ko) 수직방향 분기접속부가 구비된 엘보접속재
JP2011055567A (ja) スイッチギヤ及びその製造方法
JPS5873970A (ja) 全体が固体で絶縁された電流導体の接続点
JP2007028699A (ja) 固体絶縁スイッチギヤ
JP3339705B2 (ja) ガス絶縁開閉器
KR101522271B1 (ko) 개폐기의 부분방전 시험장치
KR101463745B1 (ko) 활선 상태에서 지상 개폐기의 절연가스 교체방법
JP2010129260A (ja) ガス絶縁開閉装置用断路装置
JP2012038928A (ja) 避雷器
TWI485736B (zh) Vacuum switch and vacuum insulated switchgear
CN108233245A (zh) 高绝缘高压gis壳体
KR20120071419A (ko) 개폐기용 진공인터럽터 및 그의 제조 방법

Legal Events

Date Code Title Description
RD02 Notification of acceptance of power of attorney

Free format text: JAPANESE INTERMEDIATE CODE: A7422

Effective date: 20111125

RD04 Notification of resignation of power of attorney

Free format text: JAPANESE INTERMEDIATE CODE: A7424

Effective date: 20111205

A621 Written request for application examination

Free format text: JAPANESE INTERMEDIATE CODE: A621

Effective date: 20120808

A977 Report on retrieval

Free format text: JAPANESE INTERMEDIATE CODE: A971007

Effective date: 20130610

A131 Notification of reasons for refusal

Free format text: JAPANESE INTERMEDIATE CODE: A131

Effective date: 20130614

A521 Written amendment

Free format text: JAPANESE INTERMEDIATE CODE: A523

Effective date: 20130806

TRDD Decision of grant or rejection written
A01 Written decision to grant a patent or to grant a registration (utility model)

Free format text: JAPANESE INTERMEDIATE CODE: A01

Effective date: 20130820

A61 First payment of annual fees (during grant procedure)

Free format text: JAPANESE INTERMEDIATE CODE: A61

Effective date: 20130911

LAPS Cancellation because of no payment of annual fees