JP5367516B2 - 噴射装置および方法 - Google Patents

噴射装置および方法 Download PDF

Info

Publication number
JP5367516B2
JP5367516B2 JP2009213361A JP2009213361A JP5367516B2 JP 5367516 B2 JP5367516 B2 JP 5367516B2 JP 2009213361 A JP2009213361 A JP 2009213361A JP 2009213361 A JP2009213361 A JP 2009213361A JP 5367516 B2 JP5367516 B2 JP 5367516B2
Authority
JP
Japan
Prior art keywords
stopper
fluid
tubular body
injection
nozzle
Prior art date
Legal status (The legal status is an assumption and is not a legal conclusion. Google has not performed a legal analysis and makes no representation as to the accuracy of the status listed.)
Expired - Lifetime
Application number
JP2009213361A
Other languages
English (en)
Other versions
JP2010017567A (ja
Inventor
ヴェドリーヌ リオネル
バレッリ ローレント
Current Assignee (The listed assignees may be inaccurate. Google has not performed a legal analysis and makes no representation or warranty as to the accuracy of the list.)
Becton Dickinson and Co
Original Assignee
Becton Dickinson and Co
Priority date (The priority date is an assumption and is not a legal conclusion. Google has not performed a legal analysis and makes no representation as to the accuracy of the date listed.)
Filing date
Publication date
Application filed by Becton Dickinson and Co filed Critical Becton Dickinson and Co
Publication of JP2010017567A publication Critical patent/JP2010017567A/ja
Application granted granted Critical
Publication of JP5367516B2 publication Critical patent/JP5367516B2/ja
Anticipated expiration legal-status Critical
Expired - Lifetime legal-status Critical Current

Links

Images

Classifications

    • AHUMAN NECESSITIES
    • A61MEDICAL OR VETERINARY SCIENCE; HYGIENE
    • A61MDEVICES FOR INTRODUCING MEDIA INTO, OR ONTO, THE BODY; DEVICES FOR TRANSDUCING BODY MEDIA OR FOR TAKING MEDIA FROM THE BODY; DEVICES FOR PRODUCING OR ENDING SLEEP OR STUPOR
    • A61M15/00Inhalators
    • A61M15/0028Inhalators using prepacked dosages, one for each application, e.g. capsules to be perforated or broken-up
    • AHUMAN NECESSITIES
    • A61MEDICAL OR VETERINARY SCIENCE; HYGIENE
    • A61MDEVICES FOR INTRODUCING MEDIA INTO, OR ONTO, THE BODY; DEVICES FOR TRANSDUCING BODY MEDIA OR FOR TAKING MEDIA FROM THE BODY; DEVICES FOR PRODUCING OR ENDING SLEEP OR STUPOR
    • A61M11/00Sprayers or atomisers specially adapted for therapeutic purposes
    • A61M11/006Sprayers or atomisers specially adapted for therapeutic purposes operated by applying mechanical pressure to the liquid to be sprayed or atomised
    • A61M11/007Syringe-type or piston-type sprayers or atomisers
    • AHUMAN NECESSITIES
    • A61MEDICAL OR VETERINARY SCIENCE; HYGIENE
    • A61MDEVICES FOR INTRODUCING MEDIA INTO, OR ONTO, THE BODY; DEVICES FOR TRANSDUCING BODY MEDIA OR FOR TAKING MEDIA FROM THE BODY; DEVICES FOR PRODUCING OR ENDING SLEEP OR STUPOR
    • A61M11/00Sprayers or atomisers specially adapted for therapeutic purposes
    • A61M11/06Sprayers or atomisers specially adapted for therapeutic purposes of the injector type
    • AHUMAN NECESSITIES
    • A61MEDICAL OR VETERINARY SCIENCE; HYGIENE
    • A61MDEVICES FOR INTRODUCING MEDIA INTO, OR ONTO, THE BODY; DEVICES FOR TRANSDUCING BODY MEDIA OR FOR TAKING MEDIA FROM THE BODY; DEVICES FOR PRODUCING OR ENDING SLEEP OR STUPOR
    • A61M5/00Devices for bringing media into the body in a subcutaneous, intra-vascular or intramuscular way; Accessories therefor, e.g. filling or cleaning devices, arm-rests
    • A61M5/178Syringes
    • A61M5/28Syringe ampoules or carpules, i.e. ampoules or carpules provided with a needle
    • A61M5/284Syringe ampoules or carpules, i.e. ampoules or carpules provided with a needle comprising means for injection of two or more media, e.g. by mixing
    • BPERFORMING OPERATIONS; TRANSPORTING
    • B05SPRAYING OR ATOMISING IN GENERAL; APPLYING FLUENT MATERIALS TO SURFACES, IN GENERAL
    • B05BSPRAYING APPARATUS; ATOMISING APPARATUS; NOZZLES
    • B05B11/00Single-unit hand-held apparatus in which flow of contents is produced by the muscular force of the operator at the moment of use
    • B05B11/0005Components or details
    • B05B11/0078Arrangements for separately storing several components
    • B05B11/0081Arrangements for separately storing several components and for mixing the components in a common container as a mixture ready for use before discharging the latter
    • B05B11/0083Arrangements for separately storing several components and for mixing the components in a common container as a mixture ready for use before discharging the latter one of the components being in powder form
    • BPERFORMING OPERATIONS; TRANSPORTING
    • B05SPRAYING OR ATOMISING IN GENERAL; APPLYING FLUENT MATERIALS TO SURFACES, IN GENERAL
    • B05BSPRAYING APPARATUS; ATOMISING APPARATUS; NOZZLES
    • B05B11/00Single-unit hand-held apparatus in which flow of contents is produced by the muscular force of the operator at the moment of use
    • B05B11/01Single-unit hand-held apparatus in which flow of contents is produced by the muscular force of the operator at the moment of use characterised by the means producing the flow
    • B05B11/02Membranes or pistons acting on the contents inside the container, e.g. follower pistons
    • AHUMAN NECESSITIES
    • A61MEDICAL OR VETERINARY SCIENCE; HYGIENE
    • A61MDEVICES FOR INTRODUCING MEDIA INTO, OR ONTO, THE BODY; DEVICES FOR TRANSDUCING BODY MEDIA OR FOR TAKING MEDIA FROM THE BODY; DEVICES FOR PRODUCING OR ENDING SLEEP OR STUPOR
    • A61M15/00Inhalators
    • A61M15/08Inhaling devices inserted into the nose

Landscapes

  • Health & Medical Sciences (AREA)
  • Engineering & Computer Science (AREA)
  • Life Sciences & Earth Sciences (AREA)
  • Animal Behavior & Ethology (AREA)
  • Anesthesiology (AREA)
  • Biomedical Technology (AREA)
  • Heart & Thoracic Surgery (AREA)
  • Hematology (AREA)
  • Veterinary Medicine (AREA)
  • Public Health (AREA)
  • General Health & Medical Sciences (AREA)
  • Vascular Medicine (AREA)
  • Pulmonology (AREA)
  • Bioinformatics & Cheminformatics (AREA)
  • Mechanical Engineering (AREA)
  • Infusion, Injection, And Reservoir Apparatuses (AREA)
  • Medical Preparation Storing Or Oral Administration Devices (AREA)
  • Nozzles (AREA)

Description

本発明は、患者の口または耳を含む呼吸器官への、これに限られることなく、種々な適用または局部的な適用のために患者に薬物、薬品、ワクチンまたは他の物質の噴射を行うように使用できる噴射装置に関するものである。特に、本発明の噴射装置と適用の方法は、液体、粉末または凍結乾燥した形の、流体薬物、希釈液または溶剤または他の物質を混合し、混合物を記述するように患者に適用するために噴射するように利用できる。
種々な噴射装置が、長年に亘って使用されている本出願人および他の者によって開発されている。ここに用いられるように、用語“物質”または“薬品物質”は、患者に適用される時に、治療、緩和、中止、防止、病気の診断または処置、または患者の状態に基づいた、種々なワクチン、薬品、薬物または他の物質を広く覆うように意図されている。このような噴射装置は、噴射ヘッドおよびポンプを有する容器内に貯蔵される液体薬物に一般的に制限されており、あるいは容器が弾性ポリマーで造られて、容器を圧搾することによって噴射ヘッド介して液体が押し出される。従って、このような噴射装置は、比較的長い貯蔵寿命を有した液体薬物に制限されている。また、噴射器を有した注射器が、本出願の譲受人に譲渡された特許文献1に記載されるように本出願人によって開発されている。
また、後で使用するために封止されたガラス瓶や他の薬品容器内に薬品物質を貯蔵するのが一般的である。このような薬物は、貯蔵寿命を高めるように乾燥、凍結乾燥(フリーズ・ドライ)した、あるいは粉末の形にすることができる。このような乾燥、凍結乾燥した、または粉末にした薬物は、封止されたガラス瓶内に一般に貯蔵されて、希釈液または溶剤を加えることによって患者に実施するために液体に再組成される。また、使用の前に混合されると、特に効き目のある液体薬品物質があるが、混合物は比較的短い貯蔵寿命であり、液体薬品物質が混合の後は安定しない。薬品物質を貯蔵する一般の薬品用ガラス瓶は、弾性ストッパーで一般に封止され、アルミニウムのような薄い展延性金属のキャップが、ガラス瓶のリムの下で一般的にクリンプされてガラス瓶の口を閉鎖する。乾燥、凍結乾燥または粉末化された薬品物質は、希釈液または溶剤を含む注射器の針カニューレを有したエラストマーストッパーを穿孔することによって一般的に再組成される。また、液体薬物は、記述されるように第2液体物質を含む皮下注射器を用いて使用の前に混合される。従って、乾燥、凍結乾燥された、または粉末の物質または混合液体物質を再組成するこの方法は、アルミニウムキャップの除去を含む患者またはヘルスケアワーカーによる幾つかの工程の使用と操作とを必要としており、鋭い針カニューレを有する皮下注射器の使用は、重大なエラーと、汚染または損傷を受け易い。従って、好適には、適用時に液体と薬品物質とを混合して、鋭い針カニューレを有する注射器の必要性を排除した噴射装置を有することが、ヘルスケアワーカーまたは患者に所要され、かつ便宜である。
また、噴射の前に、注射器内で液体と薬品物質を混合するのが一般的である。このような注射器は、“2要素注射器組体”として一般的に呼称されており、本出願の譲受人に共に譲渡された、例えば、特許文献2および特許文献3に記載されるように、一端に針カニューレを有するガラスで一般的に造られた注射器胴部と、針カニューレと開口端部とから間隔を置いたバイパスと、バイパスから間隔を置いた注射器胴部内の一対の間隔を置いた弾性ストッパーとを有している。ストッパー間に形成された注射器胴部内の室は、一般に液体で満たされ、第2ストッパーと針カニューレの間の室は、液体、粉末または凍結乾燥した物質で満たされ、これによって、第1ストッパーの動きは第2ストッパーをバイパス領域に動かし、第1ストッパーの続いての動きはバイパスを通って液体を動かして、液体を第2の室内の物質と混合する。
米国特許第5,601,077号明細書 米国特許第4,599,082号明細書 米国特許第5,899,881号明細書
しかしながら、この技術は、噴射装置に使用するために適用も、または適合もされておらず、従来の噴射装置は、上述するような適用の時に、流体または粉末物質を混合するために適用されていない。従って、薬品物質が、好適には、患者への噴射の適用時に、またはその近くで、噴射装置内で混合できる噴射装置が必要である。
最も広範囲の適用において、本発明の噴射装置は、第1および第2開口端部を有する管状本体または胴部、第1および第2開口端部間のバイパス、管状本体と好適に同軸に整列した噴射ノズル口を有する第2開口端部の噴射ノズル、管状本体の第1開口端部とバイパスとの間に配置された第1および第2の間隔を置いたストッパー、液体、粉末または凍結乾燥した薬品物質を混合する第1および第2ストッパー間の流体、および第2ストッパーと噴射ノズルの間の薬品物質、を有している。従って、管状本体の第2開口端部に向かう第1ストッパーの動きは、第2ストッパーをバイパス領域に向かって動かして、流体を第2ストッパーと噴射ノズルの間に流れるようにして流体を薬品物質と混合するようになす。第1ストッパーの続いての移動は、第1ストッパーを第2ストッパーに対して駆動し、第1ストッパーの続いての移動は、流体と薬品物質の混合物を、噴射ノズルを通って駆動して、患者に適用するために適した液滴のミストを発生する。上に述べられるように、本発明の噴射装置は、これに限定されること無く、患者の呼吸器官への供給や、局部的適用および耳道への噴射の適用などを含む種々な適用に使用できる。ここに使用されるように、用語“呼吸器官”は、鼻および口頭通路、肺などを広く包含するものである。
本発明の噴射装置の推奨実施例は、第1および第2のストッパーの移動が、第3ストッパーを、流体と物質を混合して空気を、噴射口を通って押し出すための空間を設ける噴射ノズル内に動かすような具合に、第2ストッパーと管状本体の第2開口端部との間の管状胴部内に最初に配置された管状本体の内面または胴部と封止した関係にある外径を有する第3ストッパーを有している。噴射装置の最も好ましい実施例において、噴射ノズルは、管状胴部の内面とほぼ等しい内径を有したほぼ円形の内面をもっている本体部分を有している。本体部分の内面は、第3ストッパーが噴射ノズルの本体部分内に位置される時に、管状胴部と噴射ノズル口との間に流体連通を達成するほぼ長手方向に延びる内部通路を有している。本発明の噴射装置の第3ストッパーの推奨実施例は、本体部分の直径よりも小さな直径を有した長手方向に延びる軸方向突出部をさらに有しており、噴射ノズルは、第3ストッパーの長手方向突出部を受けるように形成された中央開口を有している。
1つの推奨実施例において、第3ストッパーの長手方向突出部は弾性であり、長手方向突出部を有する第3ストッパーの長手方向の全体長さは、噴射ノズルの本体部分の長手方向長さよりも長い。この実施例においては、第3ストッパーの本体部分全体が噴射ノズルの本体部分内に受けられて、ほぼ長手方向に延びる内部溝を介して管状胴部と噴射ノズルとの間に流体連通を達成するような具合に、噴射ノズル内の中央開口の内面に対して、第3ストッパーの長手方向突出部が弾性変形される。別の推奨実施例において、噴射ノズル内の中央開口の内面は、長手方向突出部の端部に封止係合する開口に隣接する環状リブを有し、長手方向突出部は縮径頸部をさらに有しており、長手方向突出部の軸方向変形が長手方向突出部の縮径頸部の環状リブを受けて、長手方向突出部の周りに流体連通を形成するようになっている。この実施例においては、第3ストッパーの長手方向の長さを、噴射ノズルの長手方向の長さよりも最初に長くしておく必要が無い。
本発明の噴射装置の別の実施例において、第3ストッパーの長手方向突出部は、本体部分から離されており、非弾性ポリマーで造ることができる。これら実施例において、第3ストッパーの離された端部は、噴射ノズルの中央開口内に最初に受けられ、第3ストッパーの本体部分は、管状胴部の第2開口端部に隣接した端部から最初に隔てられており、第1および第2ストッパーの動きが、第3ストッパーの本体部分を噴射ノズルの本体部分内に、端部に対して駆動して、上述したように、ほぼ長手方向に延びる内部通路を介して管状胴部と噴射ノズル口の間に流体連通を達成する。
代わりに、長手方向に延びる突出部を有する第3ストッパーの端部は、噴射ノズルの本体部分内に第3ストッパーの本体部分を受けて第3ストッパーの本体部分を介して流体連通を達成するようになす手段を有することがまたできる。1つの実施例において、第3ストッパーは、第3ストッパーの本体部分を部分的に通る開口と、開口を封止する隔壁とを有しており、離された端部が、軸方向に突出する穿孔要素または部材を有している。この実施例において、端部に向かう第3ストッパーの本体部分の動きは、穿孔要素を、隔壁を介して駆動して、第3ストッパーの本体部分を介した流体連通を達成する。別の実施例においては、第3ストッパーの本体部分は、貫通する中央通路と、通路内の球のような封止要素とを有しており、離された端部は、本体部分を通って軸方向通路内に受けられるように形成された軸方向突出駆動部を有しており、ノズルの本体部分内への第3ストッパーの本体部分の動きが、端部の駆動部をストッパーの本体部分内の軸方向通路を通って駆動して、通路内の封止要素を排除して、通路を介した流体連通を達成する。
本発明の噴射装置を用いて、患者に薬品物質の微細噴射を供給する方法が、上記の装置の説明からいま理解されるであろう。一般に、患者に薬品物質の微細噴霧を供給する方法は、第2ストッパーがバイパス領域に到達する迄、胴部の第1開口端部に隣接する管状胴部内の第1ストッパーを第2ストッパーに向かって駆動することを含んでいる。そこで、本発明の方法は、第1ストッパーを第2ストッパーに向かって駆動するように続けて、第1および第2ストッパーの間の流体を、バイパスを通って流すようにして、第1ストッパーが第2ストッパーと係合する迄、流体を薬品物質と混合する。終りに、本発明の方法は、第1および第2ストッパーを、管状胴部を介して駆動して、混合物を、噴射ノズルを通って流動するようになし、これによって、患者への適用のための混合物の微細噴霧を発生する。上述したように、本発明の方法は、これに限定されることなく、例えば耳道への噴射の適用を含む、鼻または口、局部的適用および他の適用を介した患者の呼吸器官への供給などを含む種々な適用における流体の微細噴霧を供給するように使用できる。
上述した噴射装置の推奨実施例を用いる患者への流体の微細噴射を供給する方法は、上述したように混合に続いて第3ストッパーに向かって管状胴部内の第1および第2ストッパーを駆動、すなわち移動することを含んでいる。そして、流体圧力が、噴射ノズル内の、第3ストッパー、あるいは、端部と本体部分が分離されている場合の、第3ストッパーの本体部分を駆動して、上述したように管状胴部と噴射ノズルの間に流体連通を達成する。上述するように、第3ストッパーの長手方向突出部が本体部分と一体的である場合に、本発明の方法は、そこで、第3ストッパーに向かっての第1および第2ストッパーの駆動を含んでいる。そして、流体圧力は、第3ストッパーの長手方向突出部を噴射ノズル内の中央開口内に駆動して、長手方向突出部を軸心方向に変形して、上述するように管状胴部と噴射ノズル口との間に流体連通を達成するようになる。
代わりに、第3ストッパーの端部が本体部分から分離されていて、端部の長手方向突出部が噴射ノズル内の中央開口内に最初に受けられ、本体部分が管状胴部内の端部から最初に離されている場合に、本発明の方法は、第1および第2ストッパーを第3ストッパーに向かって駆動して、端部と接触している噴射ノズルの本体部分内に第3ストッパーの本体部分を駆動して、管状胴部と噴射ノズルとの間に流体連通を達成する。1つの実施例においては、第3ストッパーの本体部分が穿孔隔壁を有しており、第3ストッパーの離れた端部が突出する穿孔要素または突出部を有しているので、本発明の方法は、第3ストッパーの本体部分を介した流体連通を達成するように、第3ストッパーの本体部分の隔壁を穿孔することを含んでいる。他の別の実施例においては、第3ストッパーの本体部分が、軸方向通路内の球のような封止部材を有する軸方向通路を備えており、第3ストッパーの離れた端部が、通路内に受けられるように形成された軸方向に突出する駆動部分を有しているので、本発明の方法は、本体部分の軸方向通路を通って軸方向に突出する駆動部分を駆動する、第3ストッパーの本体部分を、分離した端部に向かって駆動して、第3ストッパーの本体部分を介した流体連通を達成する。
本発明の噴射装置および方法は、従って、上述した患者への薬品物質の微細噴射を供給する従来の方法以上の幾つかの利点を有している。先ず、本発明の装置および方法は、上述するように、液体薬品物質、希釈液または溶剤、または供給ガスのような流体を有することができ、かつ第2物質が液体、粉末または凍結乾燥した薬品物質とすることができる2つの物質のための1つの容器だけを必要としている。本発明の噴射装置および方法の別の利点は、管状本体または胴部の対向する開口端部から物質を充填できることと、以下に検討されるように充填の際の交叉汚染の恐れを最小にすることである。
また、本発明の噴射装置および方法は、上述したような安全性の利点を有している。先ず、乾燥、粉末または凍結乾燥した薬品物質の再組成は、鋭い針カニューレを有する注射器または他の装置の使用を必要としていない。さらに、管状胴部内での流体と薬品物質の混合は、不完全な投薬の管理の良好な無菌の制御、減少された誤差および危険性に起因する薬品物質を再組成するガラス瓶および注射器方法に比較して、操作と工程の数を相当に減少する。理解されるように、管状本体または胴部は、再組成の前後に物質を見ることができるように、ガラスまたは透明なプラスチックで造ることができる。さらに、後述するように、本発明の噴射装置は、噴射ノズルを受けることができると共に不連続なリブを設けることによって排気できるキャップを用いるようにでき、キャップを取外さずに第3ストッパーの移動を許している。本発明の他の利点と価値ある特徴は、推奨実施例の以下の説明と、添付された請求の範囲および図面の以下の説明と、後に記載される簡略な説明から理解されるであろう。
作動の前の本発明の二室噴射装置の1つの実施例の側断面図である。 作動に続く、物質の混合の際の図1に示される噴射装置の側断面図である。 噴射順序の完了近くの図1と図2に示される噴射装置の側断面図である。 作動の前の本発明の噴射装置の推奨される別の実施例の側断面図である。 作動と物質の混合中の図4に示される噴射装置の側断面図である。 物質の混合に続く図4と図5の噴射装置の側断面部分図である。 噴射中の図4乃至図6の噴射装置の側断面部分図である。 噴射の完了に続く図7と同様な噴射装置の側断面部分図である。 図4乃至図8に示される噴射装置の部材の分解した斜視図である。 図4乃至図9に示される噴射装置の噴射ノズルの断面した斜視図である。 図4、図5、図9に示される噴射装置の端キャップの1つの実施例の断面した斜視図である。 作動中の本発明の噴射装置の別の実施例の側断面部分図である。 噴射順序の完了近くの図12に示される噴射装置の実施例の側断面部分図である。 作動中の本発明の噴射装置のさらに他の実施例の側断面部分図である。 噴射順序の完了近くの図14に示される噴射装置の側断面部分図である。 作動中の本発明の噴射装置のさらに別の実施例の側断面部分図である。 噴射順序の完了近くの図16に示される噴射装置の側断面部分図である。
上述するように、本発明の噴射装置は、鋭い針カニューレを有する皮下注射器またはカートリッジと、弾性ストッパーおよび柔軟な金属キャップを有するガラス瓶とを使用する、物質の組成物を混合する要件を排除する、医薬物質の種々な噴射適用のための噴射装置の複室または二要素注射器の利点を組み合せている。図面に示され、かつ以下に説明される本発明の噴射装置の実施例は、噴射装置の本体内の物質の混合と、鼻または口を介した患者の、これに限られることのない、呼吸器官を含む種々な適用、局所的な適用および、例えば患者の耳管を介した適用を含む他の適用における医薬物質の微細噴霧の噴射とを提供している。
図1乃至図3に示される実施例において、噴射装置20は、ほぼ円形状の内面24を有する管状本体、すなわち胴部22と、末端開口端部28および基部開口端部29を有する縮径された直径の先端部26とを有している、説明の目的のためにだけ、“基端部”は、噴射装置を保持する患者またはヘルスケアワーカーの手に最も近い噴射装置の端部を言い、“末端部”は、噴射装置を保持する者から最も遠い端部を言うものである。管状本体、すなわち胴部22は、後に述べるように、バイパス30を通る流体の流通を許す通路31を有する長手方向に拡大された部分、すなわち膨出部の形のバイパス30をさらに有している。以下に述べるように、バイパス30は、内部リブ等を有する他の形とすることができる。
噴射装置20は、管状本体22の基部開口端部29に隣接した第1ストッパー32と、第1ストッパー32から離れていて基部開口端部29とバイパス30との間に位置された第2ストッパー34とをさらに有している。説明される実施例においては、第2ストッパー34は、バイパス30に隣接した管状本体22内に配置されている。ストッパー32、34は、ゴムや合成ゴム、プラスチック等のような弾性またはエラストマー材料で普通に造ることができ、図示されるように管状胴部22の内円筒面24と封止係合する複数個の間隔を置いた環状リブ36を好適に有するが、当業者によって理解されるように管状胴部22内をストッパー32、34が移動することができる。説明される実施例において、基端部の第1ストッパー32は、基部フランジ部40のある通常のプランジャー38を有しており、後にさらに記載されるように、末端部の第2ストッパー34に向かって第1ストッパー32を、噴射装置20の使用者が駆動することができる。プランジャー38は、図示されるように十字形の形状に造って、ストッパー32と一体的に形成することができ、プランジャー38の端部を第1ストッパー32内にねじ着したり(図示しない)、あるいはまた皮下注射器において一般的であるように同様な具合に固着することができる。さらにまた、噴射装置は、カートリッジの形にすることができ、この場合には、プランジャー38は、医薬カートリッジにて一般的であるように、第2ストッパー34に向かって第1ストッパー32を駆動する駆動手段(図示しない)と置き換えられる。第1、第2ストッパー32、34は、管状本体22を、第1、第2ストッパーの間の第1の室42と、第2ストッパー34と管状胴部22の末端開口端部28の間の第2の室44とにそれぞれ分割している。後述するように、第1の室42は、液体またはガスのような流体で全体的または部分的に満たされ、第2の室44は、噴射装置の作動の間に噴射装置20内で混合される液体、粉末または凍結乾燥医薬物質で少なくとも部分的に充填されている。
噴射ノズルおよびキャップ組体46は、本発明の譲受人に譲渡された上述の特許文献1に記載される噴射ノズルおよびキャップ組体のような形式の噴射装置におけるように一般的にすることができる。図1乃至図3に記載される噴射ノズルおよびキャップ組体46は、コップ形キャップ48と、末端部52を有する管状ノズル本体50と、管状胴部22の円筒状内面24の長手方向軸心と成るべく同軸的に整列した噴射ノズル口54とを有している。さらにまた、噴射ノズルおよびキャップ組体は、末端開口端部28と管状ノズル本体50の端部52との間に配置された弁56を有している。先に参照した特許文献1により十分に記載されるように、弁56は、噴射ノズル口54と環状スカート部60と同軸に整列した円形部58を有している。記載した実施例の噴射ノズルは、管状胴部22の加圧されない流体が噴射ノズル口54を通って流出されることを防止すると共に、圧力流体が噴射ノズル口54を通って流出されるように許している。記載する実施例の管状ノズル本体50は、干渉係合によって管状胴部22の先端部26に保持されるが、これに限られるものではないが、ねじ着、熱溶着、接着等を含む他の適宜な手段によって取付けることができる。
図1乃至図3に示される2室噴射装置の作用が、いま以下に説明されよう。先ず、管状胴部は、適用の前に混合するために適した物質が少なくとも部分的に充填されている。第1および第2ストッパー32、34の間の第1の室42は、流体医薬品、液体溶剤または第2の室44内の物質のための希釈液あるいは排出ガスとすることができる流体で満たされている。従って、第2の室44は、上述したように液体または粉末状または凍結乾燥した医薬物質で部分的に充填することができる。第1の室42内の流体は、第1ストッパー32を第2ストッパー34に向かって、あるいは管状胴部22の末端開口端部28に向かって駆動することによって第2の室44内の物質と次いで混合される。記載される実施例において、これは、図2に矢印62により示されるように、管状胴部22内にプランジャー38を駆動することによって達成される。第1の室42内の流体は、従って、図2に示されるようにバイパス30と対向した、または向かい合う胴部内に第2ストッパー34を駆動し、そこで第1の室42内の流体が第2室44内の物質と混合される。キャップ48は、図2に示されるように噴射装置20の作動の前に除去できるし、あるいはキャップは、図11に関して後に説明されるように空気通路を有することができる。第1ストッパー32は、そこで第2ストッパー34と係合して第2室内の混合物を、管状胴部22の第2の末端開口端部28を通って図3に矢印66で示されるように駆動して、図3に示されるように微細な噴霧または液滴のミスト68を形成する。噴射装置20の作動の際に、管状胴部の末端開口端部28を通って圧力をもって管状ノズル本体50内に受けられた混合液体は、天然ゴムまたは合成ゴム、またはプラスチックのような弾性材料で形成された環状スカート部60を変形して、流体がノズル本体50を通って噴射ノズル口54に流れるのを許して微細な噴霧68を発生する。
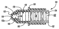
図4乃至図11に示される推奨実施例の噴射装置120がいま説明されよう。噴射装置120は、ほぼ円筒状の内面124と、末端開口端部128と、基部開口端部129とを有する管状本体、すなわち胴部122を有している。この実施例の噴射装置120において、管状本体122基部開口端部129は、末端開口端部128と同一直径を有した円筒状内面124を有している。説明を簡略化するために、噴射装置120の同一要素は、図1乃至図3に示される噴射装置20と同じ順序で符号が付けられる。また、管状本体、すなわち胴部122は、図1乃至図3に示される噴射装置20に関連して上述するように通
路、すなわちチャンネル131を有するバイパス130を有している。
さらに、噴射装置は、基部開口端部129に隣接した基部ストッパー、すなわち第1ストッパー132と、第1ストッパー132から間隔を置いていて第1ストッパー132とバイパス130の間にて管状胴部122内に配置された第2ストッパー134とを有している。図1乃至図3に関して上に説明したように、ストッパー132、134は、天然ゴムまたは合成ゴム、プラスチック等のような弾性材料で形成することができ、管状胴部122の円形状の内面と封止係合する複数個の間隔を置いた環状リブ136を有している。第1ストッパー132は、第1ストッパー132に固着したり、または第1ストッパー132と一体的に形成されるプランジャー138を有することができる。代わりに、プランジャー138は、上述したように医薬カートリッジが一般的に用いられるような通常の駆動装置と置き換えることができる。プランジャーは、断面十字形にすることができ、管状胴部122を介して第1プランジャーを駆動するためのフランジ140を有することができる。
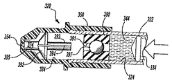
図4乃至図11と残りの図面とに示される推奨実施例の噴射装置120において、噴射装置は、バイパス130と管状胴部122の末端開口端部128との間に配置された第3のストッパー170を有している。第3ストッパー170は、管状胴部122の末端開口端部に大体隣接して好適に設けられると共に、管状胴部122内に先ず配置されている。また、第3ストッパー170は、弾性プラスチックまたはエラストマー材料で成形でき、記載した実施例においては、図示されるように、管状胴部122の内面124と封止係合する複数個の間隔を置いた環状リブ172を有している。図4乃至図11に示される第3のストッパー170の最も好ましい実施例と、残りの図面に示される実施例は、図示されるように第3のストッパー170の本体部分の直径よりも実質的に小さい直径を好適に有した長手方向の突部または軸部174を有している。従って、第1の室142が第1および第2のストッパー132、134の間で管状胴部122内に形成され、第2の室144が、図4に示されるように第2ストッパー134と第3ストッパー170との間に形成されている。第1の室142は、液体医薬物質、希釈液、溶剤のような流体、または放出ガ
スで少なくとも部分的に充填され、第2の室144は、液体、または粉末または凍結乾燥した医薬物質のような物質で部分的に充填できる。室142、144の割合は、室内の物質および特別な利用に基づくようになる。
噴射ノズルおよびキャップ組体146は、図11に関して以下にさらに説明されるコップ状のキャップ148と、図10に就いて以下にさらに説明される噴射ノズル本体150とを有している。図11に明示されるように、コップ状のキャップ148は、キャップ148の長手方向軸心に対して横方向に延びる複数個の間隔を置いた不連続の内環状リブ176を有する管状部175と、包囲した端部178とを有している。また、端面181は、以下に説明されるようにキャップからの空気の除去を確実にするように開口端部に複数個の間隔を置いた膨出部177を有している。図10に明示される噴射ノズル150は、管状本体部180と、開口端部178と、複数個の内リブ182を有する内面と、径方向フランジ部183と、内フランジ部183aから噴射ノズル口154を有する閉鎖端部152に延びる少なくとも1つの縦方向の溝または通路184とを有しており、噴射ノズル口154は、管状本体部180の長手方向軸心および図示されるように管状胴部122の縦方向軸心と一致させるようにできる。ほぼ長手方向の通路184は、噴射口154に対して大体径方向の構成部分184a(縦軸心に対して)をまた有している。代わりに、通路184、184aは、リブと置き換えることができる。また、噴射ノズルは、第3ストッパー170の長手方向の突部または円形状の突部174を受けるように形成された中央溝または開口185を有している。この実施例の噴射ノズル150の内面180の直径が管状胴部122の円形状の内面124の内径と成るべく等しくて、図4乃至図6に明示されるように同軸的に一致することが注意されるべきである。代わりに、後に検討されるように、内面180の内径は、内“通路”がストッパー134を取り囲むように、胴部の内径よりも大きくすることができる。
図9は、図4乃至図6に示される噴射装置120の組体を示している。円形内面124のように(図4乃至図6参照)同一内径を有する末端開口端部128を有する管状胴部122の1つの利点は、室142、144内の流体物質が管状胴部の対向する両端部から負荷できて、これによって医薬物質流体の汚染の恐れを最小化することができる。従って、第2ストッパー134は、図4に示されるようにバイパス130に隣接する管状胴部122内に先ず組み込まれる。流体はそこで室142(図4乃至図6参照)内に受けることができ、そして、第1ストッパー132が図4に明示されるように基部開口端部129内に挿入される。物質が、従って、末端開口端部128内に受けることができ、そこで、第3ストッパー170が、第2の室144を形成する末端開口端部128内に受けられる。上に説明したように、第2の室144内の物質は、液体、粉末または凍結乾燥物質を含むことができる。管状胴部122の末端部は、内フランジ部183aが管状胴部の末端部に係合するまで、図4乃至図6に示されるように噴射ノズル150の内リブ182を受ける外リブ187を図4乃至図6および図9に示されるように有している。代わりに、リブ182は、内ねじと置き換えることができるし、あるいはまた、一部を同様に固着することができる。コップ状のキャップ148が、そこで噴射ノズルの末端部152に受けることができるし、あるいは、図4乃至図6に示されるように噴射ノズルに予め組み込むこともできる。噴射装置120の実施例が、従って、作動と使用のために用意される。
図4乃至図11に示される噴射装置120の実施例の部品とその組体の説明において、使用中の噴射装置の作用を説明することが可能である。先ず、図1乃至図3に示される噴射装置20に関して上述したようにプランジャー138の作用によるように、第1ストッパー132が第2ストッパー134に向かって駆動される。図5に矢印162により示されるように第2ストッパー134に向かっての第1ストッパー132のこの動きは、第1の室142内の流体を第2ストッパー134に対して駆動して、第2ストッパー134を図5に示されるようにバイパス130に対向して胴部内に駆動して、これによって、第1の室142内の流体がバイパスの通路131を通って流れて、矢印164により示されるように第2の室144内の物質と混合されるようになる。第2の室144が流体で充填される時に、第3ストッパー170はノズル本体150に向かって移動して、混合のための空所を形成し、本発明の噴射装置120と、以下に説明されるように残りの図面に示される実施例との特異な特長である完全な混合を行うようになる。ノズル本体150内への第3ストッパー170の移動の際に、第3ストッパーとノズル150の間に捕捉された空気は、長手方向の通路184を通って流出し、図5に矢印188で示されるように図11に示される不連続なリブ176を通ってノズルから放出される。キャップ148がそこで除去されて、噴射装置が、患者に対する噴射の実施のために準備される。代わりに、キャップ148は、キャップが通気手段を含まない場合に、特に、噴射装置の作動の前に、取外すことができる。
図1乃至図3に示される噴射装置20の作動の上述の説明から理解されるように、室142内の流体と室144内の物質の混合は、第1ストッパー132が図6に示されるように第2ストッパー134と係合される時に、完了される。第2ストッパー134と第3ストッパー170の間の間隔は、物質が液体またはガスである場合の第2の室144内の物質の容積に基づくようになる。代わりに、第2の室144内の物質が乾燥または凍結乾燥粉末である場合に、空所は、粉末の容積と、混合を行うために必要な空所とに基づいて調節されるであろう。室144内の流体の容積が増大する際に、第3ストッパー170は、ノズル150に向かって(図面の左方である)移動され、第3ストッパー170と噴射口154の間の空気は、円形突部174が図6に示されるように形成された開口185内に十分に受けられる迄、不連続なリブ176と突部177の周りから流出される。最も好適な実施例において、第2の室144内の混合物が、混合が完了する迄、噴射ノズル口154を通って流出するのを防止するために、本体部分と円形突部174とを含む第3ストッパー170の長手方向の長さ“L”は、ノズルの端部152の内面152aから、図10に示されるように管状胴部の末端部128と係合する径方向のフランジ183の当接面183aまで測ったノズル本体150の内面の長手方向の長さよりも僅かに大きい。従って、第2の室144内の混合物は、第3ストッパー170の本体部分が噴射ノズル内に十分に移動される迄、噴射ノズル口154からの流出が防止される。
終りに、流体と第2の室144内の物質とが混合されて、図6に示されるように第2ストッパー134に対する第1ストッパー132の駆動が完了した後に、第3ストッパー170の突部174は、中央溝185の端壁を形成する端部152の対向した面152aに対して駆動される。面152aに対する突部174の圧縮は、第3ストッパー170の本体部分が図7に示されるようにノズル150内の円形通路186内に十分に受けられるように、図7に示されるように突部174を変形するので、第2の室144内の流体が、図示されるように面152aを介して連続する図10に示される長手方向の通路184、184aを大体通って噴射ノズル口154と流体連通される。そして、室144内の混合物は、圧力の下で長手方向の通路184、184aを通ってノズル口154に流れて、図7に示されるように流体の微細噴霧、すなわちミスト168を発生する。上述したように、一体的な突部174を含む第3ストッパー170は、天然ゴムまたは合成ゴムのような弾性または変形可能な材料で好適に造られている。代わりに、突部174は、第3ストッパー170の本体部分と異なった弾性材料で形成でき、また突部174を有する第3ストッパー170の端部を、図12乃至図15に示される噴射装置の実施例に関して以下に説明されるように本体部分から離すことができる。終りに、第2ストッパー134が図8に示されるように第3ストッパー170と係合する時に、図7に示される第2の室144は、実際に空である。
当業者に明らかなように、本発明の噴射装置は、1回投与の利用または多数回投与のために使用でき、管状胴部122が各投与のための適宜な表示によって印を付けることができ、管状胴部は、流体と物質の混合と、第2の室144内に残る混合物の容積とを目で見ることを許すように、ガラスまたは透明なプラスチックで造ることができる。
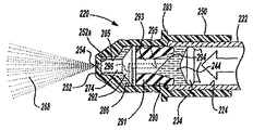
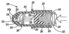
図12乃至図14は、本発明の噴霧装置の別の実施例を示すもので、第3ストッパーが、第3ストッパーを介して流体連通を設ける2つの別個の部材から構成されている。図12および図13に示される噴射装置220の実施例において、管状胴部222と第1および第2ストッパーは、上述した図4乃至図11に示される噴射装置120と同じにできる。第2ストッパー234の先端部だけが、この実施例の十分な説明のために必要とされるように図12および図13に示されている。噴射ノズル250は、長手方向の通路184が必要とされない、または必要とされることを除いては、上述した噴射ノズル150と同じにすることができるが、面152aの横方向の通路184aは、突部174の端部が径方向の溝を有している限りは、必要である。従って、噴射ノズル250のさらなる説明は必要がなく、噴射ノズルの部品は上述した噴射ノズル150と同じ順序で符号が付けられる。噴射装置220のこの実施例において、第3ストッパーは、厚さが減少される軸方向部分、すなわち隔壁291と、円形軸方向突部、すなわち柄部274のある端部292とを有する管状胴部222の内面224と封止係合する本体部分290から形成されている。端部292は、硬質プラスチックから好適に形成され、突出する軸方向柄部274は、図示されるように中央軸方向開口285内に最初に受けることができる。さらに、端部292は、図12に示されるように本体部分290の隔壁291に向かって柄部274に対向して延びる鋭い端部294を有する端部292と一体にできる軸方向に突出する有孔部材293を有している。有孔部材293は、円形状にでき、図12および図13に示されるように端部292の径方向の通路296と連通する軸方向の通路295を有している。ノズル部材250の端部252の内面252aは、図10の内面152aに示される径方向の溝を有することができ、また、柄部274の端部は、噴射ノズル口254への流体連通を形成するように、径方向の溝を有することができる。
図12および図13に示される噴射装置220の作動は、従って、以下のように説明できる。上述するように、噴射装置220の初期作動は、上述した噴射装置120と同じであり、第2の室244内の流体と物質を混合するように、第1ストッパー(図示しない)が第2ストッパー234に向かって駆動される。第2ストッパー234の動きは、次いで、第2ストッパー組体の本体部分290をノズル部材の円形状内面286内に駆動し、有孔部材293の鋭い端部294を本体部分290の厚さの減少される軸方向部分または隔壁291を介して駆動して図13に示されるように隔壁291を貫通して、軸方向および径方向の通路295、296を介して噴射ノズル口254への連通をそれぞれ達成して、図13に示されるように微細噴霧、すなわちミスト268を形成するようになる。理解されるように、室244内の流体および物質は、隔壁291の貫通の前に第2ストッパー234によって混合されて加圧されて、噴射装置120の実施例に関して上述したように噴射268を達成するようになる。
図14および図15に示される噴射装置320の作動と作用は、図12および図13に示される噴射装置220の作動および作用と同様であり、ストッパー組体を介して連通を達成するように協同する2つの個別の部材から第3ストッパーが形成されている。図14および図15に示される噴射装置320の実施例において、第3ストッパー組体は、本体部分390と、図示されるようにノズル部材350の中央開口385内に最初に受けることができる一体的な柄部374を有する別個の端部392とを有している。ノズル部材350は、図12および図13に関して上述したノズル部材250と同じにすることができ、同一の順序で符号が付けられる。従って、ノズル部材350の説明は何等必要でない。この実施例において、第3ストッパーの本体部分390は、ボール397または他の適宜な取り外し可能な封止部材で封止される軸方向の通路391を有している。上述したように、第3ストッパーの本体部分390は、天然ゴムまたは合成ゴムあるいは弾性プラスチックのような弾性材料で造られるのが好適であり、ボール397は中空にでき、適宜なポリマー、金属、ガラス、または同様な材料で造ることができる。第3ストッパー組体の端部392は、ノズル部材350の中央開口385内に最初に受けることができる軸方向に突出する隔壁部を有しており、本体部分390は、図12および図13に関して上述したように管状胴部322の円形状内面324と封止状態に端部392から最初は間隔を置いている。さらに、端部392は、本体部分390の軸方向の通路391に受けられるように形成された円形状突出部374と対向して軸方向に延びる二又状の駆動素子または駆動部393を有している。二又状駆動部393間の溝または空所394は、図14に示されるように端部392を通って延びており、図示されるように端部392を通って流体通路が設けられている。代わりに、端部392は管状または固体状にでき、円錐部が通路を有するようにできる。
図14および図15に示される噴射装置320の作動は、図12および図13に関して上述した噴射装置220の実施例と同じである。上述したように、噴射装置320は、図4乃至図6に示されるようなバイパス(図14および図15に示されていない)を有した管状胴部322と、上述したように間隔を置いた第1および第2ストッパーとを有している。図14と図15は、第2ストッパー334だけを示している。作動の際に、第1ストッパー(図示しない)は第2ストッパー334に向かって駆動されて、第1の室内の流体は第2ストッパー334をバイパス(図示しない)に隣接する胴部内に駆動し、第1の室内の流体を第2の室344内に駆動する。第2ストッパー334に対する第1ストッパーの連続移動は、第3ストッパー組体の本体部分390をノズル部材の円形状内面324内に駆動して、端部392の駆動部393を本体部分390の通路392内に駆動する。そして、駆動部393はボール397を図15に示されるように通路391の外に駆動して、第2の室344と噴射ノズル口354の間に通路394を介して流体連通を達成して、上述するように噴霧368を発生する。
図16および図17に示される噴射装置420の実施例の作動は、上述した図4乃至図11に示される噴射装置120の実施例と同じである。この実施例において、第3ストッパー470は、柄部474が図16に示されるように縮径された頸部490を有することを除いて、上述した第3ストッパー170と同様な一体的な軸方向の突出部または柄部474を有している。ノズル部材450は、中央開口485が図16に示されるように中央開口485に対して開口に隣接する環状リブ491を有することを除いて、上述したノズル部材150と同じにできる。また、中央開口485の内壁が図16に示されるように成るべく僅かに円錐形状になっていることが注意されるべきである。図16と図17に示される噴射装置420の残りの部分は、上述した実施例と同じにできる。すなわち、噴射装置は、対向した開口端部を有する管状胴部422と、上述するように管状胴部内に配置された第1および第2の間隔を置いたストッパーとを有している。さらに、ノズル部材450の円形状の面486は、上述するように面452aに横方向の溝484aを有する図10に符号184で示されるようなほぼ長手方向に延びる溝またはスロット484を有している。噴射装置420の作動は、いま以下に説明できる。
第3ストッパー470は、図4乃至図11に示される噴射装置120の実施例に関して上述したようにノズル部材450から最初に間隔を置くことができる。代わりに、柄部474は、図16に示されるように円錐形中央開口485内に最初に受けることができる。柄部474が円錐形中央開口485内に受けられる時に、環状リブ491は、図16に示されるように柄部474の外面に対して封止する。そして、第2の室444内での物質と流体の混合が続いて、第2ストッパー434を第3ストッパーに向かって駆動して、柄部474が図17に示されるように端部452の内面452aに対して軸心方向に変形され、柄部の軸方向の長さを減少して図17に示されるように縮径された頸部490内に環状リブ491を受ける。縮径された頸部490内の環状リブ491の受け入れは、符号484で示されるほぼ軸方向に延びる溝を介して流体連通を達成し、横方向の面(図10に符号152aでまた示される)の溝484aは、図17に示されるように第2の室444と噴射ノズル口454の間に流体連通を設け、噴射ノズル口454を通って流体を駆動して上述するようにノズルを介して微細ミスト468を設ける。
本発明の噴射装置の幾つかの実施例が説明されたが、添付した特許請求の範囲内において、これら実施例に対して種々な変更がなし得ることが理解されよう。第1の室42、142等が液体を包含する場合に、第2の室44、144等が、例えば、第2の液体、粉末または凍結乾燥薬物を含有することができる。代わりに、第1の室は、例えば圧縮空気のようなキャリアガスを含有することができ、第2の室は、粉末または凍結乾燥薬物を含有することができ、本発明の噴射装置が、粉末または凍結乾燥薬物の噴霧を、鼻または口を介して患者の呼吸器に供給するように使用できる。ガスが圧縮可能であるが、患者に粉末を供給するためにエーロゾル化するようにバイパスを通ってガスを供給するように、第1ストッパーによって第1の室内に十分な圧力を発生することができる。例えば、種々な噴射ノズルが、本発明の二室噴射装置によって使用できる。推奨実施例において、管状胴部は、上述するように流体と物質の交差汚染を防止するように、両端部からの噴射装置の充填または負荷を許すように、ほぼ一定の直径を有している。上述したように、用語“物質”および“医薬物質”は、患者に噴射の形で供給できる、どのような薬品、ワクチンまたは薬物を広く覆うように意図されている。図11に示されるように、間隔を置いた内リブ176を有するキャップ148は、上述するようにストッパーと噴射ノズル口の間の空気の放出を許すように図1乃至図3を含む本発明の噴射装置の記載した実施例に使用できる。代わりに、キャップは、通常のコップ形のキャップとすることができ、キャップが作動の前に取外される。バイパス30、130等は、図示される外方に膨出する半円形通路以外の他の種々な形とすることができる。例えば、バイパスは、複数個の外方に膨出する半円形の通路を有するようにできるし、あるいはまた、バイパスは、第2ストッパーが胴部の内方に突出する部分と対向して配置される時に、第2ストッパーを通過する流体の流れを許す1つの内部通路または複数個の通路を設ける弾性の第2ストッパーと係合する1つまたは複数個の内方に突出するリブを有することができる。
さらに、噴射装置の推奨実施例において、ノズル部材は、ほぼ長手方向に延びる内溝184、184aを有する場合に、内径186は、図示されるように胴部の内径124に好適にほぼ等しい。しかしながら、噴射ノズルの内径は、胴部の内径よりも実質的に大きくでき、内部通路の長手方向の部分184における条件を除去し、第3ストッパーがノズル本体内に位置される時に、混合された流体と物質が第3ストッパーの周りを流れる。この実施例において、突出する柄部174は、噴射装置の作動中は中央開口185内に受けられており、柄部の軸方向の変位において、第3ストッパーの本体部分は、噴射ノズルの大きな直径の内面内に受けられて、混合された流体と物質が第3ストッパーの本体部分の周りを流れて上述するように通路184aを通って噴射ノズル内に流れるのを許している。ここで用いられるように、用語“ほぼ長手方向の通路”は、第3ストッパーの本体部分の周りの環状通路を従って含んでいる。代わりに、噴射装置の管状胴部は、末端部から延びる内側面の長手方向の溝またはリブを有して、ノズル口への流体連通を設けている。この実施例において、第3ストッパーは、ノズルの本体内に受けられるようになってはいなく、ノズルは、胴部の端部に固着できる。長手方向の溝は、上述した理由のために第3ストッパーの本体部分とほぼ等しい長さが好適である。取り外し可能な封止部材が図14および図15に符号397で示されるように第3ストッパー390を介して通路内に設けられる場合に、取り外し可能な封止部材397は、どのような形状にもできるし、噴射処理の完了における混合物の死蔵容積を低減するように第2ストッパーの開口内に確保できる。ここに記載される噴射装置の実施例は、鋭い針カニューレを有する皮下注射器、穿刺可能なストッパーや上述したようなアルミニウムのキャップを有するガラス瓶の要求の無しに、液体医薬物質、希釈液または溶剤および液体、凍結乾燥されたまたは粉末医薬物質のような流体との混合を経るために設けている。管状胴部は、ガラスまたは透明なポリマーで造ることができ、流体と物質の混合を目で見ることを可能にし、説明したように1つまたは多数の投与を設けるようにしている。本発明がいま請求の範囲のように請求される。

Claims (1)

  1. 内面と第1および第2開口端部を有する管状本体、前記管状本体内にあって前記管状本体の内面と封止係合し前記管状本体内を移動する第1および第2の間隔を置いたストッパー、前記第1および第2ストッパー間の流体、および前記第2ストッパーと前記管状本体の前記第2開口端部の間の物質、を有し、前記管状本体は、前記第2ストッパーと前記第2開口端部の間のバイパスを有し、噴射口を有する前記第2開口端部の噴射ノズル、をさらに有し、前記管状本体の前記第2開口端部に向かう前記第1ストッパーの作動が、前記バイパスに隣接する前記第2ストッパーを動かして、前記流体が前記第2ストッパーと前記第2開口端部の間に流れるようにして前記流体を前記物質と混合し、前記第1ストッパーの連続した動きが前記第1ストッパーを前記第2ストッパーに対して駆動し、前記第1ストッパーの連続した動きが流体と物質の混合物を、前記噴射ノズルを通って駆動して、患者への適用に適した噴射を発生し、前記噴射ノズルは、前記管状本体内の加圧により、前記流体が、前記管状本体から流出するのを可能にし、前記管状本体内の加圧されない流体が、前記管状本体から流出するのを防止することを特徴とする噴射装置。
JP2009213361A 2001-12-18 2009-09-15 噴射装置および方法 Expired - Lifetime JP5367516B2 (ja)

Applications Claiming Priority (2)

Application Number Priority Date Filing Date Title
US10/023,774 US7021561B2 (en) 2001-12-18 2001-12-18 Spray device and method
US10/023,774 2001-12-18

Related Parent Applications (1)

Application Number Title Priority Date Filing Date
JP2003552369A Division JP4764601B2 (ja) 2001-12-18 2002-12-17 噴射装置および方法

Publications (2)

Publication Number Publication Date
JP2010017567A JP2010017567A (ja) 2010-01-28
JP5367516B2 true JP5367516B2 (ja) 2013-12-11

Family

ID=21817113

Family Applications (2)

Application Number Title Priority Date Filing Date
JP2003552369A Expired - Lifetime JP4764601B2 (ja) 2001-12-18 2002-12-17 噴射装置および方法
JP2009213361A Expired - Lifetime JP5367516B2 (ja) 2001-12-18 2009-09-15 噴射装置および方法

Family Applications Before (1)

Application Number Title Priority Date Filing Date
JP2003552369A Expired - Lifetime JP4764601B2 (ja) 2001-12-18 2002-12-17 噴射装置および方法

Country Status (6)

Country Link
US (2) US7021561B2 (ja)
EP (2) EP3263163B1 (ja)
JP (2) JP4764601B2 (ja)
AU (1) AU2002360629A1 (ja)
ES (2) ES2797276T3 (ja)
WO (1) WO2003051440A1 (ja)

Families Citing this family (67)

* Cited by examiner, † Cited by third party
Publication number Priority date Publication date Assignee Title
DK1092447T3 (da) * 1999-10-14 2004-05-10 Becton Dickinson Co Nasalafgivelsesindretning indbefattende en spröjtedyse
US20060219737A1 (en) * 2003-07-28 2006-10-05 Larkin Bryan J Spray applicator
US20060084909A1 (en) * 2004-07-12 2006-04-20 Chung Yuan Christian University Syringe with separate cavities
US8051296B2 (en) * 2004-12-30 2011-11-01 Honeywell International Inc. System and method for initializing secure communications with lightweight devices
DE102005057685A1 (de) * 2005-12-01 2007-06-06 Boehringer Ingelheim Pharma Gmbh & Co. Kg Inhalator und Speicher für eine trockene Arzneimittelformulierung sowie diesbezügliche Verfahren und Verwendung
US8210167B2 (en) * 2007-03-02 2012-07-03 Corbco, Inc. Manually operated monodose nasal sprayer
US20080287869A1 (en) * 2007-05-17 2008-11-20 Thomas Chun Safety Syringe
WO2009043000A1 (en) * 2007-09-27 2009-04-02 Becton, Dickinson And Company Cartridge for powder and liquid drug
WO2009050449A1 (en) * 2007-10-16 2009-04-23 Leafgreen Limited A manual pump dispenser
WO2009058910A1 (en) * 2007-10-30 2009-05-07 Nasaline Inc. Pharmaceutical composition and nasal rinsing device therefor
WO2009057572A1 (ja) * 2007-10-30 2009-05-07 Daikyo Seiko, Ltd. プレフィルド型点鼻器具
ES2648196T3 (es) 2008-02-07 2017-12-29 The University Of Washington Dispositivo aerosol circunferencial
FR2927552B1 (fr) * 2008-02-19 2011-05-27 Becton Dickinson France Pulverisateur, notamment a usage medical
DE102008030267B3 (de) * 2008-06-19 2010-01-28 Arzneimittel Gmbh Apotheker Vetter & Co. Ravensburg Verfahren zum Befüllen von Doppelkammersystemen in vorsterilisierbaren Trägersystemen und vorsterilisierbares Trägersystem
US9061107B2 (en) 2008-09-18 2015-06-23 Becton, Dickinson and Comapany Needle mounting feature for ensuring proper reconstitution sequence
JP5355309B2 (ja) 2008-09-24 2013-11-27 キヤノン株式会社 薬液容器及び吸入用薬液吐出装置
AU2011223344B2 (en) 2010-03-04 2016-04-21 Lk Investment Aps An inhalator
ES2694800T3 (es) * 2010-11-12 2018-12-27 Wolfe Tory Medical, Inc. Pulverizador para terapia nasal
SG191892A1 (en) * 2011-01-24 2013-08-30 Otsuka Pharma Co Ltd Medical device containing a cake composition comprising aripiprazole as an active ingredient, and a cake composition comprising aripiprazole as an active ingredient
EP4088769A1 (en) 2011-03-03 2022-11-16 Impel Pharmaceuticals Inc. Nasal drug delivery device
US20120245560A1 (en) * 2011-03-22 2012-09-27 Hochman Mark N Multi-vessel computer control drug delivery
JP6645735B2 (ja) 2011-05-09 2020-02-14 インペル ニューロファーマ インコーポレイテッド 鼻薬送達用ノズル
JP2013000489A (ja) * 2011-06-21 2013-01-07 Shinko Chemical Co Ltd 噴霧容器
US9572596B2 (en) * 2011-06-30 2017-02-21 Covidien Lp Applicators for controlled in situ delivery of therapeutic compositions and implants, methods of fabrication and use
JP5840441B2 (ja) * 2011-09-30 2016-01-06 株式会社吉野工業所 エア混合式噴出器
JP5840442B2 (ja) * 2011-09-30 2016-01-06 株式会社吉野工業所 エア混合式噴出器
JP5840440B2 (ja) * 2011-09-30 2016-01-06 株式会社吉野工業所 エア混合式噴出器
KR101359702B1 (ko) 2012-01-09 2014-02-10 (주) 메디컬그룹베스티안 세포처리 및 적용 시스템용 세포 분무장치
US9731076B2 (en) 2012-06-29 2017-08-15 Ethicon, Inc. Multi-compartment pre-filled mixing syringes with bypass
JP5917367B2 (ja) * 2012-10-31 2016-05-11 株式会社吉野工業所 蓄圧式シリンジ型空気混合液噴出器
JP6022304B2 (ja) * 2012-10-31 2016-11-09 株式会社吉野工業所 蓄圧式噴出ノズル及び、それを備える蓄圧式シリンジ型噴出器
CN102974012A (zh) * 2012-11-13 2013-03-20 潘浩丰 一种医用喷雾头
JP6113620B2 (ja) 2012-12-27 2017-04-12 株式会社吉野工業所 シリンジ型噴出容器
AU2013202778A1 (en) * 2013-03-14 2014-10-02 Gen-Probe Incorporated Systems, methods, and apparatuses for performing automated reagent-based assays
CA2909954C (en) 2013-04-28 2021-03-23 Impel Neuropharma, Inc. Medical unit dose container
US11116914B2 (en) 2014-11-09 2021-09-14 Sipnose Ltd. Device and method for aerosolized delivering of substance to a natural orifice of the body
US11278682B2 (en) 2014-11-09 2022-03-22 Sipnose Ltd. Device and method for aerosolized delivery of substance to a natural orifice of the body
US12491325B2 (en) 2013-08-22 2025-12-09 Aptargroup, Inc. Drug delivery devices and methods for administering substances to a body cavity by heterogenous aerosolization for treatment of binge-eating disorders and/or obesity
DE202013105715U1 (de) 2013-08-22 2014-02-19 Sipnose Ltd. Vorrichtung zur Abgabe einer vorbestimmten Menge einer Substanz an eine natürliche Öffnung des Körpers
US11471618B2 (en) 2014-11-09 2022-10-18 Sipnose Ltd. Adjustable dosing delivery and multi sectioned drug compartment
US12329902B2 (en) 2013-08-22 2025-06-17 Sipnose Ltd. Drug delivery devices and methods for administering substances to a body cavity by heterogenous aerosolization
US11992604B2 (en) 2014-11-09 2024-05-28 Sipnose Ltd. Devices and methods for delivering a substance to a body cavity
MA42708A (fr) 2015-09-10 2018-07-04 Impel Neuropharma Inc Dispositif d'administration nasale en ligne
KR101781485B1 (ko) * 2016-07-01 2017-09-26 주식회사 두배시스템 약물투여기
JP6558392B2 (ja) * 2017-04-04 2019-08-14 ニプロ株式会社 シリンジ型噴出装置
WO2019003216A1 (en) * 2017-06-29 2019-01-03 Sipnose Ltd. ADJUSTABLE DOSE ADMINISTRATION AND MULTI-SECTION MEDICINE COMPARTMENT
EP3679863B1 (en) * 2017-09-08 2024-07-03 Samyang Holdings Corporation Syringe assembly for a sealant
CA3081680A1 (en) 2017-11-21 2019-05-31 Impel Neuropharma, Inc. Intranasal device with inlet interface
EP3713628A4 (en) 2017-11-21 2021-08-18 Impel Neuropharma Inc. INTRA-NASAL DEVICE WITH DIVER TUBE
KR20200118032A (ko) 2018-01-05 2020-10-14 임펠 뉴로파마 인코포레이티드 정밀 후각기관 장치에 의한 디하이드로에르고타민의 비강내 전달
AU2019205329B2 (en) 2018-01-05 2023-04-20 Impel Pharmaceuticals Inc. Intranasal delivery of olanzapine by precision olfactory device
FR3081299B1 (fr) * 2018-05-23 2020-09-11 Oreal Dispositif de preparation d'une compostion cosmetique, et procede associe
EP3806938B1 (de) 2018-06-15 2023-12-20 Boehringer Ingelheim International GmbH System, kartusche und verfahren
US11864587B2 (en) * 2018-06-15 2024-01-09 Valley Product Concepts, LLC Capsules for use in personal vaporizers
DE102018210941A1 (de) * 2018-07-03 2020-01-09 Vetter Pharma-Fertigung GmbH & Co. KG Stopfenvorrichtung, Medikamentenbehälter und Verfahren zur Durchmischung zweier Substanzen in einem Medikamentenbehälter
WO2020018959A1 (en) 2018-07-19 2020-01-23 Impel Neuropharma, Inc. Respiratory tract delivery of levodopa and dopa decarboxylase inhibitor for treatment of parkinson's disease
CN113473967B (zh) 2019-01-03 2022-09-09 英倍尔制药公司 经鼻药物递送装置
DE102019101279B4 (de) * 2019-01-18 2024-05-23 Gerresheimer Bünde Gmbh Vorfüllbare Spritze
KR20220010011A (ko) 2019-05-17 2022-01-25 임펠 뉴로파마 인코포레이티드 일회용 비강 전달 장치
FR3101251B1 (fr) * 2019-09-26 2022-06-24 Sandrine Sebban Formulation pour une application topique sur la peau ou les muqueuses
USD983407S1 (en) * 2020-10-20 2023-04-11 Verrica Pharmaceuticals Inc. Ampule crush tool
CN114939062A (zh) * 2021-02-14 2022-08-26 贝克顿·迪金森公司 鼻喷雾剂重配系统
US12220118B2 (en) 2022-03-31 2025-02-11 Ethicon, Inc. Systems, devices and methods for reconstituting therapeutic powders, mixing precursor solutions, and expressing sealants for controlling bleeding and sealing fluid and air leaks
US12114843B2 (en) 2022-03-31 2024-10-15 Ethicon, Inc. Sealant applicators having mixing and spraying assemblies with malleable sections and spray tips having reduced dimensions
DE102022131155A1 (de) * 2022-11-24 2024-05-29 Reger Medizintechnik Gmbh Medizinisches instrument zum multidirektionalen verdüsen eines fluids in einen hohlraum eines körpers und werkzeug dafür
CN116077816B (zh) * 2023-04-11 2023-06-16 无锡耐思生命科技股份有限公司 一种雾化喷头和喷雾装置
WO2025129248A1 (en) * 2023-12-19 2025-06-26 AdraCard Pty Ltd Device for administering a drug

Family Cites Families (23)

* Cited by examiner, † Cited by third party
Publication number Priority date Publication date Assignee Title
US2688967A (en) * 1953-06-02 1954-09-14 Huber Jennie Metal aspirating syringe
AU5971080A (en) * 1979-06-29 1981-01-08 Richard Bruce Barrett Nozzle
US4599082A (en) * 1984-08-13 1986-07-08 Becton, Dickinson And Company Two-component syringe assembly
EP0207544B1 (en) 1985-06-27 1990-09-26 Duphar International Research B.V Multi-compartment syringe
US4767416A (en) * 1986-12-01 1988-08-30 Johnson & Johnson Patient Care, Inc. Spray nozzle for syringe
DE3734306A1 (de) 1987-10-10 1989-04-27 Pfeiffer Erich Gmbh & Co Kg Austragvorrichtung fuer fliessfaehige medien
US4888002A (en) * 1988-08-30 1989-12-19 Braginetz Paul A Disposable shield medical syringe
US4929230A (en) 1988-09-30 1990-05-29 Pfleger Frederick W Syringe construction
US4923448A (en) * 1988-12-06 1990-05-08 Mark Anderson Syringe with spray nozzle tip
US5601077A (en) * 1991-08-07 1997-02-11 Becton, Dickinson And Company Nasal syringe sprayer with removable dose limiting structure
GB9125699D0 (en) 1991-12-03 1992-01-29 Glaxo Group Ltd Device
NZ247392A (en) * 1992-04-30 1995-05-26 Takeda Chemical Industries Ltd Prefilled syringe containing two substances mixed before injection
US5586975A (en) * 1994-02-18 1996-12-24 Takeda Chemical Industries. Ltd. Air and liquid tight container with a slidable gasket
DE4422700A1 (de) * 1994-06-29 1996-01-04 Abb Management Ag Diffusor für Turbomaschine
DE69507088T2 (de) * 1994-07-27 1999-05-27 Meridian Medical Technologies, Inc., Columbia, Md. Automatische Spritze
US5601007A (en) * 1994-11-22 1997-02-11 Polaroid Corporation Media tabbing apparatus and method
US5865798A (en) * 1996-06-28 1999-02-02 Becton Dickinson France, S.A. Stopper assembly having bypass features for use in a multi-chamber syringe barrel
US5944698A (en) * 1997-10-14 1999-08-31 Ultradent Products, Inc. Adjustable flow syringe
DE19749514A1 (de) * 1997-11-08 1999-05-12 Pfeiffer Erich Gmbh & Co Kg Verfahren zum Ausbringen von wenigstens zwei verschiedenen Medien und Spender dafür
FR2773135B1 (fr) * 1997-12-31 2000-02-11 Valois Sa Dispositif de distribution de produit fluide
US6406455B1 (en) * 1998-12-18 2002-06-18 Biovalve Technologies, Inc. Injection devices
WO2001030424A1 (en) * 1999-10-22 2001-05-03 Antares Pharma, Inc. Medicament cartridge and injection device
US6302101B1 (en) * 1999-12-14 2001-10-16 Daniel Py System and method for application of medicament into the nasal passage

Also Published As

Publication number Publication date
US7021561B2 (en) 2006-04-04
AU2002360629A1 (en) 2003-06-30
EP1461102A1 (en) 2004-09-29
EP3263163A1 (en) 2018-01-03
WO2003051440A1 (en) 2003-06-26
US20060151629A1 (en) 2006-07-13
JP2005512639A (ja) 2005-05-12
JP4764601B2 (ja) 2011-09-07
EP1461102B1 (en) 2017-07-05
US20030111552A1 (en) 2003-06-19
US7182277B2 (en) 2007-02-27
EP3263163B1 (en) 2020-04-08
JP2010017567A (ja) 2010-01-28
ES2797276T3 (es) 2020-12-01
ES2642183T3 (es) 2017-11-15

Similar Documents

Publication Publication Date Title
JP5367516B2 (ja) 噴射装置および方法
JP7183269B2 (ja) ネブライザ及びカートリッジ
CN102791241B (zh) 用于从瓶中取出流体的装置
KR100492350B1 (ko) 추력 피스톤 펌프를 사용하는 유동성 매체 방출장치
US9757750B2 (en) Medicinal device with container
US5893842A (en) Syringe needle isolation device
JP7088825B2 (ja) 薬剤包装
JPH05184674A (ja) 注射噴射器
HU211712B (en) Tool for dosing liquid material
JP2005537834A (ja) 液体小出し装置、これに適した容器カートリッジ及び液体小出し装置と容器カートリッジとを備えたシステム
JP2013508104A (ja) インターバイアル移送システム
KR102823011B1 (ko) 시스템, 카트리지 및 방법
JP7822394B2 (ja) カートリッジから材料を送達するためのディスペンシングガン
JPWO2020105290A1 (ja) 薬剤施薬装置とその製造方法
EP0728492B1 (en) Dual chamber internal by-pass syringe assembly
US20260041856A1 (en) Discharger with improved piercing tip
US20230021069A1 (en) Sealed Multi Chamber Syringe for Storage, Mixing and Delivery of Multi Part Substances
US20230330355A1 (en) Single-Use Adapter Attached to Drug/Vaccine Vials Compatible with Hypodermic Needles to Enable Injection
CN101518767A (zh) 用于施加液体的装置、适合该装置的容器筒

Legal Events

Date Code Title Description
A131 Notification of reasons for refusal

Free format text: JAPANESE INTERMEDIATE CODE: A131

Effective date: 20111014

A601 Written request for extension of time

Free format text: JAPANESE INTERMEDIATE CODE: A601

Effective date: 20120113

A602 Written permission of extension of time

Free format text: JAPANESE INTERMEDIATE CODE: A602

Effective date: 20120118

A601 Written request for extension of time

Free format text: JAPANESE INTERMEDIATE CODE: A601

Effective date: 20120214

A602 Written permission of extension of time

Free format text: JAPANESE INTERMEDIATE CODE: A602

Effective date: 20120217

A521 Request for written amendment filed

Free format text: JAPANESE INTERMEDIATE CODE: A523

Effective date: 20120314

A131 Notification of reasons for refusal

Free format text: JAPANESE INTERMEDIATE CODE: A131

Effective date: 20120928

A601 Written request for extension of time

Free format text: JAPANESE INTERMEDIATE CODE: A601

Effective date: 20121228

A602 Written permission of extension of time

Free format text: JAPANESE INTERMEDIATE CODE: A602

Effective date: 20130108

TRDD Decision of grant or rejection written
A01 Written decision to grant a patent or to grant a registration (utility model)

Free format text: JAPANESE INTERMEDIATE CODE: A01

Effective date: 20130816

A61 First payment of annual fees (during grant procedure)

Free format text: JAPANESE INTERMEDIATE CODE: A61

Effective date: 20130911

R150 Certificate of patent or registration of utility model

Ref document number: 5367516

Country of ref document: JP

Free format text: JAPANESE INTERMEDIATE CODE: R150

Free format text: JAPANESE INTERMEDIATE CODE: R150

R250 Receipt of annual fees

Free format text: JAPANESE INTERMEDIATE CODE: R250

R250 Receipt of annual fees

Free format text: JAPANESE INTERMEDIATE CODE: R250

R250 Receipt of annual fees

Free format text: JAPANESE INTERMEDIATE CODE: R250

R250 Receipt of annual fees

Free format text: JAPANESE INTERMEDIATE CODE: R250

R250 Receipt of annual fees

Free format text: JAPANESE INTERMEDIATE CODE: R250

R250 Receipt of annual fees

Free format text: JAPANESE INTERMEDIATE CODE: R250

EXPY Cancellation because of completion of term