JP5365397B2 - 無線通信装置、無線通信システム、通信制御方法、および制御プログラム - Google Patents

無線通信装置、無線通信システム、通信制御方法、および制御プログラム Download PDF

Info

Publication number
JP5365397B2
JP5365397B2 JP2009174232A JP2009174232A JP5365397B2 JP 5365397 B2 JP5365397 B2 JP 5365397B2 JP 2009174232 A JP2009174232 A JP 2009174232A JP 2009174232 A JP2009174232 A JP 2009174232A JP 5365397 B2 JP5365397 B2 JP 5365397B2
Authority
JP
Japan
Prior art keywords
wireless communication
base station
wireless lan
external base
setting
Prior art date
Legal status (The legal status is an assumption and is not a legal conclusion. Google has not performed a legal analysis and makes no representation as to the accuracy of the status listed.)
Active
Application number
JP2009174232A
Other languages
English (en)
Other versions
JP2011029985A (ja
Inventor
嘉昭 奥山
卓弥 村上
善則 宮本
Current Assignee (The listed assignees may be inaccurate. Google has not performed a legal analysis and makes no representation or warranty as to the accuracy of the list.)
NEC Corp
Original Assignee
NEC Corp
Priority date (The priority date is an assumption and is not a legal conclusion. Google has not performed a legal analysis and makes no representation as to the accuracy of the date listed.)
Filing date
Publication date
Application filed by NEC Corp filed Critical NEC Corp
Priority to JP2009174232A priority Critical patent/JP5365397B2/ja
Publication of JP2011029985A publication Critical patent/JP2011029985A/ja
Application granted granted Critical
Publication of JP5365397B2 publication Critical patent/JP5365397B2/ja
Active legal-status Critical Current
Anticipated expiration legal-status Critical

Links

Images

Landscapes

  • Mobile Radio Communication Systems (AREA)
  • Telephonic Communication Services (AREA)

Description

本発明は、無線通信装置、無線通信システム、通信制御方法、および制御プログラムに関する。
所定の無線通信機能、例えば、無線LAN(Local Area Network)通信機能を備え、アクセスポイントを経由してインターネット環境に接続することが可能な携帯ゲーム機や携帯音楽プレーヤ等のクライアント端末が知られている。これらのクライアント端末は、通常、携帯電話網等の広域通信機能を備えていないため、無線LANのアクセスポイントが設置されていない場所、例えば、屋外ではインターネットサービスを利用することができない。
そこで、特許文献1および特許文献2は、広域通信機能と無線LAN通信機能とを有する通信端末を、移動式の無線LANアクセスポイントとして動作させ、上記の如きクライアント端末を子機として収容することについて記載する。この場合、この通信端末は、広域通信網と無線LANとを中継することが可能である。従って、アクセスポイントが無い場所においても、クライアント端末は、通信端末を経由してインターネットサービスを利用することが可能である。
特開2003−284152号公報 特開2003−283536号公報
ユーザに対して良質な通信サービスを提供するには、通信端末におけるアクセスポイント機能の制御(例えば、起動あるいは停止)に関し、通信端末の周辺における固定式無線LANアクセスポイントの存在状況を考慮するのが好ましい。
例えば、クライアント端末と固定式無線LANアクセスポイントとの距離が一定以上開いた場合、ユーザへの上記通信サービスの提供を継続させるために、移動式の無線LANアクセスポイントを起動することが望ましい。一方、一般的に、固定式の無線LANアクセスポイントは、上記の通信端末の如き移動式の無線LANアクセスポイントよりも、通信料金、帯域幅、応答性能等の面で優れていると言われている。従って、クライアント端末が、固定式と移動式の両方のアクセスポイントに接続可能な場合、可能な限り固定式の無線LANアクセスポイントに接続した方が好ましい。
特許文献1および特許文献2は、通信端末が移動式の無線LANアクセスポイントとなってクライアント端末を収容し、広域通信網を介してクライアント端末をインターネットに接続することについて記載する。しかしながら、特許文献1および特許文献2は、アクセスポイント機能の制御に関し、通信端末の周辺における固定式無線LANアクセスポイントの存在状況を考慮していない。従って、ユーザに対して良質な通信サービス(例えば、シームレス且つ低価格な通信サービス)を提供することができない。
本発明は、上記の課題を解決するためになされたものであり、ユーザに対して良質な通信サービスを提供することが可能な無線通信装置、無線通信システム、通信制御方法、および制御プログラムを提供することを目的とする。
前記課題を解決するために、本発明の無線通信装置は、携帯端末を子機として収容することが可能な基地局機能を備える無線通信手段と、周辺に存在する外部基地局を検出する検出手段と、前記検出手段の検出結果に基づいて、前記無線通信手段を制御する制御手段とを備える。
また、本発明の無線通信システムは、外部基地局と、携帯端末と、無線通信装置と、を備え、前記無線通信装置は、前記携帯端末を子機として収容することが可能な基地局機能を備える無線通信手段と、周辺に存在する外部基地局を検出する検出手段と、前記検出手段の検出結果に基づいて、前記無線通信手段を制御する制御手段と、を備える。
また、本発明の通信制御方法は、携帯端末を子機として収容することが可能な基地局機能を備える無線通信装置における通信制御方法であって、周辺に存在する外部基地局を検出し、前記検出結果に基づいて、前記無線通信装置を制御する。
また、本発明の制御プログラムは、携帯端末を子機として収容することが可能な基地局機能を備える無線通信装置のコンピュータに実行させるための制御プログラムであって、周辺に存在する外部基地局を検出する処理と、前記検出結果に基づいて、前記無線通信装置を制御する処理とを前記コンピュータに実行させる。
本発明によれば、ユーザに対して良質な通信サービスを提供することが可能となる。
本発明に係る第1の実施形態の移動端末の構成例を示すブロック図である。 本発明に係る第2の実施形態の無線通信システムの構成例を示すブロック図である。 図2に示す移動端末の第1の動作例を説明するためのフローチャートである。 図2に示す移動端末の第2の動作例を説明するためのフローチャートである。 本発明に係る第3の実施形態の移動端末の構成例を示すブロック図である。 図5に示す移動端末の動作例を説明するためのフローチャートである。 図2および図5に示す検出部の動作例を説明するためのフローチャートである。 本発明に係る第4の実施形態の無線通信システムの構成例を示すブロック図である。 図8に示す設定記憶部に記憶される無線LANクライアント設定DBの具体例である。 図8に示す無線通信システムの動作例(詳細には、移動端末が固定式無線LANアクセスポイントにクライアント接続する場合の動作例)を説明するためのシーケンスチャートである。 図8に示す無線通信システムの動作例(詳細には、移動端末がアクセスポイントとなって、無線LANクライアント端末を収容する場合の動作例)を説明するためのシーケンスチャートである。 本発明に係る第5の実施形態の移動端末の構成例を示すブロック図である。
[第1の実施形態]
図1は、本発明に係る第1の実施形態の移動端末1(無線通信装置)の構成例を示すブロック図である。この移動端末1は、無線通信部2(無線通信手段)と、検出部3(検出手段)と、制御部4(制御手段)とを備える。無線通信部2は、携帯端末(不図示)を子機として収容することが可能な基地局機能を備える。検出部3は、周辺に存在する外部基地局(不図示)を検出する。制御部4は、検出部3の検出結果に基づいて、無線通信部2を制御する。
すなわち、第1の実施形態の移動端末1は、自局における基地局機能の制御(例えば、起動あるいは停止)に関し、周辺における外部基地局の存在状況を考慮する。従って、例えば、ユーザの移動により、携帯端末と外部基地局との距離が一定以上開いた場合、基地局機能を起動することができる。基地局機能の起動により、携帯端末を子機として収容することができる。よって、ユーザは、移動に係わりなく、サービスを継続的に利用することが可能となる。すなわち、ユーザに対して、シームレスな通信サービスを提供することが可能となる。一方、携帯端末が、外部基地局に接続可能な場合、携帯端末を、通信料金等の面で優れている外部基地局に接続することができる。すなわち、ユーザに対して、サービスを低価格で提供することが可能となる。
以上を纏めると、本発明に係る第1の実施形態の移動端末1は、ユーザに対して良質な通信サービスを提供することが可能である。
[第2の実施形態]
図2は、本発明に係る第2の実施形態の無線通信システム10の構成例を示すブロック図である。
この無線通信システム10は、移動端末12(無線通信装置)と、固定式無線LAN(Local Area Network)アクセスポイント14(外部基地局)と、無線LANクライアント端末16(携帯端末)を備える。
固定式無線LANアクセスポイント14は、移動端末12の外部に設置される固定式の無線LANアクセスポイントであって、移動端末12や無線LANクライアント端末16を子機(クライアントとも言う)として収容(接続)する。ここで、「子機(クライアント)として収容(接続)」とは、例えば、無線LANクライアント端末16が、インフラストラクチャーモードにて移動端末12に無線LAN接続することを意味する。
無線LANクライアント端末16は、ユーザによって携帯される携帯端末(代表的には、例えば、携帯ゲーム機や携帯音楽プレーヤ)である。無線LANクライアント端末16は、固定式無線LANアクセスポイント14や、移動式の無線LANアクセスポイントとして動作している移動端末12に対して子機として接続する。
移動端末12は、ユーザによって携帯される移動端末であって、無線LANインタフェース部20(無線通信手段)と、検出部22(検出手段)と、制御部24(制御手段)とを備える。無線LANインタフェース部20は、所定の無線通信規格(この場合は、無線LAN)に対応し、無線LANクライアント端末16をクライアントとして収容することが可能な基地局機能(アクセスポイント機能とも言う)を備える。検出部22は、周辺に存在する固定式無線LANアクセスポイント14を検出する。制御部24は、検出部22の検出結果(移動端末12の周辺に固定式無線LANアクセスポイント14が存在するか否かについての検出結果)に基づいて、無線LANインタフェース部20を制御する。
図3は、図2に示す移動端末12の第1の動作例を説明するためのフローチャートである。検出部22は、移動端末12の周辺に固定式無線LANアクセスポイント14が存在するか否かを検出する(ステップS1)。検出部22は、検出結果を制御部24へ送信する。制御部24は、該検出結果に基づいて、無線LANインタフェース部20を制御する。
具体的には、例えば、移動端末12が屋外等に移動して、移動端末12の周辺に固定式無線LANアクセスポイント14が存在しなくなった場合(ステップS2においてNo判定の場合)、制御部24は、無線LANインタフェース部20に対して、アクセスポイント機能の起動を指示する(ステップS4)。無線LANインタフェース部20は、無線LANクライアント端末16を子機として収容する(ステップS5)。
一方、例えば、移動端末12が屋内等に位置しており、移動端末12の周辺に固定式無線LANアクセスポイント14が存在する場合(ステップS2においてYes判定の場合)、制御部24は、無線LANインタフェース部20に対して、アクセスポイント機能の停止を指示する(ステップS3)。無線LANインタフェース部20は、無線LANクライアント端末16の帰属を解除する(ステップS6)。
以上説明したように、本実施形態の移動端末12は、固定式無線LANアクセスポイント14と移動式の無線LANアクセスポイントの位置関係(移動端末12の周辺における固定式無線LANアクセスポイント14の存在状況)を考慮した無線通信制御を行う。従って、移動端末12は、ユーザに対して良質な通信サービスを提供することが可能である。
具体的には、例えば、移動端末12の周辺に固定式無線LANアクセスポイント14が存在しない場合、制御部24は、無線LANインタフェース部20に対して、アクセスポイント機能の起動を指示する。ここで、通常、無線LANクライアント端末16は、移動端末12とともにユーザによって携帯される。従って、無線LANクライアント端末16は、移動端末12の近くに存在する可能性が高い。すなわち、無線LANクライアント端末16と固定式無線LANアクセスポイント14との距離が一定以上開いた場合、移動端末12が、アクセスポイント機能を起動すれば、無線LANクライアント端末16を収容することができる。従って、無線LANクライアント端末16への通信サービス(例えば、インターネット上のサービス)の提供を継続させることができる。しかも、上記処理は自動的に行われるので、ユーザは、移動する度に、アクセスポイントの切り換えを意識する必要はない。
一方、移動端末12の周辺に固定式無線LANアクセスポイント14が存在する場合、制御部24は、無線LANインタフェース部20に対して、アクセスポイント機能の停止を指示する。ところで、一般的に、固定式の無線LANアクセスポイントは、移動式の無線LANアクセスポイントよりも、通信料金、帯域幅、応答性能等の面で優れていると言われている。すなわち、移動端末12は、無線LANクライアント端末16が固定式および移動式の両方のアクセスポイントに接続可能な場合、無線LANクライアント端末16を自動的に固定式無線LANアクセスポイント14に接続させることができる。従って、ユーザは、より好条件(通信料金、帯域幅、応答性能等の面でより優れた条件)での通信サービスを享受することが可能となる。
ここで、無線LANクライアント端末16と固定式無線LANアクセスポイント14との接続に関し、必ずしも、移動端末12が関与する必要はない。すなわち、両方のアクセスポイントに接続可能な場合、一方のアクセスポイント(すなわち、移動式のアクセスポイント)が起動しないこと自体が、結果として、無線LANクライアント端末16と固定式無線LANアクセスポイント14とを接続させることに繋がる。
図4は、図2に示す移動端末12の第2の動作例を説明するためのフローチャートである。無線LANインタフェース部20は、アクセスポイント機能を稼働させている(ステップS10)。すなわち、移動端末12は、無線LANクライアント端末16をクライアントとして収容可能な状態にある。
検出部22は、移動端末12の周辺に固定式無線LANアクセスポイント14が存在するか否かを検出する(ステップS11)。検出部22は、検出結果を制御部24へ送信する。
移動端末12の周辺に固定式無線LANアクセスポイント14が存在する場合(ステップS12においてYes判定の場合)、制御部24は、無線LANインタフェース部20に対して、無線LANクライアント端末16からの新規の接続要求を拒絶するよう指示する(ステップS13)。
一方、移動端末12の周辺に固定式無線LANアクセスポイント14が存在しない場合(ステップS12においてNo判定の場合)、制御部24は、無線LANインタフェース部20に対して、無線LANクライアント端末16からの新規の接続要求を受け付けるように指示する(ステップS14)。
以上説明したように、本動作例では、移動端末12の周辺における固定式無線LANアクセスポイント14の存在状況に応じて、無線LANクライアント端末16から移動端末12への新規の接続要求を拒絶し、あるいは許可する制御を行う。従って、既存の通信(すなわち、移動式の無線LANアクセスポイントとして振舞う移動端末12と無線LANクライアント端末16との間で既に確立された通信)が強制的に切断されることはない。しかも、新規の接続は、より好条件にて行われる(なぜならば、例えば、通信料金、帯域幅、応答性能等で優れる固定式無線LANアクセスポイント14と通信するから)。もちろん、周辺に固定式無線LANアクセスポイント14が存在しない場合、新規の接続要求は無線LANインタフェース部20により受理される。よって、該接続要求を行った無線LANクライアント端末16に対する通信サービスは、滞ることはない。
[第3の実施形態]
図5は、本発明に係る第3の実施形態の移動端末100の構成例を示すブロック図である。移動端末100の図2に示す移動端末12に対する差異は、さらにセッション管理部102が追加された点にある。セッション管理部102は、例えば、NATのアドレス変換テーブルなどを監視する等してトランスポート層のプロトコル(例えば、TCPやUDP)の通信状態をチェックする。ここで、NATは、Network Address Translationの略である。TCPは、Transmission Control Protocolの略である。UDPは、User Datagram Protocolの略である。セッション管理部102は、該チェック結果に基づいて、無線LANクライアント端末16が移動端末100を経由して広域通信網と通信しているか否かの情報(セッション情報)を得る。セッション管理部102は、制御部24の求めに応じて、その時点におけるセッション情報を制御部24に対して通知する。制御部24は、そのセッション情報に基づいて、アクセスポイント機能を停止するか、あるいは、無線LANクライアント端末16からの新規の接続を禁止する。
図6は、図5に示す移動端末100の動作例を説明するためのフローチャートである。無線LANインタフェース部20は、アクセスポイント機能を稼働させている(ステップS30)。すなわち、移動端末100は、無線LANクライアント端末16をクライアントとして収容可能な状態にある。この状態において、検出部22は、移動端末100の周辺に固定式無線LANアクセスポイント14が存在するか否かを検出する(ステップS31)。検出部22は、検出結果を制御部24へ送信する。移動端末100の周辺に固定式無線LANアクセスポイント14が存在する場合(ステップS32においてYes判定の場合)、制御部24は、セッション情報を取得する(ステップS33)。具体的には、制御部24は、セッション管理部102に対して、セッション情報を要求する。セッション管理部102は、TCPやUDPの通信状態をチェックすることにより、セッション情報を検出し、制御部24へ通知する。制御部24は、通知されたセッション情報に基づいて、セッションの有無を判断する(ステップS34)。セッションが無い場合(ステップS34においてNo判定の場合)、制御部24は、無線LANインタフェース部20に対して、アクセスポイント機能の停止を指示する(ステップS35)。無線LANインタフェース部20は、無線LANクライアント端末16の帰属を解除する(ステップS36)。
一方、セッションが残っている場合(ステップS34においてYes判定の場合)、制御部24は、無線LANインタフェース部20に対して、無線LANクライアント端末16からの新規の接続要求を拒絶するよう指示する(ステップS37)。そして、セッションが無くなるまで、ステップS33およびステップS34の処理が繰り返される。
以上説明した第3の実施形態において、移動端末100は、セッションが存在する場合、新規の接続を抑制する処理のみを行い、セッションが無くなった時点ではじめてアクセスポイント機能の停止および無線LANクライアント端末16の帰属の解除を行う。従って、セッションが強制的に切断される事態を回避することができるので、シームレスなアクセスポイント切り替え処理が可能となる。しかも、新規の接続は、より好条件にて行われる(なぜならば、例えば、通信料金、帯域幅、応答性能等で優れる固定式無線LANアクセスポイント14と通信するから)。
図7は、図2および図5に示す検出部22の動作例を説明するためのフローチャートである。先ず、移動端末12の記憶部(不図示)には、無線LANクライアント設定(移動端末がクライアントとして接続可能な固定式無線LANアクセスポイントの設定を含む)が記憶されている。固定式無線LANアクセスポイントの設定としては、例えば、固定式無線LANアクセスポイントを特定する識別子(例えば、ESSID(Extended Service Set Identifier))を挙げることができる。
検出部22は、無線LANインタフェース部20が受信したビーコン信号からESSIDを取得する。そして、検出部22は、受信したESSIDと、上記記憶部に予め設定されたESSIDとを比較する(ステップS50)。比較の結果、受信したESSIDが予め設定されたESSIDと同一と判断された場合(ステップS51においてYes判定の場合)、検出部22は、該ESSIDを含むビーコン信号の受信強度と所定の閾値とを比較する(ステップS52)。
比較の結果、受信強度が上記閾値を上回ると判定される場合(ステップS53においてYes判定の場合)、検出部22は、移動端末12(または、移動端末100)の周辺に、少なくとも1つの固定式無線LANアクセスポイント14が存在すると判断する(ステップS54)。一方、受信したESSIDが設定されたESSIDでない場合(ステップS51においてNo判定の場合)、および、受信したESSIDが設定されたESSIDであるが受信強度が上記閾値を下回ると判定される場合(ステップS53においてNo判定の場合)、検出部22は、周辺には固定式無線LANアクセスポイント14が存在しないと判断する(ステップS55)。
尚、以上説明した動作例はあくまで一例であり、上記に限定されない。例えば、受信強度の測定は必ずしも必要ではなく、設定されたESSIDを発見した段階で、検出部22は、移動端末12(または、移動端末100)の周辺に、少なくとも1つの固定式無線LANアクセスポイント14が存在すると判断することもできる。
ここで、以上説明した第2および第3の実施形態における「無線LANクライアント端末16からの新規の接続要求の拒絶」の具体例について説明する。アクセスポイント機能が稼働中の無線LANインタフェース部20は、無線LANクライアント端末16から発見されないモード(ステルスモード)に移行する。ここで、ステルスモードとは、周囲に発信するビーコン信号を停止させるモードのことを言う。無線LANクライアント端末16は、そのビーコン信号を検出することができないので、ステルスモードにある移動端末12(または、移動端末100)に対して、接続要求を行うことができず、このことが、結果として新規の接続要求を拒絶することとなる。また、移動端末12(または、移動端末100)が、受信したパケットの送信元MACアドレス等を参照し、それが無線LANクライアント端末16からのパケットであった場合、それに応答しないようにすることで、結果として新規の接続要求を拒絶することもできる。
[第4の実施形態]
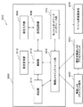
図8は、本発明に係る第4の実施形態の無線通信システム200の構成例を示すブロック図である。この無線通信システム200は、移動端末300(無線通信装置)と、固定式無線LANアクセスポイント350(外部基地局)と、無線LANクライアント端末400(携帯端末)と、モバイル無線基地局450とを備える。
固定式無線LANアクセスポイント350は、移動端末300の外部に設置される固定式のアクセスポイントであって、移動端末300や無線LANクライアント端末400をクライアントとして収容する。
無線LANクライアント端末400は、ユーザによって携帯される携帯端末であって、固定式無線LANアクセスポイント350や、移動式の無線LANアクセスポイントとして動作している移動端末300に対してクライアントとして接続する。
モバイル無線基地局450は、例えば、3G網、LTE網、WiMax網、PHS網等のモバイル広域ネットワークの無線基地局である。ここで、3Gは、3rd Generationの略である。LTEは、Long Term Evolutionの略である。WiMaxは、Worldwide Interoperability for Microwave Accessの略である。PHSは、Personal Handyphone Systemの略である。
移動端末300は、広域ネットワーク通信機能(1)と、無線LAN通信機能(2)と、ルーティング機能(3)を備える。広域ネットワーク通信機能(1)は、移動端末300が、モバイル無線基地局450を介して所定のモバイル広域ネットワークと通信する機能である。無線LAN通信機能(2)は、移動端末300が、無線LANにより他の無線LAN機器(固定式無線LANアクセスポイント350や無線LANクライアント端末400)と通信する機能である。ルーティング機能(3)は、移動端末300が、モバイル広域ネットワークと無線LANとを中継する機能である。
無線LAN通信機能(2)に関して、移動端末300は、クライアント(子機)機能(2−1)と、アクセスポイント(基地局)機能(2−2)とを備える。クライアント機能(2−1)は、固定式無線LANアクセスポイント350に対して自らがクライアントとして接続する機能である。アクセスポイント機能(2−2)は、自らがアクセスポイントとなって無線LANクライアント端末400をクライアントとして収容する機能である。
すなわち、無線LANクライアント端末400は、移動端末300の機能(1)、機能(2−2)、および機能(3)により、モバイル広域ネットワークに接続することができる。従って、無線LANクライアント端末400は、例えば、固定式無線LANアクセスポイント350が無い屋外でも通信サービス(インターネット上あるいはモバイル広域ネットワーク上のサービス)を利用することが可能となる。
移動端末300は、具体的には、モバイルネットワークインタフェース部302と、無線LANインタフェース部304(無線通信手段)と、設定入力部306と、設定記憶部308と、制御部310(制御手段)とを備える。さらに、移動端末300は、設定変換部312(設定変換手段)と、検出部314(検出手段)とを備える。
モバイルネットワークインタフェース部302は、無線伝搬路を介してモバイル無線基地局450との間でデータの送受信を行う。
無線LANインタフェース部304は、「クライアント機能」と「アクセスポイント機能」とを備える。「クライアント機能」は、固定式無線LANアクセスポイント350に対して自らがクライアントとして接続する機能である。「アクセスポイント機能」は、自らがアクセスポイントとなって無線LANクライアント端末400をクライアントとして収容する機能である。また、無線LANインタフェース部304は、固定式無線LANアクセスポイント350や無線LANクライアント端末400との間で無線LANパケットの送受信を行う。
設定入力部306は、「無線LANクライアント設定」(無線LANインタフェース部304が無線LANクライアントとして接続するときに必要な設定)を入力し、入力した無線LANクライアント設定を設定記憶部308に記憶する。
ここで、「無線LANクライアント設定」は、例えば、ESSID、接続チャンネル、暗号化種別、暗号化キー、IP(Internet Protocol)アドレス設定等を含む。
また、設定入力部306における「無線LANクライアント設定」の入力方法として、無線LAN自動設定機能を利用して入力する方法を挙げることができる。無線LAN自動設定の具体例として、例えば、WPS(Wi−Fi Protected Setup)、AOSS(AirStation One−Touch Secure System/登録商標)、らくらく無線スタート(登録商標)等を挙げることができる。また、上記入力方法の他の例として、PC(Personal Computer)等の外部機器から入力する方法、あるいは、FeliCa(登録商標)等のNFCを介して入力する方法等を挙げることができる。ここで、NFCは、Near Field Communicationの略である。
設定記憶部308は、設定入力部306から入力された「無線LANクライアント設定」をDB(データベース)として記憶する。
図9は、設定記憶部308に記憶される「無線LANクライアント設定DB」の具体例である。無線LANクライアント設定DBは、固定式無線LANアクセスポイント350毎に、ESSID、接続チャンネル、暗号化種別、暗号化キー、IP(Internet Protocol)アドレス設定を纏めたものである。図9においては、例えば、5つの固定式無線LANアクセスポイント350が設定されている場合を示す。
さらに、無線LANクライアント設定DBには、最後に発見された日時、AP(アクセスポイント)可能フラグ、および発見頻度を記憶可能である。最後に発見された日時は、移動端末300が固定式無線LANアクセスポイントを最後に発見した日時(あるいは、移動端末300が「クライアント」として最後に接続した日時でも可)に関する情報である。AP可能フラグは、図9に示す各設定(例えば、5つの設定)が、無線LANインタフェース部304を「アクセスポイント」として機能させる場合の設定として使用可能か否かを示すフラグである。例えば、図9の場合、使用可能なものに「可能」のステータスが付与される。また、AP可能フラグは、例えば、設定入力時に設定される。発見頻度は、移動端末300によるアクセスポイントスキャン時に発見された頻度(単位時間当たりの発見回数)である。例えば、図9においては、No.1の固定式無線LANアクセスポイント350は、AP可能フラグがオン(可能)であり、最後に発見された日時は、2009年4月12日12時39分であり、発見頻度(例えば、1日の発見回数)は、10回である。
ここで、再び図8の説明に戻り、制御部310は、主として、無線LANインタフェース部304を制御する。具体的には、制御部310は、無線LANインタフェース部304における「クライアント機能」および「アクセスポイント機能」の起動/停止に関する処理を実行する。
設定変換部312は、「無線LANクライアント設定」を、「無線LANアクセスポイント設定」に変換する。ここで、無線LANクライアント設定は、無線LANインタフェース部304がクライアントとして接続するときの設定である。また、無線LANアクセスポイント設定は、無線LANインタフェース部304が無線LANクライアント端末400をクライアントとして接続するとき、すなわち、無線LANインタフェース部304がアクセスポイントとして動作するときの設定である。
ここで、変換とは、具体的には、無線LANインタフェース部304に割り当てられるIPアドレスの設定方法を変換することを意味する。従って、IPアドレス以外の設定(ESSID、接続チャネル、暗号化種別、暗号化キー)は、本実施形態の場合、正確には、無線LANアクセスポイント設定として、値を変換することなくそのまま使用(以下、これを流用と言う場合もある)される。また、「最後に発見された日時」、「AP可能フラグ」および「発見頻度」は参照するのみであって特に変換はしない。
ここで、上記IPアドレスの設定方法の変換について説明する。例えば、クライアント接続する場合の無線LANインタフェース部304のIPアドレス設定がDHCPによる動的IPアドレス割り当てとなっている場合、設定変換部312は、移動端末300内でのDHCPサーバの起動用設定に変換する。ここで、DHCPは、Dynamic Host Configuration Protocolの略である。また、無線LANインタフェース部304のIPアドレス設定が固定IPアドレスの場合、設定変換部312は、デフォルトゲートウェイの値を使って、無線LANインタフェース部304に割り当てるIPアドレスに変換する。また、固定式無線LANアクセスポイント350がDNS(Domain Name System)サーバとなっている場合、設定変換部312は、DNSサーバの起動用設定に変換する。
検出部314は、周辺に存在する固定式無線LANアクセスポイント350を検出する。
図10は、図8に示す無線通信システム200の動作例(詳細には、移動端末300が固定式無線LANアクセスポイント350にクライアント接続する場合の動作例)を説明するためのシーケンスチャートである。
先ず、設定入力部306は、所定の入力方法により、前述した「無線LANクライアント設定」を入力する(ステップS100)。設定入力部306は、設定記憶部308に対して、入力した「無線LANクライアント設定」を記憶するよう指示する(ステップS101)。設定記憶部308は、「無線LANクライアント設定」を記憶する(ステップS102)。
一方、無線LANインタフェース部304は、固定式無線LANアクセスポイント350をスキャンする(ステップS103)。無線LANインタフェース部304は、スキャンによって発見された「移動端末300の周辺に存在する固定式無線LANアクセスポイント」の識別子(例えば、ESSID)リストを、制御部310へ送信する(ステップS104)。以下、このリストを「周辺リスト」と呼ぶこともある。
次いで、制御部310は、設定記憶部308に対して、「接続可能な固定式無線LANアクセスポイント設定リスト(すなわち、設定記憶部308に記憶された「無線LANクライアント設定DB」)における識別子リスト」を要求する(ステップS105)。以下、このリストを「接続可能リスト」と呼ぶこともある。設定記憶部308は、制御部310に対して、接続可能リストを送信する(ステップS106)。
制御部310は、「周辺リスト」の識別子と「接続可能リスト」の識別子とを比較する。制御部310は、両方のリストに存在する識別子を有する固定式無線LANアクセスポイントを、移動端末300の周辺に存在し且つ接続可能な固定式無線LANアクセスポイントであると判断する(ステップS107)。制御部310は、この時点を「アクセスポイント発見日時(時刻でも可)」とし、所定の計時手段(不図示)から日時情報を取得する。制御部310は、設定記憶部308に対して、発見された固定式無線LANアクセスポイント350の無線LANクライアント設定DBにおける「最後に発見した日時」および「発見頻度」の更新を指示する(ステップS108)。該更新指示を受けた設定記憶部308は、無線LANクライアント設定DBの「最後に発見した日時」の値を上記日時情報に書き換えるとともに、「発見頻度」の値をインクリメントする(ステップS109)。
制御部310は、ステップS107において「周辺に存在し且つ接続可能な固定式無線LANアクセスポイント」と判断したものの中から1つを選択する。制御部310は、無線LANインタフェース部304に対して、選択した無線LANアクセスポイントへの接続を指示する(ステップS110)。ここで、周辺に存在し且つ接続可能な固定式無線LANアクセスポイントが複数ある場合、制御部310は、例えば、ビーコン信号の受信強度が最も高い固定式無線LANアクセスポイントを選択することができる。あるいは、制御部310は、優先度が最も高い(例えば、図9の中で番号が最も若い)固定式無線LANアクセスポイントを選択することもできる。無線LANインタフェース部304は、該アクセスポイントに対して、クライアントとして接続する(S111)。尚、ステップS107において「移動端末300の周辺に存在し且つ接続可能な固定式無線LANアクセスポイント」と判断したものが1つの場合、その1つのアクセスポイントが自動的に選択されるようにすればよい。
図11は、図8に示す無線通信システム200の動作例(詳細には、移動端末300がアクセスポイントとなって、無線LANクライアント端末400を収容する場合の動作例)を説明するためのシーケンスチャートである。
制御部310は、例えば、操作入力部(不図示)から、アクセスポイント機能の起動の指示を受信する(ステップS200)。制御部310は、設定記憶部308に対して、AP可能フラグがオンとなっている固定式無線LANアクセスポイント350に関する設定情報を要求する(ステップS201)。設定記憶部308は、AP可能フラグがオンとなっている固定式無線LANアクセスポイント350に関する設定情報を抽出し、制御部310へ送信する(ステップS202)。例えば、図9において、No.1およびNo.4の固定式無線LANアクセスポイント350の設定は、無線LANインタフェース部304をアクセスポイントとして機能させる場合の設定として使用可能である。
制御部310は、無線LANインタフェース部304がアクセスポイントとして機能する場合の設定を決定する(ステップS203)。例えば、AP可能フラグがオンの設定が1つの場合、制御部310は、該設定を自動的に選択する。また、AP可能フラグがオンの設定が複数ある場合、制御部310は、いずれか1つの設定を選択する。例えば、制御部310は、最後に発見した日時(時刻)が最も新しい(すなわち、現在の日時(時刻)に最も近い)設定を選択することができる。あるいは、制御部310は、発見頻度が最も高い設定を選択することもできる。尚、「発見頻度」は「接続頻度(無線LANインタフェース部304がクライアントとして固定式無線LANアクセスポイント350へ接続する頻度)」であってもよい。
制御部310は、設定変換部312に対して、「無線LANクライアント設定」を、「無線LANアクセスポイント設定」に変換する要求を発行する(ステップS204)。設定変換部312は、無線LANインタフェース部304に割り当てられるIPアドレスの設定方法を、前述した方法にて変換する(ステップS205)。設定変換部312は、変換した設定を制御部310へ送信する(ステップS206)。
制御部310は、変換した設定の一部または全ての値を使って、固定式無線LANアクセスポイント350が提供していたサービスと同じサービスを提供するように端末設定を変更する(ステップS207)。制御部310は、無線LANインタフェース部304に対して、変更した端末設定とアクセスポイント機能の起動指示とを、送信する(ステップS208)。無線LANインタフェース部304は、変換した端末設定により、アクセスポイント機能を起動する(ステップS209)。その後、無線LANクライアント端末400から接続要求を受けた無線LANインタフェース部304は、該無線LANクライアント端末400と接続する(S210)。
以上説明したように、第4の実施形態の移動端末300は、自らを移動式のアクセスポイントとして動作させる場合、「無線LANクライアント設定」の一部を「無線LANアクセスポイント設定」用に自動変換するとともに他の設定を流用する。
従って、移動式の無線LANアクセスポイントとして動作する移動端末300に対して無線LANクライアント端末400を接続する際、ユーザは、移動端末300および無線LANクライアント端末400に対して、移動式の無線LANアクセスポイントとしての設定を新たに行う必要は無い。よって、ユーザの手間を大幅に省くことが可能となる。
さらに、固定式無線LANアクセスポイントと移動式の無線LANアクセスポイントの設定が同一となるため、無線LANクライアント端末400において移動式の無線LANアクセスポイントの設定を別途増やす必要はない。一般的に、無線LANクライアント端末400は、コスト等の制約によりネットワーク設定数が限られている。しかしながら、上述したように、移動式の無線LANアクセスポイントの設定は不要となるので、その分、他の無線LAN通信機器(例えば、他の固定式無線LANアクセスポイント)を設定することができる。従って、限られたネットワーク設定数を有効活用することができる。さらに、設定の手間を省くことができるので、無線LANクライアント端末400の使い勝手を向上させることが可能となる。
[第5の実施形態]
図12は、本発明に係る第5の実施形態の移動端末500の構成例を示すブロック図である。この移動端末500の、図8に示す移動端末300に対する差異は、さらに、情報提示部502(情報提示手段)を備える点にある。よって、他の構成要素については、図8に示す移動端末300と同一であるため、それらの説明については省略する。但し、厳密に言えば、図12に示す制御部310には情報提示部502を制御するための機能が追加されている。
情報提示部502は、無線LANアクセスポイント設定として利用可能な設定情報をユーザに対して提示させるとともに、利用したい設定情報を選択させる機能を備える。
このような移動端末500の動作について説明する。図11のステップS203においてAP可能フラグがオンの設定が複数あった場合、図11では、発見日時や発見頻度に基づいて複数の設定の中から1つを自動選択すると説明した。この自動選択を、情報提示部502を用いた手動選択にすることが可能である。具体的には、情報提示部502は、制御部310から(あるいは、設定記憶部308から直接)AP可能フラグがオンの設定リストを受信し、表示手段(不図示)に表示し、ユーザに利用したい設定を選択させる。ユーザによりいずれかの設定が選択され、情報提示部502は、選択された設定を制御部310へ送信する。その後、図11のステップS204と同様の処理が実行される。
以上説明したように、第5の実施形態によれば、無線LANアクセスポイント設定として利用可能な設定情報をユーザに対して提示するとともに、利用したい設定情報を選択させる機能を備える。従って、利用したい設定情報を、自動選択とは異なる観点にて選択することができ、よりバリエーションに富んだ制御を行うことが可能となる。
以上説明した第4および第5の実施形態は、第1〜第3の実施形態と組み合わせることができる。具体的には、例えば、図3のステップS4における処理(アクセスポイント機能の起動)の詳細を、図11のステップS200〜S209に示す一連の処理とすればよい。その場合、前述したとおり、図10に示す処理(すなわち、移動端末が固定式無線LANアクセスポイントにクライアント接続する場合の処理)を併せて実行することができる。これにより、図11のステップS203において、AP可能フラグがオンの設定が複数あった場合、発見日時や発見頻度により複数の設定の中から1つを自動選択することができる。もちろん、図10に示す処理の実行は必須ではなく、移動端末の構成を第5の実施形態に示した構成とすることにより、複数の設定の中から1つを「手動選択」することができることは言うまでもない。
尚、以上説明した第1〜第5の実施形態において、移動端末における無線通信網(広域、無線通信網ではない方の無線通信網)の規格を無線LANとする場合を例に挙げたが、これに限定されることはなく、例えば、無線LANと類似の規格を有する他の無線通信規格とすることもできる。
また、以上説明した第1〜第5の実施形態において、移動端末(移動端末1、12、100、300および500)は、専用のハードウェアで制御されると説明した。しかしながら、これらの移動端末は、制御プログラムに基づいて図示しないコンピュータ回路(例えば、CPU(Central Processing Unit))によって制御され、動作するようにすることができる。その場合、これらの制御プログラムは、移動端末内部の記憶媒体(例えば、ROM(Read Only Memory)やハードディスク等)、あるいは、外部の記憶媒体(例えば、リムーバブルメディアやリムーバブルディスク等)に記憶され、上記コンピュータ回路によって読み出され実行される。
1 移動端末
2 無線通信部
3 検出部
4 制御部
10 無線通信システム
12 移動端末
14 固定式無線LANアクセスポイント
16 無線LANクライアント端末
20 無線LANインタフェース部
22 検出部
24 制御部
100 移動端末
102 セッション管理部
200 無線通信システム
300 移動端末
302 モバイルネットワークインタフェース部
304 無線LANインタフェース部
306 設定入力部
308 設定記憶部
310 制御部
312 設定変換部
314 検出部
350 固定式無線LANアクセスポイント
400 無線LANクライアント端末
450 モバイル無線基地局
500 移動端末
502 情報提示部

Claims (24)

  1. 携帯端末を子機として収容することが可能な基地局機能と、自らが外部基地局に対して子機として接続することが可能な子機機能と、を備える無線通信手段と、
    周辺に存在する外部基地局を検出する検出手段と、
    前記検出手段の検出結果に基づいて、前記無線通信手段を制御する制御手段と、
    前記無線通信手段が子機として接続可能な1つ以上の前記外部基地局の設定値を記憶する記憶手段と、
    を備え、前記制御手段は、前記無線通信手段の前記基地局機能を起動させる際、所定の選択基準に基づいて選択した1つの前記外部基地局についての前記設定値を、前記記憶手段から読み出して、前記無線通信手段に対して、前記基地局機能動作時の設定値として設定する設定処理を実行することを特徴とする無線通信装置。
  2. 周辺に外部基地局が存在しない場合、前記制御手段は、前記無線通信手段に対して、前記基地局機能の起動を指示することを特徴とする請求項1記載の無線通信装置。
  3. 周辺に外部基地局が存在する場合、前記制御手段は、前記無線通信手段に対して、前記基地局機能の停止を指示することを特徴とする請求項1または2記載の無線通信装置。
  4. 前記無線通信手段において前記基地局機能が起動している状態において、周辺に外部基地局が存在する場合、前記制御手段は、前記無線通信手段に対して、携帯端末による新規の接続要求を受け付けないように指示することを特徴とする請求項1〜3のいずれか1項に記載の無線通信装置。
  5. 前記無線通信手段が新規の接続要求を受け付けない状態にある場合において、周辺に外部基地局が存在しなくなった場合、前記制御手段は、前記無線通信手段に対して、携帯端末による新規の接続要求を受け付けるように指示することを特徴とする請求項4記載の無線通信装置。
  6. 前記制御手段から携帯端末による新規の接続要求を受け付けないようにする指示を受けた前記無線通信手段は、ビーコン信号の送信を停止することにより、携帯端末が自己を発見できないようにすることを特徴とする請求項4または5記載の無線通信装置。
  7. 前記検出手段は、外部基地局から受信するネットワーク識別子が、予め設定されたネットワーク識別子と同一であり、且つ該受信したネットワーク識別子信号の受信強度が、所定の閾値を上回る場合、周辺に外部基地局が存在すると判断することを特徴とする請求項2〜6のいずれか1項に記載の無線通信装置。
  8. 前記検出手段は、外部基地局から受信するネットワーク識別子が、予め設定されたネットワーク識別子と同一でない場合、または、同一であるが信号強度が、所定の閾値を下回る場合、周辺に外部基地局が存在しないと判断することを特徴とする請求項2〜7のいずれか1項に記載の無線通信装置。
  9. 前記設定処理が実行される際、前記設定値のうちの一部を変換する設定変換手段を、さらに備えることを特徴とする請求項1〜8のいずれか1項に記載の無線通信装置。
  10. 前記設定変換手段によって変換されるのは、IP(Internet Protocol)アドレスに関する設定であることを特徴とする請求項記載の無線通信装置。
  11. 前記選択基準は、前記無線通信手段によって発見された時点が最も新しい外部基地局を選択する基準であることを特徴とする請求項1〜10のいずれか1項に記載の無線通信装置。
  12. 前記選択基準は、前記無線通信手段と接続する頻度が最も高い外部基地局を選択する基準であることを特徴とする請求項1〜10のいずれか1項に記載の無線通信装置。
  13. 前記無線通信手段における無線通信規格は、無線LAN規格であることを特徴とする請求項1〜12のいずれか1項に記載の無線通信装置。
  14. 外部基地局と、
    携帯端末と、
    無線通信装置と、を備え、
    前記無線通信装置は、前記携帯端末を子機として収容することが可能な基地局機能と、自らが外部基地局に対して子機として接続することが可能な子機機能と、を備える無線通信手段と、
    周辺に存在する外部基地局を検出する検出手段と、
    前記検出手段の検出結果に基づいて、前記無線通信手段を制御する制御手段と、
    前記無線通信手段が子機として接続可能な1つ以上の前記外部基地局の設定値を記憶する記憶手段と、
    を備え、前記制御手段は、前記無線通信手段の前記基地局機能を起動させる際、所定の選択基準に基づいて選択した1つの前記外部基地局についての前記設定値を、前記記憶手段から読み出して、前記無線通信手段に対して、前記基地局機能動作時の設定値として設定する設定処理を実行することを特徴とする無線通信システム。
  15. 周辺に外部基地局が存在しない場合、前記制御手段は、前記無線通信手段に対して、前記基地局機能の起動を指示することを特徴とする請求項14記載の無線通信システム。
  16. 周辺に外部基地局が存在する場合、前記制御手段は、前記無線通信手段に対して、前記基地局機能の停止を指示することを特徴とする請求項14または15記載の無線通信システム。
  17. 前記無線通信手段において前記基地局機能が起動している状態において、周辺に外部基地局が存在する場合、前記制御手段は、前記無線通信手段に対して、携帯端末による新規の接続要求を受け付けないように指示することを特徴とする請求項1416のいずれか1項に記載の無線通信システム。
  18. 前記無線通信手段が新規の接続要求を受け付けない状態にある場合において、周辺に外部基地局が存在しなくなった場合、前記制御手段は、前記無線通信手段に対して、携帯端末による新規の接続要求を受け付けるように指示することを特徴とする請求項17記載の無線通信システム。
  19. 携帯端末を子機として収容することが可能な基地局機能と、自らが外部基地局に対して子機として接続することが可能な子機機能と、を備える無線通信装置における通信制御方法であって、
    周辺に存在する外部基地局を検出し、
    前記検出結果に基づいて、前記無線通信装置を制御し、
    前記無線通信装置が子機として接続可能な1つ以上の前記外部基地局の設定値を記憶手段に記憶し、
    前記基地局機能を起動させる際、所定の選択基準に基づいて選択した1つの前記外部基地局についての前記設定値を、前記記憶手段から読み出して、前記無線通信装置に対して、前記基地局機能動作時の設定値として設定することを特徴とする通信制御方法。
  20. 周辺に外部基地局が存在しない場合、前記無線通信装置は、前記基地局機能を起動することを特徴とする請求項19記載の通信制御方法。
  21. 周辺に外部基地局が存在する場合、前記無線通信装置は、前記基地局機能を停止することを特徴とする請求項19または20記載の通信制御方法。
  22. 前記無線通信装置において前記基地局機能が起動している状態において、周辺に外部基地局が存在する場合、前記無線通信装置は、携帯端末による新規の接続要求を受け付けないことを特徴とする請求項1921のいずれか1項に記載の通信制御方法。
  23. 前記無線通信装置が新規の接続要求を受け付けない状態にある場合において、周辺に外部基地局が存在しなくなった場合、前記無線通信装置は、携帯端末による新規の接続要求を受け付けることを特徴とする請求項22記載の通信制御方法。
  24. 携帯端末を子機として収容することが可能な基地局機能と、自らが外部基地局に対して子機として接続することが可能な子機機能と、を備える無線通信装置のコンピュータに実行させるための制御プログラムであって、
    周辺に存在する外部基地局を検出する処理と、
    前記検出結果に基づいて、前記無線通信装置を制御する処理と
    前記無線通信装置が子機として接続可能な1つ以上の前記外部基地局の設定値を記憶手段に記憶する処理と、
    前記基地局機能を起動させる際、所定の選択基準に基づいて選択した1つの前記外部基地局についての前記設定値を、前記記憶手段から読み出して、前記無線通信装置に対して、前記基地局機能動作時の設定値として設定する処理とを前記コンピュータに実行させることを特徴とする制御プログラム。
JP2009174232A 2009-07-27 2009-07-27 無線通信装置、無線通信システム、通信制御方法、および制御プログラム Active JP5365397B2 (ja)

Priority Applications (1)

Application Number Priority Date Filing Date Title
JP2009174232A JP5365397B2 (ja) 2009-07-27 2009-07-27 無線通信装置、無線通信システム、通信制御方法、および制御プログラム

Applications Claiming Priority (1)

Application Number Priority Date Filing Date Title
JP2009174232A JP5365397B2 (ja) 2009-07-27 2009-07-27 無線通信装置、無線通信システム、通信制御方法、および制御プログラム

Publications (2)

Publication Number Publication Date
JP2011029985A JP2011029985A (ja) 2011-02-10
JP5365397B2 true JP5365397B2 (ja) 2013-12-11

Family

ID=43638182

Family Applications (1)

Application Number Title Priority Date Filing Date
JP2009174232A Active JP5365397B2 (ja) 2009-07-27 2009-07-27 無線通信装置、無線通信システム、通信制御方法、および制御プログラム

Country Status (1)

Country Link
JP (1) JP5365397B2 (ja)

Families Citing this family (6)

* Cited by examiner, † Cited by third party
Publication number Priority date Publication date Assignee Title
US10360362B2 (en) 2014-04-30 2019-07-23 Qualcomm Incorporated Apparatuses and methods for fast onboarding an internet-enabled device
JP6355425B2 (ja) * 2014-05-20 2018-07-11 キヤノン株式会社 システムおよびその制御方法
JP6395211B2 (ja) * 2014-08-28 2018-09-26 Necプラットフォームズ株式会社 中継機、無線lanシステム、接続制御方法及びプログラム
JP6533591B2 (ja) * 2015-03-24 2019-06-19 華為技術有限公司Huawei Technologies Co.,Ltd. アクセスポイント間の自動切り替え方法、及び無線ルーティング装置
JP6501624B2 (ja) * 2015-05-29 2019-04-17 キヤノン株式会社 情報処理装置、制御方法及びプログラム
JP6614350B2 (ja) * 2016-07-12 2019-12-04 ヤマハ株式会社 無線中継装置

Family Cites Families (11)

* Cited by examiner, † Cited by third party
Publication number Priority date Publication date Assignee Title
JP2003283536A (ja) * 2002-03-26 2003-10-03 Mitsubishi Materials Corp 携帯型ルータ装置
JP2003284152A (ja) * 2002-03-26 2003-10-03 Mitsubishi Materials Corp 携帯型ルーティング装置
JP3799319B2 (ja) * 2002-11-11 2006-07-19 Necインフロンティア株式会社 無線lan基地局の二重化システム
JP2004320132A (ja) * 2003-04-11 2004-11-11 Sharp Corp 無線通信システム
JP2004328153A (ja) * 2003-04-22 2004-11-18 Sharp Corp 無線通信装置、該装置におけるアクセスポイント選択方法、アクセスポイント選択プログラム、および該プログラムを記録した記録媒体
JP4133596B2 (ja) * 2003-06-02 2008-08-13 シャープ株式会社 無線通信端末、ネットワーク接続システム、及びプログラム
JP2005033285A (ja) * 2003-07-08 2005-02-03 Hitachi Ltd 無線情報端末及び無線通信システム
JP4398886B2 (ja) * 2005-03-07 2010-01-13 ソニー株式会社 通信端末装置、通信システム、通信方法、およびプログラム
JP5068431B2 (ja) * 2005-05-10 2012-11-07 日本電気株式会社 ワイヤレスlanシステム、中継端末装置および中継方法
JP2008092249A (ja) * 2006-10-02 2008-04-17 Sony Corp 無線通信システム並びに無線通信装置
JP4919352B2 (ja) * 2007-12-05 2012-04-18 サイレックス・テクノロジー株式会社 無線lanシステムおよび接続方法

Also Published As

Publication number Publication date
JP2011029985A (ja) 2011-02-10

Similar Documents

Publication Publication Date Title
EP3407646B1 (en) Methods and apparatus to present network capabilities available via wireless networks
EP2044799B1 (en) System and method for wirelessly connecting to a voice network (uma network)
US9264893B2 (en) Method for selecting access point with reliability
CN101902802B (zh) Gan环境中的网络选择
EP2304902B1 (en) Network discovery and selection
US8208472B2 (en) Method and apparatus for setting up network for IP communication in mobile terminal
US11102702B2 (en) Method for establishing network clusters between networked devices
JP5365397B2 (ja) 無線通信装置、無線通信システム、通信制御方法、および制御プログラム
KR20130096284A (ko) 무선 네트워크를 통하여 이용 가능한 네트워크 능력을 발견하기 위한 방법 및 장치
US8594669B2 (en) Method for home base station to access network and home base station management server
CN107925940B (zh) 通信系统、通信装置和用于重新连接通信系统的方法
KR101563213B1 (ko) 신뢰도 있는 ap를 선택할 수 있는 단말기 및 방법
KR102064389B1 (ko) 무선 통신 시스템에서 액세스 포인트 탐색 방법 및 장치
JP6533591B2 (ja) アクセスポイント間の自動切り替え方法、及び無線ルーティング装置
JP2013207313A (ja) モバイル無線lanルータ
JP2016072716A (ja) ネットワークシステム、無線lanアクセスポイント装置、および管理装置
CN101040544B (zh) Plmn环境中的通用接入网(gan)控制器的选择
JP2012090245A (ja) 無線通信装置
JP6819875B2 (ja) 無線通信システム及び無線通信装置
JP5435239B2 (ja) 無線端末装置、ハンドオーバー制御方法およびハンドオーバー制御プログラム
KR101465687B1 (ko) 이기종 망간 접속변경 시스템 및 방법
JP2017011665A (ja) オーディオ機器の接続方法、オーディオ機器、オーディオシステム制御プログラム、および、制御端末装置
KR102054894B1 (ko) 무선 랜 접속을 위한 채널 스캔 방법
JP7176205B2 (ja) 端末装置
JP6563881B2 (ja) 通信切替装置、アクセスポイント、端末、通信切替方法

Legal Events

Date Code Title Description
RD01 Notification of change of attorney

Free format text: JAPANESE INTERMEDIATE CODE: A7421

Effective date: 20110706

A621 Written request for application examination

Free format text: JAPANESE INTERMEDIATE CODE: A621

Effective date: 20120618

A977 Report on retrieval

Free format text: JAPANESE INTERMEDIATE CODE: A971007

Effective date: 20130515

A131 Notification of reasons for refusal

Free format text: JAPANESE INTERMEDIATE CODE: A131

Effective date: 20130521

A521 Written amendment

Free format text: JAPANESE INTERMEDIATE CODE: A523

Effective date: 20130722

TRDD Decision of grant or rejection written
A01 Written decision to grant a patent or to grant a registration (utility model)

Free format text: JAPANESE INTERMEDIATE CODE: A01

Effective date: 20130813

A61 First payment of annual fees (during grant procedure)

Free format text: JAPANESE INTERMEDIATE CODE: A61

Effective date: 20130826

R150 Certificate of patent or registration of utility model

Ref document number: 5365397

Country of ref document: JP

Free format text: JAPANESE INTERMEDIATE CODE: R150

Free format text: JAPANESE INTERMEDIATE CODE: R150