JP5316632B2 - 給紙機構及びそれを備えた記録装置 - Google Patents

給紙機構及びそれを備えた記録装置 Download PDF

Info

Publication number
JP5316632B2
JP5316632B2 JP2011271129A JP2011271129A JP5316632B2 JP 5316632 B2 JP5316632 B2 JP 5316632B2 JP 2011271129 A JP2011271129 A JP 2011271129A JP 2011271129 A JP2011271129 A JP 2011271129A JP 5316632 B2 JP5316632 B2 JP 5316632B2
Authority
JP
Japan
Prior art keywords
paper
guide surface
medium
guide
taper
Prior art date
Legal status (The legal status is an assumption and is not a legal conclusion. Google has not performed a legal analysis and makes no representation as to the accuracy of the status listed.)
Expired - Fee Related
Application number
JP2011271129A
Other languages
English (en)
Other versions
JP2012082076A (ja
Inventor
信宏 井上
宏幸 高橋
Current Assignee (The listed assignees may be inaccurate. Google has not performed a legal analysis and makes no representation or warranty as to the accuracy of the list.)
Seiko Epson Corp
Original Assignee
Seiko Epson Corp
Priority date (The priority date is an assumption and is not a legal conclusion. Google has not performed a legal analysis and makes no representation as to the accuracy of the date listed.)
Filing date
Publication date
Application filed by Seiko Epson Corp filed Critical Seiko Epson Corp
Priority to JP2011271129A priority Critical patent/JP5316632B2/ja
Publication of JP2012082076A publication Critical patent/JP2012082076A/ja
Application granted granted Critical
Publication of JP5316632B2 publication Critical patent/JP5316632B2/ja
Expired - Fee Related legal-status Critical Current
Anticipated expiration legal-status Critical

Links

Images

Landscapes

  • Sheets, Magazines, And Separation Thereof (AREA)

Description

本発明は、用紙等のシート状の媒体を送り出す給紙機構及びそれを備えた記録装置に関する。
プリンタ、複写機あるいはファクシミリ等のシート状の媒体である用紙に文字や画像を記録する記録装置では、装填された用紙カセットに収容された用紙を印刷ヘッドなどの記録処理部へ送り出す給紙機構を備えている。
この給紙機構を備えたプリンタとしては、用紙カセットの内側面に突起を設け、給紙する際に、用紙の後端側における側部を突起に当接させて用紙の姿勢を正す機構を有するものがある(例えば、特許文献1参照)。
また、用紙を反転して記録処理部へ戻す機構を備えたプリンタにて、用紙の搬送方向に対して斜めに配置した斜走ローラとこの斜走ローラの対向位置に配置させた太鼓形状のローラによって用紙を挟持して搬送することにより、用紙の側部を基準のガイドに接触させて位置決めする機構も知られている(例えば、特許文献2参照)。
特許第2966243号公報 特開2000−233850号公報
ところで、特許文献1の技術では、用紙カセット側にて用紙を位置決めするので、装置側と用紙カセットとの位置決めを高精度に行わなければ、用紙が傾いて送り込まれ、用紙の角部が搬送経路を構成する側壁等に接触して折れ曲がり、ジャム障害が生じることがある。
また、特許文献2の技術では、反転して送り込まれる用紙が基準のガイド寄りに配置されていると、斜走ローラと太鼓形状のローラによる位置決めを行う前に、用紙の角部がガイドに接触して折れ曲がり、やはりジャム障害が生じることがある。
本発明は、上記事情に鑑みてなされたもので、ジャム障害を生じさせることなく高精度に媒体を位置決めして送り出すことが可能な給紙機構及びそれを備えた記録装置を提供することを目的としている。
上記目的を達成するために、本発明の給紙装置は、シート状の媒体が搬送される案内経路に沿う平行案内面とこの平行案内面から搬送方向上流側へ向かって次第に外側へ傾斜したテーパ案内面とを有するエッジガイドと、前記媒体の表面に接触しながら回転することにより、前記媒体を前記案内経路に沿って搬送する給紙ローラとを有し、前記媒体の前記エッジガイド側の側部を、前記テーパ案内面及び平行案内面に順に沿わせながら搬送する給紙機構であって、前記媒体は、前記エッジガイド側の先端の角部が前記テーパ案内面の上流側端部よりも下流側に位置する所定位置に配置されることを特徴とする。
この構成の給紙装置によれば、媒体の側部をテーパ案内面の上流側端部に接触させ、この上流側端部を支点として回転させることにより、媒体の側部をテーパ案内面に沿わせて下流側へ送り出し、さらに、この媒体の側部を平行案内面の上流側端部に接触させ、この上流側端部を支点として回転させることにより、媒体の側部を平行案内面に沿わせて下流側へ位置決めして搬送することができる。このとき、媒体のエッジガイド側の先端の角部が、テーパ案内面の上流側端部よりも下流側に配置されているので、ジャムが生じ易い媒体の角部がエッジガイドのテーパ案内面や平行案内面に接触することがなく、これにより、ジャムを生じさせることなく高精度に位置決めして媒体を繰り出すことができる。
また、前記媒体の表面に接触しながら回転することにより、カセットの収容空間内にて前記平行案内面に対して平面視にて傾斜した状態に積層されて収容された前記媒体の最上部の媒体を繰り出すピックアップローラが前記給紙ローラの上流側に設けられたことが望ましい。
この構成によれば、カセットの収容空間内の最上部の媒体をピックアップローラによって繰り出して媒体の側部をテーパ案内面の上流側端部に確実に接触させることができ、媒体の角部がテーパ案内面等に接触することによるジャムの発生を防止することができる。
また、所定位置に配置された前記媒体は、前記エッジガイド側の側部が、前記案内経路に対して、前記テーパ案内面の傾斜角度よりも大きな傾斜角度とされていることが好ましい。
この構成によれば、媒体の繰り出し時にて、この媒体の角部のテーパ案内面や平行案内面への接触をさらに確実に防止することができ、ジャムの発生をより確実に防止して円滑に媒体を繰り出すことができる。
また、前記収容空間の下流側には、重なって繰り出される前記媒体を分離する分離壁が先端に沿って設けられ、前記ピックアップローラは、前記収容空間内の前記媒体の幅方向の中央よりも前記エッジガイド側に配置されていることが好ましい。
この構成によれば、分離壁から媒体が受ける抵抗を、ピックアップローラを境に、エッジガイド側に対してエッジガイドと反対側を大きくすることができ、これにより、媒体の後端側にエッジガイド側へ向かう力を生じさせ、媒体の側部における後端側をエッジガイドに接触させることができ、媒体の先端側の角部がエッジガイドに接触することによるジャムの発生を防止することができる。
また、前記エッジガイドには、前記カセットの上端と連結して一体化する連結部が設けられていることが好ましい。
この構成によれば、媒体を位置決めするエッジガイドに対して媒体を収容するカセットの上端が連結部にて連結されて一体化されるので、エッジガイドに対してカセットの媒体を所定位置に配置させることができ、エッジガイドに対するカセットの位置ずれによって、繰り出される媒体の角部がエッジガイドに接触してジャムを生じるような不具合を確実に防止することができる。
また、前記カセットには、前記収容空間内に収容された媒体を上方へ押し上げ、最上部の媒体を所定位置に配置させるリフトホッパを有し、前記カセットの収納空間を形成する側壁の上端部が、上方へ向かうにしたがって次第に所定位置に向かって傾斜されていることが好ましい。
この構成によれば、積層されて収容されている媒体をリフトホッパが押し上げることにより、上部の媒体を側壁によって所定位置に向かって導くことができ、繰り出される最上部の媒体を確実に所定位置に配置させることができ、エッジガイドに対する媒体の位置ずれによって、繰り出される媒体の角部がエッジガイドに接触してジャムを生じるような不具合を確実に防止することができる。
また、本発明の記録装置は、上記の給紙機構によって繰り出された媒体に記録処理を施す記録処理部を備えていることを特徴とする。
この構成の記録装置によれば、給紙機構によってジャム障害なく高精度に位置決めして媒体を送り込むことができるので、媒体への記録処理を円滑かつ高精細にて行うことができる。
本発明に係るプリンタの実施形態の外観斜視図である。 ドロワを引き出した状態のプリンタの外観斜視図である。 本発明に係るプリンタの内部を概略的に示す側断面図である。 給紙機構部分を示す平面図である。 給紙機構を構成するエッジガイドを示す斜視図である。 装置ケース内に設置された用紙カセットのカセット本体の概略断面図である。 カセット本体とエッジガイドとの連結部の正面図である。 エッジガイドと用紙との位置関係を示す平面図である。 用紙の位置決めの原理を説明する概略平面図である。 給紙ローラの用紙との接触面側から視た概略斜視図である。 給紙ローラによって生じる用紙の回転モーメントを示す図である。
以下、本発明の一実施形態に係る給紙機構及びそれを備えた記録装置について図面を参照しつつ詳細に説明する。
なお、本実施形態では、記録装置として印刷処理を行うインクジェットプリンタ等のプリンタを例示している。本発明の記録装置としては、プリンタ以外にも、例えば複写機あるいはファクシミリ等が挙げられる。また、本実施形態では、印刷を施すシート状の媒体として、用紙を例にとって説明する。
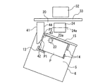
図1は本発明に係るプリンタの実施形態の外観斜視図、図2はドロワを引き出した状態のプリンタの外観斜視図、図3は本発明に係るプリンタの内部を概略的に示す側断面図、図4は給紙機構部分を示す平面図、図5は給紙機構を構成するエッジガイドを示す斜視図、図6は装置ケース内に設置された用紙カセットのカセット本体の概略断面図、図7はカセット本体とエッジガイドとの連結部の正面図、図8はエッジガイドと用紙との位置関係を示す平面図である。
本実施形態のプリンタ(記録装置)1は、業務用のインクジェット式プリンタであり、図1に示すように、装置ケース2の前面には、外方側へ開閉可能な開閉扉3を有する窓部4が設けられており、図2に示すように、開閉扉3を開いた状態にて、装置ケース2に対して進退可能に設けられたドロワ5が引き出されるようになっている。
ドロワ5には、用紙Pを積層状態にて収容した用紙カセット6が着脱可能とされており、この用紙カセット6内の用紙Pは、装置内部の記録処理部にて印刷処理されて、装置ケース2の側面の排紙口7から排紙される。
図3に示すように、プリンタ1は、用紙Pを略直線状の経路に沿って移動させて記録処理を行う。
装置ケース2内に装填される用紙カセット6は、上方が開放された凹状のカセット本体11を有し、このカセット本体11の内部には、複数の用紙Pを積層させた状態に収容可能な収容空間Sが形成されている。この収容空間Sには、リフト式ホッパ12が設けられており、このリフト式ホッパ12によって積層状態に収容された用紙Pが持ち上げられて最上部の用紙Pが所定の高さ位置とされる。このカセット本体11には、用紙ガイド13,14が設けられており、これら用紙ガイド13,14によって収容空間S内の用紙Pが整列されて積層状態に収容されている。
また、このカセット本体11には、プリンタ1における給紙方向前方側に、上方へ向かって次第に給紙方向前方へ傾斜した分離壁15が形成されている。なお、この分離壁15には、その表面に、高摩擦材が塗布あるいは貼付されている。
装置ケース2には、窓部4から装填された用紙カセット6の用紙Pの上方位置に、揺動可能に支持されたフレーム22の先端に設けられたピックアップローラ23が配置されている。そして、このピックアップローラ23は、用紙カセット6の用紙Pの最上のものに当接することにより、用紙Pの最上のものを1枚ずつ下流側の紙案内経路20へ繰り出し、紙案内経路20に設けられた給紙ローラ24とリタードローラ25との間へ送り込む。
給紙ローラ24は、紙案内経路20の略中央位置に配置されたもので、下方側のリタードローラ25とともに、送り込まれた用紙Pを一枚ずつ挟持しながら後方へ送り出す。リタードローラ25は、図示しないトルクリミッタにより所定のトルクが付与された状態にて回転可能に支持されており、用紙カセット6から複数枚の用紙Pが繰り出された場合に、最上部の用紙Pに対して下方に重なっている用紙Pを分離させる分離機能を有する。
給紙ローラ24は、比較的大径で幅寸法が小さくされており、回転軸の周囲のゴム等から形成された外層の厚さが厚くされている。
これら給紙ローラ24及びリタードローラ25の下流側には、用紙Pをプリンタ1の後面側へ搬送して排紙トレイ37上に排出させる搬送経路27を有している。
搬送経路27の途中には、用紙Pの搬送方向と直交する水平方向に延在する複数のガイド軸31に沿って往復移動可能に設けられて、送り込まれた用紙Pに文字や画像を印刷する記録ヘッド(記録処理部)32が設けられている。
搬送経路27は、記録ヘッド32の上流側に設けられて用紙Pを挟持して記録ヘッド32による印刷位置に搬送する搬送ローラ33,34と、記録ヘッド32の下流側に設けられて記録ヘッド32により印刷された用紙Pを挟持して排紙口7の下方に取り付けられる排紙トレイ37に排出する排紙ローラ35,36とを有している。
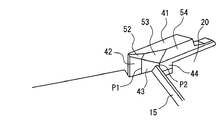
図4及び図5に示すように、装置ケース2内には、紙案内経路20の一側部に、エッジガイド41が設けられている。このエッジガイド41は、紙案内経路20の上流側から順に、第1テーパ案内面42、第2テーパ案内面43及び平行案内面44を有している。平行案内44面は、紙案内経路20に沿って平行な鉛直面からなり、この平行案内面44に対して第2テーパ案内面43は、紙案内経路20の上流側へ向かって次第に外側へ傾斜されている。また、第1テーパ案内面42は、第2テーパ案内面43よりも紙案内経路20の上流側へ向かってさらに外側へ傾斜されている。
そして、このエッジガイド41では、第2のテーパ案内面43の上流側端部である第1テーパ案内面42と第2テーパ案内面43との間の屈曲箇所が第1支点P1とされ、平行案内面44の上流側端部である第2テーパ案内面43と平行案内面44との間の屈曲箇所が第2支点P2とされている。
また、このエッジガイド41の第1テーパ案内面42、第2テーパ案内面43及び平行案内面44の上部には、上方へ向かって次第に張り出すテーパ形状の第1テーパ導入面52、第2テーパ導入面53及び平行導入面54が形成されている。
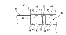
図6に示すように、エッジガイド41の下部は、カセット本体11の一方の側壁11aの上端部と連結する連結部61とされており、この連結部61は、図7に示すように、複数の凹部62及び凸部63が交互に形成された櫛歯形状とされている。また、この連結部61に連結するカセット本体11の側壁11aの上端部も複数の凹部64及び凸部65が形成された櫛歯形状とされている。そして、連結部61の凹部62及び側壁11aの凹部64に、それぞれ連結部61の凸部63及び側壁11aの凸部65が嵌合されて一体化される。
この連結部61は、上方へ向かって次第に第1テーパ案内面42、第2テーパ案内面43及び平行案内面44側へ張り出すテーパ形状とされている。また、カセット本体11の他方の側壁11bの上端部は、連結部61と平行なテーパ形状とされている。
図4に示すように、用紙カセット6は、装置ケース2内に、紙案内経路20に対して平面視にて傾斜した状態に設置される。そして、図8に示すように、装置ケース2内に設置された用紙カセット6内の最上部の用紙Pは、エッジガイド41側の紙案内経路20の下流側である先端側の角部が、第1支点P1よりも下流側に配置され、エッジガイド41側の側部が、紙案内経路20の紙案内方向に対して、第1支点P1と第2支点P2とを結ぶ第2テーパ案内面43の傾斜角度αよりも大きな傾斜角度βとされる。
ピックアップローラ23は、その中心軸23aが、紙案内経路20の紙送り方向にて第1支点P1と略同一位置に配置されており、給紙ローラ24は、その中心軸24aが、紙案内経路20の紙送り方向にて第2支点P2よりも下流側に配置されている。
また、給紙ローラ24は、紙案内経路20の幅方向の略中央位置に配置されており、ピックアップローラ23は、給紙ローラ24よりもエッジガイド41側に偏った位置に配置されている。
次に、プリンタ1によって印刷を施す場合について説明する。
まず、用紙Pを収容した用紙カセット6をドロワ5に設置し、ドロワ5を押し込む。このようにすると、用紙カセット6が、紙案内経路20に対して平面視にて傾斜した状態にて装置ケース2内に設置され、エッジガイド41の連結部61の凹部62及びカセット本体11の側壁11aの凹部64に、それぞれエッジガイド41の連結部61の凸部63及びカセット本体11の側壁11aの凸部65が嵌合して一体化される。
次いで、用紙カセット6のリフトホッパ12が上昇することにより、収容空間S内に積層状態に収容されている用紙Pが上昇する。これにより、上層部分の用紙Pは、上方へ向かって次第に第1テーパ案内面42、第2テーパ案内面43及び平行案内面44側へ張り出すテーパ形状とされた連結部61及び連結部61と平行なテーパ形状とされたカセット本体11の他方の側壁11bの上端部に沿って案内され、最上部の用紙Pは、エッジガイド41側の紙案内経路20の下流側である先端側の角部が、第1支点P1よりも下流側に配置され、エッジガイド41側の側部が、紙案内経路20の紙案内方向に対して、第1支点P1と第2支点P2とを結ぶ第2テーパ案内面43の傾斜角度αよりも大きな傾斜角度βとされた所定位置に配置される。
この状態にて、印刷指令が送信されると、プリンタ1では、用紙Pへの印刷をすべく、給紙動作が開始される。
具体的には、まず、ピックアップローラ23が下方へ移動して回転することにより、所定位置に配置された用紙Pに接触し、最上部の用紙Pが繰り出される。
この用紙Pは、その先端が分離壁15に接触し、下方側の用紙Pと分離されて送り出される。このとき、ピックアップローラ23は、紙案内経路20の幅方向の略中央位置に配置された給紙ローラ24よりもエッジガイド41側に偏った位置に配置され、また、用紙Pが紙案内経路20に対して平面視にて傾けられてエッジガイド41側が下流側へ配置されていることより、分離壁15に接触した用紙Pは、分離壁15から受ける抵抗がピックアップローラ23を境に、エッジガイド41側に対してエッジガイド41と反対側が大きくなる。
すると、用紙Pには、その後端側に、エッジガイド41側へ向かう力が生じ、ピックアップローラ23を中心として平面視にて時計回りへ若干回転し、これにより、用紙Pは、エッジガイド41側の先端の角部がエッジガイド41に接触してジャムを生じるようなことなく、エッジガイド41側の側部が第1支点P1に接触する。
なお、用紙Pが大きく回転した場合は、この用紙Pの側部が第1テーパ導入面52に沿って第1テーパ案内面42に導かれ、この第1テーパ案内面42に接触し、その後、第1支点P1に接触する。
そして、用紙Pの側部が第1支点P1に接触すると、用紙Pには、この第1支点P1を支点とした半時計回りへの回転力が作用する。これにより、この用紙Pは、その側部が第2テーパ導入面53によって押し下げられつつ第2テーパ案内面43に接触され、この状態にて、紙案内経路20の下流側へ繰り出される。
なお、ピックアップローラ23の中心軸23aが、紙案内経路20の紙送り方向にて第1支点P1と略同一位置に配置されていることより、ピックアップローラ23による繰り出し力によって用紙Pを第1支点P1にて確実に半時計回りへの回転力を生じさせることができる。
このようにして繰り出された用紙Pは、給紙ローラ24とリタードローラ25との間へ送り出され、用紙Pが給紙ローラ24とリタードローラ25との間に挟持され、給紙ローラ24の回転力によって紙案内経路20の下流側へ送り込まれる。
このとき、最上部の用紙Pに連なって下方側の用紙Pが給紙ローラ24とリタードローラ25との間に送り込まれても、所定のトルクが付与されたリタードローラ25によって重送された用紙Pが分離される。
そして、この給紙ローラ24によって用紙Pは、そのエッジガイド41側の側部がエッジガイド41へ押し付けられ、さらに、第2支点P2を支点として半時計回りへ回転され、エッジガイド41側の側部がエッジガイド41の平行案内面44に沿わされ、紙案内経路20と平行に位置決めされる。
ここで、この給紙ローラ24による用紙Pの位置決めについて説明する。
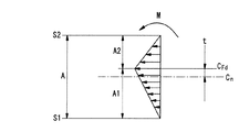
図9は用紙の位置決めの原理を説明する概略平面図、図10は給紙ローラの用紙との接触面側から視た概略斜視図、図11は給紙ローラによって生じる用紙の回転モーメントを示す図である。
図9(a)に示すように、用紙Pがエッジガイド41に接触せずに給紙ローラ24によって搬送される場合、用紙Pは、給紙ローラ24の搬送力Faによって紙案内経路20に対して傾いたまま搬送される。
その後、図9(b)に示すように、用紙Pの側部がエッジガイド41の第2支点P2に接触すると、用紙Pは、エッジガイド41からの反力Fbを受けるとともに、用紙Pには、この用紙Pを撓ませる方向の力Fcが生じる。
このとき、特に、用紙Pが厚紙等の比較的コシが強い用紙であると、用紙Pに撓み力Fcが生じることにより、給紙ローラ24に横力Fd(Fc>Fd)が負荷として作用し、給紙ローラ24のゴム等から形成された外層部分に横方向の撓みが生じる。
ここで、図10に示すように、給紙ローラ24は、用紙Pとの接触開始ポイントS1から接触終了ポイントS2までの間の用紙Pとの接触領域Aにおいて、この接触開始ポイントS1付近では、直前まで用紙Pと接触していないので無理なく接触しているが、それ以降は横力Fdの影響で弾性変形する。
このとき、図11に示すように、用紙Pと給紙ローラ24との摩擦力が横力Fdよりも大きい領域は、用紙Pと給紙ローラ24の表面とは滑らずに接触する粘着域A1となり、横力Fdが用紙Pと給紙ローラ24との摩擦力よりも大きい領域は、用紙Pに対して給紙ローラ24の表面が滑りながら接触する滑り域A2となる。
そして、これらの粘着域A1及び滑り域A2における横力Fdの分布中心CFdは、リタードローラ25との用紙Pの挟持中心Cnに対して接触終了ポイントS2側にオフセットし、このオフセット量tは、用紙Pに対する給紙ローラ24の最大摩擦力に対して横力Fdが小さいほど大きくなる。
そして、このように、横力Fdの分布中心CFdが挟持中心Cnに対して接触終了ポイントS2側にオフセットすることより、給紙ローラ24の表面には、垂直軸回りに回転モーメントM(回転モーメントM=横力Fd×オフセット量t)が発生し、この回転モーメントMによって用紙Pに回転力が作用する。
その結果、用紙Pは、第2支点P2を支点として半時計回りへ回転され、図9(c)に示すように、エッジガイド41側の側部がエッジガイド41の平行案内面44に沿わされ、給紙ローラ24の搬送力Faによって紙案内経路20と平行に位置決めされた状態にて搬送される。
なお、給紙ローラ24は、ゴム等からなる外層部分の肉厚が大きいほど大きく弾性変形し、用紙Pにより大きな回転力を作用させることができ、また、その幅寸法が小さいほど用紙Pの拘束力を小さくすることができ、この場合も、より大きな回転力を用紙Pに作用させることができる。
ここで、エッジガイド41の第1テーパ案内面42、第2テーパ案内面43及び平行案内面44の上部には、上方へ向かって次第に張り出すテーパ形状の第1テーパ導入面52、第2テーパ導入面53及び平行導入面54が形成されているので、上記の用紙Pの位置決め動作の際に、用紙Pの側部が第1テーパ導入面52、第2テーパ導入面53及び平行導入面54によって確実に第1テーパ案内面42、第2テーパ案内面43及び平行案内面44へ導かれて接触され、給紙ローラ24に横力Fdが円滑に付与される。
また、給紙ローラ24の中心軸24aが、紙案内経路20の紙送り方向にて第2支点P2よりも下流側に配置されているので、上記の用紙Pの位置決め動作後に、不要な回転力を用紙Pに付与することなく、紙案内経路20に沿って安定的に用紙Pが搬送される。
また、ピックアップローラ23が、紙案内経路20の幅方向の略中央位置に配置された給紙ローラ24よりもエッジガイド41側に偏った位置に配置されているので、上記の用紙Pの位置決め動作時に、ピックアップローラ23が負荷となり、給紙ローラ24を中心として用紙Pに対してエッジガイド41へ寄せる回転モーメントが生じ、用紙Pの位置決めの円滑化が図られる。
しかも、給紙ローラ24とともに用紙Pを挟持するリタードローラ25が所定のトルクが付与されているので、給紙ローラ24の外層部分にて円滑に撓みが誘発され、これにより、用紙Pの回転のさらなる円滑化が図られる。
上記のようにしてエッジガイド41の平行案内面44に位置決めされて搬送される用紙Pは、その後、搬送ローラ33,34に挟持されて搬送経路27に沿って搬送され、記録ヘッド32に対する用紙Pの頭出しのための位置決めが行われる。このとき、用紙Pは、位置決めされてエッジガイド41の平行案内面44に沿って搬送されていることより、記録ヘッド32に対する用紙Pの位置決めが極めて高精度に行われる。
そして、このように高精度に位置決めされた用紙Pは、搬送ローラ33,34によって搬送されながら、幅方向へ移動して吐出ノズルからインクを吐出する記録ヘッド32によって印刷が施され、その後、その先端が排紙ローラ35,36に挟持されて排紙口7へ向かって搬送され、排紙トレイ37へ排出される。
以上、説明したように、上記実施形態によれば、用紙Pの側部を第2テーパ案内面43の上流側端部からなる第1支点P1に接触させ、この第1支点P1にて回転させることにより、用紙Pの側部を第2テーパ案内面43に沿わせて下流側へ送り出し、さらに、この用紙Pの側部を平行案内面44の上流側端部からなる第2支点P2に接触させ、この第2支点P2にて回転させることにより、用紙Pの側部を平行案内面44に沿わせて下流側へ位置決めして搬送することができる。このとき、用紙Pのエッジガイド41側の先端の角部が、第2テーパ案内面43の上流側端部からなる第1支点P1よりも下流側に配置されているので、ジャムが生じ易い用紙Pの角部がエッジガイド41の第1テーパ案内面42、第2テーパ案内面43あるいは平行案内面44に接触することがなく、これにより、ジャムを生じさせることなく高精度に位置決めして用紙Pを繰り出すことができる。
そして、この給紙機構を備えたプリンタ1によれば、ジャム障害なく高精度に位置決めして用紙Pを送り込むことができるので、用紙Pへの記録処理を円滑かつ高精細にて行うことができる。
また、用紙Pの表面に接触しながら回転することにより、用紙カセット6の収容空間S内にて平行案内面44に対して平面視にて傾斜した状態に積層されて収容された用紙Pの最上部の用紙Pを繰り出すピックアップローラ23が給紙ローラ24の上流側に設けられているので、用紙カセット6の収容空間S内の最上部の用紙Pをピックアップローラ23によって繰り出して用紙Pの側部を第2テーパ案内面43の上流側端部からなる第1支点P1に確実に接触させることができ、用紙Pの角部が第2テーパ案内面43等に接触することによるジャムの発生を防止することができる。
また、最上部の用紙Pのエッジガイド41側の側部が、紙案内経路20に対して、第2テーパ案内面43の傾斜角度αよりも大きな傾斜角度βとされているので、用紙Pの繰り出し時にて、この用紙Pの角部の第1テーパ案内面42、第2テーパ案内面43あるいは平行案内面44への接触をさらに確実に防止することができ、ジャムの発生をより確実に防止して円滑に用紙Pを繰り出すことができる。
また、ピックアップローラ23は、収容空間S内の用紙Pの幅方向の中央よりもエッジガイド41側に配置されているので、用紙Pの繰り出し時にカセット本体11の分離壁15から用紙Pが受ける抵抗を、ピックアップローラ23を境に、エッジガイド41側に対してエッジガイド41と反対側を大きくすることができ、これにより、用紙Pの後端側にエッジガイド41側へ向かう力を生じさせ、用紙Pの側部における後端側をエッジガイド41に接触させることができ、用紙Pの先端側の角部がエッジガイド41に接触することによるジャムの発生を防止することができる。
さらに、エッジガイド41に、カセット本体11の上端と連結して一体化する連結部61を設け、用紙Pを位置決めするエッジガイド41に対して用紙Pを収容する用紙カセット6のカセット本体11の上端11aを連結部61にて連結させて一体化させるので、エッジガイド41に対してカセット本体11の用紙Pを所定位置に精度良く配置させることができ、エッジガイド41に対するカセット本体11の位置ずれによって、繰り出される用紙Pの角部がエッジガイド41に接触してジャムを生じるような不具合を確実に防止することができる。
また、用紙カセット6のカセット本体11には、収容空間S内に収容された用紙Pを上方へ押し上げ、最上部の用紙Pを所定位置に配置させるリフトホッパ12が設けられ、カセット本体11の収納空間Sを形成する側壁11a,11bの上端部が、上方へ向かうにしたがって次第に所定位置に向かって傾斜されているので、積層されて収容されている用紙Pをリフトホッパ12が押し上げることにより、上部の用紙Pを側壁11a,11bによって所定位置に向かって導くことができ、繰り出される最上部の用紙Pを確実に所定位置に配置させることができ、エッジガイド41に対する用紙Pの位置ずれによって、繰り出される用紙Pの角部がエッジガイド41に接触してジャムを生じるような不具合を確実に防止することができる。
また、プリンタ1は、用紙Pを略直線状の経路に沿って移動させて記録処理を行うフロント給紙・リア排紙タイプであるので、大判の用紙Pを印刷する場合にも、特殊な機構を設けることなく、装置ケース2の後面に設けられた図示しない用紙差し込み口から用紙Pを送り込んで搬送ローラ33,34に挟持させて搬送経路27へ送り込み、記録ヘッド32によって印刷を行うことができる。
なお、上記実施形態では、記録装置として、インクジェットプリンタを例にとって説明したが、本発明は、インクジェットタイプに限定されず、例えば、ドットインパクトプリンタにも適用でき、さらには、プリンタ以外にも、例えば複写機あるいはファクシミリ等にも適用できる。
また、上記実施形態では、シート状の媒体として、用紙を例にとって説明したが、本発明は、樹脂製のフィルム等からなる媒体も適用可能である。
1…プリンタ(記録装置)6…用紙カセット(カセット)11a,11b…側壁、12…リフトホッパ、15…分離壁、20…紙案内経路(案内経路)、23…ピックアップローラ、24…給紙ローラ、32…記録ヘッド(記録処理部)、41…エッジガイド、43…第2テーパ案内面(テーパ案内面)、44…平行案内面、61…連結部、P…用紙(媒体)、P1…第1支点、P2…第2支点、S…収容空間、α,β…傾斜角度。

Claims (7)

  1. シート状の媒体が搬送される案内経路に沿う平行案内面とこの平行案内面から搬送方向上流側へ向かって次第に外側へ傾斜したテーパ案内面とを有するエッジガイドと、
    搬送される複数の前記媒体を積層状態にてその収容空間内に収容するカセットと、
    前記媒体の表面に接触しながら回転することにより、前記媒体を前記案内経路に沿って搬送する給紙ローラと、
    前記カセットに積層されて収容されている前記媒体の表面に接触しながら回転することにより、最上部の前記媒体を繰り出すピックアップローラと、
    を有し、前記媒体の前記エッジガイド側の側部を、前記テーパ案内面及び平行案内面に順に沿わせながら搬送する給紙機構であって、
    前記テーパ案内面は、前記平行案内面から搬送方向上流側へ向かって次第に外側へ傾斜した第2テーパ案内面と前記第2テーパ案内面から更に搬送方向上流側へ向かって次第に外側へ傾斜した第1テーパ案内面を含み
    前記カセットは、収容された前記媒体のエッジガイド側の先端の角部が前記第2テーパ案内面の上流側端部よりも下流側に位置する所定位置になるように配置され、前記第1テーパ案内面と前記第2テーパ案内面の間の屈曲箇所と前記ピックアップローラの中心軸は、前記紙案内経路の紙送り方向にて略同一位置に配置されていることを特徴とする給紙機構。
  2. 前記カセットは、前記媒体を前記平行案内面に対して平面視にて傾斜した状態に積層させて収容していることを特徴とする請求項1に記載の給紙機構。
  3. 前記ピックアップローラは、前記給紙ローラの上流側に設けられたことを特徴とする請求項1または請求項2に記載の給紙機構。
  4. 記所定位置に配置された前記媒体は、前記エッジガイド側の側部が、前記案内経路に対して、前記第2テーパ案内面の傾斜角度よりも大きな傾斜角度とされていることを特徴とする請求項1から3のいずれか1項に記載の給紙機構。
  5. 前記収容空間の下流側には、重なって繰り出される前記媒体を分離する分離壁が先端に沿って設けられ、前記ピックアップローラは、前記収容空間内の前記媒体の幅方向の中央よりも前記エッジガイド側に配置されていることを特徴とする請求項1から4のいずれか1項に記載の給紙機構。
  6. 前記エッジガイドには、前記カセットの上端と連結して一体化する連結部が設けられていることを特徴とする請求項1から5のいずれか1項に記載の給紙機構。
  7. 請求項1から6のいずれか1項に記載の給紙機構によって繰り出された媒体に記録処理を施す記録処理部を備えていることを特徴とする記録装置。
JP2011271129A 2011-12-12 2011-12-12 給紙機構及びそれを備えた記録装置 Expired - Fee Related JP5316632B2 (ja)

Priority Applications (1)

Application Number Priority Date Filing Date Title
JP2011271129A JP5316632B2 (ja) 2011-12-12 2011-12-12 給紙機構及びそれを備えた記録装置

Applications Claiming Priority (1)

Application Number Priority Date Filing Date Title
JP2011271129A JP5316632B2 (ja) 2011-12-12 2011-12-12 給紙機構及びそれを備えた記録装置

Related Parent Applications (1)

Application Number Title Priority Date Filing Date
JP2006345057A Division JP4930041B2 (ja) 2006-12-21 2006-12-21 給紙機構及びそれを備えた記録装置

Publications (2)

Publication Number Publication Date
JP2012082076A JP2012082076A (ja) 2012-04-26
JP5316632B2 true JP5316632B2 (ja) 2013-10-16

Family

ID=46241362

Family Applications (1)

Application Number Title Priority Date Filing Date
JP2011271129A Expired - Fee Related JP5316632B2 (ja) 2011-12-12 2011-12-12 給紙機構及びそれを備えた記録装置

Country Status (1)

Country Link
JP (1) JP5316632B2 (ja)

Families Citing this family (1)

* Cited by examiner, † Cited by third party
Publication number Priority date Publication date Assignee Title
WO2021139879A1 (de) * 2020-01-07 2021-07-15 In-Tra-Tec GmbH Verstelleinrichtung für fahrzeugsitze

Family Cites Families (2)

* Cited by examiner, † Cited by third party
Publication number Priority date Publication date Assignee Title
JPS61221026A (ja) * 1985-03-26 1986-10-01 Canon Inc 画像形成装置
JPH0243136A (ja) * 1988-07-30 1990-02-13 Mita Ind Co Ltd 片側基準給紙装置

Also Published As

Publication number Publication date
JP2012082076A (ja) 2012-04-26

Similar Documents

Publication Publication Date Title
US7891659B2 (en) Paper feeding device, recording apparatus and information processing apparatus having the same
JP5402491B2 (ja) 媒体送り装置、記録装置
JP5549240B2 (ja) シート材給送装置及び記録装置
JP7306045B2 (ja) 記録装置
JP4407444B2 (ja) 被記録媒体給送装置、記録装置、液体噴射装置
CN101032892B (zh) 介质供给器和装有它的液体喷射设备或记录设备
JP7088267B2 (ja) 給送装置及び画像記録装置
JP5316632B2 (ja) 給紙機構及びそれを備えた記録装置
JP2008120466A (ja) カセット及び記録装置
JP4182353B2 (ja) 被記録媒体給送装置、記録装置
JP5488794B2 (ja) 媒体送り装置、記録装置
JP2008156034A (ja) 給紙機構及びそれを備えた記録装置
JP2007084224A (ja) 記録装置及び液体噴射装置
JP2004167780A (ja) 記録装置
JP4196195B2 (ja) 被記録媒体給送装置、記録装置、液体噴射装置
US8801173B2 (en) Sheet-discharge device and image recording apparatus equipped with the sheet-discharge device
JP2004269124A (ja) 給送装置、記録装置及び液体噴射装置
JP6801765B2 (ja) 給送装置及び画像記録装置
JP2009007175A (ja) 被記録媒体給送装置
JP5970823B2 (ja) プリンタの給紙機構およびプリンタ装置
JP2025018704A (ja) 搬送装置及び記録装置
JP4258629B2 (ja) 記録装置
JP5142815B2 (ja) 印刷装置
JP4873090B2 (ja) 被搬送媒体
JP5041028B2 (ja) 被搬送媒体

Legal Events

Date Code Title Description
RD02 Notification of acceptance of power of attorney

Free format text: JAPANESE INTERMEDIATE CODE: A7422

Effective date: 20120817

A977 Report on retrieval

Free format text: JAPANESE INTERMEDIATE CODE: A971007

Effective date: 20130228

A131 Notification of reasons for refusal

Free format text: JAPANESE INTERMEDIATE CODE: A131

Effective date: 20130305

A521 Request for written amendment filed

Free format text: JAPANESE INTERMEDIATE CODE: A523

Effective date: 20130423

TRDD Decision of grant or rejection written
A01 Written decision to grant a patent or to grant a registration (utility model)

Free format text: JAPANESE INTERMEDIATE CODE: A01

Effective date: 20130611

A61 First payment of annual fees (during grant procedure)

Free format text: JAPANESE INTERMEDIATE CODE: A61

Effective date: 20130624

R150 Certificate of patent or registration of utility model

Ref document number: 5316632

Country of ref document: JP

Free format text: JAPANESE INTERMEDIATE CODE: R150

Free format text: JAPANESE INTERMEDIATE CODE: R150

S531 Written request for registration of change of domicile

Free format text: JAPANESE INTERMEDIATE CODE: R313531

R350 Written notification of registration of transfer

Free format text: JAPANESE INTERMEDIATE CODE: R350

LAPS Cancellation because of no payment of annual fees