JP5313232B2 - 吸収されなかった赤外レーザー光の再循環により赤外レーザー光の吸収を高めるプラスチック赤外線溶接 - Google Patents

吸収されなかった赤外レーザー光の再循環により赤外レーザー光の吸収を高めるプラスチック赤外線溶接 Download PDF

Info

Publication number
JP5313232B2
JP5313232B2 JP2010506337A JP2010506337A JP5313232B2 JP 5313232 B2 JP5313232 B2 JP 5313232B2 JP 2010506337 A JP2010506337 A JP 2010506337A JP 2010506337 A JP2010506337 A JP 2010506337A JP 5313232 B2 JP5313232 B2 JP 5313232B2
Authority
JP
Japan
Prior art keywords
infrared laser
laser light
infrared
welding
component
Prior art date
Legal status (The legal status is an assumption and is not a legal conclusion. Google has not performed a legal analysis and makes no representation as to the accuracy of the status listed.)
Expired - Fee Related
Application number
JP2010506337A
Other languages
English (en)
Other versions
JP2010527296A (ja
Inventor
コールドウエル,スコツト
ルーニー,ポール
Current Assignee (The listed assignees may be inaccurate. Google has not performed a legal analysis and makes no representation or warranty as to the accuracy of the list.)
Branson Ultrasonics Corp
Original Assignee
Branson Ultrasonics Corp
Priority date (The priority date is an assumption and is not a legal conclusion. Google has not performed a legal analysis and makes no representation as to the accuracy of the date listed.)
Filing date
Publication date
Application filed by Branson Ultrasonics Corp filed Critical Branson Ultrasonics Corp
Publication of JP2010527296A publication Critical patent/JP2010527296A/ja
Application granted granted Critical
Publication of JP5313232B2 publication Critical patent/JP5313232B2/ja
Expired - Fee Related legal-status Critical Current
Anticipated expiration legal-status Critical

Links

Images

Classifications

    • BPERFORMING OPERATIONS; TRANSPORTING
    • B29WORKING OF PLASTICS; WORKING OF SUBSTANCES IN A PLASTIC STATE IN GENERAL
    • B29CSHAPING OR JOINING OF PLASTICS; SHAPING OF MATERIAL IN A PLASTIC STATE, NOT OTHERWISE PROVIDED FOR; AFTER-TREATMENT OF THE SHAPED PRODUCTS, e.g. REPAIRING
    • B29C66/00General aspects of processes or apparatus for joining preformed parts
    • B29C66/50General aspects of joining tubular articles; General aspects of joining long products, i.e. bars or profiled elements; General aspects of joining single elements to tubular articles, hollow articles or bars; General aspects of joining several hollow-preforms to form hollow or tubular articles
    • B29C66/51Joining tubular articles, profiled elements or bars; Joining single elements to tubular articles, hollow articles or bars; Joining several hollow-preforms to form hollow or tubular articles
    • B29C66/52Joining tubular articles, bars or profiled elements
    • B29C66/522Joining tubular articles
    • B29C66/5221Joining tubular articles for forming coaxial connections, i.e. the tubular articles to be joined forming a zero angle relative to each other
    • BPERFORMING OPERATIONS; TRANSPORTING
    • B29WORKING OF PLASTICS; WORKING OF SUBSTANCES IN A PLASTIC STATE IN GENERAL
    • B29CSHAPING OR JOINING OF PLASTICS; SHAPING OF MATERIAL IN A PLASTIC STATE, NOT OTHERWISE PROVIDED FOR; AFTER-TREATMENT OF THE SHAPED PRODUCTS, e.g. REPAIRING
    • B29C65/00Joining or sealing of preformed parts, e.g. welding of plastics materials; Apparatus therefor
    • B29C65/02Joining or sealing of preformed parts, e.g. welding of plastics materials; Apparatus therefor by heating, with or without pressure
    • B29C65/14Joining or sealing of preformed parts, e.g. welding of plastics materials; Apparatus therefor by heating, with or without pressure using wave energy, i.e. electromagnetic radiation, or particle radiation
    • B29C65/16Laser beams
    • B29C65/1603Laser beams characterised by the type of electromagnetic radiation
    • B29C65/1612Infrared [IR] radiation, e.g. by infrared lasers
    • BPERFORMING OPERATIONS; TRANSPORTING
    • B29WORKING OF PLASTICS; WORKING OF SUBSTANCES IN A PLASTIC STATE IN GENERAL
    • B29CSHAPING OR JOINING OF PLASTICS; SHAPING OF MATERIAL IN A PLASTIC STATE, NOT OTHERWISE PROVIDED FOR; AFTER-TREATMENT OF THE SHAPED PRODUCTS, e.g. REPAIRING
    • B29C65/00Joining or sealing of preformed parts, e.g. welding of plastics materials; Apparatus therefor
    • B29C65/02Joining or sealing of preformed parts, e.g. welding of plastics materials; Apparatus therefor by heating, with or without pressure
    • B29C65/14Joining or sealing of preformed parts, e.g. welding of plastics materials; Apparatus therefor by heating, with or without pressure using wave energy, i.e. electromagnetic radiation, or particle radiation
    • B29C65/16Laser beams
    • B29C65/1629Laser beams characterised by the way of heating the interface
    • B29C65/1635Laser beams characterised by the way of heating the interface at least passing through one of the parts to be joined, i.e. laser transmission welding
    • BPERFORMING OPERATIONS; TRANSPORTING
    • B29WORKING OF PLASTICS; WORKING OF SUBSTANCES IN A PLASTIC STATE IN GENERAL
    • B29CSHAPING OR JOINING OF PLASTICS; SHAPING OF MATERIAL IN A PLASTIC STATE, NOT OTHERWISE PROVIDED FOR; AFTER-TREATMENT OF THE SHAPED PRODUCTS, e.g. REPAIRING
    • B29C65/00Joining or sealing of preformed parts, e.g. welding of plastics materials; Apparatus therefor
    • B29C65/02Joining or sealing of preformed parts, e.g. welding of plastics materials; Apparatus therefor by heating, with or without pressure
    • B29C65/14Joining or sealing of preformed parts, e.g. welding of plastics materials; Apparatus therefor by heating, with or without pressure using wave energy, i.e. electromagnetic radiation, or particle radiation
    • B29C65/16Laser beams
    • B29C65/1629Laser beams characterised by the way of heating the interface
    • B29C65/1635Laser beams characterised by the way of heating the interface at least passing through one of the parts to be joined, i.e. laser transmission welding
    • B29C65/1641Laser beams characterised by the way of heating the interface at least passing through one of the parts to be joined, i.e. laser transmission welding making use of a reflector on the opposite side, e.g. a polished mandrel or a mirror
    • BPERFORMING OPERATIONS; TRANSPORTING
    • B29WORKING OF PLASTICS; WORKING OF SUBSTANCES IN A PLASTIC STATE IN GENERAL
    • B29CSHAPING OR JOINING OF PLASTICS; SHAPING OF MATERIAL IN A PLASTIC STATE, NOT OTHERWISE PROVIDED FOR; AFTER-TREATMENT OF THE SHAPED PRODUCTS, e.g. REPAIRING
    • B29C65/00Joining or sealing of preformed parts, e.g. welding of plastics materials; Apparatus therefor
    • B29C65/02Joining or sealing of preformed parts, e.g. welding of plastics materials; Apparatus therefor by heating, with or without pressure
    • B29C65/14Joining or sealing of preformed parts, e.g. welding of plastics materials; Apparatus therefor by heating, with or without pressure using wave energy, i.e. electromagnetic radiation, or particle radiation
    • B29C65/16Laser beams
    • B29C65/1629Laser beams characterised by the way of heating the interface
    • B29C65/1645Laser beams characterised by the way of heating the interface heating both sides of the joint, e.g. by using two lasers or a split beam
    • BPERFORMING OPERATIONS; TRANSPORTING
    • B29WORKING OF PLASTICS; WORKING OF SUBSTANCES IN A PLASTIC STATE IN GENERAL
    • B29CSHAPING OR JOINING OF PLASTICS; SHAPING OF MATERIAL IN A PLASTIC STATE, NOT OTHERWISE PROVIDED FOR; AFTER-TREATMENT OF THE SHAPED PRODUCTS, e.g. REPAIRING
    • B29C65/00Joining or sealing of preformed parts, e.g. welding of plastics materials; Apparatus therefor
    • B29C65/02Joining or sealing of preformed parts, e.g. welding of plastics materials; Apparatus therefor by heating, with or without pressure
    • B29C65/14Joining or sealing of preformed parts, e.g. welding of plastics materials; Apparatus therefor by heating, with or without pressure using wave energy, i.e. electromagnetic radiation, or particle radiation
    • B29C65/16Laser beams
    • B29C65/1687Laser beams making use of light guides
    • BPERFORMING OPERATIONS; TRANSPORTING
    • B29WORKING OF PLASTICS; WORKING OF SUBSTANCES IN A PLASTIC STATE IN GENERAL
    • B29CSHAPING OR JOINING OF PLASTICS; SHAPING OF MATERIAL IN A PLASTIC STATE, NOT OTHERWISE PROVIDED FOR; AFTER-TREATMENT OF THE SHAPED PRODUCTS, e.g. REPAIRING
    • B29C66/00General aspects of processes or apparatus for joining preformed parts
    • B29C66/01General aspects dealing with the joint area or with the area to be joined
    • B29C66/05Particular design of joint configurations
    • B29C66/10Particular design of joint configurations particular design of the joint cross-sections
    • B29C66/11Joint cross-sections comprising a single joint-segment, i.e. one of the parts to be joined comprising a single joint-segment in the joint cross-section
    • B29C66/112Single lapped joints
    • B29C66/1122Single lap to lap joints, i.e. overlap joints
    • BPERFORMING OPERATIONS; TRANSPORTING
    • B29WORKING OF PLASTICS; WORKING OF SUBSTANCES IN A PLASTIC STATE IN GENERAL
    • B29CSHAPING OR JOINING OF PLASTICS; SHAPING OF MATERIAL IN A PLASTIC STATE, NOT OTHERWISE PROVIDED FOR; AFTER-TREATMENT OF THE SHAPED PRODUCTS, e.g. REPAIRING
    • B29C66/00General aspects of processes or apparatus for joining preformed parts
    • B29C66/40General aspects of joining substantially flat articles, e.g. plates, sheets or web-like materials; Making flat seams in tubular or hollow articles; Joining single elements to substantially flat surfaces
    • B29C66/41Joining substantially flat articles ; Making flat seams in tubular or hollow articles
    • B29C66/43Joining a relatively small portion of the surface of said articles
    • BPERFORMING OPERATIONS; TRANSPORTING
    • B29WORKING OF PLASTICS; WORKING OF SUBSTANCES IN A PLASTIC STATE IN GENERAL
    • B29CSHAPING OR JOINING OF PLASTICS; SHAPING OF MATERIAL IN A PLASTIC STATE, NOT OTHERWISE PROVIDED FOR; AFTER-TREATMENT OF THE SHAPED PRODUCTS, e.g. REPAIRING
    • B29C66/00General aspects of processes or apparatus for joining preformed parts
    • B29C66/50General aspects of joining tubular articles; General aspects of joining long products, i.e. bars or profiled elements; General aspects of joining single elements to tubular articles, hollow articles or bars; General aspects of joining several hollow-preforms to form hollow or tubular articles
    • B29C66/51Joining tubular articles, profiled elements or bars; Joining single elements to tubular articles, hollow articles or bars; Joining several hollow-preforms to form hollow or tubular articles
    • B29C66/52Joining tubular articles, bars or profiled elements
    • B29C66/522Joining tubular articles
    • B29C66/5225Joining tubular articles for forming cross-shaped connections, e.g. for making X-shaped pieces
    • B29C66/52251Joining tubular articles for forming cross-shaped connections, e.g. for making X-shaped pieces with four right angles, e.g. for making +-shaped pieces
    • BPERFORMING OPERATIONS; TRANSPORTING
    • B29WORKING OF PLASTICS; WORKING OF SUBSTANCES IN A PLASTIC STATE IN GENERAL
    • B29CSHAPING OR JOINING OF PLASTICS; SHAPING OF MATERIAL IN A PLASTIC STATE, NOT OTHERWISE PROVIDED FOR; AFTER-TREATMENT OF THE SHAPED PRODUCTS, e.g. REPAIRING
    • B29C66/00General aspects of processes or apparatus for joining preformed parts
    • B29C66/80General aspects of machine operations or constructions and parts thereof
    • BPERFORMING OPERATIONS; TRANSPORTING
    • B29WORKING OF PLASTICS; WORKING OF SUBSTANCES IN A PLASTIC STATE IN GENERAL
    • B29CSHAPING OR JOINING OF PLASTICS; SHAPING OF MATERIAL IN A PLASTIC STATE, NOT OTHERWISE PROVIDED FOR; AFTER-TREATMENT OF THE SHAPED PRODUCTS, e.g. REPAIRING
    • B29C66/00General aspects of processes or apparatus for joining preformed parts
    • B29C66/80General aspects of machine operations or constructions and parts thereof
    • B29C66/83General aspects of machine operations or constructions and parts thereof characterised by the movement of the joining or pressing tools
    • B29C66/834General aspects of machine operations or constructions and parts thereof characterised by the movement of the joining or pressing tools moving with the parts to be joined
    • B29C66/8341Roller, cylinder or drum types; Band or belt types; Ball types
    • B29C66/83411Roller, cylinder or drum types
    • B29C66/83413Roller, cylinder or drum types cooperating rollers, cylinders or drums
    • BPERFORMING OPERATIONS; TRANSPORTING
    • B29WORKING OF PLASTICS; WORKING OF SUBSTANCES IN A PLASTIC STATE IN GENERAL
    • B29CSHAPING OR JOINING OF PLASTICS; SHAPING OF MATERIAL IN A PLASTIC STATE, NOT OTHERWISE PROVIDED FOR; AFTER-TREATMENT OF THE SHAPED PRODUCTS, e.g. REPAIRING
    • B29C35/00Heating, cooling or curing, e.g. crosslinking or vulcanising; Apparatus therefor
    • B29C35/02Heating or curing, e.g. crosslinking or vulcanizing during moulding, e.g. in a mould
    • B29C35/08Heating or curing, e.g. crosslinking or vulcanizing during moulding, e.g. in a mould by wave energy or particle radiation
    • B29C35/0805Heating or curing, e.g. crosslinking or vulcanizing during moulding, e.g. in a mould by wave energy or particle radiation using electromagnetic radiation
    • B29C2035/0822Heating or curing, e.g. crosslinking or vulcanizing during moulding, e.g. in a mould by wave energy or particle radiation using electromagnetic radiation using IR radiation
    • BPERFORMING OPERATIONS; TRANSPORTING
    • B29WORKING OF PLASTICS; WORKING OF SUBSTANCES IN A PLASTIC STATE IN GENERAL
    • B29CSHAPING OR JOINING OF PLASTICS; SHAPING OF MATERIAL IN A PLASTIC STATE, NOT OTHERWISE PROVIDED FOR; AFTER-TREATMENT OF THE SHAPED PRODUCTS, e.g. REPAIRING
    • B29C65/00Joining or sealing of preformed parts, e.g. welding of plastics materials; Apparatus therefor
    • B29C65/02Joining or sealing of preformed parts, e.g. welding of plastics materials; Apparatus therefor by heating, with or without pressure
    • B29C65/14Joining or sealing of preformed parts, e.g. welding of plastics materials; Apparatus therefor by heating, with or without pressure using wave energy, i.e. electromagnetic radiation, or particle radiation
    • B29C65/16Laser beams
    • B29C65/1677Laser beams making use of an absorber or impact modifier
    • B29C65/168Laser beams making use of an absorber or impact modifier placed at the interface
    • BPERFORMING OPERATIONS; TRANSPORTING
    • B29WORKING OF PLASTICS; WORKING OF SUBSTANCES IN A PLASTIC STATE IN GENERAL
    • B29CSHAPING OR JOINING OF PLASTICS; SHAPING OF MATERIAL IN A PLASTIC STATE, NOT OTHERWISE PROVIDED FOR; AFTER-TREATMENT OF THE SHAPED PRODUCTS, e.g. REPAIRING
    • B29C66/00General aspects of processes or apparatus for joining preformed parts
    • B29C66/70General aspects of processes or apparatus for joining preformed parts characterised by the composition, physical properties or the structure of the material of the parts to be joined; Joining with non-plastics material
    • B29C66/73General aspects of processes or apparatus for joining preformed parts characterised by the composition, physical properties or the structure of the material of the parts to be joined; Joining with non-plastics material characterised by the intensive physical properties of the material of the parts to be joined, by the optical properties of the material of the parts to be joined, by the extensive physical properties of the parts to be joined, by the state of the material of the parts to be joined or by the material of the parts to be joined being a thermoplastic or a thermoset
    • B29C66/739General aspects of processes or apparatus for joining preformed parts characterised by the composition, physical properties or the structure of the material of the parts to be joined; Joining with non-plastics material characterised by the intensive physical properties of the material of the parts to be joined, by the optical properties of the material of the parts to be joined, by the extensive physical properties of the parts to be joined, by the state of the material of the parts to be joined or by the material of the parts to be joined being a thermoplastic or a thermoset characterised by the material of the parts to be joined being a thermoplastic or a thermoset
    • B29C66/7392General aspects of processes or apparatus for joining preformed parts characterised by the composition, physical properties or the structure of the material of the parts to be joined; Joining with non-plastics material characterised by the intensive physical properties of the material of the parts to be joined, by the optical properties of the material of the parts to be joined, by the extensive physical properties of the parts to be joined, by the state of the material of the parts to be joined or by the material of the parts to be joined being a thermoplastic or a thermoset characterised by the material of the parts to be joined being a thermoplastic or a thermoset characterised by the material of at least one of the parts being a thermoplastic
    • B29C66/73921General aspects of processes or apparatus for joining preformed parts characterised by the composition, physical properties or the structure of the material of the parts to be joined; Joining with non-plastics material characterised by the intensive physical properties of the material of the parts to be joined, by the optical properties of the material of the parts to be joined, by the extensive physical properties of the parts to be joined, by the state of the material of the parts to be joined or by the material of the parts to be joined being a thermoplastic or a thermoset characterised by the material of the parts to be joined being a thermoplastic or a thermoset characterised by the material of at least one of the parts being a thermoplastic characterised by the materials of both parts being thermoplastics
    • BPERFORMING OPERATIONS; TRANSPORTING
    • B29WORKING OF PLASTICS; WORKING OF SUBSTANCES IN A PLASTIC STATE IN GENERAL
    • B29CSHAPING OR JOINING OF PLASTICS; SHAPING OF MATERIAL IN A PLASTIC STATE, NOT OTHERWISE PROVIDED FOR; AFTER-TREATMENT OF THE SHAPED PRODUCTS, e.g. REPAIRING
    • B29C66/00General aspects of processes or apparatus for joining preformed parts
    • B29C66/80General aspects of machine operations or constructions and parts thereof
    • B29C66/81General aspects of the pressing elements, i.e. the elements applying pressure on the parts to be joined in the area to be joined, e.g. the welding jaws or clamps
    • B29C66/812General aspects of the pressing elements, i.e. the elements applying pressure on the parts to be joined in the area to be joined, e.g. the welding jaws or clamps characterised by the composition, by the structure, by the intensive physical properties or by the optical properties of the material constituting the pressing elements, e.g. constituting the welding jaws or clamps
    • B29C66/8126General aspects of the pressing elements, i.e. the elements applying pressure on the parts to be joined in the area to be joined, e.g. the welding jaws or clamps characterised by the composition, by the structure, by the intensive physical properties or by the optical properties of the material constituting the pressing elements, e.g. constituting the welding jaws or clamps characterised by the intensive physical properties or by the optical properties of the material constituting the pressing elements, e.g. constituting the welding jaws or clamps
    • B29C66/81262Electrical and dielectric properties, e.g. electrical conductivity
    • B29C66/81263Dielectric properties
    • BPERFORMING OPERATIONS; TRANSPORTING
    • B29WORKING OF PLASTICS; WORKING OF SUBSTANCES IN A PLASTIC STATE IN GENERAL
    • B29KINDEXING SCHEME ASSOCIATED WITH SUBCLASSES B29B, B29C OR B29D, RELATING TO MOULDING MATERIALS OR TO MATERIALS FOR MOULDS, REINFORCEMENTS, FILLERS OR PREFORMED PARTS, e.g. INSERTS
    • B29K2101/00Use of unspecified macromolecular compounds as moulding material
    • B29K2101/12Thermoplastic materials
    • BPERFORMING OPERATIONS; TRANSPORTING
    • B29WORKING OF PLASTICS; WORKING OF SUBSTANCES IN A PLASTIC STATE IN GENERAL
    • B29LINDEXING SCHEME ASSOCIATED WITH SUBCLASS B29C, RELATING TO PARTICULAR ARTICLES
    • B29L2031/00Other particular articles
    • B29L2031/24Pipe joints or couplings
    • BPERFORMING OPERATIONS; TRANSPORTING
    • B29WORKING OF PLASTICS; WORKING OF SUBSTANCES IN A PLASTIC STATE IN GENERAL
    • B29LINDEXING SCHEME ASSOCIATED WITH SUBCLASS B29C, RELATING TO PARTICULAR ARTICLES
    • B29L2031/00Other particular articles
    • B29L2031/24Pipe joints or couplings
    • B29L2031/243Elbows

Landscapes

  • Physics & Mathematics (AREA)
  • Engineering & Computer Science (AREA)
  • Mechanical Engineering (AREA)
  • Optics & Photonics (AREA)
  • Electromagnetism (AREA)
  • Health & Medical Sciences (AREA)
  • Toxicology (AREA)
  • Lining Or Joining Of Plastics Or The Like (AREA)
  • Laser Beam Processing (AREA)

Description

本出願は、米国特許仮出願第60/927,898号(「Photon Recirculator For Plastics welding And Method Of Plastic Welding」、2007年5月4日出願)の優先権を主張するものである。この出願の開示内容は参照により本明細書内に組み込まれる。
本開示は、プラスチック溶接に関し、特に、プラスチック部品のレーザー溶接に関する。
レーザー溶接は、一般に、熱可塑性部品などのプラスチックまたは樹脂性の部品を溶接部で接合するのに使用される。このようなレーザーを使用する例は米国特許第4,636,609号明細書に記載されている。この出願は、明確に参照により本明細書内に組み込まれる。
知られているように、レーザーは、特定の周波数で半集束性ビームを電磁放射(すなわち、コヒーレント単色放射)する。利用できる多数のタイプのレーザーがあるが、赤外レーザー光源または非コヒーレント光源は、溶接部を加熱する際に使用するための放射エネルギーの比較的経済的な光源となる。赤外線溶接の具体的な一例は、TTIr(Through−Transmission Infrared)溶接として知られている。TTIr溶接は、レンズ、回折光学素子、光ファイバ、導波路、導光管、導光体によって、第1のプラスチック部品を通過して第2のプラスチック部品とへ入るように方向付けられる赤外線放射を生成することができる赤外レーザーを使用する。この第1のプラスチック部品は、一般に、レーザーからのレーザービームを通過させることができるので、透過片と呼ばれることが多い。一方、第2のプラスチック部品は、一般に、レーザービームの放射エネルギーを吸収して溶接部で熱を発生させるので、吸収片と呼ばれることが多い。溶接部のこの熱が、透過片と吸収片とを溶融し、密接に接触させて、互いに溶接する。
図1Aおよび図1Bを参照すると、プラスチックのレーザー溶接のための典型的なTTIr(スルートランスミッション赤外線システム)100および100’が示されている。赤外レーザー光の光源104からの赤外レーザー光のビーム102は、溶接されるプラスチック部品106、108に方向付けられる。赤外レーザー光は、透過プラスチック部品106を通過して、透過プラスチック部と吸収プラスチック部品108との接合部である溶接界面110まで進む。溶接界面110は、当該技術分野では、溶接部位、溶接領域、または溶接範囲と呼ばれることもある。赤外吸収添加剤112が溶接界面110に添加されてもよい(図1A)。レーザー光の吸収は、部分106と108との接合部である溶接界面を加熱し、溶接界面110で両方のプラスチック部品106と108とを溶融する。適当な時間の後、レーザー光は、例えば、レーザー光源102を消すことで取り除かれ、その後、溶接界面110で溶融したプラスチックは冷却され、このようにして2つのプラスチック部品106、108が互いに溶接される。
第2の吸収プラスチック部品108、または溶接界面110で使用される赤外吸収添加剤112は、赤外光の比較的低吸収性の吸収体である場合が多い。114で示すように、赤外レーザー光102の大部分は部品106、108を通過し、部品108から出てしまい、工程中に無駄になってしまう。
低吸収性の吸収体では、溶接部を形成する溶接界面110に伝えられるレーザーエネルギーは低すぎる、または溶接部を形成する溶接界面110で十分なエネルギーに変換するのに比較的高いレーザーエネルギーが必要である。
本開示の態様によれば、低吸収TTIr工程で溶接されるプラスチック部品を通過した吸収されなかった赤外レーザー光は、工程内で再吸収されるために低吸収の溶接界面まで再循環される。赤外レーザー光のビームは溶接されるプラスチック部品の第1の透過部品と第2の吸収(または部分吸収)部品に方向付けられる。赤外レーザー光は透過部品に入射して、最初に溶接される透過部品を通過して、2つの部品の接合部である溶接界面まで進む。溶接界面では、赤外レーザー光は赤外吸収添加剤によって部分的に吸収されるか、赤外レーザー光は吸収部品によって部分的に吸収される、もしくはその両方によって吸収される。吸収されない赤外レーザー光の一部は、そのまま吸収部品を通過して、反対側から出射する。その後、赤外レーザー光は溶接界面の方向に再度方向付けられる。2回目の通過(および任意のその後の通過)で、より多量の赤外レーザー光が部分吸収媒体(赤外吸収添加剤、吸収部品、またはその両方)内で吸収される。
一態様では、部品は、透過部品が吸収部品を同軸に囲む管状部品である。赤外レーザー光は、管状部品を同軸に囲む円筒ミラーを使用して再度方向付けられる。
一態様では、円筒ミラーは赤外レーザー光が最終的に全ての方向から管状部品に入射するように赤外レーザー光を再度方向付ける。
さらに適用できる分野は、本明細書内の説明から明らかになる。説明および特定の例は、単なる一例であって、本開示の範囲を限定するものではないことを理解すべきである。
本明細書内の図面は、単なる例示であって、決して本開示の範囲を限定するものではない。
赤外レーザー光を使用してプラスチック部品を溶接するための先行技術の低吸収TTIrレーザー溶接システムの概略図である。 赤外レーザー光を使用してプラスチック部品を溶接するための先行技術の低吸収TTIrレーザー溶接システムの概略図である。 本開示の一態様に従って、溶接される部品の間にある溶接界面まで赤外レーザー光を再度方向付けるための無限ループを有する低吸収TTIrレーザー溶接システムの概略図である。 本開示の一態様に従って、溶接界面まで赤外レーザー光の複数の経路を再度方向付けるための無限ループを有する低吸収TTIrレーザー溶接システムの概略図である。 低吸収TTIrレーザー溶接システムの溶接管状部品内の赤外レーザー光の先行技術による分散を示す概略図である。 吸収されなかった赤外レーザー光が管状部品に再循環される、低吸収TTIrレーザー溶接システムの溶接管状部品の概略図である。 溶接管状部品の1つが継ぎ手であり、吸収されなかった赤外レーザー光が管状部品に再循環される、低吸収TTIrレーザー溶接システムの溶接管状部品の概略図である。
以下の説明は、本来は単なる例であって、本開示、適用、または使用を限定するものではない。図面全体にわたって、対応する符号は同じまたは対応する部品および機能を示すことを理解すべきである。
本開示の一態様によれば、低吸収TTIr工程を使用して溶接されるプラスチック部品を通過した吸収されなかった赤外レーザー光は、工程内で再吸収されるために低吸収の溶接界面の方向に再循環して戻される。赤外レーザー光のビームは、溶接されるプラスチック部品、つまり第1の透過部品と第2の吸収(または部分吸収)部品に方向付けられる。赤外レーザー光は透過部品に入射して、まず溶接される透過部品を通過して、2つの部品の接合部である溶接界面まで進む。溶接界面では、赤外レーザー光が赤外吸収添加剤によって部分的に吸収されるか、赤外レーザー光が吸収部品によって部分的に吸収されるか、またはその両方によって吸収される。
吸収されない赤外レーザー光の一部は、そのまま吸収部品を通過し、反対側から出射する。その後、この赤外レーザー光は、ミラー、導波路、または光ファイバのいずれかを使用して溶接界面の方向に再度方向付けられる。2回目の通過で、より多量の赤外レーザー光が部分的に吸収する媒体(赤外吸収添加剤、吸収部品、またはその両方)内で吸収される。
さらに、2回目の通過でも、吸収されず、溶接される部品を通過する赤外レーザー光が一部ある。この赤外レーザー光は、再び溶接界面の方向に再度方向付けられることも可能である。この工程は何度も繰り返され、いくつかの変形形態では、無限に繰り返される可能性がある。それぞれの通過での赤外レーザー光の絶対的な吸収率は低くても、最終的には高い割合の赤外レーザー光が溶接界面で吸収されることになる。
赤外レーザー光が溶接される部品に再度方向付けられる場合、元の入射光と同じ方向に再度方向付けられ得るか、または溶接領域の方向に向けて他のある角度から再度方向付けられ得る。図2は、無限ループを有する光子再循環器202を有するレーザー溶接システム200を示す図である。図2に示された実施形態では、無限の光子再循環器は、赤外レーザー光が吸収部品108から出射した場所からレーザー光が最初に透過部品106に入射した場所に戻るまで延びる光ファイバループ204を含む。赤外レーザー光102の光源104から直接透過部品に最初に入射された赤外レーザー光102と同じ方向に赤外レーザー光を再度方向付けることによって、図2に示されたように無限ループが構成される。
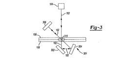
変形形態では、赤外レーザー光は別の角度から溶接界面の方向に再度方向付けられる、すなわち、元の入射された赤外レーザー光の方向と異なる方向で溶接界面の方向に再度方向付けられる。この変形形態では、図3に示されたように、複数の通過角度が例として設定されており、赤外レーザー光の経路は1つ以上のミラーによって再度方向付けられて、溶接界面110を赤外レーザー光102が2回以上通過する光子再循環器301を備えることができる。図3に示された実施形態では、レーザー溶接システム300は、例えば、3つのミラー302、304、306などの複数のミラーを含む。赤外レーザー光102のビームは、溶接される部品106、108に方向付けられる。赤外レーザー光102は最初に、透過部品106を通過して溶接界面110まで進む。吸収されない赤外レーザー光102の一部は、ミラー302によってミラー304に向けて反射され、ミラー304によって部品106、108まで戻り、ここで溶接界面110を通過する。ミラー304によって反射され、透過部品106を出射する赤外レーザー光102の吸収されなかった部分は、ミラー306によって反射されて部品106、108に戻り、ここで溶接界面110を通過する。ミラー306によって反射された赤外レーザー光102の吸収されなかった部分は、ミラー304によって、赤外レーザー光102を反射して部品106、108に戻すミラー302に向けて反射され、ここで溶接界面110を通過する。図3の実施形態では、赤外レーザー光102は部品106、108、および溶接界面110を4回通過することになる。
図4を参照すると、管状プラスチック部品では、管状部品402、404上に入射する赤外レーザー光102は、赤外レーザー光が管状部品402、404を通過する時に管状部品402、404がレンズを形成するように反射する。このことで、図4に示されるように、赤外レーザー光102が外側部品402上に最初に入射した面の反対側に赤外レーザー光102がほぼ半円状に分散する。例示では、部品402は透過プラスチック部品であり、吸収プラスチック部品である部品404を同軸に囲む。
図5は、分散した赤外レーザー光102を溶接される部品402、404まで再循環させる光子再循環器502を有するレーザー溶接システム500を示す図である。図5の実施形態では、光子再循環器502は、管状部品402、404の周囲に同軸上に配置された円筒ミラー504を含む。例示では、円筒ミラー504は、赤外レーザー光102が赤外レーザー光源104によって方向付けられる開口部を含む。円筒ミラー504は分散した赤外レーザー光102を反射して、分散した赤外レーザー光を管状部品402、404まで再循環させる。円筒ミラー504は、図5に示されるように、レーザー光を再循環し続けて、最終的に赤外レーザー光が溶接される管状部品402、404の周囲の全方向から入射するような形状となる。最終的に、レーザー光102の多くはは、溶接工程で使用される低吸収性の吸収体により吸収される。この吸収体は、吸収プラスチック部品404であるか、管状部品402、404の接合部に配置される赤外吸収添加剤112(図1)のような赤外吸収添加剤であるか、またはその両方である。
円筒ミラー504は、連続円筒体でなくてもよいことを理解すべきである。例えば、円筒ミラー504は、管状部品402、404を円筒ミラー504に出し入れするためのコンベヤシステムの使用を容易にするスロットを含んでもよい。
図6は、管状部品604が接合部、エルボ、ユニオンなどの継ぎ手である管状部品602、604を溶接するのに使用するためのレーザー溶接システム600を示す図である。例示では、管状部品602の端部は継ぎ手604で受承される。この実施形態では、部品602、604の互いに当接する表面が溶接界面である。例示では、継ぎ手604は透過部品であり、管状部品602は吸収部品である。管状部品602が透過部品で、継ぎ手604が吸収部品であってもよいことを理解すべきである。この場合、継ぎ手604は、例示では、継ぎ手602の端部で受承される。また、赤外吸収添加剤が管状部品602と接合部604との間の溶接界面(複数可)に配置されてもよいことを理解すべきである。
レーザー溶接システム600は、部品602、604を通過するレーザー光102を再循環させる光子再循環器606を含む。レーザー光102は部品602、604によって分散され、溶接界面110に戻る。光子再循環器606は、球面ミラー608を含む。図6の実施形態では、球面ミラー608は、対向する第1および第2の半球面ミラー610を含み、互いに空間612だけ離間して部品602、604を光子再循環器606内に配置するのを容易にする。
ミラー、導波路、または光ファイバが、赤外レーザー光を再度方向付けるのに使用されてもよいことを理解すべきである。ミラーは効率が高いという利点がある。導波路および光ファイバは、ミラーを使用した場合に必要な直線の光路より形状が柔軟であるという利点がある。導波路および光ファイバは、ミラー列よりも受光角が大きく、無限ループ構成で使用するには都合がよい。
赤外レーザー光は、何度も通過するように溶接界面に再度方向付けられ得る。追加で一回、またはより少ない回数で通過するのは、簡潔さという点では利点がある。多数回の通過するのは、溶接される部品による全吸収効率が高くなるという利点がある。
有利には、管状部品と同軸の円筒ミラーの配置が、赤外レーザー光を溶接される管状部品に全角度から方向付けることができ、溶接工程で低吸収性の吸収体の全吸収効率を高くする再循環の無限ループを構成する。
ミラーは、高い反射効率の薄膜コーティングの金属製としてもよいし、反射プリズムとしてもよい。導波路は、正透過誘電体の導波路か、または負反射の導波路としてもよい。光ファイバは、単一モードファイバ、マルチモードファイバ、セルフォックファイバ、ホーリーファイバ、ホローファイバとしてもよい。
溶接されるプラスチック部品は、溶接界面で赤外吸収添加剤を使用することができ、または一方の(または両方の)部品に赤外体積吸収体(volume infrared absorber)を使用することができる。赤外再循環では、赤外吸収体は全吸収体ではないので、最初の通過から赤外光の一部が溶接される部品から漏れ出ると推測される。
工程で使用される赤外レーザー光は、赤外レーザー光源または広帯域赤外線源とすることができる。平行赤外レーザーはより方向付けしやすく、したがってよりミラーとの適用性に優れる。
赤外レーザー光の再循環は溶接効率を非常に高くするので、それ以外では溶接できなかった低吸収の工程での部品の溶接が可能になる。レーザー光または広帯域赤外レーザー光のパワーをより少なくして使用する必要があるので、溶接機械のコストを下げることにつながる。
管状部品に対して赤外レーザー光を再循環させることで、工程での全体の吸収効率を改善し、かつ赤外光を全角度から管状組立部に伝えなければならない光学系の複雑さを低減することができる。

Claims (6)

  1. 低吸収スルートランスミッション赤外線溶接工程において、透過部品と吸収部品とを含むプラスチック部品を溶接する方法であって、
    赤外レーザー光の光源から赤外レーザー光のビームを部品に方向付けるステップであって、赤外レーザー光のビームが透過部品に入射し、透過部品を通過して透過部品と吸収部品との接合部である溶接界面まで進み、赤外レーザー光の一部が吸収部品を通過して吸収部品から出射するステップと、
    吸収されなかった赤外レーザー光を、光ファイバを使用して溶接界面の方向に再度方向付け、赤外レーザー光の全吸収を高めるステップとを含む、前記方法。
  2. 吸収されなかった赤外レーザー光を再度方向付けて、赤外レーザー光が最初に透過部品に入射した方向と同じ方向で透過部品上に入射するステップを含む、請求項1に記載の方法。
  3. 吸収されなかった赤外レーザー光を、赤外レーザー光が最初に透過部品に入射した方向とは異なる方向に再度方向付けるステップを含む、請求項1に記載の方法。
  4. 吸収されなかった赤外レーザー光を、溶接界面を通過する無限ループ内で再度方向付けるステップを含む、請求項1に記載の方法。
  5. 低吸収スルートランスミッション赤外線溶接工程を使用して、透過部品と吸収部品とを含むプラスチック部品を溶接するための赤外レーザー溶接システムであって、
    赤外レーザー光の光源と、
    吸収されなかった赤外レーザー光をプラスチック部品の接合部である溶接界面に再度方向付ける、光ファイバを含む光子再循環器とを備える、システム。
  6. 光ファイバが、吸収されなかった赤外レーザー光が吸収部品から出射した場所から赤外レーザー光が最初に透過部品に入射した場所まで延びる、請求項に記載のシステム
JP2010506337A 2007-05-04 2008-05-05 吸収されなかった赤外レーザー光の再循環により赤外レーザー光の吸収を高めるプラスチック赤外線溶接 Expired - Fee Related JP5313232B2 (ja)

Applications Claiming Priority (3)

Application Number Priority Date Filing Date Title
US92789807P 2007-05-04 2007-05-04
US60/927,898 2007-05-04
PCT/US2008/005766 WO2008137131A1 (en) 2007-05-04 2008-05-05 Infrared plastic welding with recirculation of unabsorbed infrared laser light to increase absorption of infrared laser light

Related Child Applications (2)

Application Number Title Priority Date Filing Date
JP2013089078A Division JP5517178B2 (ja) 2007-05-04 2013-04-22 吸収されなかった赤外レーザー光の再循環により赤外レーザー光の吸収を高めるプラスチック赤外線溶接
JP2013089077A Division JP5517177B2 (ja) 2007-05-04 2013-04-22 吸収されなかった赤外レーザー光の再循環により赤外レーザー光の吸収を高めるプラスチック赤外線溶接

Publications (2)

Publication Number Publication Date
JP2010527296A JP2010527296A (ja) 2010-08-12
JP5313232B2 true JP5313232B2 (ja) 2013-10-09

Family

ID=39939002

Family Applications (3)

Application Number Title Priority Date Filing Date
JP2010506337A Expired - Fee Related JP5313232B2 (ja) 2007-05-04 2008-05-05 吸収されなかった赤外レーザー光の再循環により赤外レーザー光の吸収を高めるプラスチック赤外線溶接
JP2013089078A Active JP5517178B2 (ja) 2007-05-04 2013-04-22 吸収されなかった赤外レーザー光の再循環により赤外レーザー光の吸収を高めるプラスチック赤外線溶接
JP2013089077A Active JP5517177B2 (ja) 2007-05-04 2013-04-22 吸収されなかった赤外レーザー光の再循環により赤外レーザー光の吸収を高めるプラスチック赤外線溶接

Family Applications After (2)

Application Number Title Priority Date Filing Date
JP2013089078A Active JP5517178B2 (ja) 2007-05-04 2013-04-22 吸収されなかった赤外レーザー光の再循環により赤外レーザー光の吸収を高めるプラスチック赤外線溶接
JP2013089077A Active JP5517177B2 (ja) 2007-05-04 2013-04-22 吸収されなかった赤外レーザー光の再循環により赤外レーザー光の吸収を高めるプラスチック赤外線溶接

Country Status (6)

Country Link
US (2) US8100161B2 (ja)
JP (3) JP5313232B2 (ja)
CN (1) CN101681015B (ja)
CH (1) CH699013B1 (ja)
DE (1) DE112008001167T5 (ja)
WO (1) WO2008137131A1 (ja)

Families Citing this family (11)

* Cited by examiner, † Cited by third party
Publication number Priority date Publication date Assignee Title
US20070047932A1 (en) * 2005-08-31 2007-03-01 Branson Ultrasonics Corporation Waveguide for plastics welding using an incoherent infrared light source
US8778120B2 (en) * 2006-04-06 2014-07-15 Fresenius Medical Care Deutschland Gmbh Transmission laser welding method for connecting shaped plastic bodies
JP5957717B2 (ja) * 2012-03-28 2016-07-27 精電舎電子工業株式会社 レーザ溶着方法、レーザ溶着装置
CN103486476B (zh) * 2013-09-27 2015-05-20 重庆大学 一种光纤灯丝球泡灯
CN107379560B (zh) * 2017-07-28 2019-05-31 江苏大学 一种塑料焊接装置及其方法
CN109353011B (zh) * 2018-10-30 2021-07-20 大族激光科技产业集团股份有限公司 激光焊接塑料的监测方法
US11931823B2 (en) 2019-02-05 2024-03-19 Dukane Ias, Llc Systems and methods for laser-welding a workpiece with a laser beam that reaches inaccessible areas of the workpiece using multiple reflecting parts
US10926355B2 (en) * 2019-02-05 2021-02-23 Dukane Ias, Llc Systems and methods for laser-welding tubular components using a single, fixed optical reflector with multiple reflecting surfaces
US11819940B2 (en) 2019-02-05 2023-11-21 Dukane Ias, Llc Systems and methods for laser-welding a workpiece with a laser beam that reaches inaccessible areas of the workpiece using multiple reflecting parts
CN115889989A (zh) * 2021-10-19 2023-04-04 威克锐光电科技(苏州)有限公司 一种具有兼容功能的激光塑料焊接工艺
CN116852726A (zh) * 2023-07-24 2023-10-10 中南大学 一种双层透明塑料件激光焊接方法

Family Cites Families (22)

* Cited by examiner, † Cited by third party
Publication number Priority date Publication date Assignee Title
JPS60214931A (ja) 1984-04-10 1985-10-28 Toyota Motor Corp 異種合成樹脂材料の接合方法
CH674954A5 (ja) * 1988-02-02 1990-08-15 Graf & Co Ag
US5115761A (en) * 1990-10-09 1992-05-26 Efos Inc. Light curing apparatus for a continuous linear product
US5225244A (en) * 1990-12-17 1993-07-06 Allied-Signal Inc. Polymeric anti-reflection coatings and coated articles
JPH0676929U (ja) * 1993-03-31 1994-10-28 カシオ計算機株式会社 高分子分散型液晶表示素子の製造装置
DE29712264U1 (de) * 1997-07-11 1998-11-12 Sator Alexander Paul Vorrichtung zum Verschweißen der Enden von rohrförmigen Behältern, insbesondere von Tuben
US6002110A (en) * 1998-01-16 1999-12-14 Lockheed Martin Energy Research Corporation Method of using infrared radiation for assembling a first component with a second component
US20020100540A1 (en) * 1998-07-10 2002-08-01 Alexander Savitski Simultaneous butt and lap joints
JP2000219214A (ja) * 1999-01-29 2000-08-08 Sig Pack Syst Ag 特に包装装置内において包装用フィルムを封着するためのフィルム封着装置
AU2001255284A1 (en) * 2000-04-11 2001-10-23 Branson Ultrasonics Corp. Light guide for laser welding
US6860960B1 (en) * 2000-09-05 2005-03-01 Scimed Life Systems, Inc. Method of applying a laser beam around the circumference of a catheter
US7318878B2 (en) * 2000-09-28 2008-01-15 Oce Printing Systems Gmbh Method and device for producing continuous belts from plastic films
CN100389019C (zh) * 2001-11-07 2008-05-21 黑﨑晏夫 热塑性树脂铸件的焊接方法
US6858104B2 (en) * 2002-01-28 2005-02-22 Scimed Life Systems, Inc. Apparatus and method for closed-loop control of laser welder for welding polymeric catheter components
US6905572B2 (en) * 2002-05-30 2005-06-14 Xerox Corporation Flexible imaging member seam treatment apparatus
US6713713B1 (en) * 2002-12-18 2004-03-30 Branson Ultrasonics Corporation Lens to adapt laser intensity for uniform welding
US7344671B2 (en) * 2003-11-26 2008-03-18 Glopak Inc. Optical sealing clamp and a method for sealing and cutting polymeric sheets with a laser
US20050121424A1 (en) * 2003-12-05 2005-06-09 Scott Caldwell Optical horned lightpipe or lightguide
US20050205534A1 (en) * 2004-03-18 2005-09-22 Scott Caldwell Single and dual lensed optical waveguide for uniform welding
US20070047932A1 (en) * 2005-08-31 2007-03-01 Branson Ultrasonics Corporation Waveguide for plastics welding using an incoherent infrared light source
US8778120B2 (en) * 2006-04-06 2014-07-15 Fresenius Medical Care Deutschland Gmbh Transmission laser welding method for connecting shaped plastic bodies
US7343218B2 (en) * 2006-05-09 2008-03-11 Branson Ultrasonics Corporation Automatic part feedback compensation for laser plastics welding

Also Published As

Publication number Publication date
US8343299B2 (en) 2013-01-01
CH699013B1 (fr) 2013-09-30
US20120085491A1 (en) 2012-04-12
JP5517178B2 (ja) 2014-06-11
JP5517177B2 (ja) 2014-06-11
WO2008137131A1 (en) 2008-11-13
JP2013166379A (ja) 2013-08-29
CN101681015A (zh) 2010-03-24
DE112008001167T5 (de) 2010-03-04
JP2013176991A (ja) 2013-09-09
US8100161B2 (en) 2012-01-24
JP2010527296A (ja) 2010-08-12
CN101681015B (zh) 2012-04-04
US20080272521A1 (en) 2008-11-06

Similar Documents

Publication Publication Date Title
JP5517177B2 (ja) 吸収されなかった赤外レーザー光の再循環により赤外レーザー光の吸収を高めるプラスチック赤外線溶接
US6528755B2 (en) Light guide for laser welding
US6595673B1 (en) Coupling of high intensity light into low melting point fiber optics using polygonal homogenizers
US20050121424A1 (en) Optical horned lightpipe or lightguide
JP2010503557A (ja) 非干渉赤外線光源を用いたプラスチック溶接用の導波路
US7285744B2 (en) Method and apparatus for simultaneously heating materials
CN111837063A (zh) 具备光束重叠机构的光纤束
JP2004195552A (ja) レーザー溶接用レンズ組立部品
US20050205534A1 (en) Single and dual lensed optical waveguide for uniform welding
CN104136961B (zh) 高功率激光系统
JP7516351B2 (ja) 光学部品および半導体レーザモジュール
JP6795638B2 (ja) プラスチック溶着用導波管、プラスチック溶着用組立体、溶着方法、並びに導波管の製造方法
WO2020138357A1 (ja) 光透過性部品の製造方法、及び、光透過性部品の製造システム
CN1949007B (zh) 光导以及光照射装置
CN212009177U (zh) 一种多束激光光路结构及激光熔接机
JP7177841B2 (ja) 狭い同時レーザプラスチック溶接のための導波路
TW201007237A (en) Hollow core waveguide for laser generation of ultrasonic waves
KR102578874B1 (ko) 라이센스 램프 제조 시스템 및 이에 의해 수행되는 제조 방법
JP2008286948A (ja) 融着接続方法
JPH10166453A (ja) プラスチックの融着装置
JPS5857722B2 (ja) 光フアイバ接続器
CN204129285U (zh) 光能传输系统及材料加工系统
CN106881872A (zh) 多层塑料的多波长激光焊接方法及多波长激光装置
KR20200063995A (ko) 플라스틱 용접을 위한 도파관 세그먼트, 플라스틱 용접을 위한 장치, 용접 방법, 및 도파관 세그먼트의 제조 방법
JPH07250025A (ja) 光通信システムの信号伝送方法

Legal Events

Date Code Title Description
A621 Written request for application examination

Free format text: JAPANESE INTERMEDIATE CODE: A621

Effective date: 20110406

A977 Report on retrieval

Free format text: JAPANESE INTERMEDIATE CODE: A971007

Effective date: 20121024

A131 Notification of reasons for refusal

Free format text: JAPANESE INTERMEDIATE CODE: A131

Effective date: 20121030

A601 Written request for extension of time

Free format text: JAPANESE INTERMEDIATE CODE: A601

Effective date: 20130124

A602 Written permission of extension of time

Free format text: JAPANESE INTERMEDIATE CODE: A602

Effective date: 20130131

RD04 Notification of resignation of power of attorney

Free format text: JAPANESE INTERMEDIATE CODE: A7424

Effective date: 20130308

A521 Request for written amendment filed

Free format text: JAPANESE INTERMEDIATE CODE: A523

Effective date: 20130422

TRDD Decision of grant or rejection written
A01 Written decision to grant a patent or to grant a registration (utility model)

Free format text: JAPANESE INTERMEDIATE CODE: A01

Effective date: 20130604

A61 First payment of annual fees (during grant procedure)

Free format text: JAPANESE INTERMEDIATE CODE: A61

Effective date: 20130703

R150 Certificate of patent or registration of utility model

Free format text: JAPANESE INTERMEDIATE CODE: R150

Ref document number: 5313232

Country of ref document: JP

Free format text: JAPANESE INTERMEDIATE CODE: R150

R250 Receipt of annual fees

Free format text: JAPANESE INTERMEDIATE CODE: R250

R250 Receipt of annual fees

Free format text: JAPANESE INTERMEDIATE CODE: R250

R250 Receipt of annual fees

Free format text: JAPANESE INTERMEDIATE CODE: R250

R250 Receipt of annual fees

Free format text: JAPANESE INTERMEDIATE CODE: R250

LAPS Cancellation because of no payment of annual fees