JP5284499B2 - 電子機器 - Google Patents

電子機器 Download PDF

Info

Publication number
JP5284499B2
JP5284499B2 JP2012017983A JP2012017983A JP5284499B2 JP 5284499 B2 JP5284499 B2 JP 5284499B2 JP 2012017983 A JP2012017983 A JP 2012017983A JP 2012017983 A JP2012017983 A JP 2012017983A JP 5284499 B2 JP5284499 B2 JP 5284499B2
Authority
JP
Japan
Prior art keywords
main body
shaft
arm
display
vicinity
Prior art date
Legal status (The legal status is an assumption and is not a legal conclusion. Google has not performed a legal analysis and makes no representation as to the accuracy of the status listed.)
Active
Application number
JP2012017983A
Other languages
English (en)
Other versions
JP2013156892A (ja
Inventor
雄二 中島
Current Assignee (The listed assignees may be inaccurate. Google has not performed a legal analysis and makes no representation or warranty as to the accuracy of the list.)
Toshiba Corp
Original Assignee
Toshiba Corp
Priority date (The priority date is an assumption and is not a legal conclusion. Google has not performed a legal analysis and makes no representation as to the accuracy of the date listed.)
Filing date
Publication date
Application filed by Toshiba Corp filed Critical Toshiba Corp
Priority to JP2012017983A priority Critical patent/JP5284499B2/ja
Priority to US13/692,976 priority patent/US9176525B2/en
Publication of JP2013156892A publication Critical patent/JP2013156892A/ja
Application granted granted Critical
Publication of JP5284499B2 publication Critical patent/JP5284499B2/ja
Active legal-status Critical Current
Anticipated expiration legal-status Critical

Links

Images

Classifications

    • GPHYSICS
    • G06COMPUTING OR CALCULATING; COUNTING
    • G06FELECTRIC DIGITAL DATA PROCESSING
    • G06F1/00Details not covered by groups G06F3/00 - G06F13/00 and G06F21/00
    • G06F1/16Constructional details or arrangements
    • G06F1/1613Constructional details or arrangements for portable computers
    • G06F1/1615Constructional details or arrangements for portable computers with several enclosures having relative motions, each enclosure supporting at least one I/O or computing function
    • G06F1/1616Constructional details or arrangements for portable computers with several enclosures having relative motions, each enclosure supporting at least one I/O or computing function with folding flat displays, e.g. laptop computers or notebooks having a clamshell configuration, with body parts pivoting to an open position around an axis parallel to the plane they define in closed position
    • GPHYSICS
    • G06COMPUTING OR CALCULATING; COUNTING
    • G06FELECTRIC DIGITAL DATA PROCESSING
    • G06F1/00Details not covered by groups G06F3/00 - G06F13/00 and G06F21/00
    • G06F1/16Constructional details or arrangements
    • G06F1/1613Constructional details or arrangements for portable computers
    • G06F1/1615Constructional details or arrangements for portable computers with several enclosures having relative motions, each enclosure supporting at least one I/O or computing function
    • G06F1/1616Constructional details or arrangements for portable computers with several enclosures having relative motions, each enclosure supporting at least one I/O or computing function with folding flat displays, e.g. laptop computers or notebooks having a clamshell configuration, with body parts pivoting to an open position around an axis parallel to the plane they define in closed position
    • G06F1/162Constructional details or arrangements for portable computers with several enclosures having relative motions, each enclosure supporting at least one I/O or computing function with folding flat displays, e.g. laptop computers or notebooks having a clamshell configuration, with body parts pivoting to an open position around an axis parallel to the plane they define in closed position changing, e.g. reversing, the face orientation of the screen with a two degrees of freedom mechanism, e.g. for folding into tablet PC like position or orienting towards the direction opposite to the user to show to a second user
    • GPHYSICS
    • G06COMPUTING OR CALCULATING; COUNTING
    • G06FELECTRIC DIGITAL DATA PROCESSING
    • G06F1/00Details not covered by groups G06F3/00 - G06F13/00 and G06F21/00
    • G06F1/16Constructional details or arrangements
    • G06F1/1613Constructional details or arrangements for portable computers
    • G06F1/1633Constructional details or arrangements of portable computers not specific to the type of enclosures covered by groups G06F1/1615 - G06F1/1626
    • G06F1/1656Details related to functional adaptations of the enclosure, e.g. to provide protection against EMI, shock, water, or to host detachable peripherals like a mouse or removable expansions units like PCMCIA cards, or to provide access to internal components for maintenance or to removable storage supports like CDs or DVDs, or to mechanically mount accessories
    • G06F1/1658Details related to functional adaptations of the enclosure, e.g. to provide protection against EMI, shock, water, or to host detachable peripherals like a mouse or removable expansions units like PCMCIA cards, or to provide access to internal components for maintenance or to removable storage supports like CDs or DVDs, or to mechanically mount accessories related to the mounting of internal components, e.g. disc drive or any other functional module

Landscapes

  • Engineering & Computer Science (AREA)
  • Computer Hardware Design (AREA)
  • Theoretical Computer Science (AREA)
  • Physics & Mathematics (AREA)
  • General Engineering & Computer Science (AREA)
  • Human Computer Interaction (AREA)
  • General Physics & Mathematics (AREA)
  • Mathematical Physics (AREA)
  • Casings For Electric Apparatus (AREA)

Description

本発明の実施形態は、表示部を有する電子機器に関する。
情報処理装置において、本体と蓋体とを回動アームで回動可能に連結したものが知られている。
特開平9−305262号公報
今日、ノートブック型のコンピュータや、タブレット型のコンピュータ等が広く普及している。ユーザの利便性を向上させる電子機器の形状が望まれる。
実施形態の電子機器は、後側の第1端部と、前側の第2端部と、前記第1端部および前記第2端部に連続する一対の第1側面と、を含んだ第1筐体と、前記第1側面の近傍で前後方向における中程に一対に設けられた第1軸と、を有した本体部と、一対の第2側面と、前記本体部に近い側の端部と、を含んだ第2筐体と、前記第2側面の近傍で前記本体部に近い側の端部の近傍に位置する一対の第2軸と、表示画面と、を有した表示部と、前記第1軸と前記第2軸とを連結するとともに途中に屈曲部を有し、前記第2軸を前記第1端部の近傍に位置させた第1位置と、前記第2軸を前記第2端部の近傍に位置させた第2位置と、の間で回動するように前記第1軸周りに回動可能な一対のアーム部と、前記アーム部が前記第2位置にあるときに、前記屈曲部で迂回された位置で前記本体部の前記第1側面の近傍に設けられた部品と、を備える。
第1の実施形態の電子機器の一例であるポータブルコンピュータを示した斜視図。 図1に示すポータブルコンピュータを後方から見た斜視図。 図1に示すポータブルコンピュータを左側から見た側面図。 図1に示すポータブルコンピュータの本体部の後方に設けられる凹部を示した斜視図。 図1に示すポータブルコンピュータに設けられる一対の窪み部を示した斜視図。 図1に示すポータブルコンピュータの一対のアーム部のうち、右側のアーム部を示した斜視図。 図1に示すポータブルコンピュータの本体部の水平方向に沿った断面図。 図1に示すポータブルコンピュータの表示部のマスクを取り外した状態で表示部内を示した平面図。 図1に示すポータブルコンピュータの本体キャビネットの第1ケースを取り外した状態で内部を示した斜視図。 図6に示すアーム部を長手方向と交差する方向に切断して示す断面図。 図1に示すポータブルコンピュータの可搬形態を示す斜視図。 図11に示すポータブルコンピュータの通常の使用形態を示す斜視図。 図12に示すポータブルコンピュータのアーム部を第1位置から第2位置に移動する途中の形態を示す斜視図。 図13に示すポータブルコンピュータのアーム部を第2位置にある第1のタブレット形態を示した斜視図。 図14に示すポータブルコンピュータの表示部を第2軸周りに回動させ、第2のタブレット形態とした状態を示した斜視図。 図12に示すポータブルコンピュータの本体部および表示部の一部を縦方向(アーム部の延びる方向に沿った方向)に切断して内部を示した斜視図。 図15に示すポータブルコンピュータの本体部および表示部の一部を縦方向(アーム部の延びる方向に沿った方向)に切断して内部を示した斜視図。 第2の実施形態の電子機器の一例であるポータブルコンピュータのアーム部が第1位置にある状態を示した断面図。 図18に示すポータブルコンピュータのアーム部が第2位置にある状態を示す断面図。 第3の実施形態の電子機器の一例であるポータブルコンピュータのアーム部が第1位置にある状態を示した斜視図。 図20に示すポータブルコンピュータのアーム部が第2位置にある状態を示す斜視図。
以下、図1から図17を参照して、電子機器の第1の実施形態について説明する。以下の実施形態では、手前側(即ちユーザ側)を前方向F、ユーザから見て奥側を後方向B、ユーザから見て左側を左方向L、ユーザから見て右側を右方向R、ユーザから見て上方を上方向U、ユーザから見て下方を下方向Dと定義する。前方向Fは、表示画面22Aが向いた方向(側)、或いはタッチパネル23の入力面が向いた方向(側)に対応する。後方向Bは、表示画面22Aが向いた方向(側)とは反対の方向(側)、或いはタッチパネル23の入力面が向いた方向(側)とは反対の方向(側)に対応する。右方向Rは、ユーザの右手側(右手の方向)、ユーザの右手で操作される方向(側)、或いはユーザの右手に近い方向(側)に対応する。左方向Lは、ユーザの左手側(左手の方向)、ユーザの左手で操作される方向(側)、或いはユーザの左手に近い方向(側)に対応する。上方向Uは、表示部13が配置される方向(側)、或いは本体部12のキーボードが設けられる方向(側)に対応する。下方向Dは、本体部が配置される方向(側)、或いは本体部のキーボードが設けられる方向(側)とは反対の方向(側)に対応する。
電子機器の一例であるポータブルコンピュータ11は、全体を統括的に制御するCPU等が実装された第1のプリント回路板83が設けられた本体部(第1ユニット)12と、表示画面22Aが設けられた表示部(第2ユニット)13と、本体部12と表示部13とを回動可能に連結した一対のアーム部14と、を備えている。
図1、図8、図9に示すように、表示部13は、ディスプレイキャビネット21(表示ケース、第2筐体)と、ディスプレイキャビネット21内に収納されるとともに、外部に露出された表示画面22Aに画像を表示させる表示パネル(表示装置、パネル)22と、表示パネル22よりも外側に設けられ表示パネル22の表面を覆うように外部に露出して設けられたタッチパネル23(タッチセンサ、検知部、検出部、覆い部)と、ディスプレイキャビネット21の一部に取り付けられるカメラ(レンズ、撮像部、撮像装置、電子部品)24と、ディスプレイキャビネット21の上部(表示パネル22よりも本体部から遠い側の端部)でディスプレイキャビネット21内に設けられるアンテナ(送信部、受信部、無線通信部)25と、表示パネル22の下側に隣接して(表示パネル22の近傍に、表示パネル22とは上下方向に並んで)設けられる第2のプリント回路板26と、ディスプレイキャビネット21内に設けられる第2金具27(第2支持部)と、第2金具27に回転可能に支持される第2軸28(第2回転中心、第2支え部)と、第2金具27をディスプレイキャビネット21のカバー33に固定するための固定部材31(ねじ、係合部)と、第2軸28にトルクを付与する第2付与部(第2ブレーキ部、第2抵抗ユニット)42と、を有している。本実施形態では、固定部材31がねじで構成されているが、固定部材31の例としてはこれに限定されるものではなく、ねじ以外に、係合用の爪部、フック、その他の部品・部材等であってもよい。
ディスプレイキャビネット21は、表示パネル22およびタッチパネル23の前方向Fを覆う枠状のマスク(第3ケース)32と、表示パネル22の後方向Bを覆うカバー(第4ケース)33と、を含んでいる。ディスプレイキャビネット21は、一方の端部34(本体部に表示パネル22よりも近い側の端部、一方の辺)と、一方の端部34とは反対側の他方の端部35(表示パネル22よりも本体部に遠い側の端部、他方の辺)と、表示画面22Aが露出される第3面36と、第3面36とは反対側の第4面37と、第3面36および第4面37と交差するとともに一方の端部34および他方の端部35と連続した一対の第2側面38と、を有している。第2軸28は、一方の端部34の近傍(一方の端部34に隣接した位置で、一方の端部34に沿って)に一対に設けられ、表示部13とアーム部(連結部、接続部)14とに亘っている。
図8に示すように、ディスプレイキャビネット21内には、本体部12の第1のプリント回路板83と表示部13の第2のプリント回路板26とを接続したハーネス41(LCDハーネス、ケーブル)の一部が配置されている。ハーネス41の一部は、ディスプレイキャビネット21の一方の端部34(表示パネル22よりも本体部に近い側の端部)付近からディスプレイキャビネット21内に通されて、第2金具27および固定部材31を迂回しつつ、ほぼ最短距離(一方の端部34に沿って直線的に延びて)で第2のプリント回路板26に接続される。このため、ハーネス41を通すためにディスプレイキャビネット21と表示パネル22との間に無駄なスペースを設ける必要がなく、ディスプレイキャビネット21が極力小さく構成される。
第2のプリント回路板26は、ケーブル等を介して表示パネル22およびタッチパネル23に接続される。第2のプリント回路板26は、例えば、表示パネル制御用の第1の回路部(回路部品、第1の制御部)26Aと、タッチパネル制御用の第2の回路部(回路部品、第2の制御部)26Bと、を有している。第2付与部42は、第2軸28にトルク(抵抗力)を付与して表示部13に対して第2軸28を回転しにくくし、これによって表示部13を任意の角度で保持・固定することができる。
図2に示すように、カバー33には、ディスプレイキャビネット21の第2側面38に沿って延びた溝状(スリット状、長穴状)の第2窪み部(第2開口部、第2凹所)43が、表示部13の左右方向の両端部に一対に設けられており、各第2窪み部43は、カバー33の表面からマスク32方向に向けて窪んでいる。第2窪み部43は、表示画面22Aを本体部12とは反対の方向に向けて表示部13が本体部12に重なるいわゆるタブレット形態(重複形態、折り畳み形態)で、その内側にアーム部14の一部(第2端53、第2部分54、屈曲部55等)を収納することができる(図17参照)。表示パネル22は、例えば、液晶ディスプレイパネルで構成されているが、例えばプラズマディスプレイパネル、有機EL、プラスチックディスプレイパネル、シートディスプレイパネル等、他の種類のディスプレイパネルであってもよい。
図1に示すように、一対のアーム部14は、表示部13および本体部12の左右両端部の近傍に設けられている。言い換えると、一対のアーム部14は、表示部13の第2側面38および本体部12の第1側面68の近傍に設けられている。このようなアーム部14の配置によって、表示部13および本体部12の内部の部品の実装に制約を与えない設計となっている。
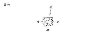
アーム部14の一方は、アーム部14の他方と左右対称形(鏡像)に形成されている。アーム部14のそれぞれは、剛性を有した(剛体からなる)棒状(ポール状、パイプ状、ダクト状)をなしており、より具体的には、第2位置P2にあるときに、全体として後述する第2コネクタ94(部品)のある方向とは反対側に凸になった(突出した、張り出した)弓形(円弧状、アーチ状)の棒状をなしている(図1、図17等参照)。アーム部14は、例えば合成樹脂材料によって断面(切り口)が方形(四角形)で中空(内側に空洞を有する)の形状に形成されている。アーム部14の材質は、合成樹脂材料に限られず、金属やその他の材料(例えば、セラミックス、繊維強化プラスチック(FRP)等)であってもよい。アーム部14の内部にある中空の部分が収納部を構成している。図9に示すように、左側のアーム部14の収納部内に本体部12の第1のプリント回路板83と表示部13の第2のプリント回路板26とを接続したハーネス41(LCDハーネス、ケーブル)が通される。右側のアーム部14の収納部内には、本体部12の第1のプリント回路板83と表示部13のカメラ24とを接続する第1ケーブル44と、本体部12の第1のプリント回路板83と表示部13のアンテナ25とを接続する第2ケーブル45と、が通される。図10に示すように、例えば、各アーム部14は、断面「C」字(「U」字)になった第1部材(本体部材)46と、第1部材46の内側の収納部(開口)を密閉(閉塞)するように第1部材46に嵌る(嵌合する、係合する)蓋状(板状、栓状)の第2部材(嵌合部材、係合部材、板材)47と、を有している。
図6等に示すように、アーム部14のそれぞれは、本体部12の第1軸(第1回転中心、第1支え部)81に対して固定的(回転しないように)に設けられた第1端(第1保持部)51と、第1端51から直線的に(まっすぐに)延びる第1部分52と、表示部13の第2軸28に対して固定的(回転しないように)に設けられた第2端(第2保持部)53と、第2端53から直線的に延びる第2部分54と、第1部分52と第2部分54とを連結した屈曲部(湾曲部、角部、曲げ部)55と、を有している(図6では、第1軸81および第2軸28の一部を示しており、実際の第1軸81および第2軸28は図7、図8に示すような長さ(アーム部の左右方向の幅よりも長い寸法、第1窪み部72の左右方向の幅よりも長い寸法、本体部12の第1側面68から第1金具95にまで至る寸法)を有する。なお、アーム部14のそれぞれは、第1軸81および第2軸28に対して固定的に設けられている。しかしながら、第1軸81は、本体部12のそれ以外の部分に対して回転可能に設けられ、第2軸28は、表示部13のそれ以外の部分に対して回転可能に設けられているため、アーム部14のそれぞれは、実質的に第1軸81周りおよび第2軸28周りに回動可能となっている。
図1、図4、図5に示すように、本体部12は、例えば、合成樹脂によって箱状(容器状)に形成される本体キャビネット61(本体ケース、第1筐体)を有している。本体キャビネット61は、上側半部を構成した第1ケース62と、下側半部を構成した第2ケース63とを接合して形成されている。本体キャビネット61は、後側の第1端部64(第1辺、後面)と、第1端部64とは反対側(前側)の第2端部65(第2辺、前面)と、表示部13に対向する第1面66(上面)と、第1面66とは反対側の第2面67と、第1面66および第2面67とそれぞれ交差(直交)するとともに第1端部64および第2端部65と連続した一対の第1側面68と、第1面66上で第1端部64の近傍に設けられ、表面から略半円(円弧状)に窪んだ凹部71と、後述するキーボード(操作部、入力部)76から外れた位置で第1面66から窪んで設けられる一対の第1窪み部(第1開口部、第1凹所)72と、を有している。図4等に示すように、第2端部65は、第1面66側に設けられ第1面66に対して斜めになった(交差した、勾配をなした)第1傾斜部65Aと、第2面67側に設けられ第2面67に対して斜めになった(交差した、勾配をなした)第2傾斜部65Bと、を有している。このため、第2端部65は、本体部12の他の部分よりも厚み寸法が小さくなっている。なお、本体キャビネット61とディスプレイキャビネット21により、ポータブルコンピュータ11の筐体が構成されている。
図5等に示すように、本実施形態では、第1窪み部72は、(第2コネクタ94およびタッチパッド77よりも)本体部12の後方に寄って本体部12の左右方向の両端部に一対に設けられている。各第1窪み部72は、本体キャビネット61の第1側面68に沿って溝状に延びており、アーム部14の屈曲部55およびその他の部分に沿って窪んでいる。各第1窪み部72は、後述する第1位置P1にあるアーム部14が当接する第1斜面部(第1坂部、第1勾配)73と、第2位置P2にあるアーム部14に沿って斜めになった第2斜面部(第2坂部、第2勾配)74と、第1斜面部73と第2斜面部74との間に設けられアーム部14の屈曲部55が当接する底部(中間部、当接部)75と、を含んでいる。各第1窪み部72は、第1位置P1にあるアーム部14をその内側に収納することができる。
図1、図7等に示すように、本体部12は、本体キャビネット61の外側に取り付けられるキーボード76と、本体キャビネット61の外側に取り付けられるタッチパッド(タッチセンサ、接触感知部、ポインティングデバイス)77およびボタン(操作部、タッチパッド用ボタン)78と、第1端部(第1辺、後面)64と第2端部(第2辺、前面)65との間に設けられた第1軸81と、本体キャビネット61の内側で(メインバッテリ87よりも)後方寄りに設けられるとともにCPU等の回路部品82が実装された第1のプリント回路板83と、回路部品82を冷却するように一方の端部で回路部品82と熱的に接続されたヒートパイプ(熱輸送手段、熱輸送部)84と、ヒートパイプ84の他方の端部に固定されるフィンユニット(フィン、複数のフィン、放熱板)85と、本体キャビネット61の内側に設けられヒートパイプ84およびフィンユニット85の冷却を促進するファンユニット(ファン、送風部、送風装置)86と、本体キャビネット61の内側に設けられるメインバッテリ87(第1バッテリ)およびサブバッテリ88(第2バッテリ)と、本体キャビネット61の内側で第1のプリント回路板83の近傍に設けられるとともに第1のプリント回路板83とケーブル等を介して接続された記憶装置(記憶手段、ストレージデバイス)91と、第1のプリント回路板83に設けられ本体部12後方(第1端部64)で外界に露出された外部接続用の第1コネクタ92と、本体キャビネット61の内側前方寄りで第1のプリント回路板83と分離して設けられるとともに第1のプリント回路板83とフレキシブルケーブル等で接続されたコネクタ用の基板93と、コネクタ用の基板93上に設けられ第1側面68で外界に露出された外部接続用の第2コネクタ94(部品)と、第1軸81を回転可能に支持する第1金具95(第1支持部)と、第1金具95を本体キャビネット61に固定する固定部材31(ねじ、係合部)と、第1軸81にトルクを付与する第1付与部(第1ブレーキ部、第1抵抗ユニット)96と、を有する。本実施形態では、固定部材31がねじで構成されているが、固定部材31の例としてはこれに限定されるものではなく、ねじ以外に、係合用の爪部、フック、その他の部品・部材等であってもよい。
第2コネクタ94は、屈曲部55で迂回された(屈曲部55で避けた、屈曲部55から外れた)位置(箇所、部位、地点)で本体部12(の第1側面68の近傍)に設けられる部品の一例であるが、部品の例としてはこれに限定されない。部品は、ハードディスクドライブやSSD等の記憶装置、バッテリ、回路部品を実装したプリント回路板、ヒートパイプやフィンユニット、ファンユニットを含む冷却装置、液晶ディスプレイ等の表示パネル、タッチパネル、アンテナ、カメラ、スピーカ等の音響部品、操作用のボタン、各種メモリーカードおよび各種認証用カードのスロット、無線LAN等の通信用モジュール、およびその他の部品であってもよい。
第1軸81は、本体部12の前後方向の中程(中間部、中央部)に一対に設けられており、例えば、キーボード76の前端76A或いはタッチパッド77よりも後側で、キーボード76の後端76Bよりも前側に設けられている。第1軸81は、第1面66と第2面67との間の位置に設けられている(図16等参照)。記憶装置91は、例えばハードディスクドライブ(HDD)で構成されているが、SSD(Solid State Drive)やそれ以外のフラッシュメモリー等の他の記憶手段であってもよい。第1付与部96は、アーム部14が、後述する第1位置P1および第2位置P2にあるときに、第1軸81にトルク(抵抗力)を付与して第1軸81を回転しにくくできる。
続いて、図11から図17を参照してポータブルコンピュータ11の形態を変更する際の動作について説明する。
図11では、表示画面22Aが本体部12の方向を向いた状態(対向状態)で、表示部13が本体部12に重なった状態、いわゆる可搬形態(表示部13が閉じた閉形態)となっている。そして、第2軸28周りに表示部13を回転させると、図12に示すように、ノートブック型のポータブルコンピュータ11の通常(表示部13が開いた開形態)の使用形態となる。これらの状態では、アーム部14は第1位置P1と呼ばれる位置にあり、この第1位置P1では表示部13の第2軸28は本体部12の第1端部64の近傍に位置している。図16に示すように、アーム部14が第1位置P1にあるときには、表示部13の一方の端部34は凹部(凹面、凹所)71内に嵌って(嵌合して、係合して)これに収納される。このとき、表示部13が本体部12の第1端部64よりも後ろ側(後方、奥側)には回り込まない設計となっているため、第1端部64において第1コネクタ92等の実装スペース(領域、設置場所)が確保される。
そして、この状態から図13に示すように、ユーザの手で表示部13等を把持(持って、掴んで)してアーム部14を前方向に回動させると、表示部13の第2軸28が本体部12の第2端部65の近傍(付近)に位置(隣接して配置)される。このとき、図14に示す状態となり、この位置のアーム部14の位置を第2位置P2と呼ぶ。図14に示す状態では、机上で使用する際の形態であり、いわゆるタブレット形態(机上形態)の一つである(第1のタブレット形態)。さらに、この状態から、表示部13を第2軸28周りに回転させると、図15に示すように、表示画面22Aが本体部12とは反対の方向を向いた状態で、表示部13が本体部12に重なった状態、つまりキーボード76が隠れた(覆われた、収納された)タブレット形態となる(第2のタブレット形態)。この形態では、主としてユーザが手に持って使用したり、机上で使用したりすることを想定している。図17に示すように、このタブレット形態では、表示部13の第2軸28は、本体部12の第2端部65(第1傾斜部65A)に重なっている。このため、本体部12の厚み方向における寸法および表示部13の厚み方向における寸法の大きくなりやすい軸(第2軸28)周りで寸法(長さ、幅)が大きくなることが防止されている。また、アーム部14が第2位置P2にあるときには、第2コネクタ94(部品)が屈曲部55によって迂回されて(屈曲部55で避けて、屈曲部55から外れて)いるため、アーム部14が第2コネクタ94と干渉する(当たる、ぶつかる、邪魔になる)ことがない(図1、図17等参照)。
第1の実施形態によれば、ポータブルコンピュータ11は、第1端部64と、第1端部64とは反対側の第2端部65と、第1端部64と第2端部65との間に位置した第1軸81と、を有する本体部12と、本体部12に近い側の端部の近傍に位置する第2軸28と、表示画面22Aと、を有する表示部13と、第1軸81と第2軸28とを連結するとともに途中に屈曲部(曲げ部)55を有し、第2軸28を第1端部64の近傍(付近)に位置させた第1位置P1と、第2軸28を第2端部65の近傍に位置させた第2位置P2と、の間で回動するように第1軸81周りに回動可能なアーム部14と、アーム部14が第2位置P2にあるときに、屈曲部55で迂回された位置(屈曲部55で避けた位置、屈曲部55から外れた位置)で本体部12に設けられた部品(部材、装置、器具)と、を備える。
この構成によれば、従来形のポータブルコンピュータに比して、アーム部14および第1軸81を追加するわずかな変更のみで通常の使用形態といわゆるタブレット形態の両方を実現でき、ユーザの利便性を向上できるとともに、ポータブルコンピュータ11の重量増加および部品点数の増加を防止できる。また、部品が屈曲部55で迂回されているため、第2位置P2にアーム部14が位置したときに、部品とアーム部14とが干渉することがない。これによって、部品の設置スペースを確保して本体部12内のスペースを有効活用できるとともに、本体部12の厚み寸法を低減して薄型化・小型化を実現できる。
第2位置P2にあるアーム部14は、部品とは反対側に向けて凸になる(突出した、張り出した)ように曲がって(屈曲して、湾曲して)いる。これによれば、第2位置P2にあるアーム部14が部品と干渉することがより一層防止され、部品の実装スペースの確保と本体部12の小型化とが実現できる。
本体部12は、窪み部(開口部、凹所)を有し、該窪み部は、屈曲部55に沿って窪むとともに、アーム部14が第1位置P1にあるときにアーム部14を収納できる。この構成によれば、アーム部14が第1位置P1にあるときに、アーム部14のぐらつきを防止してアーム部14の位置を安定させることができ、その結果表示部13のぐらつきを防止できる。また、アーム部14を収納して目立たなくすることができ、ポータブルコンピュータ11の体裁を良好にすることができる。さらに、アーム部14の回動角度を窪み部で規制できるため、別途にアーム部14の回動角度を規制する部品が不要である。
ポータブルコンピュータ11は、第1位置P1および第2位置P2にあるアーム部14に所定のトルクを付与してアーム部14を第1軸81周りに回動しにくくする付与部(ブレーキ部、抵抗ユニット)を備える。この構成によれば、アーム部14が第1位置P1および第2位置P2にあるときに、アーム部14が浮き上がる(第1位置P1および第2位置P2から移動する)ことが防止され、表示部13がぐらついてしまうことを防止できる。
アーム部14は、本体部12の表示部13に対向する第1面66に沿って曲がるとともに、第2位置P2にあるときに第1面66上に載る。この構成によれば、アーム部14が第2位置P2にあるときに表示部13のぐらつきを防止できる。また、第2位置P2にあるアーム部14が嵌る窪みなどを設ける必要がない分、第1面66の内側にある本体部12内部の部品の実装スペースを確保して、高密度実装を実現できる。
第2端部65は、本体部12の他の部分よりも厚み寸法が小さくなっており、第2軸28は、アーム部14が第2位置P2にあるときに第2端部65に重なる。この構成によれば、アーム部14が第2位置P2にあるときに、第2軸28付近において厚み寸法が大きくなってしまうことを防止して、ポータブルコンピュータ11の薄型化を図ることができる。
本体部12は、アーム部14が第1位置P1にあるときに、表示部13の本体部12に近い側の端部を収納する凹部71を有する。これにより、アーム部14が第1位置P1にあるときに表示部13のぐらつきをより一層防止できる。
本体部12は、表示部13に対向するとともにキーボード76が設けられた第1面66と、第1面66とは反対側の第2面67と、キーボード76を外れた位置で本体部12に設けられるとともに、第1位置P1にあるアーム部14を収納できる窪み部と、を有し、第1軸81は、第1面66と第2面67との間の位置に設けられ、アーム部14が第1位置P1にあるときに、表示部13はキーボード76よりも後側に位置される。この構成によれば、第1位置P1にあるときにアーム部14は窪み部に収納され、第1軸81、アーム部14、および表示部13がキーボード操作時に邪魔になることがなく、キーボード76の操作性を良好にできる。
続いて、図18、図19を参照して、電子機器の第2の実施形態について説明する。第2の実施形態の電子機器の一例であるポータブルコンピュータ11は、一対のアーム部(連結部、接続部)14および第1窪み部72の構成および第2コネクタ94の位置が第1の実施形態と異なっているが、他の部分で第1の実施形態と概ね共通している。このため、主として第1の実施形態と異なる部分について説明し、共通する箇所については共通の符号を付して説明を省略する。
第2の実施形態では、アーム部(連結部、接続部)14の一方が、アーム部14の他方と左右対称形(鏡像)であることは第1の実施形態と同様である。しかしながら、一対のアーム部14は、第1の実施形態のアーム部14とは逆向きに凸になるように曲がっている。
アーム部14のそれぞれは、剛性を有した(剛体からなる)棒状(ポール状、パイプ状、ダクト状)をなしており、より具体的には、第1位置P1にあるときに、全体として後述する第2コネクタ94(部品)のある方向とは反対側に凸になった(突出した、張り出した)弓形(円弧状、アーチ状)の棒状をなしている。アーム部14は、例えば合成樹脂材料によって断面(切り口)が方形(四角形)で中空(内側に空洞を有する)の形状に形成されている。左側のアーム部14の内部の収納部内に本体部12の第1のプリント回路板83と表示部13の第2のプリント回路板26とを接続したハーネス41(LCDハーネス、ケーブル)が通される。右側のアーム部14の内部の収納部内には、本体部12の第1のプリント回路板83と表示部13のカメラ24とを接続する第1ケーブル44と、本体部12の第1のプリント回路板83と表示部13のアンテナ25とを接続する第2ケーブル45と、が通される。
アーム部14のそれぞれは、本体部12の第1軸(第1回転中心、第1支え部)81に対して固定的(回転しないように)に設けられた第1端(第1保持部)51と、第1端51から直線的(まっすぐに)に延びる第1部分52と、表示部13の第2軸28(第2回転中心、第2支え部)に対して固定的(回転しないように)に設けられた第2端(第2保持部)53と、第2端53から直線的に延びる第2部分54と、第1部分52と第2部分54とを連結した屈曲部(湾曲部、角部、曲げ部)55と、を有している。なお、第1軸81は、本体部12のそれ以外の部分に対して回転可能に設けられ、第2軸28は、表示部13のそれ以外の部分に対して回転可能に設けられているため、アーム部14のそれぞれは、実質的に第1軸81周りおよび第2軸28周りに回動可能である。
本体部12は、例えば、合成樹脂によって箱状(容器状)に形成される本体キャビネット61(本体ケース、第1筐体)を有している。本体キャビネット61は、後側の第1端部64(第1辺、後面)と、前側の第2端部65(第2辺、前面)と、表示部13に対向する第1面66(上面)と、第1面66とは反対側の第2面67と、第1面66および第2面67とそれぞれ交差(直交)するとともに第1端部64および第2端部65と連続した一対の第1側面68と、第1面66上で第1端部64の近傍に設けられ、表面から略半円(円弧状)に窪んだ凹部71と、後述するキーボード(操作部、入力部)76から外れた位置で第1面66から窪んで設けられる一対の第1窪み部(第1開口部、第1凹所)72と、を有している。第2端部65は、第1面66側に設けられ第1面66に対して斜めになった(交差した、勾配をなした)第1傾斜部65Aと、第2面67側に設けられ第2面67に対して斜めになった(交差した、勾配をなした)第2傾斜部65Bと、を有している。このため、第2端部65は、本体部12の他の部分よりも厚み寸法が小さくなっている。なお、本体キャビネット61とディスプレイキャビネット21により、ポータブルコンピュータ11の筐体が構成されている。
図18等に示すように、本実施形態では、第1窪み部72は、(第2コネクタ94よりも)本体部12の前方に寄って本体部12の左右方向の両端部に一対に設けられている。各第1窪み部72は、本体キャビネット61の第1側面68に沿って溝状に延びており、アーム部14の屈曲部55およびその他の部分に沿って窪んでいる。第1窪み部72は、後述する第1位置P1にあるアーム部14に沿って斜めになった第1斜面部(第1坂部、第1勾配)73と、後述する第2位置P2にあるアーム部14が当接する第2斜面部(第2坂部、第2勾配)74と、第1斜面部73と第2斜面部74との間に設けられアーム部14の屈曲部55が当接する底部(中間部、当接部)75と、を含んでいる。各第1窪み部72は、第2位置P2にあるアーム部14をその内側に収納することができる。
本体部12は、本体キャビネット61の外側に取り付けられるキーボード76と、本体キャビネット61の外側に取り付けられるタッチパッド(タッチセンサ、接触感知部、ポインティングデバイス)77およびボタン(操作部、タッチパッド用ボタン)78と、第1端部(第1辺、後面)64と第2端部(第2辺、前面)65との間の位置で本体部12の前後方向の中程(中間部、中央部)に設けられ、キーボード76の前端76A或いはタッチパッド77よりも後側で、キーボード76の後端76Bよりも前側に一対に設けられた第1軸81と、本体キャビネット61の内側で(メインバッテリ87よりも)後方寄りに設けられるとともにCPU等の回路部品82が実装された第1のプリント回路板83と、本体キャビネット61の内側で前方寄りの位置に第1のプリント回路板83と分離して設けられるとともに第1のプリント回路板83とフレキシブルケーブル等で接続されたコネクタ用の基板93と、コネクタ用の基板93上に設けられた第2コネクタ94(部品)と、アーム部14が後述する第1位置P1および第2位置P2にあるときに、第1軸81にトルクを付与する第1付与部(第1ブレーキ部、第1抵抗ユニット)96と、を有する。
第2コネクタ94は、屈曲部55で迂回された(屈曲部55で避けた、屈曲部55から外れた)位置(箇所、部位、地点)で本体部12(の第1側面68の近傍)に設けられる部品の一例であるが、部品の例としてはこれに限定されない。部品は、ハードディスクドライブやSSD等の記憶装置、バッテリ、回路部品を実装したプリント回路板、ヒートパイプやフィンユニット、ファンユニットを含む冷却装置、液晶ディスプレイ等の表示パネル、タッチパネル、アンテナ、カメラ、スピーカ等の音響部品、操作用のボタン、各種メモリーカードおよび各種認証用カードのスロット、無線LAN等の通信用モジュール、その他の部品であってもよい。
続いて、図18と図19を参照してポータブルコンピュータ11の形態を変更する際の動作について説明する。
図18中の2点鎖線で示す状態では、表示画面22Aが本体部12の方向を向いた状態(対向状態)で、表示部13が本体部12に重なった状態、いわゆる可搬形態(表示部13が閉じた閉形態)となっている。そして、第2軸28周りに表示部13を回転させると、図18に実線で示すように、通常(表示部13が開いた開形態)のノートブック型のポータブルコンピュータ11の使用形態となる。これらの状態では、アーム部14は第1位置P1と呼ばれる位置にあり、この第1位置P1では表示部13の第2軸28は本体部12の第1端部64の近傍(付近)に位置している。図18に示すようにアーム部14が第1位置P1にあるときには、表示部13の一方の端部34は凹部(凹面、凹所)71内に嵌って(嵌合して、係合して)これに収納される。また、アーム部14が第1位置P1にあるときには、第2コネクタ94(部品)が屈曲部55によって迂回されて(屈曲部55で避けて、屈曲部55から外れて)いるため、アーム部14が第2コネクタ94と干渉する(当たる、ぶつかる、邪魔になる)ことがない(図18等参照)。
そして、この状態から図19に示すようにアーム部14を前方向に回動させると、表示部13の第2軸28が本体部12の第2端部65の近傍(付近)に位置(隣接して配置)される。このとき、この位置のアーム部14の位置を第2位置P2と呼ぶ。図19に実線で示したものは、机上で使用する際の形態であり、いわゆるタブレット形態(机上形態)の一つである(第1のタブレット形態)。さらに、この状態から、表示部13を第2軸28周りに回転させると、図19中に2点鎖線に示すように、表示画面22Aが本体部12とは反対の方向を向いた状態で、表示部13が本体部12に重なった状態、つまりキーボード76が隠れた(覆われた、収納された)タブレット形態となる(第2のタブレット形態)。このタブレット形態では、表示部13の第2軸28は、本体部12の第2端部65(第1傾斜部65A)に重なっている。このため、本体部12の厚み方向における寸法および表示部13の厚み方向における寸法の大きくなりやすい軸(第2軸28)周りで寸法(長さ、幅)が大きくなることが防止されている。
第2の実施形態によれば、ポータブルコンピュータ11は、第1端部64と、第1端部64とは反対側の第2端部65と、第1端部64と第2端部65との間に位置した第1軸81と、を有する本体部12と、本体部12に近い側の端部の近傍に位置する第2軸28と、表示画面22Aと、を有する表示部13と、第1軸81と第2軸28とを連結するとともに途中に屈曲部55を有し、第2軸28を第1端部64の近傍(付近)に位置させた第1位置P1と、第2軸28を第2端部65の近傍に位置させた第2位置P2と、の間で回動するように第1軸81周りに回動可能なアーム部14と、アーム部14が第1位置P1にあるときに、屈曲部55で迂回された位置(屈曲部55で避けた位置、屈曲部55から外れた位置)で本体部12に設けられた部品(部材、装置、器具)と、を備える。
この構成によれば、部品が屈曲部55で迂回されているため、第1位置P1にアーム部14が位置したときに、部品とアーム部14とが干渉することがない。これによって、部品の設置スペースを確保して本体部12内のスペースを有効活用できるとともに、本体部12の厚み寸法を低減して薄型化・小型化を実現できる。
本体部12は、窪み部(開口部、凹所)を有し、該窪み部は、屈曲部55に沿って窪むとともに、アーム部14が第2位置P2にあるときにアーム部14を収納できる。この構成によれば、アーム部14が第2位置P2にあるときに、アーム部14の位置が安定し、表示部13がぐらつくのを防止できる。
本体部12は、表示部13に対向するとともにキーボード76が設けられた第1面66と、第1面66とは反対側の第2面67と、を有し、第1軸81は、第1面66と第2面67との間の位置に設けられ、アーム部14が第1位置P1にあるときに、表示部13はキーボード76よりも後側に位置される。この構成によれば、第1軸81、表示部13がキーボード操作時に邪魔になることがなく、キーボード76の操作性を向上できる。
続いて、図20、図21を参照して、電子機器の第3の実施形態について説明する。第3の実施形態の電子機器の一例であるポータブルコンピュータ11は、第1軸81の位置、一対のアーム部(連結部、接続部)14の形状、および第1窪み部72の形状が第1の実施形態と異なっているが、他の部分で第1の実施形態と概ね共通している。このため、主として第1の実施形態と異なる部分について説明し、共通する箇所については共通の符号を付して説明を省略する。
第3の実施形態では、アーム部14の一方が、アーム部14の他方と左右対称形(鏡像)であることは第1の実施形態と同様である。アーム部14のそれぞれは、剛性を有した(剛体からなる)棒状(ポール状、パイプ状、ダクト状)をなしており、より具体的には、第2位置P2にあるときに、全体として後述する第2コネクタ94(部品)のある方向とは反対側に凸になった(突出した、張り出した)弓形(円弧状、アーチ状)の棒状をなしている(図21参照)。アーム部14は、例えば合成樹脂材料によって断面(切り口)が方形(四角形)で中空(内側に空洞を有する)の形状に形成されている。左側のアーム部14の内部の収納部内に本体部12の第1のプリント回路板83と表示部13の第2のプリント回路板26とを接続したハーネス41(LCDハーネス、ケーブル)が通される。右側のアーム部14の内部の収納部内には、本体部12の第1のプリント回路板83と表示部13のカメラ24とを接続する第1ケーブル44と、本体部12の第1のプリント回路板83と表示部13のアンテナ25とを接続する第2ケーブル45と、が通される。
アーム部14のそれぞれは、本体部12の第1軸(第1回転中心、第1支え部)81に対して固定的(回転しないように)に設けられた第1端(第1保持部)51と、第1端51から直線的(まっすぐに)に延びる第1部分52と、表示部13の第2軸28に対して固定的(回転しないように)に設けられた第2端(第2保持部)53と、第2端53から直線的に延びる第2部分54と、第1部分52と第2部分54とを連結した屈曲部(湾曲部、角部、曲げ部)55と、を有している。なお、第1軸81は、本体部12のそれ以外の部分に対して回転可能に設けられ、第2軸28(第2回転中心、第2支え部)は、表示部13のそれ以外の部分に対して回転可能に設けられているため、アーム部14のそれぞれは、実質的に第1軸81周りおよび第2軸28周りに回動可能である。
本体部12は、例えば、合成樹脂によって箱状(容器状)に形成される本体キャビネット61(本体ケース、第1筐体))を有している。本体キャビネット61は、後側の第1端部64(第1辺、後面)と、前側の第2端部65(第2辺、前面)と、表示部13に対向する第1面66(上面)と、第1面66から表示部13方向に向けて突出した一対の凸部97と、第1面66とは反対側の第2面67と、第1面66および第2面67とそれぞれ交差(直交)するとともに第1端部64および第2端部65と連続した一対の第1側面68と、第1面66上で第1端部64の近傍に設けられ、表面から略半円(円弧状)に窪んだ凹部71と、後述するキーボード(操作部、入力部)76から外れた位置で第1面66から窪んで設けられる一対の第1窪み部(第1開口部、第1凹所)72と、を有している。第2端部65は、第1面66側に設けられ第1面66に対して斜めになった(交差した、勾配をなした)第1傾斜部65Aと、第2面67側に設けられ第2面67に対して斜めになった(交差した、勾配をなした)第2傾斜部65Bと、を有している。このため、第2端部65は、本体部12の他の部分よりも厚み寸法が小さくなっている。なお、本体キャビネット61とディスプレイキャビネット21により、ポータブルコンピュータ11の筐体が構成されている。
図20等に示すように、本実施形態では、一対の第1窪み部72は、(第2コネクタ94よりも)本体部12の後方に寄って設けられている。各第1窪み部72は、本体キャビネット61の第1側面68に沿って溝状に延びており、アーム部14の屈曲部55およびその他の部分に沿って窪んでいる。各第1窪み部72は、第1位置P1にあるアーム部14をその内側に収納することができる。
本体部12は、本体キャビネット61の外側に取り付けられるキーボード76と、本体キャビネット61の外側に取り付けられるタッチパッド(タッチセンサ、接触感知部、ポインティングデバイス)77およびボタン(操作部、タッチパッド用ボタン)78と、第1端部(第1辺、後面)64と第2端部(第2辺、前面)65との間の位置に一対に設けられた第1軸81と、コネクタ用の基板93上に設けられた第2コネクタ94(部品)と、を有する。第2コネクタ94は、(凸部97よりも)本体部12の(の第1側面68の近傍で)前方寄りに設けられている。
第2コネクタ94は、屈曲部55で迂回された(屈曲部55で避けた、屈曲部55から外れた)位置(箇所、部位、地点)で本体部12(の第1側面68の近傍)に設けられる部品の一例であるが、部品の例としてはこれに限定されない。部品は、ハードディスクドライブやSSD等の記憶装置、バッテリ、回路部品を実装したプリント回路板、ヒートパイプやフィンユニット、ファンユニットを含む冷却装置、液晶ディスプレイ等の表示パネル、タッチパネル、アンテナ、カメラ、スピーカ等の音響部品、操作用のボタン、各種メモリーカードおよび各種認証用カードのスロット、無線LAN等の通信用モジュール、その他の部品であってもよい。
第1軸81は、本体部12の前後方向の中程(中間部、中央部)、つまりキーボード76の前端76A或いはタッチパッド77よりも後側で、キーボード76の後端76Bよりも前側で、第1面66から表示部13側に向けて突出した凸部97に設けられている。すなわち、第1軸81の位置は、キーボード76或いは第1面66よりも表示部13側(上側、外側)である。
続いて、図20と図21を参照してポータブルコンピュータ11の形態を変更する際の動作について説明する。
本実施形態では、ポータブルコンピュータ11は、第1の実施形態の図11に示すものと同様に、表示画面22Aが本体部12の方向を向いた状態(対向状態)で、表示部13が本体部12に重なる状態、いわゆる可搬形態(表示部13が閉じた閉形態)となることができる。そして、第2軸28周りに表示部13を回転させると、図20に示すように、通常(表示部13が開いた開形態)のノートブック型のポータブルコンピュータ11の使用形態となる。これらの状態では、アーム部14は第1位置P1と呼ばれる位置にあり、この第1位置P1では表示部13の第2軸28は本体部12の第1端部64の近傍(付近)に位置している。図20に示すようにアーム部14が第1位置P1にあるときには、表示部13の一方の端部は凹部(凹面、凹所)71内に嵌って(嵌合して、係合して)いる。
そして、この状態から図21に示すようにアーム部14を前方向に回動させると、表示部13の第2軸28が本体部12の第2端部65の近傍(付近)に位置(隣接して配置)される。このとき、この位置のアーム部14の位置を第2位置P2と呼ぶ。図21に示したものは、机上で使用する際の形態であり、いわゆるタブレット形態(机上形態)の一つ(第1のタブレット形態)である。さらに、この状態から、表示部13を第2軸28周りに回転させると、第1の実施形態の図15に示すものと同様に、表示画面22Aが本体部12とは反対の方向を向いた状態で、表示部13が本体部12に重なった状態、つまりキーボード76が隠れた(覆われた、収納された)タブレット形態となる(第2のタブレット形態)。このタブレット形態では、表示部13の第2軸28は、本体部12の第2端部65(第1傾斜部65A)に重なっている。このため、本体部12の厚み方向における寸法および表示部13の厚み方向における寸法の大きくなりやすい軸(第2軸28)周りで寸法(長さ、幅)が大きくなることが防止されている。また、アーム部14が第2位置P2にあるときには、第2コネクタ94(部品)が屈曲部55によって迂回されて(屈曲部55で避けて、屈曲部55から外れて)いるため、アーム部14が第2コネクタ94と干渉する(当たる、ぶつかる、邪魔になる)ことがない。
第3の実施形態によれば、部品が屈曲部55で迂回されているため、第2位置P2にアーム部14が位置したときに、部品とアーム部14とが干渉することがない。これによって、部品の設置スペースを確保して本体部12内のスペースを有効活用できるとともに、本体部12の厚み寸法を低減して薄型化・小型化を実現できる。また、アーム部14が第1位置P1にあるときに第1窪み部72にアーム部14を収納できるため、アーム部14の位置が安定し、第1位置P1にあるときに表示部13のぐらつきを防止できる。
電子機器は、上記実施形態に示したポータブルコンピュータ11に限らず、例えば携帯電話機、テレビのようなその他の電子機器に対しても当然に実施可能である。
さらに、電子機器は上記実施形態そのままに限定されるものではなく、実施段階ではその要旨を逸脱しない範囲で構成要素を変形して具体化できる。さらに、上記実施形態に開示されている複数の構成要素の適宜な組み合わせにより種々の発明を形成できる。例えば、実施形態に示される全構成要素から幾つかの構成要素を削除してもよい。更に、異なる実施形態に亘る構成要素を適宜組み合わせてもよい。
以下に、本願出願の当初の特許請求の範囲に記載された発明を付記する。
[1]
後側の第1端部と、前側の第2端部と、前記第1端部および前記第2端部に連続する一対の第1側面と、を含んだ第1筐体と、前記第1側面の近傍で前後方向における中程に一対に設けられた第1軸と、を有した本体部と、
一対の第2側面と、前記本体部に近い側の端部と、を含んだ第2筐体と、前記第2側面の近傍で前記本体部に近い側の端部の近傍に位置する一対の第2軸と、表示画面と、を有した表示部と、
前記第1軸と前記第2軸とを連結するとともに途中に屈曲部を有し、前記第2軸を前記第1端部の近傍に位置させた第1位置と、前記第2軸を前記第2端部の近傍に位置させた第2位置と、の間で回動するように前記第1軸周りに回動可能な一対のアーム部と、
前記アーム部が前記第2位置にあるときに、前記屈曲部で迂回された位置で前記本体部の前記第1側面の近傍に設けられた部品と、
を備える電子機器。
[2]
前記第2位置にある前記アーム部は、前記部品とは反対側に向けて凸になるように曲がった[1]に記載の電子機器。
[3]
前記本体部は、窪み部を有し、該窪み部は、前記屈曲部に沿って窪むとともに、前記アーム部が前記第1位置にあるときに前記アーム部を収納できる[1]に記載の電子機器。
[4]
前記第1位置および前記第2位置にある前記アーム部に所定のトルクを付与して前記アーム部を前記第1軸周りに回動しにくくする付与部を備える[1]に記載の電子機器。
[5]
前記第2端部は、前記本体部の他の部分よりも厚み寸法が小さくなっており、
前記第2軸は、前記アーム部が前記第2位置にあるときに前記第2端部に重なる[1]に記載の電子機器。
[6]
前記本体部は、前記アーム部が前記第1位置にあるときに、前記表示部の前記本体部に近い側の端部を収納する凹部を有する[1]に記載の電子機器。
[7]
前記本体部は、
前記表示部に対向するとともにキーボードが設けられた第1面と、
前記第1面とは反対側の第2面と、
前記キーボードを外れた位置で前記本体部に設けられるとともに、前記第1位置にある前記アーム部を収納できる窪み部と、
を有し、
前記第1軸は、前記第1面と前記第2面との間の位置に設けられ、
前記アーム部が前記第1位置にあるときに、前記表示部は前記キーボードよりも後側に位置される[1]に記載の電子機器。
[8]
後側の第1端部と、前側の第2端部と、前記第1端部および前記第2端部に連続する一対の第1側面と、を含んだ第1筐体と、前記第1側面の近傍で前後方向における中程に一対に設けられた第1軸と、を有した本体部と、
一対の第2側面と、前記本体部に近い側の端部と、を含んだ第2筐体と、前記第2側面の近傍で前記本体部に近い側の端部の近傍に位置する一対の第2軸と、表示画面と、を有した表示部と、
前記第1軸と前記第2軸とを連結するとともに途中に屈曲部を有し、前記第2軸を前記第1端部の近傍に位置させた第1位置と、前記第2軸を前記第2端部の近傍に位置させた第2位置と、の間で回動するように前記第1軸周りに回動可能な一対のアーム部と、
前記アーム部が前記第1位置にあるときに、前記屈曲部で迂回された位置で前記本体部の前記第1側面の近傍に設けられた部品と、
を備える電子機器。
[9]
前記第1位置にある前記アーム部は、前記部品とは反対側に向けて凸になるように曲がった[8]に記載の電子機器。
[10]
前記本体部は、窪み部を有し、該窪み部は、前記屈曲部に沿って窪むとともに、前記アーム部が前記第2位置にあるときに前記アーム部を収納できる[8]に記載の電子機器。
[11]
前記第1位置および前記第2位置にある前記アーム部に所定のトルクを付与して前記アーム部を前記第1軸周りに回動しにくくする付与部を備える[8]に記載の電子機器。
[12]
前記第2端部は、前記本体部の他の部分よりも厚み寸法が小さくなっており、
前記第2軸は、前記アーム部が前記第2位置にあるときに前記第2端部に重なる[8]に記載の電子機器。
[13]
前記本体部は、前記アーム部が前記第1位置にあるときに、前記表示部の前記本体部に近い側の端部を収納する凹部を有する[8]に記載の電子機器。
[14]
前記本体部は、
前記表示部に対向するとともにキーボードが設けられた第1面と、
前記第1面とは反対側の第2面と、
を有し、
前記第1軸は、前記第1面と前記第2面との間の位置に設けられ、
前記アーム部が前記第1位置にあるときに、前記表示部は前記キーボードよりも後側に位置される[8]に記載の電子機器。
[15]
前後方向における中程に第1軸を有する本体部と、
前記本体部に近い側の端部の近傍に位置する第2軸と、表示画面と、を有する表示部と、
前記第1軸と前記第2軸とを連結するとともに途中に屈曲部を有し、前記第1軸周りに回動可能なアーム部と、
前記屈曲部で迂回された位置で前記本体部に設けられた部品と、
を備える電子機器。
[16]
第1端部と、前記第1端部とは反対側の第2端部と、前記第1端部と前記第2端部との間に位置した第1支え部と、を有する第1ユニットと、
前記第1ユニットに近い側の端部の近傍に位置する第2支え部と、表示画面と、を有する第2ユニットと、
前記第1支え部と前記第2支え部とを連結するとともに途中に曲げ部を有し、前記第1支え部周りに回動可能な連結部と、
前記曲げ部から外れた位置で前記第1ユニットに設けられた部品と、
を備える電子機器。
11…ポータブルコンピュータ、12…本体部、13…表示部、14…アーム部、22A…表示画面、28…第2軸、34…一方の端部、35…他方の端部、55…屈曲部、64…第1端部、65…第2端部、72…第1窪み部、76…キーボード、81…第1軸、82…回路部品、94…第2コネクタ、96…第1付与部、P1…第1位置、P2…第2位置

Claims (15)

  1. 後側の第1端部と、前側の第2端部と、前後方向における中程に設けられた第1軸と、を有した本体部と、
    前記本体部に近い側の端部の近傍に位置する第2軸と、表示画面と、を有し表示部と、
    前記第1軸と前記第2軸とを連結するとともに途中に屈曲部を有し、前記第2軸を前記第1端部の近傍に位置させた第1位置と、前記第2軸を前記第2端部の近傍に位置させた第2位置と、の間で回動するように前記第1軸周りに回動可能なアーム部と、
    前記アーム部が前記第2位置にあるときに、前記屈曲部で迂回された位置で前記本体部に設けられた部品と、
    を備える電子機器。
  2. 前記第2位置にある前記アーム部は、前記部品とは反対側に向けて凸になるように曲がった請求項1に記載の電子機器。
  3. 前記本体部は、窪み部を有し、該窪み部は、前記屈曲部に沿って窪むとともに、前記アーム部が前記第1位置にあるときに前記アーム部を収納できる請求項1に記載の電子機器。
  4. 前記第1位置および前記第2位置にある前記アーム部に所定のトルクを付与して前記アーム部を前記第1軸周りに回動しにくくする付与部を備える請求項1に記載の電子機器。
  5. 前記第2端部は、前記本体部の他の部分よりも厚み寸法が小さくなっており、
    前記第2軸は、前記アーム部が前記第2位置にあるときに前記第2端部に重なる請求項1に記載の電子機器。
  6. 前記本体部は、前記アーム部が前記第1位置にあるときに、前記表示部の前記本体部に近い側の端部を収納する凹部を有する請求項1に記載の電子機器。
  7. 前記本体部は、
    前記表示部に対向するとともにキーボードが設けられた第1面と、
    前記第1面とは反対側の第2面と、
    前記キーボードを外れた位置で前記本体部に設けられるとともに、前記第1位置にある前記アーム部を収納できる窪み部と、
    を有し、
    前記第1軸は、前記第1面と前記第2面との間の位置に設けられ、
    前記アーム部が前記第1位置にあるときに、前記表示部は前記キーボードよりも後側に位置される請求項1に記載の電子機器。
  8. 後側の第1端部と、前側の第2端部と、前後方向における中程に設けられた第1軸と、を有した本体部と、
    前記本体部に近い側の端部の近傍に位置する第2軸と、表示画面と、を有し表示部と、
    前記第1軸と前記第2軸とを連結するとともに途中に屈曲部を有し、前記第2軸を前記第1端部の近傍に位置させた第1位置と、前記第2軸を前記第2端部の近傍に位置させた第2位置と、の間で回動するように前記第1軸周りに回動可能なアーム部と、
    前記アーム部が前記第1位置にあるときに、前記屈曲部で迂回された位置で前記本体部に設けられた部品と、
    を備える電子機器。
  9. 前記第1位置にある前記アーム部は、前記部品とは反対側に向けて凸になるように曲がった請求項8に記載の電子機器。
  10. 前記本体部は、窪み部を有し、該窪み部は、前記屈曲部に沿って窪むとともに、前記アーム部が前記第2位置にあるときに前記アーム部を収納できる請求項8に記載の電子機器。
  11. 前記第1位置および前記第2位置にある前記アーム部に所定のトルクを付与して前記アーム部を前記第1軸周りに回動しにくくする付与部を備える請求項8に記載の電子機器。
  12. 前記第2端部は、前記本体部の他の部分よりも厚み寸法が小さくなっており、
    前記第2軸は、前記アーム部が前記第2位置にあるときに前記第2端部に重なる請求項8に記載の電子機器。
  13. 前記本体部は、前記アーム部が前記第1位置にあるときに、前記表示部の前記本体部に近い側の端部を収納する凹部を有する請求項8に記載の電子機器。
  14. 前記本体部は、
    前記表示部に対向するとともにキーボードが設けられた第1面と、
    前記第1面とは反対側の第2面と、
    を有し、
    前記第1軸は、前記第1面と前記第2面との間の位置に設けられ、
    前記アーム部が前記第1位置にあるときに、前記表示部は前記キーボードよりも後側に位置される請求項8に記載の電子機器。
  15. 後側の第1端部と、前側の第2端部と、前後方向における中程に設けられた第1軸と、を有した本体部と、
    前記本体部に近い側の端部の近傍に位置する第2軸と、表示画面と、を有し表示部と、
    前記本体部に設けられた窪み部と、
    前記本体部の前記表示部と対向する面に設けられた操作部と、
    前記第1軸と前記第2軸とを連結するとともに途中に屈曲部を有し、前記第2軸を前記第1端部の近傍に位置させるとともに前記屈曲部が前記窪み部に収納された第1位置と、前記第2軸を前記第2端部の近傍に位置させるとともに前記屈曲部が前記窪み部から出た第2位置と、の間で回動するように前記第1軸周りに回動可能なアーム部と、
    備える電子機器。
JP2012017983A 2012-01-31 2012-01-31 電子機器 Active JP5284499B2 (ja)

Priority Applications (2)

Application Number Priority Date Filing Date Title
JP2012017983A JP5284499B2 (ja) 2012-01-31 2012-01-31 電子機器
US13/692,976 US9176525B2 (en) 2012-01-31 2012-12-03 Electronic apparatus

Applications Claiming Priority (1)

Application Number Priority Date Filing Date Title
JP2012017983A JP5284499B2 (ja) 2012-01-31 2012-01-31 電子機器

Publications (2)

Publication Number Publication Date
JP2013156892A JP2013156892A (ja) 2013-08-15
JP5284499B2 true JP5284499B2 (ja) 2013-09-11

Family

ID=48870024

Family Applications (1)

Application Number Title Priority Date Filing Date
JP2012017983A Active JP5284499B2 (ja) 2012-01-31 2012-01-31 電子機器

Country Status (2)

Country Link
US (1) US9176525B2 (ja)
JP (1) JP5284499B2 (ja)

Families Citing this family (8)

* Cited by examiner, † Cited by third party
Publication number Priority date Publication date Assignee Title
GB2532894B (en) * 2013-08-22 2020-09-23 Hewlett Packard Development Co Display member and base member magnetically attracted
WO2015199713A1 (en) * 2014-06-27 2015-12-30 Hewlett-Packard Development Company, L.P. Computing device with a rotatable display member
US20160018857A1 (en) * 2014-07-18 2016-01-21 Kabushiki Kaisha Toshiba Apparatus having cover or alternatively extension unit
JP2016170540A (ja) * 2015-03-11 2016-09-23 Necパーソナルコンピュータ株式会社 情報処理装置
CN106657485B (zh) * 2017-03-07 2020-05-12 Oppo广东移动通信有限公司 移动终端
JP6469183B2 (ja) * 2017-07-25 2019-02-13 レノボ・シンガポール・プライベート・リミテッド 電子機器
EP3912009A4 (en) * 2019-04-25 2023-01-11 Hewlett-Packard Development Company, L.P. ENCLOSURE WITH ELECTRICAL CONTACTS
US11871517B1 (en) * 2020-05-11 2024-01-09 Apple Inc. Electronic devices with stacked circuitry

Family Cites Families (19)

* Cited by examiner, † Cited by third party
Publication number Priority date Publication date Assignee Title
JPH03132814A (ja) * 1989-10-19 1991-06-06 Canon Inc 画像形成装置
JPH03278212A (ja) 1990-03-28 1991-12-09 Canon Inc 携帯用電子機器
US5644469A (en) * 1991-03-06 1997-07-01 Canon Kabushiki Kaisha Information processing apparatus support system with support arms which are capable of closing toward a keyboard unit or away from a keyboard unit
JPH04333958A (ja) * 1991-05-09 1992-11-20 Canon Inc 情報処理装置
JPH056243A (ja) 1991-06-27 1993-01-14 Mitsubishi Electric Corp 携帯情報処理装置
JP2500278B2 (ja) 1991-12-24 1996-05-29 船井電機株式会社 電子機器
JP3222764B2 (ja) 1996-05-17 2001-10-29 シャープ株式会社 情報処理装置
FI116345B (fi) * 2000-12-19 2005-10-31 Nokia Corp Kannettavat elektroniset laitteet
KR100534125B1 (ko) 2003-12-10 2005-12-08 삼성전자주식회사 휴대용 컴퓨터
DE602004010882T2 (de) 2004-04-22 2009-01-02 Sony Ericsson Mobile Communications Ab Transformierbare Kommunikationseinrichtung
DE602005006381T2 (de) 2005-03-18 2009-05-28 Sony Ericsson Mobile Communications Ab Klappbares und tragbares Funkkommunikationsgerät mit einem doppelwirkenden Gelenk
US20060256512A1 (en) * 2005-05-11 2006-11-16 Esther Kang Mi J Display panel mount for a notebook or tablet computer
TWI311216B (en) 2006-07-14 2009-06-21 Innolux Display Corp Panel used in liquid crystal display device
US7570482B2 (en) * 2007-02-22 2009-08-04 Inventec Corporation Mobile computer structure having rotatable screen
JP2009218674A (ja) 2008-03-07 2009-09-24 Nec Corp 携帯端末装置
JP5309821B2 (ja) * 2008-09-15 2013-10-09 富士通株式会社 携帯機器
WO2011065472A1 (ja) 2009-11-26 2011-06-03 京セラ株式会社 携帯型電子機器
JP5466930B2 (ja) 2009-11-26 2014-04-09 京セラ株式会社 携帯型電子機器
JP3161922U (ja) * 2010-06-04 2010-08-12 一博 長井 ノート型コンピュータ用ディスプレイ装置

Also Published As

Publication number Publication date
US20130194739A1 (en) 2013-08-01
US9176525B2 (en) 2015-11-03
JP2013156892A (ja) 2013-08-15

Similar Documents

Publication Publication Date Title
JP5284499B2 (ja) 電子機器
JP4892085B2 (ja) 電子機器
TWI669593B (zh) 可調式顯示器殼體總成
JP5941740B2 (ja) 電子装置
US8109541B2 (en) Latching structure of mobile electronic device
US10416709B2 (en) Portable electronic device
TW201944197A (zh) 筆記型電腦
US20130286562A1 (en) Electronic device
US9137927B2 (en) Television apparatus and electronic device
US9075577B2 (en) Electronic apparatus and keyboard thereof
CN103649868B (zh) 散热壳体
CN110442189B (zh) 笔记本电脑
CN102687092A (zh) 具有透明显示器的装置
US20140301028A1 (en) Electronic equipment
JP5214812B1 (ja) 電子機器
JP5677402B2 (ja) 電子機器
JP6136496B2 (ja) 電子機器
JP2022128893A (ja) 電子機器
CN101668392B (zh) 电子装置
EP2506111A2 (en) Portable device with antenna
JP5471996B2 (ja) 電子装置及び連結ユニット
CN202205123U (zh) 笔记本型信息处理装置
JP5567112B2 (ja) 電子機器
JP4753811B2 (ja) 電子機器
JP2010130572A (ja) 電子機器

Legal Events

Date Code Title Description
TRDD Decision of grant or rejection written
A01 Written decision to grant a patent or to grant a registration (utility model)

Free format text: JAPANESE INTERMEDIATE CODE: A01

Effective date: 20130507

A61 First payment of annual fees (during grant procedure)

Free format text: JAPANESE INTERMEDIATE CODE: A61

Effective date: 20130529

R151 Written notification of patent or utility model registration

Ref document number: 5284499

Country of ref document: JP

Free format text: JAPANESE INTERMEDIATE CODE: R151

S111 Request for change of ownership or part of ownership

Free format text: JAPANESE INTERMEDIATE CODE: R313121

Free format text: JAPANESE INTERMEDIATE CODE: R313117

R350 Written notification of registration of transfer

Free format text: JAPANESE INTERMEDIATE CODE: R350