JP5284449B2 - 電子機器 - Google Patents

電子機器 Download PDF

Info

Publication number
JP5284449B2
JP5284449B2 JP2011260327A JP2011260327A JP5284449B2 JP 5284449 B2 JP5284449 B2 JP 5284449B2 JP 2011260327 A JP2011260327 A JP 2011260327A JP 2011260327 A JP2011260327 A JP 2011260327A JP 5284449 B2 JP5284449 B2 JP 5284449B2
Authority
JP
Japan
Prior art keywords
substrate
housing
substrate portion
antenna module
rfid antenna
Prior art date
Legal status (The legal status is an assumption and is not a legal conclusion. Google has not performed a legal analysis and makes no representation as to the accuracy of the status listed.)
Active
Application number
JP2011260327A
Other languages
English (en)
Other versions
JP2013115628A (ja
Inventor
正雄 手嶋
Current Assignee (The listed assignees may be inaccurate. Google has not performed a legal analysis and makes no representation or warranty as to the accuracy of the list.)
Toshiba Corp
Original Assignee
Toshiba Corp
Priority date (The priority date is an assumption and is not a legal conclusion. Google has not performed a legal analysis and makes no representation as to the accuracy of the date listed.)
Filing date
Publication date
Application filed by Toshiba Corp filed Critical Toshiba Corp
Priority to JP2011260327A priority Critical patent/JP5284449B2/ja
Priority to US13/648,696 priority patent/US8888008B2/en
Publication of JP2013115628A publication Critical patent/JP2013115628A/ja
Application granted granted Critical
Publication of JP5284449B2 publication Critical patent/JP5284449B2/ja
Active legal-status Critical Current
Anticipated expiration legal-status Critical

Links

Images

Classifications

    • GPHYSICS
    • G06COMPUTING OR CALCULATING; COUNTING
    • G06KGRAPHICAL DATA READING; PRESENTATION OF DATA; RECORD CARRIERS; HANDLING RECORD CARRIERS
    • G06K19/00Record carriers for use with machines and with at least a part designed to carry digital markings
    • G06K19/06Record carriers for use with machines and with at least a part designed to carry digital markings characterised by the kind of the digital marking, e.g. shape, nature, code
    • G06K19/067Record carriers with conductive marks, printed circuits or semiconductor circuit elements, e.g. credit or identity cards also with resonating or responding marks without active components
    • G06K19/07Record carriers with conductive marks, printed circuits or semiconductor circuit elements, e.g. credit or identity cards also with resonating or responding marks without active components with integrated circuit chips
    • G06K19/0723Record carriers with conductive marks, printed circuits or semiconductor circuit elements, e.g. credit or identity cards also with resonating or responding marks without active components with integrated circuit chips the record carrier comprising an arrangement for non-contact communication, e.g. wireless communication circuits on transponder cards, non-contact smart cards or RFIDs
    • GPHYSICS
    • G06COMPUTING OR CALCULATING; COUNTING
    • G06KGRAPHICAL DATA READING; PRESENTATION OF DATA; RECORD CARRIERS; HANDLING RECORD CARRIERS
    • G06K7/00Methods or arrangements for sensing record carriers, e.g. for reading patterns
    • G06K7/10Methods or arrangements for sensing record carriers, e.g. for reading patterns by electromagnetic radiation, e.g. optical sensing; by corpuscular radiation
    • G06K7/10009Methods or arrangements for sensing record carriers, e.g. for reading patterns by electromagnetic radiation, e.g. optical sensing; by corpuscular radiation sensing by radiation using wavelengths larger than 0.1 mm, e.g. radio-waves or microwaves
    • G06K7/10316Methods or arrangements for sensing record carriers, e.g. for reading patterns by electromagnetic radiation, e.g. optical sensing; by corpuscular radiation sensing by radiation using wavelengths larger than 0.1 mm, e.g. radio-waves or microwaves using at least one antenna particularly designed for interrogating the wireless record carriers
    • G06K7/10336Methods or arrangements for sensing record carriers, e.g. for reading patterns by electromagnetic radiation, e.g. optical sensing; by corpuscular radiation sensing by radiation using wavelengths larger than 0.1 mm, e.g. radio-waves or microwaves using at least one antenna particularly designed for interrogating the wireless record carriers the antenna being of the near field type, inductive coil
    • GPHYSICS
    • G06COMPUTING OR CALCULATING; COUNTING
    • G06FELECTRIC DIGITAL DATA PROCESSING
    • G06F1/00Details not covered by groups G06F3/00 - G06F13/00 and G06F21/00
    • G06F1/16Constructional details or arrangements
    • G06F1/1613Constructional details or arrangements for portable computers
    • G06F1/1633Constructional details or arrangements of portable computers not specific to the type of enclosures covered by groups G06F1/1615 - G06F1/1626
    • G06F1/1684Constructional details or arrangements related to integrated I/O peripherals not covered by groups G06F1/1635 - G06F1/1675
    • G06F1/1698Constructional details or arrangements related to integrated I/O peripherals not covered by groups G06F1/1635 - G06F1/1675 the I/O peripheral being a sending/receiving arrangement to establish a cordless communication link, e.g. radio or infrared link, integrated cellular phone
    • GPHYSICS
    • G06COMPUTING OR CALCULATING; COUNTING
    • G06KGRAPHICAL DATA READING; PRESENTATION OF DATA; RECORD CARRIERS; HANDLING RECORD CARRIERS
    • G06K7/00Methods or arrangements for sensing record carriers, e.g. for reading patterns
    • G06K7/10Methods or arrangements for sensing record carriers, e.g. for reading patterns by electromagnetic radiation, e.g. optical sensing; by corpuscular radiation
    • G06K7/10009Methods or arrangements for sensing record carriers, e.g. for reading patterns by electromagnetic radiation, e.g. optical sensing; by corpuscular radiation sensing by radiation using wavelengths larger than 0.1 mm, e.g. radio-waves or microwaves
    • G06K7/10316Methods or arrangements for sensing record carriers, e.g. for reading patterns by electromagnetic radiation, e.g. optical sensing; by corpuscular radiation sensing by radiation using wavelengths larger than 0.1 mm, e.g. radio-waves or microwaves using at least one antenna particularly designed for interrogating the wireless record carriers
    • G06K7/10356Methods or arrangements for sensing record carriers, e.g. for reading patterns by electromagnetic radiation, e.g. optical sensing; by corpuscular radiation sensing by radiation using wavelengths larger than 0.1 mm, e.g. radio-waves or microwaves using at least one antenna particularly designed for interrogating the wireless record carriers using a plurality of antennas, e.g. configurations including means to resolve interference between the plurality of antennas
    • GPHYSICS
    • G06COMPUTING OR CALCULATING; COUNTING
    • G06KGRAPHICAL DATA READING; PRESENTATION OF DATA; RECORD CARRIERS; HANDLING RECORD CARRIERS
    • G06K7/00Methods or arrangements for sensing record carriers, e.g. for reading patterns
    • G06K7/10Methods or arrangements for sensing record carriers, e.g. for reading patterns by electromagnetic radiation, e.g. optical sensing; by corpuscular radiation
    • G06K7/10009Methods or arrangements for sensing record carriers, e.g. for reading patterns by electromagnetic radiation, e.g. optical sensing; by corpuscular radiation sensing by radiation using wavelengths larger than 0.1 mm, e.g. radio-waves or microwaves
    • G06K7/10366Methods or arrangements for sensing record carriers, e.g. for reading patterns by electromagnetic radiation, e.g. optical sensing; by corpuscular radiation sensing by radiation using wavelengths larger than 0.1 mm, e.g. radio-waves or microwaves the interrogation device being adapted for miscellaneous applications
    • G06K7/10376Methods or arrangements for sensing record carriers, e.g. for reading patterns by electromagnetic radiation, e.g. optical sensing; by corpuscular radiation sensing by radiation using wavelengths larger than 0.1 mm, e.g. radio-waves or microwaves the interrogation device being adapted for miscellaneous applications the interrogation device being adapted for being moveable
    • G06K7/10386Methods or arrangements for sensing record carriers, e.g. for reading patterns by electromagnetic radiation, e.g. optical sensing; by corpuscular radiation sensing by radiation using wavelengths larger than 0.1 mm, e.g. radio-waves or microwaves the interrogation device being adapted for miscellaneous applications the interrogation device being adapted for being moveable the interrogation device being of the portable or hand-handheld type, e.g. incorporated in ubiquitous hand-held devices such as PDA or mobile phone, or in the form of a portable dedicated RFID reader
    • HELECTRICITY
    • H01ELECTRIC ELEMENTS
    • H01QANTENNAS, i.e. RADIO AERIALS
    • H01Q1/00Details of, or arrangements associated with, antennas
    • H01Q1/12Supports; Mounting means
    • H01Q1/22Supports; Mounting means by structural association with other equipment or articles
    • H01Q1/2208Supports; Mounting means by structural association with other equipment or articles associated with components used in interrogation type services, i.e. in systems for information exchange between an interrogator/reader and a tag/transponder, e.g. in Radio Frequency Identification [RFID] systems
    • H01Q1/2225Supports; Mounting means by structural association with other equipment or articles associated with components used in interrogation type services, i.e. in systems for information exchange between an interrogator/reader and a tag/transponder, e.g. in Radio Frequency Identification [RFID] systems used in active tags, i.e. provided with its own power source or in passive tags, i.e. deriving power from RF signal
    • HELECTRICITY
    • H01ELECTRIC ELEMENTS
    • H01QANTENNAS, i.e. RADIO AERIALS
    • H01Q1/00Details of, or arrangements associated with, antennas
    • H01Q1/12Supports; Mounting means
    • H01Q1/22Supports; Mounting means by structural association with other equipment or articles
    • H01Q1/2258Supports; Mounting means by structural association with other equipment or articles used with computer equipment
    • H01Q1/2266Supports; Mounting means by structural association with other equipment or articles used with computer equipment disposed inside the computer
    • HELECTRICITY
    • H01ELECTRIC ELEMENTS
    • H01QANTENNAS, i.e. RADIO AERIALS
    • H01Q7/00Loop antennas with a substantially uniform current distribution around the loop and having a directional radiation pattern in a plane perpendicular to the plane of the loop

Landscapes

  • Engineering & Computer Science (AREA)
  • Physics & Mathematics (AREA)
  • Health & Medical Sciences (AREA)
  • Toxicology (AREA)
  • Computer Hardware Design (AREA)
  • Theoretical Computer Science (AREA)
  • General Physics & Mathematics (AREA)
  • Computer Vision & Pattern Recognition (AREA)
  • Artificial Intelligence (AREA)
  • General Health & Medical Sciences (AREA)
  • Electromagnetism (AREA)
  • General Engineering & Computer Science (AREA)
  • Computer Networks & Wireless Communication (AREA)
  • Human Computer Interaction (AREA)
  • Microelectronics & Electronic Packaging (AREA)
  • Support Of Aerials (AREA)
  • Details Of Aerials (AREA)

Description

本発明の実施形態は、RFIDアンテナモジュールを搭載した電子機器に関する。
近距離の無線通信により情報をやりとりするRFIDシステムは、例えばセキュリティロックなどの認証用としてポータブルコンピュータのような電子機器に導入されている。
従来のRFID機能を有する電子機器では、筐体の内部にRFIDアンテナモジュールが配置されている。アンテナモジュールは、ループコイルアンテナが実装されたフラットな絶縁基板を有している。絶縁基板は、例えば筐体の内面に沿うような姿勢で筐体の内部に収容されている。
特開2011−91744号公報 特開2006−148462号公報
RFIDアンテナモジュールによると、電磁波による通信性能を高めるためには、アンテナ自体の面積を大きくすることが必要である。
しかしながら、アンテナ自体の面積を大きくするということは、フラットな絶縁基板の大型化に繋がり、RFIDアンテナモジュールをコンパクト化する上での妨げとなる。さらに、筐体の内部にRFIDアンテナモジュールを収める広いスペースを確保しなくてはならず、RFIDアンテナモジュールを設置する場所に制約が生じるのを否めない。
本発明の目的は、RFIDアンテナモジュールを収めるスペースを拡張することなく、通信性能が良好なRFIDアンテナモジュールの実装を可能とした電子機器を得ることにある。
実施形態によれば、電子機器は、第1の壁と、前記第1の壁の反対側に位置された第2の壁と、を有する非導電性の筐体と、前記筐体の内側に配置されたRFIDアンテナモジュールと、前記筐体の内側に配置された電子部品と、を備えている。
前記RFIDアンテナモジュールは、絶縁基板、アンテナおよび磁性部品を含んでいる。前記絶縁基板は、立体形状に屈曲されて前記筐体の前記第1の壁および前記第2の壁に面した複数の基板部を有するとともに、前記基板部の間に隙間が形成されている。前記アンテナは、前記絶縁基板の前記基板部にループコイル状に設けられ、電磁誘導により通信を行う。前記磁性部品は、前記絶縁基板の前記基板部に設けられ、前記隙間に臨むように前記アンテナの裏側に位置されている。前記電子部品の少なくとも一部は、前記RFIDアンテナモジュールの前記隙間に配置されている。
第1の実施形態に係るポータブルコンピュータの斜視図。 絶縁基板をフラットな形状に展開した状態を示すRFIDアンテナモジュールの平面図。 図2のF3−F3線に沿う断面図。 絶縁基板を折り曲げた状態を示すRFIDアンテナモジュールの正面図。 絶縁基板を折り曲げた状態を示すRFIDアンテナモジュールの斜視図。 第1の実施形態において、ポータブルコンピュータに内蔵されたRFIDアンテナモジュールとRFIDカードとの間で電磁波を用いた無線通信により情報がやりとりされている状態を示す断面図。 第2の実施形態において、ポータブルコンピュータに内蔵されたRFIDアンテナモジュールとRFIDカードとの間で電磁波を用いた無線通信により情報がやりとりされている状態を示す断面図。 RFIDアンテナモジュールで囲まれた領域にカメラモジュールを配置した第3の実施形態に係るポータブルコンピュータの断面図。 第3の実施形態において、RFIDアンテナモジュールとカメラモジュールのカメラとの位置関係を示す正面図。 第4の実施形態において、RFIDアンテナモジュールとカメラモジュールのカメラとの位置関係を示す正面図。 第5の実施形態に係るスレート型ポータブルコンピュータの斜視図。 第5の実施形態において、ポータブルコンピュータに内蔵されたRFIDアンテナモジュールとRFIDカードとの間で電磁波を用いた無線通信により情報がやりとりされている状態を示す断面図。
[第1の実施形態]
以下、第1の実施形態について、図1ないし図7を参照して説明する。
図1は、電子機器の一例であるノート型のポータブルコンピュータ1を開示している。ポータブルコンピュータ1は、機器本体2と、機器本体2に支持された表示部3とで構成されている。
機器本体2は、第1の筐体4を備えている。第1の筐体4は、四角い箱形であり、例えばCPUが実装されたマザーボードおよびハードディスク駆動装置のような主要な構成要素を収容している。
第1の筐体4は、上面4aを有している。上面4aは、フラットなパームレスト5とキーボード取り付け部6とを備えている。パームレスト5は、上面4aの前半部において第1の筐体4の幅方向に延びている。キーボード取り付け部6は、パームレスト5よりも凹んだ四角い窪みであり、パームレスト5の背後に位置されている。キーボード7がキーボード取り付け部6に設置されている。キーボード7は、パームレスト5に連続するように第1の筐体4の上面4aに露出されている。
表示部3は、第2の筐体10と表示モジュール11とを備えている。第2の筐体10は、例えば合成樹脂材料のような非導電体で構成されている。第2の筐体10は、第1の筐体4と略同じ大きさの四角い箱形であり、前壁12、後壁13および周壁14を有している。前壁12は、第1の壁の一例であって、四角い開口部18が設けられている。後壁13は、第2の壁の一例であって、前壁12に対し第2の筐体10の厚み方向に沿う反対側に位置されている。
第1の実施形態によると、第2の筐体10は、ディスプレイマスク16およびディスプレイカバー17を備えている。ディスプレイマスク16は、前壁12を含むとともに、開口部18を取り囲む額縁20を構成している。ディスプレイカバー17は、ディスプレイマスク16と組み合わされて、第2の筐体10の外郭を構成している。このため、ディスプレイカバー17の後壁13は、ディスプレイマスク16の前壁12および開口部18と向かい合っている。
表示モジュール11は、第2の筐体10に収容されている。表示モジュール11は、フラットな板状であり、画像や映像を表示する画面21を有している。画面21は、ディスプレイマスク16の開口部18から表示部3の外に露出されている。
図1に示すように、一対のヒンジ部22a,22bが第2の筐体10の一端に形成されている。ヒンジ部22a,22bは、第1の筐体4の後端部に図示しないヒンジを介して連結されている。
表示部3は、ヒンジ部22a,22bを支点として第1の回動位置と第2の回動位置との間で回動可能である。第1の回動位置では、表示部3は、画面21がパームレスト5およびキーボード7と向かい合うように機器本体2の上に横たわる。第2の回動位置では、表示部3は、パームレスト5、キーボード7および画面21を露出させるように機器本体2の後端部から起立する。
図1に示すように、ディスプレイマスク16の額縁20は、第1ないし第4の縁部20a、20b、20c、20dを有している。第1の縁部20aは、表示部3が第2の回動位置に回動された時に、画面21の上側で画面21の幅方向に延びている。第2の縁部20bは、表示部3が第2の回動位置に回動された時に、画面21の右側で画面21の高さ方向に延びている。第3の縁部20cは、表示部3が第2の回動位置に回動された時に、画面21の左側で画面21の高さ方向に延びている。第4の縁部20dは、表示部3が第2の回動位置に回動された時に、画面21の下側で画面21の幅方向に延びている。
図6に最もよく示されるように、実装スペース24が第2の筐体10の内部に設けられている。実装スペース24は、額縁20の第1の縁部20aとディスプレイカバー17の後壁13との間で表示モジュール11の幅方向に延びている。実装スペース24は、第2の筐体10の内部で表示モジュール11の周囲に位置されて、表示モジュール11から外れている。
図1に示すように、一対の無線LAN用のアンテナ30a,30bおよび個人認証用のRFIDアンテナモジュール31が第2の筐体10の実装スペース24に配置されている。アンテナ30a,30bは、表示部3が第2の位置に回動された時に、表示部3の上端部に位置されるとともに、表示部3の幅方向に互いに離れている。
RFIDアンテナモジュール31は、ユーザが保持するRFIDカード32との間で電磁波を用いた近距離の無線通信によって情報をやりとりする要素であって、アンテナ30a,30bの間に介在されている。
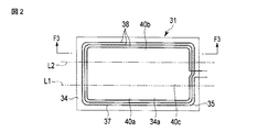
図2ないし図5に示すように、RFIDアンテナモジュール31は、絶縁基板34、アンテナ35および磁性部品36を備えている。絶縁基板34は、例えばポリイミドフィルムあるいはポリエステルフィルムのようなフレキシブルな絶縁フィルムで構成されている。絶縁基板34は、長辺および短辺を備えた矩形状であるとともに、表面34aおよび裏面34bを有している。
アンテナ35は、絶縁基板34の表面34aに積層されている。アンテナ35は、例えば銅箔のような金属箔あるいは導電性ペーストで構成されたアンテナパターン37を有している。アンテナパターン37は、絶縁基板34の長辺および短辺に沿うように絶縁基板34の表面34aの外周部にループコイル状に形成されている。すなわち、図2に示すように、アンテナパターン37は、複数の四角いループ部38を有している。ループ部38は、絶縁基板34の中央部を取り囲むように互いに間隔を存して配線されている。隣り合うループ部38の間隔は、略一定である。
磁性部品36は、例えばゴムバインダーに透磁率が大きい磁性粉末を含有させたシート状の複合素材で構成されている。磁性部品36は、絶縁基板34に対応した大きさを有する矩形状であり、絶縁基板34の裏面34bに貼り合わされている。このため、磁性部品36は、アンテナ35の裏側に位置されて、アンテナ35から発せられた電磁波39を絶縁基板34の裏面34bに沿うようにバイパスさせる機能を有している。
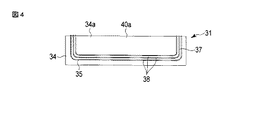
図5および図6に示すように、RFIDアンテナモジュール31は、絶縁基板34の上に定められた二つの直線L1,L2を折り目として屈曲されている。直線L1,L2は、絶縁基板34の長辺の方向に沿うとともに、絶縁基板34の短辺の方向に互いに間隔を存して平行に延びている。
絶縁基板34は、直線L1,L2を境として第1ないし第3の基板部40a,40b,40cに区分けされている。第1の基板部40aは、絶縁基板34を直線L1に沿って略直角に折り曲げることで構成されている。同様に、第2の基板部40bは、絶縁基板34を直線L2に沿って略直角に折り曲げることで構成されている。
この折り曲げにより、磁性部品36が絶縁基板34の曲げ方向に沿う内側に位置されている。それとともに、絶縁基板34のうち直線L1,L2の間に位置された部分が第3の基板部40cを構成している。第3の基板部40cは、第1の基板部40aの一側縁と第2の基板部40bの一側縁との間に跨る略フラットな形状を有している。
第1の基板部40aおよび第2の基板部40bは、第3の基板部40cに対し同じ方向に折り曲げられている。したがって、RFIDアンテナモジュール31は、絶縁基板34の第1の基板部40aおよび第2の基板部40bが磁性部品36を間に挟んで向かいように屈曲されている。
この屈曲により、第1の基板部40aと第2の基板部40bとの間に隙間41が形成されている。隙間41は、第3の基板部40cに対応した幅寸法Wを有するとともに、表示モジュール11の外周部の端面11aに向けて開口されている。さらに、絶縁基板34を屈曲させたことで、磁性部品36が隙間41に面している。
図2および図4に示すように、第1の基板部40aおよび第2の基板部40bは、夫々長辺および短辺を有する矩形状であり、本実施形態では、互いにぴったりと重なり合うような面積を有している。さらに、アンテナパターン37のループ部38は、第1の基板部40aの長辺および短辺、第2の基板部40bの長辺および短辺に沿うように配線されている。
図6に示すように、RFIDアンテナモジュール31の第1の基板部40aは、第2の筐体10内の実装スペース24で前壁12の内面に面している。同様に、第2の基板部40bは、第2の筐体10内の実装スペース24で後壁13の内面に面している。
このため、第1の基板部40aの長辺および短辺に沿うように配線されたアンテナパターン37は、実装スペース24から前壁12に向かう第1の方向を指向している。同様に、第2の基板部40bの長辺および短辺に沿うように配線されたアンテナパターン37は、実装スペース24から後壁13に向かう第2の方向を指向している。第2の方向は、第1の方向に対する向きが第2の筐体10の厚み方向に沿って逆となっている。
この結果、RFIDアンテナモジュール31を屈曲させたことにより、アンテナ35が第2の筐体10の内側で第2の筐体10の厚み方向に沿う複数の方向を指向している。
さらに、第1の実施形態では、RFIDアンテナモジュール31は、例えば接着等の手段により前壁12の内面又は後壁13の内面に固定されている。
図6は、ユーザがポータブルコンピュータ1に内蔵されたRFIDアンテナモジュール31とRFIDカード32との間で無線通信により情報をやりとりしている状態を示している。
RFIDアンテナモジュール31に対応した位置でRFIDカード32を第2の筐体10の前壁12又は後壁13に近づけると、RFIDアンテナモジュール31とRFIDカード32とが電磁誘導により結合されて、RFIDアンテナモジュール31とRFIDカード32との間に交信用の電磁波39が形成される。
具体的には、RFIDカード32を第2の筐体10の前壁12に近付けた場合、第1の基板部40aの上のアンテナ35とRFIDカード32との間に電磁波39が形成される。第1の基板部40aは、アンテナ35の裏側に位置するように積層された磁性部品36を有するので、第1の基板部40aを通過した電磁波39が磁性部品36により遮られる。これにより、電磁波39が第1の基板部40aの面方向に沿うようにバイパスされ、第2の筐体10の実装スペース24を第2の筐体10の後壁13に向けて通過し難くなる。
一方、RFIDカード32を第2の筐体10の後壁13に近付けた場合、第2の基板部40bの上のアンテナ35とRFIDカード32との間に電磁波39が形成される。第2の基板部40bは、アンテナ35の裏側に位置するように積層された磁性部品36を有するので、第2の基板部40bを通過した電磁波39が磁性部品36により遮られる。したがって、電磁波39は、第2の基板部40bの面方向に沿うようにバイパスされ、第2の筐体10の実装スペース24を第2の筐体10の前壁12に向けて通過し難くなる。
しかも、第1の実施形態では、第1の基板部40aと第2の基板部40bとの間に第3の基板部40cに対応した隙間41が確保されている。これにより、第1の基板部40aの上のアンテナ35と第2の基板部40bの上アンテナ35とが互いに遠ざかり、第1の基板部40aのアンテナ35と第2の基板部40bのアンテナ35との間での交信磁界の干渉を回避することができる。
よって、交信磁界が打ち消されないようにして、第2の筐体10の前壁12の側および後壁13の側の双方で無線通信を行えるとともに、良好な通信性能を得ることができる。
さらに、第1の実施形態によると、RFIDアンテナモジュール31は、二つの直線L1,L2を折り目として三次元的な立体形状に屈曲されている。このため、例えば通信に寄与する第1の基板部40aおよび第2の基板部40bの個々の面積が従来のフラットなRFIDアンテナモジュールの面積と同じであると仮定すれば、RFIDアンテナモジュール31の絶縁基板34を平面的に展開した時の絶縁基板34の面積を従来よりも拡張することができる。
したがって、アンテナ35を構成するループ部38の間隔を広げることができる。それとともに、第1および第2の基板部40a,40bの長辺、短辺に沿うアンテナパターン37の全長を長くして、アンテナパターン37で規定されるアンテナ35の開口面積を広げることができる。
この結果、電磁誘導によりアンテナ35に発生する電磁力が強くなって、アンテナ35の利得を高めることができるとともに、交信距離を確保する上においても有利な構成となる。
加えて、RFIDアンテナモジュール31を立体的に折り曲げたことで、第1ないし第3の基板部40a,40b,40cの専有面積を少なく抑えて、RFIDアンテナモジュール31をコンパクト化することができる。よって、第2の筐体10の内部の実装スペース24を拡張することなく、通信性能が良好なRFIDアンテナモジュール31を実装スペース24に配置することができる。
RFIDアンテナモジュールの形状は第1の実施形態に限定されるものではない。例えば、第3の基板部を滑らかな円弧を描くように湾曲させてもよい。
[第2の実施形態]
図7は、第2の実施形態を開示している。
第2の実施形態は、電磁波をバイパスさせる磁性部品に関する事項が第1の実施形態と相違している。それ以外のRFIDアンテナモジュールおよびポータブルコンピュータの構成は、第1の実施形態と同様である。このため、第2の実施形態において、第1の実施形態と同一の構成部分には同一の参照符号を付して、その説明を省略する。
図7に示すように、絶縁基板34の裏面34bに積層された磁性部品50は、第1のシート部51と第2のシート部52とに分割されている。第1のシート部51は、第1の基板部40aに対応した大きさを有する矩形状である。第1のシート部51は、第1の基板部40aに貼り付けられて、第1の基板部40aの上のアンテナ35の裏側に位置されている。
第2のシート部52は、第2の基板部40bに対応した大きさを有する矩形状である。第2のシート部52は、第2の基板部40bに貼り付けられて、第2の基板部40bの上のアンテナ35の裏側に位置されている。
この結果、第1のシート部51および第2のシート部52は、隙間41に面した状態で互いに間隔を存して向かい合っている。
第2の実施形態によると、電磁波39をバイパスさせる磁性部品50が、第1の基板部40aに対応した第1のシート部51と、第2の基板部40bに対応した第2のシート部52とに分割されている。言い換えると、第1のシート部51と第2のシート部52との間に絶縁基板34の第3の基板部40cが介在され、第3の基板部40cにより第1のシート部51が第2のシート部52から切り離されている。
したがって、磁性部品50に柔軟性は要求されず、例えば磁性部品50として磁性粉末を焼き固めたセラミック系材料を用いることができる。よって、磁性部品50の材質を選定する上での自由度が増大する利点がある。
[第3の実施形態]
図8および図9は、第3の実施形態を開示している。
第3の実施形態は、第2の筐体10の内部の実装スペース24に、RFIDアンテナモジュール31と一緒にカメラモジュール60を配置した点が第1の実施形態と相違している。カメラモジュール60を除くRFIDアンテナモジュール31およびポータブルコンピュータ1の構成は、基本的に第1の実施形態と同様である。このため、第3の実施形態において、第1の実施形態と同一の構成部分には同一の参照符号を付して、その説明を省略する。
カメラモジュール60は、電子部品の一例であって、RFIDアンテナモジュール31の第1の基板部40aと第2の基板部40bとの間の隙間41に収容されている。図8および図9に示すように、カメラモジュール60は、モジュール基板61、Webカメラ62および複数のICチップ63を備えている。
モジュール基板61は、表示モジュール11の幅方向に延びる細長いプリント配線板で構成され、図示しないホルダーを介して隙間41に保持されている。モジュール基板61は、第1の面61aおよび第2の面61bを有している。第1の面61aは、RFIDアンテナモジュール31の第1の基板部40aと向かい合っている。第2の面61bは、第1の面61aの裏側に位置されて、RFIDアンテナモジュール31の第2の基板部40bと向かい合っている。このため、モジュール基板61は、絶縁基板34の第1ないし第3の基板部40a,40b,40cによって取り囲まれている。
Webカメラ62は、モジュール基板61の第1の面61aに半田付け等の手段により実装されて、モジュール基板61の長手方向に沿う一端部61cに位置されている。Webカメラ62は、撮像範囲を定める前面レンズ64と、前面レンズ64を透過した光を受ける撮像素子65とを有している。前面レンズ64は、第1の基板部40aを指向している。
ICチップ63は、Webカメラ62の動作を制御するための要素であり、モジュール基板61の第1の面61aおよび第2の面61bに実装されている。
図8に示すように、RFIDアンテナモジュール31は、Webカメラ62の前面レンズ64に対応した位置に通孔66を有している。通孔66は、第1の基板部40aおよび第1の基板部40aに積層された磁性部品36を貫通する孔であり、前面レンズ64と向かい合っている。
さらに、RFIDアンテナモジュール31に開口された通孔66は、第2の筐体10の前壁12に開けたカメラ窓67と向かい合っている。カメラ窓67は、光透過性を有するレンズカバー68で塞がれている。
第3の実施形態によると、三次元的な立体形状に折り曲げられたRFIDアンテナモジュール31で囲まれた領域にカメラモジュール60を配置できる。そのため、第2の筐体10の内部の実装スペース24にカメラモジュール60を配置する専用の領域を確保する必要はない。よって、LAN用のアンテナ30a,30bを収めるスペースを減らすことなく、第2の筐体10にカメラモジュール60を搭載することが可能となる。
さらに、RFIDアンテナモジュール31の磁性部品36でカメラモジュール60を取り囲むことができる。これにより、磁性部品36が有する磁気特性を利用してカメラモジュール60のノイズ対策および静電気対策を実行することができる。
加えて、例えばICチップ63をモジュール基板61に接合する半田のような金属部分がモジュール基板61の上に露出していても、カメラモジュール60とアンテナ35との間に介在された磁性部品36がアンテナ35に生じた電磁波39をシールドする。よって、電磁波39が金属部分を貫通するのを回避でき、RFIDアンテナモジュール31の通信性能を良好に維持することができる。
[第4の実施形態]
図10は、第4の実施形態を開示している。
第4の実施形態は、カメラモジュール60とRFIDアンテナモジュール31との位置関係が第3の実施形態と相違している。
具体的には、モジュール基板61の一端部61cが第1の基板部40aと第2の基板部40bとの間の隙間41から第2の筐体10の内部の実装スペース24に突出されている。これにより、Webカメラ62は、RFIDアンテナモジュール31で囲まれることなく実装スペース24に露出されている。Webカメラ62の前面レンズ64は、実装スペース24で第2の筐体10のレンズカバーと向かい合っている。
第4の実施形態によれば、RFIDアンテナモジュール31の絶縁基板34に前面レンズ64と向かい合う孔を開ける必要はない。このため、絶縁基板34に孔を開ける格別な作業を省略できるとともに、絶縁基板34の強度を確保する上でも好都合となる。
[第5の実施形態]
図11および図12は、第5の実施形態を開示している。
第5の実施形態では、タブレット型のポータブルコンピュータ70を電子機器の一例としている。ポータブルコンピュータ70は、筐体71および表示モジュール72を主要な構成要素として備えている。
筐体71は、フラットな四角い箱形であり、ベース73と保護パネル74とを備えている。ベース73は、例えば合成樹脂材料のような非導電体で構成されている。ベース73は、周壁75および底壁76を有している。周壁75は、第1の壁の一例であって、第1ないし第4の辺部75a,75b,75c,75dを有する四角い枠形である。周壁75は、第1ないし第4の辺部75a,75b,75c,75dで囲まれた第1の開口部78および第2の開口部79を有している。底壁76は、周壁75の第1の開口部78を覆っている。
保護パネル74は、ガラスあるいは合成樹脂材料のような非導電体で構成されている。保護パネル74は、第2の壁の一例であって、四角い透明な表示領域80と、不透明なマスク部81とを有している。マスク部81は、表示領域80を取り囲んだ第1ないし第4の縁部81a,81b,81c,81dを有している。保護パネル74は、周壁75の第2の開口部79を覆っている。保護パネル74のマスク部81は、周壁75の第1ないし第4の辺部75a,75b,75c,75dに対し直交するような姿勢で周壁75と隣り合っている。
したがって、保護パネル74は、ベース73と協働して筐体71の外郭を構成している。
図12に示すように、表示モジュール72は、筐体71に収容されている。表示モジュール72は、画像や映像を表示する画面82を有している。画面82は、保護パネル74の下方に位置されている。
さらに、手書き入力機能を有するタッチパネル83が保護パネル74と表示モジュール72の画面82との間に介在されている。タッチパネル83は、保護パネル74の裏面に接着されている。
図12に示すように、実装スペース85が筐体71の内部に設けられている。第5の実施形態によると、実装スペース85は、周壁75の第1の辺部75a、底壁76および保護パネル74の第1の縁部81aとで囲まれた領域である。実装スペース85は、表示モジュール72の周囲に位置されて、表示モジュール72から外れている。
個人認証用のRFIDアンテナモジュール90が筐体71の実装スペース85に配置されている。RFIDアンテナモジュール90は、ユーザが保持するRFIDカード91との間で電磁波を用いた近距離の無線通信によって情報をやりとりする要素である。
RFIDアンテナモジュール90は、絶縁基板92、アンテナ93および磁性部品94を備えている。絶縁基板92は、フレキシブルな絶縁フィルムで構成されているとともに、長辺および短辺を備えた矩形状である。
アンテナ93は、絶縁基板92の表面に積層されている。アンテナ93は、アンテナパターン95を有している。アンテナパターン95は、絶縁基板92の長辺および短辺に沿うように絶縁基板92の表面の外周部にループコイル状に形成されている。
磁性部品94は、第1の実施形態と同様のシート状の複合素材で構成されている。磁性部品94は、絶縁基板92に対応した大きさを有する矩形状であり、絶縁基板92の裏面に貼り合わされている。このため、磁性部品94は、アンテナ93の裏側に位置されて、アンテナ93から発せられた電磁波96を絶縁基板92の裏面に沿うようにバイパスさせる機能を有している。
RFIDアンテナモジュール90は、絶縁基板92の上に定められた一つの直線L3を折り目として屈曲されている。直線L3は、絶縁基板92の中央を通って絶縁基板92の長辺の方向に延びている。
絶縁基板92は、直線L3を境として第1の基板部97aおよび第2の基板部97bに区分けされている。第1および第2の基板部97a,97bは、絶縁基板92を直線L3に沿って略直角に折り曲げることで構成されている。この折り曲げにより、磁性部品94が絶縁基板92の曲げ方向に沿う内側に位置されている。
RFIDアンテナモジュール90の第1の基板部97aは、筐体71内の実装スペース85で周壁75の第1の辺部75aの内面に面している。第2の基板部97bは、筐体71内の実装スペース85で保護パネル74の第1の縁部81aの内面に面している。
このため、第1の基板部97aの上に位置されたアンテナパターン95は、実装スペース85から周壁75の第1の辺部75aに向かう第1の方向を指向している。第2の基板部97bの上に位置されたアンテナパターン95は、実装スペース85から保護パネル74の第1の縁部81aに向かう第2の方向を指向している。第2の方向は、第1の方向に対し略直した向きとなっている。
したがって、RFIDアンテナモジュール90を屈曲させたことで、アンテナ93は筐体71の実装スペース85で互いに異なる複数の方向を指向している。
図12に示すように、RFIDカード91を周壁75の第1の辺部75aに近付けた場合、第1の基板部97aの上のアンテナ93とRFIDカード91との間に電磁波96が形成される。第1の基板部97aは、アンテナ93の裏側に位置するように積層された磁性部品94を有するので、第1の基板部97aを通過した電磁波96は、磁性部品94により第1の基板部97aの面方向に沿うようにバイパスされる。
RFIDカード91を保護パネル74の第1の縁部81aに近付けた場合、第2の基板部97bの上のアンテナ93とRFIDカード91との間に電磁波96が形成される。第2の基板部97bは、アンテナ93の裏側に位置するように積層された磁性部品94を有するので、第2の基板部97bを通過した電磁波39は、磁性部品94により第2の基板部97bの面方向に沿うようにバイパスされる。
この結果、第1の基板部97aの上のアンテナ93と第2の基板部97bの上のアンテナ93との間での交信磁界の干渉を回避することができる。よって、交信磁界が打ち消されないようにして、筐体71の周壁75の側および保護パネル74の側の双方で無線通信を行えるとともに、良好な通信性能を得ることができる。
さらに、RFIDアンテナモジュール90は、直線L3を折り目として三次元的な立体形状に屈曲されている。このため、前記第1の実施形態と同様に、第1および第2の基板部97a,97bcの専有面積を少なく抑えて、RFIDアンテナモジュール90をコンパクト化することができる。したがって、筐体71の内部の実装スペース85を拡張することなく、通信性能が良好なRFIDアンテナモジュール90を実装スペース85に配置できる。
第1のないし第5の実施形態では、ポータブルコンピュータを電子機器の一例として説明したが、電子機器はポータブルコンピュータに限らず、例えば液晶テレビでも同様に実施可能である。
本発明のいくつかの実施形態を説明したが、これらの実施形態は、例として提示したものであり、発明の範囲を限定することは意図していない。これら新規な実施形態は、その他の様々な形態で実施されることが可能であり、発明の趣旨を逸脱しない範囲で、種々の省略、置き換え、変更を行うことができる。これら実施形態やその変形は、発明の範囲や要旨に含まれるとともに、特許請求の範囲に記載された発明とその均等の範囲に含まれる。
以下に、本願出願の当初の特許請求の範囲に記載された発明を付記する。
[1]フレキシブルな絶縁基板と、
前記絶縁基板に設けられ、電磁誘導により通信を行うループコイル状のアンテナと、
前記絶縁基板に設けられ、前記アンテナの裏側に位置された磁性部品と、を含み、
前記絶縁基板が屈曲されて、前記アンテナが複数の方向を指向するように構成されたRFIDアンテナモジュール。
[2][1]の記載において、前記絶縁基板は、第1の方向を指向する第1の基板部と、前記第1の方向と異なる第2の方向を指向する第2の基板部と、を備え、前記第1の基板部および前記第2の基板部に前記アンテナが形成されたRFIDアンテナモジュール。
[3][2]の記載において、前記第1の基板部および前記第2の基板部は、夫々長辺および短辺を有する矩形状であり、前記アンテナが前記長辺および前記短辺に沿うように配線されたRFIDアンテナモジュール。
[4][3]の記載において、前記絶縁基板は、前記第1の基板部および前記第2の基板部が前記磁性部品を間に挟んで向かい合うように屈曲されたRFIDアンテナモジュール。
[5][4]の記載において、前記第1の基板部と前記第2の基板部との間に前記磁性部品が臨む隙間が形成されたRFIDアンテナモジュール。
[6][4]又は[5]の記載において、前記アンテナは、コイル状に巻回された複数のアンテナパターンを有し、前記アンテナパターンが前記第1の基板部および前記第2の基板部に互いに間隔を存して配線されたRFIDアンテナモジュール。
[7][1]の記載において、前記絶縁基板は、第1の方向を指向する第1の基板部と、前記第1の方向と異なる第2の方向を指向する第2の基板部と、前記第1の基板部と前記第2の基板部との間に跨る第3の基板部と、を備え、前記第1の基板部ないし前記第3の基板部に前記アンテナが形成されているとともに、前記第1の基板部と前記第2の基板部との間に前記磁性部品が面する隙間が形成されたRFIDアンテナモジュール。
[8][7]の記載において、前記絶縁基板は、前記第1の基板部および前記第2の基板部が前記隙間を介して互いに向かい合うように屈曲されたRFIDアンテナモジュール。
[9][7]又は[8]の記載において、前記磁性部品は、前記第1の基板部に積層された第1のシート部と、前記第2の基板部に積層された第2のシート部と、に分割されたRFIDアンテナモジュール。
[10]非導電性を有する筐体と、
前記筐体の内側に配置されたRFIDアンテナモジュールと、を備えた電子機器であって、
前記RFIDアンテナモジュールは、
フレキシブルな絶縁基板と、
前記絶縁基板に設けられ、電磁誘導により通信を行うループコイル状のアンテナと、
前記絶縁基板に設けられ、前記アンテナの裏側に位置された磁性部品と、を含み、
前記絶縁基板が屈曲されて、前記アンテナが前記筐体内で複数の方向を指向するように構成された具備した電子機器。
[11][10]の記載において、前記筐体は、第1の壁と、前記第1の壁と隣り合う第2の壁と、を有し、前記第1の壁および前記第2の壁は、互いに協働して前記筐体の外郭を構成するとともに、
前記RFIDアンテナモジュールの前記絶縁基板は、前記第1の壁に面した第1の基板部と、前記第2の壁に面した第2の基板部と、を含み、前記第1の基板部および前記第2の基板部に前記アンテナが形成された電子機器。
[12][10]の記載において、前記筐体は、第1の壁と、前記第1の壁の反対側に位置された第2の壁と、を有し、前記第1の壁および前記第2の壁は、互いに協働して前記筐体の外郭を構成するとともに、
前記RFIDアンテナモジュールの前記絶縁基板は、前記第1の壁に面した第1の基板部と、前記第2の壁に面した第2の基板部と、を含み、前記第1の基板部および前記第2の基板部に前記アンテナが形成された電子機器。
[13][12]の記載において、前記第1の基板部と前記第2の基板部との間に前記磁性部品が臨む隙間が形成された電子機器。
[14][13]の記載において、前記RFIDアンテナモジュールの前記隙間に配置された電子部品をさらに備えた電子機器。
[15][14]の記載において、前記電子部品が前記RFIDアンテナモジュールの前記磁性部品で囲まれた電子機器。
[16][14]又は[15]の記載において、前記電子部品は、前記筐体の外の情報を取り込むカメラであり、前記カメラは、撮像範囲を定めるレンズを有するとともに、前記RFIDアンテナモジュールの前記絶縁基板および前記磁性部品に前記レンズと向かい合う通孔が設けられた電子機器。
[17]非導電性を有する筐体と、
前記筐体に収容された表示モジュールと、
前記表示モジュールの周囲に位置するように前記筐体内に配置されたRFIDアンテナモジュールと、を備えた電子機器であって、
前記RFIDアンテナモジュールは、
フレキシブルな絶縁基板と、
前記絶縁基板に設けられ、電磁誘導により通信を行うループコイル状のアンテナと、
前記絶縁基板に設けられ、前記アンテナの裏側に位置された磁性部品と、を含み、
前記絶縁基板が屈曲されて、前記アンテナが前記表示モジュールの周囲で複数の方向を指向するように構成された電子機器。
[18][17]の記載において、前記表示モジュールの外周部と前記筐体との間に前記表示モジュールから外れた実装スペースが形成され、前記RFIDアンテナモジュールの前記絶縁基板が前記実装スペースに収容された電子機器。
10…筐体(第2の筐体)、12…第1の壁(前壁)、13…第2の壁(後壁)、24…実装スペース、31…RFIDアンテナモジュール、34…絶縁基板、35…アンテナ、36…磁性部品、40a…第1の基板部、40b…第2の基板部、40c…第3の基板部、41…隙間、60…電子部品(カメラモジュール)。

Claims (7)

  1. 第1の壁と、前記第1の壁の反対側に位置された第2の壁と、を有する非導電性の筐体と、
    前記筐体の内側に配置されたRFIDアンテナモジュールと、
    前記筐体の内側に配置された電子部品と、を備えた電子機器であって、
    前記RFIDアンテナモジュールは、
    立体形状に屈曲されて前記筐体の前記第1の壁および前記第2の壁に面した複数の基板部を有するとともに、前記基板部の間に隙間が形成された絶縁基板と、
    前記絶縁基板の前記基板部に設けられ、電磁誘導により通信を行うループコイル状のアンテナと、
    前記絶縁基板の前記基板部に設けられ、前記隙間に臨むように前記アンテナの裏側に位置された磁性部品と、を含み、
    前記電子部品の少なくとも一部が前記RFIDアンテナモジュールの前記隙間に配置された電子機器。
  2. 請求項1に記載の電子機器において、前記電子部品が前記RFIDアンテナモジュールの前記磁性部品で全体的に囲まれた電子機器。
  3. 請求項1又は請求項2に記載の電子機器において、前記電子部品がICチップである電子機器。
  4. 請求項1又は請求項2に記載の電子機器において、前記電子部品は、前記筐体の外の情報を取り込むカメラであり、前記カメラは、撮像範囲を定めるレンズを有するとともに、前記RFIDアンテナモジュールの前記絶縁基板および前記磁性部品に前記レンズと向かい合う通孔が設けられた電子機器。
  5. 請求項1ないし請求項4のいずれか一項に記載の電子機器において、前記隙間が前記筐体内に開口された電子機器。
  6. 第1の壁と、前記第1の壁の反対側に位置された第2の壁と、を有する非導電性の筐体と、
    前記筐体の内側に配置されたRFIDアンテナモジュールと、
    前記筐体の内側に配置された電子部品と、を備えた電子機器であって、
    前記RFIDアンテナモジュールは、
    立体形状に折り曲げられて前記筐体の前記第1の壁に面した第1の基板部と、前記第2の壁に面した第2の基板部と、前記第1の基板部と前記第2の基板部との間に跨る第3の基板部と、を有するとともに、前記第1の基板部と前記第2の基板部との間に前記筐体内に開口された隙間が形成された絶縁基板と、
    前記絶縁基板の前記第1の基板部ないし前記第3の基板部に設けられ、電磁誘導により通信を行うループコイル状のアンテナと、
    前記絶縁基板の前記第1の基板部ないし前記第3の基板部に設けられ、前記隙間に臨むように前記アンテナの裏側に位置された磁性部品と、を含み、
    前記電子部品の少なくとも一部が前記RFIDアンテナモジュールの前記隙間に配置された電子機器。
  7. 実装スペースを有する非導電性の筐体と、
    前記実装スペースに配置されたRFIDアンテナモジュールと、
    前記実装スペースに配置された部品と、を備えた電子機器であって、
    前記RFIDアンテナモジュールは、
    立体形状に折り曲げられ、複数の基板部の間に隙間が形成された絶縁基板と、
    前記絶縁基板の前記基板部に設けられ、電磁誘導により通信を行うループコイル状のアンテナと、
    前記アンテナの裏側に位置するように前記絶縁基板の前記基板部に設けられ、前記隙間に臨む磁性部品と、を含み、
    前記部品の少なくとも一部が前記RFIDアンテナモジュールの前記隙間に配置された電子機器。
JP2011260327A 2011-11-29 2011-11-29 電子機器 Active JP5284449B2 (ja)

Priority Applications (2)

Application Number Priority Date Filing Date Title
JP2011260327A JP5284449B2 (ja) 2011-11-29 2011-11-29 電子機器
US13/648,696 US8888008B2 (en) 2011-11-29 2012-10-10 RFID antenna module and electronic apparatus

Applications Claiming Priority (1)

Application Number Priority Date Filing Date Title
JP2011260327A JP5284449B2 (ja) 2011-11-29 2011-11-29 電子機器

Publications (2)

Publication Number Publication Date
JP2013115628A JP2013115628A (ja) 2013-06-10
JP5284449B2 true JP5284449B2 (ja) 2013-09-11

Family

ID=48465914

Family Applications (1)

Application Number Title Priority Date Filing Date
JP2011260327A Active JP5284449B2 (ja) 2011-11-29 2011-11-29 電子機器

Country Status (2)

Country Link
US (1) US8888008B2 (ja)
JP (1) JP5284449B2 (ja)

Families Citing this family (20)

* Cited by examiner, † Cited by third party
Publication number Priority date Publication date Assignee Title
US20080117027A1 (en) 2006-11-16 2008-05-22 Zih Corporation Systems, methods, and associated rfid antennas for processing a plurality of transponders
GB2491447B (en) * 2010-03-24 2014-10-22 Murata Manufacturing Co RFID system
US20140227969A1 (en) * 2013-02-11 2014-08-14 Lsi Corporation Indium tin oxide loop antenna for near field communication
KR102415221B1 (ko) * 2013-04-15 2022-06-29 가부시키가이샤 한도오따이 에네루기 켄큐쇼 발광 장치
JP6223067B2 (ja) * 2013-08-28 2017-11-01 デクセリアルズ株式会社 電子機器
KR20150041321A (ko) * 2013-10-08 2015-04-16 엘지이노텍 주식회사 자성시트 및 이를 포함하는 무선충전용 자성부재
TWI604294B (zh) * 2013-12-18 2017-11-01 緯創資通股份有限公司 電子裝置
JP6069388B2 (ja) * 2015-03-06 2017-02-01 レノボ・シンガポール・プライベート・リミテッド 近距離無線通信に使用するアンテナ、電子機器および製造方法
JP2016178449A (ja) * 2015-03-19 2016-10-06 Tdk株式会社 アンテナ装置
US10003120B2 (en) 2016-09-02 2018-06-19 AQ Corporation Smartphone antenna in flexible PCB
US10547112B2 (en) 2016-09-02 2020-01-28 AQ Corporation Smartphone antenna in flexible PCB
US10074891B2 (en) 2016-09-02 2018-09-11 AQ Corporation Smartphone antenna in flexible PCB
USD850424S1 (en) 2016-12-14 2019-06-04 AQ Corporation Flexible PCB dual antenna module for use in smartphone
KR102088032B1 (ko) * 2017-08-18 2020-03-11 주식회사 아모텍 안테나 모듈
US10698455B2 (en) * 2018-03-23 2020-06-30 Wits Co., Ltd. Antenna module and electronic device including the same
KR102560762B1 (ko) 2019-02-13 2023-07-28 삼성전자주식회사 안테나를 포함하는 전자 장치
US11303011B2 (en) 2019-11-27 2022-04-12 AQ Corporation Smartphone antenna in flexible PCB
CN216251103U (zh) * 2021-12-10 2022-04-08 上海商米科技集团股份有限公司 一种手持设备的nfc天线及手持设备
JP7307838B1 (ja) * 2022-05-17 2023-07-12 レノボ・シンガポール・プライベート・リミテッド 電子機器
US12400094B1 (en) * 2024-02-23 2025-08-26 Datalogic Ip Tech S.R.L. Mobile computer with scan engine and NFC booster coil

Family Cites Families (14)

* Cited by examiner, † Cited by third party
Publication number Priority date Publication date Assignee Title
JP2001266100A (ja) * 2000-03-22 2001-09-28 Dainippon Printing Co Ltd 非接触式データキャリアおよび非接触データキャリア付ケース
JP3975918B2 (ja) 2002-09-27 2007-09-12 ソニー株式会社 アンテナ装置
JP4232474B2 (ja) 2002-09-27 2009-03-04 ソニー株式会社 通信機能付き電子機器
JP3794411B2 (ja) 2003-03-14 2006-07-05 セイコーエプソン株式会社 表示装置および電子機器
JP4088797B2 (ja) 2004-11-18 2008-05-21 日本電気株式会社 Rfidタグ
JP2007124557A (ja) 2005-10-31 2007-05-17 Mitsubishi Materials Corp タグアンテナ付き部品及び該部品を備えるrfid機能付き携帯無線機
TW200826366A (en) * 2006-11-02 2008-06-16 Murata Manufacturing Co Antenna coil and antenna unit
JP5248233B2 (ja) * 2008-08-04 2013-07-31 日本信号株式会社 表示パネル、及びリーダライタシステム
US8289438B2 (en) * 2008-09-24 2012-10-16 Apple Inc. Using distance/proximity information when applying a point spread function in a portable media device
JP5287289B2 (ja) * 2009-01-26 2013-09-11 株式会社村田製作所 アンテナ装置
KR101274291B1 (ko) * 2009-02-25 2013-06-13 닛본 덴끼 가부시끼가이샤 무선기
JP2011091744A (ja) 2009-10-26 2011-05-06 Alps Electric Co Ltd 情報処理装置
CN102474000B (zh) * 2009-12-24 2015-07-22 株式会社村田制作所 天线及便携终端
US8896488B2 (en) * 2011-03-01 2014-11-25 Apple Inc. Multi-element antenna structure with wrapped substrate

Also Published As

Publication number Publication date
US8888008B2 (en) 2014-11-18
JP2013115628A (ja) 2013-06-10
US20130134225A1 (en) 2013-05-30

Similar Documents

Publication Publication Date Title
JP5284449B2 (ja) 電子機器
KR102752640B1 (ko) 디스플레이 보호 구조를 포함하는 폴더블 전자 장치
JP5783344B1 (ja) 通信端末装置
JP4469909B1 (ja) 電子機器
KR20200132150A (ko) 폴더블 전자 장치
JP2016111455A (ja) アンテナ装置及びこれを用いた携帯電子機器
JP6903949B2 (ja) タッチパネルモジュール
KR102838277B1 (ko) 정전기 유도 구조를 포함하는 전자 장치
KR102763384B1 (ko) 안테나 성능을 향상시키는 방법 및 전자 장치
CN115885333A (zh) 包括柔性显示器的电子设备
EP4185084A1 (en) Method and electronic device for improving antenna performance
US20160276749A1 (en) Bent-shaped antenna device
JP5417488B2 (ja) 電子機器
JP6122321B2 (ja) アンテナ装置及び電子機器
CN117396825A (zh) 包括柔性显示器的电子设备
CN208478559U (zh) 天线模块及电子装置
JP2011193244A (ja) 無線通信装置
CN109286060A (zh) 天线模块以及具有该天线模块的电子装置
CN110301068B (zh) 增强天线结构体、通信设备和机箱
KR20220078966A (ko) 플렉서블 디스플레이를 포함하는 전자 장치
JP6520509B2 (ja) 電子機器
JP2015144367A (ja) アンテナ装置及びこれを用いた携帯電子機器
JP2011004263A (ja) 電子機器
CN109155463B (zh) 天线装置及电子设备
KR102868517B1 (ko) 디스플레이 구동 회로의 방열 특성을 높일 수 있는 전자 장치

Legal Events

Date Code Title Description
A521 Request for written amendment filed

Free format text: JAPANESE INTERMEDIATE CODE: A523

Effective date: 20130411

TRDD Decision of grant or rejection written
A01 Written decision to grant a patent or to grant a registration (utility model)

Free format text: JAPANESE INTERMEDIATE CODE: A01

Effective date: 20130507

A61 First payment of annual fees (during grant procedure)

Free format text: JAPANESE INTERMEDIATE CODE: A61

Effective date: 20130529

R151 Written notification of patent or utility model registration

Ref document number: 5284449

Country of ref document: JP

Free format text: JAPANESE INTERMEDIATE CODE: R151

S111 Request for change of ownership or part of ownership

Free format text: JAPANESE INTERMEDIATE CODE: R313121

Free format text: JAPANESE INTERMEDIATE CODE: R313117

R350 Written notification of registration of transfer

Free format text: JAPANESE INTERMEDIATE CODE: R350