JP5284447B2 - 分散電源システム - Google Patents
分散電源システム Download PDFInfo
- Publication number
- JP5284447B2 JP5284447B2 JP2011253947A JP2011253947A JP5284447B2 JP 5284447 B2 JP5284447 B2 JP 5284447B2 JP 2011253947 A JP2011253947 A JP 2011253947A JP 2011253947 A JP2011253947 A JP 2011253947A JP 5284447 B2 JP5284447 B2 JP 5284447B2
- Authority
- JP
- Japan
- Prior art keywords
- power
- converter
- bus
- voltage
- unit
- Prior art date
- Legal status (The legal status is an assumption and is not a legal conclusion. Google has not performed a legal analysis and makes no representation as to the accuracy of the status listed.)
- Expired - Fee Related
Links
Images
Classifications
-
- H—ELECTRICITY
- H02—GENERATION; CONVERSION OR DISTRIBUTION OF ELECTRIC POWER
- H02J—ELECTRIC POWER NETWORKS; CIRCUIT ARRANGEMENTS OR SYSTEMS FOR SUPPLYING OR DISTRIBUTING ELECTRIC POWER; SYSTEMS FOR STORING ELECTRIC ENERGY
- H02J3/00—Circuit arrangements for AC mains or AC distribution networks
- H02J3/28—Arrangements for balancing of the load in networks by storage of energy
- H02J3/32—Arrangements for balancing of the load in networks by storage of energy using batteries or super capacitors with converting means
-
- H—ELECTRICITY
- H02—GENERATION; CONVERSION OR DISTRIBUTION OF ELECTRIC POWER
- H02J—ELECTRIC POWER NETWORKS; CIRCUIT ARRANGEMENTS OR SYSTEMS FOR SUPPLYING OR DISTRIBUTING ELECTRIC POWER; SYSTEMS FOR STORING ELECTRIC ENERGY
- H02J3/00—Circuit arrangements for AC mains or AC distribution networks
- H02J3/38—Arrangements for feeding a single network from two or more generators or sources in parallel; Arrangements for feeding already energised networks from additional generators or sources in parallel
- H02J3/381—Dispersed generators
-
- H—ELECTRICITY
- H02—GENERATION; CONVERSION OR DISTRIBUTION OF ELECTRIC POWER
- H02J—ELECTRIC POWER NETWORKS; CIRCUIT ARRANGEMENTS OR SYSTEMS FOR SUPPLYING OR DISTRIBUTING ELECTRIC POWER; SYSTEMS FOR STORING ELECTRIC ENERGY
- H02J7/00—Circuit arrangements for charging or discharging batteries or for supplying loads from batteries
- H02J7/34—Parallel operation in networks using both storage and other DC sources, e.g. providing buffering
- H02J7/35—Parallel operation in networks using both storage and other DC sources, e.g. providing buffering with light sensitive cells
-
- H—ELECTRICITY
- H02—GENERATION; CONVERSION OR DISTRIBUTION OF ELECTRIC POWER
- H02J—ELECTRIC POWER NETWORKS; CIRCUIT ARRANGEMENTS OR SYSTEMS FOR SUPPLYING OR DISTRIBUTING ELECTRIC POWER; SYSTEMS FOR STORING ELECTRIC ENERGY
- H02J2101/00—Supply or distribution of decentralised, dispersed or local electric power generation
- H02J2101/10—Dispersed power generation using fossil fuels, e.g. diesel generators
-
- H—ELECTRICITY
- H02—GENERATION; CONVERSION OR DISTRIBUTION OF ELECTRIC POWER
- H02J—ELECTRIC POWER NETWORKS; CIRCUIT ARRANGEMENTS OR SYSTEMS FOR SUPPLYING OR DISTRIBUTING ELECTRIC POWER; SYSTEMS FOR STORING ELECTRIC ENERGY
- H02J2101/00—Supply or distribution of decentralised, dispersed or local electric power generation
- H02J2101/20—Dispersed power generation using renewable energy sources
- H02J2101/22—Solar energy
- H02J2101/24—Photovoltaics
-
- H—ELECTRICITY
- H02—GENERATION; CONVERSION OR DISTRIBUTION OF ELECTRIC POWER
- H02J—ELECTRIC POWER NETWORKS; CIRCUIT ARRANGEMENTS OR SYSTEMS FOR SUPPLYING OR DISTRIBUTING ELECTRIC POWER; SYSTEMS FOR STORING ELECTRIC ENERGY
- H02J2101/00—Supply or distribution of decentralised, dispersed or local electric power generation
- H02J2101/20—Dispersed power generation using renewable energy sources
- H02J2101/28—Wind energy
-
- H—ELECTRICITY
- H02—GENERATION; CONVERSION OR DISTRIBUTION OF ELECTRIC POWER
- H02J—ELECTRIC POWER NETWORKS; CIRCUIT ARRANGEMENTS OR SYSTEMS FOR SUPPLYING OR DISTRIBUTING ELECTRIC POWER; SYSTEMS FOR STORING ELECTRIC ENERGY
- H02J2101/00—Supply or distribution of decentralised, dispersed or local electric power generation
- H02J2101/20—Dispersed power generation using renewable energy sources
- H02J2101/30—Fuel cells
-
- Y—GENERAL TAGGING OF NEW TECHNOLOGICAL DEVELOPMENTS; GENERAL TAGGING OF CROSS-SECTIONAL TECHNOLOGIES SPANNING OVER SEVERAL SECTIONS OF THE IPC; TECHNICAL SUBJECTS COVERED BY FORMER USPC CROSS-REFERENCE ART COLLECTIONS [XRACs] AND DIGESTS
- Y02—TECHNOLOGIES OR APPLICATIONS FOR MITIGATION OR ADAPTATION AGAINST CLIMATE CHANGE
- Y02E—REDUCTION OF GREENHOUSE GAS [GHG] EMISSIONS, RELATED TO ENERGY GENERATION, TRANSMISSION OR DISTRIBUTION
- Y02E10/00—Energy generation through renewable energy sources
- Y02E10/50—Photovoltaic [PV] energy
- Y02E10/56—Power conversion systems, e.g. maximum power point trackers
Landscapes
- Engineering & Computer Science (AREA)
- Power Engineering (AREA)
- Charge And Discharge Circuits For Batteries Or The Like (AREA)
- Supply And Distribution Of Alternating Current (AREA)
- Inverter Devices (AREA)
Description
この発明は、交流電力系統に連系される分散電源システムに関する。
自然エネルギーの普及に伴って、交流電力系統に連系して運転される分散電源システムが実用化されている。以下、図13、図14を参照して、従来の分散電源システムの構成例について説明する。
図13は、第1の従来例としての分散電源システム910の構成を示す図である。図13に示す分散電源システム910では、交流電力系統1に接続された交流母線6に、太陽光発電(PV:Photovoltaic)装置21および蓄電池61がそれぞれ電力変換器を介して接続されている。具体的に、PV装置21は、直流/直流(DC/DC)変換器22および直流/交流(DC/AC)変換器30を介在して交流母線6に接続される。蓄電池61は、双方向の交流/直流(AC/DC)変換器40を介在して交流母線6に接続される。交流母線6にはさらに負荷として交流家電機器4が接続される。
図13において、PV装置21が発生した直流電力は、交流電力に変換された後、交流母線6を介して交流家電機器4に供給される。さらに、PV装置21が発生した余剰電力は、交流電力系統1に逆潮流することもできるし、双方向AC/DC変換器40によって直流電力に変換してから蓄電池61に充電することもできる。
なお、現在、一般家庭用の分散電源では、太陽光発電の余剰電力についてのみ電気会社による買取りが行なわれている。このため、PV装置以外の家庭用燃料電池、ガスエンジン、蓄電池などの他の発電設備を併設している場合には、通常、他の発電設備に逆潮流防止リレーが設置されている。
図13の従来例の場合には、双方向AC/DC変換器40と交流母線6との接続点11よりも上流側(交流母線6と交流電力系統1との接続点12寄りの位置)に電力検出部13が設けられている。さらに、双方向AC/DC変換器40の交流側端子に接続される線路上にスイッチ14が設けられている。スイッチ14は、電力検出部13によって逆潮流が検出された場合にはスイッチ14がオフ状態に切替わることによって蓄電池からの逆潮流を防止する。
図13に示すように、交流母線に太陽光発電装置や蓄電池などの複数の分散電源が接続される例は、たとえば、特開2005−287132号公報(特許文献1)に開示されている。この文献の例では、交流母線であるコージェネ用供給ラインに、太陽光発電装置がインバータを介して接続されるとともに、ガスエンジンによって発電装置を駆動するように構成された熱電併給装置が接続されている。
図14は、第2の従来例としての分散電源システム910Aの構成を示す図である。図14に示す分散電源システム910Aは、直流母線7が設けられている点で、図13の分散電源システム910と異なる。直流母線7には、双方向AC/DC変換器30Aを介在して交流電力系統1が接続される。直流母線7には、さらに、DC/DC変換器22を介在してPV装置21が接続されるとともに、蓄電池61および直流家電機器5が接続されている。
図14において、PV装置21で発生した電力および蓄電池61からの放電電力は、直流家電機器5に供給されるとともに、双方向AC/DC変換器30Aによって交流電力に変換された後に、交流家電機器4に供給される。さらに、PV装置21で発生した電力は、直流母線7を介して蓄電池61に充電することもできるし、双方向AC/DC変換器30Aによって交流電力に変換して逆潮流することも可能である。
なお、図14において、PV装置21で発生した電力を交流電力系統1に逆潮流しているときには、電力検出部13によって逆潮流電力が検出されるので、スイッチ14がオフ状態になり、この結果、蓄電池61が直流母線7から切り離され、蓄電池61からの逆潮流が防止される。
図14に示すように、直流母線に複数の分散電源が接続されている例は、たとえば、特開2003−339118号公報(特許文献2)や特開2008−42999号公報(特許文献3)に開示されている。前者の文献の例では、風力電力ユニット、太陽光発電ユニット、電力貯蔵ユニット、フライホイールユニット、負荷ユニットとがDCバスによって相互に接続されている。DCバスは系統連系ユニットを介在してACバスと連結される。後者の文献の例では、直流給電路に、バッテリユニットと、太陽電池を含む発電手段とが接続されている。
図13に示す従来の分散電源システム910の場合、PV装置21からの電力を蓄電池61に充電する場合、PV装置21で発生した直流電力は、一旦、交流電力に変換された後、直流電力に再変換されてから蓄電池61に供給される。このため、電力変換器での損失が多くなるという欠点がある。
これに対して、図14に示す従来の分散電源システム910Aの場合には、PV装置21で発生した直流電力は、交流電力に変換されることなく蓄電池61に供給されるので、図13の場合に比べて電力変換器での損失は少ない。
しかしながら、図14に示す分散電源システム910Aでは、蓄電池61からの電力が電力系統に逆潮流されるのを防止する必要があるために、PV装置21で発生した電力は、交流電力系統1に逆潮流するのと同時に蓄電池61に充電することはできない。同様の理由で、蓄電池61の放電電力を交流家電機器4に供給しながら、PV装置21で発生した電力を交流電力系統1に逆潮流することもできない。このように、図14の分散電源システムでは、運転方法に制限があるためにPV装置で発生した電力を無駄なく効率的に利用できていない。
この発明の目的は、PV装置などの直流電源部と蓄電池などの電力貯蔵部とを含み、交流電力系統に連系される分散電源システムにおいて、直流電源部で発生した電力の効率的な利用を可能にすることである。
この発明は、一局面において分散電源システムであって、交流母線と、直流電源部と、第1の変換器と、電力貯蔵部と、第2の変換器と、直流線路と、電流阻止部とを備える。交流母線は、交流電力系統と接続される。直流電源部は、直流電力を発生して出力する。第1の変換器は、直流電源部から出力された直流電力を交流電力に変換して交流母線に供給する。電力貯蔵部は、直流電力の充放電を行なう。第2の変換器は、電力貯蔵部からの直流電力を交流電力に変換して交流母線に供給するか、もしくは交流母線からの交流電力を直流電力に変換して電力貯蔵部に供給する双方向の変換を行なう。直流線路は、第1の変換器の直流側端子と、第2の変換器の直流側端子との間を接続する。電流阻止部は、直流線路上に設けられ、第2の変換器の直流側端子から第1の変換器の直流側端子へ流れる電流を阻止する。
好ましい実施の一形態において、電流阻止部は、直流線路に挿入された第1のスイッチと、直流線路を流れる直流電流を検出する電流検出部とを含む。ここで、第1のスイッチは、第2の変換器の直流側端子から第1の変換器の直流側端子の方向へ電流が流れている場合にオン状態からオフ状態に切替わる。
上記の実施の一形態における好ましい一例では、電流阻止部は、第1のスイッチの両側の電圧を検出する電圧検出部をさらに含む。この場合、第1のスイッチは、第1の変換器の直流側端子の電圧が第2の変換器の直流側端子の電圧よりも高い状態が所定の時間継続したとき、オフ状態からオン状態に切替わる。
上記の実施の一形態における他の好ましい例では、第1のスイッチは、オン状態からオフ状態に切替わってから所定の時間が経過したとき、オフ状態からオン状態に切替わる。
好ましい実施の他の形態において、電力貯蔵部は、蓄電池と、第3の変換器とを含む。第3の変換器は、蓄電池からの直流電圧を大きさの異なる直流電圧に変換して第2の変換器の直流側端子に供給する第1の変換動作、および第2の変換器からの直流電圧を大きさの異なる直流電圧に変換して蓄電池に充電電圧として供給する第2の変換動作の一方を選択的に行なう。電流阻止部は、直流線路に挿入された第1のスイッチを含む。この第1のスイッチは、第3の変換器が第1の変換動作を行なっているときにオフ状態になり、第3の変換器が第2の変換動作を行なっているときにオン状態になる。
上記の実施の各形態において、好ましくは、分散電源システムは、第2の変換器の交流側端子と交流電力系統との間の交流母線における交流電力を検出する交流電力検出部と、交流電力検出部によって逆潮流が検出されたときに、第2の変換器から交流母線の方向またはその逆方向への電力供給を遮断する第2のスイッチとをさらに備える。
上記の実施の各形態において、好ましくは、第1の変換器は、直流電源部から出力された直流電力を交流電力に変換して交流母線に供給するか、もしくは交流母線からの交流電力を直流電力に変換して直流線路に供給する双方向の変換を行なう。
上記の実施の各形態において、好ましくは、第1の変換器は、直流電源部から出力された直流電力を交流電力に変換して交流母線に供給するか、もしくは交流母線からの交流電力を直流電力に変換して直流線路に供給する双方向の変換を行なう。
この発明によれば、直流線路を介して直流電源部からの電力を電力貯蔵部に充電できるのに対して、電力貯蔵部からの電力は電流阻止部によって阻止されるために直流線路および第1の変換部を介して電力系統に逆潮流されることはない。この結果、従来の分散電源システムで問題となっていた運転方法の制限を緩和することができるので、直流電源部で発生した電力をより効率的に利用できる。
以下、この発明の実施の形態について図面を参照して詳しく説明する。なお、同一または相当する部分には同一の参照符号を付して、その説明を繰り返さない。
<実施の形態1>
[分散電源システムの構成]
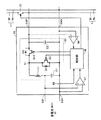
図1は、この発明の実施の形態1による分散電源システム10の構成を示すブロック図である。図1を参照して分散電源システム10は、交流母線6と、直流電力を発生して出力する直流電源部20と、直流電力の充放電を行なう電力貯蔵部60と、DC/AC変換器30と、双方向AC/DC変換器40と、直流母線7と、電流阻止部70と、電力検出部13と、スイッチ14とを含む。
[分散電源システムの構成]
図1は、この発明の実施の形態1による分散電源システム10の構成を示すブロック図である。図1を参照して分散電源システム10は、交流母線6と、直流電力を発生して出力する直流電源部20と、直流電力の充放電を行なう電力貯蔵部60と、DC/AC変換器30と、双方向AC/DC変換器40と、直流母線7と、電流阻止部70と、電力検出部13と、スイッチ14とを含む。
交流母線6は、交流電力系統1と接続される。交流母線6には、商用電源3によって生成された交流電力が変圧器2によって電圧変換されてから供給される。図1の場合、交流母線6は単相3線式(R相線路6R、S相線路6S、中性線6O)であり、中性線6Oが接地されている。R相線路6RとS相線路6Sの線間電圧は、たとえば、200V(実効値)である。交流母線6には、交流電力によって動作する交流家電機器4が接続されている。交流家電機器4の一例として、家庭で使用される空調機、冷蔵庫、洗濯機、およびテレビ受像機などが挙げられる。
直流電源部20は、直流電力を発生する分散電源であり、発電した電力は交流電力系統に逆潮流可能(電力会社によって買取可能)である。この実施の形態では、分散電源の代表例として太陽光発電(PV)装置が例示されている。この場合、直流電源部20は、太陽光発電(PV)装置21と、DC/DC変換器22とを含む。
DC/DC変換器22は、PV装置21から出力された直流電圧を昇圧する。図1の場合、DC/DC変換器22は、その入力電圧、入力電流を、PV装置21が最大電力点で動作するように制御する。ただし、DC/DC変換器22は、その出力電圧がある電圧(機器を保護するために素子耐圧などで決められた最大電圧(たとえば、420V))よりも高くなると出力を抑制する。したがって、通常の場合にはPV装置21の発電量が多くなると、DC/DC変換器22の出力電圧(すなわち、直流母線7との接続点16の電圧)が大きくなる。DC/DC変換器22の出力電圧が蓄電池61の充電電圧よりも高くなると蓄電池に電流が流れるので(充電状態)、結果的にDC/DC変換器22の出力電圧は蓄電池61の電圧に一致した状態になる。PV装置21の発電電力が低下したり、DC/AC変換器30のAC出力が増加したりすると、接続点16の電圧が下がる。この接続点16の電圧が蓄電池61の電圧より低くなると蓄電池61への充電が停止する。このとき接続点16の電圧は、DC/AC変換器30によって制御される。
電力会社による電力買取りの対象が他の分散電源に対して認められている場合には、PV装置21に代えて、燃料電池発電装置、可変速風力発電装置、およびマイクロガスタービン発電装置などを設けることもできる。可変速風力発電装置およびマイクロガスタービン発電装置の場合には、DC/DC変換器22に代えて交流電力を直流電力に変換する整流装置が設けられる。
DC/AC変換器(インバータ)30は、直流電源部20から出力された直流電力を交流電力に変換して交流母線6に供給する。DC/AC変換器30は、たとえば、通常の電圧形インバータの交流側端子に連系リアクトルを接続することによって電力系統に連系可能なように構成されている。
電力貯蔵部60は、直流電力を充放電する蓄電池(二次電池)61によって構成される。蓄電池61の例として、リチウムイオン二次電池や鉛蓄電池などを挙げることができる。蓄電池61に代えて電気二重層キャパシタなどの大容量キャパシタを用いることもできる。
双方向AC/DC変換器40は、蓄電池61から放電された直流電力を交流電力に変換して交流母線6に供給するか、もしくは交流母線6からの交流電力を直流電力に変換して蓄電池61に充電電力として供給する双方向の変換を行なう。双方向AC/DC変換器40は、たとえば、直流電力を交流電力に変換するDC/AC変換器(インバータ)と、交流電力を直流電力に変換するAC/DC変換器とを並列に接続することによって構成される。後者のAC/DC変換器は、たとえば、全波整流回路と昇圧チョッパなどのDC/DC変換器とを含む。
直流母線7(正極側線路7P、負極側線路7N)は、DC/DC変換器22の2次側端子、DC/AC変換器30のDC側端子、電力貯蔵部60の出力端子、および双方向AC/DC変換器40のDC側端子と接続されている。直流母線7には、さらに、直流電力によって動作する直流家電機器5が接続されている。直流家電機器5の一例として、電動機を可変速制御するためのインバータが組み込まれた家電機器(空調機、冷蔵庫、洗濯機など)が挙げられる。この場合、インバータの入力端子が直流母線7に接続される。
なお、図1の場合、蓄電池61は、直流母線7に直結される。ここで、「直結」とは、直流母線7と蓄電池61との間に、DC/DC変換器のような電力変換器が介在していないことを意味する。したがって、直流母線7の電圧は、蓄電池61の端子電圧にほぼ等しくなる。蓄電池61を直流母線7に直結することによって、蓄電池61が有する高い電圧安定化能力を生かして、急激な負荷変動(直流家電機器5の消費電力の変動)による直流母線7の電圧変動を抑制することができる。
電流阻止部70は、直流母線7(7P,7N)とDC/AC変換器30との接続点16(16P,16N)と、直流母線7と双方向AC/DC変換器40との接続点15(15P,15N)との間の直流母線7上(言い換えると、DC/AC変換器30の直流側端子と、双方向AC/DC変換器40の直流側端子とを接続する直流線路17(17P,17N)上)に設けられる。電流阻止部70は、接続点16から接続点15の方向には電流を流すが、接続点15から接続点16の方向(言い換えると、双方向AC/DC変換器40の直流側端子からDC/AC変換器30の直流側端子の方向)には電流を流さない。図1の場合、電流阻止部70は、正極側線路7P上に設けられたダイオード71によって構成される。ダイオード71のアノードは、接続点16P側に接続され、カソードは接続点15P側に接続される。
電力検出部13は、交流母線6(6R,6S)と交流電力系統1との接続点12(12R,12S)と、交流母線6と双方向AC/DC変換器40との接続点11(11R,11S)との間の交流母線6上(言い換えると、電力検出部13は、接続点11よりも上流側の交流母線6上)に設けられる。電力検出部13は、設置場所における交流母線6の瞬時電圧と瞬時電流を検出し、これらの検出値に基づいて瞬時電力を求める。電力検出部13は、求めた瞬時電力に基づいて、接続点11から接続点12の方向(言い換えると、双方向AC/DC変換器40の交流側端子から交流電力系統1の方向)に潮流(逆潮流)が生じているか否かを判定し、逆潮流が生じている場合にはスイッチ14をオフ状態にする。
より詳細には図1に示すように、電力検出部13は、R相線路6Rを流れる瞬時電流を検出する計器用変流器13Aと、S相線路6Sを流れる瞬時電流を検出する計器用変流器13Bと、R相線路6SおよびS相線路6S間の線間電圧の瞬時値を検出する交流電圧計13Cと、演算部13Dとを含む。交流家電機器4として100Vの家電機器が接続されている場合は、R相およびS相のいずれか一方が使用されるためR相とS相とのバランスが均一でなくなるので、R相およびS相の両方の電流を検出する必要がある。
演算部13Dは、計器用変流器13A,13Bおよび交流電圧計13Cの検出結果に基づいて、瞬時電力を求める。演算部13Dは、さらに、1周期(50Hzの場合は20msec)で瞬時電力を平均した平均電力(有効電力)を求め、この1周期当たりの平均電力の正負で電力の方向(逆潮流しているか否か)を判定する。
簡易的な方法として、電圧の正負の切替わり点(ゼロクロス)を検出して、その間の電流の測定値と、電圧の推定値とを積算することによって、電力の方向を(逆潮流しているか否か)を判定することができる。
スイッチ14は、双方向AC/DC変換器40の交流側端子と交流母線6とを接続する交流線路上に設けられている。電力検出部13からの指令を受けてスイッチ14がオフ状態になった場合には、双方向AC/DC変換器40から交流母線の方向またはその逆方向への電力の供給が遮断される。
たとえば、蓄電池61から放電された電力が双方向AC/DC変換器40によって交流電力に変換されてから交流家電機器4に供給されている場合、蓄電池61からの放電電力が交流家電機器4の消費電力を上回ると逆潮流が生じる。この場合、スイッチ14がオフ状態に切替わることによって蓄電池61からの逆潮流を防止することができる。
[分散電源システムの動作]
次に、以上の構成の分散電源システム10の動作について説明する。
次に、以上の構成の分散電源システム10の動作について説明する。
(交流電力系統1からの電力供給)
交流電力系統1からの交流電力は、交流母線6を介して交流家電機器4に供給される。さらに、交流電力系統1からの交流電力は、双方向AC/DC変換器40によって直流電力に変換される。変換後の直流電力は、直流母線7を介して直流家電機器5に供給され、さらには電力貯蔵部60に充電される。
交流電力系統1からの交流電力は、交流母線6を介して交流家電機器4に供給される。さらに、交流電力系統1からの交流電力は、双方向AC/DC変換器40によって直流電力に変換される。変換後の直流電力は、直流母線7を介して直流家電機器5に供給され、さらには電力貯蔵部60に充電される。
(直流電源部20からの電力供給)
直流電源部20からの直流電力は、直流母線7を介して直流家電機器5に供給され、さらには、電力貯蔵部60に充電される。さらに、直流電源部20からの直流電力は、DC/AC変換器30によって交流電力に変換される。変換によって得られた交流電力は、交流電力系統1に逆潮流され、さらには交流母線6を介して交流家電機器4に供給される。なお、図1の構成では、直流電源部20からの直流電力を双方向AC/DC変換器40によって交流電力に変換し、変換後の交流電力を交流家電機器4に供給することもできる。
直流電源部20からの直流電力は、直流母線7を介して直流家電機器5に供給され、さらには、電力貯蔵部60に充電される。さらに、直流電源部20からの直流電力は、DC/AC変換器30によって交流電力に変換される。変換によって得られた交流電力は、交流電力系統1に逆潮流され、さらには交流母線6を介して交流家電機器4に供給される。なお、図1の構成では、直流電源部20からの直流電力を双方向AC/DC変換器40によって交流電力に変換し、変換後の交流電力を交流家電機器4に供給することもできる。
ここで、直流電源部20からの直流電力は、交流電力に変換されることなく電力貯蔵部60に充電されるので、図13で説明した従来の分散電源システム910に比べて電力変換に伴う損失を少なくすることができる。さらに、図1の分散電源システム10では、直流電源部20からの電力を交流電力系統1に逆潮流するのと同時に電力貯蔵部60に充電することができる。したがって、図14で説明した従来の分散電源システム910Aに比べて直流電源部20の発電電力を有効利用することができる。
(電力貯蔵部60からの電力供給)
電力貯蔵部60からの直流電力は、直流母線7を介して直流家電機器5に供給される。さらに、電力貯蔵部60からの直流電力は、双方向AC/DC変換器40によって交流電力に変換される。変換によって得られた交流電力は、交流母線6を介して交流家電機器4に供給される。
電力貯蔵部60からの直流電力は、直流母線7を介して直流家電機器5に供給される。さらに、電力貯蔵部60からの直流電力は、双方向AC/DC変換器40によって交流電力に変換される。変換によって得られた交流電力は、交流母線6を介して交流家電機器4に供給される。
なお、電流阻止部70によって阻止されるために、電力貯蔵部60からの直流電力が直流母線7を介してDC/AC変換器30の方向へ流れることはない。電力貯蔵部60からの直流電力が双方向AC/DC変換器40によって交流電力に変換された場合には、変換後の交流電力が交流母線6を介して交流電力系統1の方向へ流れることはない。なぜなら、もし双方向AC/DC変換器40による変換後の交流電力が交流母線6を介して交流電力系統1の方向へ流れると、電力検出部13によって検出される結果、スイッチ14が開放するからである。このように、図1の分散電源システム10は、電力貯蔵部60から交流電力系統1への逆潮流が生じない構成となっている。
[各変換器の構成の一例]
以下、各変換器22,30,40の構成の一例について説明する。
以下、各変換器22,30,40の構成の一例について説明する。
(DC/DC変換器22の構成)
図2は、図1のDC/DC変換器22の構成の一例を示す回路図である。図2を参照して、DC/DC変換器22は、入力電圧検出部27と、出力電圧検出部29と、直流電流検出部28と、昇圧チョッパ回路25と、制御部26とを含む。
図2は、図1のDC/DC変換器22の構成の一例を示す回路図である。図2を参照して、DC/DC変換器22は、入力電圧検出部27と、出力電圧検出部29と、直流電流検出部28と、昇圧チョッパ回路25と、制御部26とを含む。
入力電圧検出部27は、DC/DC変換器22の入力端子23P,23N間の電圧を検出し、その検出結果を制御部26に出力する。なお、入力端子23Pは図1のPV装置21の正極側出力端子に接続され、入力端子23Nは図1のPV装置21の負極側出力端子に接続される。
出力電圧検出部29は、DC/DC変換器22の出力端子24P,24N間の電圧を検出し、その検出結果を制御部26に出力する。なお、出力端子24Pは、図1の直流母線7を構成する正極側線路7Pに接続され、出力端子24Nは、図1の直流母線7を構成する負極側線路7Nに接続される。
直流電流検出部28は、負極側の入力端子23Nを流れる電流(すなわち、PV装置21からDC/DC変換器22に供給される直流電力の電流値)を検出して、その検出結果を制御部26に出力する。なお、負極側の入力端子23Nと負極側の出力端子24Nとは直結されている。
昇圧チョッパ回路25は、リアクトルL1と、ダイオードD1,D2と、トランジスタQ1と、コンデンサC1,C2とを含む。リアクトルL1およびダイオードD2は、この順で、ダイオードD2のカソードが出力端子24P側となるように、入出力端子23P,24P間に接続される。トランジスタQ1は、リアクトルL1とダイオードD2との接続ノードN1と出力端子24Nとの間に接続される。ダイオードD1は、トランジスタQ1と並列にかつ逆バイアス方向となるように接続される。コンデンサC1は、入力端子23P,23N間に接続される。コンデンサC2は、出力端子24P,24N間に接続される。
上記のトランジスタQ1として、図2の場合にはIGBT(Insulated Gate Bipolar Transistor)が用いられている。トランジスタQ1として、パワーMOSFET(Metal-Oxide-Semiconductor Field-Effect Transistor)などの他の電力用半導体素子を用いても構わない。
以下、昇圧チョッパ回路25の動作について簡単に説明する。トランジスタQ1がオンの期間では、正極側の入力端子23P、リアクトルL1、トランジスタQ1、負極側の入力端子23Nの順に電流が流れる。これによってリアクトルL1を流れる電流が次第に増加し、リアクトルL1に電磁エネルギーが蓄積される。トランジスタQ2がオフの期間では、リアクトルL1を流れる電流はダイオードD2を介してコンデンサC2に流入し、コンデンサC2の両端間の電圧を増加させる。このオフ期間において、リアクトルL1を流れる電流は次第に減少し、リアクトルL1の電磁エネルギーが放出される。最終的にリアクトルL1を流れる電流はオン時間の比率が大きければ大きいほど際限なく大きくなるので、最終的なコンデンサC2の電圧(昇圧電圧)はオン時間の比率に応じて決まる。
制御部26は、入力電圧検出部27、出力電圧検出部29、および直流電流検出部28の各々の検出結果に基づいて、トランジスタQ1のオン・オフを制御する制御信号を生成する。より詳細には、制御部26は、DC/DC変換器22の出力電圧が予め決められた電圧(機器の保護のために素子の耐圧などで決まる電圧)以上にならない限り、PV装置21が最大電力点で動作するようにDC/DC変換器22の入力電圧を制御する。
(DC/AC変換器30の構成)
図3は、図1のDC/AC変換器30の構成の一例を示す回路図である。図3を参照して、DC/AC変換器30は、DC側電圧検出部36と、直流電流検出部35と、単相ブリッジ回路33と、連系リアクトルL2,L3と、制御部34とを含む。
図3は、図1のDC/AC変換器30の構成の一例を示す回路図である。図3を参照して、DC/AC変換器30は、DC側電圧検出部36と、直流電流検出部35と、単相ブリッジ回路33と、連系リアクトルL2,L3と、制御部34とを含む。
DC側電圧検出部36は、DC/AC変換器30のDC側端子31P,31N間の電圧を検出し、その検出結果を制御部34に出力する。なお、DC側端子31Pは、図1の直流母線7を構成する正極側線路7Pに接続され、DC側端子31Nは、図1の直流母線7を構成する負極側線路7Nに接続される。
直流電流検出部35は、DC側端子31Nを流れる電流(すなわち、図1の直流電源部20からDC/AC変換器30に供給される直流電力の電流値)を検出して、その検出結果を制御部34に出力する。
単相ブリッジ回路33は、トランジスタQ3〜Q6と、ダイオードD3〜D6とを含む。トランジスタQ3,Q4は、この順で、DC側端子31P,31N間に直列に接続される。トランジスタQ5,Q6は、この順で、DC側端子31P,31N間に直列にかつトランジスタQ3,Q4の直列接続体と並列に接続される。ダイオードD3〜D6はトランジスタQ3〜Q6にそれぞれ対応し、対応のトランジスタQ3〜Q6と並列にかつ逆バイアス方向に接続される。
上記のトランジスタQ3〜Q6として、図3の場合にはIGBTが用いられている。トランジスタQ3〜Q6として、パワーMOSFETなどの他の電力用半導体素子を用いても構わない。
連系リアクトルL2は、トランジスタQ3,Q4の接続ノードN3と、DC/AC変換器30のAC側端子32Rとの間に接続される。連系リアクトルL3は、トランジスタQ5,Q6の接続ノードN4と、DC/AC変換器30のAC側端子32Sとの間に接続される。なお、AC側端子32Rは図1の交流母線6を構成するR相線路6Rに接続され、AC側端子32Sは図1の交流母線6を構成するS相線路6Sに接続される。
制御部34は、DC側電圧検出部36および直流電流検出部35の各々の検出結果に基づいて、DC/AC変換器30のAC側端子間の電圧が交流母線6の線間電圧に一致するように、トランジスタQ3〜Q6のスイッチングをPWM(Pulse Width Modulation)変調によって制御する。
(双方向AC/DC変換器40の構成)
図4は、図1の双方向AC/DC変換器40の構成の一例を示す回路図である。図4を参照して、双方向AC/DC変換器40は、直流電力を交流電力に変換するDC/AC変換器43と、交流電力を直流電力に変換するAC/DC変換器44とを含む。DC/AC変換器43およびAC/DC変換器44は、DC側端子41P,41NとAC側端子42R,42Sとの間に互いに並列に接続される。
図4は、図1の双方向AC/DC変換器40の構成の一例を示す回路図である。図4を参照して、双方向AC/DC変換器40は、直流電力を交流電力に変換するDC/AC変換器43と、交流電力を直流電力に変換するAC/DC変換器44とを含む。DC/AC変換器43およびAC/DC変換器44は、DC側端子41P,41NとAC側端子42R,42Sとの間に互いに並列に接続される。
図4では、DC/AC変換器43およびAC/DC変換器44について、電力の流れる方向に矢印を付している。なお、双方向AC/DC変換器40のDC側端子41Pは、図1の直流母線7を構成する正極側線路7Pに接続され、DC側端子41Nは、図1の直流母線7を構成する負極側線路7Nに接続される。双方向AC/DC変換器40のAC側端子42Rは図1の交流母線6を構成するR相線路6Rに接続され、AC側端子42Sは図1の交流母線6を構成するS相線路6Sに接続される。図4のDC/AC変換器43の構成は、図3に示したものと同じであるので説明を繰り返さない。
図5は、図4のAC/DC変換器44の構成の一例を示す回路図である。図5を参照して、AC/DC変換器44は、DC側電圧検出部52と、直流電流検出部51と、全波整流回路48と、昇圧チョッパ回路49と、制御部50とを含む。
DC側電圧検出部52は、AC/DC変換器44のDC側端子47P,47N間の電圧を検出し、その検出結果を制御部50に出力する。なお、DC側端子47P,47Nは、図4のDC側端子41P,41Nにそれぞれ接続される。
直流電流検出部51は、DC側端子47Nを流れる電流を検出して、その検出結果を制御部50に出力する。
全波整流回路48は、ダイオードD7〜D10を含む。ダイオードD7,D8は、正極側ノードN5と負極側ノードN6との間にこの順で直列にかつ逆バイアス方向となるように接続される。ダイオードD9,D10は、ノードN5,N6間にこの順で直列にかつ逆バイアス方向となるように、ダイオードD7,D8の直列接続体とは並列に接続される。ダイオードD7,D8の接続ノードはAC側端子46Rと接続され、ダイオードD9,D10の接続ノードはAC側端子46Sと接続される。なお、AC側端子46R,46Sは、図4のAC側端子42R,42Sにそれぞれ接続される。
昇圧チョッパ回路49は、リアクトルL4と、ダイオードD11,D12と、トランジスタQ11と、コンデンサC1,C3とを含む。リアクトルL4およびダイオードD12は、この順で、ダイオードD12のカソードがDC側端子47P側となるように、ノードN5とDC側端子47Pとの間に接続される。トランジスタQ11は、リアクトルL4とダイオードD12との接続ノードN7とDC側端子47Nとの間に接続される。ダイオードD11は、トランジスタQ11と並列にかつ逆バイアス方向となるように接続される。コンデンサC3は、DC側端子47P,47N間に接続される。昇圧チョッパ回路49の動作は、図2で説明した昇圧チョッパ回路25の動作と同じである。
上記のトランジスタQ11として、図5の場合にはIGBTが用いられている。トランジスタQ11として、パワーMOSFETなどの他の電力用半導体素子を用いても構わない。
制御部50は、DC側電圧検出部52および直流電流検出部51の各々の検出結果に基づいて、AC/DC変換器44のDC出力電流がある決まった値(蓄電池61の定格電流およびAC/DC変換器44の定格電流で決まる値、通常、両者は等しい)を超えない限り、ある一定のDC出力電圧(たとえば、蓄電池61がほぼ満充電時の電圧)になるように制御する。すなわち、蓄電池61が満充電になるまでは、AC/DC変換器44は、蓄電池61の充電電圧よりも高い電圧を出力しようとし、蓄電池61は、ある決まった最大限の電流値で充電される(定電流充電)。蓄電池61が満充電近くなると、この最大限の電流値よりも小さな値の電流で充電されることになる。したがって、蓄電池61が充電中の場合および満充電に近い場合のいずれも、結果的にはAC/DC変換器44の出力電圧は蓄電池61とほぼ同じ電圧になる。
<実施の形態1の変形例>
図6は、図1の分散電源システム10の変形例としての分散電源システム10Aの構成を示すブロック図である。図6の分散電源システム10Aは、DC/AC変換器30に代えて双方向AC/DC変換器30Aを含む点で、図1の分散電源システム10と異なる。双方向AC/DC変換器30Aの構成および動作は、双方向AC/DC変換器40と同様である。図6のその他の点は図1の場合と同じであるので、同一または相当する部分には同一の参照符号を付して説明を繰り返さない。
図6は、図1の分散電源システム10の変形例としての分散電源システム10Aの構成を示すブロック図である。図6の分散電源システム10Aは、DC/AC変換器30に代えて双方向AC/DC変換器30Aを含む点で、図1の分散電源システム10と異なる。双方向AC/DC変換器30Aの構成および動作は、双方向AC/DC変換器40と同様である。図6のその他の点は図1の場合と同じであるので、同一または相当する部分には同一の参照符号を付して説明を繰り返さない。
図6の場合、交流電力系統1からの電力を電力貯蔵部60に充電するとき、電力が伝達する経路は2つある。第1の経路は、交流電力系統1から交流母線6および双方向AC/DC変換器40を経由して電力貯蔵部60に至る経路であり、図1の分散電源システム10の場合と同じである。第2の経路は、交流電力系統1から双方向AC/DC変換器30Aおよび直流母線7を経由して電力貯蔵部60に至る経路であり、この変形例によって新たに追加された経路である。
直流電源部20から交流家電機器4に至る給電経路も2つある。第1の経路は、直流電源部20から双方向AC/DC変換器30Aおよび交流母線6を経由して交流家電機器4に至る経路であり、第2の経路は、直流電源部20から直流母線7および双方向AC/DC変換器40を経由して交流家電機器4に至る経路である。ただし、これらの経路は、図1の分散電源システム10の場合と同じである。
実施の形態1の変形例による分散電源システム10Aによれば、直流電源部20の発電量および電力貯蔵部60の容量が増大した場合でも、2台の双方向AC/DC変換器30A,40によって電力変換できる。このため、1台の電力変換器を用いて直流と交流の変換をするよりも効率的であり、各変換器の定格(許容)電流も小さくて済むというメリットがある。
<実施の形態2>
図7は、この発明の実施の形態2による分散電源システム10Bの構成を示すブロック図である。図7の電流阻止部70Aは、ダイオード71に代えてスイッチ72を含む点で図1の電流阻止部70と異なる。さらに、図7の電流阻止部70Aは、直流電流検出部73およびスイッチ制御部74を含む。スイッチ72は、DC/AC変換器30のDC側端子と双方向AC/DC変換器40のDC側端子との間の正極側線路7Pに挿入される。直流電流検出部73は、スイッチ72がオン状態のときにスイッチ72に流れる電流を検出し、検出結果をスイッチ制御部74に出力する。図7のその他の点は図1の場合と同じであるので、同一または相当する部分には同一の参照符号を付して説明を繰り返さない。
図7は、この発明の実施の形態2による分散電源システム10Bの構成を示すブロック図である。図7の電流阻止部70Aは、ダイオード71に代えてスイッチ72を含む点で図1の電流阻止部70と異なる。さらに、図7の電流阻止部70Aは、直流電流検出部73およびスイッチ制御部74を含む。スイッチ72は、DC/AC変換器30のDC側端子と双方向AC/DC変換器40のDC側端子との間の正極側線路7Pに挿入される。直流電流検出部73は、スイッチ72がオン状態のときにスイッチ72に流れる電流を検出し、検出結果をスイッチ制御部74に出力する。図7のその他の点は図1の場合と同じであるので、同一または相当する部分には同一の参照符号を付して説明を繰り返さない。
なお、図7において、DC/AC変換器30のDC側端子から双方向AC/DC変換器40のDC側端子の方向(図1のダイオード71の順方向)に流れる電流を順方向電流Ifとし、その逆方向(図1のダイオード71の逆方向)に流れる電流を逆方向電流Irとする。
図8は、図7のスイッチ制御部74による制御動作を示すフローチャートである。図7、図8を参照して、スイッチ制御部74は、直流電流検出部73の検出結果に基づいてスイッチ72のオン・オフを制御する。
スイッチ制御部74は、最初に、スイッチ72をオン状態にし(ステップS101)、直流電流検出部73で逆方向電流Irが検出されない場合には(ステップS102でNO、すなわち、Ir≦0の場合には)、スイッチ72のオン状態を維持する。
この状態で、直流電流検出部73によって逆方向電流が検出されると(ステップS102でYES、すなわち、Ir>0となると)、スイッチ制御部74は、スイッチ72をオフする(ステップS103)。
スイッチ制御部74は、スイッチ72をオフ状態にしてから所定時間が経過すると(ステップS104でYES)、再びスイッチ72をオンする(ステップS101)。その後の処理は上記の繰返しである。したがって、依然として逆方向電流Irが検出されている場合には(ステップS102でYES)、直流電流検出部73はすぐにスイッチ72をオフする(ステップS103)。スイッチ制御部74は、逆方向電流Irが検出されなくなると(ステップS102でNO)、スイッチ72のオン状態を維持する。
上記の構成によれば、実施の形態1の場合と同様に、直流母線7を逆方向に流れる電流が電流阻止部70Aによって阻止される。この結果、図7の分散電源システム10Bは、電力貯蔵部60から交流電力系統1への逆潮流が生じない構成となっている。
したがって、実施の形態2による分散電源システム10Bにおいても、実施の形態1の場合と同様に、直流電源部20からの直流電力を、交流電力に変換することなく電力貯蔵部60に充電することができるので、電力変換に伴う損失を従来よりも少なくすることができる。さらに、図7の分散電源システム10Bでは、直流電源部20からの電力を交流電力系統1に逆潮流するのと同時に電力貯蔵部60に充電することができるので、直流電源部20の発電電力を従来よりも有効利用することができる。
さらに、図7の分散電源システム10Bにおいても、実施の形態1の変形例の場合と同様に、DC/AC変換器30に代えて双方向AC/DC変換器30Aを用いることができる。この結果、直流電源部20の発電量および電力貯蔵部60の容量が増大した場合でも、2台の双方向AC/DC変換器30A,40によって電力変換できるので効率的であり、各変換器の定格(許容)電流も小さくて済む。
<実施の形態2の変形例>
図9は、図7の分散電源システム10Bの変形例としての分散電源システム10Cの構成を示すブロック図である。図9の電流阻止部70Bは、スイッチ72の両端の電圧V1,V2をそれぞれ検出する直流電圧検出部75,76をさらに含む点で、図7の電流阻止部70Aと異なる。
図9は、図7の分散電源システム10Bの変形例としての分散電源システム10Cの構成を示すブロック図である。図9の電流阻止部70Bは、スイッチ72の両端の電圧V1,V2をそれぞれ検出する直流電圧検出部75,76をさらに含む点で、図7の電流阻止部70Aと異なる。
図9の直流電圧検出部75は、スイッチ72に対してDC/AC変換器30寄りの位置での正極側線路7Pの電圧V1を検出し、検出結果をスイッチ制御部74Aに出力する。直流電圧検出部76は、スイッチ72に対して双方向AC/DC変換器40寄りの位置での正極側線路7Pの電圧V2を検出し、検出結果をスイッチ制御部74Aに出力する。スイッチ制御部74Aは、直流電流検出部73および直流電圧検出部75,76の各々の検出結果に基づいてスイッチ72のオン・オフを制御する。図9のその他の点は図7の場合と同じであるので、同一または相当する部分には同一の参照符号を付して説明を繰り返さない。
図10は、図9のスイッチ制御部74Aにおる制御動作を示すフローチャートである。以下、図9、図10を参照して、スイッチ制御部74Aの動作について説明する。
スイッチ制御部74Aは、最初にスイッチ72をオン状態にし(ステップS201)、直流電流検出部73で逆方向電流Irが検出されない場合には(ステップS202でNO、すなわち、Ir≦0の場合には)、スイッチ72のオン状態を維持する。
この状態で、直流電流検出部73で逆方向電流が検出されると(ステップS202でYES、すなわち、Ir>0となると)、スイッチ制御部74Aは、スイッチ72をオフする(ステップS203)。
その後、スイッチ制御部74Aは、直流電圧検出部75,76の検出結果に基づいて、電圧V1が電圧V2よりも大きいか否か、すなわち、スイッチ72に順方向電圧がかかっているか否かを判定する(ステップS204)。電圧V1が電圧V2よりも大きい場合には、スイッチ制御部74Aはタイマーを初期化する(ステップS205)。そして、スイッチ制御部74Aはタイマーで計時することによって、電圧V1が電圧V2よりも大きい状態が所定時間継続しているか(ステップS206でYESかつステップS207でYESとなっているか)を判定する。電圧V1が電圧V2よりも大きい状態が所定時間継続している場合には、スイッチ制御部74Aは、再びスイッチ72をオンする(ステップS201)。以下、上記の手順が繰り返される。
上記の構成によっても、実施の形態1の場合と同様に、直流母線7を逆方向に流れる電流が電流阻止部70Bによって阻止される。この結果、図9の分散電源システム10Cは、電力貯蔵部60から交流電力系統1への逆潮流が生じない構成となっている。
したがって、実施の形態2の変形例による分散電源システム10Cにおいても、実施の形態1の場合と同様に、直流電源部20からの直流電力を、交流電力に変換することなく電力貯蔵部60に充電することができるので、電力変換に伴う損失を従来よりも少なくすることができる。さらに、図9の分散電源システム10Cでは、直流電源部20からの電力を交流電力系統1に逆潮流するのと同時に電力貯蔵部60に充電することができるので、直流電源部20の発電電力を従来よりも有効利用することができる。
さらに、図9の分散電源システム10Cにおいても、実施の形態1の変形例の場合と同様に、DC/AC変換器30に代えて双方向AC/DC変換器30Aを用いることができる。この結果、直流電源部20の発電量および電力貯蔵部60の容量が増大した場合でも、2台の双方向AC/DC変換器30A,40によって電力変換できるので効率的であり、各変換器の定格(許容)電流も小さくて済む。
<実施の形態3>
図11は、この発明の実施の形態3による分散電源システム10Dの構成を示すブロック図である。図11の電流阻止部70Cは、ダイオード71に代えてスイッチ72を含む点で図1の電流阻止部70と異なる。さらに、図11の電力貯蔵部60Aは、双方向DC/DC変換器62を含む点で図1の電力貯蔵部60と異なる。
図11は、この発明の実施の形態3による分散電源システム10Dの構成を示すブロック図である。図11の電流阻止部70Cは、ダイオード71に代えてスイッチ72を含む点で図1の電流阻止部70と異なる。さらに、図11の電力貯蔵部60Aは、双方向DC/DC変換器62を含む点で図1の電力貯蔵部60と異なる。
双方向DC/DC変換器62は、蓄電池61からの直流電圧を昇圧して直流母線7および双方向AC/DC変換器40のDC側端子に出力する第1の変換動作、ならびに直流母線7および双方向AC/DC変換器40のDC側端子からの直流電圧を降圧して蓄電池61に供給する第2の変換動作のうち一方を選択的に行なう。DC/DC変換器62は、さらに、上記の第1の変換動作を行なっているのときにはスイッチ72がオフ状態になり、上記の第2の変換動作を行なっているときにはスイッチ72がオン状態になるように、スイッチ72のオン・オフを制御する。
図11のその他の点は図1の場合と同じであるので、同一または相当する部分には同一の参照符号を付して説明を繰り返さない。
図12は、図11の双方向DC/DC変換器62の構成の一例を示す回路図である。図12に示す双方向DC/DC変換器62の構成は、図2に示すDC/DC変換器22の構成と類似したものであるので、以下では図2と異なる部分を主として説明する。
なお、以下の説明において、双方向DC/DC変換器62の蓄電池61側の端子を一次端子63P,63Nと称し、直流母線7と接続される端子64P,64Nを二次端子64P,64Nと称する。一次端子63Pは図11の蓄電池61の正極側端子に接続され、一次端子63Nは図11の蓄電池61の負極側端子に接続される。二次端子64Pは直流母線7を構成する正極側線路7Pに接続され、二次端子64Nは直流母線7を構成する負極側線路7Nに接続される。
図12を参照して、双方向DC/DC変換器62は、一次電圧検出部67と、二次電圧検出部69と、直流電流検出部68と、チョッパ回路65と、制御部66とを含む。
一次電圧検出部67は、図2の入力電圧検出部27と同様に、双方向DC/DC変換器62の一次端子63P,63N間の電圧を検出し、その検出結果を制御部66に出力する。
二次電圧検出部69は、図2の出力電圧検出部29と同様に、双方向DC/DC変換器62の二次端子64P,64N間の電圧を検出し、その検出結果を制御部66に出力する。
直流電流検出部68は、図2の直流電流検出部28と同様に、負極側の一次端子63Nを流れる電流(すなわち、蓄電池61と双方向DC/DC変換器62との間を伝達する直流電力の電流値)を検出して、その検出結果を制御部66に出力する。なお、負極側の一次端子63Nと負極側の二次端子64Nとは直結されている。
チョッパ回路65は、ダイオードD2と並列に接続されたトランジスタQ12をさらに含む点で、図2の昇圧チョッパ回路25と異なる。その他のチョッパ回路65の構成は図2の昇圧チョッパ回路25と同一であるので、同一または相当する部分には同一の参照符号を付して説明を繰り返さない。なお、図12の一次端子63P,63Nが図2の入力端子23P,23Nにそれぞれ対応し、図12の二次端子64P,64Nが図2の出力端子24P,24Nにそれぞれ対応する。
図12の場合には、チョッパ回路65を構成するトランジスタQ1,Q12としてIGBTが用いられているが、パワーMOSFETなどの他の電力用半導体素子を用いても構わない。
制御部66は、一次電圧検出部67、二次電圧検出部69、および直流電流検出部68の各々の検出結果に基づいて、トランジスタQ1,Q12のオン・オフを制御する制御信号を生成する。一次端子63P,63Nに入力された電圧を昇圧して、二次端子64P,64Nから出力する昇圧動作の場合には、制御部66は、所望の昇圧電圧が得られるようにトランジスタQ1のオン時間とオフ時間を制御するとともに、トランジスタQ12を同期整流素子としてトランジスタQ1がオフ状態のときにオン状態になるように制御する。この場合の回路動作は、図2の昇圧チョッパ回路25の動作と同様である。
二次端子64P,64Nから入力された電圧を降圧して、一次端子63P,63Nから出力する降圧動作の場合には、制御部66は、所望の降圧電圧が得られるようにトランジスタQ12のオン時間とオフ時間を制御するとともに、トランジスタQ1を同期整流素子としてトランジスタQ12がオフ状態のときにオン状態になるように制御する。
以下、チョッパ回路65が降圧チョッパ回路として動作する降圧動作について簡単に説明する。トランジスタQ12がオンの期間では、正極側の二次端子64Pから供給された電流は、トランジスタQ12、リアクトルL1、正極側の一次端子63Pの順に流れる。これによってリアクトルL1を流れる電流が次第に増加し、リアクトルL1に電磁エネルギーが蓄積されるとともに、コンデンサC1の電圧が増加する。ただし、コンデンサC1の電圧は、入力側の電圧(コンデンサC2の電圧)を超えることはない。トランジスタQ12がオフの期間では、リアクトルL1、正極側の一次端子63P、蓄電池61、負極側の一次端子63N、トランジスタQ1、リアクトルL1の順で循環する。これによってリアクトルL1を流れる電流は次第に減少し、リアクトルL1の電磁エネルギーが放出されるとともに、コンデンサC1の電圧が減少する。最終的なコンデンサC1の電圧(降圧電圧)は、オン時間の比率に応じて決まる。
制御部66は、さらに、上記の昇圧動作を行なっているときには、スイッチ72がオフ状態になるようにし、上記の降圧動作を行なっているときには、スイッチ72がオン状態になるようにする。これによって、直流母線7を逆方向に流れる電流が電流阻止部70Cによって阻止される。この結果、図11の分散電源システム10Dは、電力貯蔵部60から交流電力系統1への逆潮流が生じない構成となっている。
上記の構成の分散電源システム10Dにおいても、実施の形態1の場合と同様に、直流電源部20からの直流電力を、交流電力に変換することなく電力貯蔵部60Aに充電することができるので、電力変換に伴う損失を従来よりも少なくすることができる。さらに、図11の分散電源システム10Dでは、直流電源部20からの電力を交流電力系統1に逆潮流するのと同時に電力貯蔵部60Aに充電することができるので、直流電源部20の発電電力を従来よりも有効利用することができる。
さらに、図11の分散電源システム10Dにおいても、実施の形態1の変形例の場合と同様に、DC/AC変換器30に代えて双方向AC/DC変換器30Aを用いることができる。この結果、直流電源部20の発電量および電力貯蔵部60Aの容量が増大した場合でも、2台の双方向AC/DC変換器30A,40によって電力変換できるので効率的であり、各変換器の定格(許容)電流も小さくて済む。
今回開示された実施の形態はすべての点で例示であって制限的なものでないと考えられるべきである。この発明の範囲は上記した説明ではなくて請求の範囲によって示され、請求の範囲と均等の意味および範囲内でのすべての変更が含まれることが意図される。
1 交流電力系統、4 交流家電機器、5 直流家電機器、6 交流母線、7 直流母線、10,10A〜10D 分散電源システム、13 電力検出部、14,72 スイッチ、17 直流線路、20 直流電源部、21 PV装置、22 DC/DC変換器、30,43 DC/AC変換器、30A,40 双方向AC/DC変換器、44 AC/DC変換器、62 双方向DC/DC変換器、60,60A 電力貯蔵部、61 蓄電池、70,70A〜70C 電流阻止部、71 ダイオード、73 直流電流検出部、74,74A スイッチ制御部、75,76 直流電圧検出部。
Claims (6)
- 交流電力系統と接続された交流母線と、
直流電力を発生して出力する直流電源部と、
前記直流電源部から出力された直流電力を交流電力に変換して前記交流母線に供給する第1の変換器と、
直流電力の充放電を行なう電力貯蔵部と、
前記電力貯蔵部からの直流電力を交流電力に変換して前記交流母線に供給するか、もしくは前記交流母線からの交流電力を直流電力に変換して前記電力貯蔵部に供給する双方向の変換を行なう第2の変換器と、
前記第1の変換器の直流側端子と、前記第2の変換器の直流側端子との間を接続する直流線路と、
前記直流線路上に設けられ、前記第2の変換器の直流側端子から前記第1の変換器の直流側端子へ流れる電流を阻止する電流阻止部とを備え、
前記電流阻止部は、
前記直流線路に挿入された第1のスイッチと、
前記直流線路を流れる直流電流を検出する電流検出部とを含み、
前記第1のスイッチは、前記第2の変換器の直流側端子から前記第1の変換器の直流側端子の方向へ電流が流れている場合にオン状態からオフ状態に切替わる、分散電源システム。 - 前記電流阻止部は、前記第1のスイッチの両側の電圧を検出する電圧検出部をさらに含み、
前記第1のスイッチは、前記第1の変換器の直流側端子の電圧が前記第2の変換器の直流側端子の電圧よりも高い状態が所定の時間継続したとき、オフ状態からオン状態に切替わる、請求項1に記載の分散電源システム。 - 前記第1のスイッチは、オン状態からオフ状態に切替わってから所定の時間が経過したとき、オフ状態からオン状態に切替わる、請求項1に記載の分散電源システム。
- 交流電力系統と接続された交流母線と、
直流電力を発生して出力する直流電源部と、
前記直流電源部から出力された直流電力を交流電力に変換して前記交流母線に供給する第1の変換器と、
直流電力の充放電を行なう電力貯蔵部と、
前記電力貯蔵部からの直流電力を交流電力に変換して前記交流母線に供給するか、もしくは前記交流母線からの交流電力を直流電力に変換して前記電力貯蔵部に供給する双方向の変換を行なう第2の変換器と、
前記第1の変換器の直流側端子と、前記第2の変換器の直流側端子との間を接続する直流線路と、
前記直流線路上に設けられ、前記第2の変換器の直流側端子から前記第1の変換器の直流側端子へ流れる電流を阻止する電流阻止部とを備え、
前記電力貯蔵部は、
蓄電池と、
前記蓄電池からの直流電圧を大きさの異なる直流電圧に変換して前記第2の変換器の直流側端子に供給する第1の変換動作、および前記第2の変換器からの直流電圧を大きさの異なる直流電圧に変換して前記蓄電池に充電電圧として供給する第2の変換動作の一方を選択的に行なう第3の変換器とを含み、
前記電流阻止部は、前記直流線路に挿入された第1のスイッチを含み、
前記第1のスイッチは、前記第3の変換器が前記第1の変換動作を行なっているときにオフ状態になり、前記第3の変換器が前記第2の変換動作を行なっているときにオン状態になる、分散電源システム。 - 前記第2の変換器の交流側端子と前記交流電力系統との間の前記交流母線における交流電力を検出する交流電力検出部と、
前記交流電力検出部によって逆潮流が検出されたときに、前記第2の変換器から前記交流母線の方向またはその逆方向への電力供給を遮断する第2のスイッチとをさらに備える、請求項1〜4のいずれか1項に記載の分散電源システム。 - 前記第1の変換器は、前記直流電源部から出力された直流電力を交流電力に変換して前記交流母線に供給するか、もしくは前記交流母線からの交流電力を直流電力に変換して前記直流線路に供給する双方向の変換を行なう、請求項1〜5のいずれか1項に記載の分散電源システム。
Priority Applications (2)
| Application Number | Priority Date | Filing Date | Title |
|---|---|---|---|
| JP2011253947A JP5284447B2 (ja) | 2011-11-21 | 2011-11-21 | 分散電源システム |
| PCT/JP2012/077187 WO2013077124A1 (ja) | 2011-11-21 | 2012-10-22 | 分散電源システム |
Applications Claiming Priority (1)
| Application Number | Priority Date | Filing Date | Title |
|---|---|---|---|
| JP2011253947A JP5284447B2 (ja) | 2011-11-21 | 2011-11-21 | 分散電源システム |
Publications (2)
| Publication Number | Publication Date |
|---|---|
| JP2013110852A JP2013110852A (ja) | 2013-06-06 |
| JP5284447B2 true JP5284447B2 (ja) | 2013-09-11 |
Family
ID=48469575
Family Applications (1)
| Application Number | Title | Priority Date | Filing Date |
|---|---|---|---|
| JP2011253947A Expired - Fee Related JP5284447B2 (ja) | 2011-11-21 | 2011-11-21 | 分散電源システム |
Country Status (2)
| Country | Link |
|---|---|
| JP (1) | JP5284447B2 (ja) |
| WO (1) | WO2013077124A1 (ja) |
Families Citing this family (9)
| Publication number | Priority date | Publication date | Assignee | Title |
|---|---|---|---|---|
| JP5951419B2 (ja) * | 2012-09-06 | 2016-07-13 | 株式会社東芝 | 充電装置および充電システム |
| JP6174410B2 (ja) | 2013-07-29 | 2017-08-02 | 京セラ株式会社 | 電力制御装置、電力制御方法、および電力制御システム |
| GB201416414D0 (en) * | 2014-09-17 | 2014-10-29 | Stanton Marc R And Hough Michael | Clean power manager |
| US11394205B2 (en) | 2017-05-12 | 2022-07-19 | Convert Tech S.R.L. | System to energize loads with alternating current in a photovoltaic plant |
| IT201700051937A1 (it) * | 2017-05-12 | 2018-11-12 | Convert Tech S R L | Sistema per energizzare in corrente alternata carichi elettrici in un impianto fotovoltaico |
| JP6507294B2 (ja) * | 2017-07-06 | 2019-04-24 | 京セラ株式会社 | 電力制御装置、電力制御方法、および電力制御システム |
| CN107677969A (zh) * | 2017-10-25 | 2018-02-09 | 福州福光电子有限公司 | 分布式全在线蓄电池组的充放电测试设备 |
| JP7119668B2 (ja) * | 2018-07-10 | 2022-08-17 | 住友電気工業株式会社 | 蓄電装置、太陽光発電蓄電システム、及び、蓄電池の充電方法 |
| WO2020075300A1 (ja) * | 2018-10-12 | 2020-04-16 | 三菱電機株式会社 | 電力変換システム |
Family Cites Families (5)
| Publication number | Priority date | Publication date | Assignee | Title |
|---|---|---|---|---|
| JP4253598B2 (ja) * | 2004-02-20 | 2009-04-15 | 株式会社明電舎 | 電力貯蔵機能を備えた太陽光発電システム |
| JP4837632B2 (ja) * | 2007-07-24 | 2011-12-14 | フジプレアム株式会社 | 電力貯蔵型太陽光発電システム |
| JP5672087B2 (ja) * | 2010-04-02 | 2015-02-18 | オムロン株式会社 | 制御装置および制御方法 |
| JP2012016261A (ja) * | 2010-05-31 | 2012-01-19 | Sanyo Electric Co Ltd | 系統連系システム、及び分配器 |
| JP5681069B2 (ja) * | 2011-08-31 | 2015-03-04 | ニチコン株式会社 | マルチパワーコンディショナシステム |
-
2011
- 2011-11-21 JP JP2011253947A patent/JP5284447B2/ja not_active Expired - Fee Related
-
2012
- 2012-10-22 WO PCT/JP2012/077187 patent/WO2013077124A1/ja not_active Ceased
Also Published As
| Publication number | Publication date |
|---|---|
| JP2013110852A (ja) | 2013-06-06 |
| WO2013077124A1 (ja) | 2013-05-30 |
Similar Documents
| Publication | Publication Date | Title |
|---|---|---|
| JP5284447B2 (ja) | 分散電源システム | |
| JP5208374B2 (ja) | 系統連系パワーコンディショナおよび系統連系電源システム | |
| JP5246239B2 (ja) | 電力供給装置 | |
| US10263429B2 (en) | Bidirectional DC-DC converter, power conditioner, and distributed power system | |
| JP4527767B2 (ja) | 電力変換装置 | |
| JP5903622B2 (ja) | 電力供給システムおよび充放電用パワーコンディショナ | |
| US20120104859A1 (en) | Power conversion device | |
| JP6087531B2 (ja) | 電力変換装置 | |
| JP2011200096A (ja) | 蓄電システム | |
| WO2012115098A1 (ja) | 蓄電システム | |
| JP7135927B2 (ja) | 電源システム、電力変換装置、及び電力変換装置の制御方法 | |
| WO2012144358A1 (ja) | 電力供給装置、電力供給装置の制御方法、および直流給電システム | |
| JP2017055632A (ja) | 電力変換装置 | |
| JP5211772B2 (ja) | パワーコンディショナの運転制御装置および太陽光発電システム | |
| JP6248720B2 (ja) | 電源装置及びその制御方法 | |
| JP5931345B2 (ja) | 無停電電源システム | |
| JP6210952B2 (ja) | 電力供給システム | |
| JPWO2019058821A1 (ja) | 蓄電装置 | |
| JP4953783B2 (ja) | コンバータ装置および系統連系システム | |
| US20230318429A1 (en) | Power conversion apparatus | |
| JP6268786B2 (ja) | パワーコンディショナ、パワーコンディショナシステムおよびパワーコンディショナの制御方法 | |
| JP2012120364A (ja) | 給電システム | |
| JP2009247185A (ja) | 系統連系インバータ装置およびその自立運転方法 | |
| JP2016096661A (ja) | パワーコンディショナ、その制御装置および電力システム | |
| KR20140042092A (ko) | 태양광 에너지 저장장치 및 그 운용방법 |
Legal Events
| Date | Code | Title | Description |
|---|---|---|---|
| A521 | Request for written amendment filed |
Free format text: JAPANESE INTERMEDIATE CODE: A523 Effective date: 20130305 |
|
| TRDD | Decision of grant or rejection written | ||
| A01 | Written decision to grant a patent or to grant a registration (utility model) |
Free format text: JAPANESE INTERMEDIATE CODE: A01 Effective date: 20130507 |
|
| A61 | First payment of annual fees (during grant procedure) |
Free format text: JAPANESE INTERMEDIATE CODE: A61 Effective date: 20130529 |
|
| R150 | Certificate of patent or registration of utility model |
Ref document number: 5284447 Country of ref document: JP Free format text: JAPANESE INTERMEDIATE CODE: R150 |
|
| LAPS | Cancellation because of no payment of annual fees |