JP5264530B2 - 炭酸ガス圧力調整器 - Google Patents

炭酸ガス圧力調整器 Download PDF

Info

Publication number
JP5264530B2
JP5264530B2 JP2009016130A JP2009016130A JP5264530B2 JP 5264530 B2 JP5264530 B2 JP 5264530B2 JP 2009016130 A JP2009016130 A JP 2009016130A JP 2009016130 A JP2009016130 A JP 2009016130A JP 5264530 B2 JP5264530 B2 JP 5264530B2
Authority
JP
Japan
Prior art keywords
carbon dioxide
pressure
supply pressure
temperature
supply
Prior art date
Legal status (The legal status is an assumption and is not a legal conclusion. Google has not performed a legal analysis and makes no representation as to the accuracy of the status listed.)
Expired - Fee Related
Application number
JP2009016130A
Other languages
English (en)
Other versions
JP2010173664A (ja
Inventor
純一 北野
弘文 今井
Current Assignee (The listed assignees may be inaccurate. Google has not performed a legal analysis and makes no representation or warranty as to the accuracy of the list.)
ACRITECH CORPORATION
Asahi Breweries Ltd
Original Assignee
ACRITECH CORPORATION
Asahi Breweries Ltd
Priority date (The priority date is an assumption and is not a legal conclusion. Google has not performed a legal analysis and makes no representation as to the accuracy of the date listed.)
Filing date
Publication date
Application filed by ACRITECH CORPORATION, Asahi Breweries Ltd filed Critical ACRITECH CORPORATION
Priority to JP2009016130A priority Critical patent/JP5264530B2/ja
Publication of JP2010173664A publication Critical patent/JP2010173664A/ja
Application granted granted Critical
Publication of JP5264530B2 publication Critical patent/JP5264530B2/ja
Expired - Fee Related legal-status Critical Current
Anticipated expiration legal-status Critical

Links

Images

Landscapes

  • Devices For Dispensing Beverages (AREA)
  • Safety Valves (AREA)

Description

本発明は、発泡飲料を貯留する容器内の圧力を生ビール等の発泡飲料の温度に応じて調整する炭酸ガス圧力調整器に関する。
発泡飲料を貯留する容器内に供給する炭酸ガスの圧力を生ビール等の発泡飲料の温度と炭酸ガスの供給圧力との関係を規定する制御マップに従って自動調整することで、所定の温度範囲内においては、温度の増加に対して炭酸ガスの供給圧力も増加する単調増加の関係にあり、その範囲外では、温度の変化に対して炭酸ガスの供給圧力は所定値であって変化しないように調整する炭酸ガス圧力調整器が提案されている(例えば、特許文献1参照。)。
国際公開第2007/138978号パンフレット
上記のような炭酸ガス圧力調整器においては、予め設定した温度と圧力との関係に従って自動的に炭酸ガスの供給圧力を調整することができるので、発泡飲料の温度に最適な炭酸ガスの供給圧力で加圧することができるが、低温時において供給を停止している時間が長いと長時間の加圧により泡が多過になり味も低下するという課題がある。
本発明は、低温時において長時間の供給停止後であっても貯留容器内から良好な泡と味を有する発泡飲料を注ぎだすことができる炭酸ガス圧力調整器を提供することを主目的とする。
本発明に係る炭酸ガス圧力調整器は、所定温度T以下では一定の供給圧力Pであり、所定温度T以上では一定の供給圧力Pであり、温度がTからTの範囲では温度の増加とともに供給圧力がPからPへ単調に増加する関係にある通常モード用制御マップと、温度変化にかかわらず一定の供給圧力Pであり、供給圧力Pが供給圧力Pより0.01MPaから0.10MPa低い関係にある閉店モード用制御マップとを備えることを特徴とする。
本発明によれば、温度変化にかかわらず一定の供給圧力であり、該供給圧力は低温時においても、通常モード用制御マップの供給圧力より所定圧力だけ低い関係にある閉店モード用制御マップを備えるので、供給を停止している時間が長い場合であっても発泡飲料を貯留する容器内の加圧圧力を低く抑えることができ、泡が多過になり味が低下するのを防ぐことができる。
本発明において、所定温度T以下では一定の供給圧力Pであり、所定温度T以上では一定の供給圧力Pであり、温度がTからTの範囲では温度の増加とともに供給圧力がPからPへ単調に増加し、前記供給圧力Pが前記供給圧力Pより0.05MPaから0.20MPa高く、前記温度Tが前記温度Tより低い関係にある繁盛モード用制御マップを備えることが好ましい。
本発明によれば、繁盛モード用制御マップを備え、該制御マップでは、低温時において供給圧力を高くすることができ、貯留容器から発泡飲料をより速く供給することができる。
本発明の炭酸ガス圧力調整器によれば、温度変化にかかわらず一定の炭酸ガスの供給圧力であり、低温時でも通常モード用制御マップの供給圧力より所定圧力だけ低い閉店モード用制御マップを備えるので、長時間の供給停止があっても貯留容器内の発泡飲料へ加圧する圧力を低く抑え、長時間の供給停止後であっても貯留容器内から良好な泡と味を有する発泡飲料を注ぎだすことができる。
本発明に係る炭酸ガス圧力調整器を備える発泡飲料供給装置の全体構成を示す概観図である。 本発明の実施例1に係る炭酸ガス圧力調整器の構成を示す一部欠載断面図である。 図2の中央部分の構成を示す拡大断面図である。 本発明に係る炭酸ガス圧力調整器によって調整する炭酸ガスの供給圧力と温度の関係を示す通常モード用制御マップである。 本発明に係る炭酸ガス圧力調整器によって調整する炭酸ガスの供給圧力と温度の関係を示す閉店モード用制御マップである。 本発明の実施例2及び3に係る炭酸ガス圧力調整器の構成を示す一部欠載断面図である。 本発明の実施例3に係る炭酸ガス圧力調整器によって調整する炭酸ガスの供給圧力と温度の関係を示す繁盛モード用制御マップである。
以下、添付図面を参照ながら本発明の一実施形態に係る炭酸ガス圧力調整器ついて詳細に説明するが、本発明は、これに限定されて解釈されるものではなく、本発明の範囲を逸脱しない限りにおいて、当業者の知識に基づいて、種々の変更、修正、改良を加え得るものである。
図1は、本発明の実施例1に係る炭酸ガス圧力調整器1を備える発泡飲料供給装置100の全体構成を示す。炭酸ガスボンベ39中の高圧炭酸ガスは、炭酸ガス圧力調整器1によって減圧され炭酸ガス供給通路33を通ってビール樽26に供給される。ビール樽26内のビールは、炭酸ガスの圧力によってビール樽26内の下部に設けられている取り出し口(図示せず)からビール通路32を通って供給される。炭酸ガス圧力調整器用の電気は電源(ACアダプタ)40から導かれる。
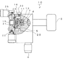
図2は、本発明の実施例1に係る炭酸ガス圧力調整器1の断面図を、図3は図2の中央部分の拡大断面図を示す。本実施例において、弾性体として第1スプリング7及び第2スプリング19を使用し、以下の実施例においても同様にスプリングを使用する。
炭酸ガスは、ガス入口部3から入り、弁座体9の弁開口11を通って減圧された後、第1圧力室16へ入り、ガス供給部6から出てビール樽26に供給される。弁体13は、第1スプリング7により弁座体9の弁開口11が閉じる方向に付勢されており、弁体の先端14はプレート15と当接している。
プレート15と当接しているダイヤフラム17は、該プレート15の当接面とは反対の面に当接している第2スプリング受け18を介して第2スプリング19により図面右方向、すなわち弁座体9の弁開口11を広げる方向に、第1スプリング7よりも大きな弾性力で付勢されているので、運転開始前、弁座体9の弁開口11は開いた状態にある。
第2スプリング19は第2圧力室21に収容されており、第1圧力室16の炭酸ガスは第1ソレノイドバルブ22が開かれることによってガス出口部20を介して第2圧力室21に供給される。第2圧力室21の炭酸ガスは第2ソレノイドバルブ25が開かれることによってガス排出口23から排出される。
図4及び図5は、本発明に係る炭酸ガス圧力調整器1によって調整する炭酸ガスの供給圧力とビールの温度との関係を規定する制御マップ52,54を示す。制御マップ52,54は、それぞれの温度に対する最適な炭酸ガスの供給圧力として炭酸ガス圧力調整器1が制御する圧力の関係を示すものであり、予め、電子制御ユニット(図示せず。)に入力される。
図4は、通常モード用制御マップ52を示す。通常モード用制御マップ52では、所定温度T以下では一定の供給圧力Pであり、所定温度T以上では一定の供給圧力Pであり、温度がTからTの範囲では温度の増加とともに供給圧力がPからPへ単調に増加する。
本実施例では、温度Tは10℃、温度Tは35℃、供給圧力Pは0.15MPa、供給圧力Pは0.372MPaとし、温度が10℃から35℃の間では、温度の増加に比例して供給圧力は0.15MPaから0.372MPaへ単調に増加する。
図5は、閉店モード用制御マップ54を示す。閉店モード用制御マップ54では、温度変化にかかわらず一定の供給圧力Pであり、供給圧力Pが通常モード用制御マップ52における所定温度T以下での一定の供給圧力Pより約0.01MPaから0.10MPa低い関係にある。本実施例では、供給圧力Pは0.10MPaである。
本実施例に係る炭酸ガス圧力調整器1の作動について説明する。
(運転開始時)
運転開始時に炭酸ガスボンベ39の元バルブ41を開けると、弁開口11は開いているので炭酸ガスは、炭酸ガス圧力調整器1を通ってビール樽26に流れ、ビール樽26が加圧される。この供給圧力、つまり第1圧力室16内の炭酸ガスの圧力が第2スプリング19によって付勢される弾性力に逆らって、ダイヤフラム17を図面左方向、すなわち弁座体9の弁開口11を閉じる方向に作用し、一定圧力以上になると弁開口11が閉じて、炭酸ガスボンベ39からの炭酸ガスの供給が停止し、供給する炭酸ガスの圧力は一定に保持される。
ビール樽26からビールが供給され炭酸ガスボンベ39の供給する炭酸ガスの圧力が下がると、第1圧力室16内の炭酸ガスの圧力が下がり、第2スプリング19の弾性力によって付勢される図面右方向の力が勝るので、弁座体9の弁開口11は開き、炭酸ガスボンベ39から炭酸ガスがビール樽26に供給される。
本実施例に係る炭酸ガス圧力調整器1では、ダイヤフラム17に対して第2スプリング19の付勢力が弁座体9の弁開口11を開く方向に作用し、第1圧力室16の炭酸ガス圧力と第1スプリング7の付勢力が弁座体9の弁開口11を閉じる方向に作用する。このため、炭酸ガスの供給圧力が低下し第1圧力室16の炭酸ガスが所定圧力より下がると第2スプリング19の付勢力が第1圧力室16の炭酸ガス圧力と第1スプリング7の付勢力を上回る。そして、ダイヤフラム17が、該ダイヤフラム17に当接しているプレート15を介して弁体13を図面右方向に移動させることによって、弁座体9の弁開口11が開く。このことにより、炭酸ガスボンベ39から炭酸ガスが供給されるので、再び第1圧力室16の炭酸ガス圧力は上昇し、供給炭酸ガスの圧力は所定圧力に維持される。
前記所定圧力は、第1スプリング7と第2スプリング19の付勢力の選定により適宜決めることができるが、通常は、第1スプリング7には一定のものを使用し、第2スプリング19の付勢力を設定圧力Poとなるように選定する。本実施例では、圧力Poは0.8MPaである。
(通常運転時)
通常運転時には図4に示す通常モード用制御マップ52が選択される。
図1に示すように、ビール樽26から出た直後のビール温度は温度センサ27により検出され、信号として温度センサコード35を通って炭酸ガス圧力調整器1の電子制御ユニット(図示せず)に送られる。温度センサとしては、サーミスタ素子を使用することができる。ビール樽26の内部の圧力を検出するために、ビール樽26の上部に圧力センサ29が設けられており、この圧力が信号として電子制御ユニット(図示せず)に送られる。
ビール温度が温度センサ27から電子制御ユニット(図示せず)に入力されると、制御マップに入力されているその温度(T℃)に対する最適な炭酸ガスの供給圧力(以下、「Pt」とする。)と圧力センサ29から送られてきたビール樽26の供給圧力(以下、「Pa」とする。)との比較が行われる。
その結果、PaがPtより低いときには、電子制御ユニットは第1ソレノイドバルブ22に制御信号を出力し、この信号を入力した第1ソレノイドバルブ22は、炭酸ガスを通すように作動する。この作動により、第1圧力室16のガス出口部20から一部炭酸ガスが第1ソレノイドバルブ22を通って第2圧力室21に入るので、第1圧力室16と第2圧力室21の圧力が等しくなる。つまり、上記運転開始時の状態となるので、ガス入口部3からガス供給部6に炭酸ガスが流れ、ビール樽26内の炭酸ガス圧力が上昇する。
さらに、Paが上昇してPtに達すると、電子制御ユニットは第1ソレノイドバルブ22にバルブを閉じさせる制御信号を出力する。このことにより、第1ソレノイドバルブ22は閉じ、第2圧力室21への炭酸ガスの供給が停止するので、ダイヤフラム17が弁座体9の弁開口11を閉じる位置でバランスし、ビール樽26への炭酸ガスの供給は停止し、ビール樽26内の炭酸ガス供給圧力の上昇は停止する。
PaがPtより高いときには、電子制御ユニットは第2ソレノイドバルブ25に制御信号を出力し、この信号を入力した第2ソレノイドバルブ25は、炭酸ガスを通すように作動する。この作動により、第2圧力室21内の炭酸ガスが第2ソレノイドバルブ25を通ってガス排出口23から大気に排出されるので、第2圧力室21内の圧力が低下し、ダイヤフラム17が図面左方向へ移動することにより、プレート15を介して弁体13は図面左方向へ移動し、弁開口11は閉じ、炭酸ガスの供給が停止する。
次いで、電子制御ユニットから出力される制御信号により第1ソレノイドバルブ22が作動すると、第1ソレノイドバルブ22を炭酸ガスが流れることができるようになるので、第1圧力室16のガス出口部20から供給炭酸ガスが第2圧力室21を通過して、ガス排出口23から大気に排出されるので、ビール樽26内の炭酸ガス供給圧力はより迅速に減圧する。
さらに、Paが低下してPtになると、電子制御ユニットが、第1ソレノイドバルブ22と第2ソレノイドバルブ25を閉じさせる制御信号を出力する。このことにより、ガス出口部20から炭酸ガスが大気へ排出されなくなるので、供給圧力の低下は停止する。
本実施例では、図4に示す通常モード用制御マップ52により、温度35℃以上では供給圧力が一定(0.372MPa)となるように設定しているので、ビールの温度が35℃以上になった場合でも、供給圧力が異常に高くなり、ビールの供給が増えすぎることを防止できる。
本実施例において、第1ソレノイドバルブ22及び第2ソレノイドバルブ25の作動は、バルブの開閉を断続的に繰り返す操作であり、その間隔は、炭酸ガスの急激な流れを抑制し、正確な圧力制御ができるように電子制御ユニットにて調整される。本実施例においては、第1バルブ22及び第2バルブ25としてソレノイドバルブを使用するが、他の動力源による駆動バルブ(油圧バルブ等)も使用できる。以下の実施例においても同様である。
(閉店時)
閉店時には図5に示す閉店モード用制御マップ54が選択される。そうすると、閉店モード用制御マップ54に従って、ビールの温度にかかわらず、供給圧力が一定(0.10MPa)となるように調整される。つまり、例えば、10℃以下の低温時において、通常モード用制御マップ52の供給圧力0.15MPaより0.05MPa低く調整される。このように低温時においても供給圧力が低く調整されるので、閉店後において泡が多過になり味が低下するのを防ぐことができる。
図6は、本発明の実施例2の炭酸ガス圧力調整器10の断面図を示す。なお、図6において、図2及び図3で用いた構成要素と同一の構成要素には同一符号を付し、その説明は省略する。
図65に示すように、炭酸ガス圧力調整器10では、ガスの流れを絞るためにガス入口部3とガス出口部20にそれぞれオリフィス4,5を形成し、第1圧力室16の圧力を検出するために圧力センサ30が設けている他は、実施例1と同じである。
本実施例においても、実施例1の場合と同じ、図4に示す通常モード用制御マップ52と図5に示す閉店モード用制御マップ54が電子制御ユニットに記憶されている。
本発明の実施例2の炭酸ガス圧力調整器10では、オリフィス4,5を形成しているので、炭酸ガスボンベ39から第1圧力室16へ、第1圧力室16からビール樽26への急激な炭酸ガスの流れを防止でき、よりスムーズで正確な炭酸ガス供給圧力の調整ができる。
また、本実施例において、ビール樽26の上部に設置した圧力センサ29に代えて、炭酸ガス圧力調整器10に形成された圧力センサ30にて検出される炭酸ガスの供給圧力を信号として電子制御ユニット(図示せず。)に送り、供給圧力を調整する。電子制御ユニットは炭酸ガス圧力調整器10(図面裏面)に取り付けられているので、圧力センサコードを最短にすることができる。本実施例において、ビール樽26内の炭酸ガスの供給圧力の制御は、実施例1にもまして、迅速かつ正確に行われる。
図7は、本発明の実施例3において使用される繁盛モード用制御マップ56を示す。繁盛モード用制御マップ56は、温度Tより低い温度では一定の供給圧力Pであり、温度の増加とともに供給圧力がPからPへ単調に増加する。通常モード用制御マップ52における最高圧力Pまで増加したら温度上昇にかかわらず圧力は一定に保持される。
本実施例において、圧力Pは0.30MPaとし、他の条件は実施例1及び実施例2と同じである。
(繁盛時)
来客が多く頻繁にビールをサービングするときには、図7に示す繁盛モード用制御マップ56を選択する。繁盛モード用制御マップ56は、所定温度T以下では一定の供給圧力Pであり、所定温度T以上では一定の供給圧力Pであり、温度がTからTの範囲では温度の増加とともに供給圧力がPからPへ単調に増加し、前記供給圧力Pが前記供給圧力Pより0.05MPaから0.20MPa高く、前記温度Tが前記温度Tより低い関係にある。この繁盛モード用制御マップ56での制御はタイマーに連動しており、通常3〜10分間作動し、タイマー設定時間経過後、自動的に通常モード用制御マップ52に切り替わる。本実施例では、タイマー設定を5分間とする。
繁盛モード用制御マップ56では、図4に示す通常モード用制御マップの場合より、炭酸ガスの供給圧力が0.15MPa高く調整されるので、ビールをより速く充填することができる。
本実施例に係る繁盛モード用制御マップ56では、ビール樽26内のビール温度が低いとき、特に約10〜20℃のとき、ビールの供給速度を速くすることができるという効果を有する。
以上説明したように、本発明によると温度に応じた炭酸ガスの供給圧力の調整を応答速度が速く、きめ細かくできるので、ビアホールや居酒屋などの発泡飲料樽用の炭酸ガス圧力調整器として使用できる。
1,10 炭酸ガス圧力調整器
3 ガス入口部
4,5 オリフィス
6 ガス供給部
7 第1スプリング
9 弁座体
11 弁開口
13 弁体
14 弁体の先端
15 プレート
16 第1圧力室
17 ダイヤフラム
18 第2スプリング受け
19 第2スプリング
20 ガス出口部
21 第2圧力室
22 第1ソレノイドバルブ
23 ガス排出口
25 第2ソレノイドバルブ
26 ビール樽
27 温度センサ
29,30 圧力センサ
39 炭酸ガスボンベ
52 通常モード用制御マップ
54 閉店モード用制御マップ
56 繁盛モード用制御マップ
100 発泡飲料供給装置

Claims (2)

  1. 温度と炭酸ガスの供給圧力の関係を規定する制御マップによって炭酸ガスの供給圧力を制御する炭酸ガス圧力調整器であって、
    所定温度T以下では一定の供給圧力Pであり、所定温度T以上では一定の供給圧力Pであり、温度がTからTの範囲では温度の増加とともに供給圧力がPからPへ単調に増加する関係にある通常モード用制御マップと、
    温度変化にかかわらず一定の供給圧力Pであり、該供給圧力Pが前記供給圧力Pより0.01MPaから0.10MPa低い関係にある閉店モード用制御マップと
    を備えることを特徴とする炭酸ガス圧力調整器。
  2. 所定温度T以下では一定の供給圧力Pであり、所定温度T以上では一定の供給圧力Pであり、温度がTからTの範囲では温度の増加とともに供給圧力がPからPへ単調に増加し、前記供給圧力Pが前記供給圧力Pより0.05MPaから0.20MPa高く、前記温度Tが前記温度Tより低い関係にある繁盛モード用制御マップ
    を備えることを特徴とする請求項1記載の炭酸ガス圧力調整器。
JP2009016130A 2009-01-28 2009-01-28 炭酸ガス圧力調整器 Expired - Fee Related JP5264530B2 (ja)

Priority Applications (1)

Application Number Priority Date Filing Date Title
JP2009016130A JP5264530B2 (ja) 2009-01-28 2009-01-28 炭酸ガス圧力調整器

Applications Claiming Priority (1)

Application Number Priority Date Filing Date Title
JP2009016130A JP5264530B2 (ja) 2009-01-28 2009-01-28 炭酸ガス圧力調整器

Publications (2)

Publication Number Publication Date
JP2010173664A JP2010173664A (ja) 2010-08-12
JP5264530B2 true JP5264530B2 (ja) 2013-08-14

Family

ID=42705018

Family Applications (1)

Application Number Title Priority Date Filing Date
JP2009016130A Expired - Fee Related JP5264530B2 (ja) 2009-01-28 2009-01-28 炭酸ガス圧力調整器

Country Status (1)

Country Link
JP (1) JP5264530B2 (ja)

Families Citing this family (3)

* Cited by examiner, † Cited by third party
Publication number Priority date Publication date Assignee Title
BE1020268A3 (nl) * 2011-12-15 2013-07-02 Cardiff Group Nv Combinatie van een houder voor een vloeibaar voedingsmiddel en een hoeveelheid drijfgas en gebruik van een drijfgas.
EP3000776A1 (en) * 2014-09-26 2016-03-30 Anheuser-Busch InBev S.A. Method of dispensing a beverage with variable pressure
JP7788790B2 (ja) 2020-03-27 2025-12-19 アサヒビール株式会社 管理装置

Family Cites Families (4)

* Cited by examiner, † Cited by third party
Publication number Priority date Publication date Assignee Title
JPH0728156Y2 (ja) * 1989-09-12 1995-06-28 麒麟麦酒株式会社 生ビール収納容器内圧力調整装置
JP3942064B2 (ja) * 2000-09-06 2007-07-11 株式会社ボクソンウエスト ビールディスペンサの樽内圧調整弁
JP3667677B2 (ja) * 2001-10-11 2005-07-06 ホシザキ電機株式会社 飲料ディスペンサ
JP2003128193A (ja) * 2001-10-29 2003-05-08 Kyosan Denki Co Ltd 発泡飲料供給装置

Also Published As

Publication number Publication date
JP2010173664A (ja) 2010-08-12

Similar Documents

Publication Publication Date Title
JP4704710B2 (ja) 液体定量吐出装置
EP3440008B1 (en) Dispenser for gas-containing beverages, dispensing method and computer program
JP5264530B2 (ja) 炭酸ガス圧力調整器
JP2018520843A (ja) 低圧で作用する家庭用ソーダ機械
CN106458557A (zh) 饮料分配系统、饮料容器及用在饮料分配系统或容器中的加压系统
JP2012047234A (ja) ガス充填装置
WO2017131136A1 (ja) ガス供給装置およびガス供給装置の運転停止方法
JP5308066B2 (ja) 炭酸ガス圧力調整器
JP2012121608A (ja) 炭酸飲料のサーバシステム
KR200463774Y1 (ko) 와인 디스펜서
JP6148520B2 (ja) 飲料サーバシステムにおける自動調圧装置
US20210024344A1 (en) Pressure regulating system for a beverage container and beverage container provided therewith
JP2010127374A (ja) 水素貯蔵システム
JP7192692B2 (ja) 燃料電池システム用の水素インジェクタ
KR102385172B1 (ko) 탄산수 제조 시스템
JP2003128193A (ja) 発泡飲料供給装置
JP5282300B2 (ja) 背圧維持装置、背圧維持方法及び液滴吐出装置
JP2010132341A (ja) 飲料注出装置
JP6453054B2 (ja) ガス供給装置
US763714A (en) Fluid shut-off.
JP2006143265A (ja) 圧力調整器
KR102451971B1 (ko) 탄산수 제조 시스템 및 이의 제어 방법
JP5948563B2 (ja) 給湯機
KR102451972B1 (ko) 탄산수 제조 시스템
CA3228995C (en) Methods and systems for maintaining carbonation levels in beverages using dynamic carbonation preconditioning

Legal Events

Date Code Title Description
A521 Request for written amendment filed

Free format text: JAPANESE INTERMEDIATE CODE: A523

Effective date: 20090205

A711 Notification of change in applicant

Free format text: JAPANESE INTERMEDIATE CODE: A712

Effective date: 20110725

A521 Request for written amendment filed

Free format text: JAPANESE INTERMEDIATE CODE: A523

Effective date: 20110727

A521 Request for written amendment filed

Free format text: JAPANESE INTERMEDIATE CODE: A821

Effective date: 20110727

RD02 Notification of acceptance of power of attorney

Free format text: JAPANESE INTERMEDIATE CODE: A7422

Effective date: 20110914

RD04 Notification of resignation of power of attorney

Free format text: JAPANESE INTERMEDIATE CODE: A7424

Effective date: 20110914

RD02 Notification of acceptance of power of attorney

Free format text: JAPANESE INTERMEDIATE CODE: A7422

Effective date: 20110914

RD04 Notification of resignation of power of attorney

Free format text: JAPANESE INTERMEDIATE CODE: A7424

Effective date: 20110914

A621 Written request for application examination

Free format text: JAPANESE INTERMEDIATE CODE: A621

Effective date: 20111208

RD02 Notification of acceptance of power of attorney

Free format text: JAPANESE INTERMEDIATE CODE: A7422

Effective date: 20120814

RD04 Notification of resignation of power of attorney

Free format text: JAPANESE INTERMEDIATE CODE: A7424

Effective date: 20120827

A521 Request for written amendment filed

Free format text: JAPANESE INTERMEDIATE CODE: A821

Effective date: 20120816

RD02 Notification of acceptance of power of attorney

Free format text: JAPANESE INTERMEDIATE CODE: A7422

Effective date: 20120924

RD04 Notification of resignation of power of attorney

Free format text: JAPANESE INTERMEDIATE CODE: A7424

Effective date: 20120926

A521 Request for written amendment filed

Free format text: JAPANESE INTERMEDIATE CODE: A821

Effective date: 20120927

A521 Request for written amendment filed

Free format text: JAPANESE INTERMEDIATE CODE: A523

Effective date: 20121011

Free format text: JAPANESE INTERMEDIATE CODE: A821

Effective date: 20120927

RD02 Notification of acceptance of power of attorney

Free format text: JAPANESE INTERMEDIATE CODE: A7422

Effective date: 20120924

RD04 Notification of resignation of power of attorney

Free format text: JAPANESE INTERMEDIATE CODE: A7424

Effective date: 20120926

A977 Report on retrieval

Free format text: JAPANESE INTERMEDIATE CODE: A971007

Effective date: 20130314

TRDD Decision of grant or rejection written
A01 Written decision to grant a patent or to grant a registration (utility model)

Free format text: JAPANESE INTERMEDIATE CODE: A01

Effective date: 20130408

A61 First payment of annual fees (during grant procedure)

Free format text: JAPANESE INTERMEDIATE CODE: A61

Effective date: 20130430

R150 Certificate of patent or registration of utility model

Free format text: JAPANESE INTERMEDIATE CODE: R150

Ref document number: 5264530

Country of ref document: JP

Free format text: JAPANESE INTERMEDIATE CODE: R150

R250 Receipt of annual fees

Free format text: JAPANESE INTERMEDIATE CODE: R250

R250 Receipt of annual fees

Free format text: JAPANESE INTERMEDIATE CODE: R250

R250 Receipt of annual fees

Free format text: JAPANESE INTERMEDIATE CODE: R250

R250 Receipt of annual fees

Free format text: JAPANESE INTERMEDIATE CODE: R250

R250 Receipt of annual fees

Free format text: JAPANESE INTERMEDIATE CODE: R250

R250 Receipt of annual fees

Free format text: JAPANESE INTERMEDIATE CODE: R250

R250 Receipt of annual fees

Free format text: JAPANESE INTERMEDIATE CODE: R250

R250 Receipt of annual fees

Free format text: JAPANESE INTERMEDIATE CODE: R250

R250 Receipt of annual fees

Free format text: JAPANESE INTERMEDIATE CODE: R250

LAPS Cancellation because of no payment of annual fees