JP5259072B2 - インクカ−トリッジ包装体 - Google Patents
インクカ−トリッジ包装体 Download PDFInfo
- Publication number
- JP5259072B2 JP5259072B2 JP2006291911A JP2006291911A JP5259072B2 JP 5259072 B2 JP5259072 B2 JP 5259072B2 JP 2006291911 A JP2006291911 A JP 2006291911A JP 2006291911 A JP2006291911 A JP 2006291911A JP 5259072 B2 JP5259072 B2 JP 5259072B2
- Authority
- JP
- Japan
- Prior art keywords
- film
- present
- resin
- ink cartridge
- gas barrier
- Prior art date
- Legal status (The legal status is an assumption and is not a legal conclusion. Google has not performed a legal analysis and makes no representation as to the accuracy of the status listed.)
- Expired - Fee Related
Links
Images
Landscapes
- Packages (AREA)
- Wrappers (AREA)
- Laminated Bodies (AREA)
- Ink Jet (AREA)
- Bag Frames (AREA)
Description
而して、上記のインクカ−トリッジは、通常、1色のインクを内部に貯留するインクカ−トリッジを非通気性の可撓性シ−トからなる包装用材料を用いて真空包装し、減圧状態で包装されているインクカ−トリッジの包装体として流通しているものである。
例えば、その一例として、1色のインクを内部に収容し、記録装置本体に前記インクの色毎に並べられて着脱可能に装着され、その装着状態で他のカートリッジ本体部と側面を対向しかつ上面を露出するカートリッジ本体部、及びそのカートリッジ本体部に貼付されるシート状のラベルからなるインクカートリッジと、そのインクカートリッジを前記記録装置本体への装着前に減圧状態で包装する、非通気性の可撓性シートからなる包装部材とからなるインクカートリッジの包装体であって、前記ラベルは、前記カートリッジ本体部の側面に沿って貼付される側面ラベル部と、その側面ラベル部から突出しその側面ラベル部から折り曲げられて前記カートリッジ本体部の上面に沿って貼付された上面ラベル部とからなり、前記上面ラベル部に前記インクの色情報を含んでおり、前記包装部材は、前記インクカートリッジを収容し内部を減圧した状態において、前記インクカートリッジの外形にほぼ沿って変形し、それにより前記側面ラベル部及び上面ラベル部を前記カートリッジ本体部の側面及び上面にそれぞれ押圧した状態にあることを特徴とするインクカートリッジの包装体が知られている(例えば、特許文献等1参照。)。
而して、上記のように、非通気性の可撓性シートからなる包装部材が、ほぼ、インクカートリッジの外表面の形状に沿って変形し、それにより側面ラベル部及び上面ラベル部等を前記インクカートリッジ本体部の側面及び上面にそれぞれ押圧した状態に密閉包装されているとは言うものの、上記の包装部材としての資質である、例えば、いわゆる、硬さ、腰等の風合い、柔らかさ、その他等に欠けると、真空包装による減圧状態に伴い、包装部材が、インクカートリッジの外表面の形状に追従することが極めて困難になり、しばしば、包装部材に多くのしわ等を発生し、例えば、そのしわ等が、インクカ−トリッジを構成する凸状のインクの吐出部を損傷し、インクが滲み出す恐れがあるという問題点があると共にその商品価値を著しく損なうという問題点がある。
また、上記のインクカートリッジの包装体を構成する包装部材としては、インクカ−トリッジの内部に貯留するインクの変色、変質、乾燥等を防止し、インクの品質保全性等に優れていることが要請されるものである。
そこで本発明は、インクカ−トリッジの外表面の形状に追従し、しわ等の発生を防止すると共に、例えば、耐熱性、防湿性、ヒ−トシ−ル性、耐ピンホ−ル性、耐突き刺し性、その他等の諸物性に優れ、特に、酸素ガス、水蒸気等の透過を阻止するバリア性に優れると共に透明性等を有し、例えば、インクの変色、変質、乾燥等を防止し、インクの品質保全性等に優れているインクカ−トリッジ包装体を提供することである。
また、本発明に係るインクカ−トリッジ包装体は、積層材が、強度等を有して耐久性に優れ、かつ、耐熱性、防湿性、ヒ−トシ−ル性、耐ピンホ−ル性、耐突き刺し性、その他等にも優れ、特に、酸素ガス、水蒸気等の透過を阻止するバリア性に優れていると共に静電防止性に優れ、更に、透明性等を有し、インクカ−トリッジ内に貯留するインクの変色、変質、乾燥等を防止し、インクの品質保全性等に優れているものであり、また、使用後において包装用袋は、焼却廃棄処理する際に有害物質等を発生することなく、廃棄処理適性、環境適性等に極めて優れているという利点を有するものである。
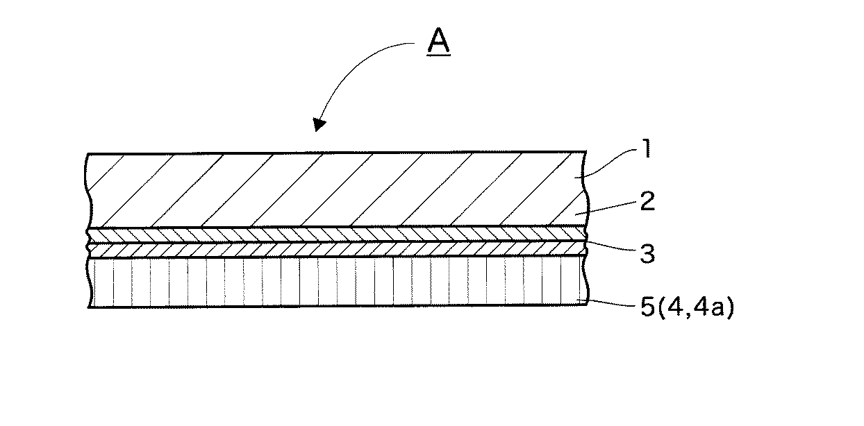
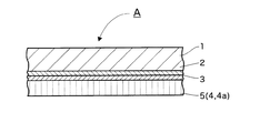
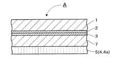
まず、本発明に係るインクカ−トリッジ包装体を構成する積層材の層構成についてその一二を例示して図面を用いて説明すると、図1、図2および図3は、本発明に係るインクカ−トリッジ包装体を構成する積層材についてその一二例の層構成を示す概略的断面図であり、図4および図5は、図1に示す本発明に係るインクカ−トリッジ包装体を構成する積層材を使用し、これを製袋して製造した本発明に係る軟包装用袋、更に、その本発明に係る軟包装用袋内に、その開口部からインクカ−トリッジを充填し、脱気しながら減圧状態で真空包装したインクカ−トリッジ包装体についてその一例の構成を示す概略的斜視図である。
更に、本発明に係るインクカ−トリッジ包装体を構成する積層材について、別の一例を例示すれば、図3に示すように、上記の図1に示す積層材において、ガスバリア性塗布膜3と、直鎖状低密度ポリエチレンフィルム4またはシングルサイト触媒を使用して重合したエチレン−α・オレフィン共重合体フィルム4aからなるヒートシール性樹脂層5との層間に、更に、中間基材7を積層した構成からなる積層材A2を例示することがでる。
上記の図2、図3において、符合、1、2、3、4、4a、5等の意味は、上記の図1に示すそれらと同じ意味である。
例えば、図示しないが、上記の本発明に係るインクカ−トリッジ包装体を構成する積層材において、無機酸化物の蒸着膜としては、同種ないし異種からなる2層以上の無機酸化物の蒸着膜を重層して構成することができるものである。
また、本発明に係るインクカ−トリッジ包装体を構成する積層材においては、更に、他の基材等を任意に積層することもできるものである。
なお、図示しないが、上記の本発明に係るインクカ−トリッジ包装体を構成する積層材において、各層を積層する場合には、例えば、ラミネ−ト用接着剤層を介して積層するドライラミネ−ト方式、あるいは、図示しないが、例えば、アンカ−コ−ト剤層、溶融押出樹脂層等を介して積層する溶融押出ラミネ−ト方式等により積層することができる。
次いで、本発明においては、図5に示すように、上記で製袋した図4に示す三方シ−ル型の軟包装用袋13からなる袋状容器本体Bの開口部12から、例えば、シアン、マゼンタ、イエロ−、ブラック等のいずれかの1色のカラ−インクを内部に貯留するインクカ−トリッジ14を充填し、次いで、上記の袋状容器本体B内を脱気しながら減圧状態にして真空包装しながら、上記の三方シ−ル型の軟包装用袋13からなる袋状容器本体Bの開口部12をヒ−トシ−ルし、上方のシ−ル部15を形成して、本発明に係るインクカ−トリッジ包装体を構成する積層材Aを使用して製造した本発明に係るインクカ−トリッジ包装体Cを製造することができるものである。
例えば、本発明においては、図示しないが、上記の図2、図3等に示す本発明に係るインクカ−トリッジ包装体を構成する積層材を使用し、上記と同様にして、本発明に係るインクカ−トリッジ包装体を製造することができるものである。
また、本発明においては、図示しないが、上記の軟包装用袋からなる袋状容器本体の形態としては、上記のように三方シ−ル型の軟包装用袋からなる袋状容器本体の代りに、例えば、二方シ−ル型、四方シ−ル型、ガセットシ−ル型、自立性型、ピロ−包装型、その他等の任意の形態からなる軟包装用袋からなる袋状容器本体を製袋し、種々の軟包装用袋からなる袋状容器本体を使用することができるものである。
本発明において、上記の樹脂のフィルムないしシ−トとしては、具体的には、例えば、ポリエチレン系樹脂あるいはポリプロピレン系樹脂等のポリオレフィン系樹脂、環状ポリオレフィン系樹脂、ポリスチレン系樹脂、アクリロニトリル−スチレン共重合体(AS樹脂)、アクリロニトリルル−ブタジエン−スチレン共重合体(ABS樹脂)、ポリ(メタ)アクリル系樹脂、ポリカ−ボネ−ト系樹脂、ポリエチレンテレフタレ−ト、ポリエチレンナフタレ−ト等のポリエステル系樹脂、各種のナイロン樹脂等のポリアミド系樹脂、ポリウレタン系樹脂、アセタ−ル系樹脂、セルロ−ス系樹脂、その他等の各種の樹脂のフィルムないしシ−トを使用することができる。
本発明においては、上記の樹脂のフィルムないしシ−トの中でも、特に、ポリエステル系樹脂、ポリオレフィン系樹脂、または、ポリアミド系樹脂のフィルムないしシ−トを使用することが好ましいものである。
本発明において、各種の樹脂のフィルムないしシ−トの膜厚としては、5〜25μm位、より好ましくは、5〜15μm位が望ましい。
上記において、一般的な添加剤としては、例えば、滑剤、架橋剤、酸化防止剤、紫外線吸収剤、光安定剤、充填剤、補強剤、帯電防止剤、顔料、その他等を使用することができ、更には、改質用樹脂等も使用することがてきる。
本発明において、上記の表面処理層としては、例えば、コロナ放電処理、オゾン処理、酸素ガス若しくは窒素ガス等を用いた低温プラズマ処理、グロー放電処理、化学薬品等を用いて処理する酸化処理、その他等の前処理を任意に施し、例えば、コロナ処理層、オゾン処理層、プラズマ処理層、酸化処理層、その他等を形成して設けることができる。
上記の表面前処理は、各種の樹脂のフィルムないしシートと無機酸化物の蒸着膜との密接着性等を改善するための方法として実施するものであるが、上記の密接着性を改善する方法として、その他、例えば、各種の樹脂のフィルムないしシートの表面に、予め、プライマーコート剤層、アンダーコート剤層、アンカーコート剤層、接着剤層、あるいは、蒸着アンカーコート剤層等を任意に形成して、表面処理層とすることもできる。
上記の前処理のコート剤層としては、例えば、ポリエステル系樹脂、ポリアミド系樹脂、ポリウレタン系樹脂、エポキシ系樹脂、フェノール系樹脂、(メタ)アクリル系掛胎、ポリ酢酸ビニル系樹脂、ポリエチレンあるいはポリプロピレン等のポリオレフイン系樹脂あるいはその共重合体ないし変性樹脂、セルロース系樹脂、その他等をビヒクルの主成分とする樹脂組成物を使用することができる。
本発明においては、具体的には、基材フィルムの一方の面に、有機珪素化合物等の蒸着用モノマ−ガスを原料とし、キャリヤ−ガスとして、アルゴンガス、ヘリウムガス等の不活性ガスを使用し、更に、酸素供給ガスとして、酸素ガス等を使用し、低温プラズマ発生装置等を利用する低温プラズマ化学気相成長法を用いて酸化珪素等の無機酸化物の蒸着膜を形成することができる。
上記において、低温プラズマ発生装置としては、例えば、高周波プラズマ、パルス波プラズマ、マイクロ波プラズマ等の発生装置を使用することがてき、而して、本発明においては、高活性の安定したプラズマを得るためには、高周波プラズマ方式による発生装置を使用することが望ましい。
本発明においては、図6に示すように、プラズマ化学気相成長装置21の真空チャンバ−22内に配置された巻き出しロ−ル23から基材フィルム1を繰り出し、更に、該基材フィルム1を、補助ロ−ル24を介して所定の速度で冷却・電極ドラム25周面上に搬送する。
而して、本発明においては、ガス供給装置26、27および、原料揮発供給装置28等から酸素ガス、不活性ガス、有機珪素化合物等の蒸着用モノマ−ガス、その他等を供給し、それらからなる蒸着用混合ガス組成物を調整しなから原料供給ノズル29を通して真空チャンバ−22内に該蒸着用混合ガス組成物を導入し、そして、上記の冷却・電極ドラム25周面上に搬送された、基材フィルム1の上に、グロ−放電プラズマ30によってプラズマを発生させ、これを照射して、酸化珪素等の無機酸化物の蒸着膜を製膜化する。
本発明においては、その際に、冷却・電極ドラム25は、真空チャンバ−22の外に配置されている電源31から所定の電力が印加されており、また、冷却・電極ドラム25の近傍には、マグネット32を配置してプラズマの発生が促進されている。
次いで、上記で基材フィルム1の一方の面に、酸化珪素等の無機酸化物の蒸着膜を形成した後、その基材フィルム1を、補助ロ−ル33を介して巻き取りロ−ル34に巻き取って、本発明にかかるプラズマ化学気相成長法による無機酸化物の蒸着膜を形成することができるものである。
なお、図中、35は、真空ポンプを表す。
上記の例示は、その一例を例示するものであり、これによって本発明は限定されるものではないことは言うまでもないことである。
図示しないが、本発明においては、無機酸化物の蒸着膜としては、無機酸化物の蒸着膜の1層だけではなく、2層あるいはそれ以上を積層した多層膜の状態でもよく、また、使用する材料も1種または2種以上の混合物で使用し、また、異種の材質で混合した無機酸化物の蒸着膜を構成することもできる。
また、原料揮発供給装置においては、原料である有機珪素化合物を揮発させ、ガス供給装置から供給される酸素ガス、不活性ガス等と混合させ、この混合ガスを原料供給ノズルを介して真空チャンバ−内に導入されるものである。
この場合、混合ガス中の有機珪素化合物の含有量は、1〜40%位、酸素ガスの含有量は、10〜70%位、不活性ガスの含有量は、10〜60%位の範囲とすることができ、例えば、有機珪素化合物と酸素ガスと不活性ガスとの混合比を1:6:5〜1:17:14程度とすることができる。
一方、冷却・電極ドラムには、電源から所定の電圧が印加されているため、真空チャンバ−内の原料供給ノズルの開口部と冷却・電極ドラムとの近傍でグロ−放電プラズマが生成され、このグロ−放電プラズマは、混合ガスなかの1つ以上のガス成分から導出されるものであり、この状態において、基材フィルムを一定速度で搬送させ、グロ−放電プラブマによって、冷却・電極ドラム周面上の基材フィルムの上に、酸化珪素等の無機酸化物の蒸着膜を形成することができるものである。
なお、このときの真空チャンバ−内の真空度は、1×10-1〜1×10-4Torr位、好ましくは、真空度1×10-1〜1×10-2Torr位に調製することが望ましく、また、基材フィルムの搬送速度は、10〜300m/分位、好ましくは、50〜150m/分位に調製することが望ましいものである。
また、本発明においては、SiOX プラズマにより基材フィルムの表面が、清浄化され、基材フィルムの表面に、極性基やフリ−ラジカル等が発生するので、形成される酸化珪素等の無機酸化物の蒸着膜と基材フィルムとの密接着性が高いものとなるという利点を有するものである。
更に、上記のように酸化珪素等の無機酸化物の連続膜の形成時の真空度は、1×10-1〜1×10-4Torr位、好ましくは、1×10-1〜1×10-2Torr位に調製することから、従来の真空蒸着法により酸化珪素等の無機酸化物の蒸着膜を形成する時の真空度、1×10-4〜1×10-5Torr位に比較して低真空度であることから、基材フィルムを原反交換時の真空状態設定時間を短くすることができ、真空度を安定しやすく、製膜プロセスが安定するものである。
而して、上記の酸化珪素の蒸着膜としては、透明性、バリア性等の点から、一般式SiOX (ただし、Xは、1.3〜1.9の数を表す。)で表される酸化珪素の蒸着膜を主体とする薄膜であることが好ましいものである。
上記において、Xの値は、蒸着モノマ−ガスと酸素ガスのモル比、プラズマのエネルギ−等により変化するが、一般的に、Xの値が小さくなればガス透過度は小さくなるが、膜自身が黄色性を帯び、透明性が悪くなる。
例えば、C−H結合を有する化合物、Si−H結合を有する化合物、または、炭素単位がグラファイト状、ダイヤモンド状、フラ−レン状等になっている場合、更に、原料の有機珪素化合物やそれらの誘導体を化学結合等によって含有する場合があるものである。
具体例を挙げると、CH3 部位を持つハイドロカ−ボン、SiH3 シリル、SiH2 シリレン等のハイドロシリカ、SiH2 OHシラノ−ル等の水酸基誘導体等を挙げることができる。
上記以外でも、蒸着過程の条件等を変化させることにより、酸化珪素の蒸着膜中に含有される化合物の種類、量等を変化させることができる。
而して、上記の化合物が、酸化珪素の蒸着膜中に含有する含有量としては、0.1〜50%位、好ましくは、5〜20%位が望ましいものである。
上記において、含有率が、0.1%未満であると、酸化珪素の蒸着膜の耐衝撃性、延展性、柔軟性等が不十分となり、曲げなとにより、擦り傷、クラック等が発生し易く、高いバリア性を安定して維持することが困難になり、また、50%を越えると、バリア性が低下して好ましくないものである。
更に、本発明においては、酸化珪素の蒸着膜において、上記の化合物の含有量が、酸化珪素の蒸着膜の表面から深さ方向に向かって減少させることが好ましく、これにより、酸化珪素の蒸着膜の表面においては、上記の化合物等により耐衝撃性等を高められ、他方、基材フィルムの面との界面においては、上記の化合物の含有量が少ないために、基材フィルムと酸化珪素等の無機酸化物の蒸着膜との密接着性が強固なものとなるという利点を有するものである。
装置(Xray Photoelectron Spectroscopy、XPS)、
二次イオン質量分析装置(Secondary Ion Mass Spectrosc
opy、SIMS)等の表面分析装置を用い、深さ方向にイオンエッチングする等して分
析する方法を利用して、酸化珪素の蒸着膜の元素分析を行うことより、上記のような物性
を確認することができる。
また、本発明において、上記の酸化珪素の蒸着膜の膜厚としては、膜厚50Å〜400
0Å位であることが望ましく、具体的には、その膜厚としては、100〜1000Å位が
望ましく、而して、上記において、1000Å、更には、4000Åより厚くなると、そ
の膜にクラック等が発生し易くなるので好ましくなく、また、100Å、更には、50Å
未満であると、バリア性の効果を奏することが困難になることから好ましくないものであ
る。
上記のおいて、その膜厚は、例えば、株式会社理学製の蛍光X線分析装置(機種名、R
IX2000型)を用いて、ファンダメンタルパラメ−タ−法で測定することができる。
また、上記において、上記の酸化珪素の蒸着膜の膜厚を変更する手段としては、蒸着膜
の体積速度を大きくすること、すなわち、モノマ−ガスと酸素ガス量を多くする方法や蒸
着する速度を遅くする方法等によって行うことができる。
本発明において、上記のような有機珪素化合物の中でも、1.1.3.3−テトラメチルジシロキサン、または、ヘキサメチルジシロキサンを原料として使用することが、その取り扱い性、形成された連続膜の特性等から、特に、好ましい原料である。
また、上記において、不活性ガスとしては、例えば、アルゴンガス、ヘリウムガス等を使用することができる。
本発明において、具体的には、金属または金属の酸化物を原料とし、これを加熱して蒸気化し、これを基材フィルムの一方の上に蒸着する真空蒸着法、または、原料として金属または金属の酸化物を使用し、酸素を導入して酸化させて基材フィルムの一方の上に蒸着する酸化反応蒸着法、更に酸化反応をプラズマで助成するプラズマ助成式の酸化反応蒸着法等を用いて蒸着膜を形成することができる。
上記において、蒸着材料の加熱方式としては、例えば、抵抗加熱方式、高周波誘導加熱方式、エレクトロンビ−ム加熱方式(EB)等にて行うことができる。
その具体例を挙げると、図7は、巻き取り式真空蒸着装置の一例を示す概略的構成図であ
る。
図7に示すように、巻き取り式真空蒸着装置41の真空チャンバ−42の中で、巻き出しロ−ル43から繰り出す基材フィルム1は、ガイドロ−ル44、45を介して、冷却したコ−ティングドラム46に案内される。
而して、上記の冷却したコ−ティングドラム46上に案内された基材フィルム1の上に、るつぼ47で熱せられた蒸着源48、例えば、金属アルミニウム、あるいは、酸化アルミニウム等を蒸発させ、更に、必要ならば、酸素ガス吹出口49より酸素ガス等を噴出し、これを供給しながら、マスク50、50を介して、例えば、酸化アルミニウム等の無機酸化物の蒸着膜を成膜化し、次いで、上記において、例えば、酸化アルミニウム等の無機酸化物の蒸着膜を形成した基材フィルム1を、ガイドロ−ル51、52を介して送り出し、巻き取りロ−ル53に巻き取ることによって、本発明にかかる物理気相成長法による無機酸化物の蒸着膜を形成することができる。
なお、本発明においては、上記のような巻き取り式真空蒸着装置を用いて、まず、第1層の無機酸化物の蒸着膜を形成し、次いで、同様にして、該無機酸化物の蒸着膜の上に、更に、無機酸化物の蒸着膜を形成するか、あるいは、上記のような巻き取り式真空蒸着装置を用いて、これを2連に連接し、連続的に、無機酸化物の蒸着膜を形成することにより、2層以上の多層膜からなる無機酸化物の蒸着膜を形成することができる。
而して、好ましいものとしては、ケイ素(Si)、アルミニウム(Al)等の金属の酸化物の蒸着膜を挙げることができる。
また、上記の金属の酸化物の蒸着膜は、ケイ素酸化物、アルミニウム酸化物、マグネシウム酸化物等のように金属酸化物として呼ぶことができ、その表記は、例えば、SiOX、AlOX 、MgOX 等のようにMOX (ただし、式中、Mは、金属元素を表し、Xの値は、金属元素によってそれぞれ範囲がことなる。)で表される。
上記のXの値の範囲としては、ケイ素(Si)は、0〜2、アルミニウム(Al)は、0〜1.5、マグネシウム(Mg)は、0〜1、カルシウム(Ca)は、0〜1、カリウム(K)は、0〜0.5、スズ(Sn)は、0〜2、ナトリウム(Na)は、0〜0.5、ホウ素(B)は、0〜1、5、チタン(Ti)は、0〜2、鉛(Pb)は、0〜1、ジルコニウム(Zr)は0〜2、イットリウム(Y)は、0〜1.5の範囲の値をとることができる。
また、上記において、X=0の場合、完全な金属であり、透明ではなく全く使用することができない、また、Xの範囲の上限は、完全に酸化した値である。
本発明において、一般的に、ケイ素(Si)、アルミニウム(Al)以外は、使用される例に乏しく、ケイ素(Si)は、1.0〜2.0、アルミニウム(Al)は、0.5〜1.5の範囲の値のものを使用することができる。
本発明において、上記のような無機酸化物の蒸着膜の膜厚としては、使用する金属、または、金属の酸化物の種類等によって異なるが、例えば、50〜2000Å位、好ましくは、100〜1000Å位の範囲内で任意に選択して形成することが望ましい。
また、本発明においては、無機酸化物の蒸着膜としては、使用する金属または金属の酸化物としては、1種または2種以上の混合物で使用し、異種の材質で混合した無機酸化物の蒸着膜を構成することもできる。
而して、上記の異種の無機酸化物の蒸着膜の2層以上からなる複合膜としては、まず、基材フィルムの上に、化学気相成長法により、緻密で、柔軟性に富み、比較的にクラックの発生を防止し得る無機酸化物の蒸着膜を設け、次いで、該無機酸化物の蒸着膜の上に、物理気相成長法による無機酸化物の蒸着膜を設けて、2層以上からなる複合膜からなる無機酸化物の蒸着膜を構成することが望ましいものである。
勿論、本発明においては、上記とは逆くに、基材フィルムの上に、先に、物理気相成長法により、無機酸化物の蒸着膜を設け、次に、化学気相成長法により、緻密で、柔軟性に富み、比較的にクラックの発生を防止し得る無機酸化物の蒸着膜を設けて、2層以上からなる複合膜からなる無機酸化物の蒸着膜を構成することもできるものである。
而して、本発明において、不活性ガスによるプラズマ処理面について説明すると、かかるプラズマ処理面としては、基材フィルムの一方の面に、気体をア−ク放電により電離させることにより生じるプラズマガスを利用して表面改質を行うプラズマ表面処理法等を利用して、プラズマ処理面を形成することがてきる。
すなわち、本発明においては、窒素ガス、アルゴンガス、ヘリウムガス、その他等の不活性ガスをプラズマガスとして使用するプラズマ表面処理法でプラズマ処理を行うことによりプラズマ処理面を形成することができる。
なお、本発明において、プラズマガスとしては、上記の不活性ガスに、更に、酸素ガスを添加した混合ガスを使用することもできる。
また、本発明において、不活性ガスによるプラズマ処理面を形成する場合、例えば、無機酸化物の蒸着膜を形成する直前に、インラインでプラズマ処理を行うことにより、基材フィルムの表面の水分、塵等を除去すると共にその表面の平滑化、活性化、その他等の表面処理を可能とすることから望ましいものである。
更に、本発明において、上記のプラズマ処理としては、プラズマ出力、プラズマガスの種類、プラズマガスの供給量、処理時間、その他等の条件を考慮してプラズマ放電処理をおこなうことが好ましいものである。
また、本発明において、プラズマを発生させる方法としては、例えば、直流グロ−放電、高周波放電、マイクロ波放電、その他等の装置を利用して行うことができる。
また、本発明においては、大気圧プラズマ処理法等を利用してプラズマ処理面を形成す
ることもできる。
n M(OR2 )
m で表されるアルコキシドとしては、アルコキシドの部分加水分解物、アルコキシドの加水分解縮合物の少なくとも1種以上を使用することができ、また、上記のアルコキシドの部分加水分解物としては、アルコキシ基のすべてが加水分解されている必要はなく、1個以上が加水分解されているもの、および、その混合物であってもよく更に、加水分解の縮合物としては、部分加水分解アルコキシドの2量体以上のもの、具体的には、2〜6量体のものを使用される。
而して、本発明において、好ましい金属としては、例えば、ケイ素、チタン等を挙げることができる。
また、本発明において、アルコキシドの用い方としては、単独又は2種以上の異なる金属原子のアルコキシドを同一溶液中に混合して使うこともできる。
される有機基の具体例としては、例えば、メチル基、エチル基、n−プロピル基、i−プロピル基、n−ブチル基、i−ブチル基、sec−ブチル基、t−ブチル基、n−ヘキシル基、n−オクチル基、その他等のアルキル基を挙げることができる。
また、上記の一般式R1n M(OR2 )m で表されるアルコキシドにおいて、R2 で表される有機基の具体例としては、例えば、メチル基、エチル基、n−プロピル基、i−プロピル基、n−ブチル基、sec−ブチル基、その他等を挙げることができる。
なお、本発明において、同一分子中にこれらのアルキル基は同一であっても、異なってもよい。
n M(OR2 )m で表されるアルコキシド
としては、例えば、MがSiであるアルコキシシランを使用することが好ましいものであ
る。
上記のアルコキシシランとしては、一般式Si(ORa )4 (ただし、式中、Raは、低級アルキル基を表す。)で表されるものである。
上記において、Raとしては、メチル基、エチル基、n−プロピル基、n−ブチル基、
その他等が用いられる。
上記のアルコキシシランの具体例としては、例えば、テトラメトキシシラン Si(O
CH3 )4 、テトラエトキシシラン Si(OC2 H5 )4 、テトラプロポキシシラン
Si(0C 3H7 )4 、テトラブトキシシラン Si(OC4 H9 )4 、その他等を使用
することができる。
上記のアルキルアルコキシシランの具体例としては、例えば、メチルトリメトキシシラン CH3 Si(OCH3 )3 、メチルトリエトキシシラン CH3 Si(OC2 H5 )3 、ジメチルジメトキシシラン (CH3 )2 Si(OCH3 )2 、ジメチルジエトキシシラン (CH3 )2 Si(OC2 H5 )2 、その他等を使用することができる。
上記のアルコキシシラン、アルキルアルコキシシラン等は、単独又は2種以上を混合しても用いることができる。
また、本発明において、上記のアルコキシシランの縮重合物も使用することができ、具体的には、例えば、ポリテトラメトキシシラン、ポリテトラエメトキシシラン、その他等を使用することができる。
上記のジルコニウムアルコキシドの具体例としては、例えば、テトラメトキシジルコニウム Zr(OCH3 )4 、テトラエトキシジルコニウム Zr(OC2 H5 )4 、テトラiプロポキシジルコニウム Zr(is0−0C 3H7 )4 、テトラnブトキシジルコ
ニウム Zr(OC4 H9 )4 、その他等を使用することができる。
上記のチタニウムアルコキシドの具体例としては、例えば、テトラメトキシチタニウム
Ti(OCH3 )4 、テトラエトキシチタニウム
Ti(OC2 H5 )4 、テトライソプロポキシチタニウム
Ti(is0−0C 3H7 )4 、テトラnブトキシチタニウム
Ti(OC4 H9 )4 、その他等を使用することができる。
上記のアルミニウムアルコキシドの具体例としては、例えば、テトラメトキシアルミニウム
Al(OCH3 )4 、テトラエトキシアルミニウム
Al(OC2 H5 )4 、テトライソプロポキシアルミニウム
Al(is0−0C 3H7 )4 、テトラnブトキシアルミニウム
Al(OC4 H9 )4 、その他等を使用することができる。
而して、本発明において、特に、アルコキシシランとジルコニウムアルコキシドを混合して用いることによって、得られるガスバリア性塗布膜の靭性、耐熱性等を向上させることができるものである。
上記のジルコニウムアルコキシドの使用量は、上記のアルコキシシラン100重量部に対して10重量部以下の範囲であり、好ましくは、約5重量部位が好ましいものである。
上記において、10重量部を越えると、形成されるガスバリア性塗布膜が、ゲル化し易くなり、また、その膜の脆性が大きくなり、また、ガスバリア性塗布膜が剥離し易くなる傾向にあることから好ましくないものである。
上記において、チタニウムアルコキシドの使用量は、上記のアルコキシシラン100重量部に対して5重量部以下の範囲であり、好ましくは、約3重量部位が好ましいものである。
上記において、5重量部を越えると、形成されるガスバリア性塗布膜の脆性が大きくなり、また、ガスバリア性塗布膜が剥離し易くなる傾向にあることから好ましくないものである。
特に、本発明において、ポリビニルアルコール系樹脂およびエチレン・ビニルアルコール共重合体とを組み合わせて使用することにより、上記のガスバリア性、耐水性、および耐候性等の物性に加えて、耐熱水性および熱水処理後のガスバリア性等に著しく優れたガスバリア性塗布膜を形成することができるものである。
上記において、500重量部を越えると、ガスバリア性塗布膜の脆性が大きくなり、その耐水性および耐候性等も低下する傾向にあることから好ましくなく、更に、5重量部を下回るとガスバリア性が低下することから好ましくないものである。
上記のポリビニルアルコール系樹脂としては、酢酸基が数十%残存している部分ケン化ポリビニルアルコール系樹脂でも、もしくは、酢酸基が残存しない完全ケン化ポリビニルアルコールでも、あるいは、OH基が変性された変性ポリビニルアルコール系樹脂でもよく、特に限定されるものではない。
上記ポリビニルアルコール系樹脂の具体例としては、株式会社クラレ製のRSポリマーであるRS−110(ケン化度=99%、重合度=1,000)、同社製のクラレポバールLM−20SO(ケン化度=40%、重合度=2,000)、日本合成化学工業株式会社製のゴーセノールNM−14(ケン化度=99%、重合度=1,400)等を使用することができる。
具体的には、酢酸基が数十モル%残存している部分ケン化物から、酢酸基が数モル%しか残存していないかまたは酢酸基が残存しない完全ケン化物まで含み、特に限定されるものではないが、ガスバリア性の観点から好ましいケン化度は、80モル%以上、より好ましくは、90モル%以上、さらに好ましくは、95モル%以上であるものを使用することが望ましいものである
また、上記のエチレン・ビニルアルコール共重合体中のエチレンに由来する繰り返し単位の含量(以下「エチレン含量」ともいう)は、通常、0〜50モル%、好ましくは、20〜45モル%であるものを使用することが好ましいものである。
上記のエチレン・ビニルアルコール共重合体の具体例としては、株式会社クラレ製、エバールEP−F101(エチレン含量;32モル%)、日本合成化学工業株式会社製、ソアノールD2908(エチレン含量;29モル%)等を使用することができる。
而して、上記のシランカップリング剤としては、既知の有機反応性基含有オルガノアルコキシシランを用いることができる。
本発明においては、特に、エポキシ基を有するオルガノアルコキシシランが好適であり、それには、例えば、γ−グリシドキシプロピルトリメトキシシラン、γ−グリシドキシプロピルメチルジエトキシシラン、あるいは、β−(3、4−エポキシシクロヘキシル)エチルトリメトキシシラン等を使用することができる。
上記のようなシランカップリング剤は、1種ないし2種以上を混合して用いてもよい。
本発明において、上記のようなシランカップリング剤の使用量は、上記のアルコキシシラン100重量部に対して1〜20重量部位の範囲内で使用することができる。
上記において、20重量部以上を使用すると、形成されるガスバリア性塗布膜の剛性と脆性とが大きくなり、また、ガスバリア性塗布膜の絶縁性および加工性が低下する傾向にあることから好ましくないものである。
具体的には、例えば、N、N−ジメチルベンジルアミン、トリプロピルアミン、トリブチルアミン、トリペンチルアミン、その他等を使用することができる。
本発明においては、特に、N、N−ジメチルべンジルアミンが好適である。
その使用量は、アルコキシド、および、シランカップリング剤の合計量100重量部当り、0.01〜1.0重量部、好ましくは、約0.03重量部位使用することが好ましいものである。
また、上記のガスバリア性組成物において用いられる、酸としては、上記ゾルーゲル法の触媒、主として、アルコキシドやシランカップリング剤などの加水分解のための触媒として用いられる。
上記の酸としては、例えば、硫酸、塩酸、硝酸などの鉱酸、ならびに、酢酸、酒石酸な等の有機酸、その他等を使用することができる。
上記の酸の使用量は、アルコキシドおよびシランカップリング剤のアルコキシド分(例えばシリケート部分)の総モル量に対し0.001〜0.05モル位、好ましくは、約0.01モル位を使用することが好ましいものである。
上記の水の量が、2モルを越えると、上記のアルコキシシランと金属アルコキシドとから得られるポリマーが球状粒子となり、更に、この球状粒子同士が3次元的に架橋し、密度の低い、多孔性のポリマーとなり、而して、そのような多孔性のポリマーは、バリア性基材のガスバリア性を改善することができなくなることから好ましくないものである。
また、上記の水の量が0.8モルを下回ると、加水分解反応が進行しにくくなる傾向にあることから好ましくないものである。
更に、上記のガスバリア性組成物において、ポリビニルアルコ−ル系樹脂及び/又はエチレン・ビニルアルコール共重合体は、上記のアルコキシドやシランカップリング剤などを含む塗工液中で溶解した状態であることが好ましく、そのため上記の有機溶媒の種類が適宜選択されるものである。
ポリビニルアルコール系樹脂およびエチレン・ビニルアルコール共重合体とを組み合わせて使用する場合には、n−ブタノールを使用することが好ましい。
本発明において、溶媒中に可溶化されたエチレン・ビニルアルコール共重合体は、例えば、ソアノール(商品名)として市販されているものを使用することができる。
上記の有機溶媒の使用量は、通常、上記のアルコキシド、シランカップリング剤、ポリビニルアルコ−ル系樹脂及び/又はエチレン・ビニルアルコール共重合体、酸およびゾルーゲル法触媒の合計量100重量部当り30〜500重量部位である。
まず、上記のアルコキシシラン等のアルコキシド、シランカップリング剤、ポリビニルアルコ−ル系樹脂及び/又はエチレン・ビニルアルコール共重合体、ゾルーゲル法触媒、酸、水、有機溶媒、および、必要に応じて、金属アルコキシド等を混合してガスバリア性組成物(塗工液)を調製する。
次に、上記のガスバリア性組成物(塗工液)中では次第に重縮合反応が進行する。
次いで、基材フィルムの一方の面に設けた無機酸化物の蒸着膜の上に、常法により、上記のガスバリア性組成物(塗工液)を通常の方法で塗布し、乾燥する。
而して、上記の乾燥により、上記のアルコキシシラン等のアルコキシド、金属アルコキシド、シランカップリング剤およびポリビニルアルコール系樹脂及び/又はエチレン・ビニルアルコール共重合体等の重縮合が進行し、塗工膜が形成される。
更に、好ましくは、上記の塗布操作を繰り返して、2層以上からなる複数の塗工膜を積層する。
最後に、上記の塗工液を塗布した基材フィルムを20℃〜200℃位で、かつ、基材フィルムの融点以下の温度、好ましくは、約50℃〜160℃位の範囲の温度で、10秒〜10分間加熱処理して、基材フィルムの一方の面に形成した無機酸化物の蒸着膜の上に、上記のガスバリア性組成物(塗工液)によるガスバリア性塗布膜を1層ないし2層以上形成して、本発明に係るガスバリア性塗布膜を製造することができる。
このようにして得られた本発明に係るガスバリア性塗布膜は、酸素、水蒸気、水素、その他等のガスの透過を阻止するガスバリア性に優れているものである。
その際、酸が加水分解の触媒となる。
次いで、ゾルーゲル法触媒の働きによって、生じた水酸基からプロトンが奪取され、加水分解生成物同士が脱水重縮合する。
このとき、酸触媒により同時にシランカップリング剤も加水分解されて、アルコキシ基が水酸基となる。
また、塩基触媒の働きにより、エポキシ基の開環も起こり、水酸基が生じる。
加水分解されたシランカップリング剤と加水分解されたアルコキシドとの重縮合反応も進行する。
さらに、反応系にはポリビニルアルコール系樹脂、または、エチレン・ビニルアルコール共重合体、または、ポリビニルアルコール系樹脂およびエチレン・ビニルアルコール共重合体とが存在するため、ポリビニルアルコール系樹脂およびエチレン・ビニルアルコール共重合体が有する水酸基との反応も生じる。
生成する重縮合物は、例えば、Si−O−Si、Si−O−Zr、Si−O−Ti、その他等の結合からなる無機質部分と、シランカップリング剤に起因する有機部分とを含有する複合ポリマーを構成する
上記の反応においては、例えば、下記の式(III)に示される部分構造式を有し、更に、シランカップリング剤に起因する部分を有する直鎖状のポリマーがまず生成する。
このポリマーは、OR基(エトキシ基などのアルコキシ基)が、直鎖状のポリマーから分岐した形で有する。
このOR基は、存在する酸が触媒となって加水分解されてOH基となり、ゾルーゲル法触媒(塩基触媒)の働きにより、まず、OH基が、脱プロトン化し、次いで、重縮合が進行する。
すなわち、このOH基が、下記の式(I)に示されるポリビニルアルコール系樹脂、または、下記の式(II)に示されるエチレン・ビニルアルコール共重合体と重縮合反応し、Si−O−Si結合を有する、例えば、下記の式(IV)に示される複合ポリマー、あるいは、下記の式(V)及び(VI)に示される共重合した複合ポリマーが生じると考えられるものである。
このガスバリア性組成物(塗工液)を、基材フィルムの一方の面に設けた無機酸化物の蒸着膜の上に塗布し、加熱して溶媒および重縮合反応により生成したアルコールを除去すると、重縮合反応が完結し、基材フィルムの一方の面に設けた無機酸化物の蒸着膜の上に透明な塗工層が形成される。
上記の塗工層を複数層積層する場合には、層間の塗工層中の複合ポリマー同士も縮合し、層と層との間が強固に結合する。
更に、シランカップリング剤の有機反応性基や、加水分解によって生じた水酸基が基材フィルムの一方の面に設けた無機酸化物の蒸着膜の表面の水酸基等と結合するため、基材フィルムの一方の面に設けた無機酸化物の蒸着膜の表面と、塗工層との密着性、接着性等も良好なものとなるものである。
このような直鎖状ポリマーは、結晶性を有し、非晶質部分の中に多数の微小の結晶が埋包された構造をとる。
このような結晶構造は、結晶性有機ポリマー(例えば、塩化ビニリデンやポリビニルアルコール)と同様であり、さらに極性基(OH基)が部分的に分子内に存在し、分子の凝集エネルギーが高く分子鎖剛性も高いため良好なガスバリアー性を示す。
特に、H2 、N2 、CO2 ガス、ヘリウムガス、その他等のガス等を充填した、いわゆる、その優れたガスバリア性が、充填ガスの保持に極めて有効となる。
更に、本発明に係るガスバリア性塗布膜は、熱水処理、特に、高圧熱水処理に優れ、極めて優れたガスバリア性特性を示すものである。
上記の本発明のガスバリア性組成物を塗布する方法としては、例えば、グラビアロ−ルコーターなどのロールコート、スプレーコート、スピンコ−ト、デイツピング、刷毛、バーコード、アプリケータ等の塗布手段により、1回あるいは複数回の塗布で、乾燥膜厚が
、0.01〜30μm、好ましくは、0.1〜10μm位の塗工膜を形成することができ、更に、通常の環境下、50〜300℃、好ましくは、70〜200℃の温度で、0.005〜60分間、好ましくは、0.01〜10分間、加熱・乾操することにより、縮合が行われ、本発明の第1または第2のガスバリア性塗布膜を形成することができる。
また、必要ならば、本発明のガスバリア性組成物を塗布する際に、予め、無機酸化物の蒸着膜の上に、プライマー剤等を塗布することもできるものであり、また、コロナ放電処理あるいはプラズマ処理、その他等の前処理を任意に施すことができるものである。
而して、本発明においては、特に、密度が、上記のような範囲内にある直鎖状低密度ポリエチレンを使用することにより、柔らかい、腰の低いフィルムを構成することができ、更に、これにより、積層材の硬さ、腰等の風合い、柔軟性等の効果を創出し、これにより、脱気しながら減圧状態で真空包装しても、上記の積層材が、インクカ−トリッジの外表面の形状に追従し、しわ等の発生を防止することができるというものである。
本発明において、上記の直鎖状低密度ポリエチレンとしては、モノマ−として、エチレン、更には、プロピレン、1−ブテン、1−ペンテン、4−メチル−1−ペンテン、1−ヘキセン、1−ヘプテン、1−オクテン、1−ノネン、1−デセン、その他等のα・オレフィンを使用し、例えば、チ−グラ−・ナッタ系あるいはCr系触媒等を使用し、例えば、低圧法、スラリ−法、溶液法、気相法、その他等の重合方法を用いて、エチレンを単独、あるいは、エチレンと他のオレフィンとを共重合させてなる長鎖分岐をもたないエチレンの単独重合体あるいはエチレンと他のオレフィンとの共重合体等を使用することができる。
なお、本発明において、メルトフロ−レイト(MFR)とは、JIS K6921に準拠した手法から測定したものであり、また、密度は、JIS K7112に準拠した手法から測定したものである。
以下、同様である。
而して、本発明においては、特に、密度が、上記のような範囲内にあるシングルサイト触媒を使用して重合したエチレン・α−オレフン共重合体を使用することにより、柔らかい、腰の低いフィルムを構成することができ、更に、これにより、積層材の硬さ、腰等の風合い、柔軟性等の効果を創出し、これにより、脱気しながら減圧状態で真空包装しても、上記の積層材が、インクカ−トリッジの外表面の形状に追従し、しわ等の発生を防止することができるというものである。
本発明において、上記のシングルサイト触媒を使用して重合したエチレン・α−オレフン共重合体としては、例えば、二塩化ジルコノセンとメチルアルモキサンの組み合わせによる触媒等のメタロセン錯体とアルモキサンとの組み合わせによる触媒、すなわち、メタロセン触媒(シングルサイト触媒)を使用して、エチレンとα・オレフィンとを共重合してなるエチレン・α−オレフィン共重合体を使用することができる。
上記のメタロセン触媒は、現行の触媒が、活性点が不均一でマルチサイト触媒と呼ばれているのに対し、活性点が均一であることからシングルサイト触媒とも呼ばれているものである(以下、メタロセン触媒は、シングルサイト触媒と同等の意味である。)。
具体的には、メタロセン触媒を使用して重合したエチレン・α−オレフィン共重合体としては、三菱化学株式会社製の商品名「カ−ネル」、三井石油化学工業株式会社製の商品名「エボリュ−」、米国、エクソン・ケミカル(EXXON・CHEMICAL)社製の商品名「エクザクト(EXACT)」、米国、ダウ・ケミカル(DOW・CHEMICAL)社製の商品名「アフィニティ−(AFFINITY)、商品名「エンゲ−ジ(ENGAGE)」等のメタロセン触媒を用いて重合したエチレン・α−オレフィン共重合体を使用することができる。
なお、上記のメタロセン触媒は、無機物に担持されて使用されることもある。
上記において、メタロセン系遷移金属化合物としては、例えば、IVB族から選ばれる遷移金属、具体的には、チタニウム(Ti)、ジルコニウム(Zr)、ハフニウム(Hf)に、シクロペンタジエニル基、置換シクロペンタジエニル基、インデニル基、置換インデニル基、テトラヒドロインデニル基、置換テトラヒドロインデニル基、フルオニル基またと置換フルオニル基が1ないし2個結合しているか、あるいは、これらのうちの二つの基が共有結合で架橋したものが結合しており、他に水素原子、酸素原子、ハロゲン原子、アルキル基、アルコキシ基、アリ−ル基、アセチルアセトナ−ト基、カルボニル基、窒素分子、酸素分子、ルイス塩基、ケイ素原子を含む置換基、不飽和炭化水素等の配位子を有するものを使用することができる。
また、上記において、有機アルミニウム化合物としては、アルキルアルミニウム、または鎖状あるいは環状アルミノキサン等を使用することができる。
ここで、アルキルアルミニウムとしては、例えば、トリエチルアルミニウム、トリイソブチルアルミニウム、ジメチルアルミニウムクロリド、ジエチルアルミニウムクロリド、メチルアルミニウムジクロリド、エチルアルミニウムジクロリド、ジメチルアルミニウムフルオリド、ジイソブチルアルミニウムハイドライド、ジエチルアルミニウムハイドライド、エチルアルミニウムセスキクロリド等を使用することができる。
また、鎖状あるいは環状アルミノキサンとしては、例えば、アルキルアルミニウムと水を接触させて生成することができる。
例えば、重合時に、アルキルアルミニウムを加えておき、後に水を添加するか、あるいは、錯塩の結晶水または有機・無機化合物の吸着水とアルキルアルミニウムとを反応させることで生成することができる。
次にまた、上記において、メタロセン触媒を担持させる無機物としては、例えば、シリカゲル、ゼオライト、珪素土等を使用することができる。
また、上記の重合は、バッチ式あるいは連続式等のいずれの方法でもよい。
上記において、重合条件としては、重合温度、−100〜250℃、重合時間、5分〜10時間、反応圧力、常圧〜300Kg/cm2 位である。
更に、本発明において、エチレンと共重合されるコモノマ−であるα−オレフィンとしては、例えば、プロピレン、1−ブテン、3−メチル−1−ブテン、4−メチル−1−ペンテン、1−ヘキセン、1−オクテン、デセン等を使用することができる。
上記のα・オレフフィンは、単独で使用してもよく、また、2以上を組み合わせて使用することもできる。
また、上記のα−オレフフィンの混合比率は、例えば、1〜50重量%、望ましくは、10〜30重量%とすることが好ましい。
而して、本発明において、上記のメタロセン触媒を用いて重合したエチレン・α−オレフィン共重合体の物性は、例えば、分子量、5×103 〜5×106 、密度、0.890〜0.930g/cm3 、メルトフロ−レ−ト〔MFR〕、0.1〜50g/10分位である。
なお、本発明においては、上記のメタロセン触媒を用いて重合したエチレン−α・オレフィン共重合体には、例えば、酸化防止剤、紫外線吸収剤、帯電防止剤、アンチブロッキング剤、滑剤(脂肪酸アミド等)、難燃化剤、無機ないし有機充填剤、染料、顔料等を任意に添加して使用することができる。
上記の樹脂のフィルムないしシ−トは、単層ないし多層で使用することができ、また、上記の樹脂のフィルムないしシ−トの厚さとしては、5μm〜300μm位、好ましくは、10μm〜100μm位が望ましい。
具体的には、例えば、ポリエステル系樹脂、ポリアミド系樹脂、ポリアラミド系樹脂、ポリプロピレン系樹脂、ポリカ−ボネ−ト系樹脂、ポリアセタ−ル系樹脂、フッ素系樹脂、その他等の強靱な樹脂のフィルムないしシ−トを使用することができる。
而して、上記の樹脂のフィルムないしシ−トとしては、未延伸フィルム、あるいは、一軸方向または二軸方向に延伸した延伸フィルム等のいずれのものでも使用することができる。
また、本発明において、その樹脂のフィルムないしシ−トの厚さとしては、強度、耐突き刺し性、剛性、その他等について必要最低限に保持され得る厚さであればよく、厚すぎると、コストを上昇するとい欠点もあり、逆に、薄すぎると、強度、耐突き刺し性、剛性、その他等が低下して好ましくないものである。
本発明においては、上記のような理由から、約10μmないし100μm位、好ましくは、約12μmないし50μm位が最も望ましい。
而して、本発明においては、上記のような樹脂のフィルムないしシ−トの中でも、特に、厚さ15μm〜30μm位の2軸延伸ポリアミド系樹脂フィルムを使用することが好ましいものである。
具体的には、本発明においては、ラミネ−ト用接着剤層等を介して積層するドライラミネ−ト積層方式等を用いて、本発明に係る積層材を製造することができる。
上記の接着剤の組成系は、水性型、溶液型、エマルジョン型、分散型等のいずれの組成物形態でもよく、また、その性状は、フィルム・シ−ト状、粉末状、固形状等のいずれの形態でもよく、更に、接着機構については、化学反応型、溶剤揮発型、熱溶融型、熱圧型等のいずれの形態でもよいものである。
而して、上記の接着剤は、例えば、ロ−ルコ−ト法、グラビアロ−ルコ−ト法、キスコ−ト法、その他等のコ−ト法、あるいは、印刷法等によって施すことができる。
本発明において、上記のドライラミネ−ト用接着剤層の膜厚としては、積層体として、いわゆる、硬さ、腰等の風合い、柔らかさ等を得るために薄くすることが望ましく、0.1〜2g/m2 (乾燥状態)が好ましいものである。
なお、本発明において、ドライラミネ−ト積層方式による積層を行う場合には、その積層表面に、予め、コロナ放電処理、オゾン処理、あるいは、プラズマ放電処理等の表面改質前処理を任意に施すことができるものである。
また、上記のドライラミネ−ト積層方式等において、必要ならば、接着助剤等として、例えば、プライマ−剤層を設けることもできる。
而して、上記の印刷模様層としては、通常のインキビヒクルの1種ないし2種以上を主成分とし、これに、必要ならば、可塑剤、安定剤、酸化防止剤、光安定剤、紫外線吸収剤、硬化剤、架橋剤、滑剤、帯電防止剤、充填剤、その他等の添加剤の1種ないし2種以上を任意に添加し、更に、染料・顔料等の着色剤を添加し、溶媒、希釈剤等で充分に混練してインキ組成物を調整し、次いで、該インキ組成物を使用し、例えば、グラビア印刷、オフセット印刷、凸版印刷、スクリ−ン印刷、転写印刷、フレキソ印刷、その他等の印刷方式を使用し、前述のプライマ−剤層の上に、文字、図形、記号、模様、その他等からなる所望の印刷模様を印刷して、本発明に係る印刷模様層を形成することができるものである。
ン化物、フッ素系樹脂、ジエン系樹脂、ポリアセタ−ル系樹脂、ポリウレタン系樹脂、ニトロセルロ−ス、その他等の公知の樹脂のフィルムないしシ−トを任意に選択して使用することができる。
その他、例えば、合成紙等も使用することができる。
本発明において、上記のフィルムないしシ−トは、未延伸、一軸ないし二軸方向に延伸されたもの等のいずれのものでも使用することができる。
また、その厚さは、任意であるが、数μmから300μm位の範囲から選択して使用することができる。
更に、本発明においては、フィルムないしシ−トとしては、押し出し成膜、インフレ−ション成膜、コ−ティング膜等のいずれの性状の膜でもよい。
これらの材料は、一種ないしそれ以上を組み合わせて使用することができる。
また、上記のフィルムないしシ−トの厚さとしては、任意であるが、通常、5μmないし300μm位、更には、10μmないし100μm位が望ましい。
而して、その製袋方法としては、上記のような本発明に係る乾燥食品用包材を、折り曲げるかあるいは重ね合わせて、その内層の面を対向させ、更にその周辺端部を、例えば、側面シ−ル型、二方シ−ル型、三方シ−ル型、四方シ−ル型、封筒貼りシ−ル型、合掌貼りシ−ル型(ピロ−シ−ル型)、ひだ付シ−ル型、平底シ−ル型、角底シ−ル型、ガゼット型、その他等のヒ−トシ−ル形態によりヒ−トシ−ルして、本発明に係る種々の形態からなる軟包装用袋からなる袋状容器本体を製造することができる。
その他、例えば、自立性包装用袋(スタンディングパウチ)等も可能である。
上記において、ヒ−トシ−ルの方法としては、例えば、バ−シ−ル、回転ロ−ルシ−ル、ベルトシ−ル、インパルスシ−ル、高周波シ−ル、超音波シ−ル等の公知の方法で行うことができる。
而して、上記の本発明に係るインクカ−トリッジ包装体は、強度等を有して耐久性に優れ、かつ、耐熱性、防湿性、ヒ−トシ−ル性、耐ピンホ−ル性、耐突き刺し性、透明性等にも優れ、更に、酸素ガス、水蒸気等の透過を阻止するバリア性に優れ、その内容物の充填包装適性、保存適性等を有し、更にまた、使用後において包装用袋は、焼却廃棄処理する際に有害物質等を発生することなく、廃棄処理適性、環境適性等に極めて優れていると
いう利点を有するものである。
次に本発明について実施例を挙げて更に具体的に本発明を説明する。
(蒸着条件)
反応ガス混合比;へキサメチルジシロキサン:酸素ガス:ヘリウム=1.2:5.0:2.5(単位:Slm)
到達圧力;5.0×10-5mbar
製膜圧力;7.0×10-2mbar
ライン速度;150m/min
パワー;35kw
次に、上記で厚さ200Åの酸化珪素の蒸着膜を形成した直後に、その酸化珪素の蒸着膜の面に、グロー放電プラズマ発生装置を使用し、パワー9kw、酸素ガス(O2):アルゴンガス(Ar)=7.0:2.5(単位:Slm)からなる混合ガスを使用し、混合ガス圧6.0×10-2mbar、処理速度420m/minで酸素/アルゴン混合ガスプラズマ処理を行って、酸化珪素の蒸着膜面の表面張力を54dyne/cm以上向上させてたプラズマ処理面を形成した。
(2).他方、下記の表1に示す組成に従って、組成a.エチレン−ビニルアルコール共重合体(EVOH、エチレン共重合比率29%)をイソプロピルアルコールおよびイオン交換水の混合溶媒にて溶解したEVOH溶液に、予め調製した組成b.のエチルシリケート40(コルコート社製)、イソプロピルアルコール、アセチルアセトンアルミニウム、イオン交換水からなる加水分解液を加えて攪拌、更に、予め調製した組成c.のポリビニルアルコール系樹脂水溶液、シランカップリング剤(エポキシシリカSH6040)、酢酸、イソプロピルアルコール及びイオン交換水からなる混合液を加えて攪拌し、無色透明のガスバリア性組成物を得た。
(表1)
組成a:EVOH(エチレン共重合率29%) 0.610(wt%)
イソプロピルアルコール 3.294
H2O 2.196
組成b:エチルシリケート40(コルコート社製) 11.460
イソプロピルアルコール 17.662
アルミニウムアセチルアセトン 0.020
H2O 13.752
組成c:ポリビニルアルコール系樹脂 1.520
シランカップリング剤 0.050
イソプロピルアルコール 13.844
H2O 35.462
酢酸 0.130
合 計 100.000(wt%)
次に、上記の(1)で形成したプラズマ処理面の上に、上記で製造したガスバリア性組成物を使用し、これをグラビアロールコート法によりコーティングして、次いで、100℃で30秒間、加熱処理して、厚さ0.4g/m2(乾操状態)のガスバリア性塗布膜を形成して、本発明にかかるガスバリア性積層フィルムを製造した。
(3).次に、上記の(2)で製造したガスバリア性積層フィルムのガスバリア性塗布膜の面に、通常のグラビアインキ組成物を使用し、グラビア印刷方式により、文字、図形、記号、絵柄、その他等からなる所定の印刷模様を印刷して印刷模様層を形成した。
次に、上記で形成した印刷模様層を含む全面に、2液硬化型のポリウレタン系ラミネート用接着剤を使用し、これを、グラビアロールコート法により、膜厚1.5g/m2(乾燥状態)になるようにコ−ティングしてラミネ−ト用接着剤層を形成した。
次いで、上記で形成したラミネ−ト用接着剤層面に、厚さ25μmの二軸延伸ナイロン6フィルムを重ね合わせてドライラミネ−ト積層した。
更に、上記でドライラミネ−ト積層した二軸延伸ナイロン6フィルムのコロナ処理面に、2液硬化型のポリウレタン系ラミネ−ト用接着剤を使用し、これを、グラビアロールコート法により、膜厚1.5g/m2(乾燥状態)になるようにコ−ティングしてラミネート用接着剤層を形成した。
次いで、上記で形成したラミネート用接着剤層面に、厚さ50μmの直鎖状低密度ポリエチレンフィルム(密度0.912g/cm3、滑剤及びアンチブロック剤添加)を重ね合わせてドライラミネ−ト積層して、本発明に係る積層材を製造した。
(4).次に、上記で製造した本発明に係る積層材の2枚を用意し、その直鎖状低密度ポリエチレンフィルムの面を対向して重ね合わせ、しかる後、その外周周辺の端部を三方ヒートシールしてシール部を形成すると共に上方に開口部を有する三方シール型の軟包装用袋を製造した。
上記で製造した三方シール型の軟包装用袋内に、1色のカラーインクを内部に貯留するインクカートリッジを充填し、次いで、上記の軟包装用袋内を、チャンバー式真空包装機で0.1MPaの圧力条件で脱気しながら減圧状態にして真空包装しながら、上記の軟包装用袋の開口部をヒートシールし、上方のシール部を形成して、本発明に係るインクカートリッジ包装体を製造した。
上記で製造したインクカートリッジ包装体は、包装用袋を構成する積層材が、インクカートリッジの外表面の形状に追従して、しわ等の発生が認められず、その外表面に極めて美麗に密着し、また、積層材が、特に、酸素ガス、水蒸気等の透過を阻止するバリア性に優れ、更に、透明性等を有し、インクカートリッジ内に貯留するインクの変色、変質、乾燥等を防止し、インクの品質保全性等に優れているものであり、また、使用後において包装用袋は、焼却廃棄処理する際に有害物質等を発生することなく、廃棄処理適性、環境適性等に極めて優れているという利点を有するものであった。
(蒸着条件)
反応ガス混合比;ヘキサメチルジシロキサン:酸素ガス:ヘリウム=1:11:10(単位:Slm)
真空チヤンバー内の真空度;5.2×10-6mbar
蒸着チヤンバー内の真空度;5.1×10-2mbar
冷却・電極ドラム供給電力;30kw
フィルムの搬送速度;100m/min
蒸着面;コロナ処理面
次に、上記で厚さ200Åの酸化珪素の蒸着膜を形成した直後に、その酸化珪素の蒸着膜面に、上記の実施例1と同様にして、プラズマ処理を行って、酸化珪素の蒸着膜面の表面張力を54dyne/cm以上向上させてたプラズマ処理面を形成した。
(2).他方、下記の表2に示す組成に従って、調製した組成a.のポリビニルアルコール系樹脂水溶液、酢酸、イソプロピルアルコール及びイオン交換水からなる混合液に、予め調製した組成b.のエチルシリケート40(コルコート社製)、イソプロピルアルコー、アセチルアセトンアルミニウム、イオン交換水からなる加水分解液を加えて攪拌し、無色透明のガスバリア性組成物を得た。
(表2)
組成a:ポリビニルアルコール系樹脂 1.235(wt%)
イソプロピルアルコール 20.139
H2O 43.866
酢酸 0.104
組成b:エチルシリケート40(コルコート社製) 9.259
イソプロピルアルコール 8.888
アルミニウムアセチルアセトン 0.018
H2O 16.493
合 計 100.000(wt%)
次に、上記の(1)で形成したプラズマ処理面の上に、上記で製造したガスバリア性組成物を使用し、これをグラビアロールコート法によりコーティングして、次いで、100℃で30秒間、加熱処理して、厚さ0.4g/m2(乾操状態)のガスバリア性塗布膜を形成して、本発明に係るガスバリア性積層フィルムを製造した。
(3).次に、厚さ20μmの二軸延伸ポリプロピレンフィルムのコロナ処理面に、通常のグラビアインキ組成物を使用し、グラビア印刷方式により、文字、図形、記号、絵柄、その他等からなる所定の印刷模様を印刷して印刷模様層を形成した。
次に、上記で形成した印刷模様層を含む全面に、2液硬化型のポリウレタン系ラミネート用接着剤を使用し、これを、グラビアロールコート法により、膜厚1.5g/m2(乾燥状態)になるようにコーティングしてラミネート用接着剤層を形成した。
次いで、上記で形成したラミネート用接着剤層面に、上記の(2)で製造した本発明に係るガスバリア性積層フィルムのガスバリア性塗布膜の面を対向させて、二軸延伸ポリプロピレンフィルムとガスバリア性積層フィルムとをドライラミネ−ト積層した。
更に、上記でドライラミネート積層したガスバリア性積層フィルムの二軸延伸ナイロン6フィルムのコロナ処理面に、2液硬化型のポリウレタン系ラミネート用接着剤を使用し、これを、グラビアロールコート法により、膜厚1.5g/m2(乾燥状態)になるようにコーティングしてラミネート用接着剤層を形成した。
次いで、上記で形成したラミネート用接着剤層面に、厚さ50μmのシングルサイト触媒を使用して重合したエチレン−α・オレフィン共重合体フィルム(密度0.902g/m3、滑剤及びアンチブロック剤添加)を重ね合わせてドライラミネ−ト積層して、本発明に係る積層材を製造した。
(4).次に、上記で製造した本発明に係る積層材の2枚を用意し、そのシングルサイト触媒を使用して重合したエチレン−α・オレフィン共重合体フィルムの面を対向して重ね合わせ、しかる後、その外周周辺の端部を三方ヒートシールしてシール部を形成すると共に上方に開口部を有する三方シール型の軟包装用袋を製造した。
上記で製造した三方シール型の軟包装用袋内に、1色のカラーインクを内部に貯留するインクカートリッジを充填し、次いで、上記の軟包装用袋内を、チャンバー式真空包装機で0.1MPaの圧力条件で脱気しながら減圧状態にして真空包装し、次いで、上記の軟包装用袋の開口部をヒートシールし、上方のシール部を形成して、本発明に係るインクカートリッジ包装体を製造した。
上記で製造したインクカートリッジ包装体は、包装用袋を構成する積層材が、インクカートリッジの外表面の形状に追従して、しわ等の発生が認められず、その外表面に極めて美麗に密着し、また、積層材が、特に、酸素ガス、水蒸気等の透過を阻止するバリア性に優れ、更に、透明性等を有し、インクカ−トリッジ内に貯留するインクの変色、変質、乾燥等を防止し、インクの品質保全性等に優れているものであり、また、使用後において包装用袋は、焼却廃棄処理する際に有害物質等を発生することなく、廃棄処理適性、環境適性等に極めて優れているという利点を有するものであった。
(蒸着条件)
反応ガス混合比;ヘキサメチルジシロキサン:酸素ガス:ヘリウム=1:11:10(単位:Slm)
真空チヤンバー内の真空度;5.2×10-6mbar
蒸着チヤンバー内の真空度;5.1×10-2mbar
冷却・電極ドラム供給電力;30kw
フィルムの搬送速度;100m/min
蒸着面;コロナ処理面
次に、上記で厚さ200Åの酸化珪素の蒸着膜を形成した直後に、その酸化珪素の蒸着膜面に、上記の実施例1と同様にして、プラズマ処理を行って、酸化珪素の蒸着膜面の表面張力を54dyne/cm以上向上させてたプラズマ処理面を形成した。
(2).他方、下記の表3に示す組成に従って、調製した組成b.のポリビニルアルコール系樹脂、N、N−ジメチルベンジルアミン32重量%エタノ−ルル溶液及びイオン交換水からなる混合液に、予め調製した組成a.のエチルシリケート(テトラエトキシシラン)、エタノール、2N塩酸、イオン交換水及びシランカップリング剤(エポキシシリカSH6040)からなる加水分解液を加えて攪拌し、無色透明のガスバリア性組成物を得た。
(表3)
組成a:エチルシリケート 34.074(wt%)
エタノ−ル 34.074
2N 塩酸 2.535
H2O 2.058
シランカップリング剤 3.407
組成b:ポリビニルアルコール系樹脂 2.372
H2O 21.344
N、N−ジメチルベンジルアミンエタノール溶液 0.136
(32wt%)
合 計 100.000(wt%)
次に、上記の(1)で形成したプラズマ処理面の上に、上記で製造したガスバリア性組成物を使用し、これをグラビアロールコート法によりコーティングして、次いで、100℃で30秒間、加熱処理して、厚さ0.4g/m2(乾操状態)のガスバリア性塗布膜を形成して、本発明にかかるガスバリア性積層フィルムを製造した。
(3).次に、上記の(2)で製造したガスバリア性積層フィルムのガスバリア性塗布膜の面に、通常のグラビアインキ組成物を使用し、グラビア印刷方式により、文字、図形、記号、絵柄、その他等からなる所定の印刷模様を印刷して印刷模様層を形成した。
次に、上記で形成した印刷模様層を含む全面に、2液硬化型のポリウレタン系ラミネート用接着剤を使用し、これを、グラビアロールコート法により、膜厚1.5g/m2(乾燥状態)になるようにコ−ティングしてラミネート用接着剤層を形成した。
次いで、上記で形成したラミネート用接着剤層面に、厚さ70μmの直鎖状低密度ポリエチレンフィルム(密度0.905g/m3、滑剤及びアンチブロック剤添加)を重ね合わせてドライラミネート積層して、本発明に係る積層材を製造した。
(4).次に、上記で製造した本発明に係る積層材の2枚を用意し、そのシングルサイト触媒を使用して重合したエチレン−α・オレフィン共重合体フィルムの面を対向して重ね合わせ、しかる後、その外周周辺の端部を三方ヒートシールしてシール部を形成すると共に上方に開口部を有する三方シール型の軟包装用袋を製造した。
上記で製造した三方シール型の軟包装用袋内に、1色のカラーインクを内部に貯留するインクカートリッジを充填し、次いで、上記の軟包装用袋内を、チャンバー式真空包装機で0.1MPaの圧力条件で脱気しながら減圧状態にして真空包装し、次いで、上記の軟包装用袋の開口部をヒートシールし、上方のシール部を形成して、本発明に係るインクカートリッジ包装体を製造した。
上記で製造したインクカートリッジ包装体は、包装用袋を構成する積層材が、インクカートリッジの外表面の形状に追従して、しわ等の発生が認められず、その外表面に極めて美麗に密着し、また、積層材が、特に、酸素ガス、水蒸気等の透過を阻止するバリア性に優れ、更に、透明性等を有し、インクカートリッジ内に貯留するインクの変色、変質、乾燥等を防止し、インクの品質保全性等に優れているものであり、また、使用後において包装用袋は、焼却廃棄処理する際に有害物質等を発生することなく、廃棄処理適性、環境適性等に極めて優れているという利点を有するものであった。
上記の実施例1において、厚さ50μmの直鎖状低密度ポリエチレンフィルムの代わりに、厚さ50μmの低密度ポリエチレンフィルム(密度、0.924、滑剤及びアンチブロック剤添加)を使用し、その他は、上記の実施例1と同様にして、実施例1と同様に、積層材、軟包装用袋、インクカ−トリッジ包装体を製造した。
上記の実施例1において、2液硬化型のポリウレタン系ラミネ−ト用接着剤を使用し、これを、グラビアロールコート法により、膜厚4.5g/m2(乾燥状態)になるようにコーティングしてラミネート用接着剤層を形成し、そのラミネ−ト用接着剤層面に、厚さ50μmの直鎖状低密度ポリエチレンフィルム(密度0.912g/cm3、滑剤及びアンチブロック剤添加)を重ね合わせてドライラミネ−ト積層して、積層材を製造した。
その他は、上記の実施例1と同様にして、実施例1と同様に、積層材、軟包装用袋、インクカ−トリッジ包装体を製造した。
(1).まず、基材フィルムとして、厚さ12μmの二軸延伸ポリエチレンテレフタレ−トフィルムを使用し、これをプラズマ化学気相成長装置の送り出しロールに装着し、下記に示す条件で、上記の二軸延伸ポリエステルフィルムのコロナ処理面に、厚さ200Åの酸化珪素の蒸着膜を形成した。
(蒸着条件)
反応ガス混合比;へキサメチルジシロキサン:酸素ガス:ヘリウム=1.2:5.0:2.5(単位:Slm)
到達圧力;5.0×10-5mbar
製膜圧力;7.0×10-2mbar
ライン速度;150m/min
パワー;35kw
次に、上記で厚さ200Åの酸化珪素の蒸着膜を形成した直後に、その酸化珪素の蒸着膜の面に、グロー放電プラズマ発生装置を使用し、パワー9kw、酸素ガス(O2):アルゴンガス(Ar)=7.0:2.5(単位:Slm)からなる混合ガスを使用し、混合ガス圧6.0×10-2mbar、処理速度420m/minで酸素/アルゴン混合ガスプラズマ処理を行って、酸化珪素の蒸着膜面の表面張力を54dyne/cm以上向上させてたプラズマ処理面を形成した。
(2).次に、上記の(1)で形成したプラズマ処理面の面に、通常のグラビアインキ組成物を使用し、グラビア印刷方式により、文字、図形、記号、絵柄、その他等からなる所定の印刷模様を印刷して印刷模様層を形成した。
次に、上記で形成した印刷模様層を含む全面に、2液硬化型のポリウレタン系ラミネート用接着剤を使用し、これを、グラビアロールコート法により、膜厚1.5g/m2(乾燥状態)になるようにコーティングしてラミネート用接着剤層を形成した。
次いで、上記で形成したラミネート用接着剤層面に、厚さ25μmの二軸延伸ナイロン6フィルムを重ね合わせてドライラミネート積層した。
更に、上記でドライラミネ−ト積層した二軸延伸ナイロン6フィルムのコロナ処理面に、2液硬化型のポリウレタン系ラミネート用接着剤を使用し、これを、グラビアロールコート法により、膜厚1.5g/m2(乾燥状態)になるようにコーティングしてラミネート用接着剤層を形成した。
次いで、上記で形成したラミネート用接着剤層面に、厚さ50μmの直鎖状低密度ポリエチレンフィルム(密度0.912g/cm3、滑剤及びアンチブロック剤添加)を重ね合わせてドライラミネ−ト積層して、積層材を製造した。
以下、上記の実施例1と同様にして、実施例1と同様に、積層材、軟包装用袋、インクカ−トリッジ包装体を製造した。
上記の実施例1〜3、比較例1〜3で製造した積層材について、酸素透過度、水蒸気透過度、および、腰を測定した。
また、上記の実施例1〜3、比較例1〜3で製造したインクカ−トリッジ包装体について、脱気シ−ル後の外観を評価した。
(1).酸素透過度の測定
これは、積層材について、温度23℃、湿度90%RHの条件で、米国、モコン(MOCON)社製の測定機〔機種名、オクストラン(OX−TRAN2/20)〕にて測定した。
(2).水蒸気透過度の測定
これは、積層材について、温度40℃、湿度90%RHの条件で、米国、モコン(MOCON)社製の測定機〔機種名、パ−マトラン(PERMATRAN3/31)〕にて測定した。
(3).腰の測定
これは、積層材について、温度23℃、湿度50%RHの条件で、東洋精機製作所製の測定機(製品名、ル−プスティックネステスタ)で測定した。
(4).インクカ−トリッジ包装体の脱気シ−ル後の外観評価
これは、脱気シールしたインクカートリッジ包装体についてしわの発生の程度やインクの滲み出しの有無を確認して測定した。
上記の測定結果について、下記の表4に示す。
また、上記の表4において、○は、良を意味し、△は、中を意味し、×は、不良を意味するものである。
更に、インクカ−トリッジ包装体の外観も美麗であり、その商品価値を減ずるものではなかった。
A1 積層材
A2 積層材
B 袋状容器本体
C インクカ−トリッジ包装体
1 基材フィルム
2 無機酸化物の蒸着膜
3 ガスバリア性塗布膜
4 直鎖状低密度ポリエチレン
4a シングルサイト触媒を使用して重合したエチレン−α・オレフィン共重合体
5 ヒ−トシ−ル性樹脂層
6 表面基材フィルム
7 中間基材
11 シ−ル部
12 開口部
13 軟包装用袋
14 内容物
15 上方シ−ル部
Claims (2)
- インクカートリッジを軟包装用袋に入れて真空包装したインクカートリッジ包装体において、上記の軟包装用袋が、基材フィルムの一方の面に、無機酸化物の蒸着膜を設け、更に、該無機酸化物の蒸着膜の面に、一般式R1 nM(OR2)m(ただし、式中、R1、R2は、炭素数1〜8の有機基を表し、Mは、金属原子を表し、nは、0以上の整数を表し、mは、1以上の整数を表し、n+mは、Mの原子価を表す。)で表される少なくとも1種以上のアルコキシドと、ポリビニルアルコール系樹脂及び/又はエチレン・ビニルアルコール共重合体とを含有し、更に、ゾルゲル法によって重縮合して得られるガスバリア性組成物によるガスバリア性塗布膜を設け、更に、ガスバリア性塗布膜の面に、密度が0.900〜0.915g/cm3の範囲である直鎖状低密度ポリエチレンフィルムまたはシングルサイト触媒を使用して重合したエチレンと共重合されるα−オレフィンの混合比率が1〜50重量%、密度が0.890〜0.915g/cm 3 であるエチレン−α・オレフィン共重合体フィルムからなるヒートシール性樹脂層を膜厚0.1〜2g/m 2 (乾燥状態)のドライラミネート用接着剤層を介し積層した積層材を使用し、これを製袋してなる軟包装用袋からなることを特徴とするインクカートリッジ包装体。
- 前記基材フィルムが、2軸延伸ポリエステル系樹脂フィルム、2軸延伸ポリアミド系樹脂フィルム、または、2軸延伸ポリオレフイン系樹脂フィルムからなることを特徴とする上記の請求項1に記載するインクカートリッジ包装体。
Priority Applications (1)
| Application Number | Priority Date | Filing Date | Title |
|---|---|---|---|
| JP2006291911A JP5259072B2 (ja) | 2006-10-27 | 2006-10-27 | インクカ−トリッジ包装体 |
Applications Claiming Priority (1)
| Application Number | Priority Date | Filing Date | Title |
|---|---|---|---|
| JP2006291911A JP5259072B2 (ja) | 2006-10-27 | 2006-10-27 | インクカ−トリッジ包装体 |
Publications (2)
| Publication Number | Publication Date |
|---|---|
| JP2008105727A JP2008105727A (ja) | 2008-05-08 |
| JP5259072B2 true JP5259072B2 (ja) | 2013-08-07 |
Family
ID=39439417
Family Applications (1)
| Application Number | Title | Priority Date | Filing Date |
|---|---|---|---|
| JP2006291911A Expired - Fee Related JP5259072B2 (ja) | 2006-10-27 | 2006-10-27 | インクカ−トリッジ包装体 |
Country Status (1)
| Country | Link |
|---|---|
| JP (1) | JP5259072B2 (ja) |
Cited By (1)
| Publication number | Priority date | Publication date | Assignee | Title |
|---|---|---|---|---|
| WO2017114338A1 (zh) * | 2015-12-30 | 2017-07-06 | 桑春龙 | 用于氧化聚合型油墨的可回收包装物 |
Families Citing this family (5)
| Publication number | Priority date | Publication date | Assignee | Title |
|---|---|---|---|---|
| JP2010036457A (ja) * | 2008-08-05 | 2010-02-18 | Seiko Epson Corp | 液体容器、包装された液体容器及びその製造方法 |
| JP5749678B2 (ja) * | 2012-03-29 | 2015-07-15 | 富士フイルム株式会社 | ガスバリアフィルム |
| JP6195054B2 (ja) * | 2013-03-25 | 2017-09-13 | セイコーエプソン株式会社 | 液体収容体 |
| JP6403967B2 (ja) * | 2014-03-26 | 2018-10-10 | 小林製薬株式会社 | 揮散体ユニット及びその製造方法 |
| JP7273475B2 (ja) * | 2018-09-26 | 2023-05-15 | 東レフィルム加工株式会社 | 積層体およびそれを用いた封止部材 |
Family Cites Families (5)
| Publication number | Priority date | Publication date | Assignee | Title |
|---|---|---|---|---|
| JPH1149246A (ja) * | 1997-07-31 | 1999-02-23 | Toppan Printing Co Ltd | プリンター用インキカートリッヂ包装体 |
| JP3934895B2 (ja) * | 2001-09-17 | 2007-06-20 | 大日本印刷株式会社 | バリアフィルムとこれを用いた積層材、包装用容器、画像表示媒体およびバリアフィルムの製造方法 |
| JP2004188902A (ja) * | 2002-12-13 | 2004-07-08 | Toppan Printing Co Ltd | ガスバリア性積層包装材料 |
| JP4357933B2 (ja) * | 2003-11-13 | 2009-11-04 | 大日本印刷株式会社 | 液体小袋包装体 |
| JP2006056007A (ja) * | 2004-08-17 | 2006-03-02 | Dainippon Printing Co Ltd | ガスバリア性積層フィルムおよびそれを使用した積層材 |
-
2006
- 2006-10-27 JP JP2006291911A patent/JP5259072B2/ja not_active Expired - Fee Related
Cited By (1)
| Publication number | Priority date | Publication date | Assignee | Title |
|---|---|---|---|---|
| WO2017114338A1 (zh) * | 2015-12-30 | 2017-07-06 | 桑春龙 | 用于氧化聚合型油墨的可回收包装物 |
Also Published As
| Publication number | Publication date |
|---|---|
| JP2008105727A (ja) | 2008-05-08 |
Similar Documents
| Publication | Publication Date | Title |
|---|---|---|
| JP4852822B2 (ja) | バリア性フィルムおよびそれを使用した積層材 | |
| WO2006019083A1 (ja) | ガスバリア性積層フィルムおよびその製造方法 | |
| JP2005088415A (ja) | 積層フィルムおよびその製造法 | |
| JP4972951B2 (ja) | ガスバリア性積層フィルムおよびその製造方法 | |
| JP2006082319A (ja) | バリア性フィルムおよびそれを使用した積層材 | |
| JP5051494B2 (ja) | ガスバリア性積層フィルムおよびその製造方法 | |
| JP2009248456A (ja) | チューブ用積層体およびラミネートチューブ | |
| JP4844808B2 (ja) | バリア性フィルムおよびそれを使用した積層材 | |
| JP4629362B2 (ja) | バリア性フィルムおよびそれを使用した積層材 | |
| JP2008073993A (ja) | ガスバリア性積層フィルム | |
| JP4076036B2 (ja) | バリア性フィルムおよびそれを使用した積層材 | |
| JP2007075368A (ja) | 輸液バッグ用外装袋 | |
| JP2006056036A (ja) | ガスバリア性積層フィルムおよびそれを使用した積層材 | |
| JP2009248452A (ja) | インクカートリッジ包装用積層体 | |
| JP2008264998A (ja) | ガスバリア性積層フィルム、その製造方法、それを使用した包装用積層材、および包装袋 | |
| JP5259072B2 (ja) | インクカ−トリッジ包装体 | |
| JP4857522B2 (ja) | バリア性フィルムおよびそれを使用した積層材 | |
| JP4357933B2 (ja) | 液体小袋包装体 | |
| JP4967633B2 (ja) | 包装用積層フィルムおよび包装用積層フィルムの製造方法 | |
| JP2008143103A (ja) | ガスバリア性積層フィルム | |
| JP2008179104A (ja) | バリア性フィルム | |
| JP2008073986A (ja) | ガスバリア性積層フィルム | |
| JP2005145491A (ja) | ラミネ−トチュ−ブ容器 | |
| JP4998064B2 (ja) | ガスバリア性積層フィルム、その製造方法、それを使用した包装用積層材、および包装袋 | |
| JP4304052B2 (ja) | 液体小袋包装体 |
Legal Events
| Date | Code | Title | Description |
|---|---|---|---|
| A621 | Written request for application examination |
Free format text: JAPANESE INTERMEDIATE CODE: A621 Effective date: 20090831 |
|
| A977 | Report on retrieval |
Free format text: JAPANESE INTERMEDIATE CODE: A971007 Effective date: 20111117 |
|
| A131 | Notification of reasons for refusal |
Free format text: JAPANESE INTERMEDIATE CODE: A131 Effective date: 20111122 |
|
| A521 | Written amendment |
Free format text: JAPANESE INTERMEDIATE CODE: A523 Effective date: 20120123 |
|
| A02 | Decision of refusal |
Free format text: JAPANESE INTERMEDIATE CODE: A02 Effective date: 20120221 |
|
| A521 | Written amendment |
Free format text: JAPANESE INTERMEDIATE CODE: A523 Effective date: 20120521 |
|
| A911 | Transfer to examiner for re-examination before appeal (zenchi) |
Free format text: JAPANESE INTERMEDIATE CODE: A911 Effective date: 20120528 |
|
| A912 | Re-examination (zenchi) completed and case transferred to appeal board |
Free format text: JAPANESE INTERMEDIATE CODE: A912 Effective date: 20120615 |
|
| A521 | Written amendment |
Free format text: JAPANESE INTERMEDIATE CODE: A523 Effective date: 20130218 |
|
| A521 | Written amendment |
Free format text: JAPANESE INTERMEDIATE CODE: A523 Effective date: 20130401 |
|
| A61 | First payment of annual fees (during grant procedure) |
Free format text: JAPANESE INTERMEDIATE CODE: A61 Effective date: 20130424 |
|
| FPAY | Renewal fee payment (event date is renewal date of database) |
Free format text: PAYMENT UNTIL: 20160502 Year of fee payment: 3 |
|
| R150 | Certificate of patent or registration of utility model |
Ref document number: 5259072 Country of ref document: JP Free format text: JAPANESE INTERMEDIATE CODE: R150 Free format text: JAPANESE INTERMEDIATE CODE: R150 |
|
| LAPS | Cancellation because of no payment of annual fees |
