JP4998064B2 - ガスバリア性積層フィルム、その製造方法、それを使用した包装用積層材、および包装袋 - Google Patents

ガスバリア性積層フィルム、その製造方法、それを使用した包装用積層材、および包装袋 Download PDF

Info

Publication number
JP4998064B2
JP4998064B2 JP2007106713A JP2007106713A JP4998064B2 JP 4998064 B2 JP4998064 B2 JP 4998064B2 JP 2007106713 A JP2007106713 A JP 2007106713A JP 2007106713 A JP2007106713 A JP 2007106713A JP 4998064 B2 JP4998064 B2 JP 4998064B2
Authority
JP
Japan
Prior art keywords
film
gas barrier
gas
tin
alkoxide
Prior art date
Legal status (The legal status is an assumption and is not a legal conclusion. Google has not performed a legal analysis and makes no representation as to the accuracy of the status listed.)
Expired - Fee Related
Application number
JP2007106713A
Other languages
English (en)
Other versions
JP2008265000A (ja
Inventor
あゆみ 柴田
Current Assignee (The listed assignees may be inaccurate. Google has not performed a legal analysis and makes no representation or warranty as to the accuracy of the list.)
Dai Nippon Printing Co Ltd
Original Assignee
Dai Nippon Printing Co Ltd
Priority date (The priority date is an assumption and is not a legal conclusion. Google has not performed a legal analysis and makes no representation as to the accuracy of the date listed.)
Filing date
Publication date
Application filed by Dai Nippon Printing Co Ltd filed Critical Dai Nippon Printing Co Ltd
Priority to JP2007106713A priority Critical patent/JP4998064B2/ja
Publication of JP2008265000A publication Critical patent/JP2008265000A/ja
Application granted granted Critical
Publication of JP4998064B2 publication Critical patent/JP4998064B2/ja
Expired - Fee Related legal-status Critical Current
Anticipated expiration legal-status Critical

Links

Images

Landscapes

  • Bag Frames (AREA)
  • Wrappers (AREA)
  • Coating Of Shaped Articles Made Of Macromolecular Substances (AREA)
  • Laminated Bodies (AREA)

Description

本発明は、ガスバリア性を有する積層フィルム、その製造方法、それを使用した包装用積層材、および包装袋に関する。より詳細には、酸素ガスバリア性、水蒸気バリア性等のガスバリア性に優れ、しかも温湿度依存性の小さいガスバリア性積層フィルム、その製造方法、それを使用した包装用積層材、および包装袋に関するものである。
飲食品、化成品、雑貨品等を充填包装する包装材料には、充填包装する内容物の変質、変色等を防止するため、酸素ガスや水蒸気等の透過を遮断、阻止する高いガスバリア性を備えると共に、流通過程等において、高温多湿下という過酷な条件に置かれることもあることから、このような条件下においても高いガスバリア性を維持するよう温湿度依存性が十分に小さいことが要求される。
従来、ガスバリア性を備えた包装材料として、基材にアルミニウム箔層を設けた包装材料が使用されている。このような包装材料は、安定したガスバリア性が得られるものの、バリア層としてのアルミニウム箔層を備えているため焼却適性が劣り、使用後の廃棄処分が容易ではないという問題があった。また、アルミニウム箔層を備えているため、透明性を有する包装材料は得られないという問題もあった。
このような問題を解決するため、ポリ塩化ビニリデン(PVDC)やエチレン−ビニルアルコール共重合体(EVOH)からなるバリア層を備えた包装材料が開発されている。
しかしながら、PVDCは塩素を含有するため、使用後に焼却することにより塩素ガスが発生し、環境衛生上好ましくないという問題がある。一方、EVOHは、酸素ガスバリア性が高く、かつ、香味成分の吸着性が低いという長所があるものの、高湿度雰囲気下では酸素ガスバリア性が低下してしまうという問題がある。また、EVOHは、水蒸気バリア性を有していないという問題がある。このため、バリア層であるEVOHを水蒸気から遮断するために包装材料を複雑な積層構造とする必要があり、製造コストが増大するといった問題も生じ得る。
近年、高いガスバリア性と保香性を安定して発揮し、かつ、透明性を有する包装材料として、珪素酸化物や酸化アルミニウム等の無機酸化薄膜からなるバリア層を備えたフィルムが開発されている。この無機酸化物の薄膜は、無機物を真空蒸着により基材上に付着させることにより形成され、廃棄時における環境上の問題もないものである。
しかしながら、このようにして形成された珪素酸化物や酸化アルミニウム等の薄膜からなるバリア層は、無機酸化物粒子が基材上に蒸着したものであるため、無機酸化物粒子間に結晶粒界という隙間が存在し、薄膜のガスバリア性が十分ではない。そのため、膜厚を厚く(500〜1000Å)する必要がある。しかしながら、膜厚を厚くすると、延展性に劣りクラックが生じやすいという問題があった。
また、無機酸化物の酸素元素割合が小さいほどガスバリア性は向上するが、反面、透明性が低下するといった問題や、基材と無機酸化物粒子との密着性が弱いこと等の種々の問題があった。
このようなガスバリア性に関する問題点を解決するために、今までに様々な手段が提案されている。例えば特許文献1には、「高分子樹脂組成物からなる基材上に、無機化合物からなる蒸着層を第1層とし、水溶性高分子と、(a)1種以上のアルコキシドまたは/およびその加水分解物または(b)塩化すずの少なくともいずれか1つを含む水溶液、或いは水/アルコール混合溶液を主剤とするコーティング剤を塗布し、加熱乾燥してなるガスバリア性被膜を第2層として積層してなることを特徴とするガスバリア性積層フィルム」が記載されている。
特許文献1は、蒸着層の上にガスバリア性被膜を積層することを開示しているものの、コーティング剤中に含有するすず化合物(塩化すず)の含有量や、ガスバリア性被膜の比重に関しては何ら規定していない。したがって、特許文献1記載のガスバリア性積層フィルムは、高温多湿下においてガスバリア性が低下してしまい、保存対象となる内容物の種類や保存条件によっては、内容物が変質してしまうという問題点がある。
特許第2790054号公報
以上のとおり、ガスバリア性積層フィルムには、通常環境下で高いガスバリア性を有すると共に、高温多湿下等の過酷条件においても高いガスバリア性を維持することが求められているが、このようなガスバリア性積層フィルムは得られていない。
これに対し本発明は、従来のものと比較して、温湿度依存性が小さく、その結果、高温多湿下等の過酷条件においても高いガスバリア性を維持するガスバリア性積層フィルム、およびその製造方法を提供するものである。
本発明者らは、上記課題を解決するため鋭意研究した結果、基材に無機酸化物を蒸着し、その上にガスバリア性塗布膜を形成したガスバリア性積層フィルムにおいて、ガスバリア性塗布膜の比重が特定のものとなるように、前記ガスバリア性塗布膜にすず化合物を含有することにより、従来のものと比較して、温湿度依存性の小さいガスバリア性積層フィルムが得られることを見出し本発明を完成させた。
すなわち本発明は、以下の(a)〜(f)に示す発明を包含する。
(a)基材上に化学気相成長法により無機酸化物の蒸着膜を設け、その蒸着膜上にガスバリア性塗布膜を設けてなるガスバリア性積層フィルムであって、
前記ガスバリア性塗布膜の比重が、1.8〜2.8(g/cm3)の範囲にあることを特徴とする前記ガスバリア性積層フィルム。
(b)前記ガスバリア性塗布膜が、一般式R1 nM(OR2m(式中、Mは金属原子を表し、R1、R2は炭素数1〜8の有機基を表し、nは0以上の整数であり、mは1以上の整数であり、n+mはMの原子価を表す)で表される少なくとも1種以上のアルコキシド、ポリビニルアルコール、および/またはエチレン・ビニルアルコール、ならびにすず化合物を含んでなる組成物を、ゾルゲル法によって重縮合して得るアルコキシドの加水分解物またはアルコキシドの加水分解縮合物によるガスバリア性塗布膜であることを特徴とする(a)のガスバリア性積層フィルム。
(c)前記組成物中におけるすず化合物の含有量が、前記アルコキシド中の金属酸化物または有機金属酸化物100重量部に対して0.1重量部〜22.5重量部の範囲にあることを特徴とする(b)のガスバリア性積層フィルム。
(d)(a)〜(c)のいずれかに記載のガスバリア性積層フィルムの製造方法であって、
基材上に化学気相成長法により無機酸化物の蒸着膜を形成し、さらに
前記蒸着膜上に、1.8〜2.8(g/cm3)の比重を有するガスバリア性塗布膜
を形成することからなる前記ガスバリア性積層フィルムの製造方法。
(e)前記ガスバリア性塗布膜が、一般式R1 nM(OR2m(式中、Mは金属原子を表し、R1、R2は炭素数1〜8の有機基を表し、nは0以上の整数であり、mは1以上の整数であり、n+mはMの原子価を表す)で表される少なくとも1種以上のアルコキシド、ポリビニルアルコール、および/またはエチレン・ビニルアルコール、ならびにすず化合物を含んでなる組成物を、ゾルゲル法によって重縮合して得るアルコキシドの加水分解物またはアルコキシドの加水分解縮合物によるガスバリア性塗布膜であることを特徴とする(d)のガスバリア性積層フィルムの製造方法。
(f)前記組成物中におけるすず化合物の含有量が、前記アルコキシド中の金属酸化物または有機金属酸化物100重量部に対して0.1重量部〜22.5重量部の範囲にあることを特徴とする(e)のガスバリア性積層フィルムの製造方法。
本発明のガスバリア性積層フィルムにおけるガスバリア性塗布膜は、アルコキシド同士、またはアルコキシドとポリビニルアルコール等の水溶性高分子との重縮合反応により形成される三次元網状複合ポリマー層からなるものであるが、前記ガスバリア性塗布膜の比重が特定のものとなるようにすず化合物を含有することにより、より緻密で、かつ強固な三次元網状複合ポリマー層が形成される。そしてその結果、高いガスバリア性を有すると共に、従来のものと比較して温湿度依存性が小さい、すなわち高温多湿下等の過酷条件においても安定したガスバリア性を維持するガスバリア性フィルムを得ることができる。
また本発明のガスバリア性フィルムを使用した包装用積層材や包装袋は、高いガスバリア性を有すると共に、高温多湿下等の過酷条件においても高いガスバリア性が維持することから、内容物の保存適性に優れるものである。
また本発明においては、化学気相成長法により基材上に無機酸化物の蒸着膜を形成する、すなわち無機酸化物は、基材上に、プラズマ化した原料ガスを酸素ガスで酸化しながら酸化物の形で薄膜状に形成されるので、形成される無機酸化物の蒸着膜は、緻密で、隙間の少ない、可撓性に富む連続層となる。したがって、酸化珪素等の無機酸化物の蒸着膜のガスバリア性は、従来の真空蒸着法等によって形成される酸化珪素等の無機酸化物の蒸着膜と比較してはるかに高いものとなり、薄い膜厚で十分なガスバリア性を得ることができる。
さらに本発明においては、化学気相成長法により基材上に無機酸化物の蒸着膜を形成することから、無機酸化物の含有量を、蒸着膜の表面から深さ方向に向かって減少させることが可能であり、これにより、耐衝撃性等を高められ、他方、基材との界面では無機酸化物の含有量が少ないため、基材と無機酸化物の蒸着膜との密接着性が強固なものとなり、より一層温湿度依存性が小さいガスバリア性積層フィルムを得ることができる。
本発明のガスバリア性積層フィルムについて、図面を参照しながら詳細に説明する。
図1は、本発明のガスバリア性積層フィルムの層構成の一例を示す概略的断面図である。
図1に示すように本発明のガスバリア性積層フィルムは、基材フィルム1の一方の面に、無機酸化物の蒸着膜2を設け、さらに、その無機酸化物の蒸着膜2の上に、ガスバリア性塗布膜3を設けた構成を基本構造とするものである。
本発明のガスバリア性積層フィルムの他の態様としては、図2に示すように、基材フィルム1の一方の面に、プライマーコート層1aを設け、プライマーコート層上に無機酸化物の蒸着膜2を設け、さらに、該無機酸化物の蒸着膜2上にガスバリア性塗布膜3を設けた構成としてもよい。
上記の例は、本発明のガスバリア性積層フィルムの一例であり、本発明はこれに限定されるものではない。例えば、図示しないが、基材フィルムと無機酸化物の蒸着膜との密着性を向上させるために、無機酸化物の蒸着前に基材表面にコロナ放電処理、オゾン処理、低温プラズマ処理、またはグロー放電処理等の処理を施してもよいし、基材表面にプライマー、すなわちポリエステル、アクリル、ウレタン樹脂、およびイソシアネート硬化剤からなる塗工液を塗布してもよい。さらに上記の本発明の積層フィルムにおいて、無機酸化物の蒸着膜としては、同種ないし異種からなる2層以上の無機酸化物の蒸着膜を重層して構成してもよい。
本発明のガスバリア性積層フィルムにおいて、上記ガスバリア性塗布膜は、アルコキシド、水溶性高分子の他、前記ガスバリア性塗布膜の比重が特定範囲となるような割合で、すず化合物を含有する。ここで前記ガスバリア性塗布膜の比重は、1.8〜2.8(g/cm3)でなければならず、好ましくは1.85〜2.5(g/cm3)であることが望ましい。ガスバリア性塗布膜の比重が前記上限を超える、すなわち、すず化合物を過度に含有すると、アルコキシド同士、またはアルコキシドと水溶性高分子との重縮合反応が過度に進行し、大きな凝集体のみが形成され、緻密な膜を形成できないことから、温湿度依存性が大きくなり、高温多湿下で水蒸気バリア性等のガスバリア性が低下する。また、ガスバリア性塗布膜の比重が前記下限未満、すなわち、すず化合物の含有量が過少であると、アルコキシド同士、またはアルコキシドと水溶性高分子との重縮合反応が十分に進行せず、緻密な膜を形成できないことから、温湿度依存性が大きくなり、高温多湿下で水蒸気バリア性等のガスバリア性が低下する。
なお本発明にいうガスバリア性塗布膜の比重とは、ガスバリア性組成物を120℃、3時間の条件で加熱処理し、水分を完全に除去し固化させた後、約20℃(室温下)で、例えばTOYOSEIKI社製の測定機〔機種名、デンシメータ(DENSIMETER)〕等の通常の比重測定装置で測定したときの値をいう。
次に、本発明のガスバリア性積層フィルムを構成する材料、その製造法等について説明する。
基材
本発明のガスバリア性積層フィルムを構成する基材としては、化学的ないし物理的強度に優れ、無機酸化物の蒸着膜を形成する条件等に耐え、それら無機酸化物の蒸着膜等の特性を損なうことなく良好に保持し得ることができる樹脂のフィルムないしシートを使用することができる。
このような樹脂のフィルムないしシートとしては、具体的には、例えば、ポリエチレン系樹脂あるいはポリプロピレン系樹脂等のポリオレフイン系樹脂、環状ポリオレフイン系樹脂、ポリスチレン系樹脂、アクリロニトリル−スチレン共重合体(AS樹脂)、アクリロニトリル−ブタジエン−スチレン共重合体(ABS樹脂)、ポリ(メタ)アクリル系樹脂、ポリカーボネート系樹脂、ポリエチレンテレフタレート、ポリエチレンナフタレート等のポリエステル系樹脂、各種のナイロン等のポリアミド系樹脂、ポリウレタン系樹脂、アセタール系樹脂、セルロース系樹脂等の各種の樹脂のフィルムないしシートを使用することができる。
本発明においては、上記の樹脂のフィルムないしシートの中でも、特に、ポリエステル系樹脂、ポリオレフイン系樹脂、または、ポリアミド系樹脂のフィルムないしシートを使用することが好ましい。
本発明において、上記の各種の樹脂フィルムないしシートとしては、例えば、上記の各種の樹脂1種ないしそれ以上を使用し、押し出し法、キャスト成形法、Tダイ法、切削法、インフレーション法等の製膜化法を用いて、上記の各種の樹脂を単独で製膜化する方法、あるいは、2種以上の各種の樹脂を使用して多層共押し出し製膜化する方法、さらには、2種以上の樹脂を使用し、製膜化する前に混合して製膜化する方法等により、各種の樹脂のフィルムないしシートを製造し、さらに、所望により、例えば、テンター方式、あるいは、チューブラマ方式等を利用して1軸ないし2軸方向に延伸した各種の樹脂のフィルムないしシートを使用することができる。
本発明において、各種の樹脂フィルムないしシートの膜厚としては、6〜200μm、より好ましくは9〜100μmが好ましい。
なお、上記の各種の樹脂1種ないしそれ以上を使用し、その製膜化に際して、例えば、フィルムの加工性、耐熱性、耐候性、機械的性質、寸法安定性、抗酸化性、滑り性、離形性、難燃性、抗カビ性、電気的特性、強度等を改良、改質する目的で、種々のプラスチック配合剤や添加剤等を添加することができ、その添加量としては、極く微量から数十%まで、その目的に応じて、任意に添加することができる。
上記において、一般的な添加剤としては、例えば、滑剤、架橋剤、酸化防止剤、紫外線吸収剤、光安定剤、充填剤、補強剤、帯電防止剤、顔料等を使用することができ、さらには、改質用樹脂等も使用することができる。
また、本発明において、各種の樹脂フィルムないしシートの表面は、無機酸化物の蒸着膜との密接着性等を向上させるために、必要に応じて、予め、所望の表面処理層を設けることができるものである。
本発明において、上記の表面処理層としては、例えば、コロナ放電処理、オゾン処理、酸素ガス若しくは窒素ガス等を用いた低温プラズマ処理、グロー放電処理、化学薬品等を用いて処理する酸化処理等の前処理を任意に施し、例えば、コロナ放電処理層、オゾン処理層、プラズマ処理層、酸化処理層等を形成して設けることができる。
上記の表面前処理は、各種の樹脂のフィルムないしシートと無機酸化物の蒸着膜との密接着性等を改善するための方法として実施するものであるが、上記の密接着性を改善する方法として、例えば、各種の樹脂のフィルムないしシートの表面に、予め、プライマーコート剤層、アンダーコート剤層、アンカーコート剤層、接着剤層、あるいは、蒸着アンカーコート剤層等を任意に形成して、表面処理層とすることもできる。
上記の前処理のコート剤層としては、例えば、ポリエステル系樹脂、ポリアミド系樹脂、ポリウレタン系樹脂、エポキシ系樹脂、フェノール系樹脂、(メタ)アクリル系樹脂、ポリ酢酸ビニル系樹脂、ポリエチレンあるいはポリプロピレン等のポリオレフイン系樹脂あるいはその共重合体ないし変性樹脂、セルロース系樹脂等をビヒクルの主成分とする樹脂組成物を使用することができる。特に上記プライマーコート剤として、ポリエステル、アクリル、ウレタン樹脂、およびイソシアネート硬化剤からなる塗工剤を使用することが好ましい。
蒸着膜
次に、本発明のガスバリア性積層フィルムを構成する蒸着膜について説明する。本発明において蒸着膜は、化学気相成長法により形成する。
化学気相成長法として、具体的には、例えば、プラズマ化学気相成長法、熱化学気相成長法、光化学気相成長法等の化学気相成長法(Chemical Vapor Deposition法、CVD法)を用いて無機酸化物の蒸着膜を形成することができる。
さらに具体的には上記の樹脂のフィルムないしシートの一方の面に、有機珪素化合物等の蒸着用モノマーガスを原料とし、キヤリヤーガスとして、アルゴンガス、ヘリウムガス等の不活性ガスを使用し、さらに酸素を供給ガスとして使用し、かつ低温プラズマ発生装置等を利用する低温プラズマ化学気相成長法を用いて酸化珪素等の無機酸化物の蒸着膜を形成することができる。
上記において、低温プラズマ発生装置としては、例えば、高周波プラズマ、パルス波プラズマ、マイクロ波プラズマ等の発生装置を使用することができるが、本発明においては、高活性の安定したプラズマを得るために、高周波プラズマ方式による発生装置を使用することが望ましい。
具体的に、上記のプラズマ化学気相成長法による無機酸化物の蒸着膜の形成法についてその一例を例示して説明する。図3は、上記のプラズマ化学気相成長法による無機酸化物の蒸着膜の形成法についてその槻要を示す低温プラズマ化学気相成長装置の概略的構成図である。
図3に示すように、本発明においては、プラズマ化学気相成長装置21の真空チヤンバー22内に配置された巻き出しロール23から樹脂のフィルムないしシート(基材フィルム)1を繰り出し、さらに、その樹脂フィルムないしシートを、補助ロール24を介して所定の速度で冷却・電極ドラム25周面上に搬送する。
本発明においては、ガス供給装置26、27および原料揮発供給装置28から酸素ガス、不活性ガス、有機珪素化合物等の蒸着用モノマーガス等を供給し、それらからなる蒸着用混合ガス組成物を調整しなから原料供給ノズル29を通して真空チヤンバー22内に該蒸着用混合ガス組成物を導入し、そして、上記の冷却・電極ドラム25周面上に搬送された基材フィルム1の上に、グロー放電プラズマによってプラズマを発生させ、これを照射して、酸化珪素等の無機酸化物の蒸着膜を形成し、製膜化する。
本発明においては、その際に、冷却・電極ドラム25は、チヤンバー外に配置されている電源31から所定の電力が印加されており、また、冷却・電極ドラム25の近傍には、マグネット32を配置してプラズマの発生が促進されており、次いで、上記で酸化珪素等の無機酸化物の蒸着膜を形成した基材フィルム1をガイドロール33を介して巻き取りロール34に巻き取って、無機酸化物の蒸着膜を有する樹脂フィルムないしシートを製造することができる。
上記の例示は、その一例を例示するものであり、これによって本発明は限定されるものではない。
本発明においては、無機酸化物の蒸着膜としては、無機酸化物の蒸着膜の1層だけではなく、2層あるいはそれ以上を積層した多層膜の状態でもよく、また、使用する材料も1種または2種以上の混合物で使用し、また、異種の材質で混合した無機酸化物の蒸着膜を構成することもできる。
上記において、真空チヤンバー内を真空ポンプにより減圧し、真空度1.33×10-1
〜1.33×10-8mbar、好ましくは、真空度1.33×10-3〜1.33×10-7mbarに調整することが好ましい。
また、原料揮発供給装置においては、原料である有機珪素化合物を揮発させ、ガス供給装置から供給される酸素ガス、不活性ガス等と混合させ、この混合ガスを、原料供給ノズルを介して真空チヤンバー内に導入する。
この場合、混合ガス中の有機珪素化合物の含有量は1〜40%、酸素ガスの含有量は10〜70%、不活性ガスの含有量は10〜60%の範囲とすることができ、例えば、有機珪素化合物と酸素ガスと不活性ガスとの混合比を1:6:5〜1:17:14とすることができる。
一方、冷却・電極ドラムには、電極から所定の電圧が印加されているため、真空チヤンバー内の原料供給ノズルの開口部と冷却・電極ドラムとの近傍でグロー放電プラズマが生成され、このグロー放電プラズマは、混合ガス中の1つ以上のガス成分から導出されるものであり、この状態において、樹脂のフィルムないしシートを一定速度で搬送させ、グロー放電プラズマによって、冷却・電極ドラム周面上の樹脂のフィルムないしシートの上に、酸化珪素等の無機酸化物の蒸着膜を形成することができる。
なお、このときの真空チヤンバー内の真空度は、1.33×10-1〜1.33×10-4mbar、好ましくは、真空度1.33×10-1〜1.33×10-2mbarに調整することが好ましく、また、樹脂フィルムの搬送速度は10〜300m/分、好ましくは50〜150m/分に調整することが好ましい。
また、上記のプラズマ化学気相成長装置において、酸化珪素等の無機酸化物の蒸着膜の形成は、樹脂のフィルムないしシートの上に、プラズマ化した原料ガスを酸素ガスで酸化しながらSiOxの形で薄膜状に形成されるので、形成される酸化珪素等の無機酸化物の蒸着膜は、緻密で、隙間の少ない、可撓性に富む連続層となる。したがって、酸化珪素等の無機酸化物の蒸着膜のガスバリア性は、従来の真空蒸着法等によって形成される酸化珪素等の無機酸化物の蒸着膜と比較してはるかに高いものとなり、薄い膜厚で十分なガスバリア性を得ることができる。
また、本発明においては、SiOxプラズマにより樹脂のフィルムないしシートの表面が、清浄化され、樹脂のフィルムないしシートの表面に、極性基やフリーラジカル等が発生するので、形成される酸化珪素等の無機酸化物の蒸着膜と樹脂のフィルムないしシートとの密接着性が高いものとなるという利点を有するものである。
さらに、上記のように酸化珪素等の無機酸化物の連続膜の形成時の真空度は、1.33×10-1〜1.33×10-4mbar、好ましくは1.33×10-1〜1.33×10-2mbarに調整することから、従来の真空蒸着による蒸着膜形成時の真空度(1.33×10-4〜1.33×10-5mbar)に比べて低真空度であることから、樹脂のフィルムないしシートを原反交換時の真空状態設定時間を短くすることができ、真空度が安定し、製膜プロセスが安定するものである。
本発明において、有機珪素化合物等の蒸着モノマーガスを使用して形成される酸化珪素の蒸着膜は、有機珪素化合物等の蒸着モノマーガスと酸素ガス等とが化学反応し、その反応生成物が、樹脂のフィルムないしシートの一方の面に密接着し、緻密な、柔軟性等に富む薄膜を形成するものであり、通常、一般式:SiOx(式中、xは0〜2の数を表す)で表される酸化珪素を主体とする連続状の薄膜である。
上記の酸化珪素の蒸着膜としては、透明性、バリア性等の点から、一般式:SiOx(式中、xは1.3〜1.9の数を表す。)で表される酸化珪素の蒸着膜を主体とする薄膜であることが好ましい。
上記において、xの値は、蒸着モノマーガスと酸素ガスのモル比、プラズマのエネルギー等により変化するが、一般的に、xの値が小さくなればガス透過度は小さくなるが、膜自身が黄色性を帯び、透明性が悪くなる。
また、上記の酸化珪素の蒸着膜は、酸化珪素を主体とし、これに、さらに、炭素、水素、珪素または酸素の1種類、または、その2種類以上の元素からなる化合物を少なくとも1種類を化学結合等により含有することが好ましい。例えば、C−H結合を有する化合物、Si−H結合を有する化合物、または、炭素単位がグラファイト状、ダイヤモンド状、フラーレン状等になっている場合、さらに、原料の有機珪素化合物やそれらの誘導体を化学結合等によって含有する場合があるものである。
具体例を挙げると、CH3部位を持つハイドロカーボン、SiH3シリル、SiH2シリレン等のハイドロシリカ、SiH2OHシラノール等の水酸基誘導体等を挙げることができる。
上記以外でも、蒸着過程の条件等を変化させることにより、酸化珪素の蒸着膜中に含有される化合物の種類、量等を変化させることができる。
上記の化合物が、酸化珪素の蒸着膜中に含有する含有量としては、0.1〜50%位、好ましくは5〜20%位が好ましい。
上記において、含有率が、0.1%未満であると、酸化珪素の蒸着膜の耐衝撃性、延展性、柔軟性等が不十分となり、曲げ等により、擦り傷、クラック等が発生し易く、高いバリア性を安定して維持することが困難になり、また、50%を越えると、ガスバリア性が低下して好ましくないものである。
さらに、本発明においては、酸化珪素の蒸着膜において、上記の化合物の含有量が、酸化珪素の蒸着膜の表面から深さ方向に向かって減少させることが好ましく、これにより、酸化珪素の蒸着膜の表面においては、上記の化合物等により耐衝撃性等を高められ、他方、基材との界面では上記化合物の含有量が少ないため、基材と酸化珪素の蒸着膜との密接着性が強固なものとなる。
本発明において、上記の酸化珪素の蒸着膜について、例えば、X線光電子分光装置(Xray Photoelectron Spectroscopy、XPS)、二次イオン質量分析装置(Secondary Ion Mass Spectroscopy、SIMS)等の表面分析装置を用い、深さ方向にイオンエッチングする等して分析する方法を利用して、酸化珪素の蒸着膜の元素分析を行うことより、上記のような物性を確認することができる。
また、本発明において、上記の酸化珪素の蒸着膜の膜厚としては、膜厚50Å〜4000Åであることが望ましく、具体的には、その膜厚としては、100〜1000Åが望ましい。1000Å、さらには、4000Åより厚くなると、その膜にクラック等が発生し易くなるので好ましくなく、また、100Å、さらには、50Å未満であると、ガスバリア性の効果を期待できない。
蒸着膜の膜厚は、例えば、株式会社理学製の蛍光X線分析装置(機種名、RIX2000型)を用いて、ファンダメンタルパラメーター法で測定することができる。
また、上記の酸化珪素の蒸着膜の膜厚を変更する手段としては、蒸着膜の体積速度を大きくすること、すなわち、モノマーガスと酸素ガス量を多くする方法や蒸著する速度を遅くする方法等によって行うことができる。
次に、本発明において、酸化珪素等の無機酸化物の蒸着膜を形成する有機珪素化合物等の蒸着用モノマーガスとしては、例えば、1,1,3,3−テトラメチルジシロキサン、ヘキサメチルジシロキサン、ビニルトリメチルシラン、メチルトリメチルシラン、ヘキサメチルジシラン、メチルシラン、ジメチルシラン、トリメチルシラン、ジエチルシラン、プロピルシラン、フェニルシラン、ビニルトリエトキシシラン、ビニルトリメトキシシラン、テトラメトキシシラン、テトラエトキシシラン、フェニルトリメトキシシラン、メチルトリエトキシシラン、オクタメチルシクロテトラシロキサン等を使用することができる。
本発明において、上記のような有機珪素化合物の中でも、1,1,3,3−テトラメチルジシロキサン、または、ヘキサメチルジシロキサンを原料として使用することが、その取り扱い性、形成された連続膜の特性等から、特に、好ましい原料である。
また、上記において、不活性ガスとしては、例えば、アルゴンガス、ヘリウムガス等を使用することができる。
本発明においては、化学気相成長法により蒸着膜を形成する場合において、2層以上の珪素酸化物層を形成することが好ましい。このように、2層以上の蒸着層を設けることにより、より一層ガスバリア性を向上させることができる。
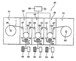
次に、2層以上の蒸着膜を、プラズマ化学気相成長法により製造する方法について説明する。
図4に示すように、プラズマ化学気相成長装置40は、基本的に、基材フィルム供給室41、第1の製膜室42、第2の製膜室43、第3の製膜室44、および、基材フィルムの上に珪素酸化物層を製膜化し重層したフィルムを巻き取る巻取り室45から構成される。
まず、巻き出しロール46に巻き取られている基材フィルム1を、第1の製膜室42に繰り出し、さらにこの基材フィルム1を、補助ロール47を介して所定の速度で冷却・電極ドラム48周面上に搬送する。
次に、原料揮発供給装置49およびガス供給装置50から有機珪素化合物の1種以上からなる製膜用モノマーガス、酸素ガス、不活性ガス等を供給し、それらからなる製膜用混合ガス組成物を調整しながら、原料供給ノズル51を通して第1の製膜室42内に製膜用混合ガス組成物を導入し、そして、冷却・電極ドラム48周面上に搬送された基材フィルム1の上に、グロー放電プラズマ52によってプラズマを発生させ、これを照射して、珪素酸化物等からなる第1層の珪素酸化物層を製膜化する。
次に、上記の第1の製膜室42で第1層の珪素酸化物層を製膜化した基材フィルムを、補助ロール53、54を介して第2の製膜室43に繰り出し、次いで、上記と同様に、第1層の珪素酸化物層を製膜化した基材フィルムを所定の速度で冷却・電極ドラム55周面上に搬送する。
その後、上記と同様に、原料揮発供給装置56およびガス供給装置57から有機珪素化合物の1種以上からなる製膜用モノマーガス、酸素ガス、不活性ガス等を供給し、それらからなる製膜用混合ガス組成物を調整しながら、原料供給ノズル58を通して第2の製膜室43内に上記の製膜用混合ガス組成物を導入し、そして、上記の冷却・電極ドラム55周面上に搬送された第1層の珪素酸化物層を製膜化した基材フィルムの第1層の珪素酸化物層の上に、グロー放電プラズマ59によってプラズマを発生させ、これを照射して、珪素酸化物等からなる第2層の珪素酸化物層を製膜化する。
さらに、上記と同様にして、第2の製膜室で第1層と第2層の珪素酸化物層を製膜化した基材フィルムを、補助ロール60、61を介して第3の製膜室44に繰り出し、次いで、上記と同様に、第1層と第2層の珪素酸化物層を製膜化した基材フィルムを所定の速度で冷却・電極ドラム62周面上に搬送する。
その後、上記と同様にして、原料揮発供給装置63およびガス供給装置64から有機珪素化合物の1種以上からなる製膜用モノマーガス、酸素ガス、不活性ガス等を供給し、それらからなる製膜用混合ガス組成物を調整しながら、原料供給ノズル65を通して、第3の製膜室44内に上記の製膜用混合ガス組成物を導入し、そして、冷却・電極ドラム周面上に搬送された第1層と第2層の珪素酸化物層を製膜化した基材フィルムの第2層の珪素酸化物層の上に、グロー放電プラズマ66によってプラズマを発生させ、これを照射して、珪素酸化物等からなる第3層の珪素酸化物層を製膜化する。
次いで、上記で第1層、第2層、および第3層の珪素酸化物層を製膜化し、それらを重層した基材フィルムを、補助ロール67を介して、巻き取り室45に繰り出し、次いで、巻取りロール68に巻き取って、第1層、第2層、および第3層の珪素酸化物層が重層した蒸着層を有するガスバリア性積層フィルムを製造することができる。
なお、本発明においては、各第1、第2、および第3の製膜室(42、43、44)に配設されている各冷却・電極ドラム(48、55、62)は、第1、第2、および第3の各製膜室の外に配置されている電源69から所定の電力が印加されており、また、各冷却・電極ドラム(48、55、62)の近傍には、マグネット(70、71、72)を配置してプラズマの発生が促進されるものである。
なお、図示しないが、上記のプラズマ化学気相成長装置には、真空ポンプ等が設けられ、各製膜室等は真空に保持されるように調整されている。
上記の例示は、本発明の一例であり、これによって本発明が限定されるものではない。上記の例においては、第1層、第2層、および、第3層の珪素酸化物層を重層したガスバリア性積層フィルムが製造されるが、珪素酸化物層は、製膜室を任意に調整して、例えば2層または4層以上のように珪素酸化物層の層を任意に製膜化し、それらを重層した構造に製膜化することもできる。本発明は、上記の第1層、第2層、および、第3層の珪素酸化物層が重層したガスバリア性積層フィルムを製造する例だけに限定されるものではない。
上記において、各製膜室は、真空ポンプ等により減圧し、真空度1.33×10-1〜1.33×10-8mbar、好ましくは、真空度1.33×10-3〜1.33×10-7mbarに調整することが好ましい。
一方、各冷却・電極ドラムには、電源から所定の電圧が印加されているため、各製膜室内の原料供給ノズルの開口部と冷却・電極ドラムとの近傍でグロー放電プラズマが生成され、このグロー放電プラズマは、製膜用混合ガス組成物中の1つ以上のガス成分から導出されるものであり、この状態において、基材フィルムを一定速度で搬送させ、グロー放電プラズマによって、冷却・電極ドラム周面上の基材フィルムの上に、珪素酸化物等からなる珪素酸化物層を製膜化することができる。
なお、このときの各製膜室内の真空度は、1.33×10-1〜1.33×10-4mbar、好ましくは、真空度1.33×10-1〜1.33×10-2mbarに調整する。また、基材フィルムの搬送速度は10〜300m/分、好ましくは50〜150m/分に調整する。
なお、本発明において、各製膜室内の真空度は、各室において同じであっても異なっていてもよい。
また、原料揮発供給装置においては、原料である有機珪素化合物の1種以上からなる製膜用モノマーガスを揮発させ、ガス供給装置から供給される酸素ガス、不活性ガス等と混合させ、それらからなる製膜用混合ガス組成物を調整しながら、その製膜用混合ガス組成物を、原料供給ノズルを介して各製膜室内に導入されることが好ましい。
この場合、製膜用混合ガス組成物の各ガス成分のガス混合比としては、有機珪素化合物の1種からなる製膜用モノマーガスの含有量は1〜40%、酸素ガスの含有量は0〜70%、不活性ガスの含有量は1〜60%の範囲として調整することが好ましい。
本発明においては、各製膜室毎に、各製膜室に導入される製膜用混合ガス組成物の各ガス成分のガス混合比を変えて調製した製膜用混合ガス組成物を使用し、各製膜室毎に製膜化して、珪素酸化物等からなる珪素酸化物層を重層することが好ましい。
すなわち、本発明においては、少なくとも、有機珪素化合物の1種以上からなる製膜用モノマーガス、酸素ガス、および、不活性ガスを含有する製膜用混合ガス組成物の各ガスを含有する製膜用混合ガス組成物を調製し、その製膜用混合ガス組成物を各製膜室毎に変えて使用し、それらの各製膜用混合ガス組成物を使用した2層以上のプラズマ化学気相成長法による珪素酸化物層を製膜化することができるものである。
本発明においては、製膜用混合ガス組成物の各ガス成分の混合比としては、例えば、第1の製膜用混合ガス組成物として、製膜用モノマーガス:酸素ガス:不活性ガス=1:0〜5:1(単位:slm、スタンダードリッターミニットの略である)のガス組成比からなる製膜用混合ガス組成物、また、別の第2の製膜用混合ガス組成物としては、製膜用モノマーガス:酸素ガス:不活性ガス=1:6〜15:1(単位:Slm)のガス組成比からなる製膜用混合ガス組成物等を使用することができる。
本発明においては、上記のような製膜用混合ガス組成物を任意に組み合わせて、第1、第2、あるいは、第3の製膜室に、製膜用混合ガス組成物の各ガス成分の混合比を変えた製膜用混合ガス組成物を使用して製膜化することができる。
ガスバリア性塗布膜
次に、本発明のガスバリア性積層フィルムを構成するガスバリア性塗布膜について説明する。
本発明のガスバリア性塗布膜は、アルコキシドと水溶性高分子を含有するものであり、具体的には、ガスバリア性塗布膜として、一般式:R1 nM(OR2mで表される少なくとも1種以上のアルコキシド、ポリビニルアルコールおよび/またはエチレン・ビニルアルコールを含有する組成物をゾルゲル法によって重縮合して得られるガスバリア性組成物によるガスバリア性塗布膜を使用する。
本発明に好適に使用できるアルコキシドは、一般式:R1 nM(OR2m(式中、Mは金属原子、R1、R2が炭素数1〜8の有機基、nは0以上、mは1以上の整数、n+mはMの原子価を表す)で表されるものであり、このアルコキシドの部分加水分解物またはアルコキシドの加水分解縮合物の少なくとも1種以上を使用することができる。なお上記のアルコキシドの部分加水分解物としては、アルコキシ基のすべてが加水分解されている必要はなく、1個以上が加水分解されているもの、およびその混合物であってもよい。また、加水分解の縮合物は、部分加水分解アルコキシドの2量体以上のものを表しており、2〜6量体が通常使用される。
上記一般式:R1 nM(OR2mにおける、Mで表される金属原子としては、ケイ素、ジルコニウム、チタン、アルミニウム等が使用でき、好ましくはケイ素である。これらのアルコキシドの用い方としては、単独または2種以上の異なる金属原子のアルコキシドを同一溶液中に混合して使うこともできる。
有機基R1の具体例としては、例えば、メチル基、エチル基、n−プロピル基、i−プロピル基、n−ブチル基、i−ブチル基、sec−ブチル基、t−ブチル基、n−ヘキシル基、n−オクチル基、等のアルキル基等が挙げられる。また、有機基R2の具体例としては、例えば、メチル基、エチル基、n−プロピル基、i−プロピル基、n−ブチル基、sec−ブチル基等が挙げられる。同一分子中にこれらアルキル基は同一でであっても、異なってもよい。
アルコキシドの中でも、MがSiであるアルコキシシランが好ましく、アルコキシシランとしてはSi(ORa4で表され、Rは低級アルキル基である。Raとしてはメチル基、エチル基、N−プロピル基、N・ブチル基等が用いられ、アルコキシシランの具体例としては、テトラメトキシシランSi(OCH34、テトラエトキシシランSi(OC254、テトラプロポキシシランSi(OC374、テトラブトキシシランSi(OC494等が挙げられる。
また、アルキルアルコキシシランRb mSi(ORc4-mを用いることができる(mは1、2、3の整数)。Rb、Rcとしては、メチル基、エチル基等が用いられ、アルキルアルコキシシランの具体例としては、メチルトリメトキシシランCH3Si(OCH33、メチルトリエトキシシランCH3Si(OC253、ジメチルジメトキシシラン(CH32Si(OCH32ジメチルジエトキシシラン(CH32Si(OC252等があげられる。これらのアルコキシシラン、アルキルアルコキシシランは、単独または2種以上を混合しても用いることができる。
さらに、アルコキシシランの縮重合物も使用することができ、具体的にはポリテトラメトキシシラン、ポリテトラエメトキシシラン等が挙げられる。
上記アルコキシドの中で、MがZrであるジルコニウムアルコキシドの具体例としては、テトラメトキシジルコニウムZr(O−CH34、テトラエトキシジルコニウムZr(O−C254、テトラiプロポキシジルコニウムZr(O−Iso−C374、テトラnブトキシジルコニウムZr(O−C494等を好適に使用できる。
上記アルコキシドの中で、MがTiであるチタニウムアルコキシドの具体例としては、テトラメトキシチタニウムTi(O−CH34、テトラエトキシチタニウムTi(O−C254、テトライソプロポキシチタニウムTi(O−Iso−C374、テトラnブトキシチタニウムTi(O−C494等を好適に使用できる。
上記アルコキシドの中で、MがAlであるアルミニウムアルコキシドの具体例としては、テトラメトキシアルミニウムAl(O−CH34、テトラエトキシアルミニウムAl(O−C254テトライソプロポキシアルミニウムAl(O−Iso−C374、テトラnブトキシアルミニウムAl(O−C494等を好適に使用できる。
2種以上のこれらのアルコキシドを混合して用いてもよい。特にアルキキシシランとジルコニウムアルコキシドを混合して用いることによって、得られる積層フィルムの靭性、耐熱性等が向上し、廷伸時のフィルムの耐レトルト性等の低下が回避できる。ジルコニウムアルコキシドの使用量は、アルコキシシラン100重量部に対して10重量部以下の範囲であり、好ましくは約5重量部である。10重量部を上回ると、形成される複合ポリマーがゲル化しやすくなり、複合ポリマーの脆性が大きくなり、基材フィルムを被覆した際に複合ポリマー層が剥離しやすくなる。
また特にアルコキシシランとチタニウムアルコキシドを混合して用いることによって、得られる皮膜の熱伝導率が低くなり、基材の耐熱性が著しく向上する。チタニウムアルコキシドの使用量は、アルコキシシラン100重量部に対して5重量部以下の範囲であり、好ましくは約3重量部である。5重量部を超えると形成される複合ポリマーの脆性が大きくなり、基材フィルムを被覆した際に複合ポリマーが剥離しやすくなる。
本発明においては、上記アルコキシドと共にシランカップリング剤が併用されることが好ましい。シランカップリング剤としては、既知の有機反応性基含有オルガノアルコキシシランが用いられ得る。特に、エポキシ基を有するオルガノアルコキシシランが好適である。それには、例えばγ−グリシドキシプロピルトリメトキシシラン、γ−グリシドキシプロピルメチルジエトキシシラン、およびβ−(3,4−エポキシシクロヘキシル)エチルトリメトキシシランがある。このようなシランカップリング剤は2種以上を混合して用いてもよい。このようなシランカップリング剤の使用量は、上記アルコキシシラン100重量部に対して0.1〜20重量部の範囲内である。20重量部以上を使用すると形成される複合ポリマーの剛性と脆性とが大きくなり、複合ポリマー層の絶縁性および加工性が低下する。
本発明では、ガスバリア性塗布膜形成用の組成物(塗工液)に、水溶性高分子として、ポリビニルアルコールおよび/またはエチレン・ビニルアルコールコポリマーが含まれる。ポリビニルアルコールおよびエチレン・ビニルアルコールコポリマーを組み合わせることによって、得られる塗布膜のガスバリア性、耐水性、耐候性等が著しく向上する。さらに、ポリビニルアルコールとエチレン・ビニルアルコールコポリマーとを組み合わせた積層フィルムは、ガスバリア性、耐水性、および耐候性に加えて耐熱水性および熱水処理後のガスバリア性に優れる。
ポリビニルアルコールおよびエチレン・ビニルアルコールコポリマーの組み合わせを採用する場合のそれぞれの含有重量比は、10:0.05〜10:6であることが好ましく、約10:1がさらに好ましい。
上記ポリビニルアルコールおよび/またはエチレン・ビニルアルコールコポリマーの合計の含有量は、上記アルコキシドの合計量100重量部に対して5〜600重量部の範囲であり、好ましくは約50〜400重量部である。600重量部を上回ると複合ポリマーの脆性が大きくなり、得られる積層フィルムの耐水性および耐候性も低下する。5重量部を下回るとガスバリア性が低下する。
本発明では、ガスバリア性塗布膜形成用の組成物(塗工液)に、すず化合物が含有される。すず化合物は、アルコキシド同士、またはアルコキシドと上記水溶性高分子との重縮合を促進する役割を有する。すず化合物としては、特に限定されず、有機または無機のすず化合物を好適に使用することができ、このようなすず化合物として、ジラウリン酸ジブチルすず、ジオクチルジラウリル酸すず、ビス(2−エチルヘキサノエート)すず、ビス(ネオデカノエート)すず、ジ−n−ブチルビス(2−エチルヘキシルマレート)すず、ジ−n−ブチルビス(2,4−ペンタンジオネート)すず、塩化第1すず、塩化第2すず、無水塩化第1すず、無水塩化第2すず、ジ−n−ブチルブトキシクロロすず、ジ−n−メチルヒドロキシ(オレエート)すず、およびジメチルジネオデカノエートすずの1種または2種以上を使用することができる。
上記すず化合物のガスバリア性塗布膜形成用の組成物(塗工液)中の含有量は、上述したとおり、前記ガスバリア性塗布膜の比重が、1.8〜2.8(g/cm3)、好ましくは1.85〜2.5(g/cm3)となるような量である。すなわち、すず化合物は、上記アルコキシド中の金属酸化物または有機金属酸化物100重量部に対し、0.1重量部〜22.5重量部、好ましくは0.1重量部〜11.5重量%の範囲で含有される。
すず化合物の含有量が前記上限を超えると、アルコキシド同士、またはアルコキシドと水溶性高分子との重縮合反応が過度に進行し、大きな凝集体のみが形成され、緻密な膜を形成できないことから、温湿度依存性が大きくなり、高温多湿下で水蒸気バリア性等のガスバリア性が低下する。また、すず化合物の含有量が前記下限未満であると、アルコキシド同士、またはアルコキシドと水溶性高分子との重縮合反応が十分に進行せず、緻密な膜を形成できないことから、温湿度依存性が大きくなり、高温多湿下で水蒸気バリア性等のガスバリア性が低下する。
ここで、本発明にいうアルコキシド中の金属酸化物または有機金属酸化物とは、アルコキシドからアルコール分を除去した場合に残る金属酸化物または有機金属酸化物を意味する。例えば、アルコキシドが正珪酸エチルの場合、正珪酸エチルの加水分解の化学反応式は、以下のとおりであるから、正珪酸エチルからエタノールを除去した場合に残る金属酸化物とは、SiO2である。
(1) Si(OC254 + 4H2O → Si(OH)4 + 4C25OH
(2) Si(OH)4 → SiO2 + 2H2
(1)+(2) Si(OC254 + 2H2O → SiO2 + 4C25OH
そして正珪酸エチル、水、エタノールの分子量は、それぞれ208.1、18、60、46であるから、正珪酸エチル100重量部に含まれる金属酸化物、すなわちSiO2の重量部は、28.8重量部である。
したがって、アルコキシドとして正珪酸エチルを使用した場合の、金属酸化物100重量部に対するすず化合物の重量部(y)は、以下の数式により算出されるものである。
y=組成物中のすず化合物の重量部/(組成物中の正珪酸エチルの重量部×0.288)×100
本発明においては、上記の組成物(塗工液)を蒸着膜上に塗布し、その組成物をゾル−ゲル法により重縮合して塗布膜を得る。ゾル−ゲル法触媒、主として重縮合触媒としては、水に実質的に不溶であり、かつ有機溶媒に可溶な第三級アミンが用いられる。例えば、N,N−ジメチルベンジルアミン、トリプロピルアミン、トリブチルアミン、トリペンチルアミン等があり、特にN−N−ジメチルベンジルアミンが好適である。その使用量は、アルコキシド、およびシランカップリング剤の合計量100重量部当り、0.01〜1重量部、好ましくは約0.03重量部である。
本発明においては、上記の組成物は第三級アミンに代えて、またはさらに酸を含んでいてもよい。酸は、ゾル−ゲル法の触媒、主としてアルコキシドやシランカップリング剤等の加水分解のための触媒として用いられる。酸としては、硫酸、塩酸、硝酸等の鉱酸、ならびに酢酸、酒石酸等の有機酸が用いられる。酸の使用量は、アルコキシドおよびシランカップリング剤のアルコキシド分(例えばシリケート部分)の総モル量に対して、0.001〜0.05モルであり、好ましくは約0.01モルである。
本発明においては、上記ガスバリア性塗布膜形成用組成物中に、アルコキシドの合計モル量1モルに対して0.1〜100モル、好ましくは0.8〜2モルの割合の水を含んでなることが好ましい。水の量が2モルを上回ると、上記アルコキシシランと金属アルコキシドとから得られるポリマーが球状粒子となり、さらに、この球状粒子同士が3次元的に架橋し、密度の低い、多孔性のポリマーとなる。多孔性のポリマーは、基材フィルムのガスバリア性を改善することができない。水の量が0.8モルを下回ると、加水分解反応が進行しにくくなる。
また、ガスバリア性塗布膜形成用組成物は、有機溶剤を含有することが好ましい。有機溶媒としては、メチルアルコール、エチルアルコール、n−プロピルアルコール、イソプロピルアルコール、n−ブタノール等が用いられる。
ポリビニルアルコールおよび/またはエチレン・ビニルアルコールコポリマーは、上記のアルコキシドやシランカップリング剤等を含む組成物(塗工液)中で溶解した状態であることが好ましく、そのため上記有機溶媒の種類が適宜選択される。ポリビニルアルコールおよびエチレン・ビニルアルコールコポリマーの組み合わせを採用する場合には、n−ブタノールを使用することが好ましい。溶媒中に可溶化されたエチレン・ビニルアルコールコポリマーは、例えば、ソアノール(商品名)として市販されている。上記有機溶媒の使用量は、通常上記アルコキシド、シランカップリング剤、ポリビニルアルコールおよび/またはエチレン・ビニルアルコールコポリマー、酸、およびゾル−ゲル法触媒の合計量100重量部当り30〜500重量部である。
本発明のガスバリア性積層フィルムにおいて、ガスバリア性塗布膜の形成方法について以下に説明する。
まず、上記のアルコキシシラン等のアルコキシド、シランカップリング剤、ポリビニルアルコール系樹脂及び/又はエチレン・ビニルアルコール共重合体、すず化合物、ゾル−ゲル法触媒、水、有機溶媒、および、必要に応じて、金属アルコキシド等を混合してガスバリア性塗工液を調製する。ガスバリア性塗工液中では次第に重縮合反応が進行する。
次いで、基材の一方の面に設けた無機酸化物の蒸着膜の上に、常法により、上記のガスバリア性塗工液を通常の方法で塗布し、乾燥する。乾燥により、上記アルコキシド、金属アルコキシド、シランカップリング剤およびビニルアルコールポリマーの重縮合がさらに進行し、複合ポリマーの層が形成される。好ましくは上記の操作を繰り返して、複数の複合ポリマー層を積層する。
最後に、上記の塗工液を塗布した基材フィルムを20℃〜250℃で、かつ、基材フィルムの融点以下の温度、好ましくは50℃〜200℃、特に150℃〜250℃、さらに特定すると180℃〜200℃の範囲の温度で、1秒〜10分間、好ましくは1秒〜2分間、特に30秒〜90秒間加熱処理して、基材フィルムの一方の面に形成した無機酸化物の蒸着膜の上に、上記のガスバリア性組成物(塗工液)によるガスバリア性塗布膜を1層ないし2層以上形成して、ガスバリア性塗布膜を構成する。
特に本発明においては、上記加熱処理を150℃〜250℃、好ましくは180℃〜200℃の範囲の温度で行うことにより、ガスバリア性塗布膜内部において、アルコキシド加水分解物と水溶性高分子とが水素結合や化学結合により結合する架橋反応が起こること、水溶性高分子が結晶化すること、蒸着膜とガスバリア性塗布膜とが水素結合や化学結合により強固に密着すると考えられることから、ガスバリア性が一層向上する。
本発明においては、ビニルアルコールポリマーの代わりに、エチレン・ビニルアルコールコポリマーまたはエチレン・ビニルアルコールコポリマーとポリビニルアルコールとの両者を用いた組成物を使用してもよい。エチレン・ビニルアルコールコポリマーとポリビニルアルコールとの両者を用いた積層フィルムは、ボイル処理、レトルト処理等の熱水処理後のガスバリア性がさらに向上する。
ガスバリア性塗布膜を形成する他の態様として、熱水処理後のガスバリア性を向上させるため、以下のような積層フィルムを形成することが好ましい。
すなわち、予め基材フィルムの少なくとも片面に、ポリビニルアルコールを含有する組成物を塗工して第1の複合ポリマー層を形成し、次いで、その塗工面上に上記エチレン・ビニルアルコールコポリマーを含有する組成物を塗工して第2の複合ポリマー層をさらに形成する。そのことにより、得られる積層フィルムのガスバリア性が向上する。
さらに、本発明においては、ガスバリア性塗布膜を、基材フィルム上に複数層形成してもよい。ガスバリア性塗布膜を複数層設けることにより、一層ガスバリア性の向上を図ることができる。
ガスバリア性塗布膜形成用組成物を塗布する方法としては、例えば、グラビアコーター等のロールコート、スプレーコート、スピンコート、デイッピング、刷毛、バーコード、アプリケータ等の塗装手段により、1回あるいは複数回の塗装で、乾焼膜厚が0.01〜30μm、好ましくは0.1〜10μmの本発明のガスバリア性塗布膜を形成することができる。
また、必要ならば、本発明のガスバリア性組成物を塗布する際に、予め、無機酸化物の蒸着膜の上に、プライマー剤等を塗布することもできる。
また、本発明の態様においては、基材上に蒸着層とガスバリア性塗布膜を設けた後、さらに蒸着層を設け、その蒸着層上にガスバリア性塗布膜を上記と同様にして形成してもよい。このように積層数を増やすことにより、より一層ガスバリア性に優れる積層フィルムを実現できる。
本発明のガスバリア性積層フィルムは、優れたガスバリア性と柔軟性とを有するので、包装材料として有用であり、特に食品包装用フィルムとして好適に使用される。
さらに、本発明のガスバリア性積層フィルムは、熱水処理、特に高圧熱水処理(レトルト処理)後のガスバリア性にも優れている。
包装用積層材
次に、本ガスバリア性積層フィルムを用いた包装袋として、一例としてガスバリア性積層フィルムのガスバリア性塗布膜上に、印刷層、ラミネート接着剤層、ヒートシール性樹脂層を順次設けた包装材用積層材について説明する。
印刷層
印刷層としては、通常のインキビヒクルの1種ないし2種以上を主成分とし、これに、必要ならば、可塑剤、安定剤、酸化防止剤、光安定剤、紫外線吸収剤、硬化剤、架橋剤、滑剤、帯電防止剤、充填剤等の添加剤の1種ないし2種以上を任意に添加し、さらに、染料・顔料等の着色剤を添加し、溶媒、希釈剤等で充分に混練してインキ組成物を調製し、次いで、該インキ組成物を使用し、例えば、グラビア印刷、オフセット印刷、凸版印刷、スクリーン印刷、転写印刷、フレキソ印刷等の印刷方式を使用し、ガスバリア性積層フィルムのガスバリア性塗布膜上に、文字、図形、記号、模様等からなる所望の印刷模様を印刷して、印刷模様層を形成することができる。
上記において、インキビヒクルとしては、公知のもの、例えば、あまに油、きり油、大豆油、炭化水素油、ロジン、ロジンエステル、ロジン変性樹脂、シエラツク、アルキッド樹脂、フェノール系樹脂、マレイン酸樹脂、天然樹脂、炭化水素樹脂、ポリ塩化ビニル系樹脂、ポリ酢酸ビニル系樹脂、ポリスチレン系樹脂、ポリビニルプチラール樹脂、アクリルまたはメタクリル系樹脂、ポリアミド系樹脂、ポリエステル系樹脂、ポリウレタン系樹脂、エポキシ系樹脂、尿素樹脂、メラミン樹脂、アミノアルキッド系樹脂、ニトロセルロース、エチルセルロース、塩化ゴム、環化ゴム等の1種ないし2種以上を使用することができる。
ラミネート接着剤層
次に、積層材を構成するラミネート用接着剤層について説明する。ラミネート用接着剤層を構成する接着剤としては、例えば、ポリ酢酸ビニル系接着剤、アクリル酸エチル、アクリル酸ブチル、2−エチルヘキシルエステル等のホモポリマー、あるいは、これらとメタクリル酸メチル、アクリロニトリル、スチレン等との共重合体等からなるポリアクリル酸エステル系接着剤、シアノアクリレート系接着剤、エチレンと酢酸ビニル、アクリル酸エチル、アクリル酸、メタクリル酸等のモノマーとの共重合体等からなるエチレン共重合体系接着剤、セルロース系接着剤、ポリエステル系接着剤、ポリアミド系接着剤、ポリイミド系接着剤、尿素樹脂またはメラミン樹脂等からなるアミノ樹脂系接着剤、フェノール樹脂系接着剤、エポキシ系接着剤、ポリウレタン系接着剤、反応型(メタ)アクリル系接着剤、クロロプレンゴム、ニトリルゴム、スチレンーブタジェンゴム等からなるゴム系接着剤、シリコーン系接着剤、アルカリ金属シリケート、低融点ガラス等からなる無機系接着剤等の接着剤を使用することができる。
上記の接着剤は、水性型、溶液型、エマルジョン型、分散型等のいずれの組成物形態でもよく、また、その性状は、フィルム・シート状、粉末状、固形状等のいずれの形態でもよく、さらに接着機構については、化学反応型、溶剤揮発型、熱溶融型、熱圧型等のいずれの形態でもよいものである。
本発明においては、印刷層を含む全面に、上記の接着剤を、例えば、ロールコート法、グラビアロールコート法、キスコート法等のコート法、あるいは、印刷法等によって施し、次いで、溶剤等を乾燥させてラミネート用接着剤層を形成すことができ、そのコーティングないし塗工量としては、0.1〜10g/m2(乾燥状態)が好ましい。
ヒートシール性樹脂層
次に、ヒートシール性樹脂層について説明する。ヒートシール性樹脂層を構成するヒートシール性樹脂としては、熱によって溶融し相互に融著し得るものであればよく、例えば、低密度ポリエチレン、中密度ポリエチレン、高密度ポリエチレン、直鎖状(線状)低密度ポリエチレン、ポリプロピレン、エチレン−酢酸ビニル共重合体、アイオノマー樹脂、エチレン−アクリル酸エチル共重合体、エチレン−アクリル酸共重合体、エチレン−メタクリル酸共重合体、エチレン−プロピレン共重合体、メチルペンテンポリマー、ポリエチレン、ポリプロピレン等のポリオレフイン系樹脂、またはこれらの樹脂をアクリル酸、メタクリル酸、無水マレイン酸、フマール酸等の不飽和カルボン酸で変性した酸変性ポリオレフイン系樹脂等の樹脂の一種ないしそれ以上からなる樹脂のフィルムないしシートを使用することができる。
本発明においては、ラミネート用接着剤層の面に、上記の樹脂のフィルムないしシートをドライラミネートして、ヒ一トシール性樹脂層を形成することができる。
上記の樹脂のフィルムないしシートは、単層ないし多層で使用することができ、また、上記の樹脂のフィルムないしシートの厚さとしては、5〜300μm、好ましくは10〜110μmである。
上記の樹脂のフィルムないしシートの厚さは、袋状容器本体の製袋時等において、無機酸化物の蒸着膜を有する樹脂のフィルムないしシートを構成する無機酸化物の蒸着膜に、擦り傷やクラック等を発生することを防止するために、比較的その膜厚を厚くすることが好ましく、具体的には、70〜110μm、望ましくは、80〜100μmである。
本発明においては、上記のような樹脂のフィルムないしシートの中でも、特に、線状低密度ポリエチレンを使用することが好ましいものである。線状低密度ポリエチレンは、粘着性を有することから破断の伝搬が少なく耐衝撃性を向上させるという利点があるものであり、また、内層は常時内容物に接触していることから、耐環境ストレスクラッキング性の劣化を防止するためにも有効なものである。
また、本発明においては、線状低密度ポリエチレンに、他の樹脂をブレンドすることもでき、例えば、エチレン−プチン共重合体等をブレンドすることにより、若干、耐熱性に劣り高温環境下ではシール安定性が劣化する傾向があるものの、引き裂き性が向上し、易開封性に寄与するという利点がある。
線状低密度ポリエチレンとしては、具体的には、メタロセン触媒を用いて重合したエチレン−α−オレフイン共重合体のフィルムないしシートを同様に使用することができる。上記のメタロセン触媒を用いて重合したエチレン−α−オレフイン共重合体のフィルムないしシートとしては、例えば、二塩化ジルコノセンとメチルアルモキサンの組み合わせによる触媒等のメタロセン錯体とアルモキサンとの組み合わせによる触媒、すなわち、メタロセン触媒を使用して重合してなるエチレン−α−オレフイン共重合体のフィルムないしシートを使用することができる。
メタロセン触媒は、現行の触媒が、活性点が不均一でマルチサイト触媒と呼ばれているのに対し、活性点が均一であることからシングルサイト触媒とも呼ばれているものである。具体的には、三菱化学株式会社製の商品名「カーネル」、三井石油化学工業株式会社製の商品名「エポリユー」、米国、エクソン・ケミカル(EXXON CHEMICAL)社製の商品名「エクザクト(EXACT)」、米国、ダウ・ケミカル(DOW CHEMICAL)社製の商品名「アフイニティー(AFFINITY)、商品名「エンゲージ」等のメタロセン触媒を用いて重合したエチレン−α−オレフィン共重合体のフィルムを使用することができる。
ヒートシール性樹脂層を構成するフィルムないしシートとしては、単層ないし多層で使用することができ、その厚さとしては、5〜300μm、好ましくは10〜100μmである。
本発明において、上記のようなヒートシール性を有する樹脂のフィルムとして、メタロセン触媒を用いて重合したエチレン−α−オレフイン共重合体のフィルムないしシートを使用する場合には、袋体を製造するときに、低温ヒートシール性が可能であるという利点を有する。
本発明においては、ラミネート用接着剤層とヒートシール性樹脂層との間に、樹脂フィルム(中間基材)を狭持してもよい。このような中間層を設けることにより、強度や耐突き刺し性等が向上する。樹脂のフィルムとしては、機械的、物理的、化学的等において優れた強度を有し、耐突き刺し性等に優れ、その他、耐熱性、防湿性、耐ピンホール性、透明性等に優れた樹脂のフィルムないしシートを使用することができる。
具体的には、例えば、ポリエステル系樹脂、ポリアミド系樹脂、ポリアラミド系樹脂、ポリプロピレン系樹脂、ポリカーボネート系樹脂、ポリアセタール系樹脂、フッ素系樹脂、その他の強靱な樹脂フィルムないしシートを使用することができる。
本発明においては、上記の樹脂のフィルムないしシートを使用し、これを、例えば、前述のラミネート用接着剤等を使用してドライラミネート法等を用いて、ラミネート用接着剤層とヒートシール性樹脂層との間に狭持することができる。
上記の樹脂のフィルムないしシートとしては、未延伸フィルム、あるいは一軸方向または二軸方向に延伸した延伸フィルム等のいずれのものでも使用することができる。また、本発明において、その樹脂のフィルムないしシートの厚さとしては、強度、耐突き刺し性等について、必要最低限に保持され得る厚さであればよく、厚すぎると、コストを上昇するという欠点もあり、逆に、薄すぎると、強度、耐突き刺し性等が抵下して好ましくないものである。
本発明においては、上記のような理由から、約10〜100μm、好ましくは12〜50μmが好ましい。
通常、包装用袋は、物理的にも化学的にも過酷な条件におかれることから、包装用袋を構成する積層材には、厳しい包装適性が要求され、変形防止強度、落下衝撃強度、耐ピンホール性、耐熱性、密封性、品質保全性、作業性、衛生性等の種々の条件が要求される。このために、本発明においては、上記のような材料の他に、上記のような諸条件を充足するその他の材料を任意に使用することができ、具体的には、例えば、低密度ポリエチレン、中密度ポリエチレン、高密度ポリエチレン、線状低密度ポリエチレン、ポリプロピレン、エチレン−プロピレン共重合体、エチレン−酢酸ビニル共重合体、アイオノマー樹脂、エチレン−アクリル酸エチル共重合体、エチレン−アクリル酸またはメタクリル酸共重合体、メチルペンテンポリマー、ポリブテン系樹脂、ポリ塩化ビニル系樹脂、ポリ酢酸ビニル系樹脂、ポリ塩化ビニリデン系樹脂、塩化ビニル−塩化ビニリデン共重合体、ポリ(メタ)アクリル系樹脂、ポリアクリルニトリル系樹脂、ポリスチレン系樹脂、アクリロニトリル−スチレン共重合体(AS系樹脂)、アクリロニトリル−ブタジエン−スチレン共重合体(ABS系樹脂)、ポリエステル系樹脂、ポリアミド系樹脂、ポリカーボネート系樹脂、ポリビニルアルコール系樹脂、エチレン−酢酸ビニル共重合体のケン化物、フッ素系樹脂、ジェン系樹脂、ポリアセタール系樹脂、ポリウレタン系樹脂、ニトロセルロース等の公知の樹脂のフィルムないしシートを任意に選択して使用することができる。その他、例えば、合成紙等も使用することができる。
本発明において、上記のフィルムないしシートは、未延伸、一軸ないし二軸方向に延伸されたもの等のいずれのものでも使用することができる。また、その厚さは、任意であるが、数μmから300μmの範囲から選択して使用することができる。
さらに、本発明においては、フィルムないしシートとしては、押出成膜、インフレーション成膜、コーティング膜等のいずれの形態の膜でもよい。
本発明は、以上において説明したように、基材フィルムの一方の面に、無機酸化物の蒸着膜を設け、次いで、該無機酸化物の蒸着膜の上にガスバリア性塗布膜を設けたガスバリア性積層体のガスバリア性塗布膜上に、種々のコーティング法もしくは印刷法、あるいは、ドライラミネート法等の方法を用いて、印刷模様層、および、ラミネート用接着剤層を順次に設け、さらに、該ラミネート用接着剤層の上に、ヒートシール性樹脂層を設け、さらには上記のラミネート用接着剤層とヒートシール性樹脂層との間に、強度を有し、耐突き刺し性に優れた樹脂のフィルム(中間基材)を積層することにより、包装袋用の積層材を製造することができる。
包装袋
上記の積層材を用いた包装袋について説明する。装用袋からなる袋状容器本体は、上記したガスバリア性積層フィルムからなる積層材を使用して、この積層材を二つ折にし、そのヒートシール性樹脂層の面を対向させて重ね合わせ、その端部をヒートシールして筒状の包装体を形成し、次いで底部をシールして内容物を充填し、さらに天部をシールすることにより、包装体を製造することができる。
その製袋方法としては、上記のような積層材を、折り曲げるかあるいは重ね合わせて、その内層の面を対向させ、さらにその周辺端部を、例えば、側面シール型、二方シール型、三方シール型、四方シール型、封筒貼りシール型、合掌貼りシール型(ピローシール型)、ひだ付シール型、平底シール型、角底シール型、ガゼット型等のヒートシール形態によりヒートシールして、種々の形態の装用袋を製造することができる。その他、例えば、自立性包装用袋(スタンデイングパウチ)等も可能である。
上記において、ヒートシールの方法としては、例えば、バーシール、回転ロールシール、ベルトシール、インパルスシール、高周波シール、超音波シール等の公知の方法で行うことができる。
上記の本発明について実施例を挙げてさらに具体的に説明するが、本発明がこれら実施例によって限定されるものではない。
[実施例1]
(1)基材フィルムとして、厚さ12μmの2軸延伸ポリエステルフィルムを使用し、これをプラズマ化学気相成長装置の送り出しロールに装着し、以下に示す条件で、上記の2軸延伸ポリエステルフィルムのコロナ処理面に、厚さ約100Åの酸化珪素の蒸着膜を形成した。
(蒸着条件)
反応ガス混合比;ヘキサメチルジシロキサン:酸素ガス:ヘリウム=1.2:5.0:2.5(単位:Slm)
到達圧力;5.0×10-5mbar
製膜圧力;7.0×10-2mbar
ライン速度;150m/min
パワー;35kW
次に、上記で厚さ約100Åの酸化珪素の蒸着膜を形成した直後に、その酸化珪素の蒸着膜面に、グロー放電プラズマ発生装置を使用し、パワー9kW、酸素ガス(O2):アルゴンガス(Ar)=7.0:2.5(単位:Slm)からなる混合ガスを使用し、混合ガス圧6×10-2mbar、処理速度420m/minで酸素/アルゴン混合ガスプラズマ処理を行って、酸化珪素の蒸着膜面の表面張力を54dyne/cm以上向上させたプラズマ処理面を形成した。
(2)他方、表1に示す組成に従って、組成a.正珪酸エチル(多摩科学社製)、イソプロピルアルコール、0.5規定塩酸水溶液、イオン交換水、シランカップリング剤からなる加水分解液に、予め調製した組成b.のポリビニルアルコール水溶液、および組成c.のジラウリン酸ジブチルすずを加えて攪拌し、無色透明のガスバリア性塗工液を得た。正珪酸エチル中のSiO2100重量部に対するジラウリン酸ジブチルすずの含有量は、0.1重量部であった。
なお表中においては、各試料の濃度をすべて重量%で表わした。
Figure 0004998064
次に、上記の(1)で形成したプラズマ処理面に、上記で製造したガスバリア性組成物をグラビアロールコート法によりコーティングして、次いで、150℃で60秒間、加熱処理して、厚さ0.2μm(乾操状態)のガスバリア性塗布膜を形成して、本発明のガスバリア性積層フィルムを製造した。
[実施例2]
ガスバリア性組成物の組成を以下の表に示すとおりとした以外は、実施例1と同様の方法で実施例2〜4、比較例1〜3のガスバリア性積層フィルムを製造した。
Figure 0004998064
[比較例4]
実施例1のジラウリン酸ジブチルすずの代わりに塩化第1すずを使用したこと以外は、実施例1と同様の方法で、ガスバリア性積層フィルムを製造した。
[比較例5]
実施例1のジラウリン酸ジブチルすずの代わりに塩化第2すずを使用したこと以外は、実施例1と同様の方法で、ガスバリア性積層フィルムを製造した。
[実験例]
1.ガスバリア性塗布膜の比重の測定
上記実施例1〜4、および比較例1〜5のガスバリア性組成物を120℃、3時間加熱処理し、水分を完全に除去し固化した。その後、これらガスバリア性組成物の硬化物(ガスバリア性塗布膜)の比重を、約20℃(室温下)の条件で、TOYOSEIKI社製の測定機〔機種名、デンシメータ(DENSIMETER)〕で測定した。
2.酸素透過度の測定
実施例1〜4、および比較例1〜5で製造したガスバリア性積層フィルムをシーラントフィルムと、そのガスバリア性塗布膜表面が対向するように貼り合わせ、温度23℃、湿度90%RHの条件で、米国、モコン(MOCON)社製の測定機〔機種名、オクストラン(OXTRAN)〕を用い、JIS規格 K7126に従い、酸素透過度を測定した。
3.水蒸気透過度の測定
実施例1〜4、および比較例1〜5で製造したガスバリア性積層フィルムをシーラントフィルムと、そのガスバリア性塗布膜表面が対向するように貼り合わせ、温度40℃、湿度90%RH、または温度50℃、湿度90%RHの条件で、米国、モコン(MOCON)社製の測定機〔機種名、パーマトラン(PERMATRAN)〕を用い、JIS規格 K7129に従い、水蒸気透過度を測定した。
上記実験例1〜3の結果を以下の(表3)に示す。
Figure 0004998064
「測定結果」
上記(表3)に示したとおり、実施例1〜4のガスバリア性積層フィルムは、そのガスバリア性塗布膜の比重が本発明の規定値範囲内にあるものであるが、規定値範囲外の比重を有するガスバリア性塗布膜を形成した比較例1〜5のガスバリア性積層フィルムと比較して、温湿度依存性が小さく、高温多湿下においても優れたガスバリア性を維持することが確認された。
例えば、実施例3のガスバリア性塗布膜は、1.99(g/cm3)の比重を有するものであるが、前記ガスバリア性塗布膜を積層した実施例4のガスバリア性積層フィルムの40℃ 90%RH、50℃ 90%RHにおける水蒸気透過度は、それぞれ、0.21、0.24(g/m2・day)であり、温湿度の変化に伴うガスバリア性の低下は、ほとんど認められなかった。
これに対し比較例1のガスバリア性塗布膜は、1.78(g/cm3)と低い比重を有するものであるが、比較例1のガスバリア性積層フィルムの40℃ 90%RHにおける水蒸気透過度は、0.35(g/m2・day)であるのに対し、50℃ 90%RHにおいて水蒸気透過度は1.00(g/m2・day)と非常に大きくなり、比較例1のガスバリア性積層フィルムは高温多湿化においてガスバリア性が大きく低下することが確認された。
さらに比較例3のガスバリア性塗布膜は、2.89(g/cm3)と高い比重を有するものであるが、比較例3のガスバリア性積層フィルムの40℃ 90%RHにおける水蒸気透過度は、0.71(g/m2・day)であるのに対し、50℃ 90%RHにおいて水蒸気透過度は0.97(g/m2・day)と非常に大きくなり、比較例3のガスバリア性積層フィルムは高温多湿化においてガスバリア性が大きく低下することが確認された。
すなわちガスバリア性塗布膜中に特定の比重となるようにすず化合物を含有することにより、従来のものと比較して温湿度依存性に優れたガスバリア性積層フィルムが得られることが確認された。
本発明のガスバリア性積層フィルムの層構成の一例を示した模式断面図である。 本発明のガスバリア性積層フィルムの層構成の他の例を示した模式断面図である。 本発明の方法に使用する化学気相蒸着装置の概略図である。 本発明の他の態様の方法に使用する化学気相蒸着装置の概略図である。
符号の説明
1 基材フィルム
1a プライマーコート層
2 蒸着膜
3 ガスバリア性塗布膜
21 プラズマ化学気相成長装置
22 真空チヤンバー
23 巻き出しロール
24 補助ロール
25 冷却・電極ドラム
26、27 ガス供給装置
28 原料揮発供給装置
29 原料供給ノズル
30 グロー放電プラズマ
31 電源
32 マグネット
33 ガイドロール
34 巻き取りロール
35 真空ポンプ
40 プラズマ化学気相成長装置
41 基材フィルム供給室
42 第1の製膜室
43 第2の製膜室
44 第3の製膜室
45 巻き取り室
46 巻き出しロール
47 補助ロール
48 冷却・電極ドラム
49 原料揮発供給装置
50 ガス供給装置
51 原料供給ノズル
52 グロー放電プラズマ
53、54 補助ロール
55 冷却・電極ドラム
56 原料揮発供給装置
57 ガス供給装置
58 原料供給ノズル
59 グロー放電プラズマ
60、61 補助ロール
62 冷却・電極ドラム
63 原料揮発供給装置
64 ガス供給装置
65 原料供給ノズル
66 グロー放電プラズマ
67 補助ロール
68 巻き取りロール
69 電源
70、71、72 マグネット

Claims (11)

  1. 基材上に化学気相成長法により無機酸化物の蒸着膜を設け、その蒸着膜上にガスバリア性塗布膜を設けてなるガスバリア性積層フィルムであって、
    前記ガスバリア性塗布膜が、一般式R 1 n M(OR 2 m (式中、Mは金属原子を表し、R 1 、R 2 は炭素数1〜8の有機基を表し、nは0以上の整数であり、mは1以上の整数であり、n+mはMの原子価を表す)で表される少なくとも1種以上のアルコキシド、ポリビニルアルコール、および/またはエチレン・ビニルアルコール、ならびにすず化合物を含んでなる組成物を、ゾルゲル法によって重縮合して得るアルコキシドの加水分解物またはアルコキシドの加水分解縮合物によるガスバリア性塗布膜であり、そして
    前記ガスバリア性塗布膜の比重が、1.85〜2.5(g/cm3)の範囲にあることを特徴とする前記ガスバリア性積層フィルム。
  2. 前記組成物中におけるすず化合物の含有量が、前記アルコキシド中の金属酸化物または有機金属酸化物100重量部に対して0.1重量部〜22.5重量部の範囲にあることを特徴とする請求項に記載のガスバリア性積層フィルム。
  3. 前記組成物中におけるすず化合物の含有量が、前記アルコキシド中の金属酸化物または有機金属酸化物100重量部に対して0.1重量部〜11.5重量部の範囲にあることを特徴とする請求項に記載のガスバリア性積層フィルム。
  4. 前記ガスバリア性塗布膜中のアルコキシドに含まれる金属原子(M)が、ケイ素、ジルコニウム、チタン、およびアルミニウムからなる群より選択されることを特徴とする請求項1〜のいずれか一項に記載のガスバリア性積層フィルム。
  5. 前記すず化合物が、ジラウリン酸ジブチルすず、ジオクチルジラウリル酸すず、ビス(2−エチルヘキサノエート)すず、ビス(ネオデカノエート)すず、ジ−n−ブチルビス(2−エチルヘキシルマレート)すず、ジ−n−ブチルビス(2,4−ペンタンジオネート)すず、塩化第1すず、塩化第2すず、無水塩化第1すず、無水塩化第2すず、ジ−n−ブチルブトキシクロロすず、ジ−n−メチルヒドロキシ(オレエート)すず、およびジメチルジネオデカノエートすずからなる群より選択されることを特徴とする請求項1〜
    のいずれか一項に記載のガスバリア性積層フィルム。
  6. ガスバリア性塗布膜が、シランカップリング剤をさらに含むことを特徴とする請求項1〜のいずれか一項に記載のガスバリア性積層フィルム。
  7. 請求項1〜のいずれか一項に記載のガスバリア性積層フィルムの製造方法であって、
    基材上に化学気相成長法により無機酸化物の蒸着膜を形成し、さらに
    前記蒸着膜上に、1.85〜2.5(g/cm3)の比重を有するガスバリア性塗布膜を形成することからなる前記ガスバリア性積層フィルムの製造方法であって、
    前記ガスバリア性塗布膜が、一般式R 1 n M(OR 2 m (式中、Mは金属原子を表し、R 1 、R 2 は炭素数1〜8の有機基を表し、nは0以上の整数であり、mは1以上の整数であり、n+mはMの原子価を表す)で表される少なくとも1種以上のアルコキシド、ポリビニルアルコール、および/またはエチレン・ビニルアルコール、ならびにすず化合物を含んでなる組成物を、ゾルゲル法によって重縮合して得るアルコキシドの加水分解物またはアルコキシドの加水分解縮合物によるガスバリア性塗布膜である、上記製造方法
  8. 前記組成物中におけるすず化合物の含有量が、前記アルコキシド中の金属酸化物または有機金属酸化物100重量部に対して0.1重量部〜22.5重量部の範囲にあることを特徴とする請求項に記載のガスバリア性積層フィルムの製造方法。
  9. 請求項1〜6のいずれか一項に記載のガスバリア性積層フィルムを用いた包装用積層材であって、前記積層フィルムのガスバリア性塗布膜上にヒートシール性樹脂層を設けることを特徴とする包装用積層材。
  10. 請求項1〜6のいずれか一項に記載のガスバリア性積層フィルムを用いた包装用積層材であって、前記積層フィルムのガスバリア性塗布膜上に、印刷層、ラミネート接着剤層、およびヒートシール性樹脂層を設けることを特徴とする包装用積層材。
  11. 請求項または10に記載の包装用積層材を用いた包装袋であって、一方の包装用積層材のヒートシール性樹脂層側と、他方の包装用積層材のヒートシール性樹脂層側とが対抗するように重ね合わせ、その端部をヒートシールしたことを特徴とする包装袋。
JP2007106713A 2007-04-16 2007-04-16 ガスバリア性積層フィルム、その製造方法、それを使用した包装用積層材、および包装袋 Expired - Fee Related JP4998064B2 (ja)

Priority Applications (1)

Application Number Priority Date Filing Date Title
JP2007106713A JP4998064B2 (ja) 2007-04-16 2007-04-16 ガスバリア性積層フィルム、その製造方法、それを使用した包装用積層材、および包装袋

Applications Claiming Priority (1)

Application Number Priority Date Filing Date Title
JP2007106713A JP4998064B2 (ja) 2007-04-16 2007-04-16 ガスバリア性積層フィルム、その製造方法、それを使用した包装用積層材、および包装袋

Publications (2)

Publication Number Publication Date
JP2008265000A JP2008265000A (ja) 2008-11-06
JP4998064B2 true JP4998064B2 (ja) 2012-08-15

Family

ID=40045216

Family Applications (1)

Application Number Title Priority Date Filing Date
JP2007106713A Expired - Fee Related JP4998064B2 (ja) 2007-04-16 2007-04-16 ガスバリア性積層フィルム、その製造方法、それを使用した包装用積層材、および包装袋

Country Status (1)

Country Link
JP (1) JP4998064B2 (ja)

Families Citing this family (3)

* Cited by examiner, † Cited by third party
Publication number Priority date Publication date Assignee Title
JP5436128B2 (ja) * 2008-12-16 2014-03-05 株式会社クラレ スパウト付きパウチ
WO2022097700A1 (ja) * 2020-11-05 2022-05-12 大日本印刷株式会社 バリアフィルム、積層体、包装製品及びバリアフィルムの製造方法
JP7089709B2 (ja) * 2020-11-05 2022-06-23 大日本印刷株式会社 バリアフィルム、積層体、包装製品及びバリアフィルムの製造方法

Family Cites Families (5)

* Cited by examiner, † Cited by third party
Publication number Priority date Publication date Assignee Title
JP2002178440A (ja) * 2000-12-18 2002-06-26 Dainippon Printing Co Ltd レトルト用パウチ
JP3846563B2 (ja) * 2002-01-15 2006-11-15 信越化学工業株式会社 硬質保護被膜形成用コーティング剤及び光学物品
JP2004224815A (ja) * 2003-01-20 2004-08-12 Fuji Photo Film Co Ltd ガスバリア性積層フィルムの製造方法及びガスバリア性積層フィルム
JP4852822B2 (ja) * 2004-02-17 2012-01-11 大日本印刷株式会社 バリア性フィルムおよびそれを使用した積層材
JP4903370B2 (ja) * 2004-05-28 2012-03-28 レンゴー株式会社 ガスバリア性積層体

Also Published As

Publication number Publication date
JP2008265000A (ja) 2008-11-06

Similar Documents

Publication Publication Date Title
KR101392300B1 (ko) 가스 배리어성 적층 필름 및 그 제조 방법
JP4852822B2 (ja) バリア性フィルムおよびそれを使用した積層材
JP4972951B2 (ja) ガスバリア性積層フィルムおよびその製造方法
JP5051494B2 (ja) ガスバリア性積層フィルムおよびその製造方法
JP2005088415A (ja) 積層フィルムおよびその製造法
JP2009248454A (ja) ハイガスバリア積層体および包装用容器
JP2008264998A (ja) ガスバリア性積層フィルム、その製造方法、それを使用した包装用積層材、および包装袋
JP2009248456A (ja) チューブ用積層体およびラミネートチューブ
JP2008073993A (ja) ガスバリア性積層フィルム
JP6242562B2 (ja) 消臭性能を有する積層体およびそれを用いた包装体
JP4076036B2 (ja) バリア性フィルムおよびそれを使用した積層材
JP2007075368A (ja) 輸液バッグ用外装袋
JP2009083174A (ja) ピロー包装用積層体およびウェットティッシュ用包装体
JP4998064B2 (ja) ガスバリア性積層フィルム、その製造方法、それを使用した包装用積層材、および包装袋
JP2009248452A (ja) インクカートリッジ包装用積層体
JP2008143103A (ja) ガスバリア性積層フィルム
JP2008179104A (ja) バリア性フィルム
JP4357933B2 (ja) 液体小袋包装体
JP2008073986A (ja) ガスバリア性積層フィルム
JP5259072B2 (ja) インクカ−トリッジ包装体
JP2005145491A (ja) ラミネ−トチュ−ブ容器
JP4998063B2 (ja) ガスバリア性積層フィルム、その製造方法、それを使用した包装用積層材、および包装袋
JP4304052B2 (ja) 液体小袋包装体
JP2010221596A (ja) ガスバリア性積層フィルムおよびガスバリア性包装材
JP5375258B2 (ja) ガスバリア性積層フィルム及びそれを使用した積層体

Legal Events

Date Code Title Description
A621 Written request for application examination

Free format text: JAPANESE INTERMEDIATE CODE: A621

Effective date: 20100125

A977 Report on retrieval

Free format text: JAPANESE INTERMEDIATE CODE: A971007

Effective date: 20110914

A131 Notification of reasons for refusal

Free format text: JAPANESE INTERMEDIATE CODE: A131

Effective date: 20110927

A521 Request for written amendment filed

Free format text: JAPANESE INTERMEDIATE CODE: A523

Effective date: 20111121

TRDD Decision of grant or rejection written
A01 Written decision to grant a patent or to grant a registration (utility model)

Free format text: JAPANESE INTERMEDIATE CODE: A01

Effective date: 20120417

A01 Written decision to grant a patent or to grant a registration (utility model)

Free format text: JAPANESE INTERMEDIATE CODE: A01

A61 First payment of annual fees (during grant procedure)

Free format text: JAPANESE INTERMEDIATE CODE: A61

Effective date: 20120430

R150 Certificate of patent or registration of utility model

Ref document number: 4998064

Country of ref document: JP

Free format text: JAPANESE INTERMEDIATE CODE: R150

Free format text: JAPANESE INTERMEDIATE CODE: R150

FPAY Renewal fee payment (event date is renewal date of database)

Free format text: PAYMENT UNTIL: 20150525

Year of fee payment: 3

LAPS Cancellation because of no payment of annual fees