JP5201719B2 - 柱構築方法および柱構造 - Google Patents

柱構築方法および柱構造 Download PDF

Info

Publication number
JP5201719B2
JP5201719B2 JP2008011431A JP2008011431A JP5201719B2 JP 5201719 B2 JP5201719 B2 JP 5201719B2 JP 2008011431 A JP2008011431 A JP 2008011431A JP 2008011431 A JP2008011431 A JP 2008011431A JP 5201719 B2 JP5201719 B2 JP 5201719B2
Authority
JP
Japan
Prior art keywords
footing
column
floor
concrete
pillar
Prior art date
Legal status (The legal status is an assumption and is not a legal conclusion. Google has not performed a legal analysis and makes no representation as to the accuracy of the status listed.)
Expired - Fee Related
Application number
JP2008011431A
Other languages
English (en)
Other versions
JP2009174135A (ja
Inventor
公直 北村
誠 萱嶋
Current Assignee (The listed assignees may be inaccurate. Google has not performed a legal analysis and makes no representation or warranty as to the accuracy of the list.)
Taisei Corp
Original Assignee
Taisei Corp
Priority date (The priority date is an assumption and is not a legal conclusion. Google has not performed a legal analysis and makes no representation as to the accuracy of the date listed.)
Filing date
Publication date
Application filed by Taisei Corp filed Critical Taisei Corp
Priority to JP2008011431A priority Critical patent/JP5201719B2/ja
Publication of JP2009174135A publication Critical patent/JP2009174135A/ja
Application granted granted Critical
Publication of JP5201719B2 publication Critical patent/JP5201719B2/ja
Expired - Fee Related legal-status Critical Current
Anticipated expiration legal-status Critical

Links

Images

Landscapes

  • Joining Of Building Structures In Genera (AREA)
  • Foundations (AREA)

Description

本発明は、柱構築方法および柱構造に関する。詳しくは、構造物の最下階の柱を構築する柱構築方法および柱構造に関する。
従来より、鉄筋コンクリート構造の構造物の最下階の柱は、以下の手順で構築される。
すなわち、まず、場所打ち杭や遠心力高強度プレストレストコンクリート杭(以降、PHC杭と呼ぶ)の埋め込み、あるいは、PHC杭の打ち込みなどにより、杭を構築する。
次に、根切り工事を行い、基礎梁およびフーチングが設けられる部分を掘削する。ここで、場所打ち杭の場合には、杭頭をはつり出しする。
次に、フーチングの下部について、型枠を建て込み、配筋してコンクリートを打設する。
次に、フーチングの上部および基礎梁について、型枠を建て込み、配筋してコンクリートを打設する。このとき、フーチングの上部に最下階の柱の柱脚も配筋する。
その後、在来工法の場合、フーチングの上部のコンクリートを打設した後、最下階の柱について、配筋し、型枠を建て込んで、コンクリートを打設する。この場合、柱主筋の継手工法としては、機械式継手、エンクローズアーク溶接、ガス圧接などが用いられる。
一方、プレキャストコンクリート工法の場合、フーチングの上部のコンクリートを打設した後、プレキャストコンクリート柱を建て込む。この場合、柱主筋の継手位置は、フーチング上端レベルであり、柱主筋の継手工法としては、機械式継手が用いられる。
また、鉄骨構造の構造物の最下階の柱は、以下の手順で構築される。
まず、鉄筋コンクリート構造と同様の手順で、杭の構築からフーチング下部のコンクリート打設までを行う。
固定柱脚の場合、フーチング下部をコンクリート打設した後、フーチングの上部および基礎梁について、型枠を建て込み、配筋してコンクリートを打設する。このとき、フーチング上部にゼロ節の鉄骨を設置しておく(例えば、特許文献1参照)。
次に、1節の鉄骨柱の建方を行う。ここで、鉄骨柱に根巻きする場合には、根巻き部分に配筋して、型枠を建て込んでコンクリートを打設する。
半固定柱脚またはピン柱脚の場合、フーチング下部をコンクリート打設した後、フーチングの上部および基礎梁について、型枠を建て込み、配筋してコンクリートを打設する。このとき、フーチング上部にアンカーボルトを設置しておく。
次に、固定柱脚の場合と同様に、1節の鉄骨柱の建方を行う。
特開2000−291146号公報
しかしながら、以上の構造では、工期が長くなり、その結果、コストが上昇するおそれがあった。例えば、鉄筋コンクリート構造の場合、プレキャストコンクリート工法を採用しても、フーチングを構築し、フーチングのコンクリート強度が発現した後にプレキャストコンクリート柱の建方を行うため、フーチングのコンクリート強度が発現する養生期間が必要となる。また、鉄骨造の場合、根巻き部分を構築したり、耐火被覆を吹き付けたりするため、柱脚の構築に時間がかかる。
また、特に鉄骨造で半固定柱脚またはピン柱脚の場合、柱脚部分の剛性が低くなる、という問題があった。
本発明は、工期を短縮でき、柱脚部分の剛性を確保できる柱構築方法および柱構造を提供することを目的とする。
(1) 構造物の最下階の柱を構築する柱構築方法であって、基礎梁およびフーチングが設けられる部分の地盤を掘削する手順と、前記フーチングの下部について、配筋してコンクリートを打設して一体に形成する手順と、前記フーチングの下部の上にプレキャストコンクリート柱を建て込む手順と、前記フーチングの上部、基梁、おび当該基礎梁の上に設けられた床について、配筋してコンクリートを打設して一体に形成する手順と、を備えることを特徴とする柱構築方法。
この発明によれば、フーチングの下部を構築した後、プレキャストコンクリート柱を建て込み、その後、フーチングの上部および基礎梁を構築した。よって、鉄筋コンクリート構造の場合、フーチングの上部に埋設していた柱脚鉄筋を省略でき、従来のプレキャストコンクリート工法に比べて、フーチングのコンクリート強度が発現しなくても最下階の柱を構築できるうえに、継手箇所の数を削減でき、工期やコストを短縮できる。また、鉄骨造に比べて、根巻き部分の構築や耐火被覆の吹き付けなどの工程が不要となるので、工期を短縮できる。
また、プレキャストコンクリート柱の柱脚を一定長さだけフーチングに埋設するため、フーチングのコンクリート支圧により曲げモーメントに十分に抵抗でき、柱脚部分の剛性を確保できる。
なお、プレキャストコンクリート柱を鉄骨柱としてもよく、この場合、フーチングの上部に埋設していたアンカーボルトを省略できる。
(2) 構造物の最下階の柱を構築する柱構築方法であって、基礎梁およびフーチングが設けられる部分の地盤を掘削する手順と、前記柱が立設される位置に凹部を形成するように、前記フーチングおよび基礎梁の少なくとも一部について、配筋してコンクリートを打設する手順と、前記凹部にプレキャストコンクリート柱を建て込む手順と、を備えることを特徴とする柱構築方法。
この発明によれば、(1)と同様の効果がある。
(3) フーチングと、当該フーチングの上に立設された最下階の柱と、を有する構造物の柱構造であって、前記最下階の柱は、プレキャストコンクリート柱であり、前記最下階の柱の下端側は、前記フーチングの内部に埋設されて固定されていることを特徴とする柱構造。
本発明によれば、フーチングの下部を構築した後、プレキャストコンクリート柱を建て込み、その後、フーチングの上部および基礎梁を構築した。よって、鉄筋コンクリート構造の場合、フーチングの上部に埋設していた柱脚鉄筋を省略でき、従来のプレキャストコンクリート工法に比べて、フーチングのコンクリート強度が発現しなくても最下階の柱を構築できるうえに、継手箇所の数を削減でき、工期やコストを短縮できる。また、鉄骨造に比べて、根巻き部分の構築や耐火被覆の吹き付けなどの工程が不要となるので、工期を短縮できる。また、プレキャストコンクリート柱の柱脚を一定長さだけフーチングに埋設するため、フーチングのコンクリート支圧により曲げモーメントに十分に抵抗でき、柱脚部分の剛性を確保できる。
以下、本発明の実施形態を図面に基づいて説明する。
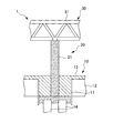
図1は、本発明の一実施形態に係る柱構築方法および柱構造が適用された構造物としての建物1の1階柱部分の構造を示す断面図である。
建物1は、ショッピングセンターであり、基礎部10と、基礎部10の上に設けられた1階立ち上がり部20と、1階立ち上がり部20の上に設けられた2階梁部30と、を備える。
1階立ち上がり部20は、複数本の1階柱21を備える。この1階柱21は、プレキャストコンクリート柱(以降、PCa柱と呼ぶ)である。
2階梁部30は、1階柱21同士の間に架け渡された鉄骨トラス状の2階梁31を備える。
基礎部10は、1階柱21を支持する複数のフーチング11と、これらフーチング11同士を連結する基礎梁12と、基礎梁の上に設けられた1階床13と、複数のフーチング11のそれぞれを支持する複数の杭14と、を備える。
複数のフーチング11は、それぞれ、2本の杭14で支持される。このフーチング11の内部には、1階柱21の下端側が埋設されている。
以上の建物1の施工手順は、以下のようになる。
まず、場所打ち杭や、PHC杭の埋め込み、あるいは、PHC杭の打ち込みなどにより、杭14を構築する。続いて、基礎梁12およびフーチング11が設けられる部分の地盤を掘削し、捨てコンクリートを打設して、墨出しを行う。
次に、図2に示すように、フーチング11の型枠15を建て込み、フーチングの下部11Aについて、配筋してコンクリートを打設する。この型枠15は、工期を短縮するために埋め殺しとする。なお、本実施形態では、フーチング11の型枠15を埋め殺しとするが、これに限らず、フーチング11の周囲の掘削をオープンカットとして、コンクリート打設後にフーチングの型枠を解体してもよい。
このフーチングの下部11Aのコンクリートを打設するまでに、1階柱21となるPCa柱を製作しておく。
次に、図3に示すように、フーチングの下部11Aの上に1階柱21を建て込み、サポート22により、この1階柱21の建て入れを調整する。
次に、図4に示すように、基礎梁12および1階床13についても、型枠を建て込み、フーチングの上部11B、基礎梁12、および1階床13について、配筋してコンクリートを打設する。これにより、1階柱21の柱脚部分は、一定長さだけフーチング11に埋設されて固定される。
その後、1階柱21同士の間に2階梁31を架け渡す。
本実施形態によれば、以下のような効果がある。
(1)フーチングの下部11Aを構築した後、PCa柱である1階柱21を建て込み、その後、フーチングの上部11Bおよび基礎梁12を構築した。よって、従来のプレキャストコンクリート工法に比べて、フーチング11のコンクリート強度が発現しなくても最下階の柱を構築できるうえに、継手箇所の数を削減でき、工期やコストを短縮できる。また、鉄骨造に比べて、根巻き部分の構築や耐火被覆の吹き付けなどの工程が不要となるので、工期を短縮できる。
また、PCa柱である1階柱21の柱脚を一定長さだけフーチング11に埋設するため、フーチング11のコンクリート支圧により曲げモーメントに十分に抵抗でき、柱脚部分の剛性を確保できる。
なお、本発明は前記実施形態に限定されるものではなく、本発明の目的を達成できる範囲での変形、改良等は本発明に含まれるものである。
本実施形態では、PCa柱である1階柱21にコッタを設けていないが、この1階柱21に大きな引抜き力が作用する場合には、1階柱21のフーチング11の内部に埋設される部分に、コッタを設けてもよい。
また、1階柱21に大きな曲げモーメントが作用する場合には、1階柱21のフーチング11の内部に埋設される部分にシース管を設け、1階柱21の建方を行った後、シース管にアンカー鉄筋を挿入してもよい。
また、1階柱21のフーチング11の内部に埋設される部分に定着筋付きの雌ねじを設け、1階柱21の建方を行った後、この雌ねじにプレートなどを抵抗板として取り付けてもよい。
また、1階柱21のフーチング11の内部に埋設される部分にねじ式やグラウト式の機械式継手を埋設しておき、1階柱21の建方を行った後、この機械式継手にフック筋を取り付けてもよい。
また、最下階の床である1階床13を土間コンクリートとしてもよい。
また、本実施形態では、フーチングの下部11Aのコンクリートを打設した後、1階柱21を建て込み、その後、フーチングの上部11Bのコンクリートを打設したが、これに限らず、フーチングの下部11Aおよび上部11Bのコンクリートを打設した後に、プレキャストコンクリート柱としての1階柱を建て込んでもよい。すなわち、浮かし型枠や箱抜きにより、1階柱が立設される位置に凹部を形成するように、フーチングのコンクリートを打設する。その後、この凹部に1階柱を挿入して、この1階柱と凹部との隙間にグラウト材を充填する。
ここで、1階柱と杭とを剛接合する場合、杭の主筋が凹部に干渉しないように、杭の主筋を拡げておけばよい。また、基礎梁の主筋が凹部に干渉しないように、基礎梁を水平ハンチ梁としてもよい。
本発明の一実施形態に係る柱構築方法および柱構造が適用された建物の1階柱部分の構造を示す断面図である。 前記実施形態に係る建物のフーチング下部を形成した状態を示す断面図である。 前記実施形態に係る建物の1階柱を建て込んだ状態を示す断面図である。 前記実施形態に係る建物の1階部分を形成した状態を示す断面図である。
符号の説明
1 建物(構造物)
11 フーチング
11A フーチング下部
11B フーチング上部
12 基礎梁
14 杭
21 1階柱(プレキャストコンクリート柱)

Claims (1)

  1. 構造物の最下階の柱を構築する柱構築方法であって、
    基礎梁およびフーチングが設けられる部分の地盤を掘削する手順と、
    前記フーチングの下部について、配筋してコンクリートを打設して一体に形成する手順と、
    前記フーチングの下部の上に、プレキャストコンクリート柱を建て込む手順と、
    前記フーチングの上部、基梁、おび当該基礎梁の上に設けられた床について、配筋してコンクリートを打設して一体に形成する手順と、を備えることを特徴とする柱構築方法。
JP2008011431A 2008-01-22 2008-01-22 柱構築方法および柱構造 Expired - Fee Related JP5201719B2 (ja)

Priority Applications (1)

Application Number Priority Date Filing Date Title
JP2008011431A JP5201719B2 (ja) 2008-01-22 2008-01-22 柱構築方法および柱構造

Applications Claiming Priority (1)

Application Number Priority Date Filing Date Title
JP2008011431A JP5201719B2 (ja) 2008-01-22 2008-01-22 柱構築方法および柱構造

Publications (2)

Publication Number Publication Date
JP2009174135A JP2009174135A (ja) 2009-08-06
JP5201719B2 true JP5201719B2 (ja) 2013-06-05

Family

ID=41029505

Family Applications (1)

Application Number Title Priority Date Filing Date
JP2008011431A Expired - Fee Related JP5201719B2 (ja) 2008-01-22 2008-01-22 柱構築方法および柱構造

Country Status (1)

Country Link
JP (1) JP5201719B2 (ja)

Families Citing this family (2)

* Cited by examiner, † Cited by third party
Publication number Priority date Publication date Assignee Title
JP5964672B2 (ja) * 2012-06-25 2016-08-03 大成建設株式会社 躯体構造及び躯体の構築方法
JP6368630B2 (ja) * 2014-12-01 2018-08-01 株式会社竹中工務店 基礎部施工方法

Family Cites Families (6)

* Cited by examiner, † Cited by third party
Publication number Priority date Publication date Assignee Title
JPS5931320A (ja) * 1982-08-10 1984-02-20 Hasegawa Komuten Co Ltd 杭と柱鉄骨との連結構造
JPH02164934A (ja) * 1988-12-19 1990-06-25 Asahi Chem Ind Co Ltd 基礎工法
JPH045330A (ja) * 1990-04-20 1992-01-09 Kurosawa Kensetsu Kk 多階構築物のpc柱立設方法
JPH10311041A (ja) * 1997-05-12 1998-11-24 Yutaka Fukuda プレキャストコンクリート柱の柱脚基礎
JP2001011942A (ja) * 1999-06-28 2001-01-16 Taisei Corp 基礎の中から立つ鉄骨を基礎工事完了後に建て込む方法
JP4612422B2 (ja) * 2005-01-05 2011-01-12 大成建設株式会社 構造物の施工方法とこれに使用される基礎構造

Also Published As

Publication number Publication date
JP2009174135A (ja) 2009-08-06

Similar Documents

Publication Publication Date Title
KR102254227B1 (ko) Pc 말뚝캡이 구비된 고강도 콘크리트 말뚝 구조체 및 이의 시공 방법
JP2006291641A (ja) 杭基礎構造およびその施工方法
KR20060092552A (ko) 현장타설파일을 이용한 무지보 하향골조 시공방법
KR101296857B1 (ko) 토압 지지력이 강화된 바닥보를 구비하는 지하 구조물 및 그 시공방법
JP6543077B2 (ja) 構造物の施工方法
JP5201719B2 (ja) 柱構築方法および柱構造
JP5480744B2 (ja) 構造物用基礎およびその構築方法
KR20060023915A (ko) 테두리보가 생략된 이렉션 파일을 이용한 지하층의슬래브-외벽 동시 타설 구축방법
JP4675101B2 (ja) コンクリート杭と基礎スラブ又は基礎梁との半剛接合構造及びその施工方法
JP2002030672A (ja) 基礎杭と柱脚部との接合構造およびその構築方法
JP4612422B2 (ja) 構造物の施工方法とこれに使用される基礎構造
KR20130021949A (ko) 지하 구조물의 벽체 보강 구조체 및 이를 이용한 지하 구조물의 구축방법
JP2018059318A (ja) 基礎梁構造及び基礎梁構築方法
JP4833949B2 (ja) コンクリート一体型構真柱
JP6461690B2 (ja) 基礎構造及び基礎施工方法
JP5327992B2 (ja) 既存建造物の耐震補強構造
JP5686414B2 (ja) 構真柱
KR101028695B1 (ko) 지하 역타 공법에서 철골 또는 강관 기둥과 결합되는피씨보 연결구조
JP2023074982A (ja) 基礎構造の構築方法
KR101077242B1 (ko) 흙막이 벽체와 철골 기둥을 이용한 지하 구조물 시공 방법
JP5480745B2 (ja) 構造物用既設基礎の補強方法
KR100694762B1 (ko) 테두리보가 생략된 지하층의 슬래브-외벽 동시 타설구축방법
JP6217102B2 (ja) 場所打ちコンクリート杭の頭部と基礎との接合構造及び方法
KR20090042395A (ko) 옹벽과 이의 시공방법
KR102633669B1 (ko) 라스거푸집을 이용한 역타 공법용 현장 타설 기둥의 시공 방법

Legal Events

Date Code Title Description
A621 Written request for application examination

Free format text: JAPANESE INTERMEDIATE CODE: A621

Effective date: 20100913

A131 Notification of reasons for refusal

Free format text: JAPANESE INTERMEDIATE CODE: A131

Effective date: 20120411

A977 Report on retrieval

Free format text: JAPANESE INTERMEDIATE CODE: A971007

Effective date: 20120411

A521 Written amendment

Free format text: JAPANESE INTERMEDIATE CODE: A523

Effective date: 20120528

TRDD Decision of grant or rejection written
A01 Written decision to grant a patent or to grant a registration (utility model)

Free format text: JAPANESE INTERMEDIATE CODE: A01

Effective date: 20130208

A61 First payment of annual fees (during grant procedure)

Free format text: JAPANESE INTERMEDIATE CODE: A61

Effective date: 20130208

R150 Certificate of patent or registration of utility model

Ref document number: 5201719

Country of ref document: JP

Free format text: JAPANESE INTERMEDIATE CODE: R150

Free format text: JAPANESE INTERMEDIATE CODE: R150

FPAY Renewal fee payment (event date is renewal date of database)

Free format text: PAYMENT UNTIL: 20190222

Year of fee payment: 6

LAPS Cancellation because of no payment of annual fees