JP5154987B2 - 光コネクタ用アダプタのガタ止め機構 - Google Patents

光コネクタ用アダプタのガタ止め機構 Download PDF

Info

Publication number
JP5154987B2
JP5154987B2 JP2008078056A JP2008078056A JP5154987B2 JP 5154987 B2 JP5154987 B2 JP 5154987B2 JP 2008078056 A JP2008078056 A JP 2008078056A JP 2008078056 A JP2008078056 A JP 2008078056A JP 5154987 B2 JP5154987 B2 JP 5154987B2
Authority
JP
Japan
Prior art keywords
optical connector
adapter
mounting hole
connector adapter
locking spring
Prior art date
Legal status (The legal status is an assumption and is not a legal conclusion. Google has not performed a legal analysis and makes no representation as to the accuracy of the status listed.)
Active
Application number
JP2008078056A
Other languages
English (en)
Other versions
JP2009230033A (ja
Inventor
貴司 佐藤
康祐 日置
卓爾 石井
Original Assignee
三和電気工業株式会社
Priority date (The priority date is an assumption and is not a legal conclusion. Google has not performed a legal analysis and makes no representation as to the accuracy of the date listed.)
Filing date
Publication date
Application filed by 三和電気工業株式会社 filed Critical 三和電気工業株式会社
Priority to JP2008078056A priority Critical patent/JP5154987B2/ja
Publication of JP2009230033A publication Critical patent/JP2009230033A/ja
Application granted granted Critical
Publication of JP5154987B2 publication Critical patent/JP5154987B2/ja
Active legal-status Critical Current
Anticipated expiration legal-status Critical

Links

Images

Landscapes

  • Mechanical Coupling Of Light Guides (AREA)

Description

本発明は、光コネクタプラグの高密度実装における光コネクタ用アダプタのガタ止め機構に関する。
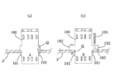
従来、光コネクタプラグの高密度実装における光コネクタ用アダプタ100をパネルPに取り付ける場合、図5(a)に示すように、該光コネクタ用アダプタ100の左右両サイドにバネ等の抜け止め部101を設けたスナップイン方式を採っている。
しかし、このようなスナップイン方式によると、パネルPの取付孔Qと光コネクタ用アダプタ100との間に若干のクリアランスが生じるため、パネルPを動かすと光コネクタ用アダプタ100がガタ付いてガタガタと音を出してしまうことがある。
このようなガタガタ音が出るのを未然に防止するため、従来では、図5(b)に示すように、光コネクタ用アダプタ100の両サイドのフランジ102を大きくして、そこに孔103を設け、この孔103に例えばタッピングネジ等の締結部材104をパネルPを貫通するようにねじ込むことで光コネクタ用アダプタ100のガタ付きを無くす方式が採られている。
特になし
しかしながら、従来においては、光コネクタ用アダプタの両サイドにおけるフランジにネジ止めのスペースを設けた分だけ当該光コネクタ用アダプタの外形が大きくなるため、高密度の実装には向かないという問題点を有している。
そこで、本発明は、叙上のような従来存した諸事情に鑑み案出されたもので、光コネクタ用アダプタをパネルに取り付けた際に、光コネクタ用アダプタのガタ付きを容易且つ確実に無くすことができ、パネルに震動を与えてもガタガタ音の発生を防ぐことができ、しかも光コネクタ用アダプタへの光コネクタプラグの挿入が支障なく行えるものとした光コネクタ用アダプタのガタ止め機構を提供することを目的とする。
上述した課題を解決するため、本発明にあっては、光コネクタ用アダプタハウジングの上面または下面に形成された取付孔に挿入され、該取付孔内側で固定可能となるよう前後両端部に複数の爪脚部が略直角に折り曲げられた状態で突設され、且つ中央面が爪脚部の折り曲げ方向とは反対方向に若干隆起してなる係止面となった係止バネを備え、当該係止バネは、その係止面が光コネクタ用アダプタハウジングの上側壁または底壁に向けて順次圧潰されながらパネルにおけるアダプタ取付部に嵌着保持されて成るものとしたことを特徴とする。
光コネクタ用アダプタハウジングの取付孔に挿入される爪脚部は、取付孔内側で折り込まれ、あるいは取付孔内に圧入されることにより固定されるものとなっている。
また、取付孔内側には、装着した係止バネと光コネクタ用プラグとが互いに干渉しない空間部を設けて成る。
本発明によれば、光コネクタ用アダプタをパネルに取り付けた際に、光コネクタ用アダプタのガタ付きを容易且つ確実に無くすことができ、パネルに震動を与えてもガタガタ音の発生を防ぐことができ、しかも光コネクタ用アダプタへの光コネクタプラグの挿入が支障なく行える。
光コネクタ用アダプタハウジングの取付孔に挿入される爪脚部は、取付孔内側で折り込まれ、あるいは取付孔内に圧入されることにより固定されるものとなっているので、ガタ付くことなくしっかりと固定されるのは勿論、作業性も良い。
また、取付孔内側には、装着した係止バネと光コネクタ用プラグとが互いに干渉しない空間部を設けて成るので、係止バネが取り付けられていても、光コネクタ用アダプタへの光コネクタプラグの挿入が支障なく行える。
さらに、係止バネは、その係止面が光コネクタ用アダプタハウジングの上側壁または底面に向けて順次圧潰されながらパネルにおけるアダプタ取付部に嵌着保持されて成るので、パネルのアダプタ取付部に対し、光コネクタ用アダプタをクリアランスを生じさせない状態でスムーズに嵌着させることができる。
以下、図面を参照して本発明に係る光コネクタ用アダプタのガタ止め機構を実施するための最良の一形態を詳細に説明する。
本発明に係る光コネクタ用アダプタは、2心コネクタ用のアダプタ本体1によって構成され、高密度実装可能としたパネルPの矩形開口状のアダプタ取付部Qに嵌着固定されるものである。
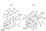
このアダプタ本体1は、図1(a)または図1(b)に示すように、二つの光コネクタプラグ相互を接続できるように、合成樹脂の成型品でなる角筒状のアダプタハウジング2の両端に、光学軸が一致するように光コネクタプラグの一方の嵌合部Aと、光コネクタプラグその他の光学部品の他方の嵌合部Bとをそれぞれ備えている。
アダプタハウジング2は、図3(a)乃至図3(c)に示すように、上側壁、左右の側壁、底壁、1つの仕切壁とが一体に形成されて2つの嵌合部A、A(B、B)が並置されて成り、アダプタハウジング2の中央には略コ字枠状となった左右一対の接合端壁3aが配置され、一方の嵌合部Aにおける嵌合端3b、および他方の嵌合部Bにおける接続端3cがそれぞれ水平方向に開口している。
また、アダプタハウジング2の中央部に配される左右一対の接合端壁3aの一方には、一方の円筒4aが嵌合端3bに向かって突設してあると共に、他方の接合端壁3aには、他方の円筒4bが接続端3cに向かって形成してあり、両円筒4a、4bが光学軸上で中心軸を一致させて接合端壁3a同士を不図示の嵌合爪を介して係合固定することによってスリーブホルダー4が形成される。このとき、スリーブホルダー4内側に円筒状の割りスリーブ5が装着され保持されている。
光コネクタ用プラグは、例えばLC型のプラグ本体11によって構成されており、該プラグ本体11は、図3(d)に示すように、比較的高強度なプラスチックから成るカップリングスリーブ12と、このカップリングスリーブ12内にフェルール用チューブ13およびフェルールフレーム14に装着されたフェルール15と、フェルールフレーム14の後端部外周に装着されるスプリング16と、このスプリング16を介してフェルールフレーム14の後端部に嵌合するプラスチック製の本体フレーム17と、該本体フレーム17後部に装着されたブーツ20とを具備する。
また、図3(d)に示すように、カップリングスリーブ12の外周面には、アダプタ本体1との係合およびその解除を行うための解除レバー18がカップリングスリーブ12に一体的に設けられている。この解除レバー18は、カップリングスリーブ12の先端部から後端部に向かって徐々にカップリングスリーブ12外表面から離れるように傾斜して延設されており、その後端部は、本体フレーム17の外周面に形成されたラッチレバー19に当接するようカップリングスリーブ12とは反対側に傾斜状に突出している。
次に、本発明に係る光コネクタ用アダプタのガタ止め機構について詳細に説明する。
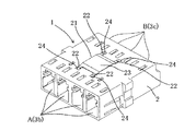
このガタ止め機構としては、図1(a)、図1(b)、図2に示すように、略矩形板片状の金属部材によって形成され、前後両端部それぞれの左右に爪脚部22が略直角に折り曲げられた状態で突設され、且つ中央面が爪脚部22の折り曲げ方向とは反対方向に若干隆起してなる係止面23となった係止バネ21を使用している。
また、アダプタハウジング2の上面には、前記係止バネ21の各爪脚部22を挿入するための例えば矩形小孔状の取付孔24を前後左右4箇所に設けている。尚、この取付孔24は、アダプタハウジング2の下面に設けることで、係止バネ21がアダプタハウジング2の下面に取り付けられるようにしても良い。
そして、図3(a)乃至図3(c)に示すように、アダプタハウジング2内部には、これら取付孔24に連通する偏平状の空間部25を両嵌合部A、Bに対応して設けてあり、係止バネ21の各爪脚部22を、これらの取付孔24に各挿入してから、当該空間部25内で各爪脚部22を互いに内方に向けて折り曲げることで係止バネ21自体がしっかりとアダプタハウジング2に固定されるようにしている。
しかも、この空間部25の存在により、図3(d)に示すように、プラグ本体11をアダプタハウジング2の各嵌合端3bに接続した際には、係止バネ21は、プラグ本体11の先端接続部分と干渉しないようになっている。
また、図4に示すように、光コネクタ用アダプタハウジング2は、4心コネクタ用のアダプタ本体1によって構成されていても良い。この場合、上側壁、左右の側壁、底壁、3つの仕切壁とが一体に形成されて4つの嵌合部A、A、A、A(B、B、B、B)が並置されて成る。
ところで、以上説明した上記の実施形態では、図3に示すように、係止バネ21の各爪脚部22は、取付孔24に挿入した後内方に向けて折り曲げて固定されるものとなっているが、これに限定されるものではなく、例えば取付孔24に各爪脚部22を圧入することによって固定できるようにしても良い。
次に、以上のように構成された本発明・光コネクタ用アダプタのガタ止め機構の最良の形態における係止バネ21の組立手順の一例について詳細に説明する。
先ず、図3(a)に示すように、係止バネ21の各爪脚部22を各取付孔24に挿入して、係止面23の隆起方向が上方に向くように配置する。
そして、図3(b)に示すように、空間部25内に突出された各爪脚部22を、例えばドライバーの先端部等で押し込んで、互いに内方に向けて折り曲げる。既述した圧入タイプでは、取付孔24に各爪脚部22を圧入するだけで良い。而して、係止バネ21がしっかりとアダプタハウジング2に固定される。
図3(c)に示すように、パネルPにおけるアダプタ取付部Qにアダプタハウジング2を挿入する。このとき、アダプタハウジング2は、その係止バネ21の係止面23がアダプタハウジング2の上側壁に向けて順次圧潰されながらしっかりとアダプタ取付部Qに嵌着保持される。
図3(d)に示すように、プラグ本体11をアダプタハウジング2の各嵌合端3bに接続する。このとき、係止バネ21は、空間部25内で各爪脚部22が折り込まれているため、プラグ本体11の先端接続部分とは干渉しない。
本発明を実施するための最良の形態における係止バネの使用の一例を示し、(a)は係止バネを光コネクタ用アダプタの取付孔に装着する前状態の斜視図、(b)は係止バネを光コネクタ用アダプタの取付孔に装着した状態の斜視図である。 同じく係止バネを使用して光コネクタ用アダプタをパネルに装着した状態の平面図である。 同じく図2中のA−A断面において係止バネを取付ける手順を示すもので、(a)は係止バネを光コネクタ用アダプタの取付孔に装着する前状態の断面図、(b)は係止バネを光コネクタ用アダプタの取付孔に装着した状態の断面図、(c)は光コネクタ用アダプタをパネルに装着して係止バネで保持した状態の断面図、(d)は光コネクタ用アダプタにコネクタプラグを接続した状態の断面図である。 係止バネの他の使用例を示す斜視図である。 従来例を示し、(a)はスナップイン方式の例を示す光コネクタ用アダプタの平面図、(b)はネジ止め方式による光コネクタ用アダプタの平面図である。
P パネル
Q アダプタ取付部
A 一方の嵌合部
B 他方の嵌合部
1 アダプタ本体
2 アダプタハウジング
3a 接合端壁
3b 嵌合端
3c 接続端
4 スリーブホルダー
4a 一方の円筒
4b 他方の円筒
5 割りスリーブ
11 プラグ本体
12 カップリングスリーブ
13 フェルール用チューブ
14 フェルールフレーム
15 フェルール
16 スプリング
17 本体フレーム
18 解除レバー
19 ラッチレバー
20 ブーツ
21 係止バネ
22 爪脚部
23 係止面
24 取付孔
25 空間部
100 光コネクタ用アダプタ
101 抜け止め部
102 フランジ
103 孔
104 締結部材

Claims (3)

  1. 光コネクタ用アダプタハウジングの上面または下面に形成された取付孔に挿入され、該取付孔内側で固定可能となるよう前後両端部に複数の爪脚部が略直角に折り曲げられた状態で突設され、且つ中央面が爪脚部の折り曲げ方向とは反対方向に若干隆起してなる係止面となった係止バネを備え、当該係止バネは、その係止面が光コネクタ用アダプタハウジングの上側壁または底壁に向けて順次圧潰されながらパネルにおけるアダプタ取付部に嵌着保持されて成るものとしたことを特徴とする光コネクタ用アダプタのガタ止め機構。
  2. 光コネクタ用アダプタハウジングの取付孔に挿入される爪脚部は、取付孔内側で折り込まれ、あるいは取付孔内に圧入されることにより固定されるものとした請求項1記載の光コネクタ用アダプタのガタ止め機構。
  3. 取付孔内側には、装着した係止バネと光コネクタ用プラグとが互いに干渉しない空間部を設けて成る請求項1記載の光コネクタ用アダプタのガタ止め機構。
JP2008078056A 2008-03-25 2008-03-25 光コネクタ用アダプタのガタ止め機構 Active JP5154987B2 (ja)

Priority Applications (1)

Application Number Priority Date Filing Date Title
JP2008078056A JP5154987B2 (ja) 2008-03-25 2008-03-25 光コネクタ用アダプタのガタ止め機構

Applications Claiming Priority (1)

Application Number Priority Date Filing Date Title
JP2008078056A JP5154987B2 (ja) 2008-03-25 2008-03-25 光コネクタ用アダプタのガタ止め機構

Publications (2)

Publication Number Publication Date
JP2009230033A JP2009230033A (ja) 2009-10-08
JP5154987B2 true JP5154987B2 (ja) 2013-02-27

Family

ID=41245467

Family Applications (1)

Application Number Title Priority Date Filing Date
JP2008078056A Active JP5154987B2 (ja) 2008-03-25 2008-03-25 光コネクタ用アダプタのガタ止め機構

Country Status (1)

Country Link
JP (1) JP5154987B2 (ja)

Cited By (1)

* Cited by examiner, † Cited by third party
Publication number Priority date Publication date Assignee Title
CN104035162A (zh) * 2013-03-08 2014-09-10 东侑光电股份有限公司 光纤适配器

Families Citing this family (2)

* Cited by examiner, † Cited by third party
Publication number Priority date Publication date Assignee Title
US9229177B1 (en) * 2014-07-16 2016-01-05 Sanwa Denki Kogyo Co., Ltd. Backlash prevention mechanism of adapter for optical connector
US10700479B1 (en) 2019-04-30 2020-06-30 Paul Wesley Smith Cable adapter panel retention clip

Family Cites Families (4)

* Cited by examiner, † Cited by third party
Publication number Priority date Publication date Assignee Title
JPH0336015Y2 (ja) * 1985-09-13 1991-07-31
JPH11218660A (ja) * 1998-01-30 1999-08-10 Fuji Photo Optical Co Ltd カメラのレンズ鏡胴
JP2002030891A (ja) * 2000-07-14 2002-01-31 Toda Constr Co Ltd セグメントの接合構造
JP3111711U (ja) * 2005-04-20 2005-07-28 サンコール株式会社 光アダプタ取付け用金具及び光アダプタ

Cited By (2)

* Cited by examiner, † Cited by third party
Publication number Priority date Publication date Assignee Title
CN104035162A (zh) * 2013-03-08 2014-09-10 东侑光电股份有限公司 光纤适配器
CN104035162B (zh) * 2013-03-08 2015-11-11 东侑光电股份有限公司 光纤适配器

Also Published As

Publication number Publication date
JP2009230033A (ja) 2009-10-08

Similar Documents

Publication Publication Date Title
JP4482591B2 (ja) 光コネクタ
JP5433802B1 (ja) 光コネクタ
CN103018850B (zh) 光电连接器
US20120295470A1 (en) Connector and jig for connector
JPH06208044A (ja) 光コネクタ
JP2013047804A (ja) 光ファイバコネクタ
CN102099720A (zh) 光适配器
US8485736B2 (en) Optical connector
US7384200B2 (en) Optical adaptor mounting metal fittings and an optical adaptor
JP4833802B2 (ja) 光コネクタ連結構造体
JP5154987B2 (ja) 光コネクタ用アダプタのガタ止め機構
JP2018107073A (ja) カバー部材、カバーユニット及びコネクタ
JP4014784B2 (ja) 光コネクタアダプタ
JP5122356B2 (ja) 光コネクタ用アダプタ
JP4589990B2 (ja) 光コネクタアダプタ
JP2011133611A (ja) 光コネクタ用アダプタのガタ止め機構
US20170269309A1 (en) Optical-connector-incorporating plug
WO2010125788A1 (ja) 光コネクタプラグ
JP2006184774A (ja) 光コネクタ装置
JP2005093270A (ja) 自己調芯型コネクタ
JPH11271569A (ja) 光コネクタ用アダプタ
JP2002311296A (ja) 光コネクタ
JP6346070B2 (ja) 光コネクタ
US7281858B2 (en) Optical connector which can be assembled without using screw parts
JP4822368B2 (ja) 光コンセント

Legal Events

Date Code Title Description
A621 Written request for application examination

Free format text: JAPANESE INTERMEDIATE CODE: A621

Effective date: 20110317

A977 Report on retrieval

Free format text: JAPANESE INTERMEDIATE CODE: A971007

Effective date: 20120227

A131 Notification of reasons for refusal

Free format text: JAPANESE INTERMEDIATE CODE: A131

Effective date: 20121002

A521 Request for written amendment filed

Free format text: JAPANESE INTERMEDIATE CODE: A523

Effective date: 20121115

TRDD Decision of grant or rejection written
A01 Written decision to grant a patent or to grant a registration (utility model)

Free format text: JAPANESE INTERMEDIATE CODE: A01

Effective date: 20121204

A61 First payment of annual fees (during grant procedure)

Free format text: JAPANESE INTERMEDIATE CODE: A61

Effective date: 20121206

FPAY Renewal fee payment (event date is renewal date of database)

Free format text: PAYMENT UNTIL: 20151214

Year of fee payment: 3

R150 Certificate of patent or registration of utility model

Ref document number: 5154987

Country of ref document: JP

Free format text: JAPANESE INTERMEDIATE CODE: R150

Free format text: JAPANESE INTERMEDIATE CODE: R150

R250 Receipt of annual fees

Free format text: JAPANESE INTERMEDIATE CODE: R250

R250 Receipt of annual fees

Free format text: JAPANESE INTERMEDIATE CODE: R250

R250 Receipt of annual fees

Free format text: JAPANESE INTERMEDIATE CODE: R250

R250 Receipt of annual fees

Free format text: JAPANESE INTERMEDIATE CODE: R250

R250 Receipt of annual fees

Free format text: JAPANESE INTERMEDIATE CODE: R250

R250 Receipt of annual fees

Free format text: JAPANESE INTERMEDIATE CODE: R250

R250 Receipt of annual fees

Free format text: JAPANESE INTERMEDIATE CODE: R250

S531 Written request for registration of change of domicile

Free format text: JAPANESE INTERMEDIATE CODE: R313531

R350 Written notification of registration of transfer

Free format text: JAPANESE INTERMEDIATE CODE: R350

R250 Receipt of annual fees

Free format text: JAPANESE INTERMEDIATE CODE: R250

S533 Written request for registration of change of name

Free format text: JAPANESE INTERMEDIATE CODE: R313533

R350 Written notification of registration of transfer

Free format text: JAPANESE INTERMEDIATE CODE: R350

R250 Receipt of annual fees

Free format text: JAPANESE INTERMEDIATE CODE: R250

R250 Receipt of annual fees

Free format text: JAPANESE INTERMEDIATE CODE: R250

R250 Receipt of annual fees

Free format text: JAPANESE INTERMEDIATE CODE: R250