JP5116948B2 - 椅子の背凭れ装置 - Google Patents

椅子の背凭れ装置 Download PDF

Info

Publication number
JP5116948B2
JP5116948B2 JP2005100673A JP2005100673A JP5116948B2 JP 5116948 B2 JP5116948 B2 JP 5116948B2 JP 2005100673 A JP2005100673 A JP 2005100673A JP 2005100673 A JP2005100673 A JP 2005100673A JP 5116948 B2 JP5116948 B2 JP 5116948B2
Authority
JP
Japan
Prior art keywords
mounting
lumbar support
front surface
guide
pad material
Prior art date
Legal status (The legal status is an assumption and is not a legal conclusion. Google has not performed a legal analysis and makes no representation as to the accuracy of the status listed.)
Expired - Fee Related
Application number
JP2005100673A
Other languages
English (en)
Other versions
JP2006280417A (ja
Inventor
洋一郎 小田
Current Assignee (The listed assignees may be inaccurate. Google has not performed a legal analysis and makes no representation or warranty as to the accuracy of the list.)
Okamura Corp
Original Assignee
Okamura Corp
Priority date (The priority date is an assumption and is not a legal conclusion. Google has not performed a legal analysis and makes no representation as to the accuracy of the date listed.)
Filing date
Publication date
Application filed by Okamura Corp filed Critical Okamura Corp
Priority to JP2005100673A priority Critical patent/JP5116948B2/ja
Publication of JP2006280417A publication Critical patent/JP2006280417A/ja
Application granted granted Critical
Publication of JP5116948B2 publication Critical patent/JP5116948B2/ja
Anticipated expiration legal-status Critical
Expired - Fee Related legal-status Critical Current

Links

Images

Landscapes

  • Chair Legs, Seat Parts, And Backrests (AREA)

Description

本発明は、ランバーサポートを備える椅子の背凭れ装置に係り、特に、ランバーサポート本体の構造に関する。
椅子の背凭れにランバーサポートを取付けた背凭れ装置は、例えば特許文献1に記載されており、公知である。
特開2004−49656号公報
上記特許文献1に記載されている背凭れ装置のランバーサポートは、背枠の中央部に上下位置調節可能として取付けたランバーサポート本体の前面に、単に所要厚さのクッション材を固定したのみであるため、ランバーサポート本体を硬質材(通常、硬質合成樹脂製とすることが多い)とすると、背や腰部をランバーサポートに押し当てた際におけるクッション材の弾性変形量は限られる。
そのため、背や腰部に、ランバーサポートより比較的大きな反力が加わり、快適さが損なわれる。
また、ランバーサポート本体及びクッション材の正面形は、ほぼ逆三角形をなしているため、背や腰部を広範囲に、かつ快適に支えることができない。
本発明は、上記問題点に鑑みてなされたもので、背や腰部を快適に支えうるランバーサポート本体を備える椅子の背凭れ装置を提供することを目的としている。
本発明によると、上記課題は、次のようにして解決される。
(1)背枠の前面に可撓性の背当て材を張設し、この背当て材の後面において前記背枠に、ランバーサポート取付部材とランバーサポート本体とからなるランバーサポートを設けてなる椅子の背凭れ装置において、前記ランバーサポート本体を、前記ランバーサポート取付部材の前面に上下位置調節可能として取付けたベース部材と、上下両端に後方を向く取付片が連設され、この上下の取付片の後端を前記ベース部材の前面に止着することにより、左右両側面が開口し、かつ縦断面形状が前方に凸状に湾曲する側面視ほぼかまぼこ状とした弾性変形可能な横長のパッド材とよりなるものとする。
(2)上記(1)項において、パッド材を、エラストマーよりなる半硬質材により形成する。
(3)上記(1)項または(2)項において、パッド材の下部の取付片の前後寸法を、上部の取付片の前後寸法よりも長寸とすることにより、前面が下方に向かって漸次前方に突出する湾曲面とする。
(4)上記(1)〜(3)項のいずれかにおいて、上下の取付片の後端に、上下方向を向く係合爪を有する左右複数の係合片を、後向きに突設し、この各係合片の係合爪を、ベース部材の上下の端部に穿設された前方に開口する取付孔に係合させることにより、パッド材をベース部材の前面に止着する。
(5)上記(1)〜(4)項のいずれかにおいて、パッド材の前面を、平面視において、左右両端から中央部に向かって漸次後方にほぼ円弧状に湾曲する湾曲面とする。
(6)上記(1)〜(5)項のいずれかにおいて、パッド材の上下両面を、正面視において、左右両端から中央部に向かって互いに漸次接近するようにほぼ円弧状に湾曲する湾曲面とし、中央部をくびれさせる。
(7)上記(6)項において、下部の湾曲面の曲率を、上部の湾曲面の曲率よりも小とする。
請求項1記載の発明によれば、ランバーサポート本体に背や腰部を押し当てた際に、中空状のパッド材が後方に弾性変形して、背や腰部に加わる反力を緩和するため、背や腰部を快適に支持することができる。
また、パッド材は、側面視ほぼかまぼこ状の断面形状をなし、かつ上下の取付片の後端のみがベース部材に止着されているため、背や腰部を押し当てた際、パッド材は上下方向に膨らむように弾性変形し、背や腰部が広範囲に、かつ快適に支持されるようになる。
請求項2記載の発明によれば、パッド材に背や腰部を押し当てたときの感触がよく、かつパッド材全体が過度に弾性変形することがないので、背や腰部の支持力が低下するのが防止される。
請求項記載の発明によれば、背や腰部からの荷重が、パッド材の前面上部に加わると、下方ほど弾性変形し易くなり、パッド材の下部側が前方に膨出するようになる。これにより、可撓性の背当て材が張設された背凭れであっても、着座者の腰椎部等が効果的に支持されることとなる。
請求項記載の発明によれば、ベース部材の前面に、パッド材を、ねじ等の固定手段を用いることなく容易に止着することができ、かつ部品点数も削減される。
請求項記載の発明によれば、背や腰部の後面が、パッド材の前面に広く当接し、広範囲に支持されるので、疲労感が緩和される。
請求項記載の発明によれば、パッド材の正面形は、中央部がくびれた形状をなし、中央部が両側部よりも大きく後方に弾性変形しうるようになるため、背や腰部の後面の両側部も広範囲に、かつ安定的に支持される。
請求項記載の発明によれば、パッド材の下部側の変形抵抗が、上部側に比して大となるため、背や腰部の下部の支持力も大きくなる。
以下、本発明の実施形態を、図面に基づいて説明する。
図1は、本発明の背凭れ装置を備える椅子の正面図、図2は、同じく側面図で、椅子(1)は、前端にキャスタ(2)が取付けられた放射方向を向く5本の脚杆(3)よりなる脚体(4)と、この脚体(4)の中央に立設され、ガススプリング(図示略)の伸縮により上下位置を調節しうる脚柱(5)と、その上端に後部が固着され、前部両側面に左右に延出する座支持アーム(6a)(6a)を有する支基(6)とを備えている。
支基(6)の前後方向の中央部には、左右方向を向く六角軸よりなる枢軸(7)が貫通しており、この枢軸(7)の両端には、背凭れ(8)を支持する左右1対の背凭れ支持杆(9)(9)における前方を向く下部前端部に形成された筒部(9a)(9a)が固嵌されている。
背凭れ(8)と背凭れ支持杆(9)とは、枢軸(7)を中心として一体的に、支基(6)に対して回動しうるようになっている。
左右の背凭れ支持杆(9)における枢軸(7)よりも若干後方には、短寸の起立アーム(10)(10)が上向きに突設され、各起立アーム(10)の上端には、座(11)の両側下部を支持する前後方向を向く1対の座受けフレーム(12)(12)の後端部が、左右方向を向く枢軸(13)により、それぞれ枢着されている。
左右の座受けフレーム(12)の前端部は、支基(6)における左右の座支持アーム(6a)により支持されている。
(14)(14)は、左右の背凭れ支持杆(9)に取付けられた肘掛けである。
背凭れ(8)は、正面視概ね方形枠状をなす合成樹脂製の背枠(15)の前面に、伸縮性又は可撓性を有するメッシュ部材や多孔性シート部材などよりなる背当て材(16)を張設したものよりなり、上下方向の中央よりもやや下方において側面視くの字状に折曲されている。
背当て杆(16)の後方において背枠(15)のやや下方寄りの折曲部付近には、ランバーサポート(17)が取付けられている。
図3〜図5に示すように、ランバーサポート(17)は、背枠(15)に取付けられるランバーサポート取付部材(以下、取付部材と略称する)(18)と、硬質合成樹脂よりなる左右1対のガイド部材(19)(19)と、ランバーサポート本体(20)とよりなっている。
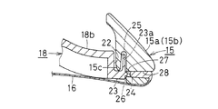
取付部材(18)は、硬質合成樹脂により形成され、背枠(15)内のやや下方寄りの中央部に配置される正面視概ね方形の垂直板状をなす基板(18a)と、その四隅部より、背枠(15)における左右のほぼ垂直をなす側枠(15a)(15a)方向と、下方に向かって漸次内向きに傾斜する左右の傾斜側枠(15b)(15b)方向に延びる4本の取付アーム(18b)とからなり、外周縁に前方を向く縁片(18c)を連設することにより、厚さ方向の撓み剛性を高めている。
基板(18a)は、図5に示すように、前向き凸状に湾曲する円弧状断面をなし、その両側部前面には、左右2条よりなる1対の上下方向のガイドレール(21)(21)が、一体的に突設されている。両ガイドレール(21)の上下の端部には、ストッパ片(21a)(21a)が前向きに連設され、上下のストッパ片(21a)間のガイドレール(21)の前端は、前向き凸状に湾曲する円弧面とされている。
図6に示すように、各取付アーム(18b)(同一構造につき、右上部のもののみ図示する)の先端には、上下と後方に開口する係合溝(22)を有する平面視後向コ字状断面の係止部(23)が連設され、この係止部(23)の外面の前端部には、上下方向を向く係止突起(24)が外向きに突設されている(図3参照)。
背枠(15)における左右の側枠(15a)と傾斜側枠(15b)との内周縁部側の前面には、図6に示すように、後向きに凹入するとともに、前方に開口する上下方向の係合溝(25)が形成されている。
なお、傾斜側枠(15b)は、斜め上下方向に傾斜しているため、それに形成されている係合溝(25)、取付部材(18)の下部の係止部(23)及びその外面に突設されている係止突起(24)も、傾斜側枠(15b)と同方向に傾斜している。
背枠(15)における係合溝(25)が形成されている内周縁側の前面は、外周縁側の前面よりも後方に位置し、係合溝(25)よりも前方に突出する内側面(26)は、取付アーム(18b)を係合溝(25)に嵌合する際の案内面をなすとともに、取付アーム(18b)の外側方への移動を規制する規制面とされている。
上記内側面(26)における4本の各取付アーム(18b)の取付部には、それらの係止部(23)の外面に突設した係止突起(24)が係合可能な、内方に開口する係合孔(27)が、上下方向(下部のものは斜め上下方向)に向かって形成されている。この係合孔(27)は、図6に示すように、背枠(15)の前端部に形成された、背当て材(16)の外周縁を嵌合して係止するための外方に開口する係合溝(28)と連通するように形成されている。
このようにすると、係合溝(28)に外方より差し込んだドライバ等により、係合孔(27)に係合している係止突起(24)を内方に押圧し、それらの係合を外すことができる。
各取付アーム(18b)の係止部(23)における外側片(23a)と、側枠(15a)の内側片(15c)とを、それぞれ側枠(15a)の係合溝(25)と係止部(23)の係合溝(22)とに互いに嵌合させるとともに、係止部(23)の係止突起(24)を、側枠(15a)の係合孔(27)に係合させることにより、取付部材(18)は、背枠(15)に取付けられている。
この際、背当て材(16)を張設する前であれば、背枠(15)の前方から取付部材(18)を簡単に取付けることができるが、背枠(15)の後方において取付部材(18)全体を内向きに若干弾性変形させ、各取付アーム(18b)の係止部(23)を側枠(15a)と傾斜側枠(15b)の前方に位置させれば、背当て材(16)を張設した後でも取付けることができる。
取付部材(18)の取付後において、その上部の取付アーム(18b)の係止部(23)に突設された係止突起(24)と、それが係合される係合孔(27)は、上下方向を向き、下部の取付アーム(18b)の係止部(23)に突設された係止突起(24)とその係合孔(27)は、斜め上下方向を向いているため、取付部材(18)に上下方向の力が加わった際に異なる方向の分力が作用し、取付部材(18)が背枠(15)より外れにくくなる。
また、背枠(15)における係合溝(25)が形成されている内周縁側の前面は、外周縁側の前面よりも後方に位置し、係合溝(25)に嵌合した取付部材(18)の側端が外側方から見えないので、体裁がよくなる。
上述した左右のガイド部材(19)(19)は、上記取付部材(18)のガイドレール(21)とほぼ同じ曲率で湾曲する円弧状に形成することにより、左右のガイドレール(21)と対をなすガイドレールとしての機能を有し、その上下寸法は、取付部材(18)の基板(18a)の上下寸法よりも若干小さく、かつ左右寸法は、ガイドレール(21)の前面をほぼ覆いうる寸法とされている。
ガイド部材(19)の外側縁には、上下方向を向くガイド片(19a)が、後向きに突設されている(図3、図4参照)。
図5に示すように、ガイド部材(19)の上下の端部には、後向きに延出するとともに、後端がほぼ垂直面をなす取付部(19b)(19b)が形成されている。
取付部材(18)の基板(18a)の前面には、ガイド部材(19)取付け用の取付座(29)が、左右のガイドレール(21)の上下の端部と連続するように突設され、左右における上下の取付座(29)(29)の前端に、ガイド部材(19)の上下の取付部(19b)(19b)の後端を当接させ、取付部(19b)の通孔(30)に前方より挿入した止めねじ(31)を、取付座(29)のめねじ孔(32)に螺合することにより、左右のガイド部材(19)は、取付部材(18)の基板(18b)の前面に、ガイドレール(21)を覆うようにして取付けられている(図3、図5参照)。
この取付後において、ガイド部材(19)とガイドレール(21)との間には、前向き凸状に湾曲する上下方向を向く円弧状のガイド長孔(33)が形成され、このガイド長孔(33)の上下両端は、ガイドレール(21)に突設されている上下のストッパ片(21a)(21a)により閉じられている(図5参照)。
左右のガイド部材(19)の前面には、若干横長の複数の停止溝(34)が、上下方向に一定間隔おきに形成されている。
上述したランバーサポート本体(20)は、硬質合成樹脂製のベース部材(35)と、その前面に取付けられる若干軟質のパッド材(36)とよりなっている。
ベース部材(35)は、左右寸法が左右のガイド部材(19)の外側面間の離間寸法よりも若干大きい寸法のほぼ長方形をなす枠板状をなし、その左右両側面の中央部には、図3及び図4に示すように、斜め後ろ外方を向く取っ手(37)(37)が一体的に突設されている。
ベース部材(35)における上片(35a)と下片(35b)との左右両側部の対向面には、上下方向を向く1対の取付片(38)(38)が、後方に所要寸法突出するとともに、その突出部の外側面が左右のガイド部材(19)の内側面と近接するようにして、一体的に設けられている。
左右の取付片(38)の対向面の中央部同士は、それらと連続する左右方向を向く水平リブ(39)により連結されている。
左右の取付片(38)における外側面の前端中央部には、それぞれ外向きに突出する弾性舌片(40)(40)が、前後方向に弾性変形しうるように一体的に連設されている。この両弾性舌片(40)の後面には、上記左右のガイド部材(19)の前面に形成されている停止溝(34)に選択的に弾性係合しうる係合突部(41)(41)が、後向きに突設されている(図5参照)。
左右の取付片(38)における上記弾性舌片(40)よりも後方の外側面には、上下1対のガイド軸(42)(42)が、弾性舌片(40)の上方と下方に所要寸法離間するようにして、外向きに突設されている。
図5に示すように、左右の上下1対のガイド軸(42)(42)は、それぞれ、ガイド部材(19)とガイドレール(21)との対向面に形成されているガイド長孔(33)内に、上下に摺動可能に嵌合され、この嵌合時において、各ガイド軸(42)の側端が、ガイド部材(19)の側縁のガイド片(19a)に近接又は摺接するとともに、左右の弾性舌片(40)の係合突部(41)は、各ガイド部材(19)の前面に、弾性舌片(40)を僅かに前方に弾性変形させて圧接するようになっている。
これにより、ベース部材(35)は、取付部材(18)に、上下に移動可能かつ停止溝(34)により段階的に高さ調節可能として取付けられる。
なお、ガイド軸(42)をガイド長孔(33)に嵌合するには、ガイド部材(19)を取付部材(18)に固定する前に行う。すなわち、ガイド部材(19)を弾性舌片(40)と上下のガイド軸(42)との間に挟入し、この状態で、ガイド軸(42)の後面をガイドレール(21)の前面に当接させて、ガイド部材(19)の上下の端部を取付部材(18)に固定すれば、ガイド軸(42)は、必然的にガイド長孔(33)内に位置することとなる。
ベース部材(35)における上片(35a)と下片(35b)とには、パッド材(36)取付用の左右方向を向く複数の取付孔(43)が貫設されている。
上部の各取付孔(43)の内面上部には、下向きの係止段部(43a)が、また下部の各取付孔(43)の内面下部には、上向きの係止段部(43a)が、それぞれ形成されている(図5参照)。
上記パッド材(36)は、可撓性と弾性を有する半硬質材、例えば硬度80〜90(ショアAスケール)の範囲のポリウレタン系エラストマーにより、後面と左右両側面が開口された中空状に形成されている。
図5に示すように、パッド材(36)の断面形状は、下部の後方を向く取付片(36a)の前後寸法が、上部の取付片(36b)よりも若干長寸をなすとともに、前面が下方に向かって漸次前方に突出する湾曲面をなす、ほぼかまぼこ状断面とされている。
また、パッド材(36)の上下両面は、正面視において、図7に示すように、下部の取付片(36a)の下面と上部の取付片(36b)の上面とを、左右両端から中央部に向かって互いに漸次接近するようにほぼ円弧状に湾曲することにより、中央部がくびれたほぼ鼓状の湾曲面としてある。下部の湾曲面の曲率は、上部のそれよりも小とされている。
さらに、パッド材(36)の前面は、図8に示すように、平面視において、左右両端から中央部に向かって漸次後方になだらかに湾曲するほぼ円弧状の湾曲面とされている。
図5及び図8に示すように、パッド材(36)における上下の取付片(36a)(36b)の後端には、先端にそれぞれ上方と下方を向く係合爪(44a)を有する複数の係合片(44)が、後向きに突設され、この上下の各係合片(44)を、上記ベース部材(35)における上片(35a)と下片(35b)とに形成された複数の取付孔(43)に嵌合し、その内部の係止段部(43a)に係合爪(44a)を係合させることにより、パッド材(36)は、ベース部材(35)の前面に取付られている。
このような構成よりなるランバーサポート(17)は、全ての部材を取付部材(18)の前面に組付けたのち、この取付部材(18)の上下左右の4本の取付アーム(18b)に形成されている係止部(23)と係止突起(24)を、上述した要領で、左右の側枠(15a)と傾斜側枠(15b)の係合溝(25)と係合孔(27)に係合させることにより、背枠(15)の下方寄りの中央部に取付けられる。
図9は、ランバーサポート(17)の使用例を略示するもので、(a)は、ランバーサポート本体(20)を下限までスライドさせた状態を、(b)は、同じく上限までスライドさせた状態を、それぞれ示している。なお、実線(45)は、着座者の背中を示している。
ランバーサポート本体(20)の上下位置を調節するには、ベース部材(35)の左右の取っ手(37)を両手で把持して、上下方向に強く押動すればよい。
すると、ベース部材(35)における左右の上下1対のガイド軸(42)が、取付部材(18)の左右のガイドレール(21)と1対のガイド部材(19)との間のガイド長孔(33)に沿って上下方向に摺動し、かつ上下のガイド軸(42)間の弾性舌片(40)も、ガイド部材(19)の前面と摺接しながら上下方向に移動することにより、弾性舌片(40)に突設した係合突部(41)が、ガイド部材(19)の前面の上下複数の停止溝(34)のいずれかに突入して弾性係合する。
これにより、ベース部材(35)とパッド材(36)すなわちランバーサポート本体(20)は、任意の上下位置に停止保持され、着座者の腰部や背中(45)の一部を、それぞれの好みに応じて支持することができる。
ランバーサポート本体(20)は、その左右両側部が、ガイド部材(19)とガイドレール(21)との間のガイド長孔(33)に案内されて上下動し、かつ上下及び左右1対のガイド軸(42)と、上下のガイド軸(42)の間に位置する左右の弾性舌片(40)とにより、ガイド部材(19)を挟持しており、さらに、左右のガイド軸(42)の側端は、図4に示すように、ガイド部材(19)のガイド片(19a)に近接又は摺接しているため、ランバーサポート本体(20)は、左右方向へのがた付きが防止されて、取付部材(18)の前方を安定して上下動させることができる。
ランバーサポート本体(20)のパッド材(36)は、可撓性と弾性を有する半硬質のエラストマーにより中空状に形成されており、背中や腰部を押し当てた際に適度に弾性変形し、クッション性を有するため、背中や腰部を快適に支持することができる。しかも、パッド材(36)の断面形状は、下部の取付片(36a)の前後寸法が上部の取付片(36b)よりも長寸で、かつ前面が下方に向かって漸次前方に突出する湾曲面とされた、ほぼかまぼこ状をなしているため、図5に示すように、背中や腰部よりの荷重が、矢印のようにパッド材(36)の前面に斜め下向きに加わった際に、下方ほど撓み易くなり、2点鎖線のように、上部側が後方に凹むのに対し、下部側が前方に膨出する。これにより、着座者の腰椎部等が強く押圧され、その部分の支持力が大となるため、クッション材のないメッシュ状の背当て材(16)を張設した背凭れ(8)に対し、腰椎部等が効果的に支持される。
また、パッド材(36)の正面形状は、中央部がくびれた、ほぼ鼓状とされているため、背中や腰部を押し当てた際に、中央部が両側部よりも大きく弾性変形し、背中や腰部の中央部と左右両側部を広範囲に、かつ安定して支持することができる。しかも、下面の曲率を、上面よりも小さくしてあるため、パッド材(36)の下部側の変形抵抗が増し、背中や腰部の下部の支持力が大となる。
さらに、パッド材(36)の平面視における前面の形状は、後方になだらかに湾曲する円弧状の湾曲面としてあるため、背中や腰部のどの部分でも、パッド材(36)の前面により広く支持され、疲労感が緩和される。
上記実施形態においては、ガイドレールの一部をなすガイド部材(19)の前面に複数の停止溝(34)を、ランバーサポート本体(20)のベース部材(35)の後面の弾性舌片(40)に、停止溝(34)と弾性係合する係合突部(41)をそれぞれ設けているが、これとは反対に、ベース部材(35)の後面側に複数の停止溝を、かつガイド部材(19)側に係合突部をそれぞれ設けることもある。
また、ガイドレール(21)の前方への突出寸法を大とし、これに、上記と同様のガイド長孔(33)を直接形成するとともに、前面に複数の停止溝(34)を設ければ、ガイド部材(19)を省略することもできる。この際には、ランバーサポート本体(20)におけるベース部材(35)の1対の取付片(38)に、例えば左右方向を向く長寸の、又は短寸の左右2個のガイド軸等を挿通し、このガイド軸を、左右のガイドレールのガイド長孔に上下に摺動可能に嵌合すればよい。
背枠(15)に取付部材(18)の各取付アーム(18b)を取付けるに際し、取付けアーム(18b)の係止部(23)の外側面に突設した係止突起(23)を、背枠(15)に形成した係合孔(27)に係合させているが、これとは反対に、背枠(15)側に係止突起を設け、これに、係止部(23)の外側面に設けた係合孔を係合させるようにすることもできる。
本発明の背凭れ装置を備える椅子の正面図である。 同じく側面図である。 同じく、ランバーサポートの分解斜視図である。 図1のIV−IV線拡大横断端面図である。 同じく、V−V線拡大縦断端面図である。 同じく、VI−VI線拡大横断平面図である。 ランバーサポートのパッド材の正面図である。 同じく平面図である。 ランバーサポートの使用例を示す概略縦断側面図である。
(1)椅子
(2)キャスタ
(3)脚杆
(4)脚体
(5)脚柱
(6)支基
(6a)座支持アーム
(7)枢軸
(8)背凭れ
(9)背凭れ支持杆
(9a)筒部
(10)起立アーム
(11)座
(12)座受けフレーム
(13)枢軸
(14)肘掛け
(15)背枠
(15a)側枠
(15b)傾斜側枠
(15c)内側片
(16)背当て材
(17)ランバーサポート
(18)ランバーサポート取付部材
(18a)基板
(18b)取付アーム
(18c)縁片
(19)ガイド部材
(19a)ガイド片
(19b)取付部
(20)ランバーサポート本体
(21)ガイドレール
(21a)ストッパ片
(22)係合溝
(23)係止部
(23a)外側片
(24)係止突起
(25)係合溝
(26)内側面
(27)係合孔
(28)係合溝
(29)取付座
(30)通孔
(31)止めねじ
(32)めねじ孔
(33)ガイド長孔
(34)停止溝
(35)ベース部材
(35a)上片
(35b)下片
(36)パッド材
(36a)(36b)取付片
(37)取っ手
(38)取付片
(39)水平リブ
(40)弾性舌片
(41)係合突部
(42)ガイド軸
(43)取付孔
(43a)係止段部
(44)係合片
(44a)係合爪
(45)背中

Claims (7)

  1. 背枠の前面に可撓性の背当て材を張設し、この背当て材の後面において前記背枠に、ランバーサポート取付部材とランバーサポート本体とからなるランバーサポートを設けてなる椅子の背凭れ装置において、
    前記ランバーサポート本体を、前記ランバーサポート取付部材の前面に上下位置調節可能として取付けたベース部材と、上下両端に後方を向く取付片が連設され、この上下の取付片の後端を前記ベース部材の前面に止着することにより、左右両側面が開口し、かつ縦断面形状が前方に凸状に湾曲する側面視ほぼかまぼこ状とした弾性変形可能な横長のパッド材とよりなるものとしたことを特徴とする椅子の背凭れ装置。
  2. パッド材を、エラストマーよりなる半硬質材により形成してなる請求項1記載の椅子の背凭れ装置。
  3. パッド材の下部の取付片の前後寸法を、上部の取付片の前後寸法よりも長寸とすることにより、前面が下方に向かって漸次前方に突出する湾曲面としてなる請求項1または2記載の椅子の背凭れ装置。
  4. 上下の取付片の後端に、上下方向を向く係合爪を有する左右複数の係合片を、後向きに突設し、この各係合片の係合爪を、ベース部材の上下の端部に穿設された前方に開口する取付孔に係合させることにより、パッド材をベース部材の前面に止着した請求項1〜3のいずれかに記載の椅子の背凭れ装置。
  5. パッド材の前面を、平面視において、左右両端から中央部に向かって漸次後方にほぼ円弧状に湾曲する湾曲面としてなる請求項1〜のいずれかに記載の椅子の背凭れ装置。
  6. パッド材の上下両面を、正面視において、左右両端から中央部に向かって互いに漸次接近するようにほぼ円弧状に湾曲する湾曲面とし、中央部をくびれさせてなる請求項1〜のいずれかに記載の椅子の背凭れ装置。
  7. 下部の湾曲面の曲率を、上部の湾曲面の曲率よりも小としてなる請求項記載の椅子の背凭れ装置。
JP2005100673A 2005-03-31 2005-03-31 椅子の背凭れ装置 Expired - Fee Related JP5116948B2 (ja)

Priority Applications (1)

Application Number Priority Date Filing Date Title
JP2005100673A JP5116948B2 (ja) 2005-03-31 2005-03-31 椅子の背凭れ装置

Applications Claiming Priority (1)

Application Number Priority Date Filing Date Title
JP2005100673A JP5116948B2 (ja) 2005-03-31 2005-03-31 椅子の背凭れ装置

Related Child Applications (1)

Application Number Title Priority Date Filing Date
JP2012209057A Division JP5600151B2 (ja) 2012-09-24 2012-09-24 椅子の背凭れ装置

Publications (2)

Publication Number Publication Date
JP2006280417A JP2006280417A (ja) 2006-10-19
JP5116948B2 true JP5116948B2 (ja) 2013-01-09

Family

ID=37402950

Family Applications (1)

Application Number Title Priority Date Filing Date
JP2005100673A Expired - Fee Related JP5116948B2 (ja) 2005-03-31 2005-03-31 椅子の背凭れ装置

Country Status (1)

Country Link
JP (1) JP5116948B2 (ja)

Families Citing this family (6)

* Cited by examiner, † Cited by third party
Publication number Priority date Publication date Assignee Title
JP5882684B2 (ja) * 2011-11-04 2016-03-09 株式会社岡村製作所 椅子
JP5917887B2 (ja) * 2011-11-04 2016-05-18 株式会社岡村製作所 椅子
EP2774512B1 (en) 2011-11-04 2017-07-05 Okamura Corporation Chair
JP5993585B2 (ja) * 2012-03-05 2016-09-14 コクヨ株式会社 椅子
JP6198319B2 (ja) * 2013-10-30 2017-09-20 株式会社岡村製作所 椅子
JP5764233B2 (ja) * 2014-03-31 2015-08-19 株式会社イトーキ 背もたれ付き椅子

Family Cites Families (2)

* Cited by examiner, † Cited by third party
Publication number Priority date Publication date Assignee Title
JPS61228929A (ja) * 1985-04-03 1986-10-13 Kyoraku Co Ltd 中空成形装置
JP4133067B2 (ja) * 2002-07-22 2008-08-13 株式会社岡村製作所 椅子の背凭れ装置

Also Published As

Publication number Publication date
JP2006280417A (ja) 2006-10-19

Similar Documents

Publication Publication Date Title
JP6572266B2 (ja) 椅子
KR102433495B1 (ko) 자세 유지구
WO2010044331A1 (ja) 椅子
US7780237B2 (en) Headrest for child seat
JP5026127B2 (ja) 椅子におけるランバーサポート装置
JP5116948B2 (ja) 椅子の背凭れ装置
JP6140419B2 (ja) ランバーサポート及び椅子
JP4823548B2 (ja) 椅子の背凭れ装置
JP2019084337A (ja) ランバーサポート装置付き椅子
JP5600151B2 (ja) 椅子の背凭れ装置
KR102111209B1 (ko) 등쿠션
JP4919376B2 (ja) 背もたれ付き椅子
JP4964427B2 (ja) 椅子の背凭れ装置
JP2009011694A (ja) 椅子の背もたれ又は座及び椅子
JP2006231088A (ja) 椅子用基板および椅子
JP4255804B2 (ja) 椅子
JP7245000B2 (ja) 椅子のランバーサポート装置
JP6343801B2 (ja) 椅子の面材取付構造、椅子の身体支持部材及び椅子
JPH0795913A (ja) 背もたれ付き椅子
JP2006347436A (ja) 車両用シート
WO2023047634A1 (ja) 椅子の荷重支持構造体及び椅子
KR20120055217A (ko) 요추받침 기능을 갖는 의자용 등받이
JP4061103B2 (ja) 椅子の座の構造
JP7693314B2 (ja) 椅子及びその背もたれ
JP4491319B2 (ja) 椅子の背凭れ装置

Legal Events

Date Code Title Description
A621 Written request for application examination

Free format text: JAPANESE INTERMEDIATE CODE: A621

Effective date: 20080121

A977 Report on retrieval

Free format text: JAPANESE INTERMEDIATE CODE: A971007

Effective date: 20100405

A131 Notification of reasons for refusal

Free format text: JAPANESE INTERMEDIATE CODE: A131

Effective date: 20110222

A521 Request for written amendment filed

Free format text: JAPANESE INTERMEDIATE CODE: A523

Effective date: 20110421

A02 Decision of refusal

Free format text: JAPANESE INTERMEDIATE CODE: A02

Effective date: 20111108

A521 Request for written amendment filed

Free format text: JAPANESE INTERMEDIATE CODE: A523

Effective date: 20120207

A911 Transfer to examiner for re-examination before appeal (zenchi)

Free format text: JAPANESE INTERMEDIATE CODE: A911

Effective date: 20120215

A912 Re-examination (zenchi) completed and case transferred to appeal board

Free format text: JAPANESE INTERMEDIATE CODE: A912

Effective date: 20120330

A521 Request for written amendment filed

Free format text: JAPANESE INTERMEDIATE CODE: A523

Effective date: 20120924

A01 Written decision to grant a patent or to grant a registration (utility model)

Free format text: JAPANESE INTERMEDIATE CODE: A01

A61 First payment of annual fees (during grant procedure)

Free format text: JAPANESE INTERMEDIATE CODE: A61

Effective date: 20121017

R150 Certificate of patent or registration of utility model

Ref document number: 5116948

Country of ref document: JP

Free format text: JAPANESE INTERMEDIATE CODE: R150

Free format text: JAPANESE INTERMEDIATE CODE: R150

FPAY Renewal fee payment (event date is renewal date of database)

Free format text: PAYMENT UNTIL: 20151026

Year of fee payment: 3

R250 Receipt of annual fees

Free format text: JAPANESE INTERMEDIATE CODE: R250

R250 Receipt of annual fees

Free format text: JAPANESE INTERMEDIATE CODE: R250

R250 Receipt of annual fees

Free format text: JAPANESE INTERMEDIATE CODE: R250

R250 Receipt of annual fees

Free format text: JAPANESE INTERMEDIATE CODE: R250

S533 Written request for registration of change of name

Free format text: JAPANESE INTERMEDIATE CODE: R313533

R350 Written notification of registration of transfer

Free format text: JAPANESE INTERMEDIATE CODE: R350

R250 Receipt of annual fees

Free format text: JAPANESE INTERMEDIATE CODE: R250

R250 Receipt of annual fees

Free format text: JAPANESE INTERMEDIATE CODE: R250

R250 Receipt of annual fees

Free format text: JAPANESE INTERMEDIATE CODE: R250

LAPS Cancellation because of no payment of annual fees