JP5113594B2 - 線状光源装置、および面状照明装置 - Google Patents

線状光源装置、および面状照明装置 Download PDF

Info

Publication number
JP5113594B2
JP5113594B2 JP2008096673A JP2008096673A JP5113594B2 JP 5113594 B2 JP5113594 B2 JP 5113594B2 JP 2008096673 A JP2008096673 A JP 2008096673A JP 2008096673 A JP2008096673 A JP 2008096673A JP 5113594 B2 JP5113594 B2 JP 5113594B2
Authority
JP
Japan
Prior art keywords
lead frame
light source
source device
resin sealing
light
Prior art date
Legal status (The legal status is an assumption and is not a legal conclusion. Google has not performed a legal analysis and makes no representation as to the accuracy of the status listed.)
Expired - Fee Related
Application number
JP2008096673A
Other languages
English (en)
Other versions
JP2009252419A (ja
Inventor
大輔 中山
宇洋 志村
英樹 加藤
一弘 田中
Current Assignee (The listed assignees may be inaccurate. Google has not performed a legal analysis and makes no representation or warranty as to the accuracy of the list.)
Minebea Co Ltd
Original Assignee
Minebea Co Ltd
Priority date (The priority date is an assumption and is not a legal conclusion. Google has not performed a legal analysis and makes no representation as to the accuracy of the date listed.)
Filing date
Publication date
Application filed by Minebea Co Ltd filed Critical Minebea Co Ltd
Priority to JP2008096673A priority Critical patent/JP5113594B2/ja
Publication of JP2009252419A publication Critical patent/JP2009252419A/ja
Application granted granted Critical
Publication of JP5113594B2 publication Critical patent/JP5113594B2/ja
Expired - Fee Related legal-status Critical Current
Anticipated expiration legal-status Critical

Links

Images

Landscapes

  • Non-Portable Lighting Devices Or Systems Thereof (AREA)
  • Planar Illumination Modules (AREA)
  • Led Device Packages (AREA)
  • Liquid Crystal (AREA)
  • Arrangement Of Elements, Cooling, Sealing, Or The Like Of Lighting Devices (AREA)

Description

本発明は、複数のベアチップ状の発光素子を一方向に配設して構成された線状光源装置と、それを用いたサイドライト方式の面状照明装置に関し、特に、比較的表示領域の大きい液晶表示パネル用のバックライトに適した面状照明装置に関するものである。
薄型であること等に特徴を有する液晶表示パネルは、自ら発光しないことから、画像を表示するには照明手段が必要となる。この照明手段としては、光源を導光板の側面(入光面)に配置した所謂サイドライト方式の面状照明装置が、薄型化に有利であることから、携帯電話等の小型携帯情報機器の分野を中心に広く採用されている。そして、導光板の入光面に配置される光源としては、小型化や低消費電力化などに優れたLED(Light Emitting Diode;発光ダイオード)が多用されている。
近時では、LEDを光源としたサイドライト方式の面状照明装置の高性能化に伴い、その適用分野は広がりを見せ、例えばカーナビゲーションやノート型パソコン、デスクトップ型パソコンなどに用いられる比較的表示領域の大きい液晶表示パネル(以下、中型液晶表示パネルという)にも適用されつつある。
このように、LEDを光源としたサイドライト方式の面状照明装置を中型液晶表示パネルに適用するには、照明領域の拡大に対応して、導光板の入光面により多くのLEDを配置させるか、LEDに供給する電流を大きくして1個当りのLEDの出射光量を大きくする必要がある。LEDの個数を増加させる手段としては、従来の1つのパッケージに1つのLEDチップ(LEDベアチップ)を配置して構成された点状光源に代えて、1つのパッケージに複数のLEDチップを一方向(直線状)に近接配置して構成された線状光源を用いることが検討されている。
1つのパッケージに複数のLEDチップを配置して構成された光源として、例えば、図13に示す線状照明装置70が知られている。線状照明装置70は、白色に塗装された絶縁性基板71上に実装された複数(3個)のLEDチップ72を透光性封止樹脂73で樹脂封止して構成されている。また、絶縁性基板71の両端部には、白色樹脂により形成されたハウジング(枠体)74が取り付けられている。そして、絶縁性基板71にはリード線が接続され、このリード線を介して絶縁性基板71に実装されたLEDチップ72に電力が供給されるように構成されている(特許文献1参照)。
特開2004−165124号公報
ところで、比較的多くのLEDチップを互いに近接して配置させた場合には、LEDチップの発光にともなう発熱によってLEDチップの温度が上昇し、LEDチップの発光効率が低下し製品寿命が短くなるという問題があった。
また、複数のLEDチップからなる単位線状光源を導光板の入光面に沿って複数配置させた場合には、LEDに電力を供給する配線回りが複雑になることから、装置を組み立てる際に断線等に十分に注意を払う必要があり、装置の組み立て作業性が低下するという問題があった。
また、絶縁性基板の短手方向(一方向と直交する方向)の両端部には枠体がないことから、LEDチップから短手方向に放射された光を前方(導光板の入光面方向)に進行させるには、反射壁となる反射部材を別途配置する必要があるという問題もあった。
そこで、本発明は、上記課題に鑑みてなされたものであり、近接して配置させるLEDチップの数を多くした場合であっても、LEDチップから発生する熱を効率的に外部に放出することが可能で、かつ、反射部材を別途配置することなく前方に光を進行させることが可能な線状光源装置と、この線状光源装置を用いることにより高輝度で、かつ、装置の組み立て作業性に優れた面状照明装置を提供することを目的とするものである。
上記課題を解決するために、本発明の請求項1に記載の線状光源装置は、一方向に配列される複数の発光素子チップと、同複数の発光素子チップが実装されるリードフレームと、 同複数の発光素子チップおよび同リードフレームを覆い、同複数の発光素子チップが放出する光を出射する出射面を有する樹脂封止体とからなる線状光源装置であって、前記リードフレームは、前記複数の発光素子チップが搭載されるリードフレーム本体と、同リードフレームの前記一方向の両側に配置され、外部からの電気信号を受給するための一対の電極端子部とから構成され、前記リードフレーム本体は、前記複数の発光素子チップを搭載する略長矩形状をした素子搭載部と、同素子搭載部の短手方向の両端辺から前記出射面側に向かって延びる一対の延設側面部とから構成され、前記一対の延設側面部の少なくとも一方の延設側面部は、前記樹脂封止体の前記出射面と交わる側面側に少なくとも一部が露出していることを特徴とするものである。
かかる発明によれば、複数の発効素子チップを搭載するリードフレームを用いて形成された一対の延設側面部により、複数の発光素子チップを上下方向(複数のLEDチップが直線状に配列される一方向と直交する短手方向)から覆う反射壁を構成している。これにより、複数の発光素子チップから上下方向に出射した光を一対の延設側面部で反射させ、樹脂封止体の出射面方向に導くことができる。また、一対の延設側面部の少なくとも一方の延設側面部の少なくとも一部を、樹脂封止体の出射面と交わる側面側に露出させる構成としたことにより、複数の発光素子チップから発生する熱を、リードフレームを介して樹脂封止体の外部に放出することができる。これにより、複数の発光素子チップの温度上昇を抑制することができ、発効効率の低下を抑制することができる。また、発光素子チップに通電する電流を大きくすることができ、発光素子チップ数を増加させることなく、線状光源装置からの出射光量を大きくすることができる。
また、本発明の請求項に記載の線状光源装置は、前記樹脂封止体から露出する前記延設側面部は、前記出射面側とは反対側方向に向かって延びる折り返し面部を有し、同折り返し面部が前記樹脂封止体の前記出射面と交わる側面側に露出していることを特徴とするものである。
かかる発明によれば、折り返し面部を樹脂封止体から容易に露出させることができ、放熱効果が有効に発揮させることができる。
また、本発明の請求項に記載の面状照明装置は、本発明の請求項1に記載の線状光源装置であって、前記樹脂封止体は、第1の樹脂封止部と第2の樹脂封止部とから構成され、同第1の樹脂封止部は、前記リードフレーム本体を構成する前記素子搭載部の前記出射面側とは反対側の面に配置される背板部と、同背板部の両端側に形成され、前記一対の電極端子部を保持する一対の側壁部とから構成され、前記第2の樹脂封止部は、前記リードフレーム本体と前記側壁部とで囲繞された空間に、前記複数の発光素子チップを覆うように形成されていることを特徴とするものである。
かかる発明によれば、樹脂封止体を、複数の発光素子チップの背面側および一方向の両側に配置される樹脂封止体(第1の樹脂封止部)と、第1の樹脂封止部およびフレーム本体により囲繞された空間に複数の発光素子チップを覆うように配置される樹脂封止体(第2の樹脂封止部)とに分けて構成される。これにより、通過する光量が比較的少ない第1の樹脂封止部と、通過する光量が比較的多い第2の樹脂封止部との樹脂を異ならしめることができ、それぞれの部位に対して最適な樹脂を選択することが可能となる。
また、本発明の請求項に記載の線状光源装置は、本発明の請求項1または2に記載の線状光源装置であって、前記リードフレーム本体を構成する前記一対の延設側面部は、互いに対向する面に凹凸からなる反射パターンが形成されていることを特徴とするものである。
かかる発明によれば、発光素子チップの上下方向に配置される一対の延設側面部(反射壁)に、反射パターンを形成することにより、発光素子チップから出射した光の出射方向を所望の方向に制御することができる。反射壁が加工性に優れたリードフレームによって構成されていることから、反射壁の内面側に凹凸からなる反射パターンを容易に形成することができる。
また、本発明の請求項に記載の線状光源装置は、本発明の請求項1からのいずれか1項に記載の線状光源装置であって、前記複数の発光素子チップが、青色光を発光するLEDチップであるとともに、同発光ダイオードを覆う前記樹脂封止体に、青色光を黄色光に波長変換する蛍光体が分散されていることを特徴とするものである。
かかる発明によれば、LEDチップが発光する青色光と、蛍光体が発光する黄色光とにより白色光を得ることができる。本発明に係る線状光源装置を白色光源として利用する場合の好適な一形態を実現するものである。
また、本発明の請求項に記載の面状照明装置は、本発明の請求項1からのいずれか1項に記載の線状光源装置と、同線状光源装置が放出する光を入光する入光面と、同入光面から入光した光を出射する出射面とを有する導光板と、前記リードフレーム本体を構成する前記一対の延設側面部のうち、前記樹脂封止体から露出している部分を接触させるヒートシンクと、を備えていることを特徴とするものである。
かかる発明によれば、線状光源装置を導光板の入光面に沿って配置することにより、線状光源装置が放出する線状の光を、導光板の出射面から面状の光として出射させることができる。また、複数の発光素子チップを実装するリードフレームの、樹脂封止体から露出している部分をヒートシンクに接触させる構成としたことから、複数の発光素子チップが発生する熱を効率的に樹脂封止体の外部に放出することができる。これにより、発光素子チップの温度上昇が抑制され、線状光源装置からの出射光量が大きくなる。この結果、導光板から出射する光の輝度が向上する。
また、本発明の請求項に記載の面状照明装置は、本発明の請求項に記載の面状照明装置であって、前記ヒートシンクは、前記線状光源装置と前記導光板とを搭載する金属材料からなるハウジングフレームであることを特徴とするものである。
かかる発明によれば、線状光源装置と前記導光板とを搭載する金属材料からなるハウジングフレームがヒートシンクを兼ねる構成としたことから、装置を構成する部材点数を削減できる。また、ヒートシンクの表面積(放熱面積)が大きくなり、放熱性がより向上する。
また、本発明の請求項に記載の面状照明装置は、本発明の請求項またはに記載の面状照明装置であって、前記樹脂封止体の、前記ヒートシンクに接触させる前記延設側面部が露出している面と対向する面側に、前記電極端子部の先端部が露出しており、同先端部に外部からの電気信号を供給する回路基板が接続されていることを特徴とするものである。
かかる発明によれば、樹脂封止体の出射面と直交する一面側に、電極端子部の先端部を露出させる構成としたことから、一面に沿って回路基板を配置させることができる。これにより、導光板の入光面に沿って配置される線状光源装置の数量が多い場合であっても、配線周りが簡素化され、装置の組み立て作業性が向上する。
また、本発明の請求項に記載の面状照明装置は、本発明の請求項からのいずれか1項に記載の面状照明装置であって、前記リードフレームを構成する前記一対の延設側面部が、前記導光板の前記入光面近傍を挟持するように構成されていることを特徴とするものである。
本発明によれば、一対の延設側面部が、導光板の入光面近傍を挟持する構成としたことから、部品数を増やすことなく線状光源装置と導光板とを一体化させることができる。これにより、線状光源装置が放出する光を安定して導光板に導くことができ、安定した照明光を得ることができる。また、線状光源装置から出射する光を入光面近傍において外部に漏らすことなく導光板に導くことができる。
また、本発明の請求項9に記載の面状照明装置は、線状光源装置と、同線状光源装置が放出する光を入光する入光面と、同入光面から入光した光を出射する出射面とを有する導光板と、ヒートシンクと、を備え、前記線状光源装置は、一方向に配列される複数の発光素子チップと、同複数の発光素子チップが実装されるリードフレームと、同複数の発光素子チップおよび同リードフレームを覆い、同複数の発光素子チップが放出する光を出射する出射面を有する樹脂封止体とからなり、前記リードフレームは、前記複数の発光素子チップが搭載されるリードフレーム本体と、同リードフレームの前記一方向の両側に配置され、外部からの電気信号を受給するための一対の電極端子部とから構成され、前記リードフレーム本体は、前記複数の発光素子チップを搭載する略長矩形状をした素子搭載部と、同素子搭載部の短手方向の両端辺から前記出射面側に向かって延びる一対の延設側面部とから構成され、前記一対の延設側面部の一方は、前記樹脂封止体の前記出射面と交わる側面側に少なくとも一部が露出して前記ヒートシンクに接触しており、前記樹脂封止体の前記延設側面部が露出している面と対向する面側に、前記電極端子部の先端部が露出しており、同先端部に外部からの電気信号を供給する回路基板が接続されていることを特徴とするものである。

〔第1の実施形態〕
以下、本発明に係る第1の実施形態を添付図面を参照して説明する。図1は、本発明の第1の実施形態に係る面状照明装置1の全体構成を概略的に示す分解斜視図であり、図2は、線状光源装置2の全体構成を示す透視斜視図である。
(装置の構成)
面状照明装置1は、図1に示すように、直線状に構成された線状光源装置2と、一側端面である入光面11aに沿って線状光源装置2が配置される上面視矩形の導光板11と、線状光源装置2および導光板11を収容する箱状のハウジングフレーム12と、線状光源装置2の図示上面側に略平行して配置される短冊状のFPC(Flexible Printed Circuit;フレキシブルプリント基板)13と、導光板11の上面(出射面)側に重畳配置される拡散シート14および2枚のプリズムシート15,16とを備えている。
線状光源装置2は、図2に示すように、一方向(直線状)に配列された複数(本実施形態では、4つ)の発光素子チップとしてのLEDチップ3と、複数のLEDチップ3を実装するリードフレーム4と、複数のLEDチップ3およびリードフレーム4を一体的に覆う樹脂封止体7とから構成されている。
LEDチップ3は、表面(発光面)側に一対の電極パッドを有し、青色光(410nmから480nm)を発光する青色LEDチップである。4つのLEDチップ3は、裏面側(発光面の反対面側)が接着面となるようにリードフレーム4に搭載されているともに、表面側にワイヤボンディングが施され、ボンディングワイヤ8により4つのLEDチップ3が直列結線されている。
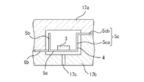
リードフレーム4は、例えば加工性や光反射性、熱伝導性などに優れ、ワイヤボンディングが可能な材料(本実施形態では銀メッキされた銅板、以下では銀メッキ銅板という)で形成されている。リードフレーム4は、図3に展開図(4つのLEDチップ3を含む)を示すように、4つのLEDチップ3を搭載するリードフレーム本体5と、リードフレーム本体5の長手方向(複数のLEDチップ3が配列される一方向)の両端側にそれぞれ独立して配置される一対の電極端子部6とから構成されている。なお、リードフレーム4は、所定の形状に折り曲げ加工されることによって最終製品形状に形成されるが、図3における破線は、リードフレーム4を折り曲げ加工する際の折り曲げ位置を示している。
リードフレーム本体5は、図4に示すように、複数のLEDチップ3を一方向に沿って搭載する略長矩形状をした素子搭載部5aと、素子搭載部5aの短手方向(一方向と直交する方向)の両端辺からLEDチップ3が搭載される側(以下、出射面側という)に向かって延びる一対の延設側面部5b,5cとから構成されている。一対の延設側面部の一方を構成する上側延設側面部5bは、素子搭載部5aの図示上辺から延設して一連に設けられ、素子搭載部5aよりも長手方向の長さが長く形成されている。一方、一対の延設側面部の他方を構成する下側延設側面部5cは、素子搭載部5aの図示下辺から延設して一連に設けられ、上側延設側面部5bよりも長手方向の長さが長く形成されている。また、下側延設側面部5cは、上側延設側面部5bと略平行に向かい合うように折り曲げることによって形成された対向面部5caと、対向面部5caから再度折り曲げられ、樹脂封止体7から露出した状態で対向面部5caと略平行になるように配置された折り返し面部5cbとから構成されている。すなわち、リードフレーム本体5は、複数の発光素子チップ3の背面側および上下面側を囲繞するように構成されている。なお、本実施形態においては、リードフレーム本体5は、複数のLEDチップ3とは電気的に遮断されており、リードフレーム本体5には漏電することがないように構成されている。
一対の電極端子部6は、素子用端子部6aとFPC用端子部(電極端子部6の先端部)6bとから構成されている。素子用端子部6aは、L字状をなし、複数のLEDチップ3のうちの両端に配置されているLEDチップ3とボンディングワイヤ8で電気的に接続されている。一方、FPC用端子部6bは、素子用端子部6aの先端側から一連に形成され、FPC13と電気的に結線されるように、樹脂封止体7から露出するように構成されている。すなわち、一対の電極端子部6は、外部からの電気信号をFPC13を介して受信し、複数のLEDチップ3に供給するように構成されている。なお、FPC用端子部6bは、樹脂封止体7から露出した状態で出射面側とは反対側に向かって略直角に折り曲げることによって形成されている。
樹脂封止体7は、透光性材料(本実施形態では、シリコーン樹脂)から形成され、透光性材料には、LEDチップ3が発光する青色光を受けて黄色成分の光を発光する黄色蛍光体が分散されている。すなわち、LEDチップ3が発光する青色光と、黄色蛍光体が発光する黄色光とを混色させることによって所定の白色光が得られるように、樹脂封止体7が形成されている。
樹脂封止体7は、横長の略直方体状に形成され、LEDチップ3の前方側の側面である出射面7aと、出射面7aと対向する背面7bと、出射面7aおよび背面7bと直交する上面7cおよび下面7dとを有している。上面7cには、出射面7aとは反対方向に折り曲げられたリードフレーム4のFPC用端子部6bが面接触するように配置されている。また、下面7dには、出射面7aとは反対方向に折り曲げられたリードフレーム4の折り返し面部5cbが面接触するように配置されている。なお、本実施形態においては、折り返し面部5cbは、その先端部が樹脂封止体7の背面7bから背後側に張り出すように構成されている。
導光板11は、例えば透明樹脂(本実施形態では、ポリカーボネート)により成形されている。導光板11の入光面11aには、入光プリズム(図示せず)が形成されている。入光プリズムは、線状光源装置2から出射された光が、所定の広がり角をもって導光板11内を伝搬するようにするためのものである。また、導光板11の下面(反射面)には、線状光源装置2から導光板11内に入射した光を散乱させて導光板11の出射面から出射させるための光路変換手段(図示せず)が形成されている。
ハウジングフレーム12は、本実施形態では、光反射性と熱伝熱性に優れた金属材料(本実施形態では、アルミニウム)を用いて形成されている。これにより、ハウジングフレーム12は、導光板11の反射面から漏れ出した光を導光板11に戻す機能とともに、線状光源装置2から発生した熱を吸放熱するヒートシンクとしての機能を兼ねることができる。ヒートシンクとして機能を有効に発揮させるために、線状光源装置2は、樹脂封止体7の下面7dに露出するリードフレーム4の折り返し面部5cbが、ハウジングフレーム12の底面部12aに接触させるように、ハウジングフレーム12内に配置されている。そして、折り返し面部5cbとハウジングフレーム12の底壁である底面部12aとは、例えば熱伝導性に優れた接着剤を用いて接合されている。なお、本実施形態においては、折り返し面部5cbを、その先端部が樹脂封止体7の背面7bから背後側に張り出すように構成することにより、ハウジングフレーム12との接触面積を大きくして放熱効果を高めている。
FPC13は、線状光源装置2に外部から電気信号を供給する回路基板であり、線状光源装置2の長手方向に沿って配置されている。FPC13は、樹脂封止体7の上面7cと対向する面に図示していない配線パターンが形成されており、リードフレーム4のFPC用端子部6bと電気的に接続されている。
拡散シート14は、導光板11から出射した光を拡散して輝度を均一にする機能を有するものであり、プリズムシート15,16は、拡散シート14により輝度が均一化された光の2軸方向の視野角度分布を調整する機能を有するものである。なお、一般に導光板11の反射面側に配置される反射シートを含めたこれらの光学シート類は、照明装置に対して要求される仕様に応じて適宜選択されるものである。
(線状光源装置の作製方法)
次に、線状光源装置2の作製方法の一例について説明する。最初に、例えば厚さが150μmの銀メッキ銅板を図3に示す展開形状に切断加工する。なお、この段階では、リードフレーム本体5に相当する部分と、電極端子部6に相当する部分とは、図示していないタイバーを介して連結されている。次に、所定形状の切断加工された銀メッキ銅板を、折り曲げ加工することによって、所定形状のリードフレーム4の中間体(図5参照)を構成する。次に、リードフレーム4の素子搭載部5aに、複数のLEDチップ3を例えば接着剤で固定し、続いてワイヤボンディングにより隣接する各LEDチップ3および一対の電極端子部6を電気的に接続する。その後、図5に示すように、一方に樹脂注入口17cを有する一対の金型17a,17bを用いたインサートモールド成形法により樹脂封止体7を成形する。最後に、タイバーを切断除去するとともに、リードフレームの折り返し面部5cbおよびFPC端子部6bを折り曲げ加工することにより、線状光源装置2が得られる。
(装置の作動・効果)
次に、第1の実施形態に係る線状光源装置2および面状照明装置1の作動について説明する。
被照明体(本実施形態では、液晶表示パネル)を駆動する制御回路部からの電気信号が、FPC13を介して複数のLEDチップ3に印加される。複数のLEDチップ3は、電気信号に基づいて青色光を発光する。青色光の一部が、樹脂封止体7に混在している黄色蛍光体により黄色光に変換され、青色光と黄色光とが混色することにより、白色光が生成される。樹脂封止体7の出射面7aから出射した光は、導光板11の入光面11aから導光板11内に入射される。導光板11内に入射した光は、導光板11の内部を伝播しつつ、導光板11の反射面に形成された光路変換手段により光路が変更され、導光板11の出射面から出射する。導光板11の出射面から出射した光は、拡散板14および一対のプリズムシート15,16を通過することにより、所定の輝度分布に調整された後、液晶表示パネルの背面に入射する。これにより、液晶表示パネルに表示される画像が、表面側の観察者に視認される。
上記構成をなす面状照明装置1および線状光源装置2は、以下の効果を奏する。すなわち、複数のLEDチップ3を搭載するリードフレーム4の素子搭載部5aの上下端辺の全長から起立する上側延設側面部5bおよび下側延設側面部5c(一対の延設側面部5b,5c)で複数のLEDチップ3を覆う構成としている。これにより、複数のLEDチップ3から図示上下方向に出射した光を一対の延設側面部5b,5cで反射させることができる。これにより、別途反射部材を設けることなく樹脂封止体7の出射面7a方向に光を導くことができる。また、複数のLEDチップ3の裏面側に出射した光は、リードフレーム4の素子搭載部5aにより反射され、出射面7a方向に導かれる。なお、線状光源装置2から左右方向に出射した光は、線状光源装置2を収容するハウジングフレーム12の側壁により反射されて、出射面7a方向に導かれる。
また、下側延設側面部5cの折り返し面部5cbを、樹脂封止体7の下面7cに露出させ、折り返し面部5cbをヒートシンク(面状照明装置1のハウジングフレーム12)に接触させることが可能な構成としている。これにより、複数のLEDチップ3から発生した熱を、リードフレーム4を介してヒートシンクに放熱することができる。この結果、複数のLEDチップ3の温度上昇を抑制することができ、線状光源装置2から出射する光量の低下を抑制することができる。また、LEDチップ3に通電する電流を大きくすることができ、実装するLEDチップ3の個数を増加させることなく、線状光源装置2からの出射光量を大きくすることができる。これにより、面状照明装置1の輝度を向上させることができる。
また、線状光源装置2は、樹脂封止体7の上面7cの長手方向両端側に、一対のFPC用端子部6bが露出している。そして、FPC用端子部6bは、上面7cに対して略平行になるように折り曲げられることによって配置されている。これにより、短冊状のFPC13を、樹脂封止体7の一面の長手方向に沿って配置させることができる。この結果、配線回りが簡素化され、装置の組み立て作業性が向上する。また、断線や短絡を防止することが期待できる。
さらに、リードフレーム本体5と電極端子部6とは、銀メッキ銅板などのワイヤボンディングが可能な材料を用いて、同一プロセスにより同時に形成することができる。これにより、線状光源装置2の作製が容易になるとともに、リードフレーム本体5と電極端子部6とを、一枚の板材から無駄なく効率的に形成することができる。
〔第2の実施形態〕
以下、本発明に係る第2の実施形態を添付図面を参照して説明する。図6は、本発明の第2の実施形態に係る面状照明装置21の全体構成を概略的に示す分解斜視図であり、図7は、線状光源装置22の全体構成を示す透視斜視図である。
(装置の構成)
面状照明装置21は、図6に示すように、直線状の構成された線状光源装置22と、線状光源装置22を一側端面である入光面11aに沿って配置させる上面視矩形の導光板11と、線状光源装置22および導光板11を収容する箱状のハウジングフレーム12と、線状光源装置22の図示上面側に略平行して配置される短冊状のFPC13と、導光板11の上面側に配置される拡散シート14および2枚のプリズムシート15,16とを備えている。すなわち、第1の実施形態に係る面状照明装置1とは線状光源装置22のみが異なり、その他の構成要素は第1の実施形態と共通する。そこで、以下では線状光源装置22について説明し、共通する構成要素についての重複説明は省略する。
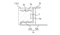
線状光源装置22は、図7に示すように、一方向に配列された複数(本実施形態では、4つ)のLEDチップ3と、LEDチップ3を実装するリードフレーム4(5,6)と、LEDチップ3およびリードフレーム4を一体的に覆う樹脂封止体27とから構成されている。線状光源装置22において、第1の実施形態に係る線状光源装置2と異なる構成要素は樹脂封止体27であり、LEDチップ3およびリードフレーム4(5,6)は共通する。したがって、共通する構成要素の重複説明は省略し、以下では樹脂封止体27について説明する。
樹脂封止体27は、第1の樹脂封止部28と第2の樹脂封止部29から構成されている。 第1の樹脂封止部28は、例えば高耐熱性絶縁樹脂(本実施形態では、液晶ポリマー)で成形され、図8に示すように、長矩形状をした背板部28aと、背板部28aの長手方向両端に一連に設けられた略直方体形状をした一対の側壁部28bとから構成されている。
背板部28aの表面側には、図9に示すように、リードフレーム本体5を構成する素子搭載部5aの背面が密着した状態で配置されている。
一方、一対の側壁部28bには、図8に二点鎖線で示すように、電極端子部6を構成する素子用端子部6aが、LEDチップ3寄りの端部を除く部分が内部に含まれるように配置されている。また、一対の側壁部28bの下面には、それぞれ段部28bbが形成されている。一対の段部28bbには、下側延設側面部5cの上側延設側面部5bと対向する面の両端部がそれぞれ密着した状態で配置されている。
第2の樹脂封止部29は、透光性材料(本実施形態では、シリコーン樹脂)から形成され、透光性材料には、LEDチップ3が発光する青色光を受けて黄色成分の光を発光する黄色蛍光体が分散されている。第2の樹脂封止部29は、リードフレーム本体5の素子搭載部5aおよび一対の延設側面部5b,5cと、第1の樹脂封止部28の一対の側壁部28bとで囲繞される空間に形成され、複数のLEDチップ3を一体に覆うように形成されている。これにより、LEDチップ3が発光する青色光と、黄色蛍光体が発光する黄色光とを混色させることによって所定の白色光を得ることができる。
(線状光源装置の作製用法)
次に、線状光源装置22の作製方法の一例について説明する。最初に、例えば厚さが150μmの平板状の銀メッキ銅板を図3に示す展開形状に切断加工する。なお、この段階では、リードフレーム本体5に相当する部分と、電極端子部6に相当する部分とは、図示していないタイバーを介して連結されている。次に、切断加工された銀メッキ銅板を、一対の延設側面部5b,5cが対向するように折り曲げ加工することにより、リードフレーム4の中間体を形成する。次に、インサートモールド成形法により第1の樹脂封止部28とリードフレーム4の中間体とを一体成形する。続いて、リードフレーム4の中間体を構成する素子搭載部5aに、複数のLEDチップ3を例えば接着剤で固定し、ワイヤボンディングにより隣接する各LEDチップ3および一対の電極端子部6を電気的に接続する。次に、ポッティング法により第2の樹脂封止部29を形成する樹脂を、リードフレーム本体5と第1の樹脂封止部28の一対の側壁部28bとで囲繞された空間に、複数のLEDチップ3を覆うように充填し、熱硬化させる。最後に、タイバーを切断除去するとともに、リードフレーム4の折り返し面部5cbおよびFPC端子部6bを折り曲げ加工することにより、線状光源装置22が得られる。
(作動・効果)
上記構成をなす線状光源装置22および面状照明装置21は、第1の実施形態で説明した作動・効果を得ることができる。それに加えて、線状光源装置22は、樹脂封止体27を第1の樹脂封止部28と第2の樹脂封止部29とから構成したことから、以下の効果を奏する。すなわち、第1の樹脂封止部28と第2の樹脂封止部29との光学的性質を異ならしめることが可能となる。例えば、第2の樹脂封止部29については、比較的多くの光が透過することから透過率に優れた樹脂を用いて形成する必要がある。それに対して、第1の樹脂封止部28は、透過する光の量が比較的少ないことから、透過率は低いが安価な樹脂材料を用いて形成することができる。また、高反射材(例えば、TiOなど)の微粉末を第1の樹脂封止部28の混在させることにより、一対の側壁部28bを長手方向の反射壁として構成することができる。
また、第2の樹脂封止部29として、本実施形態のように黄色蛍光体が分散された透光性樹脂を使用する場合には、LEDチップ3から前方に出射した光と左右方向に出射した光の、黄色蛍光体が分散された透光性樹脂中を通過する光路の長さを均等化させることができる。これにより、白色光の色度調整が容易になる。
〔変形例〕
以上、本発明の好ましい実施形態について説明したが、実施の形態については上記に限定されるものではなく、種々の変更および組み合わせが可能である。
例えば、図10に示すように、リードフレーム本体5を構成する一対の延設側面部5b,5cの互いに対向する面に、出射面7aに平行な方向に延びる凹凸からなる反射パターンを形成してもよい。反射パターンを形成することにより、線状光源装置2,22の出射面7aから出射した光の、導光板11の入光面11aに対する入射角度を制御することができる。なお、リードフレーム4は、加工性に優れた例えば銀メッキ銅板で構成されていることから、プレスなどの機械加工やエッチンッグ加工などにより容易に反射パターンを形成することができる。なお、反射パターンの延びる方向は、出射面7aに平行である必要はなく、直交する方向や傾斜する方向であってもよい。また、3次元状にパターンを形成してもよい。
また、一対の延設側面部5b,5cは、互いに平行である必要はなく、例えば出射面7aに向かって拡開するように構成してもよい。一対の延設側面部5b,5cの出射面7aに対する角度によっても、線状光源装置2,22の出射面7aから出射した光の、導光板11の入光面11aに対する入射角度を制御することができる。
また、リードフレーム本体5の外縁形状についても限定されるものでなく、例えば図11に示すように、隣接するLEDチップ3間に小片からなる中継部10を有するようにリードフレーム本体5を形成してもよい。すなわち、リードフレーム本体5の隣接するLEDチップ3,3間に、上側延設側面部5b側から素子搭載部5aまで延びる切り欠き9を形成し、切り欠き9に中継部10を配置する。そして、隣接するLEDチップ3,3を、中継部10を介して、ボンディングワイヤ8により電気的に接続する。このようにリードフレーム本体5を構成した場合であっても、複数のLEDチップ3を搭載する素子搭載部5aの下辺側が下側延設側面部5cと一連に結合されていることから、全てのLEDチップ3から発生する熱を下側延設側面部5に伝熱させることができる。
また、リードフレーム本体5に、一対の電極端子部6,6のいずれか一方の電極端子部6が連続体として一体化するように接続されていてもよい。この場合、一体化した電極端子部6側をアースとすることにより、リードフレーム本体5に電磁シールドとしての機能を持たせることができる。
また、下側延設側面部5cは、必ずしも折り返し面部5cbを備える必要がなく、図12に示すように、対向面部5caのみから構成し、対向面部5caを樹脂封止体7,27から露出するように構成してもよい。
また、図12に示すように、上側延設側面部5bおよび下側延設側面部5cを出射面7a側から導光板11側に張り出させ、その張り出した部分により導光板11の入光面11a近傍を挟持するように構成してもよい。これにより、線状光源装置2,22と導光板11とが一体化されるとともに、線状光源装置2,22から出射する光を漏らすことなく導光板11に導くことができる。なお、拡散板14などの光学シート類を含めて一体化するように構成してもよい。
また、折り返し面部5cbについては、樹脂封止体7,27の背面7bから背後に必ずしも張り出させる必要はなく、下面7dの一部を覆うように構成してもよい。また、折り返し面部5cbを、背面7bから張り出させるように構成した場合には、張り出した部分を樹脂封止体7,27の背面7bも覆うように折り曲げてもよい。そして、その折り曲げた部分をハウジングフレーム12の側壁12b(線状光源装置2,22の背後に位置する側壁)に接触させる構成としてもよい。また、背面7を覆う折り返し面部5cbを、必要に応じて蛇腹形状に折り曲げ加工することにより、線状光源装置2,22を導光板11側に付勢するバネ機構として活用してもよい。
また、ヒートシンクについては、金属材料からなるハウジングフレーム12がヒートシンクを兼ねる形態について説明したが、これに限定されるものではない。例えば、ブロック状のヒートシンクを線状光源装置2,22とハウジングフレーム12の底面部12aまたは側壁12bとの間に配置する構成としてもよい。この場合には、ハウジングフレーム12を樹脂で形成してもよい。
また、複数のLEDチップ3は、青色LEDチップに限定されるものではなく、例えば三原色(RGB)のLEDチップからなるものであってもよい。また、青色LEDチップを使用する場合の樹脂封止体7および第2の樹脂封止部29に分散される蛍光体は、黄色蛍光体に限定されるものではなく、例えば緑色を発光する蛍光体および赤色を発光する蛍光体からなる蛍光体であってもよい。
また、樹脂封止体7または第2の樹脂封止部29を成形する際に、複数のLEDチップ3上に黄色蛍光体が分散された透光性樹脂を予め塗布した後に、黄色蛍光体が分散されていない透光性樹脂を充填するようにしてもよい。
また、複数のLEDチップ3が直列的に結線される場合について説明したが、これに限定されるものではなく、並列的に結線されてもよい。
さらに、導光板11の入光面11aに沿って配置する線状光源装置2,22の本数は一本に限定されるものではなく、複数本にしてもよい。また、導光板11の入光面11a以外の他の側端面にも線状光源装置2,22を配置してもよい。
本発明の第1の実施形態に係る面状照明装置の全体構成を示す分解斜視図である。 本発明の第1の実施形態に係る線状光源装置の全体構成を示す透視斜視図である。 本発明の第1の実施形態に係るリードフレームを示す展開図である。 本発明の第1の実施形態に係る線状光源装置のA−A線に沿う縦断面図である。 本発明の第1の実施形態に係る樹脂封止体の成形用金型を示す断面図である。 本発明の第2の実施形態に係る面状照明装置の全体構成を示す分解斜視図である。 本発明の第2の実施形態に係る線状光源装置の全体構成を示す透視斜視図である。 本発明の第2の実施形態に係る第1の樹脂封止部の全体構成を示す斜視図である。 本発明の第2の実施形態に係る線状光源装置のB−B線に沿う縦断面図である。 本発明の実施形態に係るリードフレームの変形例を示す縦断面図である。 本発明の実施形態に係るリードフレームの他の変形例を示す展開図である。 本発明の実施形態に係る面状照明装置の他の変形例を示す要部断面図である。 従来の線状照明装置を示す斜視図である。
符号の説明
1,21 面状照明装置
2 線状光源装置(第1の実施形態)
3 LEDチップ
4 リードフレーム
5 リードフレーム本体
5a 素子搭載部
5b 上側延設側面部(一方の延設側面部)
5c 下側延設側面部(他方の延設側面部)
5ca 対向面部
5cb 折り返し面部
6 電極端子部
6a 素子用端子部
6b FPC用端子部(電極端子部の先端部)
7 樹脂封止体(第1の実施形態)
11 導光板
12 ハウジングフレーム
13 FPC(回路基板)
14 拡散シート
15,16 一対のプリズムシート
22 線状光源装置(第2の実施形態)
27 樹脂封止体(第2の実施形態)
28 第1の樹脂封止部
29 第2の樹脂封止部
29a 背板部
29b 側壁部

Claims (9)

  1. 一方向に配列される複数の発光素子チップと、
    同複数の発光素子チップが実装されるリードフレームと、
    同複数の発光素子チップおよび同リードフレームを覆い、同複数の発光素子チップが放出する光を出射する出射面を有する樹脂封止体とからなる線状光源装置であって、
    前記リードフレームは、前記複数の発光素子チップが搭載されるリードフレーム本体と、同リードフレームの前記一方向の両側に配置され、外部からの電気信号を受給するための一対の電極端子部とから構成され、
    前記リードフレーム本体は、前記複数の発光素子チップを搭載する略長矩形状をした素子搭載部と、同素子搭載部の短手方向の両端辺から前記出射面側に向かって延びる一対の延設側面部とから構成され、
    前記一対の延設側面部の少なくとも一方の延設側面部は、前記出射面側とは反対側方向に向かって延びる折り返し面部を有し、同折り返し面部が前記樹脂封止体の前記出射面と交わる側面側に露出していることを特徴とする線状光源装置。
  2. 請求項1に記載の線状光源装置であって、
    前記樹脂封止体は、第1の樹脂封止部と第2の樹脂封止部とから構成され、
    同第1の樹脂封止部は、前記リードフレーム本体を構成する前記素子搭載部の前記出射面側とは反対側の面に配置される背板部と、同背板部の両端側に形成され、前記一対の電極端子部を保持する一対の側壁部とから構成され、
    前記第2の樹脂封止部は、前記リードフレーム本体と前記側壁部とで囲繞された空間に、前記複数の発光素子チップを覆うように形成されていることを特徴とする線状光源装置。
  3. 請求項1または2に記載の線状光源装置であって、
    前記リードフレーム本体を構成する前記一対の延設側面部は、互いに対向する面に凹凸からなる反射パターンが形成されていることを特徴とする線状光源装置。
  4. 請求項1からのいずれか1項に記載の線状光源装置であって、
    前記複数の発光素子チップが、青色光を発光するLEDチップであるとともに、同LEDチップを覆う前記樹脂封止体に、青色光を黄色光に波長変換する蛍光体が分散されていることを特徴とする線状光源装置。
  5. 請求項1からのいずれか1項に記載の線状光源装置と、
    同線状光源装置が放出する光を入光する入光面と、同入光面から入光した光を出射する出射面とを有する導光板と、
    前記リードフレーム本体を構成する前記一対の延設側面部のうち、前記樹脂封止体から露出している部分を接触させるヒートシンクと、を備えていることを特徴とする面状照明装置。
  6. 請求項に記載の面状照明装置であって、
    前記ヒートシンクは、前記線状光源装置と前記導光板とを搭載する金属材料からなるハウジングフレームであることを特徴とする面状照明装置。
  7. 請求項またはに記載の面状照明装置であって、
    前記樹脂封止体の、前記ヒートシンクに接触させる前記延設側面部が露出している面と対向する面側に、前記電極端子部の先端部が露出しており、同先端部に外部からの電気信号を供給する回路基板が接続されていることを特徴とする面状照明装置。
  8. 請求項からのいずれか1項に記載の面状照明装置であって、
    前記リードフレームを構成する前記一対の延設側面部が、前記導光板の前記入光面近傍を挟持するように構成されていることを特徴とする面状照明装置。
  9. 線状光源装置と、
    同線状光源装置が放出する光を入光する入光面と、同入光面から入光した光を出射する出射面とを有する導光板と、
    ヒートシンクと、を備え、
    前記線状光源装置は、一方向に配列される複数の発光素子チップと、
    同複数の発光素子チップが実装されるリードフレームと、
    同複数の発光素子チップおよび同リードフレームを覆い、同複数の発光素子チップが放出する光を出射する出射面を有する樹脂封止体とからなり、
    前記リードフレームは、前記複数の発光素子チップが搭載されるリードフレーム本体と、同リードフレームの前記一方向の両側に配置され、外部からの電気信号を受給するための一対の電極端子部とから構成され、
    前記リードフレーム本体は、前記複数の発光素子チップを搭載する略長矩形状をした素子搭載部と、同素子搭載部の短手方向の両端辺から前記出射面側に向かって延びる一対の延設側面部とから構成され、
    前記一対の延設側面部の一方は、前記樹脂封止体の前記出射面と交わる側面側に少なくとも一部が露出して前記ヒートシンクに接触しており、
    前記樹脂封止体の前記延設側面部が露出している面と対向する面側に、前記電極端子部の先端部が露出しており、同先端部に外部からの電気信号を供給する回路基板が接続されていることを特徴とする面状照明装置。
JP2008096673A 2008-04-03 2008-04-03 線状光源装置、および面状照明装置 Expired - Fee Related JP5113594B2 (ja)

Priority Applications (1)

Application Number Priority Date Filing Date Title
JP2008096673A JP5113594B2 (ja) 2008-04-03 2008-04-03 線状光源装置、および面状照明装置

Applications Claiming Priority (1)

Application Number Priority Date Filing Date Title
JP2008096673A JP5113594B2 (ja) 2008-04-03 2008-04-03 線状光源装置、および面状照明装置

Publications (2)

Publication Number Publication Date
JP2009252419A JP2009252419A (ja) 2009-10-29
JP5113594B2 true JP5113594B2 (ja) 2013-01-09

Family

ID=41312956

Family Applications (1)

Application Number Title Priority Date Filing Date
JP2008096673A Expired - Fee Related JP5113594B2 (ja) 2008-04-03 2008-04-03 線状光源装置、および面状照明装置

Country Status (1)

Country Link
JP (1) JP5113594B2 (ja)

Families Citing this family (11)

* Cited by examiner, † Cited by third party
Publication number Priority date Publication date Assignee Title
JP5208713B2 (ja) * 2008-12-22 2013-06-12 ミネベア株式会社 線状光源装置、および面状照明装置
RU2509259C1 (ru) * 2010-01-18 2014-03-10 Шарп Кабусики Кайся Устройство освещения, устройство отображения и телевизионный приемник
KR101543333B1 (ko) 2010-04-23 2015-08-11 삼성전자주식회사 발광소자 패키지용 리드 프레임, 발광소자 패키지, 및 발광소자 패키지를 채용한 조명장치
JP2012038894A (ja) * 2010-08-06 2012-02-23 Sumitomo Electric Ind Ltd 発熱源実装用基板モジュール、照明装置
KR101781047B1 (ko) * 2010-12-24 2017-09-25 엘지이노텍 주식회사 발광 소자 패키지
WO2013018499A1 (ja) * 2011-08-01 2013-02-07 シャープ株式会社 バックライト及び液晶表示装置
US9274359B2 (en) * 2012-06-20 2016-03-01 Apple Inc. Electronic device display chassis
US9726802B2 (en) * 2013-09-23 2017-08-08 Glo Ab Integrated back light unit
JP6576173B2 (ja) * 2014-09-10 2019-09-18 シチズン電子株式会社 面状ライトユニット、led素子及び導光板
JP6645213B2 (ja) 2016-01-27 2020-02-14 オムロン株式会社 発光装置、および発光装置の製造方法
JP7177388B2 (ja) * 2018-11-15 2022-11-24 東芝ライテック株式会社 照明装置

Family Cites Families (6)

* Cited by examiner, † Cited by third party
Publication number Priority date Publication date Assignee Title
KR100550856B1 (ko) * 2003-06-03 2006-02-10 삼성전기주식회사 발광 다이오드(led) 소자의 제조 방법
JP2006041380A (ja) * 2004-07-29 2006-02-09 Nippon Leiz Co Ltd 光源装置
JP2006286348A (ja) * 2005-03-31 2006-10-19 Minebea Co Ltd 面状照明装置
TWI342974B (en) * 2006-07-06 2011-06-01 Chimei Innolux Corp Liquid crystal display and backlight module thereof
TWM312778U (en) * 2006-12-22 2007-05-21 Lighthouse Technology Co Ltd Improved LED
JP5060172B2 (ja) * 2007-05-29 2012-10-31 岩谷産業株式会社 半導体発光装置

Also Published As

Publication number Publication date
JP2009252419A (ja) 2009-10-29

Similar Documents

Publication Publication Date Title
JP5113594B2 (ja) 線状光源装置、および面状照明装置
JP5236366B2 (ja) 線状光源装置、および面状照明装置
US7736044B2 (en) Indirect lighting device for light guide illumination
CN100367095C (zh) 背光模块及其发光装置
JP5208713B2 (ja) 線状光源装置、および面状照明装置
JP4911624B2 (ja) 面状照明装置
TWI342973B (en) Light source utilizing a flexible circuit carrier
JP2006286638A (ja) 複数の隣り合って重なり合う導光板を有する発光装置
JP5450778B2 (ja) エッジライト型面光源装置および照明装置
KR20100067482A (ko) 광출사 모듈 및 이를 갖는 표시장치
US10424691B2 (en) Display apparatus having quantum dot unit or quantum dot sheet and method for manufacturing quantum dot unit
JP2006310221A (ja) エッジ入力型バックライト及び液晶表示装置
CN102444838B (zh) Led组件及包括该led组件的液晶显示设备
TW201133087A (en) Liquid crystal display device
JP2012059737A (ja) 発光装置、バックライトユニット、液晶表示装置及び照明装置
KR20120061292A (ko) 광원 장치, 백라이트 유닛 및 이를 포함하는 표시 장치
KR20120056543A (ko) 발광소자 패키지
KR20130006823A (ko) 발광소자 패키지 및 이를 포함하는 조명시스템
KR20120051856A (ko) 광원 장치, 백라이트 유닛 및 이를 포함하는 표시 장치
JP5851608B2 (ja) エッジライト型面光源装置
JP5646837B2 (ja) 光源装置、および面状照明装置
KR20130007263A (ko) 발광소자 패키지 및 이를 포함하는 조명시스템
CN104603520B (zh) 光照射装置、背光装置以及显示装置
CN114008379B (zh) 线状发光装置
KR101735310B1 (ko) 발광소자 패키지

Legal Events

Date Code Title Description
A621 Written request for application examination

Free format text: JAPANESE INTERMEDIATE CODE: A621

Effective date: 20110207

A977 Report on retrieval

Free format text: JAPANESE INTERMEDIATE CODE: A971007

Effective date: 20120618

A131 Notification of reasons for refusal

Free format text: JAPANESE INTERMEDIATE CODE: A131

Effective date: 20120710

A521 Request for written amendment filed

Free format text: JAPANESE INTERMEDIATE CODE: A523

Effective date: 20120806

TRDD Decision of grant or rejection written
A01 Written decision to grant a patent or to grant a registration (utility model)

Free format text: JAPANESE INTERMEDIATE CODE: A01

Effective date: 20121002

A01 Written decision to grant a patent or to grant a registration (utility model)

Free format text: JAPANESE INTERMEDIATE CODE: A01

A61 First payment of annual fees (during grant procedure)

Free format text: JAPANESE INTERMEDIATE CODE: A61

Effective date: 20121012

FPAY Renewal fee payment (event date is renewal date of database)

Free format text: PAYMENT UNTIL: 20151019

Year of fee payment: 3

R150 Certificate of patent or registration of utility model

Ref document number: 5113594

Country of ref document: JP

Free format text: JAPANESE INTERMEDIATE CODE: R150

Free format text: JAPANESE INTERMEDIATE CODE: R150

R250 Receipt of annual fees

Free format text: JAPANESE INTERMEDIATE CODE: R250

R250 Receipt of annual fees

Free format text: JAPANESE INTERMEDIATE CODE: R250

R250 Receipt of annual fees

Free format text: JAPANESE INTERMEDIATE CODE: R250

R250 Receipt of annual fees

Free format text: JAPANESE INTERMEDIATE CODE: R250

R250 Receipt of annual fees

Free format text: JAPANESE INTERMEDIATE CODE: R250

S533 Written request for registration of change of name

Free format text: JAPANESE INTERMEDIATE CODE: R313533

R350 Written notification of registration of transfer

Free format text: JAPANESE INTERMEDIATE CODE: R350

R250 Receipt of annual fees

Free format text: JAPANESE INTERMEDIATE CODE: R250

LAPS Cancellation because of no payment of annual fees