JP5110285B2 - 油圧緩衝器 - Google Patents

油圧緩衝器 Download PDF

Info

Publication number
JP5110285B2
JP5110285B2 JP2008022030A JP2008022030A JP5110285B2 JP 5110285 B2 JP5110285 B2 JP 5110285B2 JP 2008022030 A JP2008022030 A JP 2008022030A JP 2008022030 A JP2008022030 A JP 2008022030A JP 5110285 B2 JP5110285 B2 JP 5110285B2
Authority
JP
Japan
Prior art keywords
oil
chamber
cylinder
main body
shock absorber
Prior art date
Legal status (The legal status is an assumption and is not a legal conclusion. Google has not performed a legal analysis and makes no representation as to the accuracy of the status listed.)
Expired - Fee Related
Application number
JP2008022030A
Other languages
English (en)
Other versions
JP2009180355A (ja
Inventor
篤 前田
Current Assignee (The listed assignees may be inaccurate. Google has not performed a legal analysis and makes no representation or warranty as to the accuracy of the list.)
Hitachi Astemo Ltd
Original Assignee
Hitachi Automotive Systems Ltd
Priority date (The priority date is an assumption and is not a legal conclusion. Google has not performed a legal analysis and makes no representation as to the accuracy of the date listed.)
Filing date
Publication date
Application filed by Hitachi Automotive Systems Ltd filed Critical Hitachi Automotive Systems Ltd
Priority to JP2008022030A priority Critical patent/JP5110285B2/ja
Publication of JP2009180355A publication Critical patent/JP2009180355A/ja
Application granted granted Critical
Publication of JP5110285B2 publication Critical patent/JP5110285B2/ja
Expired - Fee Related legal-status Critical Current
Anticipated expiration legal-status Critical

Links

Images

Landscapes

  • Fluid-Damping Devices (AREA)

Description

本発明は、自動車等の車両のサスペンション装置に装着される車高自動調整機構を備えた油圧緩衝器に関するものである。
一般に、自動車等の車両においては、懸架装置のばね上、ばね下間に油圧緩衝器を装着して、ばね上およびばね下の振動を減衰させることによって、乗り心地および操縦安定性を向上させるようにしている。ところが、バン、ワゴン車等の比較的積載重量の大きな車両においては、乗員の乗り降り、荷物の積み降ろし等にともなう積載荷重の変化によって、車高が大きく変化して乗り心地および操縦安定性が低下することがある。さらに、荷物の積載により後輪側の車高が下がるため(尻下がり)、ヘッドライトの光軸が上方を向いてしまう。このため、積載荷重の大小に関係なく自動的に一定の車高を保つことができる懸架装置が望まれている。
そこで、例えば特許文献1に記載されているように、ピストンロッドの伸縮によってオイルタンクの油液をシリンダ内へ供給するポンプ手段と、ピストンロッドの伸縮位置に応じてポンプ手段及びシリンダからオイルタンクへ圧油を戻す戻し手段とを備え、走行時の懸架装置の振動を利用してポンプ手段及び戻し手段を作動させてシリンダ内の圧力を適宜加減してピストンロッドの伸長長さを一定に調整することによって、自動的に一定の標準車高を保つようにした、いわゆるセルフレベリング式の油圧緩衝器が提案されている。
特開平9−144801号公報
また、上記特許文献1に記載されたセルフレベリング式の油圧緩衝器では、オイルタンクは、オイル室とガス室とを可撓膜によって隔離して、油液中へガスの混入を確実に防止しながら高さ方向の寸法を小さくし、外筒(ケース)の外周の懸架ばねの下方に配置することにより、デッドスペースを利用して必要な容積を確保している。
しかしながら、上記特許文献1に記載されたセルフレベリング式の油圧緩衝器では、次のような問題がある。オイルタンクは、リザーバのガス室と油室とを仕切るブラダを保持するための環状部材を溶接によって固定しているため、溶接時のスパッタの発生によって油液中に異物が混入する虞があり、また、溶接時の熱によって環状部材が変形してシール性が低下する虞がある。
本発明は、上記の点に鑑みてなされたものであり、スペース効率を高めてリザーバ及びオイルタンクの必要な容量を確保しつつ、部品点数を減少させ、また、溶接による油液中への異物の混入及び溶接の熱による変形を防止することができるセルフレベリング式の油圧緩衝器を提供することを目的とする。
上記の課題を解決するために、本発明は、油液が封入されたシリンダと、該シリンダ内に摺動可能に嵌装されたピストンと、一端が該ピストンに連結されて他端が前記シリンダの外部へ延出されたピストンロッドと、前記ピストンの移動によって生じる油液の流動を制御して減衰力を発生させる減衰力発生機構と、前記シリンダに接続されて油液及びガスが封入されたリザーバと、油液を貯留するオイルタンクと、前記ピストンロッドの伸縮によって前記シリンダと前記オイルタンクとの間で油液を授受して前記ピストンロッドの伸長長さを調整するセルフレベリング機構とを備えた油圧緩衝器において、
前記シリンダの外周に外筒を設けて前記シリンダと前記外筒との間に室を形成し、該室を仕切部材によって上部室と下部室とに区画して、該上部室及び下部室の一方に前記リザーバを配置し、他方に前記オイルタンクを配置し、前記下部室の内部を可撓膜によってオイル室とガス室とに区画し、前記シリンダの下端部と前記リザーバとを連通する第1油路と、前記セルフレベリング機構と前記オイルタンクとを連通する第2油路とを備え、
前記仕切部材は、前記外筒の内周部に嵌合する環状の外側フランジ部材と、該外側フランジ部材の内周部に圧入される円筒状の本体部材とから構成され、前記外側フランジ部材の内周面には、圧入された前記本体部材の先端部が当接する突き当て部が形成され、前記本体部材の先端外周部にはテーパ状のシール面が形成されており、前記外側フランジ部材の内周面及び突き当て部と前記本体部材のシール面との間にシール部材が介装されていることを特徴とする。
本発明に係る油圧緩衝器によれば、セルフレベリング機構を備えた油圧緩衝器において、リザーバとオイルタンクとを区画する仕切部材は、外側フランジ部材と本体部材とを圧入によって結合して構成されているので、溶接が不要であり、溶接時のスパッタの発生及び熱による変形の問題が生じることがない。
以下、本発明の一実施形態を図面に基づいて詳細に説明する。
図1に示すように、油圧緩衝器1は、略有底円筒状のケース2(外筒)内に、シリンダ3が挿入された二重筒構造となっており、ケース2の開口部にシール部材4が装着されてケース2とシリンダ3との間に環状の室が形成されている。ケース2には、下端部側がバルジ加工等によって膨径されて膨径部5が形成され、また、膨径部5の上方の部分がやや拡径されてバネ受支持部6が形成されている。ケース2の底部は、キャップ部材7が溶接されて閉塞されている。ケース2の膨径部5とシリンダ3との間には、仕切部材8が挿入されており、仕切部材8の上端部に形成された外側フランジ部材9がケース2に嵌合されて、ケース2とシリンダ3との間の環状の室が膨径部5に臨む下部室のオイルタンク10と上部室のリザーバ11とに区画されている。
オイルタンク10は、可撓性のブラダ12(可撓膜)によって内周側のオイル室13と外周側のガス室14とに区画されている。そして、シリンダ3及びオイルタンク10のオイル室13には油液が封入され、オイルタンク10のガス室14には低圧ガスが封入され、また、リザーバ11には油液及び高圧ガスが封入されている。
仕切部材8の下端部とキャップ部材7との間には、環状の保持部材15が介装されている。保持部材15の内周部にベースガイド16が嵌合され、キャップ部材7とベースガイド16との間に油室17が形成されている。ベースガイド16とシリンダ3の下端部との間には、ベース部材18が介装されており、ベースガイド16とベース部材18との間に油室19が形成されている。ケース2の下端部と仕切部材8との間には、環状部材20が嵌合されている。環状部材20は、キャップ部材7の縁部と仕切部材8の外周の段部8Bとによって挟持されて固定されている。オイルタンク10のブラダ12は、仕切部材8の外側フランジ部材9及び環状部材20によってクランプされている。
キャップ部材7とベースガイド16との間の油室17は、環状部材20に設けられた油路21によってオイルタンク10のオイル室13に連通されている。ベースガイド16とベース部材18との間の油室19は、シリンダ3と仕切部材8との間に形成された環状油路22(第1油路)を介してリザーバ11に連通されている。また、ベース部材18によって形成されたオリフィス23(後述)によってシリンダ3と油室19(すなわち、環状油路22を介してリザーバ11)とが連通されている。
シリンダ3内には、環状のピストン24が摺動可能に嵌装されており、このピストン24によってシリンダ3内がシリンダ上室3Aとシリンダ下室3Bとの2室に画成されている。ピストン24には、ピストンボルト25及びナット26によって中空のピストンロッド27の一端部が連結されている。ピストンロッド27の他端側は、ケース2及びシリンダ3の上端部に装着されたロッドガイド28及びシール部材4に挿通されてシリンダ3及びケース2の外部へ延出されている。
ピストン24には、シリンダ上室3Aとシリンダ下室3Bとを連通させる伸び側通路29及び縮み側通路30が設けられ、また、伸び側通路29及び縮み側通路30の油液の流動制御して減衰力を発生させる伸び側ディスクバルブ31、縮み側ディスクバルブ32及びオリフィス33からなる減衰力発生機構が設けられている。
ピストンロッド27には、シリンダ3及びリザーバ11とオイルタンク10との間で油液を授受することによって車高調整行うセレフレベリング機構Sが内蔵されている。
セルフレベリング機構Sについて次に説明する。中空のピストンロッド27の内部には、ポンプチューブ34が挿入されて、ピストンボルト25とバネ35とによって挟持固定されている。シリンダ3内には、その軸心に沿って管状のポンプロッド36が配置されており、ポンプロッド36の基端部はベース部材18の開口に挿通されてベースガイド16に連結されている。ポンプロッド36とベース部材18の開口との間に僅かな隙間が設けられており、この隙間によってシリンダ下室3Bと油室19(すなわちリザーバ11)とを連通するオリフィス23が形成されている。ポンプロッド36の先端部は、ポンプチューブ34内に摺動可能に嵌合されてポンプチューブ34内にポンプ室37を形成している。ポンプロッド36内の油路38は、ベースガイド16に設けられた油路38A(第2油路)を介して油室17(したがって、油路21を介してオイルタンク10のオイル室13)に連通されている。
ポンプ室37は、ポンプロッド36の先端部に設けられた逆止弁39を介してポンプロッド36内の油路38に連通されており、逆止弁39は油路38からポンプ室37への油液の流れのみを許容する。また、ポンプ室37は、ポンプチューブ34の端部に設けられた逆止弁40を介して、中空のピストンロッド27とポンプチューブ34との間に形成された環状の油路41に連通されており、更に、油路41はシリンダ上室3Aに連通している。逆止弁40はポンプ室37から油路41への油液の流通のみを許容する。
ポンプロッド36の側面部には、先端部から所定長さにわたって軸方向に沿って延びる溝42が形成されており、通常は、ポンプ室37が溝42を介してシリンダ下室3Bに連通され、ピストンロッド27が所定位置まで短縮したとき、ポンプチューブ34によって溝42とシリンダ下室3Bとの連通が遮断されるようになっている。また、ポンプロッド36の側壁には、リリーフポート43が穿設されており、リリーフポート43は、通常は、ポンプチューブ34によって閉鎖され、ピストンロッド27が所定位置まで伸長したとき、ポンプチューブ34から露出してシリンダ下室3Bとポンプロッド36内の油路38とを連通させる。
ベースガイド16には、油室19(すなわち、高圧のシリンダ3及びリザーバ11側の)側の圧力が過度に上昇したとき、開弁してこの圧力を室17側(すなわち、低圧のオイルタンク10側)へリリーフする常閉のリリーフ弁44が設けられている。ケース2のバネ受支持部6の外周には、懸架バネ(図示せず)の下端部を受けるための環状のバネ受45が嵌合されて固定されている。そして、油圧緩衝器1は、ピストンロッド27の先端部を車体側(図示せず)に連結し、ケース2の下端部に取付けられた取付アイ46を車輪側(図示せず)に連結して車両の懸架装置に装着されてバネ受45によって懸架ばねの下端部を受ける。
次に、オイルタンク10の構造について更に詳細に説明する。
ブラダ12の上端部は、仕切部材8の外側フランジ部材9に形成された外周溝47に嵌合する形状に形成されており、外周溝47とケース2の内周面との間でクランプされて、リザーバ11とオイルタンク10のオイル室13及びガス室14との間をシールしている。更に、仕切部材8の外側フランジ部材9は、リザーバ11側へ軸方向に延ばされて外周溝48が形成されており、外周溝48にOリング49が嵌合されて、Oリング49によってケース2と外側フランジ部材9との間をシールしている。ブラダ12の下端部は、環状部材20に形成された外周溝50に嵌合する形状に形成されており、外周溝50とケース2の内周面との間でクランプされてオイル室13とガス室14との間をシールしている。
図2に示すように、仕切部材8は、円筒状の本体部材8Aと外側フランジ部材9とからなり、外側フランジ部材9の下端部に形成された円筒状の圧入部51の内周に本体部材8Aの上端部が圧入されて、これらが一体化されている。外側フランジ部材9の中間部内周面には、本体部材8Aの内径と同径に縮径された突き当て部52が形成されており、本体部材8Aの先端部を突き当て部52の端面に当接させることによって、本体部材8Aの圧入代を規定している。本体部材8Aは、先端外周部が面取りされてテーパ状のシール面53が形成されている。そして、外側フランジ部材9の圧入部51の内周面及び突き当て部52の端面と本体部材8Aのシール面53との間にOリング54(シール部材)が介装されて、本体部材8Aと外側フランジ部材9と結合部をシールしている。
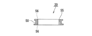
図3乃至図6に示すように、環状部材20は、仕切部材8の円筒部8Aが挿入される内周面に、中心角90度毎に合計4つの拡径された切欠部55が形成されており、切欠部55と円筒部8Aとの隙間によって4つの円弧状の油路21を形成するようになっている。環状部材20の切欠部55の間の円筒部8Aが挿入される4つの部分には、それぞれの両端面の内周部に円周方向の両端部及び中央部を残して2つ(合計4つ)の凹部56が形成されている。環状部材20は、合成樹脂製とすることができ、例えばガラス繊維で強化したポリアミドとすることができる。
以上のように構成した本実施形態の作用について次に説明する。
ピストンロッド27の伸縮に伴うシリンダ3内のピストン24の摺動によってシリンダ上下室3A、3B間で伸び側及び縮み側油路29、30を通る油液の流れが発生し、この油液の流動を伸び側及び縮み側ディスクバルブ31、32及びオリフィス33によって制御して減衰力を発生させる。このとき、ピストンロッド27の侵入、退出によるシリンダ3内の容積変化をリザーバ11内のガスの圧縮及び膨張によって補償する。
次に、油圧緩衝器1の車高調整機能について説明する。
通常、空車時において、ピストンロッド27の伸長長さは、所定の標準範囲内にある。この状態では、ポンプ室37は、ポンプロッド36の溝42によってシリンダ下室3Bに連通されているので、ピストンロッド27が伸縮してもポンピング動作は行われず、その車高が維持される。
積載荷重の増加等によって車高が低下して、ピストンロッド27の伸長長さが所定の標準範囲より短くなると、ポンプチューブ34によって溝42がシリンダ下室3Bから遮断される。この状態では、走行中にピストンロッド27が伸縮すると、伸び行程時には、ポンプロッド36が後退してポンプ室37が拡大、減圧され、逆止弁39が開いて、オイルタンク10のオイル室13の油液が油路21、油室17、油路38A及び油路38を通ってポンプ室37に導入される。縮み行程時には、ポンプロッド36が前進してポンプ室37が縮小、加圧されて逆止弁40が開き、ポンプ室37から油液が油路41を通ってシリンダ下室3Bに供給されてピストンロッド27を伸長させる。このようにして、走行中のピストンロッド27の伸縮によってポンピング動作を繰り返すことにより、ピストンロッド27を伸長させて車高を上げる。そして、車高が所定の標準範囲に達すると、上述のように溝42によってポンプ室37がシリンダ下室3Aに連通されてポンピング動作が解除される。
また、積載荷重の減少等によって車高が上昇して、ピストンロッド27の伸長長さが所定の標準範囲を超えると、ポンプロッド36のリリーフポート43がポンプチューブ34から露出して、リリーフポート43によってシリンダ下室3Bと油路38が連通される。これにより、シリンダ下室3Bの油液がオイルタンク10のオイル室13に戻されて、ピストンロッド27が短縮して車高が下がる。そして、車高が下がってピストンロッド27の伸長長さが所定の標準範囲まで短縮されると、リリーフポート43がポンプチューブ34によって遮断されて、その車高が維持される。
このようにして、走行時のピストンロッド27の伸縮を利用して、ポンピング動作及び戻し動作を適宜繰り返すことにより、ピストンロッド27の伸長長さを所定の標準範囲に調整して、積載荷重にかかわらず車高を自動的に一定に調整することができる。
オイルタンク10は、オイル室13とガス室14とをブラダ12によって隔離することにより、油液へガスの混入を確実に防止しながら高さ方向の寸法を小さくしてバネ受45によって支持される懸架ばねの下方に配置することができる。また、ケース2に膨径部5を形成することにより、容積を充分大きくすることができる。これにより、デッドスペースを有効に利用してスペース効率を高めることができる。なお、リザーバ11は、オイルタンク10の上方に配置されて環状油路22を介してシリンダ3に連通しているので、液面の高さを充分に高くとることができ、油液へのガスの混入を防止することができる。また、オイルタンク10のガス室14は、ブラダ12によってシールされるので、組立時に低圧ガスとして大気を封入することにより、製造工程を簡素化することができる。
ケース2の膨径部5によってオイルタンク10を形成することにより、特許文献1に記載された従来例に比して、部品点数を削減することができ、製造工数及び製造コストを低減することができる。また、オイルタンク10は、溶接によらず、仕切部材8及び環状部材20によってブラダ12をクランプすることにより形成されているので、溶接スパッタの発生による油液への異物の混入及び溶接の熱による変形の問題が生じることがない。
オイルタンク10とリザーバ11との間は、ブラダ12の上端部に加えてOリング49によってシールされているので、ポンピングによって高圧となるリザーバ11の圧力がブラダ12の上端部に直接作用しないので、シール性を確保すると共に、高圧によるブラダ12の抜けを防止することができる。
仕切部材8は、本体部材8Aと外側フランジ部材9とを圧入することによって構成されているので、これらを溶接する場合に比して、圧入部分の形状が簡単であるため製造が容易であり、また、溶接時のスパッタの発生及び熱による変形の問題が生じることがない。また、仕切部材8の外側フランジ部材9には、高圧のリザーバ11の圧力が上方から作用し、低圧のオイルタンク10の圧力が作用し、これらの差圧によって上方から下方へ押圧されるので、本体部材8Aと外側フランジ部材9Aとの圧入部の抜けの問題が生じることがない。
環状部材20は、ブラダ12を保持する外周溝50には、低圧のオイルタンク10の圧力による力が作用するだけであるから、高い剛性が要求されないので、中実の金属性とする必要がなく、合成樹脂、中空のプレス成形材等の比較的剛性の低い材料で形成することができる。
なお、上記実施形態では、シリンダ3の外周の上部室にリザーバ11を配置し、下部室にオイルタンク10を配置しているが、上部室にオイルタンクを配置し、下部室にリザーバを配置する構造としてもよい。この場合、下部室のリザーバが環状部材20の油路21を介してシリンダ3の下部に接続し、上部室のオイルタンクが環状油路22を介してポンプロッド36の油路38に接続するようにケース2の底部において油液の通路を構成すればよい。
本発明の一実施形態に係る油圧緩衝器の縦断面図である。 図1の油圧緩衝器の仕切部材を拡大して示す縦断面図である。 図1の油圧緩衝器の環状部材を拡大して示す図5におけるA−A線による縦断面図である。 図1の油圧緩衝器の環状部材を拡大して示す図5におけるA−B線による縦断面図である。 図1の油圧緩衝器の環状部材を拡大して示す上面図である。 図1の油圧緩衝器の環状部材を拡大して示す下面図である。
符号の説明
1 油圧緩衝器、2 ケース(外筒)、3 シリンダ、8 仕切部材、8A 本体部材、9 外側フランジ部材、10 オイルタンク、11 リザーバ、12 ブラダ(可撓膜)、13 オイル室、14 ガス室、22 環状油路(第1油路)、24 ピストン、27 ピストンロッド、31 ディスクバルブ(減衰力発生機構)、32 ディスクバルブ(減衰力発生機構)、33 オリフィス(減衰力発生機構)、38 油路(第2油路)、49 Oリング(シール手段)、S セルフレベリング機構

Claims (5)

  1. 油液が封入されたシリンダと、該シリンダ内に摺動可能に嵌装されたピストンと、一端が該ピストンに連結されて他端が前記シリンダの外部へ延出されたピストンロッドと、前記ピストンの移動によって生じる油液の流動を制御して減衰力を発生させる減衰力発生機構と、前記シリンダに接続されて油液及びガスが封入されたリザーバと、油液を貯留するオイルタンクと、前記ピストンロッドの伸縮によって前記シリンダと前記オイルタンクとの間で油液を授受して前記ピストンロッドの伸長長さを調整するセルフレベリング機構とを備えた油圧緩衝器において、
    前記シリンダの外周に外筒を設けて前記シリンダと前記外筒との間に室を形成し、該室を仕切部材によって上部室と下部室とに区画して、該上部室及び下部室の一方に前記リザーバを配置し、他方に前記オイルタンクを配置し、前記下部室の内部を可撓膜によってオイル室とガス室とに区画し、前記シリンダの下端部と前記リザーバとを連通する第1油路と、前記セルフレベリング機構と前記オイルタンクとを連通する第2油路とを備え、
    前記仕切部材は、前記外筒の内周部に嵌合する環状の外側フランジ部材と、該外側フランジ部材の内周部に圧入される円筒状の本体部材とから構成され、前記外側フランジ部材の内周面には、圧入された前記本体部材の先端部が当接する突き当て部が形成され、前記本体部材の先端外周部にはテーパ状のシール面が形成されており、前記外側フランジ部材の内周面及び突き当て部と前記本体部材のシール面との間にシール部材が介装されていることを特徴とする油圧緩衝器。
  2. 前記上部室に前記リザーバを配置し、前記下部室に前記オイルタンクを配置したことを特徴とする請求項に記載の油圧緩衝器。
  3. 前記外筒と前記仕切部材の本体部材との間に嵌合されて前記可撓膜の一端部をクランプする環状部材を備え、該環状部材は、内周面に切欠部が形成され、該切欠部と前記仕切部材の本体部材との隙間を介して前記オイル室と前記第2油路とが連通されていることを特徴とする請求項に記載の油圧緩衝器。
  4. 前記上部室に前記オイルタンクを配置し、前記下部室に前記リザーバを配置したことを特徴とする請求項に記載の油圧緩衝器。
  5. 前記外筒と前記仕切部材の本体部材との間に嵌合されて前記可撓膜の一端部をクランプする環状部材を備え、該環状部材は、内周面に切欠部が形成され、該切欠部と前記仕切部材の本体部材との隙間を介して前記オイル室と前記第1油路とが連通されていることを特徴とする請求項に記載の油圧緩衝器。
JP2008022030A 2008-01-31 2008-01-31 油圧緩衝器 Expired - Fee Related JP5110285B2 (ja)

Priority Applications (1)

Application Number Priority Date Filing Date Title
JP2008022030A JP5110285B2 (ja) 2008-01-31 2008-01-31 油圧緩衝器

Applications Claiming Priority (1)

Application Number Priority Date Filing Date Title
JP2008022030A JP5110285B2 (ja) 2008-01-31 2008-01-31 油圧緩衝器

Publications (2)

Publication Number Publication Date
JP2009180355A JP2009180355A (ja) 2009-08-13
JP5110285B2 true JP5110285B2 (ja) 2012-12-26

Family

ID=41034490

Family Applications (1)

Application Number Title Priority Date Filing Date
JP2008022030A Expired - Fee Related JP5110285B2 (ja) 2008-01-31 2008-01-31 油圧緩衝器

Country Status (1)

Country Link
JP (1) JP5110285B2 (ja)

Families Citing this family (1)

* Cited by examiner, † Cited by third party
Publication number Priority date Publication date Assignee Title
RU2570243C1 (ru) 2011-11-30 2015-12-10 Хитачи Отомотив Системз, Лтд. Амортизатор

Family Cites Families (2)

* Cited by examiner, † Cited by third party
Publication number Priority date Publication date Assignee Title
JP3279127B2 (ja) * 1995-05-16 2002-04-30 トヨタ自動車株式会社 セルフポンピング式ショックアブソーバ
JP3700958B2 (ja) * 1996-11-08 2005-09-28 カヤバ工業株式会社 車高調整装置

Also Published As

Publication number Publication date
JP2009180355A (ja) 2009-08-13

Similar Documents

Publication Publication Date Title
JP2008190691A (ja) 油圧緩衝器
JP5077549B2 (ja) 油圧緩衝器の製造方法
EP0855296B1 (en) Suspension apparatus
US6871845B2 (en) Self-pumping, hydropneumatic suspension strut unit
JP2012516983A (ja) 短縮された中間チューブを有する3重チューブショックアブソーバー
US6412615B1 (en) Hydraulic shock absorber for motor vehicles
US6270064B1 (en) Hydraulic shock absorber
JP5413752B2 (ja) 油圧緩衝器の製造方法
JP5110285B2 (ja) 油圧緩衝器
JP4022649B2 (ja) 油圧緩衝器
JP4816968B2 (ja) 油圧緩衝器
JP3988143B2 (ja) 油圧緩衝器
JP3988090B2 (ja) 油圧緩衝器
JP4844889B2 (ja) 油圧緩衝器
JP3062992B2 (ja) 油圧緩衝器
JP4003140B2 (ja) 油圧緩衝器
JP5034080B2 (ja) 油圧緩衝器
JP2000337419A (ja) 油圧緩衝器
JP2000135909A (ja) 油圧緩衝器
JPH10250339A (ja) 油圧緩衝器
JP2000074125A (ja) 油圧緩衝器
KR20080081484A (ko) 감쇠력 가변식 쇽업소버
JPH10211810A (ja) 油圧緩衝器
JPH09280296A (ja) 油圧緩衝器
JPH08312713A (ja) セルフポンピング式ショックアブソーバ

Legal Events

Date Code Title Description
A711 Notification of change in applicant

Free format text: JAPANESE INTERMEDIATE CODE: A712

Effective date: 20090907

RD03 Notification of appointment of power of attorney

Free format text: JAPANESE INTERMEDIATE CODE: A7423

Effective date: 20090907

A621 Written request for application examination

Free format text: JAPANESE INTERMEDIATE CODE: A621

Effective date: 20100622

A977 Report on retrieval

Free format text: JAPANESE INTERMEDIATE CODE: A971007

Effective date: 20110727

A131 Notification of reasons for refusal

Free format text: JAPANESE INTERMEDIATE CODE: A131

Effective date: 20120111

A521 Request for written amendment filed

Free format text: JAPANESE INTERMEDIATE CODE: A523

Effective date: 20120312

TRDD Decision of grant or rejection written
A01 Written decision to grant a patent or to grant a registration (utility model)

Free format text: JAPANESE INTERMEDIATE CODE: A01

Effective date: 20120829

A01 Written decision to grant a patent or to grant a registration (utility model)

Free format text: JAPANESE INTERMEDIATE CODE: A01

A61 First payment of annual fees (during grant procedure)

Free format text: JAPANESE INTERMEDIATE CODE: A61

Effective date: 20120925

FPAY Renewal fee payment (event date is renewal date of database)

Free format text: PAYMENT UNTIL: 20151019

Year of fee payment: 3

R150 Certificate of patent or registration of utility model

Ref document number: 5110285

Country of ref document: JP

Free format text: JAPANESE INTERMEDIATE CODE: R150

Free format text: JAPANESE INTERMEDIATE CODE: R150

S533 Written request for registration of change of name

Free format text: JAPANESE INTERMEDIATE CODE: R313533

R350 Written notification of registration of transfer

Free format text: JAPANESE INTERMEDIATE CODE: R350

R250 Receipt of annual fees

Free format text: JAPANESE INTERMEDIATE CODE: R250

R250 Receipt of annual fees

Free format text: JAPANESE INTERMEDIATE CODE: R250

R250 Receipt of annual fees

Free format text: JAPANESE INTERMEDIATE CODE: R250

LAPS Cancellation because of no payment of annual fees