JP5033552B2 - アキシャルギャップ型コアレス回転機 - Google Patents

アキシャルギャップ型コアレス回転機 Download PDF

Info

Publication number
JP5033552B2
JP5033552B2 JP2007238979A JP2007238979A JP5033552B2 JP 5033552 B2 JP5033552 B2 JP 5033552B2 JP 2007238979 A JP2007238979 A JP 2007238979A JP 2007238979 A JP2007238979 A JP 2007238979A JP 5033552 B2 JP5033552 B2 JP 5033552B2
Authority
JP
Japan
Prior art keywords
coil
cross
section
axial gap
gap type
Prior art date
Legal status (The legal status is an assumption and is not a legal conclusion. Google has not performed a legal analysis and makes no representation as to the accuracy of the status listed.)
Expired - Fee Related
Application number
JP2007238979A
Other languages
English (en)
Other versions
JP2009072010A (ja
Inventor
浩二 宮田
秀樹 小林
直樹 渡辺
武久 美濃輪
Current Assignee (The listed assignees may be inaccurate. Google has not performed a legal analysis and makes no representation or warranty as to the accuracy of the list.)
Shin Etsu Chemical Co Ltd
Original Assignee
Shin Etsu Chemical Co Ltd
Priority date (The priority date is an assumption and is not a legal conclusion. Google has not performed a legal analysis and makes no representation as to the accuracy of the date listed.)
Filing date
Publication date
Priority to JP2007238979A priority Critical patent/JP5033552B2/ja
Application filed by Shin Etsu Chemical Co Ltd filed Critical Shin Etsu Chemical Co Ltd
Priority to CN200880106739.3A priority patent/CN101809847B/zh
Priority to US12/676,062 priority patent/US8299676B2/en
Priority to EP08831067.7A priority patent/EP2190103B1/en
Priority to DK08831067.7T priority patent/DK2190103T3/en
Priority to ES08831067.7T priority patent/ES2650231T3/es
Priority to PCT/JP2008/066310 priority patent/WO2009034991A1/ja
Priority to TW097135217A priority patent/TWI415367B/zh
Publication of JP2009072010A publication Critical patent/JP2009072010A/ja
Application granted granted Critical
Publication of JP5033552B2 publication Critical patent/JP5033552B2/ja
Expired - Fee Related legal-status Critical Current
Anticipated expiration legal-status Critical

Links

Images

Classifications

    • HELECTRICITY
    • H02GENERATION; CONVERSION OR DISTRIBUTION OF ELECTRIC POWER
    • H02KDYNAMO-ELECTRIC MACHINES
    • H02K3/00Details of windings
    • H02K3/46Fastening of windings on the stator or rotor structure
    • H02K3/47Air-gap windings, i.e. iron-free windings
    • HELECTRICITY
    • H02GENERATION; CONVERSION OR DISTRIBUTION OF ELECTRIC POWER
    • H02KDYNAMO-ELECTRIC MACHINES
    • H02K21/00Synchronous motors having permanent magnets; Synchronous generators having permanent magnets
    • H02K21/12Synchronous motors having permanent magnets; Synchronous generators having permanent magnets with stationary armatures and rotating magnets
    • H02K21/24Synchronous motors having permanent magnets; Synchronous generators having permanent magnets with stationary armatures and rotating magnets with magnets axially facing the armatures, e.g. hub-type cycle dynamos
    • HELECTRICITY
    • H02GENERATION; CONVERSION OR DISTRIBUTION OF ELECTRIC POWER
    • H02KDYNAMO-ELECTRIC MACHINES
    • H02K16/00Machines with more than one rotor or stator

Landscapes

  • Engineering & Computer Science (AREA)
  • Power Engineering (AREA)
  • Windings For Motors And Generators (AREA)
  • Insulation, Fastening Of Motor, Generator Windings (AREA)
  • Permanent Magnet Type Synchronous Machine (AREA)
  • Iron Core Of Rotating Electric Machines (AREA)

Description

本発明は、モータや発電機等の同期式の永久磁石回転機で、回転子と固定子とが回転軸方向に対向したアキシャルギャップ型回転機に関する。
永久磁石回転機は、構造上の分類からラジアルギャップ型とアキシャルギャップ型とがある。ラジアルギャップ型は、回転子の周方向に複数の永久磁石を配置し、永久磁石の磁極は径方向に向いており、永久磁石に対向するように固定子が配置されている。一般に固定子は回転子に対向する面に複数の歯状をもつ鉄芯にコイルが巻かれた構造をしている鉄芯を用いることで回転子磁極からの磁束を効率よくコイルに鎖交することができ、モータの場合には大きなトルク、発電機の場合には大きな電圧を生ずることができる。反面、鉄芯を用いるためにコギングトルクや鉄芯のヒステリシス損失に基づくロストルクを生じ、初動トルクを大きくするという問題がある。初動トルクが大きいと、例えば風力発電機に用いた際に微風では回転できず発電できない。
鉄芯を取り除けばこのような問題はなくなるが、磁気効率が悪くなるのでラジアルギャップ型では大きな出力が得られない。そこで、図8に示すようなアキシャルギャップ型が考えられる。
図8において、回転軸(シャフト)22には、表面に複数の永久磁石26aを備えた円盤状磁性体(ロータヨーク)25がスペーサを介して複数段取り付けられ一体化しており、回転子27を構成している。各ロータヨークの間に形成される空隙にはコイル3を備えた固定子1が配置され,ハウジング21に固定されている。回転軸22はハウジング21によりベアリング28を介して回動可能に支持されている。この構造であればコイル3に鉄芯を用いなくても永久磁石26aの磁極面を大きくすることで出力を大きくとることができる。アキシャルギャップ型の回転機では、コイルに鉄芯を用いない(コアレスと呼ぶ)構造であるので、初動トルクが無く、高出力な回転機を得ることができる。コアレス回転機は、巻線のインダクタンスが小さく低インピーダンスになるので高回転になっても内部損失が少なく高出力高効率になる。例えば、コアレス発電機として用いた場合、内部損失はインピーダンスと電流の積であるので、インピーダンスが小さい分、大きな電流を供給できることになる。このように大電流を供給したい用途には、コアレス回転機は有利である。なお、流せる電流の大きさは、コイルの発熱を制限するために巻線の断面積で決められ、巻線の断面積1mm2当たり5〜15Aとなっている。
特開2002−320364号公報 特開2003−348805号公報
コイルは断面円形の巻線で巻くより、断面角型の巻線で巻いた方がコイルの占有率を向上することができ、高出力化が図れる。そこで本発明者らは、30Aの電流を得るために、断面寸法1.6mm×1.25mm、断面積2mm2の角線を巻いたコイルを製作し、アキシャルギャップ型のコアレス発電機として3600rpmで回転させたところ、負荷に何も接続しない状態、即ちコイルに電流が流れていないにも拘わらずコイルが発熱した。この発熱は発電機の内部損失となり、発電効率を低下させる要因となる。本発明者らが発熱の原因を究明したところ、磁場がコイル巻線を鎖交する際に、巻線内部に環状に渦電流が流れて発熱することが分かった。渦電流を低減する方法として、巻線を細くすることが考えられるが、これでは大きな電流を流すことができない。
本発明は、上記現状に鑑み、巻線内に発生する渦電流を減らし、大きな電流を供給できる高出力高効率のアキシャルギャップ型コアレス回転機を提供することを目的とする。
本発明者は、上記課題を解決するために鋭意検討を行い、巻線内に発生する渦電流を減らし、大きな電流を供給できる高出力高効率のアキシャルギャップ型コアレス回転機を実現した。すなわち、本発明に係るアキシャルギャップ型コアレス回転機は、
ハウジングと、該ハウジング内に回転自在に支持された回転軸と、前記回転軸の軸方向に間隔を置いて対向配置された回転盤を備え前記回転軸と一体に回動可能な2段の回転子であって、前記対向配置された回転盤の対向面の少なくとも一面において、前記回転軸を中心とする円周上に磁極面が回転軸に対して垂直になるように永久磁石を配置している回転子と、前記対向配置された回転盤が形成する空隙に配置されハウジングに固定された固定盤、および、前記回転盤の永久磁石が配置された円周と相対する前記固定盤の円周上に配置されたコイルを備えた固定子とを備えたアキシャルギャップ型のコアレス回転機であって、前記コイルは、長方形断面を有するコイル素線を断面の長辺を揃えてかつ/または短辺を揃えて2本以上束ねてなる巻線からなり、前記巻線は、外周を絶縁被覆されており、前記コイル素線の断面の長辺と前記永久磁石の磁極面とが垂直になるように巻き回されていることを特徴とする。
本発明に係るアキシャルギャップ型コアレス回転機は、他の態様として、ハウジングと、該ハウジング内に回転自在に支持された回転軸と、前記回転軸の軸方向に間隔を置いて対向配置された端部回転盤を備え、前記回転軸と一体に回動可能な第1と第2の端部回転子と、前記第1と第2の端部回転子が形成する空隙に配置された回転盤、および、前記回転盤の両面において、前記回転軸を中心とする円周上に磁極面が回転軸に対して垂直になるように配置された永久磁石を備え、前記回転軸と一体に回動可能な少なくとも1段の両面磁石回転子と、前記第1端部回転子、前記少なくとも1段の両面磁石回転子、および、前記第2端部回転子が形成する各空隙に配置されハウジングに固定された固定盤、ならびに、前記回転盤の永久磁石が配置された円周と相対する前記固定盤の円周上に配置されたコイルを備えた固定子とを備えたアキシャルギャップ型のコアレス回転機であって、前記コイルは、長方形断面を有するコイル素線を断面の長辺を揃えてかつ/または短辺を揃えて2本以上束ねてなる巻線からなり、前記巻線は、外周を絶縁被覆されており、前記コイル素線の断面の長辺と前記永久磁石の磁極面とが垂直になるように巻き回されていることを特徴とする。
本発明に係るアキシャルギャップ型コアレス回転機は、他の態様として、上記第1と第2の端部回転子の端部回転盤の対向面に磁極面が回転軸に対して垂直になるように配置された永久磁石とを備えたものとすることもできる。
本発明に係るアキシャルギャップ型コアレス回転機は、前記コイル素線の断面形状が、断面の長辺の長さ/断面の短辺の長さ≧5の関係にあることが好適である。
本発明に係るアキシャルギャップ型コアレス回転機は、前記コイル素線の断面の短辺の長さが、0.5mm以下であることが好適である。
本発明に係るアキシャルギャップ型コアレス回転機は、前記コイル素線の各々が絶縁被覆されているものであってもよい。
本発明により、大電流を流すことができる巻線断面積でありながら、高出力高効率なアキシャルギャップ型コアレス回転機を得ることができる。
以下、本発明について、図面を参照してさらに詳細に説明する。
本発明にかかるアキシャルギャップ型回転機の固定子を図1に示す。図1で固定子1は、コイルベース(固定盤)2の回転軸を中心とする円周上に12個のコイル3を等間隔に配置している。コイルの数は、回転子の極数やコイル繋ぎを単相あるいは三相するかで選ばれ、磁極数に対して単相の場合は、1:1で、三相交流(コアレス)の場合は、磁極数:コイル数=4:3が一般的で16:9、20:12等もある。図1の例では、16極の回転子で三相出力を得るために12個のコイルを三相結線したものである。
なお、固定子は、図1に示したようにコイルベース2の回転軸を中心とする1つの円周上に配置したものに限られず、コイルベース2において、回転軸を中心とする2つ以上の異径同心円の各円周上に配置した、いわゆる複周構成を採用することもできる。かかる場合においては、固定盤のコイルが配置された異径同心円に相対する回転盤の異径同心円の各円周上に永久磁石が備えられていることになる。
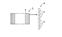
上記固定子に使用されるコイルの巻線構造について図2でさらに詳細に説明する。図2(a)〜(c)に示すように、コイル3は外周表面に絶縁被覆6が施された板状のコイル巻線4を巻いたものとなっている。さらに図2(d)に示すように、板状コイル巻線4は、断面長方形のコイル素線5をその断面の長辺および短辺を揃えて合計18本束ねて構成されている。
コイル巻線4の絶縁被覆6の厚さは、渦電流低減の観点から、好ましい範囲は、0〜50μmであり、より好ましい範囲は、20μm〜30μmである。また巻線の絶縁被覆は、エナメルコーティングによって施される。
図3および図4では、アキシャルギャップ型回転機の駆動時において、上記板状コイル巻線4の内部に渦電流が流れることを説明する。図3(a)では、前記回転子の永久磁石7が、回転軸の回転に伴って前記回転軸を中心とする円周上に配設された特定のコイル3の巻線4の上方に達した状態を示す。このときのA―A断面図が図4(a)に相当する。図3(b)では、さらに回転子が回転して、永久磁石7が特定のコイル3の巻線4の上方から遠ざかろうとしている。このときのB―B断面図が図4(b)に相当する。図3(a)から図3(b)への過程において、図4(a)(b)に示すように、巻線4の内部を貫く磁束8が刻々減少する。この磁束の減少を妨げるように巻線4の内部に渦電流9(誘導電流)が流れる。渦電流9は、磁束が貫く面に多く流れるので、磁束に平行な面より磁極面に平行な面、図4(b)では上下面に多く流れる。そこで本発明者らは、アキシャルギャップ型回転機のコイルでは、磁極面に平行な面を細分化すると渦電流経路が寸断されるので渦電流の低減に効果的となると考え、上述のように同一断面形状を有する2本以上のコイル素線をその断面の長辺かつ/または短辺を揃えて束ね合わせることによって巻線を得ることを着想した。
巻線を構成するコイル素線5は長方形断面を有していることが好ましい。個々の素線5自体も、図2(e)に示すように絶縁被覆6されていることが渦電流低減の観点から好ましいが、絶縁被覆6が厚いと巻線の占積率を下げてしまい出力低下につながるので、薄い絶縁被膜がよく、例えば、エナメル線を好適に採用することができる。なお、絶縁被膜が無い場合でも渦電流低減効果はあるので、コイル素線5自体の絶縁被膜は必須条件ではない。コイル素線5に絶縁被覆6を施す場合、その厚さは、渦電流低減の観点から好ましくは、0〜50μm、より好ましくは、20μm〜30μmである。またコイル素線5の絶縁被覆には、巻線の絶縁被覆と同様の材料を採用することができる。
素線の寸法としては、渦電流が流れ難い値が選ばれる。渦電流が流れ難い値は、磁極数や回転数、磁場強度等によって変わり、有限要素法等を用いた磁場シミュレーションによって算出することができる。
素線の断面の短辺の長さは、0.5mm以下が好ましい。素線の断面長辺の寸法を小さくすることも渦電流低減につながるが、素線を細くしすぎると巻線化が難しく、巻線の占積率を低下することにもなるので、素線の断面の長辺即ちコイルを回転機に配置したときに永久磁石の磁極面に対して垂直な辺は、素線の断面の短辺即ち永久磁石の磁極面に対して平行な辺ほど小さな値をとる必要はない。前記コイル素線の断面形状は、断面の長辺の長さ/断面の短辺の長さ≧5の関係にあることが好ましい。
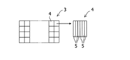
図5および図6には、本発明にかかる回転機で用いられるコイルの他の態様を示している。図5では、巻線を構成するコイル素線は、長方形断面となっている点で図2の態様と共通しているが、正方形断面の巻線を巻き回して構成されている点において図2の態様と相違する。
図6では、長方形断面の巻線を巻き回して構成されている点において図2の態様と共通するが、コイル素線の断面の短辺が図2に比べて厚くなっている。
ただし何れのコイルも、巻線を構成する素線の断面において、断面の短辺の長さは、0.5mm以下になるようにしている。
図7では、上述したコイル巻線およびコイルの製造方法の一例を示す。図7にかかるコイル製造機10は、7つのコイル素線源14を備え、回転によってコイル素線5を送り出す素線供給部11と、該素線供給部から供給される素線5を互いに反対方向に回転する2つの回転体15によって巻き込み束ねて1本の断面角型の巻線4を作る素線集合部12と、該素線集合部で得られたコイル巻線4を中空のコイル枠16に巻きとるコイル巻き付け部13とを備えている。例えば、かかる製造装置によってコイルを得ることができる。なお、素線集合部12とコイル巻き付け部との間には、素線集合部12で得られた巻線に絶縁被覆を施す被覆部を設けてもよい。
上記コイルを備えた固定子は、例えば、以下の図8、図10、図11および図12に示すアキシャルギャップ型回転機に好適に用いることができる。
図8にかかるアキシャルギャップ型回転機20は、ハウジング21と、該ハウジング21内に回転自在に支持された回転軸22と、前記回転軸22の軸方向に間隔を置いて対向配置された回転盤23,25を備え前記回転軸と一体に回動可能な2段の回転子であって、前記対向配置された回転盤23,25の対向面の一面において、前記回転軸を中心とする円周上に磁極面が回転軸に対して垂直になるように永久磁石26aを配置している回転子24,27と、前記対向配置された回転盤23,25が形成する空隙に配置されハウジングに固定された固定盤1、および、前記回転盤の永久磁石が配置された円周と相対する前記固定盤の円周上に配置されたコイル3を備えた固定子とを備えている。
前記回転子の永久磁石から発生する磁束は、前記回転軸の回転に伴って、同心円状に配設された各コイル3の内部を断続的に鎖交するようになっている。
図9には、上記アキシャルギャップ型回転機20で用いられる回転子27が開示されている。回転子27は、ロータヨーク25の表面上に16個の永久磁石7を磁極が交互になるように配置している。永久磁石の数は偶数個になっている。永久磁石としては、強力な磁力をもつNd−Fe−B系の焼結磁石を用いることで高出力になる。
図10にかかるアキシャルギャップ型回転機30は、対向配置された回転盤35a,35bの対向面の両面において、回転軸32を中心とする円周上に磁極面が回転軸に対して垂直になるように永久磁石34a,34bを配置している点において図8の態様と相違している。
図10の態様は、回転盤(ロータヨーク)の両方の表面に永久磁石を配置しているので、図8の態様に比べて磁気効率を向上することができる。なお、回転盤は、1つの磁石を回転盤に形成された貫通孔のなかに嵌め込んで形成してもよい。
図11にかかるアキシャルギャップ型回転機40は、ハウジング41と、該ハウジング内に回転自在に支持された回転軸42と、前記回転軸42の軸方向に間隔を置いて対向配置された端部回転盤43a,43bを備え、前記回転軸と一体に回動可能な第1と第2の端部回転子と、前記第1と第2の端部回転子が形成する空隙に配置された回転盤44、および、前記回転盤44の両面において、前記回転軸42を中心とする円周上に磁極面が回転軸に対して垂直になるように配置された永久磁石45を備え、前記回転軸と一体に回動可能な少なくとも1段の両面磁石回転子と、前記第1端部回転子、前記少なくとも1段の両面磁石回転子、および、前記第2端部回転子が形成する各空隙に配置されハウジングに固定された固定盤1、ならびに、前記回転盤の永久磁石が配置された円周と相対する前記固定盤の円周上に配置されたコイル3を備えた固定子とを備えている。
図12にかかるアキシャルギャップ型回転機50は、第1と第2の端部回転子の端部回転盤53a,53bの対向面に磁極面が回転軸に対して垂直になるように配置された永久磁石54とを備えている点で、図11にかかる態様と相違している。
図11や図12に示すように軸方向に回転子と固定子を複数個並べると、出力がコイルの数だけ増えて、より高出力な回転機となる。図11と図12は、3つの回転子と2つの固定子を配置したものである。固定子の数は2個以上の整数で、回転子の数は固定子の数に1加えたものになる。
以下、実施例にて詳しく説明する。なお、Nd2−Fe14−B系の永久磁石を用いた場合について説明するが、本発明はNd−Fe−B系磁石に限るものではない。本永久磁石の特性は、Br:13.7kG,iHc:16kOe,(BH)max:46MGOeであった。
比較例1
まず、図10に示すアキシャルギャップ型回転機を発電機とした場合の発電量並びに損失を測定した。発電機の構造は16極12コイルであり、図9は、ロータヨーク27に永久磁石7を配置して回転子25を得た状態を示す。ロータヨーク27としては、材質がS15Cで外径200mm、厚さ5mmの円盤を用いた。永久磁石7としては、材質が上記Nd−Fe−B系磁石で、大きさが幅20mm、長さ35mm、磁化方向の厚さ3mmのものを用いた。ロータヨーク27表面に磁極面がN極S極交互に16個の磁石を配置し、弾性接着剤(EP001、セメダイン社製)で接着した。磁石は図10に示すように空隙(ギャップ)をはさんで逆極の磁石と対向させた。ギャップの大きさは8mmで、ギャップには固定子1を配置した。
固定子1には、図1に示すように、材質がベークライト製で厚さが5mmのコイルベース2に30ターン巻かれたコイル3が12個収められている。コイル3は三相結線で、各相4個のコイル3を直列に接続したものをスター結線した。なお、各コイル3はコイルベース2にエポキシ系接着剤(EW2040、住友3M社製)で固定した。コイルの断面は固定子を図10に示すアキシャルギャップ型回転機に組み込んだときに永久磁石の磁極面に対して垂直な辺が5mm、永久磁石の磁極面に対して平行な辺が12mmとなっている。本比較例では、断面の短辺が1.25mm、断面の長辺が1.6mmの長方形断面を有する1本の素線(材質:銅、絶縁被覆あり)を巻線として、図10に示すアキシャルギャップ型回転機に組み込んだときに各コイル素線の断面の短辺が永久磁石の磁極面に対して垂直になるように巻いた。巻線の断面積は2mm2である。
得られたアキシャルギャップ型発電機の回転子を毎分3600回転で回転させ、負荷をつないで線電流30A、線間電圧100V、三相出力5200Wを得た。発電機の入力側にトルクメータを取付け、回転数とトルクから発電機の入力電力を測定した。入力は6500Wであった。巻線の銅損は、その抵抗値と電流値から300Wであるので、残りの損失の1000Wが巻線の渦電流損失になり、その他の損失である機械損や風損はほとんど無視できることを確認できた。
比較例2
断面の長辺が5mm、断面の短辺が0.4mmの1本のコイル素線を巻線として、図10に示すアキシャルギャップ型回転機に組み込んだときにコイル素線の断面の長辺が永久磁石の磁極面に対して垂直になるように巻いたほかは比較例1と同様にした。
得られたアキシャルギャップ型発電機の回転子を毎分3600回転で回転させ、負荷をつないで線電流30A、線間電圧100V、三相出力5200Wを得た。この時の入力電力は5700Wであった。巻線の銅損は、その抵抗値と電流値から300Wであるので、残りの損失の200Wが巻線の渦電流損失になることがわかった。巻線の素線を空隙の直角方向に細くすると、巻線の渦電流損失を低減できることがわかった。
実施例1
断面の長辺が5mm、断面の短辺が0.1mmのコイル素線を断面の長辺を揃えて4列束ね合わせることによって、断面の長辺が5mm、断面の短辺が0.4mmの素線集合体を得、これにエナメル被覆を施して巻線を得たほかは比較例2と同様とした。
得られたアキシャルギャップ型発電機の回転子を毎分3600回転で回転させ、負荷をつないで線電流30A、線間電圧100V、三相出力5200Wを得た。この時の入力電力は5620Wであった。巻線の銅損は、その抵抗値と電流値から300Wであるので、残りの損失の120Wが巻線の渦電流損失になることがわかった。比較例2に比べて巻線の渦電流損失を低減でき、高効率な発電機を得ることができた。
実施例2
断面の長辺が1.25mm、断面の短辺が0.4mmのコイル素線を断面の短辺を揃えて4列束ね合わせることによって、断面の長辺が5mm、断面の短辺が0.4mmの素線集合体を得、これにエナメル被覆を施して巻線を得たほかは比較例2と同様とした。
得られたアキシャルギャップ型発電機の回転子を毎分3600回転で回転させ、負荷をつないで線電流30A、線間電圧100V、三相出力5200Wを得た。この時の入力電力は5610Wであった。巻線の銅損は、その抵抗値と電流値から300Wであるので、残りの損失の110Wが巻線の渦電流損失になる。比較例に比べて巻線の渦電流損失を低減でき、高効率な発電機を得ることができた。
実施例3
断面の長辺が1.25mm、断面の短辺が0.1mmのコイル素線を断面の長辺および短辺を揃えて4行×4列の計16本束ね合わせることによって、断面の長辺が5mm、断面の短辺が0.4mmの素線集合体を得、これにエナメル被覆を施して巻線を得たほかは比較例2と同様とした。
得られたアキシャルギャップ型発電機の回転子を毎分3600回転で回転させ、負荷をつないで線電流30A、線間電圧100V、三相出力5200Wを得た。この時の入力電力は5550Wであった。巻線の銅損は、その抵抗値と電流値から300Wであるので、残りの損失の50Wが巻線の渦電流損失になることがわかった。比較例1に比べ、巻線の渦電流損失を1/20、比較例2に比べ1/4にできたのみならず、実施例1や実施例2よりもさらに高効率な発電機を得ることができた。
本発明の回転機の固定子を示す模式的断面図である。 図1の固定子に収容されているコイル(a)の一態様におけるA−A断面図(b)およびその拡大図(c)である。 本発明の回転機の固定子の上方を回転子の磁石が通過する様子を回転軸方向からみた正面図である。 本発明の回転機の固定子の上方を回転子の磁石が通過する様子を図3のA−A断面、B―B断面からみた図である。 図1の固定子に収容されているコイルの他の態様におけるA−A断面図および1本の巻線における素線の配列を示す模式図である。 図1の固定子に収容されているコイルの他の態様におけるA−A断面図および1本の巻線における素線の配列を示す模式図である。 図1の固定子に収容されているコイルの製造方法および装置の一例を示す模式図である。 本発明にかかるアキシャルギャップ型回転機の一態様を示す模式的断面図である。 本発明にかかるアキシャルギャップ型回転機に採用することができる回転子の模式的斜視図である。 本発明にかかるアキシャルギャップ型回転機の他の態様を示す模式的断面図である。 本発明にかかるアキシャルギャップ型回転機の他の態様を示す模式的断面図である。 本発明にかかるアキシャルギャップ型回転機の他の態様を示す模式的断面図である。
符号の説明
1 固定子
2 コイルベース
3 コイル
4 コイル巻線
5 コイル素線
6 絶縁被覆
7 永久磁石
8 巻線内部を鎖交する磁束
9 渦電流の向き
10 コイル製造機
11 素線供給部
12 素線集合部
13 コイル巻き付け部
14 コイル素線源
15 回転体
16 コイル枠
20,30,40,50 アキシャルギャップ型回転機
21,31,41,51 ハウジング
22,32,42,52 回転軸
23、25,33a,33b,44 回転盤(ロータヨーク)
24、27 回転子
26a,34a,34b,45,54,56 永久磁石
28 ベアリング
43a,43b,53a,53b 端部回転盤

Claims (6)

  1. ハウジングと、
    該ハウジング内に回転自在に支持された回転軸と、
    前記回転軸の軸方向に間隔を置いて対向配置された回転盤を備え前記回転軸と一体に回動可能な2段の回転子であって、前記対向配置された回転盤の対向面の少なくとも一面において、前記回転軸を中心とする円周上に磁極面が回転軸に対して垂直になるように永久磁石を配置している回転子と、
    前記対向配置された回転盤が形成する空隙に配置されハウジングに固定された固定盤、および、前記回転盤の永久磁石が配置された円周と相対する前記固定盤の円周上に配置されたコイルを備えた固定子とを備えたアキシャルギャップ型のコアレス回転機であって、
    前記コイルは、長方形断面を有するコイル素線を断面の長辺を揃えてかつ/または短辺を揃えて2本以上束ねてなる巻線からなり、前記巻線は、外周を絶縁被覆されており、前記コイル素線の断面の長辺と前記永久磁石の磁極面とが垂直になるように巻き回されているアキシャルギャップ型コアレス回転機。
  2. ハウジングと、
    該ハウジング内に回転自在に支持された回転軸と、
    前記回転軸の軸方向に間隔を置いて対向配置された端部回転盤を備え、前記回転軸と一体に回動可能な第1と第2の端部回転子と、
    前記第1と第2の端部回転子が形成する空隙に配置された回転盤、および、前記回転盤の両面において、前記回転軸を中心とする円周上に磁極面が回転軸に対して垂直になるように配置された永久磁石を備え、前記回転軸と一体に回動可能な少なくとも1段の両面磁石回転子と、
    前記第1端部回転子、前記少なくとも1段の両面磁石回転子、および、前記第2端部回転子が形成する各空隙に配置されハウジングに固定された固定盤、ならびに、前記回転盤の永久磁石が配置された円周と相対する前記固定盤の円周上に配置されたコイルを備えた固定子とを備えたアキシャルギャップ型のコアレス回転機であって、
    前記コイルは、長方形断面を有するコイル素線を断面の長辺を揃えてかつ/または短辺を揃えて2本以上束ねてなる巻線からなり、前記巻線は、外周を絶縁被覆されており、前記コイル素線の断面の長辺と前記永久磁石の磁極面とが垂直になるように巻き回されているアキシャルギャップ型コアレス回転機。
  3. さらに、前記第1と第2の端部回転子の端部回転盤の対向面に磁極面が回転軸に対して垂直になるように配置された永久磁石とを備えた請求項2に記載のアキシャルギャップ型コアレス回転機。
  4. 前記コイル素線の断面形状が、断面の長辺の長さ/断面の短辺の長さ≧5の関係にあることを特徴とする請求項1または請求項2または請求項3のいずれかに記載のアキシャルギャップ型コアレス回転機。
  5. 前記コイル素線の各々が外周を絶縁被覆されていることを特徴とする請求項1ないし4のいずれかに記載のアキシャルギャップ型コアレス回転機。
  6. 前記コイル素線の断面の短辺の長さが、0.5mm以下であることを特徴とする請求項1ないし5のいずれかに記載のアキシャルギャップ型コアレス回転機。
JP2007238979A 2007-09-14 2007-09-14 アキシャルギャップ型コアレス回転機 Expired - Fee Related JP5033552B2 (ja)

Priority Applications (8)

Application Number Priority Date Filing Date Title
JP2007238979A JP5033552B2 (ja) 2007-09-14 2007-09-14 アキシャルギャップ型コアレス回転機
US12/676,062 US8299676B2 (en) 2007-09-14 2008-09-10 Axial gap type coreless rotating machine
EP08831067.7A EP2190103B1 (en) 2007-09-14 2008-09-10 Axial gap type coreless rotating machine
DK08831067.7T DK2190103T3 (en) 2007-09-14 2008-09-10 COREL FREE SHUTTER WITH SHIFT
CN200880106739.3A CN101809847B (zh) 2007-09-14 2008-09-10 轴向间隙型无芯旋转机
ES08831067.7T ES2650231T3 (es) 2007-09-14 2008-09-10 Máquina rotativa sin núcleo del tipo con huelgo axial
PCT/JP2008/066310 WO2009034991A1 (ja) 2007-09-14 2008-09-10 アキシャルギャップ型コアレス回転機
TW097135217A TWI415367B (zh) 2007-09-14 2008-09-12 Axial clearance type without core rotating machine

Applications Claiming Priority (1)

Application Number Priority Date Filing Date Title
JP2007238979A JP5033552B2 (ja) 2007-09-14 2007-09-14 アキシャルギャップ型コアレス回転機

Publications (2)

Publication Number Publication Date
JP2009072010A JP2009072010A (ja) 2009-04-02
JP5033552B2 true JP5033552B2 (ja) 2012-09-26

Family

ID=40451998

Family Applications (1)

Application Number Title Priority Date Filing Date
JP2007238979A Expired - Fee Related JP5033552B2 (ja) 2007-09-14 2007-09-14 アキシャルギャップ型コアレス回転機

Country Status (8)

Country Link
US (1) US8299676B2 (ja)
EP (1) EP2190103B1 (ja)
JP (1) JP5033552B2 (ja)
CN (1) CN101809847B (ja)
DK (1) DK2190103T3 (ja)
ES (1) ES2650231T3 (ja)
TW (1) TWI415367B (ja)
WO (1) WO2009034991A1 (ja)

Families Citing this family (34)

* Cited by examiner, † Cited by third party
Publication number Priority date Publication date Assignee Title
USRE49413E1 (en) 2007-07-09 2023-02-07 Clearwater Holdings, Ltd. Electromagnetic machine with independent removable coils, modular parts and self-sustained passive magnetic bearing
US10038349B2 (en) * 2008-08-15 2018-07-31 Millennial Research Corporation Multi-phase modular coil element for electric motor and generator
EP2340602B1 (en) 2008-09-26 2019-01-02 Clearwater Holdings, Ltd. Permanent magnet operating machine
JP2011239621A (ja) * 2010-05-13 2011-11-24 Kobe Steel Ltd 磁歪型超音波モータ
RU2437196C1 (ru) * 2010-10-05 2011-12-20 Андрей Борисович Захаренко Электрическая машина двойного вращения
JP5450361B2 (ja) * 2010-11-30 2014-03-26 ニスカ株式会社 アキシャルギャップ型回転機及びアキシャルギャップ型発電機
JP2014511098A (ja) * 2011-02-25 2014-05-01 センゼン アントウサン スペシャル マシン アンド エレクトリカル カンパニー,リミテッド 希土類永久磁石コアレス発電機ユニット
CN102931788A (zh) * 2011-12-16 2013-02-13 沈坤元 一种碟形复式多组合三维永磁电机
EP2888807B1 (en) 2012-08-27 2017-10-04 Albus Technologies Ltd. Planar stator with efficient use of space
US10505412B2 (en) 2013-01-24 2019-12-10 Clearwater Holdings, Ltd. Flux machine
JP2015019546A (ja) 2013-07-12 2015-01-29 株式会社東芝 アキシャルギャップ型永久磁石回転電機およびその製造方法
CN103475176A (zh) * 2013-08-22 2013-12-25 浙江双民科技有限公司 车载式无铁芯发电机
GB2520516B (en) * 2013-11-21 2021-08-25 Time To Act Ltd Direct drive generator for renewable energy applications
WO2016014717A1 (en) 2014-07-23 2016-01-28 Clearwater Holdings, Ltd Flux machine
CN104218713A (zh) * 2014-09-03 2014-12-17 洛阳市贝叶机电有限公司 一种永磁无铁芯无刷电机的定子结构
JP6459754B2 (ja) * 2015-04-28 2019-01-30 日本電産株式会社 モータ
GB2538516B (en) 2015-05-19 2021-09-29 Time To Act Ltd Method of construction for permanent magnet generator
GB2551364B (en) * 2016-06-15 2023-02-01 Time To Act Ltd Axial flux generators
PL233865B1 (pl) * 2017-07-28 2019-12-31 Equelo Spolka Z Ograniczona Odpowiedzialnoscia Maszyna elektryczna
WO2019050772A1 (en) 2017-09-08 2019-03-14 Clearwater Holdings, Ltd. SYSTEMS AND METHODS FOR ENHANCING ELECTRICITY STORAGE
JP7433223B2 (ja) 2017-10-29 2024-02-19 クリアウォーター ホールディングス,リミテッド モジュール化された電磁機械及び製造方法
CN108087234B (zh) * 2018-01-03 2023-09-22 广东美芝制冷设备有限公司 压缩机和制冷设备
EP4629490A3 (en) * 2018-08-28 2025-12-10 Boston Scientific Scimed, Inc. Axial flux motor for percutaneous circulatory support device
JP2020137230A (ja) * 2019-02-18 2020-08-31 株式会社ごとう ブラシレスモータ
DE102019202630A1 (de) * 2019-02-27 2020-08-27 Fraunhofer-Gesellschaft zur Förderung der angewandten Forschung e.V. Elektromotor
US11616410B2 (en) 2020-01-10 2023-03-28 Samsung Electronics Co., Ltd. Cleaner
JP7503448B2 (ja) 2020-01-10 2024-06-20 三星電子株式会社 アキシャルギャップ型のミニファンモータ
CN113691094A (zh) * 2020-05-19 2021-11-23 陆继荣 稀土永磁轴向双磁路无铁芯发电机
GB2595659A (en) * 2020-06-01 2021-12-08 Time To Act Ltd Improvements to the performance of axial flux generators
CN119906183A (zh) * 2021-02-17 2025-04-29 电路电机有限公司 设备以及对设备进行操作的方法
US11757323B2 (en) * 2021-03-17 2023-09-12 BlackBox Energy Systems, LLC Axial flux permanent magnet motor/generator
CN116054517A (zh) * 2021-10-26 2023-05-02 励富创瑞士控股有限公司 节能无刷微启动发电机
US12456894B2 (en) * 2022-09-01 2025-10-28 Conifer Systems, Inc. Axial flux electric machine pole piece with conductive ribbons
KR102693120B1 (ko) * 2022-10-28 2024-08-07 오원섭 축방향 다단 모터

Family Cites Families (18)

* Cited by examiner, † Cited by third party
Publication number Priority date Publication date Assignee Title
US4371801A (en) * 1978-10-11 1983-02-01 General Electric Company Method and apparatus for output regulation of multiple disk permanent magnet machines
JPS55122308U (ja) * 1979-02-23 1980-08-30
JPS55122308A (en) 1979-03-14 1980-09-20 Yazaki Corp High voltage resistance wire for preventing noise
US5945766A (en) * 1996-01-18 1999-08-31 Amotron Co., Ltd. Coreless-type BLDC motor and method of producing stator assembly having axial vibration attenuation arrangement
US5744896A (en) * 1996-05-21 1998-04-28 Visual Computing Systems Corp. Interlocking segmented coil array
US5982074A (en) * 1996-12-11 1999-11-09 Advanced Technologies Int., Ltd. Axial field motor/generator
US5731649A (en) * 1996-12-27 1998-03-24 Caama+E,Otl N+Ee O; Ramon A. Electric motor or generator
JPH11113204A (ja) * 1997-10-02 1999-04-23 Hitachi Ltd 回転電機の固定子コイル
JPH11187635A (ja) * 1997-12-19 1999-07-09 Sawafuji Electric Co Ltd フラット回転機
WO2002011268A1 (de) * 2000-08-02 2002-02-07 Von Roll Isola Winding Systems Gmbh Wicklungen für elektrische maschinen mit leitern aus litze
JP4782303B2 (ja) 2001-04-18 2011-09-28 株式会社スカイ電子 永久磁石発電機
DE60230947D1 (de) * 2001-04-20 2009-03-12 Converteam Ltd Kühlung von Luftspaltelektrischermaschinewicklungen
US7098566B2 (en) * 2001-05-24 2006-08-29 Rajasingham Arjuna Indraes War Axial gap electrical machine
JP2003348805A (ja) 2002-05-24 2003-12-05 Nsk Ltd 発電機
JP2004208464A (ja) * 2002-12-26 2004-07-22 Nissan Motor Co Ltd 電動機の巻線構造
WO2005089327A2 (en) * 2004-03-14 2005-09-29 Revolution Electric Motor Company, Inc. Commercial low cost, high efficiency motor-generator
WO2005112230A1 (ja) * 2004-05-18 2005-11-24 Seiko Epson Corporation 電動機
JP2006158024A (ja) * 2004-11-26 2006-06-15 Sumitomo Electric Ind Ltd コイル及びその製造方法

Also Published As

Publication number Publication date
TWI415367B (zh) 2013-11-11
US8299676B2 (en) 2012-10-30
CN101809847A (zh) 2010-08-18
DK2190103T3 (en) 2018-01-15
EP2190103A4 (en) 2016-05-25
EP2190103A1 (en) 2010-05-26
TW200937809A (en) 2009-09-01
JP2009072010A (ja) 2009-04-02
EP2190103B1 (en) 2017-10-25
US20100253173A1 (en) 2010-10-07
WO2009034991A1 (ja) 2009-03-19
ES2650231T3 (es) 2018-01-17
CN101809847B (zh) 2015-08-19

Similar Documents

Publication Publication Date Title
JP5033552B2 (ja) アキシャルギャップ型コアレス回転機
CN101803157B (zh) 永磁旋转电机
JP3690067B2 (ja) 永久磁石回転電機
US7595575B2 (en) Motor/generator to reduce cogging torque
CN106877615B (zh) 电动机及搭载了该电动机的电气设备
KR101707389B1 (ko) 전기 기계를 위한 로터
JP2013055872A (ja) スイッチドリラクタンスモータ
JPH08126277A (ja) フラット回転機
US11336163B2 (en) Low profile axial, flux permanent magnet synchronous motor
KR101614685B1 (ko) 권선계자형 동기 전동기 및 그의 회전자
JPH09117117A (ja) 電気機器
CN111030402B (zh) 方向性硅钢片轴向磁场电动机
JP2014054092A (ja) アキシャルギャップ型ブラシレスモータ
JP2006025486A (ja) 回転電機
JP2002010537A (ja) アキシャルギャップ型モータ
JP2008187863A (ja) アキシャルギャップ型回転電機及び圧縮機
JP5128800B2 (ja) ハイブリッド式永久磁石回転電機
JP7543229B2 (ja) アキシャルギャップ型回転電機のステータコア、アキシャルギャップ型回転電機のステータ製造方法
JP2019216530A (ja) 永久磁石発電機
JPH09121488A (ja) 回転電機のステータコイル
WO2026006997A1 (zh) 步进电机
JP5851972B2 (ja) アキシャルギャップ型ブラシレスモータ
CN116260304A (zh) 一种高功率密度的轴径向混合同步电机
JP2009050044A (ja) アキシャルギャップモータ用ステータコア
JPH03155364A (ja) 直流電動機

Legal Events

Date Code Title Description
A621 Written request for application examination

Free format text: JAPANESE INTERMEDIATE CODE: A621

Effective date: 20090826

A131 Notification of reasons for refusal

Free format text: JAPANESE INTERMEDIATE CODE: A131

Effective date: 20111028

A02 Decision of refusal

Free format text: JAPANESE INTERMEDIATE CODE: A02

Effective date: 20120127

A521 Request for written amendment filed

Free format text: JAPANESE INTERMEDIATE CODE: A523

Effective date: 20120413

A911 Transfer to examiner for re-examination before appeal (zenchi)

Free format text: JAPANESE INTERMEDIATE CODE: A911

Effective date: 20120420

TRDD Decision of grant or rejection written
A01 Written decision to grant a patent or to grant a registration (utility model)

Free format text: JAPANESE INTERMEDIATE CODE: A01

Effective date: 20120608

A01 Written decision to grant a patent or to grant a registration (utility model)

Free format text: JAPANESE INTERMEDIATE CODE: A01

A61 First payment of annual fees (during grant procedure)

Free format text: JAPANESE INTERMEDIATE CODE: A61

Effective date: 20120702

R150 Certificate of patent or registration of utility model

Ref document number: 5033552

Country of ref document: JP

Free format text: JAPANESE INTERMEDIATE CODE: R150

Free format text: JAPANESE INTERMEDIATE CODE: R150

FPAY Renewal fee payment (event date is renewal date of database)

Free format text: PAYMENT UNTIL: 20150706

Year of fee payment: 3

LAPS Cancellation because of no payment of annual fees