JP4994130B2 - キッチン用昇降式吊戸棚 - Google Patents

キッチン用昇降式吊戸棚 Download PDF

Info

Publication number
JP4994130B2
JP4994130B2 JP2007179974A JP2007179974A JP4994130B2 JP 4994130 B2 JP4994130 B2 JP 4994130B2 JP 2007179974 A JP2007179974 A JP 2007179974A JP 2007179974 A JP2007179974 A JP 2007179974A JP 4994130 B2 JP4994130 B2 JP 4994130B2
Authority
JP
Japan
Prior art keywords
lower door
cabinet
pulley
lifting rack
lifting
Prior art date
Legal status (The legal status is an assumption and is not a legal conclusion. Google has not performed a legal analysis and makes no representation as to the accuracy of the status listed.)
Active
Application number
JP2007179974A
Other languages
English (en)
Other versions
JP2009011727A (ja
Inventor
実 山中
真一 木村
暖 冨永
Current Assignee (The listed assignees may be inaccurate. Google has not performed a legal analysis and makes no representation or warranty as to the accuracy of the list.)
Fukushin Electric Co Ltd
Original Assignee
Fukushin Electric Co Ltd
Priority date (The priority date is an assumption and is not a legal conclusion. Google has not performed a legal analysis and makes no representation as to the accuracy of the date listed.)
Filing date
Publication date
Application filed by Fukushin Electric Co Ltd filed Critical Fukushin Electric Co Ltd
Priority to JP2007179974A priority Critical patent/JP4994130B2/ja
Publication of JP2009011727A publication Critical patent/JP2009011727A/ja
Application granted granted Critical
Publication of JP4994130B2 publication Critical patent/JP4994130B2/ja
Active legal-status Critical Current
Anticipated expiration legal-status Critical

Links

Images

Landscapes

  • Power-Operated Mechanisms For Wings (AREA)
  • Combinations Of Kitchen Furniture (AREA)

Description

本発明は、システムキッチンの上方の壁面に設けられる吊戸棚であって、内部に昇降ラックを収納するキッチン用昇降式吊戸棚に関するものである。
厨房において、キッチン等の調理設備の上部には空間が空いているため、キッチンの上方に吊戸棚を設置している場合が多い。厨房では、碗、皿、カップ等の食器類、鍋、フライパン等の調理器具、塩、胡椒等の調味料など、大小様々な物を使用する。このため、これらの食器類、調理器具、調味料等は上記吊戸棚に収納される。
また、生活様式や食生活の多様化に伴って、上記した食器類、調理器具、調味料等は増加傾向にある。さらに昨今の高齢化に伴い、上記吊戸棚の使い勝手の良さや便利さ等を求める要望もある。
そこで、通常は上方に位置する棚(ラック)を手動や電動によって昇降する昇降式吊戸棚が提案されている。昇降式吊戸棚は、例えば吊戸棚全体が昇降するもの(例えば特許文献1)や、吊戸棚の前面に配置された扉を開けてから、吊戸棚内に設置された収納棚を回転アームで支持しながら手前側下方に引き降ろすもの(例えば特許文献2)、キャビネットと、このキャビネットからほぼ垂直方向に昇降可能な昇降ラックを備えたもの(例えば特許文献3)等がある。
特許文献1に記載された構成にあっては、吊戸棚全体が昇降するため昇降装置が大掛かりとなり、また駆動機構が外部から見えるために美感を向上しにくいという問題がある。また、特許文献2に記載された構成にあっては、引き降ろした収納棚が調理者に向かって迫り出して降りてくるため、調理作業の邪魔になり、頻繁に収納棚を出し入れしなければならず手間がかかるという問題がある。このため近年は、特許文献3に記載されたように、キャビネットからほぼ垂直方向に昇降可能な昇降ラックを備えた構成が多く採用されている。
しかし垂直方向に昇降させる構成においては、昇降ラックの前面を露出させるため、キャビネットの下方に昇降ラック全体をキャビネットから抜出するだけのストロークを要する。換言すれば、キッチンの上方から天井までの吊戸棚に使える空間のうち、半分の高さの吊戸棚しか設置できないことになる。また実際には昇降のための駆動機構をキャビネット内に設けなければならないため、さらに昇降ラックの容積は小さくなる。なお、一般家庭の天井の高さは一般的には2.3m程度であり、キッチンの高さは85cm程度である。さらにキッチンの上にはビンや小物ラックを置くための高さを残しておかなくてはならない。そして、残った上方空間の高さのうちの半分以下が昇降ラックの高さであるとすると、昇降ラックの容積が十分であるとはいえない。
そこで従来からも、キャビネットの前面扉を昇降ラックの上下動と連動させて開閉し、昇降ラックを降ろした状態において昇降ラックの上端がキャビネットの下端よりも上方に位置する構成が開示されている(例えば特許文献4)。この構成によれば、本来前面扉に隠れるはずの位置からも食器類を出し入れすることができるため、昇降ラック底面の高さを高くすることができ、限られた高さの上方空間において容積の大きな昇降ラックを設置することができる。
一方、上述したような昇降ラックを自動的に昇降する構成では、意図せず昇降ラックとキャビネットとの間に障害物が挟まることもある。しかし、昇降動作を自動化しただけの単純自動化装置では、昇降負荷が増大するといった異例の事態においても、吊戸棚は昇降を継続するように動作してしまう。そこで、昇降ラックが障害物に当たったことを検知し、その昇降動作を自動的に停止する技術が開示されている(例えば特許文献5)。
特開平11−46886号公報 特開2004−222886号公報 特開2006−000677号公報 特開2006−340756号公報 特開2005−143897号公報
上述した特許文献4に記載の構成にあっては、扉の下端が回動して開く構成であるため、前面の開放スペースが小さくなる。このため、特に昇降ラックの上段は鍋や箱物などの大きなものを出し入れしにくいという問題がある。そこで、扉をさらに大きく開くことも考えられるが、吊戸棚の前方に大きく扉が張り出すことになるため、頭上に前板が迫ってくることとなり、圧迫感を与えるおそれがある。
そこで、本願の発明者は、昇降ラックにその前面に配される下扉を連動させ下扉を垂直方向にスライドさせることで、扉の動作に伴う圧迫感を最小限に留め、昇降ラックの下降ストロークを長くしなくとも前面の開放スペースを十分に確保する発明の完成に至った。
しかし、このような下扉の連動構成では、昇降ラックと下扉とが互いに逆方向にスライドするため障害物を挟入する可能性が高くなる。固定部と可動部との隙間を極力狭くして障害物の挟入を防止することも考えられるが、障害物の挟入を完全に防止することはできない。また、特許文献5に記載したような技術を適用して昇降ラックの障害物を検出することは可能ではあるが、連動する下扉に対する障害物の検知には至ってはいない。
本発明は、従来の技術が有する上記問題点に鑑みてなされたものであり、本発明の目的は、障害物の挟入等による負荷の増大を確実に検知し、昇降ラックの昇降動作を抑制することで、安全性の向上を図ることが可能な、キッチン用昇降式吊戸棚を提供することである。
上記課題を解決するために、本発明のある観点によれば、底面と前面が開放されたキャビネットと、キャビネットに対して昇降可能に支持される昇降ラックと、キャビネットの前面かつ上方に配置される上扉と、キャビネットの前面かつ下方に配置される下扉と、キャビネットにスライド自在に設置され、昇降ラックと下扉とをそれぞれ懸垂する索体を互いに逆に巻回した2つのリールを軸支する下扉用滑車と、下扉に負荷がかかってない状態で、下扉用滑車のキャビネットに対するスライド位置を所定範囲内で上下可能に保持する下扉保持部と、下扉用滑車のスライド位置が所定範囲を超えたことを検出する下扉検出器と、下扉検出器の検出結果に応じて下扉の昇降動作を抑制する下扉制御部と、を備えることを特徴とする、キッチン用昇降式吊戸棚が提供される。
上記下扉用滑車は、下扉用滑車のシャフトを受ける軸受けが、キャビネットに固定設置された垂直方向のガイドレールに案内され、そのガイドレールの範囲でスライドする。しかし、下扉保持部が下扉用滑車のスライドを抑制するため、障害物の挟入等による負荷が下扉にかからない限り下扉用滑車はキャビネットと一体となり定滑車として機能する。そして、負荷が増加すると、下扉保持部の保持力に反して下扉用滑車がガイドレール内をスライドし、所定範囲を超えたことが検知され、即ち、障害物の挟入が検知されて昇降ラックが停止する。かかる構成により、障害物の挟入等による負荷の増大による障害を確実に防止することができ、安全性の向上を図ることが可能となる。
下扉検出器は、スライド位置の代わりにまたは加えて、スライド速度が所定範囲を超えたことを検出してもよい。
かかる構成により、スライド速度を用いる障害物検知が可能となる。障害物が挟入した場合、下扉を昇降しようとする張力に反して下扉の動作が急激に鈍くなる。例えば、下扉が下降中に障害物にあたったとき、下扉は下降できなくなるため、これを懸垂する索体がゆるむことになる。すると下扉用滑車は下扉保持部によって持ち上げられ、スライド速度は急速に上昇する。また下扉が上昇中に障害物にあたったとき、下扉は上昇できなくなるため、索体は張力が急激に上昇し、下扉用滑車のスライド速度は下扉保持部の弾性力に抗して急速に下降する。これに対し、スライド速度の積分値であるスライド位置が所定範囲を超えるのは少し遅れる。従って、障害物の挟入をスライド速度で検知することで、より迅速に昇降動作を抑制することが可能となり、安全性をより高めることができる。
また、上記スライド位置とスライド速度とを併用し、論理和によっていずれか一方または両方の信号を検知し昇降動作を抑制することで、障害物が不完全に挟入しスライド速度が所定範囲内に留まってしまう場合においても確実に昇降動作を抑制することが可能となり、さらなる安全性の向上を図ることができる。さらにスライド速度は、スライド位置の微分によって導出可能なので、別途の検出装置を追加する必要もなく、低コストかつ省占有空間での確実な昇降動作の抑制が可能となる。
下扉検出器は、下扉用滑車の上下位置に応じて抵抗値が変化する可変抵抗器で構成されてもよい。可変抵抗器は、下扉用滑車の昇降ラックに対する相対的なスライド位置を抵抗値(実際には抵抗にかかる電圧値または電流値)によって高精度に導出できる。かかる可変抵抗器を用いることで、負荷の増大を確実かつ高精度に検知することができる。また、上述した所定範囲をハード的な改修を行うことなく所定範囲に値する抵抗値の変更のみで容易に設定可能なので、汎用性やメンテナンス性に優れたキッチン用昇降式吊戸棚を提供できる。
また、下扉検出器は、下扉用滑車の上下移動をカウントするエンコーダで構成されてもよい。エンコーダは、下扉用滑車の昇降ラックに対する相対的なスライド位置を高精度に導出できる。かかるエンコーダを用いることで、負荷の増大を確実かつ高精度に検知することができる。また、上述した所定範囲をハード的な改修を行うことなく所定範囲に値するエンコーダ値の変更のみで容易に設定可能なので、可変抵抗器同様、汎用性やメンテナンス性に優れたキッチン用昇降式吊戸棚を提供できる。
昇降保持部は、弾性部材で構成されてもよい。弾性部材である例えばバネは、それに作用する力と伸縮の距離とが比例する。従って、弾性部材のみで、負荷がかかっていない状態であるバランス状態において、下扉用滑車とキャビネットとの相対距離を所定範囲内に保持する保持機能と、負荷が増大した状態でそれに比例した距離分、下扉用滑車をスライドさせて負荷の増大を下扉検出器に伝達する伝達機能を有することとなる。
また、キッチン用昇降式吊戸棚は、駆動モータをさらに含み、昇降ラックは、駆動モータを動力源として昇降し、下扉は、昇降ラックに連動して昇降してもよい。
かかる構成では、1つの動力源(駆動モータ)により昇降ラックおよび下扉の両方の昇降を制御できる。また、下扉を、昇降ラックを介して間接的に昇降する構成により、駆動モータから昇降ラックへ動力を伝達する機構と、昇降ラックから下扉へ動力を伝達する機構とを独立させ、それぞれの伝達機構を面内における索体と滑車との組み合わせのみで形成することができる。従って、複雑な機構によるコストの増加や信頼性の低下を招くことなく、昇降ラックと下扉の連動機構を実現することが可能となる。
本発明によれば、キッチン用昇降式吊戸棚における昇降ラックの昇降の際、障害物の挟入等による負荷の増大を確実に検知し、昇降ラックの昇降動作を抑制することで、安全性の向上を図ることが可能となる。従って、キッチン用昇降式吊戸棚の使用者は、安心して昇降動作を実施することができる。
以下に添付図面を参照しながら、本発明の好適な実施の形態について詳細に説明する。なお、本明細書及び図面において、実質的に同一の機能構成を有する構成要素については、同一の符号を付することにより重複説明を省略する。なお、以下の実施形態に示す寸法、材料、その他具体的な数値などは、発明の理解を容易とするための例示に過ぎず、特に断る場合を除き、本発明を限定するものではない。
本実施形態では、キッチン用昇降式吊戸棚(以下「吊戸棚」と略称する)の昇降ラックと、昇降ラックの前面を塞ぐ下扉とを連動させ、両装置を互いに逆方向に移動させている。従って、昇降ラックの下降ストロークを長くしなくとも前面の開放スペースを十分に確保することができる。また、昇降ラックに加えて下扉にも障害物を検知するセンサを設置することで、障害物の挟入等による負荷の増大を確実に検知し、昇降ラックの昇降動作を抑制することで、安全性の向上を図ることが可能となる。ここでは、本実施形態の理解を容易にするため、まず吊戸棚の配置および駆動機構について説明し、その後で本実施形態の特徴を詳述する。
図1は、本実施形態のシステムキッチンと吊戸棚との位置関係を示した斜視図である。システムキッチン100は調理に必要な火(加熱)や水を中心に調理器具がその大きさに応じて各収納庫に配されている。吊戸棚110は、システムキッチン100の上方に設置されているが、高所にある扉を開閉することなく、収納部分をキッチン使用者の目の高さまで下ろし、前方に手を伸ばして被収納物を収納または取り出せるようにしたものである。
上記システムキッチン100は、シンク130、調理スペース140およびコンロ150の概ね3つの部位で構成されている。かかるシステムキッチン100のうち、シンク130および調理スペース140の幅にわたる領域の上方において、吊戸棚110は、壁500に背面を固定支持されている。一方、火気を扱うコンロ150の上方には、吊戸棚110に隣接して、レンジフード160が吊戸棚同様に壁500に固定支持されている。
吊戸棚110は、下方が開放されたキャビネット170と、キャビネット170の下方にてキャビネット170の内外へ昇降する昇降ラック180とを含む。昇降ラック180は収納部を有し、前面の大部分が開放されていて、食器や台所回りの物品を出し入れすることができる。
また、キャビネット170の前面には上扉172と下扉174とが配置されていて、昇降ラック180が下降してキャビネット170の下方に出現するときは、これと連動して下扉174が上方へ移動する。従って、昇降ラック180の上端がキャビネット170の下端より下降せずとも、昇降ラック180の開放前面は使用者の目の前に出現する。かかる構成により昇降ラック180の可動範囲を狭くすることができ、昇降動作時間を短縮したり、昇降ラック180の高さ方向の寸法を大きくして容積増大を図ったりすることができる。以下に昇降ラック180と、下扉174とを連動させる駆動機構について説明する。
(昇降ラックの駆動機構)
図2は、昇降ラック180の駆動機構を示した図である。ここでは、主として昇降ラック180の昇降動作を説明するため吊戸棚110前面側から観察している。また、理解を容易にするため図2では下扉174の図示を省略している。
まず、駆動モータ190の回転によって、水平方向左右に駆動滑車192から2条の幅広索体200が巻き出される。この幅広索体200は、キャビネット170の両側板の近傍に固定設置され定滑車として機能する転向滑車210によって垂直方向に転向され、端部はそれぞれ昇降ラック180に固定され動滑車として機能する昇降滑車212を巻回して、キャビネット170の上方に固定されている。従って、駆動モータ190を回転駆動することによって昇降ラック180を昇降することができる。ここで、索体は縄に限らず帯も含む。
こうして昇降ラック180が降下すると下扉174(図示せず)の背面から収納部220が出現する。
(下扉の駆動機構)
図3は、昇降ラック180に連動する下扉174の駆動機構を示した図である。かかる図3は、吊戸棚110を側面から観察している。ここで、下扉174は、図2で示した昇降ラック180にさらに連動して昇降する。
図3(a)は、昇降ラック180がキャビネット170に収納されている状態を示している。昇降ラック180と下扉174との間には定滑車としての下扉用滑車250が固定設置される。下扉用滑車250は、2つのリール(第1リール252、第2リール254)が連結され軸を等しくして回転自在に軸支されている。そして、第1リール252には昇降ラック180を懸垂する索体が巻回され、第2リール254には下扉174を懸垂する索体が巻回されている。
ここで、昇降ラック180と下扉174とをそれぞれ懸垂する第1索体260および第2索体262は、リールに対して互いに逆回転に巻回されているので、昇降ラック180または下扉174の一方が上昇すると他方が連動して下降する。
図3(b)は、昇降ラック180がキャビネット170から抜出した状態を示している。昇降ラック180がガイドレール264に案内されつつ下降すると第1索体260が第1リール252を引っ張り、第1リール252と連結している第2リール254は回転軸256を中心に第1リール252と同一の角度分だけ回転する。そして、第2リール254の巻張力により第2索体262に接続された連結部266と下扉174が上昇する。従って、昇降ラック180の下降に応じて下扉174が上昇し、その移動量の和が昇降ラック180の開放スペースとなるので、下降ストロークを長くしなくとも昇降ラック180前面の開放スペースを十分に確保することが可能となる。
このとき、昇降ラック180および下扉174の荷重が回転軸256を中心に互いに逆にかかるため、第1リール252および第2リール254を回転させようとする張力が相殺され、昇降ラック180および下扉174を任意の位置に移動および維持する負荷を軽減でき、省電力、低コスト化を図ることが可能となる。
また、図3の下扉用滑車250に注目すると、第1リール252と第2リール254の索体の巻回部分の径が異なっているのが分かる。かかる構成により、昇降ラック180と下扉174との昇降ストローク比を当該吊戸棚110の用途に応じて任意に設定することが可能となる。
特に、図3では、下扉174を懸垂する索体が巻回された第2リール254の径が、昇降ラック180を懸垂する索体が巻回された第1リール252の径より小さくなっている。図3に示すような吊戸棚110は、下方にはある程度の占有可能空間を有し、上方には無いといった設置状況が想定されている。従って、昇降ラック180はその高さH分下降することが可能だが、下扉は上扉に重畳するまで、即ち昇降ラックの約半分の長さHしか上昇することができない。かかる下扉174に対応する第2リール254の径と、昇降ラックに対応する第1リール252の径との比は、例えば、H/Hとすることができ、H=450mm、H=200mmの場合、径の比を4/9とすればよい。このように第2リール254の径を第1リール252より小さくすることで、上述したストローク差を他の特別な機構を用いることなく実現することが可能となる。
(障害物検知機構)
このような昇降ラック180により自動的な昇降動作が可能となるが、意図せず昇降ラック180とキャビネット170との間や、下扉174と昇降ラック180または下扉174とキャビネット170との間に障害物が挟まることがある。以下では、特に下扉174に関する障害物検知の構成を述べる。
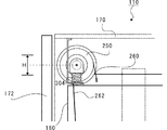
図4は、本実施形態における障害物検知機構の外観を示した斜視図であり、図5は、障害物検知機構の動作を説明するための説明図である。かかる障害物検知機構は、下扉用滑車250と、スライド部300と、固定部302と、下扉保持部として機能するバネ304と、下扉検出器306と、下扉制御部(図示せず)とを含んで構成される。
上記スライド部300は、下扉用滑車250のシャフトを受ける軸受けに連結され、下扉用滑車250と一体的に上下動する。
上記固定部302は、キャビネット170に固定され、スライド部300を垂直方向に案内するガイドレール310が表面に設けられている。下扉用滑車250は、ガイドレール310に案内され、そのガイドレール310の範囲でスライドする。しかし、以下に示すバネ304が下扉用滑車250のスライドを抑制するため、障害物の挟入等による負荷が下扉174にかからない限り下扉用滑車250はキャビネット170と一体となり定滑車として機能する。
上記バネ304は、下扉174に負荷がかかってない状態、即ち、通常時の昇降動作において、下扉用滑車250のキャビネット170に対するスライド位置を所定範囲H(例えば5〜40mm)内で上下可能に保持する。バネ(弾性部材)304は、それに作用する力と伸縮の距離とが比例する。従って、バネ304のみで、負荷がかかっていない状態であるバランス状態において、下扉用滑車250とキャビネット170との相対距離を所定範囲H内に保持する保持機能と、負荷が増大した状態でそれに比例した距離分、下扉用滑車250をスライドさせて負荷の増大を下扉検出器306に伝達する伝達機能を有することとなる。
上記下扉検出器306は、下扉用滑車250のスライド位置がバネ304の保持力に反して所定範囲Hを超えたことを検出する。障害物が下扉174に挟入し、負荷が増加すると、バネ304の保持力に反して下扉用滑車250がガイドレール310内をスライドする。下扉検出器306は、かかるスライド位置(相対移動量)と所定範囲Hとを比較し、所定範囲を超えたときに後述する下扉制御部に伝達する。ここで、下扉検出器306がスライド位置のみを検出し、下扉制御部によって所定範囲との比較が実行されるとしてもよい。そして、下扉制御部は、下扉検出器306の検出結果に応じて、昇降ラック180の昇降動作を抑制する。かかる昇降動作の抑制は、昇降動作の停止や昇降速度の減速等を含む。上記構成により、障害物の挟入等による負荷の増大による障害を確実に防止することができ、安全性の向上を図ることが可能となる。
下扉検出器306は、スライド位置の代わりにまたは加えて、スライド速度が所定範囲(例えば−30〜30mm/sec)を超えたことを検出してもよい。
図6は、スライド速度を用いることの利点を説明するための説明図である。障害物が挟入した場合、下扉174を昇降しようとする索体の張力に反して下扉174の動作が急激に鈍くなる。図6(b)に示すように、通常の昇降動作中に障害物が挟入した時点でスライド速度は急激に変化し、時点xで所定範囲を超える、その積分値であるスライド位置が所定範囲を超えるのは、図6(a)に示すように時点yとなり、少し遅れることとなる。従って、障害物の挟入をスライド速度で検知することで、より迅速に昇降動作を抑制することが可能となり、安全性をより高めることができる。ここでスライド速度は、スライド位置の微分値として表したが、単位時間当たりのスライド位置の変化量によって導出してもよい。
また、スライド速度は、スライド位置の微分値なので、経年等によるスライド位置の初期値の変化の影響を受けず、下扉検出器306は、高い信頼性を維持することが可能である。
さらに、上記スライド位置とスライド速度とを併用し、論理和によっていずれか一方または両方の信号を検知し昇降動作を抑制することで、障害物が不完全に挟入しスライド速度が所定範囲内に留まってしまう場合においても確実に昇降動作を抑制することが可能となり、さらなる安全性の向上を図ることができる。さらにスライド速度は、スライド位置の微分によって導出可能なので、別途の検出装置を追加する必要もなく、低コストかつ省占有空間での確実な昇降動作の抑制が可能となる。
ここで、下扉検出器306を下扉用滑車250の上下位置に応じて抵抗値が変化する可変抵抗器で構成してもよい。可変抵抗器は、下扉用滑車250の昇降ラック180に対する相対的なスライド位置を抵抗値(実際には抵抗にかかる電圧値または電流値)によって高精度に導出できる。かかる可変抵抗器を用いることで、負荷の増大を確実かつ高精度に検知することができる。また、上述した所定範囲をハード的な改修を行うことなく所定範囲に値する抵抗値の変更のみで容易に設定可能なので、汎用性やメンテナンス性に優れた吊戸棚110を提供できる。
また、下扉検出器306を、下扉用滑車250の上下移動をカウントするエンコーダで構成してもよい。エンコーダは、下扉用滑車250の昇降ラックに対する相対的なスライド位置を高精度に導出できる。かかるエンコーダを用いることで、負荷の増大を確実かつ高精度に検知することができる。
また、下扉検出器306に加えて、例えば、磁気センサといった物理的なリミットセンサを設けてもよい。かかるリミットセンサを設けることで安全性のさらなる向上を図ることができる。
(駆動モータからの連動)
上述したように、昇降ラック180は、駆動モータ190を動力源として昇降し、下扉は、昇降ラック180を間接的な動力源として昇降する。かかる構成により1つの動力源(駆動モータ)により昇降ラック180および下扉174の両方の昇降を制御できる。
図7は、駆動モータ190による駆動機構と昇降ラック180による駆動機構とを対比するための説明図である。ここでは、駆動モータ190から昇降ラック180へ動力を伝達する機構と、昇降ラック180から下扉174へ動力を伝達する機構とが独立し、それぞれの動力の伝達方向を面方向に制限することができる。例えば、駆動モータ190から昇降ラック180へ動力を伝達する機構は、YZ面における転向のみで達成できるので、索体と滑車との組み合わせのみで伝達機構を実現できる。同様に昇降ラック180から下扉174へ動力を伝達する機構も、ZX面における索体および滑車の組み合わせによる転向のみで達成できる。
さらに、下扉174が駆動モータ190から直接動力を受けていないので、昇降ラック180が何らかの事故によって昇降不能になった場合に下扉174も連動して停止する。従って、昇降ラック180の停止に反して下扉174だけ動作することによる、二次的被害が生じることもない。
以上、説明したように本実施形態における吊戸棚110は、昇降ラック180の昇降の際、障害物の挟入等による負荷の増大を確実に検知し、昇降ラック180の昇降動作を抑制することで、安全性の向上を図ることが可能となる。従って、吊戸棚110の使用者は、安心して昇降動作を実施することができる。
以上、添付図面を参照しながら本発明の好適な実施例について説明したが、本発明は係る例に限定されないことは言うまでもない。当業者であれば、特許請求の範囲に記載された範疇内において、各種の変更例または修正例に想到し得ることは明らかであり、それらについても当然に本発明の技術的範囲に属するものと了解される。
例えば、上述した実施形態においては障害物検知機構を下扉に適用しているが、かかる場合に限られず、昇降ラックの昇降や、下扉にさらに連動する他の装置等様々な箇所に利用することができる。
本発明は、システムキッチンの上方の壁面に設けられる吊戸棚であって、内部に昇降ラックを収納するキッチン用昇降式吊戸棚に適用可能である。
本実施形態のシステムキッチンと吊戸棚との位置関係を示した斜視図である。 昇降ラックの駆動機構を示した図である。 昇降ラックに連動する下扉の駆動機構を示した図である。 障害物検知機構の外観を示した斜視図である。 障害物検知機構の動作を説明するための説明図である。 スライド速度を用いることの利点を説明するための説明図である。 駆動モータによる駆動機構と昇降ラックによる駆動機構とを対比するための説明図である。
符号の説明
100 …システムキッチン
110 …吊戸棚
130 …シンク
170 …キャビネット
172 …上扉
174 …下扉
180 …昇降ラック
190 …駆動モータ
250 …下扉用滑車
300 …スライド部
302 …固定部
304 …バネ
306 …下扉検出器
310 …ガイドレール

Claims (6)

  1. 底面と前面が開放されたキャビネットと、
    前記キャビネットに対して昇降可能に支持される昇降ラックと、
    前記キャビネットの前面かつ上方に配置される上扉と、
    前記キャビネットの前面かつ下方に配置される下扉と、
    前記キャビネットにスライド自在に設置され、前記昇降ラックと前記下扉とをそれぞれ懸垂する索体を互いに逆に巻回した2つのリールを軸支する下扉用滑車と、
    前記下扉に負荷がかかってない状態で、前記下扉用滑車の前記キャビネットに対するスライド位置を所定範囲内で上下可能に保持する下扉保持部と、
    前記下扉用滑車のスライド位置が前記所定範囲を超えたことを検出する下扉検出器と、
    前記下扉検出器の検出結果に応じて下扉の昇降動作を抑制する下扉制御部と、
    を備えることを特徴とする、キッチン用昇降式吊戸棚。
  2. 前記下扉検出器は、前記スライド位置の代わりにまたは加えて、スライド速度が所定範囲を超えたことを検出することを特徴とする、請求項1に記載のキッチン用昇降式吊戸棚。
  3. 前記下扉検出器は、下扉用滑車の上下位置に応じて抵抗値が変化する可変抵抗器で構成されることを特徴とする、請求項1または2に記載のキッチン用昇降式吊戸棚。
  4. 前記下扉検出器は、下扉用滑車の上下移動をカウントするエンコーダで構成されることを特徴とする、請求項1または2に記載のキッチン用昇降式吊戸棚。
  5. 前記下扉保持部は、弾性部材で構成されることを特徴とする、請求項1〜4のいずれかに記載のキッチン用昇降式吊戸棚。
  6. 駆動モータをさらに含み、
    前記昇降ラックは、前記駆動モータを動力源として昇降し、
    前記下扉は、前記昇降ラックに連動して昇降することを特徴とする、請求項1〜5のいずれかに記載のキッチン用昇降式吊戸棚。
JP2007179974A 2007-07-09 2007-07-09 キッチン用昇降式吊戸棚 Active JP4994130B2 (ja)

Priority Applications (1)

Application Number Priority Date Filing Date Title
JP2007179974A JP4994130B2 (ja) 2007-07-09 2007-07-09 キッチン用昇降式吊戸棚

Applications Claiming Priority (1)

Application Number Priority Date Filing Date Title
JP2007179974A JP4994130B2 (ja) 2007-07-09 2007-07-09 キッチン用昇降式吊戸棚

Publications (2)

Publication Number Publication Date
JP2009011727A JP2009011727A (ja) 2009-01-22
JP4994130B2 true JP4994130B2 (ja) 2012-08-08

Family

ID=40353341

Family Applications (1)

Application Number Title Priority Date Filing Date
JP2007179974A Active JP4994130B2 (ja) 2007-07-09 2007-07-09 キッチン用昇降式吊戸棚

Country Status (1)

Country Link
JP (1) JP4994130B2 (ja)

Families Citing this family (6)

* Cited by examiner, † Cited by third party
Publication number Priority date Publication date Assignee Title
AT514743B1 (de) * 2013-09-13 2017-12-15 Blum Gmbh Julius Vorrichtung zur Bewegung eines Möbelteils
CN105464504A (zh) * 2015-12-29 2016-04-06 希美克(广州)实业有限公司 储柜开关门平衡系统
CN111119640A (zh) * 2020-02-24 2020-05-08 江苏捷诚车载电子信息工程有限公司 车载方舱升降门
CN111227539A (zh) * 2020-03-09 2020-06-05 韦雪 电力物资仓储柜
CN114383155A (zh) * 2020-10-16 2022-04-22 青岛海尔智慧厨房电器有限公司 一种集成灶及其控制方法
CN112716157B (zh) * 2020-12-23 2023-05-05 杭州电子科技大学 可折叠升降厨房吊柜及其使用方法

Family Cites Families (6)

* Cited by examiner, † Cited by third party
Publication number Priority date Publication date Assignee Title
JP2516545Y2 (ja) * 1990-01-23 1996-11-06 株式会社城南製作所 昇降式吊戸棚の障害物検出装置
JPH0434933U (ja) * 1990-07-23 1992-03-24
JP3435126B2 (ja) * 2000-07-18 2003-08-11 ヤマハリビングテック株式会社 昇降棚装置
JP2004305491A (ja) * 2003-04-08 2004-11-04 Oaks Kk 昇降吊戸棚
JP4235534B2 (ja) * 2003-11-17 2009-03-11 福伸電機株式会社 昇降キャビネット
JP2006000581A (ja) * 2004-06-17 2006-01-05 Mitomi Kogyo:Kk 昇降式戸棚

Also Published As

Publication number Publication date
JP2009011727A (ja) 2009-01-22

Similar Documents

Publication Publication Date Title
JP5094238B2 (ja) 昇降式吊戸棚
JP4994130B2 (ja) キッチン用昇降式吊戸棚
US11243024B2 (en) Refrigerator with lifting shelf
JP2009011757A (ja) キッチン用昇降式吊戸棚
CN111588194A (zh) 一种横移交叉杆式智能升降橱柜
EP4023966A1 (en) Refrigerator having height-adjustable shelf
JP4994131B2 (ja) キッチン用昇降式吊戸棚
JP4249118B2 (ja) 食器洗い機
US20230099221A1 (en) Worktop Unit
CN111998587B (zh) 一种具有升降层架的冰箱
US12419413B2 (en) Accessibility of storage cabinets
EP4154765A1 (en) A wall cabinet
JP2008229189A (ja) 収容棚の昇降機構
JP2009011390A (ja) キッチン用昇降式吊戸棚
CN222487609U (zh) 一种适用于收纳血管介入手术机器人操控台的收纳桌
JP2013027630A (ja) 食器洗浄機
KR102859261B1 (ko) 자동 승강 기능을 갖는 주방용 선반 어셈블리
JP2010252886A (ja) 昇降式吊戸棚
KR100608700B1 (ko) 바스켓 승강기능을 구비한 냉장고의 이동제어장치
JP4835373B2 (ja) キッチン設備
JP2009011756A (ja) キッチン用昇降式吊戸棚
JP4994132B2 (ja) 昇降式吊戸棚
KR102927462B1 (ko) 도어 개방 및 자동 승강 기능을 갖는 주방용 선반 어셈블리
JP4770695B2 (ja) キッチン設備
CN118058848A (zh) 一种适用于收纳血管介入手术机器人的操控台的收纳桌

Legal Events

Date Code Title Description
A621 Written request for application examination

Free format text: JAPANESE INTERMEDIATE CODE: A621

Effective date: 20100629

A521 Request for written amendment filed

Free format text: JAPANESE INTERMEDIATE CODE: A523

Effective date: 20101029

A977 Report on retrieval

Free format text: JAPANESE INTERMEDIATE CODE: A971007

Effective date: 20120411

TRDD Decision of grant or rejection written
A01 Written decision to grant a patent or to grant a registration (utility model)

Free format text: JAPANESE INTERMEDIATE CODE: A01

Effective date: 20120417

A01 Written decision to grant a patent or to grant a registration (utility model)

Free format text: JAPANESE INTERMEDIATE CODE: A01

A61 First payment of annual fees (during grant procedure)

Free format text: JAPANESE INTERMEDIATE CODE: A61

Effective date: 20120508

FPAY Renewal fee payment (event date is renewal date of database)

Free format text: PAYMENT UNTIL: 20150518

Year of fee payment: 3

R150 Certificate of patent or registration of utility model

Ref document number: 4994130

Country of ref document: JP

Free format text: JAPANESE INTERMEDIATE CODE: R150

Free format text: JAPANESE INTERMEDIATE CODE: R150

R250 Receipt of annual fees

Free format text: JAPANESE INTERMEDIATE CODE: R250

R250 Receipt of annual fees

Free format text: JAPANESE INTERMEDIATE CODE: R250

R250 Receipt of annual fees

Free format text: JAPANESE INTERMEDIATE CODE: R250

R250 Receipt of annual fees

Free format text: JAPANESE INTERMEDIATE CODE: R250

R250 Receipt of annual fees

Free format text: JAPANESE INTERMEDIATE CODE: R250

R250 Receipt of annual fees

Free format text: JAPANESE INTERMEDIATE CODE: R250

R250 Receipt of annual fees

Free format text: JAPANESE INTERMEDIATE CODE: R250

R250 Receipt of annual fees

Free format text: JAPANESE INTERMEDIATE CODE: R250

R250 Receipt of annual fees

Free format text: JAPANESE INTERMEDIATE CODE: R250

R250 Receipt of annual fees

Free format text: JAPANESE INTERMEDIATE CODE: R250

R250 Receipt of annual fees

Free format text: JAPANESE INTERMEDIATE CODE: R250