JP4947115B2 - 超音波トランスデューサ - Google Patents

超音波トランスデューサ Download PDF

Info

Publication number
JP4947115B2
JP4947115B2 JP2009228462A JP2009228462A JP4947115B2 JP 4947115 B2 JP4947115 B2 JP 4947115B2 JP 2009228462 A JP2009228462 A JP 2009228462A JP 2009228462 A JP2009228462 A JP 2009228462A JP 4947115 B2 JP4947115 B2 JP 4947115B2
Authority
JP
Japan
Prior art keywords
piezoelectric body
case
ultrasonic transducer
fixing member
wave
Prior art date
Legal status (The legal status is an assumption and is not a legal conclusion. Google has not performed a legal analysis and makes no representation as to the accuracy of the status listed.)
Active
Application number
JP2009228462A
Other languages
English (en)
Other versions
JP2011077918A (ja
Inventor
純一 西江
隆昭 浅田
未央 古谷
隆之 島本
和博 江原
Current Assignee (The listed assignees may be inaccurate. Google has not performed a legal analysis and makes no representation or warranty as to the accuracy of the list.)
Murata Manufacturing Co Ltd
Original Assignee
Murata Manufacturing Co Ltd
Priority date (The priority date is an assumption and is not a legal conclusion. Google has not performed a legal analysis and makes no representation as to the accuracy of the date listed.)
Filing date
Publication date
Application filed by Murata Manufacturing Co Ltd filed Critical Murata Manufacturing Co Ltd
Priority to JP2009228462A priority Critical patent/JP4947115B2/ja
Priority to KR1020100088216A priority patent/KR101161089B1/ko
Priority to EP10275095.7A priority patent/EP2306447B1/en
Priority to US12/889,457 priority patent/US8354775B2/en
Priority to CN2010102970574A priority patent/CN102034468B/zh
Publication of JP2011077918A publication Critical patent/JP2011077918A/ja
Application granted granted Critical
Publication of JP4947115B2 publication Critical patent/JP4947115B2/ja
Active legal-status Critical Current
Anticipated expiration legal-status Critical

Links

Images

Classifications

    • GPHYSICS
    • G10MUSICAL INSTRUMENTS; ACOUSTICS
    • G10KSOUND-PRODUCING DEVICES; METHODS OR DEVICES FOR PROTECTING AGAINST, OR FOR DAMPING, NOISE OR OTHER ACOUSTIC WAVES IN GENERAL; ACOUSTICS NOT OTHERWISE PROVIDED FOR
    • G10K9/00Devices in which sound is produced by vibrating a diaphragm or analogous element, e.g. fog horns, vehicle hooters or buzzers
    • G10K9/12Devices in which sound is produced by vibrating a diaphragm or analogous element, e.g. fog horns, vehicle hooters or buzzers electrically operated
    • G10K9/122Devices in which sound is produced by vibrating a diaphragm or analogous element, e.g. fog horns, vehicle hooters or buzzers electrically operated using piezoelectric driving means

Landscapes

  • Physics & Mathematics (AREA)
  • Engineering & Computer Science (AREA)
  • Acoustics & Sound (AREA)
  • Multimedia (AREA)
  • Measurement Of Velocity Or Position Using Acoustic Or Ultrasonic Waves (AREA)
  • Transducers For Ultrasonic Waves (AREA)

Description

この発明は、圧電体を駆動することで超音波の送信または受信を行う超音波トランスデューサに関する。
従来の超音波トランスデューサとして、ケースに圧電体を収容する構成のものがある。
図1(A)は、従来の超音波トランスデューサの第1の構成例を説明する断面図である。
超音波トランスデューサ100はケース101、圧電体102、吸音部材103、充填剤104、およびリード線105を備える。圧電体102はケース101の内底面に接着剤(不図示)で接着される。ケース101は有底筒状である。充填剤104はケース101の筒内部に注入固化されてケース101を閉塞する。吸音部材103は、ケース101の内側空間に配置される。圧電体102にはリード線105が接続され、リード線105は充填剤104を通過してケース外部に引き出される。
このような構成では、ケース101の内側空間で音波の多重反射が生じる。多重反射に伴い音波は減衰していくが、音波の残響時間が長ければ、超音波トランスデューサの送信波の波形が残響により鈍ったり、受信波が残響に隠れたりして問題となる。そこで、超音波トランスデューサ100ではケース内部に吸音部材103を設けることで、圧電体102からケース101の開口方向へ発振される音波を吸収して残響特性を改善している。
また、従来の超音波トランスデューサとして、リード線に替えて金属ピンを用いる構成のものが利用されることもある(例えば、特許文献1参照。)。
図1(B)は、従来の超音波トランスデューサの第2の構成例を説明する断面図である。
超音波トランスデューサ200はケース201、圧電体202、固定板203、充填剤204、および外部へ電気信号を伝達する金属ピン205を備える。この超音波トランスデューサ200はリード線を用いずに金属ピン205を用いるとともに、金属ピン205の固定のために樹脂製の固定板203を有する。
この構成では、有底筒状のケース201の内底面部に所定の距離を隔てて固定板203を配置し、固定板203に圧電体202との電気的接続のためのバネ状金属端子206を保持させる。バネ状金属端子206が圧電体202と共振してしまうと超音波トランスデューサ200の残響特性が低下するので、バネ状金属端子206の共振周波数は圧電体202と共振しないような条件に設定され、これにより超音波トランスデューサ200の残響特性を改善している。
特開2007−318742号公報
上述のようにケース内部に吸音部材を配置することや、バネ状金属端子の共振周波数を適切に設定することにより、超音波トランスデューサの残響特性は改善することができる。しかしながら、これらの対策を施しても超音波の残響を完全に無くすことはできず、残響特性のさらなる改善が望まれることがある。
そこで本願発明の目的は、従来よりもさらに残響特性を改善することが可能な超音波トランスデューサを提供することにある。
この発明の超音波トランスデューサはケースと反射部と圧電体とを備える。ケースは一端が閉塞した有底筒状である。圧電体はケースの内底面部に形成される。反射部はケースの内底面部から離間して配置され、圧電体に対向する。ここで、圧電体と反射部との間隔は、圧電体の最大変位距離よりも大きく、且つ、音波の1/4波長の略奇数倍または1/4波長以下とする。
この構成では、ケースの内側空間で生じる音波の多重反射の減衰を早めるために、反射部と圧電体との間隔を設定する。なお、本発明で反射部の定義は、音波の吸収率と反射率とを比較して、音波の吸収率<音波の反射率の関係を満たす構成である。反射部と圧電体との間隔を音波の1/4波長の略奇数倍とする場合、反射部や圧電体での壁面入射波と壁面反射波とが相互に打ち消し合い、超音波の減衰が早まる。また、反射部と圧電体との間隔を音波の1/4波長以下とする場合、単位時間辺りの音波の反射回数が極めて多くなって超音波の減衰が早まる。
この発明の超音波トランスデューサは吸音部材をさらに備えると好適である。吸音部材は、圧電体と反射部との間に少なくとも一方から離間して配置されると好適である。この構成では、吸音部材により多重反射する超音波の減衰を速められる。なお、この発明で吸音部材の定義は、音波の吸収率と反射率とを比較して、音波の吸収率>音波の反射率の関係を満たす構成である。
この発明の反射部は、ケース内部とケース外部とに連通し、吸音部材で閉塞される開口部を備えると好適である。この構成では、吸音部材を圧電体などの部材に直接触れさせずに設けることができる。これにより、この吸音部材を伝搬して圧電体から反射部に振動が伝わることが無くなり、残響特性をより改善できる。
この発明によれば、反射部とケースの内底面部との間の距離を音波の1/4波長の略奇数倍とすることで、壁面への入射波と壁面での反射波とが相互に打ち消し合い、超音波の減衰が早まる。また、反射部とケースの内底面部との間の距離を音波の1/4波長以下とすることにより、単位時間辺りの音波の反射回数が極めて多くなって超音波の減衰が早まる。その結果、超音波トランスデューサの残響特性をより改善することができる。
従来構成の超音波トランスデューサの構成例を示す概略の図である。 本発明の第1の実施形態に係る超音波トランスデューサの構成例を示す概略の図である。 図2の超音波トランスデューサの残響レベルを説明する図である。 本発明の第2の実施形態に係る超音波トランスデューサの構成例を示す概略の図である。 本発明の第3の実施形態に係る超音波トランスデューサの構成例を示す概略の図である。
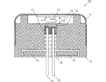
以下、本発明の第1の実施形態に係る超音波トランスデューサ30を説明する。
図2(A)は、超音波トランスデューサ30における直交座標系Y−Z面の断面図である。図2(B)は、超音波トランスデューサ30の備える固定部材23の斜視図である。
超音波トランスデューサ30は、上部カバー21、圧電体22、固定部材23、ウェイト24、外部接続端子25、ワッシャ26、バネ状金属端子27A,27B、吸音部材28A,28B、および充填剤29を備える。
この超音波トランスデューサ30を送波器として利用する際には、外部接続端子25に駆動信号を印加することで、圧電体22がX−Y面で広がり振動する。すると、上部カバー21の底面にZ軸に沿ったベンディング振動が励起して超音波を送波する。受波器として利用する際には、上部カバー21の底面が超音波を受波して振動することで、圧電体22が広がり振動して外部接続端子25に受波信号が生じる。
上部カバー21はZ軸正方向の端部が閉塞する有底筒状である。ウェイト24は中心軸がZ軸に沿う筒状であり、Z軸正方向の端部が上部カバー21の筒内に挿入および嵌合される。このウェイト24は、固定部材23を保持するための保持部24Aと、ワッシャ26を配置するための凹部24Bとを備える。保持部24Aは、X−Y面でケース中心軸方向に突出する。これらの上部カバー21およびウェイト24は組み合わされて有底筒状のケースを構成する。なお、上部カバー21はケースの底面部に相当する。ワッシャ26は開口を備える平板であり、ウェイト24の凹部24Bに挿入される。
上部カバー21は例えばアルミニウムなどの金属材料が使用され、ウェイト24は例えば亜鉛や鉄、ステンレスなど、上部カバー21に用いられた材料よりも比重の高い金属材料が使用されることが好ましい。上部カバー21の作製には、予め高分子ポリエステル塗装された板材の絞り加工や鍛造といった方法を用いることで塗装品質向上やコスト削減が可能となる。また上部カバー21とウェイト24とは溶接、熱圧着、かしめ、接着、嵌合などの方法で接続されるが、例えば接着嵌合の場合にはウェイト24の表面はメッキやサンドブラスト処理、プライマーコーティングを行うことで耐食性や接着性向上を図ってもよい。また図示しないが、ウェイトのZ軸正方向のヘッド部分にRやテーパを設けることで嵌合のしやすさを改善してもよい。なお、ウェイト24の表面に施されるメッキの種類には銅下地ニッケル、または上部カバー21との間で異種金属接触腐食が起こりにくい材料、例えばクロムやスズ系が適している。ウェイト24のZ軸負方向側には組み立て時の搬送用チャッキングや実装後の抜け防止のためにフランジ部を設けても良い。その場合フランジ部は、ウェイト24の開口と同心円状の円形状でも良いし、多角形状としても良い。また、ウェイト24はZ軸方向もしくはX−Y軸方向に2ピース構造等、複数ピースに分割してもよい。ウェイト24はバネ状金属端子27Bを介してグランド電極に接続されるが、その他の接続方法として溶接、熱圧着、かしめ、接着等、種々の方法を用いてもよい。
充填剤29は、ウェイト24の筒内部における固定部材23及び吸音部材28AよりもZ軸負方向の空間に充填される。
圧電体22はZ軸正方向に沿った分極軸を有し、上部カバー21の内底面に接着剤で接合される。圧電体22の駆動電極(不図示)は、バネ状金属端子27A,27Bを介して外部接続端子25に接続される。
図2(B)に詳細構成を示す固定部材23は、上部ベース23A、下部ベース23B、端子保持部23C、係止爪32A,32B、および受け部33A,33Bを備える。下部ベース23Bは一部に欠けのある略円板状である。上部ベース23Aは下部ベース23BよりもX−Y面での外形が小さな略角板状であり、下部ベース23BのZ軸正方向に設けられる。端子保持部23Cは下部ベース23Bおよび上部ベース23AよりもX−Y面での外形が小さい角柱状であり、下部ベース23BのZ軸負方向に設けられる。これら上部ベース23A、下部ベース23B、および端子保持部23CのX−Y面での中心は略一致する。
係止爪32A,32Bは下部ベース23BにおけるZ軸正方向の主面の上部ベース23Aとの接続部付近から、先端が上部ベース23AよりもZ軸正方向の位置へ突出するように設け、Z軸正方向の先端に返し部を備える。受け部33A,33Bは、Y軸正方向に延びる三角柱状であり、上部ベース23AのZ軸正方向の主面に設ける。
この固定部材23はウェイト24の筒内に収容され、下部ベース23BのZ軸正方向の主面が保持部24AのZ軸負方向の主面に接触して、ウェイト24に対して位置決めされる。係止爪32A,32Bは、保持部24AよりもZ軸正方向の位置へ挿入され、返し部が保持部24AのZ軸正方向の主面に接触する。これにより、下部ベース23Bと係止爪32A,32Bとが保持部24Aを狭持する。端子保持部23Cは、ワッシャ26の開口内を通過してZ軸負方向に突出する。
外部接続端子25はZ軸正方向の端部が固定部材23の端子保持部23Cに挿入および固定され、Z軸負方向の端部が固定部材23から突出する。吸音部材28AはZ軸正方向の主面が受け部33Aに接触しZ軸負方向の主面が固定部材23の下部ベース23Bに接触して支持される。吸音部材28BはZ軸正方向の主面が圧電体22に接触することがないように離間して設けられ、Z軸負方向の主面が固定部材23の上部ベース23Aに接着される。
吸音部材28A,28Bは、ケースの内側空間に設ける事により音波の減衰を進展させる。本願発明における吸音部材とは、音波の吸収率>音波の反射率の関係を満たす構成である。吸音材としては、例えばフェルト、スポンジ等を用いることができる。ただし、バネ状金属端子27Aや圧電体22に吸音部材28A,28Bが接触すると、振動が吸音部材28A,28Bを介して固定部材23に伝搬して、残響特性が著しく悪化する場合もある。このため、固定部材23のバネ状金属端子27Aの下方に相当する位置に部分的な切り欠き(開口)を設けるとともに吸音部材28A,28Bを分割し、吸音部材28Aを開口内に配置している。
以上の構成では、固定部材23は圧電体22に対向する反射部として機能する。なお、本発明における反射部の定義は、音波の吸収率<音波の反射率の関係を満たす構成であり、例えばエポキシ樹脂等の樹脂、セラミック、金属等が用いられる。この反射部として機能する固定部材23により、固定部材23と圧電体22との間隔Lに応じて、超音波トランスデューサ30の残響特性が変化することになる。したがって間隔Lを、超音波の1/4波長の奇数倍となる条件、または、超音波の1/4波長以下となる条件を満足するように設定することにより、超音波トランスデューサ30の残響特性を改善することができる。
図3は、前記間隔Lと超音波トランスデューサ30の残響レベルとの関係を説明する図である。
ここでは、ケース材:アルミニウム、ケース外径: Φ14mm、圧電体により実質的に振動するケース内径:Φ8mm、反射部:PBT、反射部面積: 8mm、圧電体径:Φ6mm、駆動条件:48kHz、3.75Vp−pとしている。
この超音波トランスデューサ30の残響レベルは、固定部材23と圧電体22との間隔Lが超音波の半波長分変化する周期で振動し、間隔Lが超音波の1/4波長の奇数倍となる条件で極小化する。また、間隔Lが超音波の1/4波長以下となる条件で、間隔Lが超音波の1/4波長の奇数倍となる条件の場合と同程度の残響レベルになる。
このことから、超音波の1/4波長の奇数倍となる条件、または、超音波の1/4波長以下となる条件を満足するように、超音波トランスデューサ30における固定部材23と圧電体22との間隔Lを設定することにより、超音波トランスデューサ30の残響特性を改善できることがわかる。
なお、圧電体22と固定部材23とが接触すると残響特性は低下する恐れがあるので、固定部材23と圧電体22との間隔Lは圧電体22の最大変位距離以上、例えば50um以上、確保することで、圧電体22と固定部材23との接触を防ぐことができ好適である。
次に、本願発明の第2の実施形態に係る超音波トランスデューサ10について説明する。
図4は超音波トランスデューサ10の断面図である。
超音波トランスデューサ10は、ケース1、圧電体2、固定部材3、充填剤4、外部接続端子5、導電性接着剤6、および、内部配線7を備える。
この超音波トランスデューサ10を送波器として利用する際には、外部接続端子5に駆動信号を印加することで、圧電体2が水平面で広がり振動し、ケース1の底面に鉛直方向に沿ったベンディング振動が励起して超音波を送波する。受波器として利用する際には、ケース1の底面が超音波を受波して鉛直方向に沿って振動することで、圧電体2が広がり振動して外部接続端子5に受波信号が生じる。
ケース1は、鉛直方向を主軸方向とする有底筒状であり、鉛直上方向の端部が閉塞する。ケース1の筒内部には、固定部材3を保持するための保持部1Aを備える。保持部1Aは、X−Y面でケース中心軸方向に突出する。圧電体2は鉛直方向に沿った分極軸を有し、ケース1の内底面に接着剤(不図示)で接着されている。固定部材3はケース1の筒内部に収容されていて、保持部1Aの鉛直下方向の主面に接触して位置決めされる。充填剤4は、ケース1の筒内部における固定部材3よりも鉛直下方向の空間に充填される。外部接続端子5は鉛直上方向の端部が固定部材3に挿入および固定され、鉛直下方向の端部がケース1の筒内部から突出する。内部配線7は外部接続端子5と圧電体2とを導通させる。導電性接着剤6は、内部配線7と圧電体2とを接続する。
以上の構成でも、固定部材3は圧電体2に対向する反射部として機能し、この固定部材3により、固定部材3と圧電体2との間隔L1に応じて、超音波トランスデューサ10の残響特性が変化する。したがって、間隔L1を、超音波の1/4波長の奇数倍となる条件、または、超音波の1/4波長以下となる条件を満足するように設定することにより、超音波トランスデューサ10の残響特性を改善することができる。また、間隔L1は圧電体2の最大変位距離以上確保することで、圧電体2と固定部材3との接触を防ぐことができる。
次に、本発明の第3の実施形態に係る超音波トランスデューサ20を説明する。
図5は、超音波トランスデューサ20における部分断面図である。
超音波トランスデューサ20は、上部カバー11、圧電体12、固定部材13、ウェイト14、外部接続端子15、ワッシャ16、バネ状金属端子17、吸音部材18、および充填剤19を備える。
この超音波トランスデューサ20を送波器として利用する際には、外部接続端子15に駆動信号を印加することで、圧電体12が水平面で広がり振動する。すると、上部カバー11の底面に鉛直上方向に沿ったベンディング振動が励起して超音波を送波する。受波器として利用する際には、上部カバー11の底面が超音波を受波して振動することで、圧電体12が広がり振動して外部接続端子15に受波信号が生じる。
上部カバー11は鉛直上方向の端部が閉塞する有底筒状である。ウェイト14は中心軸が鉛直軸に沿う筒状であって鉛直下方向の開口部の円周に凹部が設けられていて、鉛直上方向の端部が上部カバー11の筒内に挿入および嵌合される。これらの上部カバー11およびウェイト14は組み合わされて有底筒状のケースを構成する。なお、上部カバー11はケースの底面部に相当する。
圧電体12は鉛直方向に沿った分極軸を有し、上部カバー11の内底面に接着剤で接合される。圧電体12の駆動電極(不図示)は、バネ状金属端子17を介して外部接続端子15に電気的に接続される。固定部材13はウェイト14の筒内に収容され、バネ状金属端子17および外部接続端子15を固定する。外部接続端子15は鉛直上方向の端部が固定部材13に挿入され、鉛直下方向の端部が固定部材13から突出する。吸音部材18は固定部材13の鉛直上方向に配置される。ワッシャ16は外部接続端子15が挿入される開口を備える平板であり、ウェイト14の鉛直下方向側の凹部に挿入される。充填剤19はウェイト14の筒内部の固定部材13よりも鉛直下方向側の空間に充填される。
この構成では、固定部材13とウェイト14の一部が圧電体12に対向する反射部として機能する。そのため、固定部材13と圧電体12との間隔L2およびウェイト14と圧電体12との間隔L3とを適切に設定することにより、超音波トランスデューサ20の残響特性を改善できる。例えば間隔L2を超音波の1/4波長の奇数倍となる条件を満足するように設定し、間隔L3を超音波の1/4波長以下となる条件を満足するように設定すると好適である。また、間隔L2およびL3は圧電体12の最大変位距離以上確保することで、圧電体12と固定部材13および吸音部材18との接触を防ぐことができる。
このように、間隔L2およびL3を、音波の1/4波長の略奇数倍、または、音波の1/4波長以下とすることにより残響特性を改善できる。さらには、上部カバー11と固定部材13との間に吸音部材18を設けることで、残響特性をより改善することができる。
10,20,30…超音波トランスデューサ
1…ケース
2,12,22…圧電体
3,13,23…固定部材
4,19,29…充填剤
5,15,25…外部接続端子
6…導電性接着剤
7…内部配線
11,21…上部カバー
14,24…ウェイト
16,26…ワッシャ
17,27A,27B…バネ状金属端子
18,28A,28B…吸音部材

Claims (3)

  1. 主軸方向の端部が閉塞した有底筒状のケースと、
    前記ケースの内底面部に形成される圧電体と、
    前記ケースの内底面部から離間して配置され、前記圧電体に対向する反射部と、
    を備え、
    前記圧電体と前記反射部との間隔が、前記圧電体の最大変位距離よりも大きく、且つ、音波の1/4波長の略奇数倍または1/4波長以下である超音波トランスデューサ。
  2. 前記圧電体と前記反射部との間に吸音部材をさらに備える、請求項1に記載の超音波トランスデューサ。
  3. 前記反射部は、ケース内部とケース外部とに連通し、吸音部材で閉塞される開口部を備える、請求項1または2に記載の超音波トランスデューサ。
JP2009228462A 2009-09-30 2009-09-30 超音波トランスデューサ Active JP4947115B2 (ja)

Priority Applications (5)

Application Number Priority Date Filing Date Title
JP2009228462A JP4947115B2 (ja) 2009-09-30 2009-09-30 超音波トランスデューサ
KR1020100088216A KR101161089B1 (ko) 2009-09-30 2010-09-09 초음파 트랜스듀서
EP10275095.7A EP2306447B1 (en) 2009-09-30 2010-09-14 Ultrasonic Transducer
US12/889,457 US8354775B2 (en) 2009-09-30 2010-09-24 Ultrasonic transducer
CN2010102970574A CN102034468B (zh) 2009-09-30 2010-09-28 超声波换能器

Applications Claiming Priority (1)

Application Number Priority Date Filing Date Title
JP2009228462A JP4947115B2 (ja) 2009-09-30 2009-09-30 超音波トランスデューサ

Publications (2)

Publication Number Publication Date
JP2011077918A JP2011077918A (ja) 2011-04-14
JP4947115B2 true JP4947115B2 (ja) 2012-06-06

Family

ID=43500277

Family Applications (1)

Application Number Title Priority Date Filing Date
JP2009228462A Active JP4947115B2 (ja) 2009-09-30 2009-09-30 超音波トランスデューサ

Country Status (5)

Country Link
US (1) US8354775B2 (ja)
EP (1) EP2306447B1 (ja)
JP (1) JP4947115B2 (ja)
KR (1) KR101161089B1 (ja)
CN (1) CN102034468B (ja)

Families Citing this family (12)

* Cited by examiner, † Cited by third party
Publication number Priority date Publication date Assignee Title
JP4947115B2 (ja) * 2009-09-30 2012-06-06 株式会社村田製作所 超音波トランスデューサ
JP5099175B2 (ja) * 2010-05-28 2012-12-12 株式会社村田製作所 超音波センサ
JP5990930B2 (ja) 2012-02-24 2016-09-14 セイコーエプソン株式会社 超音波トランスデューサー素子チップおよびプローブ並びに電子機器および超音波診断装置
JP6102075B2 (ja) 2012-03-30 2017-03-29 セイコーエプソン株式会社 超音波トランスデューサー素子チップおよびプローブ並びに電子機器および超音波診断装置
JP5900107B2 (ja) 2012-03-30 2016-04-06 セイコーエプソン株式会社 超音波トランスデューサー素子チップおよびプローブ並びに電子機器および超音波診断装置
US9338556B2 (en) * 2012-10-15 2016-05-10 Nec Corporation Electroacoustic transducer, manufacturing method thereof, and electronic device utilizing same
JP6175780B2 (ja) 2013-01-28 2017-08-09 セイコーエプソン株式会社 超音波デバイス、超音波プローブ、電子機器および超音波画像装置
CN108671426B (zh) * 2018-07-17 2023-12-05 重庆医科大学 超声换能器
DE102018213293A1 (de) * 2018-08-08 2020-02-13 Robert Bosch Gmbh Ultraschallwandler mit Resonanzraum
DE102019115032A1 (de) * 2019-06-04 2020-12-10 Tdk Electronics Ag Ultraschall-Wandler
JP7670480B2 (ja) 2020-12-25 2025-04-30 Tdk株式会社 超音波トランスデューサ
WO2022225030A1 (ja) * 2021-04-22 2022-10-27 株式会社メムス・コア 超音波受信器及び超音波観測装置

Family Cites Families (26)

* Cited by examiner, † Cited by third party
Publication number Priority date Publication date Assignee Title
JPS5339771A (en) * 1976-09-24 1978-04-11 Nec Corp Water pressure resisting transmitter and receelver
DE3478357D1 (en) * 1983-03-17 1989-06-29 Matsushita Electric Industrial Co Ltd Ultrasonic transducers having improved acoustic impedance matching layers
JPH0749914Y2 (ja) * 1986-01-29 1995-11-13 株式会社村田製作所 超音波トランスデユ−サ
JPH02116300A (ja) * 1988-10-26 1990-04-27 Matsushita Electric Ind Co Ltd 超音波セラミックマイクロホン
JP2988707B2 (ja) 1990-09-21 1999-12-13 松下電工株式会社 防滴型超音波マイクロホン
US5195373A (en) * 1991-04-17 1993-03-23 Southwest Research Institute Ultrasonic transducer for extreme temperature environments
US5303210A (en) * 1992-10-29 1994-04-12 The Charles Stark Draper Laboratory, Inc. Integrated resonant cavity acoustic transducer
JP3242183B2 (ja) 1993-02-23 2001-12-25 松下電工株式会社 防滴型超音波マイクロホン
JP3638153B2 (ja) * 1993-08-13 2005-04-13 松下電工株式会社 防滴型超音波マイクロホン
JPH07322394A (ja) * 1994-03-31 1995-12-08 Terumo Corp 超音波探触子
HK1050102A1 (zh) * 2000-01-04 2003-06-06 American Technology Corporation 壓電薄膜聲波發射器
US6443900B2 (en) * 2000-03-15 2002-09-03 Olympus Optical Co., Ltd. Ultrasonic wave transducer system and ultrasonic wave transducer
DE112004001315T5 (de) * 2003-07-16 2006-05-11 Murata Mfg. Co., Ltd., Nagaokakyo Ultraschall-Sende- und Empfangsvorrichtung
CN2774649Y (zh) * 2005-03-23 2006-04-26 深圳职业技术学院 超声液体处理换能装置
JP4682927B2 (ja) * 2005-08-03 2011-05-11 セイコーエプソン株式会社 静電型超音波トランスデューサ、超音波スピーカ、音声信号再生方法、超音波トランスデューサの電極の製造方法、超音波トランスデューサの製造方法、超指向性音響システム、および表示装置
EP1924122B1 (en) * 2005-09-09 2014-09-24 Murata Manufacturing Co., Ltd. Ultrasonic sensor
CN101371616B (zh) * 2006-02-14 2012-06-13 株式会社村田制作所 超声波传感器
KR101239306B1 (ko) * 2006-02-14 2013-03-05 가부시키가이샤 무라타 세이사쿠쇼 초음파 센서 및 그 제조방법
JP4900022B2 (ja) * 2006-04-28 2012-03-21 株式会社村田製作所 超音波センサ
KR101064922B1 (ko) * 2006-10-20 2011-09-16 가부시키가이샤 무라타 세이사쿠쇼 초음파 센서
JP4888492B2 (ja) * 2006-11-27 2012-02-29 株式会社村田製作所 超音波トランスデューサ
CN201263707Y (zh) * 2008-07-18 2009-07-01 华外医疗器械(上海)有限公司 一种医用超声放大装置
US8085621B2 (en) * 2008-07-24 2011-12-27 Massa Products Corporation Ultrasonic transducer with improved method of beam angle control
JP4947115B2 (ja) * 2009-09-30 2012-06-06 株式会社村田製作所 超音波トランスデューサ
JP5330180B2 (ja) * 2009-10-02 2013-10-30 オリンパス株式会社 内視鏡装置
US7954387B1 (en) * 2010-08-18 2011-06-07 General Electric Company Ultrasonic transducer device

Also Published As

Publication number Publication date
JP2011077918A (ja) 2011-04-14
CN102034468B (zh) 2012-10-31
CN102034468A (zh) 2011-04-27
EP2306447A2 (en) 2011-04-06
KR20110035883A (ko) 2011-04-06
US20110074246A1 (en) 2011-03-31
US8354775B2 (en) 2013-01-15
EP2306447B1 (en) 2020-04-29
EP2306447A3 (en) 2016-12-14
KR101161089B1 (ko) 2012-06-29

Similar Documents

Publication Publication Date Title
JP4947115B2 (ja) 超音波トランスデューサ
CN102353951B (zh) 超声波传感器
JP5522311B2 (ja) 超音波センサおよびその製造方法
US5446332A (en) Ultrasonic transducer
US7692367B2 (en) Ultrasonic transducer
KR101528890B1 (ko) 초음파 센서
JPWO2007094184A1 (ja) 超音波センサおよびその製造方法
US11971479B2 (en) Ultrasonic sensor
WO2013051525A1 (ja) 超音波センサ
US20060232165A1 (en) Ultrasonic transmitter-receiver
JP2002262383A (ja) 超音波振動子
US8884495B2 (en) Piezoelectric sensor
JP5414427B2 (ja) 超音波送受信器
JP5105851B2 (ja) 超音波探触子
JP5304578B2 (ja) 超音波トランスデューサ
CN102768355B (zh) 超音波感测器
JP5423295B2 (ja) 超音波トランスデューサ
JP2008271439A (ja) 超音波センサ
CN221686641U (zh) 一种超声波雷达及车辆
JP2003302387A (ja) 素子収容体、センサおよびこれらの製造方法
JP2018129757A (ja) 超音波トランスデューサ及び超音波センサ

Legal Events

Date Code Title Description
A621 Written request for application examination

Free format text: JAPANESE INTERMEDIATE CODE: A621

Effective date: 20110915

A977 Report on retrieval

Free format text: JAPANESE INTERMEDIATE CODE: A971007

Effective date: 20111221

TRDD Decision of grant or rejection written
A01 Written decision to grant a patent or to grant a registration (utility model)

Free format text: JAPANESE INTERMEDIATE CODE: A01

Effective date: 20120207

A01 Written decision to grant a patent or to grant a registration (utility model)

Free format text: JAPANESE INTERMEDIATE CODE: A01

A61 First payment of annual fees (during grant procedure)

Free format text: JAPANESE INTERMEDIATE CODE: A61

Effective date: 20120220

FPAY Renewal fee payment (event date is renewal date of database)

Free format text: PAYMENT UNTIL: 20150316

Year of fee payment: 3

R150 Certificate of patent or registration of utility model

Ref document number: 4947115

Country of ref document: JP

Free format text: JAPANESE INTERMEDIATE CODE: R150

Free format text: JAPANESE INTERMEDIATE CODE: R150