JP4938545B2 - 非接触icカードホルダ - Google Patents

非接触icカードホルダ Download PDF

Info

Publication number
JP4938545B2
JP4938545B2 JP2007122191A JP2007122191A JP4938545B2 JP 4938545 B2 JP4938545 B2 JP 4938545B2 JP 2007122191 A JP2007122191 A JP 2007122191A JP 2007122191 A JP2007122191 A JP 2007122191A JP 4938545 B2 JP4938545 B2 JP 4938545B2
Authority
JP
Japan
Prior art keywords
contact
card holder
card
coil
switch
Prior art date
Legal status (The legal status is an assumption and is not a legal conclusion. Google has not performed a legal analysis and makes no representation as to the accuracy of the status listed.)
Expired - Fee Related
Application number
JP2007122191A
Other languages
English (en)
Other versions
JP2008276673A (ja
Inventor
実 池田
昌和 浦田
英朗 山本
Current Assignee (The listed assignees may be inaccurate. Google has not performed a legal analysis and makes no representation or warranty as to the accuracy of the list.)
NTT Inc
NTT Inc USA
Original Assignee
Nippon Telegraph and Telephone Corp
NTT Inc USA
Priority date (The priority date is an assumption and is not a legal conclusion. Google has not performed a legal analysis and makes no representation as to the accuracy of the date listed.)
Filing date
Publication date
Application filed by Nippon Telegraph and Telephone Corp, NTT Inc USA filed Critical Nippon Telegraph and Telephone Corp
Priority to JP2007122191A priority Critical patent/JP4938545B2/ja
Publication of JP2008276673A publication Critical patent/JP2008276673A/ja
Application granted granted Critical
Publication of JP4938545B2 publication Critical patent/JP4938545B2/ja
Expired - Fee Related legal-status Critical Current
Anticipated expiration legal-status Critical

Links

Images

Description

本発明は、非接触ICカードホルダに関する。
近年、交通系のICカードやIC運転免許証あるいは社員証などのように、非接触ICカードが急速に普及してきており、1人で、複数枚の非接触ICカードをパスケースやサイフやホルダ等に混在させて所持するようになってきている。
しかしながら、複数枚の非接触ICカードをパスケース等に混在させて重ねた状態のまま、非接触ICカードを読み取り機に読み取らせようとしても、複数枚の非接触ICカード間の電磁的な結合が生じてしまって、必ずしも、読み取り機に最も近い位置に格納されている非接触ICカードの記録情報が読み出されるとは限らないし、正しい情報が読み出されるという保証もない。
このため、非接触ICカードを使用する現状の各サービスにおいては、1枚の非接触ICカードのみを読み取り機にかざすことが求められており、所持している非接触ICカードの枚数が増加してくると、パスケース等から、所望の非接触ICカードを一々取り出して使用しなくてはならず、非接触ICカードの利便性が大幅に損なわれてしまうようになってきている。
かくのごとき問題を解決する方法として、例えば、非特許文献1のインターネット上のWebページ「flux series」(URLアドレス「http://fluxed.fromwest24.com/fluxpass.htm」)に、2枚の非接触ICカードの間に、両面に磁性体を備えた薄型の「フラックス・パス(登録商標)」を挟む方法が紹介されている。
http://fluxed.fromwest24.com/fluxpass.htm
しかしながら、該非特許文献1に示す両面磁性タイプの「フラックス・パス(登録商標)」は、2枚の非接触ICカードの間に挟むことによって、2枚の非接触ICカードのうち読み取り機側に格納されている非接触ICカードの記録情報のみを正常に読み出すようにしたものであり、「フラックス・パス(登録商標)」の表側と裏側とを利用して、2枚の非接触ICカードだけを使い分けることができるというもので、3枚以上の任意の枚数を利用可能とするものではなかった。
また、読み取らせたい非接触ICカードが存在する面を意識して、パスケースの表側か裏側かを判別してから読み取り機にかざすようにしなければならないため、利用に煩わしさが生じていた。さらには、不正なスキミング動作の防止を図りたい情報が記録されている非接触ICカードの場合、従来の技術では、磁気シールドの役割を果たす導電体と非接触ICカードホルダ内で密着させて格納するようにしているので、かかる非接触ICカードを利用する場合には、非接触ICカードホルダから非接触ICカードを一々取り出して使わなければならなく、利便性に問題があった。
本発明は、かかる事情に鑑みてなされたものであり、2枚のみならず3枚以上の複数枚の非接触ICカードを混在して所持している場合であっても、非接触ICカードホルダから目的の非接触ICカードを一々取り出すことなく、1ないし複数枚を混在して格納した状態のまま、目的の非接触ICカードを利用することを可能とするとともに、さらに、スキミングなどの不本意な非接触ICカードの読み取り動作を確実に防止可能とする非接触ICカードホルダを提供することを、その目的としている。
本発明は、前述の課題を解決するために、以下のごとき各技術手段から構成されている。
第1の技術手段は、非接触ICカードを格納する挿入スロットを1ないし複数有する非接触ICカードホルダであって、該挿入スロットが、格納した前記非接触ICカードに電磁的に結合する第1のコイルが内蔵されたヨーク状の磁性体から形成されており、かつ、該磁性体の外側に、導電体が備えられ、最も外側に配置された前記導電体の外側の当該非接触ICカードホルダの表面側および裏面側に、磁性体を介在させて、当該非接触ICカードホルダの表面または裏面に近接する外部のICカードリーダライタと電磁的に結合するための第2のコイルを備え、当該非接触ICカードホルダの表面側および裏面側に配置された2個の前記第2のコイルそれぞれにノーマルオープン接点型の第2のスイッチを備え、当該非接触ICカードホルダのユーザが、2個の前記第2のスイッチのうちいずれかを押下操作するか、あるいは、外部のICカードリーダライタにタッチする操作を行うことにより、押下操作された前記第2のスイッチあるいは前記ICカードリーダライタにタッチした前記第2のスイッチに対応する前記第2のコイルが、前記第1のコイルと接続されることを特徴とする。
第2の技術手段は、非接触ICカードを格納する挿入スロットを1ないし複数有する非接触ICカードホルダであって、該挿入スロットが、格納した前記非接触ICカードに電磁的に結合する第1のコイルが内蔵されたヨーク状の磁性体から形成されており、かつ、該磁性体の外側に、導電体が備えられ、最も外側に配置された前記導電体の外側の当該非接触ICカードホルダの表面側および裏面側に、磁性体を介在させて、当該非接触ICカードホルダの表面または裏面に近接する外部のICカードリーダライタと電磁的に結合するための第2のコイルを備え、当該非接触ICカードホルダの表面側および裏面側に配置された2個の前記第2のコイルそれぞれにノーマルクローズ接点型の第2のスイッチを備え、当該非接触ICカードホルダのユーザが、2個の前記第2のスイッチのうちいずれかを押下操作することにより、押下操作された前記第2のスイッチに対応する前記第2のコイルが、前記第1のコイルから切り離されることを特徴とする。
第3の技術手段は、前記第1または第2の技術手段に記載の非接触ICカードホルダにおいて、1ないし複数の前記挿入スロットの前記第1のコイルそれぞれに第1のスイッチを備え、当該非接触ICカードホルダのユーザが1ないし複数の前記第1のスイッチのいずれかを押下操作することにより、押下操作された前記第1のスイッチに対応する前記第1のコイルと前記第2のコイルとが接続されることを特徴とする。
第4の技術手段は、前記第3の技術手段に記載の非接触ICカードホルダにおいて、前記第1のスイッチを複数備えている場合、複数の前記第1のスイッチは、複数の前記挿入スロットの配列順と同じ順番に並べて配置されていることを特徴とする。
第5の技術手段は、前記第4の技術手段に記載の非接触ICカードホルダにおいて、複数の前記第1のスイッチは、前記挿入スロットへの前記非接触ICカードの挿入口となる当該非接触ICカードホルダ側面部と反対側の側面部に配置されていることを特徴とする。
第6の技術手段は、前記第3ないし第5の技術手段のいずれかに記載の非接触ICカードホルダにおいて、前記第2のコイルと前記第1のコイルとの間に電力増幅を行うアンプを接続するとともに、該アンプに対して電源を供給する電池が備えられていることを特徴とする。
第7の技術手段は、前記第6の技術手段に記載の非接触ICカードホルダにおいて、前記アンプが、前記第2のコイルからの出力信号を増幅する増幅部と前記第1のコイルからの出力信号を増幅する増幅部との双方を備えていることを特徴とする。
第8の技術手段は、前記第6または第7の技術手段に記載の非接触ICカードホルダにおいて、前記アンプに対する前記電池からの給電線に、前記第1のスイッチまたは前記第2のスイッチの動作と連動して動作する連動スイッチが挿入されていることを特徴とする。
本発明の非接触ICカードホルダによれば、1ないし複数枚の非接触ICカードを挿入スロットに格納した際に、各非接触ICカードそれぞれが、非接触ICカードと電気的に結合する第1のコイル、磁束を収束する磁性体、および、磁気シールドを行う導電体で挟まれる状態になるとともに、当該非接触ICカードホルダ外表面(表面、裏面)の近傍に配置し、外部のICカードリーダライタに対して電磁的に結合可能な第2のコイルと各第1のコイルとは、各第1のコイルに備えられた第1のスイッチをユーザが押下操作しない限り、接続されない構成を採用しているので、以下のごとき効果を奏することができる。
非接触ICカードホルダに、たとえ、複数枚(2枚以上)の非接触ICカードが格納された状態であっても、非接触ICカード選択用の第1のスイッチを押下操作することにより、非接触ICカードホルダから利用したい目的の非接触ICカードを取り出すことなく、そのままの状態で利用することができるので、複数枚の非接触ICカードを所持している場合における利便性を大幅に向上させることができる。
また、目的の非接触ICカードの利用時においても、非接触ICカードホルダに格納されている他の非接触ICカードからの干渉を受けることがないので、ICカードリーダライタによって、目的の非接触ICカードの記録情報を正確に読み出すことができる。
さらに、第1のスイッチを押下操作しない限り、外部との電磁的な結合状態が形成されないので、スキミングなどによる不本意な非接触ICカードの読み取り動作を回避することができる。
さらには、外部のICカードリーダライタからの信号、および/または、非接触ICカードからの信号を増幅するアンプを非接触ICカードホルダに備える形態とすることにより、非接触ICカードブースタとして機能することが可能となり、ICカードリーダライタからの出力磁界が小さい場合であっても、あるいは、非接触ICカードからの読み取り信号レベルが低い場合であっても、正常なデータのやり取りを行うことが可能となる。
以下に、本発明に係る非接触ICカードホルダの最良の実施形態について、その一例を、図面を参照しながら詳細に説明する。
(本発明の特徴)
本発明に係る非接触ICカードホルダの実施形態の説明に先立って、本発明の主要な特徴についてまず説明する。本発明は、1ないし複数枚の非接触ICカードを非接触ICカードホルダに格納した際に、各非接触ICカードそれぞれを、非接触ICカードと電磁的に結合する第1のコイル(内部コイル)、磁束を収束する磁性体、および、磁気シールドを行う導電体にて層状に挟む状態とすることによって、各非接触ICカード間の電磁的な干渉動作を防止するとともに、外部との電磁的なシールド状態を形成する構造を採用している点に第1の特徴がある。
さらに、非接触ICカードホルダの外表面(表面、裏面)の直近には、ICカードリーダライタなどの外部装置に近接した際に、該外部装置と電磁的な結合状態を形成するための第2のコイル(外部コイル)を、第1のコイル(内部コイル)との間に磁性体、導電体、磁性体の各層を介在させて、電磁的には絶縁された形態で、配置している点に第2の特徴がある。
さらに、非接触ICカードホルダの外表面の直近に配置した第2のコイル(外部コイル)と、各非接触ICカードそれぞれと電磁的な結合状態を形成する各第1のコイル(内部コイル)とを、非接触ICカードホルダの所有者(ユーザ)が押下操作した場合に限って、接続状態に設定する第1のスイッチを、非接触ICカード選択用のスイッチとして、各第1のコイルごとに備えている点に第3の特徴がある。
さらには、非接触ICカードホルダの外表面の直近に配置した第2のコイルそれぞれには、外部のICカードリーダライタにかざす面(またはタッチする面)を判別するための通信面判別用スイッチとして、第2のスイッチが追加して備えられており、第2スイッチをON状態にした第2のコイルのいずれかが、第1のスイッチがON状態にされた第1のコイルのいずれかと接続されるように構成している点に第4の特徴がある。
さらには、第2のコイルからの出力信号や第1のコイルからの出力信号の電力増幅を行うアンプと電池とを非接触ICカードホルダ内に追加して備え、非接触ICカードブースタ機能を提供可能としている点に第5の特徴がある。
以上のような各種の特徴を備えることにより、非接触ICカードホルダに格納された1ないし複数枚の非接触ICカードの中から、利用しようとする目的の非接触ICカードを選び、目的の非接触ICカードと電磁的な結合状態にある第1のコイルに接続された第1のスイッチをユーザが押下操作を行った場合に限って、目的の非接触ICカードに電磁的に結合した当該第1のコイルが、第1のスイッチを介して外表面に配置された第2のコイルに接続される。
しかる後、非接触ICカードホルダをICカードリーダライタにかざす(またはタッチする)ことによって、非接触ICカードホルダの外表面(表面、裏面)直近の第2のコイルがICカードリーダライタに近接して、電磁的に両者が結合状態になり、目的の非接触ICカードは、該当する第1のコイル、第1のスイッチ、第2のコイルを介して、ICカードリーダライタと通信可能な状態になり、目的の非接触ICカードの記録内容が、ICカードリーダライタにて読み書き可能な状態になる。
つまり、本発明に係る非接触ICカードホルダにおいては、各第1のコイルそれぞれに備えられた第1のスイッチを押下操作しない限り、各第1のコイルは、非接触ICカードホルダの外表面直近に配置された第2のコイルとは接続されず、非接触ICカードは、ICカードリーダライタや外部のアンテナとは通信状態にならない。
また、各非接触ICカードの間には、電磁的なシールドを行い干渉を防止する導電体が介在しているので、各非接触ICカード間の電磁的な結合も発生しないので、利用しようとする非接触ICカードが、非接触ICカードホルダに格納されている他の非接触ICカードとの干渉を受けることなく、正常に、ICカードリーダライタとデータの送受信を行うことが可能となる。
さらに、非接触ICカードホルダに格納されている各非接触ICカードが、前述のように、導電体で囲まれているとともに、第1のスイッチを押下操作しない限り、外表面直近に配置された第2のコイルとも接続されないので、非接触ICカードの記録内容に第三者が不正にアクセスするようなスキミングなどの動作も確実に防止することができる。
さらには、非接触ICカードホルダの外表面(表面、裏面)直近に配置された第2のコイルそれぞれに、ICカードリーダライタにかざす面(またはタッチする面)を、ICカードリーダライタと通信を行う通信面として判別する第2のスイッチを追加して備えることにより、ICカードリーダライタとの通信状態をより良好な状態に設定することが可能になるとともに、第1のスイッチのみならず、第2のスイッチもON状態にならない限り、たとえ、非接触ICカードホルダに近接した位置に外部の読み取り機があったとしても、非接触ICカードの記録情報を外部からアクセスすることができないので、不本意なアクセスをより確実に防止することが可能である。
さらには、非接触ICカードホルダに、第2のコイルからの信号や第1のコイルからの信号を増幅するアンプと該アンプ用の電源を供給する電池とを追加して備えることによって、たとえ、ICカードリーダライタからの出力磁界が小さかったり、非接触ICカードからの読み取りレベルが低かったりした場合であっても、ブースタ機能により、正常なデータのやり取りを行うことが可能である。
(第1の実施形態)
(非接触ICカードホルダの構成例)
次に、本発明に係る非接触ICカードホルダの構成に関する第1の実施形態について、図1、図2を用いて、詳細に説明する。ここに、図1は、本発明に係る非接触ICカードホルダの内部構成の一例を説明するための構成図であり、3枚の非接触ICカードを格納する場合を例にして、各非接触ICカードおよび各構成部品の電磁的な結合状態および各構成部品の電気的な結線状態の一例を示している。また、図2は、図1に示す非接触ICカードホルダのイメージの一例を示す概念図であり、図2(A)は、図1に示す非接触ICカードホルダを外観したイメージの一例を示し、図2(B)は、図2(A)の外観図においてN−N面から矢視した断面を示しており、図1に示す非接触ICカードホルダの内部構造のイメージの一例を示している。
なお、図1、図2に示す実施形態においては、非接触ICカードホルダ10に格納する非接触ICカードの枚数として、3枚の場合について説明するが、本発明は、かかる場合のみに限るものではなく、2枚以上の如何なる枚数の場合であっても、全く同様に適用することができるし、場合によっては、1枚のみであってもかまわない。
図1に例示する非接触ICカードホルダ10は、3枚の非接触ICカード1,2,3をそれぞれ格納するための3個の挿入スロット11,12,13を備えており、それぞれの挿入スロット11,12,13は、3枚の非接触ICカード1,2,3それぞれの内蔵コイルL1,L2,L3と密着して電磁的に結合される第1のコイル(内部コイル)L11,L12,L13が内蔵されるとともに、ヨーク形状の磁性体21、22、23により囲まれた形状とされている。
また、非接触ICカードホルダ10は、外部のICカードリーダライタに近接させた際に、該ICカードリーダライタと電磁的に結合して通信を行うための第2のコイル(外部コイル)L21,L22が、外表面(表面、裏面)の直近に配置されている。
さらに、それぞれの挿入スロット11,12,13の間、および、最も外側に配置される挿入スロット11,13と外表面の直近に配置された第2のコイルL21,L22との間には、磁束を収束する磁性体のみならず、磁気シールドを行う導電体が介在する形で挿入されており、各非接触ICカード1,2,3や第1のコイルL11,L12,L13それぞれからの出力、第2のコイルL21,L22それぞれからの出力が干渉することを防止している。つまり、非接触ICカードホルダ10の各挿入スロット11,12,13の間および挿入スロット11,13と外表面との間は、コイル(第1のコイルまたは第2のコイル)、磁性体、導電体、磁性体の層状の仕切りを有する構造として、それぞれの内部では磁束を収束すると同時に外部とは電磁的に絶縁された状態とされている。
さらに説明すると、非接触ICカードホルダ10の内部構造は、図2(B)に例示するような構造からなっている。各非接触ICカード1,2,3を格納する挿入スロット11,12,13それぞれは、同一の構造であり、非接触ICカード1,2,3に密着するように第1のコイルL11,L12,L13が内蔵されるとともに、ヨーク形状の磁性体21,22,23、導電体31,32,33,34の各層で囲まれた構造とされている。また、筐体20の外表面直近に配置された第2のコイルL21,L22と最も外側の挿入スロット11,13との間には、磁性体24,25、導電体31,34、磁性体21,23の各層が介在する構造とされている。
ここで、磁性体21〜25としては、例えば、バスタレイド(登録商標)などのような高透磁率の材料を用い、また、導電体31〜34としては、アルミ箔のような高い導電性を有する金属材料を用いる。
また、図2(A)の外観図にも示すように、非接触ICカードホルダ10は、プラスチック製の筐体20を用いて構成されており、非接触ICカード1,2,3それぞれを挿入する挿入スロット11,12,13の挿入口が設けられている筐体20の側面部とは反対側の側面部(図2の左側側面)には、3枚の非接触ICカード1,2,3のうち、いずれの非接触ICカードを利用するかを選択するための第1のスイッチ(非接触ICカード選択スイッチ)SW11,SW12,SW13が備えられ、また、筐体20の外表面(表面、裏面:図2の上側表面、下側表面)には、外部のICカードリーダライタにタッチする面をICカードリーダライタと通信する通信面として判別するために、第2のスイッチ(通信面判別用スイッチ)SW21,SW22が備えられている。
つまり、第2のスイッチ(通信面判別用スイッチ)SW21,SW22は、ユーザがICカードリーダライタにタッチする非接触ICカードホルダ10の外表面(表面および裏面)にそれぞれ配置されている。一方、第1のスイッチ(非接触ICカード選択用スイッチ)SW11,SW12,SW13は、ユーザが非接触ICカードホルダ10をICカードリーダライタにタッチする際に、非接触ICカードホルダ10をユーザが保持する一方の側面部に、挿入スロット11,12,13の順番に対応付けて同じ順番に並べて配置されて、ユーザが押下操作をし易いように、非接触ICカードホルダ10の同一面内に順序付けて配置されている。
この結果、第1のスイッチ(非接触ICカード選択用スイッチ)SW11,SW12,SW13のいずれかを、ユーザは、非接触ICカードホルダ10を保持した片手のみで、図2(B)に示すように、筐体20の表面に穿設された孔を介して、押下操作することにより、ON状態に切り替えることができる。また、第2のスイッチ(通信面判別用スイッチ)SW21,SW22のいずれについても、ユーザは、非接触ICカードのいずれかの面をICカードリーダライタに軽くタッチする操作を行うのみで、タッチした面に配置された第2のスイッチの押下操作がなされ、ON状態に切り替えることができる。
つまり、第1のスイッチ(非接触ICカード選択用スイッチ)SW11,SW12,SW13については、ユーザが押下操作している間ON状態になり、押下操作しない状態ではOFF状態になるノーマルオープン接点型のスイッチであり、一方、第2のスイッチ(通信面判別用スイッチ)SW21,SW22は、ユーザがICカードリーダライタにタッチしている間ON状態になり、タッチしていない状態ではOFF状態になるノーマルオープン接点型のスイッチである。
ここで、第2のスイッチSW21,SW22は、例えばマイクロスイッチなどの機械式スイッチによって構成され、機械式スイッチをICカードリーダライタに軽くタッチした際には、スイッチが閉じてON状態になり、タッチしない場合はOFF状態になる。
ユーザは、第1のスイッチSW11,SW12,SW13のうち、利用しようとする非接触ICカードに対応する第1のスイッチ例えば第1のスイッSW11を押下操作した状態で、第2のスイッチSW21,SW22のうち、非接触ICカードホルダ10のICカードリーダライタ側に面する第2のスイッチ例えば第2のスイッチSW21をICカードリーダライタにタッチするように、非接触ICカードホルダ10を操作する。
この結果、非接触ICカードホルダ10のICカードリーダライタ側に面する第2のスイッチ例えば第2のスイッチSW21はON状態となって、第2のスイッチSW21に対応する第2のコイルL21は、電気的に動作状態になり、ON状態にされた第1のスイッチ例えば第1のスイッチSW11に対応する第1のコイルL11と接続されて、ICカードリーダライタと通信可能な状態にされる。
つまり、図1に示すように、ICカードリーダライタにタッチさせる面を判別するための第2のスイッチSW21,SW22それぞれは、非接触ICカードホルダ10の外表面直近に配置された第2のコイル(外部コイル)L21,L22それぞれに接続されており、第2のスイッチSW21,SW22の一端(端子1)同士が相互に接続され、第2のスイッチSW21,SW22の他端(端子2)それぞれは、第2のコイル(外部コイル)L21,L22の一端にそれぞれ接続され、第2のコイル(外部コイル)L21,L22の他端同士が相互に接続されている。
ここで、図2(B)の内部構造に示すように、第2のコイル(外部コイル)L21,L22は、それぞれ、筐体20と磁性体24,25との間に配置されており、筐体20を外部のICカードリーダライタに近接した位置に近づけると、外部のICカードリーダライタと電磁的に結合された状態になる。
また、図1に示すように、第1のスイッチSW11,SW12,SW13それぞれの一端(端子1)は、第2のスイッチSW21およびSW22の一端(端子1)に接続され、第1のスイッチSW11,SW12,SW13それぞれの他端(端子2)は、第1のコイル(内部コイル)L11,L12,L13それぞれの一端と接続されており、第1のコイル(内部コイル)L11,L12,L13それぞれの他端は、第2のコイルL21,L22の他端同士の接続点に接続されている。
ここで、図2(B)の内部構造に示すように、第2のコイル(外部コイル)L21と第1のコイル(内部コイル)L11との間、第1のコイル(内部コイル)L11,L12,L13それぞれの間、および、第1のコイル(内部コイル)L13と第2のコイル(外部コイル)L22との間については、前述したように、磁性体、導電体、磁性体の層状の仕切りを有する構造とされて、電磁的に互いに絶縁された状態にされている。
(非接触ICカードホルダの動作例)
次に、図1、図2に例示した非接触ICカードホルダ10の動作に関する一実施形態について、図3を用いて、詳細に説明する。図3は、図1、図2に示す非接触ICカードホルダ10の動作の一例を説明するための説明図であり、3枚の非接触ICカード1,2,3のうち、真ん中に格納されている非接触ICカード2を利用する場合の動作について例示している。
非接触ICカードホルダ10を所持するユーザは、非接触ICカードホルダ10を取り出して、利用したい非接触ICカード(図3の例では、非接触ICカード2)に対応する第1のスイッチつまり利用したい非接触ICカードの内蔵コイルと電磁的に結合されている第1のコイルに接続された第1のスイッチ(図3では、第1のスイッチSW12)を親指で押しながら、ICカードリーダライタに面する表面側に配置されている第2のスイッチ(図3の例では、第2のスイッチSW21)をICカードリーダライタに軽くタッチして、第2のスイッチをON状態に切り替えさせる。
この結果、ICカードリーダライタのRWアンテナ40からの磁界がICカードリーダライタにタッチした非接触ICカードホルダ10の表面側に配置した第2のコイル(図3の例では、第2のコイルL21)を通過して、第2のコイルL21に誘起電流が流れることによって、ON状態になっている第2のスイッチSW21、第1のスイッチSW12を経由して、目的とする非接触ICカード2に密着して配置されている第1のコイルL12を介して、目的とする非接触ICカード2を起動する。
ここで、第2のコイルL21、第1のコイルL12に電流が流れることによって、ICカードリーダライタから受けた磁界とは逆向きの磁界が反磁界として発生して、ICカードリーダライタのRWアンテナ40に逆向きの誘起電流を生起させる。この結果、ICカードリーダライタと目的の非接触ICカード2とは、第2のコイルL21、第1のコイルL12、および、第2のスイッチSW21、第1のスイッチSW12を介して、通信状態になり、データのやり取りが行われる。
以上のように、非接触ICカードホルダ10内に格納されている複数枚の非接触ICカード1,2,3の中から、利用したい非接触ICカード(図3の例では、非接触ICカード2)に該当する第1のスイッチ(図3の例では、第1のスイッチSW12)を押下操作するとともに、ICカードリーダライタにタッチする面に配置している第2のスイッチ(図3の例では、第2のスイッチSW21)をICカードリーダライタにタッチする操作を行って、それぞれのスイッチをON状態にすることにより、利用したい非接触ICカードが、非接触ICカードホルダ10内のどの位置に格納されていたとしても、利用したい非接触ICカードの記録内容について、ICカードリーダライタにより正しく読み書きすることができる。
ここで、非接触ICカード1,2,3それぞれの間、および、非接触ICカード1,2,3それぞれが電磁的に結合される第1のコイルL11,L12,L13それぞれの間、および、第1のコイルL11,L13と第2のコイルL21,L22との間は、前述のように、磁性体、導電体、磁性体の層構造により仕切られているので、磁性体による磁気収束機能によって、利用したい非接触ICカードの内蔵コイルの起電動作をサポートすると同時に、導電体による電磁界の遮蔽機能によって、利用したい非接触ICカード以外からの電磁界の干渉を回避することができる。
なお、非接触ICカードの枚数は、前述のように、3枚のみに限るものではなく、利用したい非接触ICカードの枚数分だけ、磁性体、導電体、磁性体の層構造によって仕切られた挿入スロットと、選択用の第1のスイッチとを備えることによって、任意の枚数の非接触ICカードを格納可能な非接触ICカードホルダを形成することができ、任意の枚数の非接触ICカードの中から目的とする非接触ICカードを正しく使い分けて利用することが可能である。つまり、非接触ICカードホルダ10に格納された任意の枚数の非接触ICカードの中から、利用する非接触ICカードを一々取り出すことなく、格納されたままの状態で、外部のICカードリーダライタと通信することができるので、複数枚の非接触ICカードを持つときの利便性を格段に向上させることができる。
一方、非接触ICカードホルダ10内の利用しようとしていない他の非接触ICカード(図3では、非接触ICカード1および非接触ICカード3)は、対応する第1のスイッチ(図3では、第1のスイッチSW1および第1のスイッチSW3)が押下操作されないので、導電体で磁気シールドされた状態のままであり、外部の読み取り機とは通信することができない。よって、利用している非接触ICカードの読み書き動作と干渉することもないし、かつ、スキミングなどの不正なアクセスに対しても保護することが可能である。
また、例えばマイクロスイッチのような機械式スイッチを用いた第2のスイッチSW21,SW22を備えることにより、ユーザは、非接触ICカードホルダ10をICカードリーダライタに近接させるだけでなく、タッチさせる操作を行うことが必要であり、その効果として、第1のスイッチの押下操作のみならず、第2のスイッチを外部の読み取り機へタッチする操作をしない限り、非接触ICカードと当該外部の読み取り機とは通信することができない状態に設定されることになり、より確実に、スキミングなどの不正なアクセス動作を防止し、非接触ICカードのセキュリティを確保することができる。
なお、以上の説明においては、外部のICカードリーダライタとタッチする面(つまり、ICカードリーダライタと通信する通信面)を判別するための第2のスイッチSW21,SW22を、非接触ICカードのセキュリティを向上させるために備えている例について説明したが、場合によっては、第2のスイッチSW21,SW22を備えることなく、第1のスイッチSW11,SW12,SW13のみから構成するようにしても良いし、さらには、非接触ICカードの挿入枚数が2枚以下の場合には、非接触ICカード選択用の第1のスイッチSW11,SW12,SW13そのものも、削除して構成するようにしても良い。
また、非接触ICカードホルダ10のICカードリーダライタにタッチする面を判別する第2のスイッチ(通信面判別用スイッチ)SW21,SW22として、前述のごとく、マイクロスイッチ等からなるノーマルオープン接点型のスイッチ(つまり、タッチして押下されている間のみON状態に設定されるスイッチ)を用いる例を説明したが、本発明は、かかる場合のみに限るものではなく、ICカードリーダライタにタッチする代わりに、ユーザ自らが押下操作を行うスイッチとして構成するようにしても良い。
例えば、第2のスイッチSW21,SW22を、ユーザが押下操作している間OFF状態になり、押下操作していない状態ではON状態になるノーマルクローズ接点型のスイッチとして構成するようにしても良い。
かかるノーマルクローズ接点型のスイッチを適用した場合、ユーザによる押下操作を行うことが必要となる代わりに、非接触ICカードをICカードリーダライタに必ずしもタッチする操作を行う必要はなく、ICカードリーダライタにかざす操作を行うだけで、非接触ICカードの読み書きが可能になる。
つまり、ユーザは、非接触ICカードホルダ10を保持した片手のみで、格納した非接触ICカード1,2,3にそれぞれ電磁的に結合される第1のスイッチSW11,SW12,SW13のうち、利用しようとする非接触ICカードに対応する第1のスイッチ例えば第1のスイッSW11を親指で押下操作しながら、第2のスイッチSW21,SW22のうち、非接触ICカードホルダ10のICカードリーダライタ側にかざす面(あるいはタッチする面)とは反対側の面にある第2のスイッチ例えば第2のスイッチSW22を人差し指または中指で押下操作した状態で、非接触ICカードホルダ10をICカードリーダライタにかざす(あるいはタッチする)ように、非接触ICカードホルダ10を操作する。
この結果、非接触ICカードホルダ10のICカードリーダライタ側とは反対側の面にある第2のスイッチ例えば第2のスイッチSW22はOFF状態となって、第2のスイッチSW22に対応する第2のコイルL22は、電気的に非動作状態になり、ICカードリーダライタと切り離された状態にされる。
一方、非接触ICカードホルダ10のICカードリーダライタ側と同じ側の面にある第2のスイッチ例えば第2のスイッチSW21はON状態になって、第2のスイッチSW21に対応する第2のコイルL21は、電気的に動作状態になり、ON状態にされた第1のスイッチ例えば第1のスイッチSW11に対応する第1のコイルL11と接続されて、ICカードリーダライタと通信可能な状態にされ、ICカードリーダライタとの通信性能を確保した状態で非接触ICカードの読み書き動作を行うことができる。
あるいは、前述のように、第2のスイッチSW21,SW22をユーザ自らが押下操作を行うスイッチとして構成する場合の異なる例として、ノーマルクローズ接点型のスイッチではなく、ユーザが押下操作している間ON状態になり、押下操作していない状態ではOFF状態になるノーマルオープン接点型のスイッチとして構成するとともに、第2のスイッチSW21,SW22と第2のコイルL21、L22との接続状態をクロスさせて、筐体20の表面に配置した第2のスイッチSW21と裏面側直近の第2のコイルL22とを接続し、筐体20の裏面に配置した第2のスイッチSW22と表面側直近の第2のコイルL21とを接続するように構成しても良い。
かかるノーマルオープン接点型のスイッチを適用した場合には、ICカードリーダライタとタッチするスイッチ構成の場合と同様、第1のスイッチと同時に、第2のスイッチを押下操作しない限り、格納している非接触ICカードの読み書きを、外部から行うことができない状態に設定することができ、スキミングなどの不正なアクセス動作を防止することが可能になる。
(第2の実施形態)
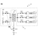
次に、本発明に係る非接触ICカードホルダの構成に関する図1とは異なる実施形態について、図4を用いて説明する。ここに、図4は、本発明に係る非接触ICカードホルダの内部構成の図1とは異なる例を説明するための構成図であり、図1に例示した非接触ICカードホルダ10に、さらに、アンプ50、電池Eおよび連動スイッチSW20を追加して備えている構成例を示している。
なお、図4に示す非接触ICカードホルダ10Aにおいて、符号10にて示す部分は、図1の非接触ICカードホルダ10と全く同様の構成からなっており、3枚の非接触ICカードを格納する場合を示しているが、本実施形態においても、3枚に限るものではなく、任意の枚数の非接触ICカードを格納するようにしても良い。また、アンプ50の消費電力量が問題にならないような場合など、場合によっては、アンプ50と電池Eのみを追加して、連動スイッチ20を備えないように構成しても良い。
図4に示す非接触ICカードホルダ10Aにおいて、アンプ50は、例えば、十数MHz帯(例えば13.56MHz)、数百MHz帯から2GHz帯のUHF帯などのRFID用周波数帯のアナログ信号を低ノイズで増幅することが可能なオペアンプによって構成されている。なお、図4に示すアンプ50は、ICカードリーダライタから第2のコイルL21,L22を介して出力される信号を電力増幅する増幅部と、非接触ICカードから第1のコイルL11,L12,L13を介して読み出した信号を電力増幅する増幅部と、の双方の増幅機能を備えている双方向アンプを例示しているが、場合によっては、いずれか一方のみの増幅部であってもかまわない。
電池Eは、アンプ50の動作用の電源を供給するための電池であり、給電線に挿入した連動スイッチSW20を介して、アンプ50に対して給電するように構成されている。ここで、電池Eは、一次電池のみならず、場合によっては、二次電池のであってもかまわない。
連動スイッチSW20は、外部のICカードリーダライタにかざす面(あるいはタッチする面)を通信面として判別する第2のスイッチ(通信面判別用スイッチ)SW21,SW22の動作、あるいは、場合によっては、利用する非接触ICカード1,2,3を選択するための第1のスイッチ(非接触ICカード選択用スイッチ)SW11,SW12,SW13の動作と連動して動作するスイッチである(図4には、第2のスイッチSW21,SW22の動作に連動する例を示している)。
つまり、第2のスイッチSW21、SW22のいずれかを押下操作する(またはICカードリーダライタにタッチすることにより通信面を判別するスイッチで構成している場合には、ICカードリーダライタにタッチする)か、あるいは、第1のスイッチSW11,SW12,SW13のいずれかを押下操作すると、同時に、連動スイッチSW20が、連動して、ON状態に切り替わり、電池Eからアンプ50への給電が行われ、一方、第2のスイッチSW21,SW22、あるいは、第1のスイッチSW11,SW12,SW13の押下状態が解除されると、同時に、連動スイッチSW20が、OFF状態に切り替わる。
この結果、アンプ50は、非接触ICカード1,2,3を利用している間だけ動作して、ICカードリーダライタ側の第2のコイルL21,L22からの信号を適切な増幅量だけ増幅して非接触ICカード側の第1のコイルL11,L12,L13に対して出力し、また、第1のコイルL11,L12,L13からの信号を適切な増幅量だけ増幅して相手側の第2のコイルL21,L22に対して出力する。
かくのごとく、図4に例示する非接触ICカードホルダ10Aは、電池E、アンプ50を内蔵することによって、電力増幅機能をも備えた「非接触ICカードブースタ」として機能することが可能になる。したがって、ブースタ機能を備えた図4のような非接触ICカードホルダ10Aに非接触ICカードを格納することによって、例えば、ICカードリーダライタのRWアンテナ40の出力レベルが低く、その出力磁界が小さい場合であっても、あるいは、ICカードリーダライタとの距離が例えば10mmよりも少し離れた状態にあって、ICカードリーダライタとの電磁的な結合状態がやや弱い場合であっても、あるいは、非接触ICカード1,2,3との電磁的な結合状態がやや弱い場合であっても、ブースタとして電力増幅して、ICカードリーダライタと非接触ICカードとの通信を正常に行うことが可能になる。
本発明に係る非接触ICカードホルダの内部構成の一例を説明するための構成図である。 図1に示す非接触ICカードホルダのイメージの一例を示す概念図である。 図1に示す非接触ICカードホルダの動作の一例を説明するための説明図である。 本発明に係る非接触ICカードホルダの内部構成の図1とは異なる例を説明するための構成図である。
符号の説明
1,2,3…非接触ICカード、10,10A…非接触ICカードホルダ、11,12,13…挿入スロット、20…筐体、21,22,23,24,25…磁性体、31,32,33,34…導電体、40…RWアンテナ、50…アンプ、E…電池、L1,L2,L3…内蔵コイル、L11,L12,L13…第1のコイル(内部コイル)、L21,L22…第2のコイル(外部コイル)、SW11,SW12,SW13…第1のスイッチ(非接触ICカード選択用スイッチ)、SW20…連動スイッチ、SW21,SW22…第2のスイッチ(通信面判別用スイッチ)。

Claims (8)

  1. 非接触ICカードを格納する挿入スロットを1ないし複数有する非接触ICカードホルダであって、該挿入スロットが、格納した前記非接触ICカードに電磁的に結合する第1のコイルが内蔵されたヨーク状の磁性体から形成されており、かつ、該磁性体の外側に、導電体が備えられ
    最も外側に配置された前記導電体の外側の当該非接触ICカードホルダの表面側および裏面側に、磁性体を介在させて、当該非接触ICカードホルダの表面または裏面に近接する外部のICカードリーダライタと電磁的に結合するための第2のコイルを備え、
    当該非接触ICカードホルダの表面側および裏面側に配置された2個の前記第2のコイルそれぞれにノーマルオープン接点型の第2のスイッチを備え、当該非接触ICカードホルダのユーザが、2個の前記第2のスイッチのうちいずれかを押下操作するか、あるいは、外部のICカードリーダライタにタッチする操作を行うことにより、押下操作された前記第2のスイッチあるいは前記ICカードリーダライタにタッチした前記第2のスイッチに対応する前記第2のコイルが、前記第1のコイルと接続される
    ことを特徴とする非接触ICカードホルダ。
  2. 非接触ICカードを格納する挿入スロットを1ないし複数有する非接触ICカードホルダであって、該挿入スロットが、格納した前記非接触ICカードに電磁的に結合する第1のコイルが内蔵されたヨーク状の磁性体から形成されており、かつ、該磁性体の外側に、導電体が備えられ、
    最も外側に配置された前記導電体の外側の当該非接触ICカードホルダの表面側および裏面側に、磁性体を介在させて、当該非接触ICカードホルダの表面または裏面に近接する外部のICカードリーダライタと電磁的に結合するための第2のコイルを備え
    当該非接触ICカードホルダの表面側および裏面側に配置された2個の前記第2のコイルそれぞれにノーマルクローズ接点型の第2のスイッチを備え、当該非接触ICカードホルダのユーザが、2個の前記第2のスイッチのうちいずれかを押下操作することにより、押下操作された前記第2のスイッチに対応する前記第2のコイルが、前記第1のコイルから切り離される
    ことを特徴とする非接触ICカードホルダ。
  3. 請求項1または2に記載の非接触ICカードホルダにおいて、1ないし複数の前記挿入スロットの前記第1のコイルそれぞれに第1のスイッチを備え、当該非接触ICカードホルダのユーザが1ないし複数の前記第1のスイッチのいずれかを押下操作することにより、押下操作された前記第1のスイッチに対応する前記第1のコイルと前記第2のコイルとが接続されることを特徴とする非接触ICカードホルダ。
  4. 請求項3に記載の非接触ICカードホルダにおいて、前記第1のスイッチを複数備えている場合、複数の前記第1のスイッチは、複数の前記挿入スロットの配列順と同じ順番に並べて配置されていることを特徴とする非接触ICカードホルダ。
  5. 請求項4に記載の非接触ICカードホルダにおいて、複数の前記第1のスイッチは、前記挿入スロットへの前記非接触ICカードの挿入口となる当該非接触ICカードホルダ側面部と反対側の側面部に配置されていることを特徴とする非接触ICカードホルダ。
  6. 請求項3ないし5のいずれかに記載の非接触ICカードホルダにおいて、前記第2のコイルと前記第1のコイルとの間に電力増幅を行うアンプを接続するとともに、該アンプに対して電源を供給する電池が備えられていることを特徴とする非接触ICカードホルダ。
  7. 請求項6に記載の非接触ICカードホルダにおいて、前記アンプが、前記第2のコイルからの出力信号を増幅する増幅部と前記第1のコイルからの出力信号を増幅する増幅部との双方を備えていることを特徴とする非接触ICカードホルダ。
  8. 請求項6または7に記載の非接触ICカードホルダにおいて、前記アンプに対する前記電池からの給電線に、前記第2のスイッチの動作と連動して動作する連動スイッチが挿入されていることを特徴とする非接触ICカードホルダ。
JP2007122191A 2007-05-07 2007-05-07 非接触icカードホルダ Expired - Fee Related JP4938545B2 (ja)

Priority Applications (1)

Application Number Priority Date Filing Date Title
JP2007122191A JP4938545B2 (ja) 2007-05-07 2007-05-07 非接触icカードホルダ

Applications Claiming Priority (1)

Application Number Priority Date Filing Date Title
JP2007122191A JP4938545B2 (ja) 2007-05-07 2007-05-07 非接触icカードホルダ

Publications (2)

Publication Number Publication Date
JP2008276673A JP2008276673A (ja) 2008-11-13
JP4938545B2 true JP4938545B2 (ja) 2012-05-23

Family

ID=40054524

Family Applications (1)

Application Number Title Priority Date Filing Date
JP2007122191A Expired - Fee Related JP4938545B2 (ja) 2007-05-07 2007-05-07 非接触icカードホルダ

Country Status (1)

Country Link
JP (1) JP4938545B2 (ja)

Family Cites Families (9)

* Cited by examiner, † Cited by third party
Publication number Priority date Publication date Assignee Title
JPH07325895A (ja) * 1994-05-31 1995-12-12 Toshiba Corp 無線媒体処理装置
JPH08204621A (ja) * 1995-01-26 1996-08-09 Nippon Telegr & Teleph Corp <Ntt> ワイヤレスカード
JPH10261053A (ja) * 1997-03-18 1998-09-29 Toshiba Corp 無線カードアダプタ
JP3873450B2 (ja) * 1998-05-12 2007-01-24 株式会社デンソー 2次元コード
JP3529087B2 (ja) * 1998-07-08 2004-05-24 日本電信電話株式会社 非接触式icカード用読み取り書き込み装置
JP2001076104A (ja) * 1999-08-31 2001-03-23 Nippon Signal Co Ltd:The 非接触式情報記録媒体収納ケース
JP2002324214A (ja) * 2001-04-24 2002-11-08 Mitsubishi Electric Corp 携帯情報機器のワイヤレスカードリーダ・ライタ装置
JP4370841B2 (ja) * 2003-07-09 2009-11-25 ソニー株式会社 カードホルダー
JP2007108982A (ja) * 2005-10-13 2007-04-26 Nec Corp Icカードホルダー

Also Published As

Publication number Publication date
JP2008276673A (ja) 2008-11-13

Similar Documents

Publication Publication Date Title
US7533826B2 (en) Electronic wallet
US20080055093A1 (en) Shield for radio frequency ID tag or contactless smart card
US20180121780A1 (en) Multi-Layer Product with NFC Tags and RF Shielding
CN108227963A (zh) 电子笔
ES2439942T3 (es) Documento securizado, especialmente pasaporte electrónico con seguridad reforzada
US6145748A (en) Chip card reader having a dual reading modules
JP4938545B2 (ja) 非接触icカードホルダ
US8511568B2 (en) Sensor tag multiplane imaging system
JP2009098831A (ja) Rfidカード
JP2012022669A (ja) 携帯用通信装置および、これを用いたicカードシステム
CN105264549A (zh) 卡、组件、组装卡的方法和输出信息的方法
JP3630006B2 (ja) 非接触型icカードホルダー
JP5348709B2 (ja) 非接触icカードおよび非接触icカードスキミング防止方法
JP6080378B2 (ja) 電界通信携帯端末
TWM586389U (zh) 防盜刷智慧卡
WO2006090739A1 (ja) Rfid用スキミング防止機能を備えたカードおよびカードホルダ
JP2008197818A (ja) Rfid用カード収容具およびrfid用通信補助シート
JPH1185924A (ja) 非接触媒体および非接触媒体システム
JP5201677B2 (ja) Rfidリーダライタ装置
JP3113192U (ja) カード用防護体
JP2006018785A (ja) Icカ−ドやicタグ等の使用時に不具合を生じさせない仕組み及びその仕組みを応用した収納ケ−ス
WO2011067428A1 (es) Tarjeta inteligente sin contactos
US20250306698A1 (en) Augmented book
KR20100033571A (ko) Rf기능제어가 가능한 스마트 카드
JP2006167011A (ja) 携帯用カード収納具

Legal Events

Date Code Title Description
RD02 Notification of acceptance of power of attorney

Free format text: JAPANESE INTERMEDIATE CODE: A7422

Effective date: 20090521

RD04 Notification of resignation of power of attorney

Free format text: JAPANESE INTERMEDIATE CODE: A7424

Effective date: 20090521

A621 Written request for application examination

Free format text: JAPANESE INTERMEDIATE CODE: A621

Effective date: 20090710

A977 Report on retrieval

Free format text: JAPANESE INTERMEDIATE CODE: A971007

Effective date: 20111118

A131 Notification of reasons for refusal

Free format text: JAPANESE INTERMEDIATE CODE: A131

Effective date: 20111129

A521 Written amendment

Free format text: JAPANESE INTERMEDIATE CODE: A523

Effective date: 20120127

TRDD Decision of grant or rejection written
A01 Written decision to grant a patent or to grant a registration (utility model)

Free format text: JAPANESE INTERMEDIATE CODE: A01

Effective date: 20120221

A01 Written decision to grant a patent or to grant a registration (utility model)

Free format text: JAPANESE INTERMEDIATE CODE: A01

A61 First payment of annual fees (during grant procedure)

Free format text: JAPANESE INTERMEDIATE CODE: A61

Effective date: 20120223

FPAY Renewal fee payment (event date is renewal date of database)

Free format text: PAYMENT UNTIL: 20150302

Year of fee payment: 3

R150 Certificate of patent or registration of utility model

Free format text: JAPANESE INTERMEDIATE CODE: R150

S531 Written request for registration of change of domicile

Free format text: JAPANESE INTERMEDIATE CODE: R313531

R350 Written notification of registration of transfer

Free format text: JAPANESE INTERMEDIATE CODE: R350

LAPS Cancellation because of no payment of annual fees