JP4938519B2 - 既設管補修工法 - Google Patents

既設管補修工法 Download PDF

Info

Publication number
JP4938519B2
JP4938519B2 JP2007073250A JP2007073250A JP4938519B2 JP 4938519 B2 JP4938519 B2 JP 4938519B2 JP 2007073250 A JP2007073250 A JP 2007073250A JP 2007073250 A JP2007073250 A JP 2007073250A JP 4938519 B2 JP4938519 B2 JP 4938519B2
Authority
JP
Japan
Prior art keywords
uncured resin
existing pipe
tubular
lining material
tubular lining
Prior art date
Legal status (The legal status is an assumption and is not a legal conclusion. Google has not performed a legal analysis and makes no representation as to the accuracy of the status listed.)
Expired - Fee Related
Application number
JP2007073250A
Other languages
English (en)
Other versions
JP2008230058A (ja
Inventor
伸吉 大岡
満良 張
Original Assignee
吉佳株式会社
Priority date (The priority date is an assumption and is not a legal conclusion. Google has not performed a legal analysis and makes no representation as to the accuracy of the date listed.)
Filing date
Publication date
Application filed by 吉佳株式会社 filed Critical 吉佳株式会社
Priority to JP2007073250A priority Critical patent/JP4938519B2/ja
Publication of JP2008230058A publication Critical patent/JP2008230058A/ja
Application granted granted Critical
Publication of JP4938519B2 publication Critical patent/JP4938519B2/ja
Expired - Fee Related legal-status Critical Current
Anticipated expiration legal-status Critical

Links

Images

Landscapes

  • Sewage (AREA)
  • Lining Or Joining Of Plastics Or The Like (AREA)

Description

本発明は、既設管補修工法、特に下水道等の様な地中に埋設された既設管内に未硬化状態の管状ライニング材が導入され、導入後に硬化されて既設管の補修が行われる既設管補修工法に関するものである。
日本の下水道普及率は平均69%であり、都市部では、ほぼ100%に近い普及率である。この様な現状において、下水管渠の新設事業は一部地方を除いて殆ど無くなり、老朽管渠の維持管理が重要なものとなっている。下水管渠の総延長は約36万kmであり、そのうち耐用年数50年を越えた管渠は7000km以上となっている。また、今後年間数千kmずつ増加する見込みである。
一般に、下水管渠などの地中に埋設される管については、設置からの年数の経過による様々な変形、例えば、クラックの発生、ズレによる段差の発生、径の変化などが生じることは不可避であり、そのため、下水管の流下力が低下したり、管内への地下水の浸入による下水処理量が増えたりする問題が起こっている。また、特に変形が生じなくても老朽化に伴って、事故の未然防止のために換が必要になる等の事情から、既設管は所定の時期に何らかの補修が必要となるのが現状である。
現在、下水管路再生補修技術としては、地上からの作業により地面を開削し、老朽化した管路を地上から掘り出して新管を入れる作業方法、非開削で管の内部から管内面を補修する作業方法、更に、非開削で新管を入れる方法などが採用されている。この非開削で新管を挿入する補修工法として、従来、管更生工法と呼ばれている補修技術が採用されており、この技術は、既設管にガラス繊維等のスリーブに未硬化樹脂を含浸させて出来た工場生産の管状ライニング材を既設の下水道管に導入して、圧力空気等を用いて拡径し、既設管に密着させた状態で、硬化させて既設管中にFRP新管を形成するものである。
例えば、特許文献1(特開平6−246830号)や、特許文献2(特開2004−188818号)には、その様な未硬化のライニング管を反転させて、加圧空気や温水によって進行させ、既設管に導入した後、熱や光により硬化させて管の補修を行うライニング工法が開示されている。
特開平6−246830号公報 特開2004−188818号公報
上記のような未硬化樹脂の含浸されたライニング芯材を既設管内に反転導入し、その後硬化させて既設管の補修を行う技術には、以下の問題がある。
(i)上述の管状ライニング材は、未硬化ではあるが、成形された状態にあり、その管状ライニング材の既設管への導入の際には、既設管の内壁面に管状ライニング材が接触したとしても既設管の破損部(亀裂)等への樹脂の浸透などは期待できない。したがって、現状の管状ライニング材では、導入される既設管その物に対する補修作用は期待できなかった。更に、硬化過程では管状ライニング材が収縮するため、硬化した管状ライニング材と既設管内壁面との間に隙間が生じる可能性がある。この様な隙間の発生は、地下水の浸入路の生じる原因となり、また、管状ライニング材と既設管との一体化が阻害される原因となる。
(ii)地中に埋設された状態において、土圧、水圧、路面上の車輌等による荷重に等に長期的に耐えうるようにするため、管状ライニング材は厚肉のものとなる場合が多い。したがって、生産コスト、工場から現場までの運送費が高くなる傾向があり、施工においては既設管へのライニング材挿入作業の困難性が増加するという不都合も生じている。
(iii)その他、工場にて熱硬化性樹脂の含浸の終了した状態の従来の管状ライニング材の場合、日持ちが悪いという問題もあった。すなわち、熱硬化性のライニング材を使用する場合、設定されている硬化温度以上、例えば60℃〜70℃程度以上で急激な反応による硬化が起こるが、大気温度においても徐々に硬化は進行する。従って、工場にて製造した後、長時間、未使用の状態とすることができず、管理の困難性も有していた。
本発明は、上記従来技術の管状ライニング材による既設管補修の欠点に鑑みてなされたものであり、その目的は、管状ライニング材の運搬や既設管への導入の容易化を図ると共に完成時の耐久性の確保及び、既設管表面の破損箇所の適切な補修を可能とする既設管補修工法を提供することにある。
上記課題を解決するため、請求項1に係る既設管補修工法は、
管状に形成されたライニング芯材とこれに未硬化樹脂を含浸させて形成される管状ライニング材が、補修対象の既設管内に導入された状態で硬化され前記既設管の補修が行われる既設管補修工法において、前記管状ライニング材の導入は、前記ライニング芯材に所定量の未硬化樹脂を含浸させた後、前記既設管内に反転動作にて前記既設管内壁面側に拡張させつつ挿入することにより行われ、前記反転挿入動作中に、前記反転した管状ライニング材と前記既設管内壁との間への未硬化樹脂の進入充填を行うように前記反転挿入方向の前方から未硬化樹脂が供給される未硬化樹脂供給工程が行われることを特徴とする。
この構成によれば、反転する管状ライニング材と既設管内壁との間には未硬化樹脂が充填されて行くので、管状ライニング材とその外側の未硬化の樹脂層が硬化すると全体として1つのラインニング管、すなわち、1つの更生管が完成する。これにより、現場である既設管内において厚みの十分な強度の高い更生管が設置されることとなる。
したがって、まず、予め工場にて製造される管状ライニング材は従来のものよりも薄いものを用いることが可能となる。更に、管状ライニング材は製造時には100%の樹脂の含浸状態とする必要がない。すなわち、既設管内に反転挿入され後にその外側に未硬化樹脂が充填されるのでその段階で、完全な未硬化樹脂の含浸がなされる。したがって、工場における管状ライニング材の製造は、薄型化、更には未硬化樹脂の含浸量の少量化が図られ、軽量化が達成される。従って、製造時間の短縮や運搬の容易化が達成される。
また、反転挿入後に管状ライニング材の外側に充填される未硬化樹脂は、反転管状ライニング材の外周囲に樹脂層を形成すると同時に既設管の破損部に浸透する。したがって、既設管の内壁面に生じているクラックなどの補修が同時に図られる。更に、この樹脂の既設管内壁面への侵入は、樹脂の硬化時の収縮による既設管内壁面との間の隙間の発生を効果的に抑制することが可能である。
また、反転後、内側に位置する管状ライニング材は、所定量の未硬化樹脂が含浸されていることから、例えば、工場などで未硬化樹脂の含浸を行う過程で、気泡を除去する手段によって樹脂中の気泡含有量を所定の含有率以下まで下げることが可能である。施工現場である既設管にて未硬化樹脂の含浸を行う場合、的確な脱泡は困難であり、全体を未含浸の芯材から構成する場合、非常に薄い(3mm〜5mm程度)厚さの芯材とせざるを得ないので、所定量の樹脂含浸を行った管状ライニング材の導入により、少なくとも気泡の除去された更生管の層の確保が図られる。
なお、既設管内にて完成する更生管の内側面は、工場製造の管状ライニング材で構成されることとなるが、この工場製造の管状ライニング材は、現場における未硬化樹脂の含浸に比し、表面の平滑性を保った状態で安定化させておくことができる。したがって、更生管が全体として完成した状態における内側面の状態を良好な平滑面とすることが可能となっている。
請求項2に係る既設管補修工法は、
前記管状ライニング材の前記既設管内への反転挿入の前に、前記既設管内に可撓性、伸縮性及び前記未硬化樹脂に対する硬化後における付着性を有する管状不透水膜が導入され、前記管状ライニング材の前記既設管内壁面側に拡張させつつ行う反転挿入動作は、前記管状不透水膜の内側から行われ、前記未硬化樹脂供給工程では、前記反転した管状ライニング材外側面と前記既設管内壁面との間ではなく、前記反転した管状ライニング材外側面と管状不透水膜との間への未硬化樹脂の進入充填が行われることを特徴とする。
この構成によれば、反転挿入される管状ライニング材の外側には既に、可撓性、伸縮性及び未硬化樹脂に対する硬化後における付着性を有する不透水の膜が存在している。すなわち、この不透水膜は、進入充填される未硬化樹脂に対してそれが硬化過程を経た後、的確に付着した状態が保たれている。この管状不透水膜は、例えば、ポリエステルなどのような材料から形成され、更には、ナイロン繊維、ビニロン繊維、綿などで織ったジャケット(外皮層)を付加して補強することも好適である。
上記性質を有する管状不透水膜の存在により、例えば、地震時等によって地盤変状が生じ、外側の既設管の結合位置や途中位置、更に内側の管状ライニング材に亀裂などによる隙間や変形が生じた様な場合、管状不透水膜はその可撓性及び伸縮性によってこの隙間等をカバーすることができる。したがって、その部分での水密性を維持することができ、二次災害の防止が図られる。また、既設管に生じている亀裂等により、既設管への地下水の漏入が生じており、その影響で、管状ライニング材の樹脂の硬化作業に支障が生じているような場合、この管状不透水膜の存在により、地下水の侵入の抑止がなされ、また硬化前の管状ライニング材への地下水の直接の接触も確実に防止することができる。なお、工場にて製造する管状ライニング材の軽量化などの作用は請求項1と同様に得ることが可能である。
請求項3に係る既設管補修工法は、
前記反転挿入前の管状ライニング材内には、可撓性、伸縮性及び前記未硬化樹脂に対する硬化後における付着性を有する管状不透水膜がその外側面を前記管状ライニング材内側面に密着させた状態で付着されており、その状態で前記既設管内への反転挿入動作及び前記未硬化樹脂供給工程が行われ前記未硬化樹脂供給工程では、前記反転した管状ライニング材外側面と前記既設管内壁面との間ではなく、前記反転して管状ライニング材の外側面側に移動した管状不透水膜と前記既設管内壁面との間への未硬化樹脂の進入充填が行われることを特徴とする。
この構成によれば、反転挿入された管状ライニング材の外表面には、管状不透水膜が存在し、更に、その外側には未硬化樹脂が進入充填される。したがって、これらが硬化したときには、既設管内には、中間層として管状不透水膜が存在する一体的な更生管が完成する。したがって、上述の請求項1で述べた最外層に未硬化の樹脂が進入充填される種々の作用に加えて、請求項2で述べた可撓性及び伸縮性を有する管状不透水膜の機能を併せ持つ更生管が得られる。例えば、既設管の形状変化が生じて、最外層の更生管部分、更には内側の更生管部分に破損が生じた場合でも、管状不透水膜が止水機能を発揮することができる。なお、工場にて製造する管状ライニング材の軽量化などの作用は請求項1と同様に得ることが可能である。
請求項4に係る既設管補修工法は、
前記既設管内への管状ライニング材の導入前に、未硬化樹脂の含浸されていないライニング芯材を導入する未含浸ライニング芯材導入工程を行い、その後、前記ライニング芯材の中への前記管状ライニング材の反転挿入動作及び前記未硬化樹脂供給工程を行い、前記未硬化樹脂供給工程では、前記未含浸ライニング芯材への未硬化樹脂の含浸も行われることを特徴とする。
この構成によれば、硬化後において全体として芯材の存在する十分な厚さを有する強度の高い更生管を現場である既設管内で完成させることができる。また、未硬化樹脂の進入充填は、全く樹脂の充填されていない外側の未含浸ライニング芯材と内側の所定の樹脂含浸の行われている管状ライニング材との間に対してなされる。したがって、未硬化樹脂は、未含浸ライニング芯材に含浸されて行き、更にはその外側の既設管の内壁まで達し、既設管に凹部やクラックが存在する場合にはそこに進入し、上述したそれらの補修作用等の効果を発揮する。
また、同時に内側の管状ライニング材への含浸も行われ、全体として十分に樹脂の含浸された一体的な全体に芯材入りの更生管を設置することができる。
請求項5に係る既設管補修工法は、
前記未含浸ライニング芯材の導入後に行われる前記未含浸ライニング芯材内への前記管状ライニング材の反転挿入は、可撓性、伸縮性及び前記未硬化樹脂に対する硬化後における付着性を有する管状不透水膜がその外側面を内側面に密着させた状態で付着された管状ライニング材の反転挿入によって行われ、前記未硬化樹脂供給工程では、前記反転して管状ライニング材の外側面に移動した前記管状不透水膜の外側に位置する前記未含浸ライニング芯材への未硬化樹脂の含浸充填として行われることを特徴とする。
この構成によれば、上述した請求項3によって得られる更生管と同様に、管状不透水膜が中間層として存在する一体的な更生管が完成する。そして、請求項3と異なる点は、既設管に接触する最外層の部分にも芯材が存在するライニング管を形成できることであり、一体的に完成する更生管の信頼性をより高いものとすることができる。また、上述の請求項3の構成で得られる作用である請求項1で述べた最外層に未硬化の樹脂が進入充填される種々の作用、請求項2で述べた可撓性及び伸縮性を有する管状不透水膜の存在による柔軟性のある止水作用等も同様に奏することが可能である。なお、工場にて製造する管状ライニング材の軽量化などの作用は請求項1と同様に得ることが可能である。
請求項6に係る既設管補修工法は、
前記ライニング芯材に予め含浸される未硬化樹脂と前記未硬化樹脂供給工程にて供給される未硬化樹脂は、異なる硬化性を有するものを用いることを特徴とする。この構成によれば、より的確な更生管の硬化作用を得るために、例えば、熱硬化性の樹脂において硬化温度の異なる樹脂を内側の層と外側の層に適用することなどを簡単に行うことが可能である。すなわち、内側の管状ライニング材と外側の充填樹脂層は別々に形成されるので、内側よりも外側の層をより低い温度で硬化する樹脂とするような使用態様を取ることにより上記異なる硬化性のライニング層を簡単に構成することができる。
請求項7に係る既設管補修工法は、
前記ライニング芯材に予め含浸される未硬化樹脂として、光硬化性の未硬化樹脂が用いられ、前記未硬化樹脂供給工程にて供給される未硬化樹脂として熱硬化性の未硬化樹脂が用いられたことを特徴とする。この構成によれば、上述した既設管内壁面の的確な補修や工場における管状ライニング材の製造の容易化等を図るだけでなく同時に厚さの十分なライニング管の的確な硬化作業が達成される。すなわち、内側の管状ライニング材が光硬化型、後に充填されて形成される樹脂層が熱硬化型とされることで、内側層の光硬化時に発生する熱を利用して、外側層の硬化の促進や補助を行うことができる。すなわち、本発明の工場製造部分と既設管内形成部分の合体という特徴によって、光硬化と熱硬化の利点を併せて備えるライニング管を容易に構成することができるものである。
請求項8に係る既設管補修工法は、
前記反転挿入動作時における該反転挿入方向の前方からの未硬化樹脂の供給は、前記反転挿入動作されている管状ライニング材の前方の既設管内に閉鎖空間を形成し、該閉鎖空間に前記未硬化樹脂を充満させて未硬化樹脂充満領域とし、前記管状ライニング材の前記既設管への反転挿入動作は、先頭部を前方の前記未硬化樹脂充満領域に突入させつつ行われ、前記未硬化樹脂充満領域は、前記管状ライニング材の挿入動作の進行に伴い、前記挿入方向に順次移動形成されていくことを特徴とする。
この構成によれば、反転挿入される管状ライニング材の外側への未硬化樹脂の進入充填を簡単な構成により、常に的確に達成することが可能となる。
請求項9に係る既設管補修工法は、
前記未硬化樹脂充満領域の形成が、前記既設管内を移動可能に設置され、前記閉鎖空間を形成するための閉鎖手段と、前記閉鎖空間内に未硬化樹脂を所定圧で注入する未硬化樹脂注入機構と、前記閉鎖手段の前反転挿入方向前方に設けられ既設管内壁面に押接されて制動機能を奏するブレーキ手段と、を有する未硬化樹脂供給装置により行われることを特徴とする。
この構成によれば、閉鎖手段により既設管内に仕切りを形成し、それを境にして未硬化樹脂を溜めるための空間を確保することができ、未硬化樹脂注入機構によりその空間に未硬化樹脂の充満領域を形成することで簡単に未硬化樹脂充満領域の形成が可能となる。したがって、反転挿入される管状ライニング材の外側への未硬化樹脂の的確な進入充填を簡単な構成により達成することができる。また、ブレーキ手段による制動により、未硬化樹脂充満領域内の樹脂の圧力状態を的確に保持調整することが可能となる。
請求項10に係る既設管補修工法は、
前記未硬化樹脂供給装置の前記ブレーキ手段が、前記未硬化樹脂の注入によって生じる未硬化樹脂充満領域の内圧に対して前記未硬化樹脂供給装置を制止させ且つ前方側からの引っ張り動作による移動を可能とする制動力を生じさせるブラシ状の外表面を有することを特徴とする。この様に、ブレーキ手段をブラシ状の外表面を有する構成としたことで、制止力の供給と移動動作の許容という相反する作用の確保が容易となる。すなわち、ブラシの毛に当たる部分の硬度や量の調整により制動力の微調整を比較的容易に行うことができる。
本発明に係る既設管補修工法によれば、工場で製造する管状ライニング材の薄型化や未硬化樹脂の充填作業を低減させることができ、コストの抑制及び施工現場への管状ライニング材の運搬や既設管への導入の容易化を図ることができる。また、更生管の複数の層の形成により、層毎に性質のバリエーションを持たせることが可能となり、更に加えて、既設管内における完成時においては、更生管の気泡の除去性や内表面の平滑性などに優れる高品質性と十分な強度、耐久性の確保、更に、既設管内壁面の破損箇所等への適切な補修も同時に達成される。
以下、図面に基づいて本発明の実施の形態について詳細に説明する。図1は、本発明の既設管補修方法の実施の形態を示す概略説明図であり、一般的な構成の下水道システムに適用している例を示している。なお、図において、下水道本管10の内径や長さに対する種々の導入部材(後述の管状ライニング材12等)の厚さの表示は、構造の理解を容易化なものとするために実際のサイズ比とは異なる状態で示している(以下の図においても同様)。
図示のように、所定間隔を置いて設置されたマンホール100と102との間には補修対象の既設管である下水道本管10が配置されている。この下水道本管10を本発明方法を用いて補修するものであり、下水道本管10内には実施の形態に係る既設管補修方法を実施するための種々の部材及び装置が設置されている。
すなわち、マンホール100から管状ライニング材12が2つのローラ400間を通って導入されており、マンホール100の近傍の地上に設置された図示しない管状ライニング材12の送り機構から順次送り出され、マンホール100を通って下水道本管10に挿入されている。なお、図示のように、下水道本管10の入り口開口部から、上記ローラ400、更に図示していない管状ライニング材12の送り機構までは、覆い管500によって密閉カバーされており、この覆い管500内で加圧空気(温風等)を送ることなどにより管状ライニング材12の挿入が行われるものである。
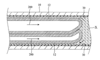
この挿入は、いわゆる反転挿入であり、管状ライニング材12は表裏逆になりながら挿入されて行く。その際、管状ライニング材12には内側に矢印200で示したように上述の加圧空気が送り込まれ、その圧力により反転挿入が進行していくものである。この反転用の加圧空気の気圧は、例えば、0.03〜0.07Mpa程度である。この加圧空気の送り込みのため、下水道本管10の100側の開口部には、供給管14が密閉設置されており、上記管状ライニング材12の導入は、この供給管14の中を通して行われる。
また、反転挿入される管状ライニング材12の反転挿入方向の先端部の前方には、未硬化樹脂充満領域Xが存在している。すなわち、管状ライニング材12の反転挿入は、この未硬化樹脂充満領域Xにその先頭部を突入させて行く動作によって行われる。
この未硬化樹脂充満領域Xの前方には未硬化樹脂充満領域Xを形成するための未硬化樹脂供給装置16が設置されており、本実施の形態では、未硬化樹脂供給装置16は、例えば、略円筒形状に形成された装置本体部16aを有しており、その内部には、未硬化樹脂を加圧供給するためのポンプ(図示せず)が設けられている。未硬化樹脂は、例えば、地上に設置された未硬化樹脂貯留タンク(図示せず)の未硬化樹脂がマンホール102側から供給ホース22を介して供給される。
また、未硬化樹脂供給装置16には、下水道本管10を閉鎖するための閉鎖手段が設けられていることである。本実施の形態では、装置本体部16aの外側部に設けられた3列のパッキン24によって形成されており、この部分で下水道本管10は閉塞されている。これにより、管状ライニング材12の先頭部の前方領域には閉鎖空間が形成されており、この閉鎖空間に未硬化樹脂が供給され、未硬化樹脂充満領域Xが形成される。未硬化樹脂の供給は、供給ホース22を介して送られてきた未硬化樹脂を装置本体部16aに設けられた注入口17から上記閉鎖空間に送り込むことにより行われる。なお、ここに形成される未硬化樹脂充満領域Xの樹脂圧力は、上述の反転用の加圧空気の気圧(例えば、0.03〜0.07Mpa)と同程度であり、その樹脂圧力が得られるように注入口からの樹脂供給が行われる。
また、上述の未硬化樹脂充満領域X内の樹脂圧力を適切な値に保つため未硬化樹脂供給装置16に制動をかけるブレーキ手段を設けることが好適であり、本実施の形態では、装置本体16aの前方にブレーキ装置20が設けられており、外方へ伸長可能な制動部20aを有し、この制動部20aを下水道本管10の内壁面に押圧当接させてブレーキ作用を発揮させるものである。
なお、図示していないが、管状ライニング材12の反転挿入動作中に未硬化樹脂充満領域Xの上部領域に空気が溜まったような場合にこれを未硬化樹脂充満領域X外に抜き出すための空気抜き通路を未硬化樹脂供給装置16の上部に設けることも好適である。例えば、未硬化樹脂充満領域Xの上部領域に一端側が位置し、他端が装置本体部16aよりも挿入進行方向の前方(図上右側)に位置するように両端開口の空気抜き管を装置本体部16aに取り付けることで構成することができる。
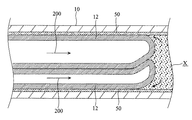
次に、図2は、実施の形態における本発明の特徴的部分を説明するための部分拡大説明図であり、図示のように、反転挿入される管状ライニング材12の先頭部の状態が示されている。上述のように、管状ライニング材12の反転している先頭部は、未硬化樹脂充満領域Xの中に在り、管状ライニング材12の進行に伴って、未硬化樹脂充満領域Xに充満している未硬化樹脂は、管状ライニング材12の外側、すなわち、下水道本管10の内壁面と管状ライニング材12の外側面との管に進入充填されて行く。
したがって、既設管である下水道本管10の内側に新たに形成される更生管を構成する樹脂の厚さは、工場製造された管状ライニング材12とその外側の下水道本管10内で充填された樹脂層の併せられた厚さWとなる。なお、管状ライニング材12の外側に充填される充填樹脂層の厚さは、未硬化樹脂充満領域X内の樹脂圧の調整によって変更することができ、補修対象の下水道本管10の径や状態に応じて調整される。
この実施の形態によれば、反転挿入される管状ライニング材12は、工場において完全に未硬化樹脂の含浸を行っておく必要がない。すなわち、上述の下水道本管10内での未硬化樹脂の供給により、管状ライニング材12には更なる樹脂の含浸が行われるので、工場では完成状態の含浸には満たない程度の含浸状態で足りる。
また、反転後、内側に位置する管状ライニング材にある程度の含浸を工場で行っておくことにより、予め気泡を除去した状態での未硬化樹脂の含浸状態を確保することができる。したがって、完成後の更生管に的確に脱泡された高品質の層を確保することができる。したがって、全く未含浸の芯材を既設管に導入し、施工現場である既設管にて未硬化樹脂を含浸させる場合に比し、更生管の信頼性は高いものとなる。
更に、下水道本管10という施工現場において全ての含浸作業を行う場合に比し、その平滑化を的確に確保しておくことができる。したがって、完成時に最内側に位置する管状ライニング材12の内表面の平滑な状態により、完成した更生管の内表面の平滑性も確保される。
なお、管状ライニング材を完全な未硬化樹脂の含浸状態とした場合、施工前にそれを保管している状態で、管状ライニング材における樹脂の片寄りが生じやすいという問題もある。すなわち、含浸された樹脂の厚さにムラが発生するおそれもある。本実施の形態のように、完全含浸ではなくそれに満たない量のある程度の含浸により、この様な片寄りも防止することができる。
上記のように、管状ライニング材12とその外側の未硬化樹脂層の硬化によって全体として1つのラインニング管、すなわち、1つの更生管が完成するので、施工現場における厚みの十分な強度の高い耐久性に優れた更生管の設置が達成される。これにより、予め工場にて製造される管状ライニング材12は従来のものより少ない樹脂の含浸量や小さい厚さとすることができ、軽量化が達成される。従って、製造時間の短縮や施工現場への運搬の容易化が達成される。
更に、反転挿入後に管状ライニング材12の外側に充填される未硬化樹脂は、下水道本管10の内壁面に生じている亀裂や凹部にも浸透、進入する。したがって、既設管の内壁面の補修が同時に図られる。更に、この樹脂の既設管内壁面への侵入は、樹脂の硬化時の収縮による既設管内壁面との間の隙間の発生を効果的に抑制する。
なお、管状ライニング材12は、ライニング芯材に未硬化樹脂を含浸させることにより形成されるが、ライニング芯材は、例えば、ガラス繊維や、フェルト(不織布)、もしくは両方の組み合わせたもの等から構成され、樹脂を含浸する作用を有する。また、含浸される未硬化樹脂は、例えば、ビニエステル樹脂、不飽和ポリエステル樹脂、エポキシ樹脂などである。
図3は、他の実施の形態を示しており、上記実施の形態と同様の要素には同一の符号を付している。図示のように、本実施の形態では、所定量の未硬化樹脂の含浸された管状ライニング材12が下水道本管10内への反転挿入される前に、下水道本管10内に可撓性、伸縮性を有し、且つ管状ライニング材12に含浸されている未硬化樹脂及び未硬化樹脂充満領域Xに充満されている未硬化樹脂に対するその硬化後における付着性を有する管状の不透水膜30が導入される。この管状不透水膜30は、少なくとも下水道本管10の内径よりもやや大きな径として拡張可能であり、また、既設管の変形に追随可能な程度に可撓性を有している。例えば、ポリエステルなどのような材料から形成することができ、ナイロン繊維、ビニロン繊維、綿などで織ったジャケット(外皮層)を付加して補強することも好適である。
本実施の形態では、管状ライニング材12の反転挿入動作は、管状不透水膜30の内側から行われ、管状ライニング材12の拡張は管状不透水膜30を下水道本管10内壁面に押し付けるように行われて行く。また、未硬化樹脂充満領域Xに充満している未硬化樹脂は、反転した管状ライニング材12の外側面と管状不透水膜30との間に進入充填して行く。この進入充填により、管状ライニング材12への未硬化樹脂の含浸が十分に補完されると共に管状ライニング材12の外側に樹脂層が追加される。
管状ライニング材12の外側には既に、管状不透水膜30が存在しているので下水道本管10内壁面の亀裂や凹部などへの未硬化樹脂の直接の侵入は起こらないが、管状不透水膜30が可撓性及び伸縮性を有していることから、その伸張の生じる範囲で未硬化樹脂の侵入も生じる。そして、この管状不透水膜30の存在により、地震時等による地盤変状により、下水道本管10の結合箇所などで隙間や変形が生じたり、割れ目が生じた様な場合、管状不透水膜30はその伸縮の許容範囲において、伸張或いは変形し、それらの隙間等を被覆することができる。
この管状不透水膜30の作用は、その外側の下水道本管10に対してだけでなく、管状不透水膜30の内側に形成される更生管(管状ライニング材12とその外側の樹脂層)に上記のような変形や隙間の発生が生じた場合も同様に機能するものである。したがって、その部分での水密性を暫時維持することができ、更なる補修が行われるまでの下水道本管10からの漏水などの二次災害の防止が図られる。
また、下水道本管10に生じている亀裂等から下水道本管10内への地下水の漏入が生じているような場合、この管状不透水膜30の存在により、地下水の下水道本管10内への侵入の抑止が図られ、浸水による管状ライニング材12の樹脂の硬化作業への悪影響を回避することができる。例えば、管状ライニング材12が硬化する前に地下水が直接、管状ライニング材12にかかって硬化作用を止めるような事態を防止することができる。また、逆に、下水道本管10に比較的大きな亀裂が生じているような場合、下水道本管10内で充填された未硬化樹脂がその亀裂を通って下水道本管10外へ漏出していくことをこの管状不透水膜30の存在によって確実に防止することができる。
更に、管状不透水膜30の少なくとも管状ライニング材12に接触する側の面は、未硬化樹脂に対する硬化後における付着性を有しているので、管状ライニング材12の外側に充填された樹脂が硬化した後、確実にその硬化樹脂に付着している。
また、反転挿入された管状ライニング材12とその外側に充填された未硬化樹脂の層によって、一体的な新たな更生管が形成され、十分な強度と耐久性が得られること、更に、工場にて製造する管状ライニング材12の軽量化、更生管の最内面の平滑性の確保などの作用、工場にて製造するある程度樹脂の含浸がなされた管状ライニング材12の存在による気泡の的確に除去された更生管層の確保等の作用は、は、上記図2の実施に形態にかかるものと同様である。
なお、管状不透水膜30の外表面にゴム製の被膜を施すことも好適であり、その伸張性により、既設管である下水道本管10の変形等に対する防水性を保持した状態での追従性が向上する。
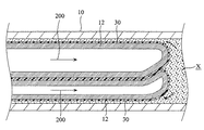
図4は、更に他の実施の形態を示しており、上記各実施の形態と同様の要素には同一の符号を付している。図示のように、本実施の形態では、反転挿入される前の管状ライニング材12の内に、予め、上述の管状不透水膜30がその外側面を管状ライニング材12の内側面に密着させた状態で付着されている。30の性質、機能については、上述のものと同様である。そして、管状ライニング材12は、30を内側面に付着させた状態で、下水道本管10内に反転挿入されている。
そして、未硬化樹脂供給工程としての未硬化樹脂充満領域Xの未硬化樹脂の進入充填は、反転して管状ライニング材12の外側面側に移動した管状不透水膜30と下水道本管10管内壁面との間に行われる。したがって、反転挿入された管状ライニング材12の外表面には、管状不透水膜30が存在し、更にその外側には未硬化樹脂充満領域Xから未硬化樹脂が進入充填される。したがって、これらが硬化したときには、下水道本管10内には、中間層として管状不透水膜30が存在する3層から成る一体的な更生管が完成する。本実施の形態では、管状不透水膜30は両面とも樹脂に対する付着性を有しており、内外層の未硬化樹脂が硬化した状態ではその両面がしっかりと硬化樹脂層に付着している。
この様に、本実施の形態では、上述の図2で述べた最外層に未硬化の樹脂が進入充填される実施の形態の種々の利点と、図3で述べた可撓性及び伸縮性を有する管状不透水膜30の機能による利点とを併せ持つ更生管が形成される。例えば、下水道本管10に形状変化が生じて、最外層の更生管部分(進入充填された層)、更には内側の更生管部分(管状ライニング材12)に破損が生じた場合でも、管状不透水膜30が伸張、変形して止水機能を発揮することができる。
なお、反転挿入された管状ライニング材12とその外側に充填された未硬化樹脂の層によって、一体的な新たな更生管が形成され、十分な強度と耐久性が得られること、更に、工場にて製造する管状ライニング材12の軽量化、更生管の最内面の平滑性の確保などの作用、工場にて製造するある程度、樹脂の含浸がなされた管状ライニング材12の存在による気泡の的確に除去された更生管層の確保等の作用は、上記図2の実施に形態にかかるものと同様である。
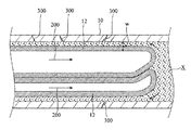
図5は、更に他の実施の形態を示しており、上記各実施の形態と同様の要素には同一の符号を付している。図示のように、本実施の形態では、下水道本管10内への管状ライニング材12の導入前に、下水道本管10内に未硬化樹脂の含浸されていないライニング芯材50を導入している(未含浸ライニング芯材導入工程)。その後、このライニング芯材50の中への管状ライニング材12の反転挿入が行われる。そして、未硬化樹脂供給工程としての未硬化樹脂の未硬化樹脂充満領域Xからの進入充填は、管状ライニング材12への補完的な含浸と共にその外側のライニング芯材50に対する未硬化樹脂の含浸として行われる。そして、この実施の形態では、外側のライニング芯材50の含浸が進んだ状態では更にその外側に未硬化樹脂が進入し、下水道本管10内壁面の凹部などへの侵入も生じる。
本実施の形態では、上記各実施の形態とは異なり管状ライニング材12の外側に施工時に形成されるライニング層にも芯材が存在しており、硬化後において全体として芯材の存在する十分な厚さを有する強度の高い更生管が得られる。また、上述のように、未硬化樹脂は、下水道本管10の内壁まで達するので、下水道本管10内壁面の凹部やクラックに対する補修作用や樹脂の硬化時の収縮に伴う隙間の発止の防止機能も奏することができる。
なお、反転挿入された管状ライニング材12とその外側に充填された未硬化樹脂の層によって、一体的な新たな更生管が形成され、十分な強度と耐久性が得られること、更に、工場にて製造する管状ライニング材12の軽量化、更生管の最内面の平滑性の確保などの作用、工場にて製造するある程度、樹脂の含浸がなされた管状ライニング材12の存在による気泡が的確に除去された更生管層の確保等の作用は、上記図2の実施に形態にかかるものと同様である。
また、図示していないが、図後に示した実施の形態において、外側に設置されるライニング芯材50の更に外側、すなわち、下水道本管10に接する側に、上述した管状不透水膜30が設置される様に、各層の挿入動作を行うことも可能であり、その場合、ライニング芯材50から更に外方へ進出する未硬化樹脂の下水道本管10内の亀裂などへの侵入は生じないが、上述した管状不透水膜30の伸縮性や可撓性による下水道本管10や完成した更生管の変形や破損に対する補完作用を奏することができる。
図6は、更に他の実施の形態を示しており、上記各実施の形態と同様の要素には同一の符号を付している。図示のように、本実施の形態では、図5に示した実施の形態における未含浸ライニング芯材50の導入後に行われるその未含浸ライニング芯材50内側への管状ライニング材12の反転挿入に特徴を有している。すなわち、管状ライニング材12内には、上述の性質を有する管状不透水膜30が付着されている。管状ライニング材12の反転挿入は、その内側面に管状不透水膜30を密着させた状態で行われている。したがって、未硬化樹脂供給工程としての未硬化樹脂充満領域Xからの未硬化樹脂の進入充填は、反転して管状ライニング材12の外側面に移動した管状不透水膜30の外側に位置する未含浸ライニング芯材50への進入充填として行われる。
したがって、完成する更生管の構成は、管状不透水膜30が中間層として存在する3層の一体的な更生管となる。そして、上記図4の実施に形態と異なる点は、下水道本管10に接触する最外層のライニング層部分にも芯材が存在するライニング管が形成できることである。したがって、図4に示した実施の形態にかかる補修工法の全ての作用効果をそうすると共に、一体的に完成する更生管の強度、耐久性等の信頼性をより高いものとすることができる。
なお、反転挿入された管状ライニング材12とその外側に充填された未硬化樹脂の層によって、一体的な新たな更生管が形成され、十分な強度と耐久性が得られること、更に、工場にて製造する管状ライニング材12の軽量化、更生管の最内面の平滑性の確保などの作用、工場にて製造するある程度、樹脂の含浸がなされた管状ライニング材12の存在による気泡の的確に除去された更生管層の確保等の作用は、上記図2の実施に形態にかかるものと同様である。
図7は、更に他の実施の形態を示しており、上記各実施の形態と同様の要素には同一の符号を付している。本実施の形態では、ライニング芯材12に予め含浸される未硬化樹脂と未硬化樹脂供給工程にて未硬化樹脂充満領域Xからの進入充填で形成される樹脂層70の樹脂とで、異なる硬化性を有する樹脂が用いられている。
本実施の形態では、例えば、内側の管状ライニング材12に予め含浸される未硬化樹脂として光硬化性の未硬化樹脂を用い、外側の樹脂層70の樹脂、すなわち未硬化樹脂充満領域Xに充填される樹脂として熱硬化性の未硬化樹脂を用いている。したがって、上述した下水道本管10内壁面の的確な補修や工場における管状ライニング材12の製造の容易化等を図るだけでなく、同時に厚さの十分なライニング管に対する硬化作業の的確性、確実性を向上させている。すなわち、内側の管状ライニング材12を紫外線の照射により硬化させ、その光硬化の際に生じる熱を利用して、外側層である樹脂層70の硬化や硬化の補助を行うことができる。
すなわち、本発明では、内側の工場にて予め製造される管状ライニング材12と、施工現場である下水道本管10内での形成部分とが存在することから、これらの樹脂の性質をそれぞれ異なるものにすることを容易に行うことができるものである。したがって、上述のように、光硬化と熱硬化とを併用することができ、迅速性に優れるが浸透性に問題があることから更生管の厚さに制限のあった光硬化式のものと、厚さの許容範囲は大きいが、硬化の迅速性に劣る熱硬化式のものの利点を併せ、欠点をカバーする更生管を容易に構成することができるものである。なお、更生管形成のために用いられる熱硬化のための樹脂や光硬化のための樹脂は、公知の種々の材料を適用することができることは勿論である。
また、内外共に熱硬化のための樹脂を用いることとし、硬化温度の異なる樹脂を内側の層と外側の層に適用することなども可能である。すなわち、内側の管状ライニング材と外側の充填樹脂層は別々に形成されるので、内側よりも外側の層をより低い温度で硬化する樹脂とすることにより、全体として厚さの大きくなる更生管の硬化性能を向上させることができる。
図8は、上記各実施の形態の更生管の形成に用いる未硬化樹脂供給装置16等の他の構成例を示している。未硬化樹脂供給装置16による未硬化樹脂充満領域Xの形成は、管状ライニング材12の反転挿入動作と同期させて未硬化樹脂充満領域Xを移動させつつ行わなければならないが、この未硬化樹脂充満領域Xの移動は、例えば、マンホール102側からの牽引により行う。すなわち、ポンプ20及びこれに連結部材19により連結された未硬化樹脂供給装置16を引っ張り移動させることにより行われる。なお、牽引は供給ホース22を強度を持たせた構成とすることによりこれを利用することが可能である。
この未硬化樹脂充満領域Xの移動の際、未硬化樹脂供給装置16及びポンプ20は、管状ライニング材12の反転挿入の動作に対して、未硬化樹脂充満領域X内の圧力を適切な状態に保ちつつ行わなければならない。
すなわち、管状ライニング材12の反転挿入の圧力に抗しつつ、且つ、マンホール102側からの牽引による移動を適切に行うために、ポンプ20の外側部にはブラシ状のブレーキ手段80が設けられている。ブラシ状ブレーキ手段80は、金属製の毛部80aを有しており、この毛部80aが下水道本管10の内壁面に当接されて制動機能を発揮するものである。このような、ブラシ状ブレーキ80を採用することにより、ブラシの毛部80aの硬度や量の調整により制動力の微調整を比較的容易に行うことができる。したがって、適切な圧力状態を保った未硬化樹脂充満領域Xの移動が可能となり、管状ライニング材12の外側に形成される樹脂の層の厚さを適切なものとすることができる。また、図示していないが、ブラシの毛部80aの先端は、既設管である下水道本管10の内壁面を削り取ることなどにより傷つけることのない様に、適度な弾力性を有し、先端部は曲げられ、或いは角のない外面形状となるように形成される。
なお、本発明は上記実施の形態の構成に限定されるものではなく、発明の要旨の範囲内で種々の変形が可能である。例えば、管状ライニング材12や未硬化樹脂充満領域Xに用いられる未硬化樹脂は、既に知られている様々な種類のものを採用することができる。また、未硬化樹脂充満領域Xを形成し、管状ライニング材12の外側へ未硬化樹脂を進入充填させる手段は、上記の未硬化樹脂供給装置16の様な装置を用いる場合に限られず、反転挿入される管状ライニング材の外側に常に所定の圧力で未硬化樹脂を充填させることができるようにすれば足り、他の構成の未硬化樹脂の供給手段を用いることも可能である。
実施の形態に係る既設管補修工法が実際に適用される状態を示す下水道システムの全体説明図である。 実施の形態に係る既設管補修工法によって導入される更生管の構成説明図である。 他の実施の形態に係る既設管補修工法によって導入される更生管の構成説明図である。 他の実施の形態に係る既設管補修工法によって導入される更生管の構成説明図である。 他の実施の形態に係る既設管補修工法によって導入される更生管の構成説明図である。 他の実施の形態に係る既設管補修工法によって導入される更生管の構成説明図である。 他の実施の形態に係る既設管補修工法によって導入される内外層で硬化の性質の異なる更生管の構成説明図である。 他の実施の形態に係る既設管補修工法が実際に適用される状態を示す下水道システムの全体説明図である。 図8の実施の形態に用いられたブラシ状ブレーキの構成例を示す説明図である。
符号の説明
10 下水道本管
12 管状ライニング材
16 未硬化樹脂供給装置
16a 装置本体部
17 注入口
22 供給ホース
24 パッキン
30 管状不透水膜
50 未含浸のライニング芯材
70 未硬化樹脂充満領域Xから充填される樹脂層
80 ブラシ状ブレーキ
100、102 マンホール
X 未硬化樹脂充満領域

Claims (10)

  1. 管状に形成されたライニング芯材とこれに未硬化樹脂を含浸させて形成される管状ライニング材が、補修対象の既設管内に導入された状態で硬化され前記既設管の補修が行われる既設管補修工法において、
    前記管状ライニング材の導入は、
    前記ライニング芯材に所定量の未硬化樹脂を含浸させた後、前記既設管内に反転動作にて前記既設管内壁面側に拡張させつつ挿入することにより行われ、
    前記反転挿入動作中に、前記反転した管状ライニング材と前記既設管内壁との間への未硬化樹脂の進入充填を行うように前記反転挿入方向の前方から未硬化樹脂が供給される未硬化樹脂供給工程が行われることを特徴とする既設管補修工法。
  2. 前記管状ライニング材の前記既設管内への反転挿入の前に、
    前記既設管内に可撓性、伸縮性及び前記未硬化樹脂に対する硬化後における付着性を有する管状不透水膜が導入され、
    前記管状ライニング材の前記既設管内壁面側に拡張させつつ行う反転挿入動作は、前記管状不透水膜の内側から行われ、
    前記未硬化樹脂供給工程では、前記反転した管状ライニング材外側面と前記既設管内壁面との間ではなく、前記反転した管状ライニング材外側面と管状不透水膜との間への未硬化樹脂の進入充填が行われることを特徴とする請求項1に記載の既設管補修工法。
  3. 前記反転挿入前の管状ライニング材内には、可撓性、伸縮性及び前記未硬化樹脂に対する硬化後における付着性を有する管状不透水膜がその外側面を前記管状ライニング材内側面に密着させた状態で付着されており、その状態で前記既設管内への反転挿入動作及び前記未硬化樹脂供給工程が行われ、
    前記未硬化樹脂供給工程では、前記反転した管状ライニング材外側面と前記既設管内壁面との間ではなく、前記反転して管状ライニング材の外側面側に移動した管状不透水膜と前記既設管内壁面との間への未硬化樹脂の進入充填が行われることを特徴とする請求項1に記載の既設管補修工法。
  4. 前記既設管内への管状ライニング材の導入前に、未硬化樹脂の含浸されていないライニング芯材を導入する未含浸ライニング芯材導入工程を行い、
    その後、前記ライニング芯材の中への前記管状ライニング材の反転挿入動作及び前記未硬化樹脂供給工程を行い、
    前記未硬化樹脂供給工程では、前記未含浸ライニング芯材への未硬化樹脂の含浸も行われることを特徴とする請求項1に記載の既設管補修工法。
  5. 前記未含浸ライニング芯材の導入後に行われる前記未含浸ライニング芯材内への前記管状ライニング材の反転挿入は、
    可撓性、伸縮性及び前記未硬化樹脂に対する硬化後における付着性を有する管状不透水膜がその外側面を内側面に密着させた状態で付着された管状ライニング材の反転挿入によって行われ、
    前記未硬化樹脂供給工程では、前記反転して管状ライニング材の外側面に移動した前記管状不透水膜の外側に位置する前記未含浸ライニング芯材への未硬化樹脂の含浸充填として行われることを特徴とする請求項4に記載の既設管補修工法。
  6. 前記ライニング芯材に予め含浸される未硬化樹脂と前記未硬化樹脂供給工程にて供給される未硬化樹脂は、異なる硬化性を有するものを用いることを特徴とする請求項1から4の何れか1項に記載の既設管補修工法。
  7. 前記ライニング芯材に予め含浸される未硬化樹脂として、光硬化性の未硬化樹脂が用いられ、前記未硬化樹脂供給工程にて供給される未硬化樹脂として熱硬化性の未硬化樹脂が用いられたことを特徴とする請求項5に記載の既設管補修工法。
  8. 前記反転挿入動作時における該反転挿入方向の前方からの未硬化樹脂の供給は、
    前記反転挿入動作されている管状ライニング材の前方の既設管内に閉鎖空間を形成し、該閉鎖空間に前記未硬化樹脂を充満させて未硬化樹脂充満領域とし、前記管状ライニング材の前記既設管への反転挿入動作は、先頭部を前方の前記未硬化樹脂充満領域に突入させつつ行われ、前記未硬化樹脂充満領域は、前記管状ライニング材の挿入動作の進行に伴い、前記挿入方向に順次移動形成されていくことを特徴とする請求項1から7の何れか1項に記載の既設管補修工法。
  9. 前記未硬化樹脂充満領域の形成は、
    前記既設管内を移動可能に設置され、前記閉鎖空間を形成するための閉鎖手段と、前記閉鎖空間内に未硬化樹脂を所定圧で注入する未硬化樹脂注入機構と、前記閉鎖手段の前反転挿入方向前方に設けられ既設管内壁面に押接されて制動機能を奏するブレーキ手段と、を有する未硬化樹脂供給装置により行われることを特徴とする請求項8に記載の既設管補修工法。
  10. 前記未硬化樹脂供給装置の前記ブレーキ手段は、
    前記未硬化樹脂の注入によって生じる未硬化樹脂充満領域の内圧に対して前記未硬化樹脂供給装置を制止させ且つ引っ張り移動可能な制動力を生じさせるブラシ状の外表面を有することを特徴とする既設管補修工法。
JP2007073250A 2007-03-20 2007-03-20 既設管補修工法 Expired - Fee Related JP4938519B2 (ja)

Priority Applications (1)

Application Number Priority Date Filing Date Title
JP2007073250A JP4938519B2 (ja) 2007-03-20 2007-03-20 既設管補修工法

Applications Claiming Priority (1)

Application Number Priority Date Filing Date Title
JP2007073250A JP4938519B2 (ja) 2007-03-20 2007-03-20 既設管補修工法

Publications (2)

Publication Number Publication Date
JP2008230058A JP2008230058A (ja) 2008-10-02
JP4938519B2 true JP4938519B2 (ja) 2012-05-23

Family

ID=39903410

Family Applications (1)

Application Number Title Priority Date Filing Date
JP2007073250A Expired - Fee Related JP4938519B2 (ja) 2007-03-20 2007-03-20 既設管補修工法

Country Status (1)

Country Link
JP (1) JP4938519B2 (ja)

Families Citing this family (1)

* Cited by examiner, † Cited by third party
Publication number Priority date Publication date Assignee Title
CN115033942B (zh) * 2022-08-10 2022-11-04 中国长江三峡集团有限公司 砂浆内衬壁厚设计方法、管道修复方法及装置

Also Published As

Publication number Publication date
JP2008230058A (ja) 2008-10-02

Similar Documents

Publication Publication Date Title
US20100078118A1 (en) Repair and strengthening of small diameter pipes with frp laminates
US5190705A (en) Method for lining large-diameter pipes
KR20100075373A (ko) 관 라이닝재 및 관 라이닝 공법
KR101359448B1 (ko) 관로 비굴착 전체 보수공법
US20020058121A1 (en) Tubular liner and method of rehabilitating of conduits
US8272406B2 (en) Methods for rehabilitating conduits using structural liners
JP5265172B2 (ja) 既設管補修工法
US20130098535A1 (en) Method and apparatus for forming a coating on a lining of a conduit in situ
KR100553240B1 (ko) 관로보수용 튜브 공기압 연속반전장치
KR101131862B1 (ko) 관보수용 자연 경화 튜브와, 이를 이용한 비굴착식 상,하수 관로 보수장치 및 관로 보수공법
JP5501664B2 (ja) 既設管路の耐震止水構造
KR100379747B1 (ko) 보호막을 갖춘 수지이송성형법을 이용한 하수관보수·보강 공법
CA2674984C (en) Methods for rehabilitating conduits using structural liners
JP2008246986A (ja) 既設管補修工法
JP4938519B2 (ja) 既設管補修工法
KR20090041835A (ko) 다회 반전을 위한 분리형 플랜지가 구비된 지중 매설상하수도관의 비굴착장치
KR101600064B1 (ko) 라이너 및 수경화성 발포수지를 이용한 관로의 보수공법
JP5025346B2 (ja) 既設管補修方法
JP5893276B2 (ja) 地中管周囲の地盤補強方法
KR100565781B1 (ko) 하수도 보수용 수지 조성물 및 이로부터 제조된 라이너
JP2002038581A (ja) 排水管補修方法及び排水管補修装置
JP5600419B2 (ja) 既設管補修工法
KR100756437B1 (ko) 경화형 도관 보수공법
CA2361960C (en) A tubular liner and method of rehabilitating of conduits
KR100783180B1 (ko) 양단 보강구조를 갖는 도관 보수용 보수재

Legal Events

Date Code Title Description
A621 Written request for application examination

Free format text: JAPANESE INTERMEDIATE CODE: A621

Effective date: 20100323

A977 Report on retrieval

Free format text: JAPANESE INTERMEDIATE CODE: A971007

Effective date: 20120209

TRDD Decision of grant or rejection written
A01 Written decision to grant a patent or to grant a registration (utility model)

Free format text: JAPANESE INTERMEDIATE CODE: A01

Effective date: 20120214

A01 Written decision to grant a patent or to grant a registration (utility model)

Free format text: JAPANESE INTERMEDIATE CODE: A01

A61 First payment of annual fees (during grant procedure)

Free format text: JAPANESE INTERMEDIATE CODE: A61

Effective date: 20120223

FPAY Renewal fee payment (event date is renewal date of database)

Free format text: PAYMENT UNTIL: 20150302

Year of fee payment: 3

R150 Certificate of patent or registration of utility model

Ref document number: 4938519

Country of ref document: JP

Free format text: JAPANESE INTERMEDIATE CODE: R150

Free format text: JAPANESE INTERMEDIATE CODE: R150

FPAY Renewal fee payment (event date is renewal date of database)

Free format text: PAYMENT UNTIL: 20150302

Year of fee payment: 3

S533 Written request for registration of change of name

Free format text: JAPANESE INTERMEDIATE CODE: R313533

FPAY Renewal fee payment (event date is renewal date of database)

Free format text: PAYMENT UNTIL: 20150302

Year of fee payment: 3

R350 Written notification of registration of transfer

Free format text: JAPANESE INTERMEDIATE CODE: R350

LAPS Cancellation because of no payment of annual fees