JP4899208B2 - スライド式自動車用シート - Google Patents

スライド式自動車用シート Download PDF

Info

Publication number
JP4899208B2
JP4899208B2 JP2005140227A JP2005140227A JP4899208B2 JP 4899208 B2 JP4899208 B2 JP 4899208B2 JP 2005140227 A JP2005140227 A JP 2005140227A JP 2005140227 A JP2005140227 A JP 2005140227A JP 4899208 B2 JP4899208 B2 JP 4899208B2
Authority
JP
Japan
Prior art keywords
lock plate
rod lever
lever
spring
support pin
Prior art date
Legal status (The legal status is an assumption and is not a legal conclusion. Google has not performed a legal analysis and makes no representation as to the accuracy of the status listed.)
Expired - Fee Related
Application number
JP2005140227A
Other languages
English (en)
Other versions
JP2006315531A (ja
Inventor
正美 吉田
和之 青木
Current Assignee (The listed assignees may be inaccurate. Google has not performed a legal analysis and makes no representation or warranty as to the accuracy of the list.)
TS Tech Co Ltd
Original Assignee
TS Tech Co Ltd
Priority date (The priority date is an assumption and is not a legal conclusion. Google has not performed a legal analysis and makes no representation as to the accuracy of the date listed.)
Filing date
Publication date
Application filed by TS Tech Co Ltd filed Critical TS Tech Co Ltd
Priority to JP2005140227A priority Critical patent/JP4899208B2/ja
Priority to CN2006800163375A priority patent/CN101175652B/zh
Priority to US11/913,787 priority patent/US7798462B2/en
Priority to PCT/JP2006/309984 priority patent/WO2006121216A1/ja
Priority to EP06746644A priority patent/EP1914109A4/en
Publication of JP2006315531A publication Critical patent/JP2006315531A/ja
Application granted granted Critical
Publication of JP4899208B2 publication Critical patent/JP4899208B2/ja
Anticipated expiration legal-status Critical
Expired - Fee Related legal-status Critical Current

Links

Images

Landscapes

  • Seats For Vehicles (AREA)

Description

本発明は、シート本体を車内の前後方向にスライドレールで位置移動可能に設置するスライド式自動車用シートに関するものである。
スライド式自動車用シートは、クッションフレームのサイド下部に取り付けられる左右のアッパーレールと、スタンド脚部で車体のフロア面に取り付けられる左右のロアレールとからなるスライドレールを備え、アッパーレールをロアレールで滑動可能に支持することから、シート本体を車内の前後方向に位置移動可能に構成されている。
スライドレールには、スライドロックが備え付けられている。このスライドロックは、各アッパーレールの側部に配置するロックプレートと、ロックプレートの間に掛渡し装着される引上げ操作用のロッドレバーとを備えて組み立てられている。
ロックプレートは、各アッパーレールの前後方向に沿って位置し、長手方向の略中腹辺をスライド基部の板面に挿通固定された支軸で軸承枢着することにより支軸を支点に揺動可能に取り付けられている。また、後端寄りをコイルバネで常時上方にバネ付勢するよう取り付けられている。
ロックプレートには、複数の受け穴を板面に形成した掛止め片が下端縁より側方に張り出すよう設けられている。このロックプレートに対し、ロアレールには掛止め片の受け穴と噛み合う複数の突歯が逆U字状に内曲げしたフランジ部の下端辺を凹凸状に切り欠いて設けられている。
引上げ操作用のロッドレバーとしては、パイプ部材を平面略U字状に折り曲げたものが備え付けられている。そのロッドレバーは、各軸後端を扁平に押し潰してロックプレートの前端側に溶接固定することから、シートクッションの下部で前方に張り出すようロックプレートの間に一体に掛渡し装着されている。
その自動車用シートにおいては、通常時ではアッパーレールがロックプレートでロアレールに常時施錠されており、また、左右のロックプレートとリジットに掛渡し固定されたロッドレバーを備えるため、荷物を車体フロアに置く際に荷物をうっかりロッドレバーに当てると、ロッドレバーが動かないところから、荷物側が傷付いてしまったり、変形してしまったりする虞れがある。
その防止対策としては、ロッドレバーの扁平な後端寄りをロックプレートの前寄り側部に支軸で軸承連結すると共に、ロッドレバーの引上げ操作時にロッドレバーをロックプレートと一体に係止する張出し片をロックプレートの上縁辺より側方に折り曲げて設け、更に、コイル部を支軸の軸線上に嵌装し、片バネ端をロックプレートに掛け止め、他バネ端をロッドレバーに掛け止めてロッドレバーを持上げ偏倚するワイヤスプリングを組み付けることから、ロックプレートより下方にバネ変位可能なロッドレバーを備えることが提案されている(特許文献1)。
そのワイヤスプリングとしては、ロッドレバーを持上げ偏倚するものが必要であるため、ロッドレバー側のバネ端側がロッドレバーの長手方向前方に伸びる長いもので、また、軸先端寄りをロッドレバーの下部側より他側に掛け渡すよう折り曲げたものが組み付けられている。
特開2004−51082号
本発明の課題は、簡単な構成により、荷物が当たっても、荷物が傷付いたり或いは変形するのを確実に防止可能な引上げ操作用のロッドレバーをスライド式自動車用シートに備え付けるところにある。
本願の請求項1は、シートクッションの下部側に取り付けられる左右のアッパーレールを車体のフロア面に取り付けられる左右のロアレールで滑動可能に支持するスライドレールを備え、アッパーレールをロアレールに施錠するロックプレートをアッパーレールに各々組付け装着すると共に、ロックプレートをロアレールから解除する引上げ操作用のロッドレバーをロックプレートの前側間に掛渡し装着するスライド式自動車用シートにおいて、
中央軸部を前方に張り出す略U字状に軸曲げし、左右軸部を中央軸部の軸両端より外方の直線状に軸曲げし、支軸ピンを左右軸部の各軸端より延長方向に設けた引上げ操作用のロッドレバーを備え、
左右の立上りフランジをロックプレート側に設けロッドレバーの支軸ピンを左右の立上りフランジに挿通させてロッドレバーをロックプレート側の基端側に揺動可能に装着し
支軸ピンの軸端面より軸線方向に切り込んで割り溝を支軸ピンに設け
コイル部を左右の立上りフランジに挿通した支軸ピンの軸線上に嵌装し、片バネ端を支軸ピンの割り溝に嵌め込み係止し、他バネ端をロックプレート側の板面に差し込み係止するコイルバネをロッドレバーの持上げ偏倚用として装着し、
更に、ロックプレート側の立上りフランジと上部側より係合するストッパを支軸ピンの軸線上から張り出させて設け、
ロッドレバーをコイルバネでロックプレート側より下方に変位可能で、且つ、ロックプレート側の解除方向にストッパによる係止で引上げ操作可能に備え付けたことを特徴とする。
本願に係るスライド式自動車用シートに依れば、左右の立上りフランジをロックプレート側に設けロッドレバーの支軸ピンを左右の立上りフランジに挿通させてロッドレバーをロックプレート側の基端側に揺動可能に装着し
支軸ピンの軸端面より軸線方向に切り込んで割り溝を支軸ピンに設け
コイル部を左右の立上りフランジに挿通した支軸ピンの軸線上に嵌装し、片バネ端を支軸ピンの割り溝に嵌め込み係止し、他バネ端をロックプレート側の板面に差し込み係止するコイルバネをロッドレバーの持上げ偏倚用として装着し、
更に、ロックプレート側の立上りフランジと上部側より係合するストッパを支軸ピンの軸線上から張り出させて設けするため、短いコイルバネにより、ロッドレバーを全体的にシンプルな構造でロックプレートより下方に変位可能で、且つ、ロックプレート側の解除方向にストッパによる係止で引上げ操作可能に備え付けられる。
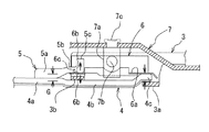
図示実施の形態としては、主に、本発明の特徴部分である引上げ操作用のロッドレバー1を示す。そのロッドレバー1は、図1で示すようにレバーブラケット2(但し、用語上「ロックプレート側」に含まれる。)でロックプレート3に後付けで連結装着可能に構成されている。
ロッドレバー1は、図2で示すように中央軸部1aを握り手部として前方に張り出す略U字状に軸曲げし、左右軸部1b,1cを中央軸部1aの軸両端より外方に延びる直線状に軸曲げすることから、レバー全体がパイプ部材で形成されている。そのロッドレバー1には、左右軸部1b,1cの各軸端より延長方向に突出する支軸ピン1d,1eが嵌着固定されている。
支軸ピン1d,1eは、ロッドレバー1の軸端より径内に嵌込み固定する圧入軸部10と、後述するレバーブラケットの立上りフランジに挿通する主軸部11と、後述するプッシュナットまたはEリングを嵌着固定する突端軸部12とから形成されている。軸略中央には、ロッドレバー1の軸端に当接させて相一体に溶接固定する張出し鍔13が設けられている。突端軸部12には、後述するコイルバネの片バネ端を掛け止める割り溝14が軸端面より切り込んで設けられている。
支軸1d,1eには、ストッパ15が後述するレバーブラケット2の立上りフランジを上部側より係止するよう備え付けられている。ストッパ15は、主軸部11の軸線上に嵌込み固定するリング部15aと、リング部15aの上部周縁より側方に突出する張出し部15bとから形成されている。
ロッドレバー1の軸両端には、図3(片側のみ図示)で示すようにレバーブラケット2がロックプレート3に向かう(図1参照)よう取り付けられている。
レバーブラケット2は、ロッドレバー1の支軸1dを挿通する基端側2aより下り勾配に折れ曲がって先端側2bに至る側面略逆への字状を呈するよう形成されている。また、左右の立上りフランジ2c,2dを持って横断面略上向きコの字状を呈するよう形成されている。立上りフランジ2dには、図4で示すようにストッパ15の張出し部15bを受け入れる係合縁2eが基端側2aの上周縁を凹状に切り欠いて設けられている。
ロッドレバー1は、レバー全体を跳上げ方向に付勢させてストッパ15の張出し部15bをレバーブラケット2の基部2aに設けた係合縁2eの片縁端に圧接するコイルバネ16を組付け装着することから、レバーブラケット2より下方に変位可能で、且つ、ロックプレート3をロック解除するよう引上げ操作可能に取り付けられている。
コイルバネ16は、図5で示すようにコイル部16aをレバーブラケット2の立上りフランジ2c,2eに挿通する支軸1dの支持軸部11に嵌装し、片バネ端16bを支軸ピン1dの割り溝14に嵌め込んで係止し、他バネ端16cをレバーブラケット2の底内側に押出し成形したバネ受筒2fに差し込んで係止する(図3,図4参照)ことから支軸1dとレバーブラケット2との間に掛渡し装着されている。なお、支軸1dはプッシュナットまたはEリング16を突端軸部12に嵌着することによりレバーブラケット2の立上りフランジ2cで抜止め軸承されている。
このように構成するロッドレバー1では、図6で示すようにストッパ15の張出し部15bがレバーブラケッ2の基部2aに設けた係合縁2eの他縁端に圧接するまで、レバー全体がコイルバネ16でレバーブラケット2より下方に変位可能に備え付けられているため、荷物が当っても、荷物が傷付いたり或いは変形したりするのを確実に防止できる。
ロッドレバー1は、左右のロックプレート3を各々単独でスライドレールの各アッパーレールにレバーブラケット2で個々別に容易に組付け装着可能に構成されている。そのレバーブラケット2の先端側には、ロックプレート3に延びて先端部をロックプレートに係着する下接ぎ手4と、下接ぎ手4の基端部寄りとの相対側に張り出てロックプレート3に係着する上接ぎ手5とが取り付けられている。
下接ぎ手4は、板面を横断面略逆U字状に弯曲することから剛直なものに形成されている。この下接ぎ手4は、基部4aをレバーブラケット2の先端寄り内側に溶接固定し、基部4aから外方に伸びる長手部4bをレバーブラケット2の先端より下方に段下げし、先端部4cを基部4aより高位の上方に段上げさせて水平方向に伸びるよう取り付けられている。
上接ぎ手5は、板面を横断面略上向きコの字状に折り曲げることから剛直なものに形成されている。この上接ぎ手5は、基部5aを下接ぎ手4の基部4aにあてがって溶接固定し、所定の隙間Gを基部5aより伸びる突片部5bと下接ぎ手4の基部寄りとの間に隔てて取り付けられている。先端部5cは、上方に立ち上上がるよう折り曲げられている。突片部5bの底面には、長方形の抜き穴5dが先端部5cと近い側に設けられている。
上述した各部2,4,5を備えるロッドレバー1に対し、ロックプレート3には、図7で示すように下接ぎ手4の先端側4cを受け止める受け片3aと、下接ぎ手4の基部側を上接ぎ手5と相対する間隔Gの内側で押え込む押え片3bとが下部側に設けられている。受け片3a,押え片3bは、ロックプレート3の相対する側辺の下端縁に亘る略コの字状に形成されている。
受け片3a,押え片3bに対し、ロックプレート3には下接ぎ手4の先端側を受け片3aに弾圧させて下接ぎ手4の先端側を受け片3aとで挟み込む押込みバネ部6aと、上接ぎ手8を下接ぎ手7と相対する間隔Gの内側で押し上げて押え片3bを下接ぎ手4の基部側に圧接する引掛けバネ部6bとを有する板バネ6が取り付けられている。
押込みバネ部6a,引掛けバネ部6bは、板バネ6の下側辺より水平方向側方に折り曲げて設けられている。引掛けバネ部6bには、逆さ爪6cが板面を逆V字状に折り曲げて設けられている。バネ全体は、戻しバネ7のバネホルダー7aを揺動可能に支持する軸承ピン7bの同軸上に保持されている。戻しバネ7はロックプレート3を施錠方向に偏倚するもので、バネホルダー7aは戻しバネ7にカシメ軸7cで取付け固定されている。
このように構成するロッドレバー1は、左右のロックプレート3を各々単独でスライドレールの各アッパーレールに個々別に組付け装着してから、そのロックプレート3に対して後付けによるワンタッチ装着で取り付けられる。
そのロッドレバー5は、両側のレバーブラケット2に取り付けられた下接ぎ手4の先端部4cを受け片3aの内側に嵌め込み、押え片3bを下接ぎ手4の基部側と上接ぎ手5と相対する間隔Gの内側で下接ぎ手4の基部側にあてがう。これと共に、下接ぎ手4の先端側4cを押込みバネ部6aで受け片3aに弾圧させて下接ぎ手4の先端側4cを受け片3aとで挟み込み、上接ぎ手5を下接ぎ手4と相対する間隔Gの内側で引掛けバネ部6bで押し上げて押え片3bを下接ぎ手4の基部側に圧接することにより簡単にワンタッチ装着できる。
そのロッドレバー1が後付けで簡単にワンタッチ装着できることから、左右のロックプレート3を各々単独でスライドレールの各アッパーレールに個々別に容易に組付け装着できてロック全体の組立作業を手早く行える。
その板バネ6による弾圧装着に加えて、上接ぎ手5の先端寄り板面に設けた抜き穴5dと、引掛けバネ部6bの板面に設けた逆さ爪6cとを係合することにより、ロッドレバー1がロックプレート3から外れ出さないようより確実に後付け装着できる。
上述した実施の形態は、ロッドレバー1をレバーブラケット2でロックプレート3にワンタッチ装着する場合で説明したが、ロッドレバー1を支軸ピン1d,1eでロックプレート3の板面に直に装着する場合にも適用できる。
本発明に係るスライド式自動車用シートに備え付けられるロッドレバーをレバーブラケット(ロックプレート側)に組み付けて示す側面図である。 図1のロッドレバーを中央省略で示す平面図である。 図1のロッドレバーを片側部分で示す平面図である。 図1のロッドレバーを図3のA−A線で示す断面図である。 図1のロッドレバーをロックプレートに組み付けて示す部分断面図である。 図1のロッドレバーを下方に変位させて示す説明図である。 図1のロッドレバーをロックプレートに組み付けて示す拡大側面図である。
符号の説明
1 ロッドレバー
1a ロッドレバーの中央軸部
1b,1c ロッドレバーの左右軸部
1d,1e ロッドレバーの支軸ピン
15 ストッパ片
16 コイルバネ
16a コイルバネのコイル部
16b,16c コイルバネのバネ端
2 レバーブラケット(ロックプレート側)
2e 係合縁
3 ロックプレート

Claims (1)

  1. シートクッションの下部側に取り付けられる左右のアッパーレールを車体のフロア面に取り付けられる左右のロアレールで滑動可能に支持するスライドレールを備え、アッパーレールをロアレールに施錠するロックプレートをアッパーレールに各々組付け装着すると共に、ロックプレートをロアレールから解除する引上げ操作用のロッドレバーをロックプレートの前側間に掛渡し装着するスライド式自動車用シートにおいて、
    中央軸部を前方に張り出す略U字状に軸曲げし、左右軸部を中央軸部の軸両端より外方の直線状に軸曲げし、支軸ピンを左右軸部の各軸端より延長方向に設けた引上げ操作用のロッドレバーを備え、
    左右の立上りフランジをロックプレート側に設けロッドレバーの支軸ピンを左右の立上りフランジに挿通させてロッドレバーをロックプレート側の基端側に揺動可能に装着し
    支軸ピンの軸端面より軸線方向に切り込んで割り溝を支軸ピンに設け
    コイル部を左右の立上りフランジに挿通した支軸ピンの軸線上に嵌装し、片バネ端を支軸ピンの割り溝に嵌め込み係止し、他バネ端をロックプレート側の板面に差し込み係止するコイルバネをロッドレバーの持上げ偏倚用として装着し、
    更に、ロックプレート側の立上りフランジと上部側より係合するストッパを支軸ピンの軸線上から張り出させて設け、
    ロッドレバーをコイルバネでロックプレート側より下方に変位可能で、且つ、ロックプレート側の解除方向にストッパによる係止で引上げ操作可能に備え付けたことを特徴とするスライド式自動車用シート。
JP2005140227A 2005-05-12 2005-05-12 スライド式自動車用シート Expired - Fee Related JP4899208B2 (ja)

Priority Applications (5)

Application Number Priority Date Filing Date Title
JP2005140227A JP4899208B2 (ja) 2005-05-12 2005-05-12 スライド式自動車用シート
CN2006800163375A CN101175652B (zh) 2005-05-12 2006-05-12 滑动式汽车用座椅
US11/913,787 US7798462B2 (en) 2005-05-12 2006-05-12 Sliding-type automobile seat
PCT/JP2006/309984 WO2006121216A1 (ja) 2005-05-12 2006-05-12 スライド式自動車用シート
EP06746644A EP1914109A4 (en) 2005-05-12 2006-05-12 AUTO SLIDING SEAT

Applications Claiming Priority (1)

Application Number Priority Date Filing Date Title
JP2005140227A JP4899208B2 (ja) 2005-05-12 2005-05-12 スライド式自動車用シート

Publications (2)

Publication Number Publication Date
JP2006315531A JP2006315531A (ja) 2006-11-24
JP4899208B2 true JP4899208B2 (ja) 2012-03-21

Family

ID=37536581

Family Applications (1)

Application Number Title Priority Date Filing Date
JP2005140227A Expired - Fee Related JP4899208B2 (ja) 2005-05-12 2005-05-12 スライド式自動車用シート

Country Status (1)

Country Link
JP (1) JP4899208B2 (ja)

Families Citing this family (4)

* Cited by examiner, † Cited by third party
Publication number Priority date Publication date Assignee Title
JP5616116B2 (ja) 2010-04-28 2014-10-29 シロキ工業株式会社 車両用スライドレール装置
JP5214711B2 (ja) * 2010-11-25 2013-06-19 岐阜車体工業株式会社 シートトラックスライド装置におけるロック機構
JP5214712B2 (ja) 2010-11-25 2013-06-19 岐阜車体工業株式会社 シートトラックスライド装置におけるロック機構
DE102012006060B4 (de) 2011-12-20 2019-08-22 Adient Luxembourg Holding S.À R.L. Entriegelungsvorrichtung für das Verriegelungsmittel einer Sitzschiene

Family Cites Families (1)

* Cited by examiner, † Cited by third party
Publication number Priority date Publication date Assignee Title
JP4247405B2 (ja) * 2002-05-31 2009-04-02 テイ・エス テック株式会社 スライド式自動車用シート

Also Published As

Publication number Publication date
JP2006315531A (ja) 2006-11-24

Similar Documents

Publication Publication Date Title
JP4719677B2 (ja) 自動車シート用のレール長手方向ガイドに対するメモリ装置
US8608245B2 (en) Seat latch
CN102112339B (zh) 车辆用座椅滑动装置
US20060220411A1 (en) Vehicle seat assembly and floor rail for lateral seat shuttling
JP2010100077A (ja) スライドレール装置
US9604552B2 (en) Seat for vehicles
JP2009154562A (ja) スライドロック解除レバーの支持構造
FR2784629A1 (fr) Dispositif de fixation pour siege de vehicule, siege de vehicule comportant un tel dispositif, et glissiere pour un tel siege
JP4899208B2 (ja) スライド式自動車用シート
FR3112110A1 (fr) Volant de véhicule équipé d’un module de sécurité
US20060163932A1 (en) Backrest for a vehicle seat
JP4247405B2 (ja) スライド式自動車用シート
JP4096194B2 (ja) 背もたれを備えた自動車シート
WO2006121216A1 (ja) スライド式自動車用シート
EP1661752B1 (en) Vehicle seat device
JP4771116B2 (ja) スライド式自動車用シート
JP6548997B2 (ja) スライドレール
JP5913056B2 (ja) 車両用シートのスライド装置
JP4874871B2 (ja) 自動車用シートのレッグカバー取付構造
JP2009279959A (ja) アクティブヘッドレストのヘッドレスト傾動装置
JP4153786B2 (ja) ステアリングコラムの支持装置
JP2008238931A (ja) シートベルトバックルの取付け構造
FR2784628A1 (fr) Dispositif de fixation pour siege de vehicule, siege de vehicule comportant un tel dispositif, et glissiere pour un tel siege
JP5397205B2 (ja) ヘッドレストの組み付け構造
CN111051123B (zh) 用于将可拆卸的座椅固定到机动车辆底板的设备

Legal Events

Date Code Title Description
A621 Written request for application examination

Free format text: JAPANESE INTERMEDIATE CODE: A621

Effective date: 20080423

A131 Notification of reasons for refusal

Free format text: JAPANESE INTERMEDIATE CODE: A131

Effective date: 20110607

A521 Written amendment

Free format text: JAPANESE INTERMEDIATE CODE: A523

Effective date: 20110808

TRDD Decision of grant or rejection written
A01 Written decision to grant a patent or to grant a registration (utility model)

Free format text: JAPANESE INTERMEDIATE CODE: A01

Effective date: 20111213

A01 Written decision to grant a patent or to grant a registration (utility model)

Free format text: JAPANESE INTERMEDIATE CODE: A01

A61 First payment of annual fees (during grant procedure)

Free format text: JAPANESE INTERMEDIATE CODE: A61

Effective date: 20111216

R150 Certificate of patent or registration of utility model

Free format text: JAPANESE INTERMEDIATE CODE: R150

FPAY Renewal fee payment (event date is renewal date of database)

Free format text: PAYMENT UNTIL: 20150113

Year of fee payment: 3

R250 Receipt of annual fees

Free format text: JAPANESE INTERMEDIATE CODE: R250

R250 Receipt of annual fees

Free format text: JAPANESE INTERMEDIATE CODE: R250

LAPS Cancellation because of no payment of annual fees